EP2653788B1 - Kombigargerät - Google Patents

Kombigargerät Download PDF

Info

Publication number
EP2653788B1
EP2653788B1 EP13001513.4A EP13001513A EP2653788B1 EP 2653788 B1 EP2653788 B1 EP 2653788B1 EP 13001513 A EP13001513 A EP 13001513A EP 2653788 B1 EP2653788 B1 EP 2653788B1
Authority
EP
European Patent Office
Prior art keywords
cooking
generator
steam
cooking chamber
food
Prior art date
Legal status (The legal status is an assumption and is not a legal conclusion. Google has not performed a legal analysis and makes no representation as to the accuracy of the status listed.)
Active
Application number
EP13001513.4A
Other languages
English (en)
French (fr)
Other versions
EP2653788A1 (de
Inventor
Jürg Werner
Current Assignee (The listed assignees may be inaccurate. Google has not performed a legal analysis and makes no representation or warranty as to the accuracy of the list.)
V-Zug AG
Original Assignee
V-Zug AG
Priority date (The priority date is an assumption and is not a legal conclusion. Google has not performed a legal analysis and makes no representation as to the accuracy of the date listed.)
Filing date
Publication date
Application filed by V-Zug AG filed Critical V-Zug AG
Publication of EP2653788A1 publication Critical patent/EP2653788A1/de
Application granted granted Critical
Publication of EP2653788B1 publication Critical patent/EP2653788B1/de
Active legal-status Critical Current
Anticipated expiration legal-status Critical

Links

Images

Classifications

    • FMECHANICAL ENGINEERING; LIGHTING; HEATING; WEAPONS; BLASTING
    • F24HEATING; RANGES; VENTILATING
    • F24CDOMESTIC STOVES OR RANGES ; DETAILS OF DOMESTIC STOVES OR RANGES, OF GENERAL APPLICATION
    • F24C15/00Details
    • F24C15/32Arrangements of ducts for hot gases, e.g. in or around baking ovens
    • F24C15/322Arrangements of ducts for hot gases, e.g. in or around baking ovens with forced circulation
    • F24C15/327Arrangements of ducts for hot gases, e.g. in or around baking ovens with forced circulation with air moisturising
    • FMECHANICAL ENGINEERING; LIGHTING; HEATING; WEAPONS; BLASTING
    • F24HEATING; RANGES; VENTILATING
    • F24CDOMESTIC STOVES OR RANGES ; DETAILS OF DOMESTIC STOVES OR RANGES, OF GENERAL APPLICATION
    • F24C7/00Stoves or ranges heated by electric energy
    • F24C7/08Arrangement or mounting of control or safety devices
    • F24C7/082Arrangement or mounting of control or safety devices on ranges, e.g. control panels, illumination
    • F24C7/085Arrangement or mounting of control or safety devices on ranges, e.g. control panels, illumination on baking ovens
    • HELECTRICITY
    • H05ELECTRIC TECHNIQUES NOT OTHERWISE PROVIDED FOR
    • H05BELECTRIC HEATING; ELECTRIC LIGHT SOURCES NOT OTHERWISE PROVIDED FOR; CIRCUIT ARRANGEMENTS FOR ELECTRIC LIGHT SOURCES, IN GENERAL
    • H05B6/00Heating by electric, magnetic or electromagnetic fields
    • H05B6/64Heating using microwaves
    • H05B6/647Aspects related to microwave heating combined with other heating techniques
    • H05B6/6473Aspects related to microwave heating combined with other heating techniques combined with convection heating
    • H05B6/6479Aspects related to microwave heating combined with other heating techniques combined with convection heating using steam

Definitions

  • the invention relates to a cooking appliance for cooking food and a method for operating a cooking appliance.
  • Conventional cooking appliances differ in the energy source used for cooking: Microwave ovens generate microwaves to irradiate the food. Conventional ovens use heating elements to heat the cooking chamber. Steam cooking appliances, on the other hand, generate steam in the cooking chamber, to which the food is exposed.
  • the object of the invention is to provide a cooking process and a cooking appliance that improve the cooking result.
  • the cooking appliance has a cooking chamber for accommodating food.
  • Cooking in the context of this invention is intended to encompass all types of heating of food, i.e., warming, heating, but also thawing food, dishes, liquids, etc.
  • the cooking chamber is typically defined by the walls of a hollow body, also called a muffle in the context of ovens, whose open side can be closed with a door.
  • a steam generator is provided, which allows the supply of steam, in particular water vapor, into the cooking chamber.
  • the claimed steam generator is also intended to include internal steam generators, in which the steam is generated within the cooking chamber, for example, by heating water.
  • a container for holding water is preferably connected to the cooking appliance.
  • a microwave generator is provided for heating the food in the cooking chamber.
  • the hot air generator typically comprises a heating element for heating air in the cooking chamber and a fan for distributing/circulating heated air within the cooking chamber.
  • a heating device may be provided, for example in the form of a resistance heater, which, depending on its arrangement in/on the cooking chamber, is also known as "top heat,”"bottomheat,” or “grill” in conventional ovens. If the hot air generator and the heating device are provided together, the resistance heating of the heating device is preferably provided in addition to the heating element of the hot air generator.
  • a control system is provided, preferably an electronic control system for the operation of the cooking appliance.
  • the control system activates the steam generator, the microwave generator and the hot air generator or the heating device within a cooking process for cooking the food.
  • three different cooking methods namely steam cooking, microwave cooking and hot air or heating cooking, are used in a common cooking process.
  • the temporal use of these cooking methods may take place at least partially simultaneously or at different times.
  • the cooking process for cooking a is preferably determined by a cooking program, which cooking program is carried out by the control system and includes the use of these three cooking methods, which are based on different energy sources and different influences on the food.
  • the control system automatically controls the sequence of cooking modes without user intervention. This includes activating and/or deactivating and/or changing the steam generator, the hot air generator, or the heating device, as well as changing the microwave generator alone.
  • control system determines the starting point and duration of the respective cooking mode and thus the start and end of the associated generator operation.
  • a user of such a cooking appliance may enter the desired cooking program via an input device, for example, one or more selector switches.
  • a cooking program may represent the preparation of a dish.
  • An example cooking program might be "potato gratin.”
  • a cooking program may also represent a desired cooking characteristic, such as "energy-efficient” or “gentle,” or even a desired food class.
  • a cooking program may also be defined by a multi-stage selection by the user, for example, as a "gentle” or “fast” cooking program.
  • the hot air generator may be operated first before the microwave generator and steam generator are switched on. Any temporal combination and sequence of cooking methods is intended to be encompassed by the method.
  • a cooking process may also be included in which the different cooking methods are carried out one after the other and do not have a common temporal overlap, i.e., one generator is always switched off first before the next generator is switched on.
  • all three generators are operated simultaneously, at least temporarily.
  • Such a program element is preferably executed by a controller of the cooking appliance, which controller may have a microprocessor for initiating the steps, as well as a memory for storing the program element.
  • the controller controls the various actuators of the cooking appliance, in particular the steam, microwave, and hot air generators, or the heating device.
  • the three cooking methods mentioned above can be activated simultaneously at the start of the cooking process. This results in a very fast cooking process.
  • steam cooking alone can be activated at the start of the cooking process. This achieves gentle cooking while at the same time cooking is relatively fast.
  • microwave cooking alone can be activated at the start of the cooking process. This achieves fast cooking results.
  • the temperature in the cooking chamber is regulated in two stages, first to a first target temperature and then to a second, different target temperature which, for example, is higher than the first target temperature. This implements a cooking method that is gentle on the surface of the food being cooked.
  • the second target temperature is lower than the first target temperature.
  • the cooking result can be significantly improved, since the use of three different cooking modes during a cooking process allows the food to be cooked as individually as possible.
  • the addition of microwaves can be delayed until at least a certain steam level is reached in the cooking chamber, assuming that the steam is primarily considered a transfer medium for the microwave to the food. This may result in better energy absorption by the food.
  • power distribution can be improved, and local drying out of the food can be prevented.
  • hot air cooking and steam cooking are defined as the basic cooking modes, and the associated generators are activated at the beginning of the cooking process, which in turn can be accelerated by the addition of microwaves.
  • Hot air can also be used to support steam cooking: During a heating phase of the water in the external evaporator, the cooking chamber can be preheated with hot air. In this mode, too, the microwave can serve as an "accelerator.” This allows energy to be immediately introduced into the food, especially at the start of cooking, but also allows heat to be drawn into the interior of the food during continuous heating.
  • the cooking chamber can also be first warmed with steam and hot air before the microwave is switched on for the actual reheating. The steam ensures that the food does not dry out; the hot air reduces the residual water in the plate. Combining all three cooking methods results in less dry food, more firmness, less residual water, and time savings.
  • the cooking appliance can be operated preferably via a selector switch by selecting a specific cooking program.
  • a cooking program preferably carries out the cooking process automatically and automatically adds steam, microwave, and hot air at the desired time. This program-controlled operation relieves the user of unnecessary tasks.
  • the cooking process for example, between the start of the cooking process by selecting the program and the end of the cooking process, for example, as a result of the program ending, they no longer have to worry about the dosage, duration, etc. of the respective cooking modes.
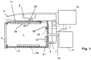
  • the cooking appliance according to Fig. 1 comprises a cooking chamber 1, which is delimited by walls 2 and a door 3.
  • the cooking chamber 1 may, for example, have a capacity of 50 liters or more, for example 56 liters.
  • the cooking appliance shown can be operated at least as a steam cooker, a microwave cooker, a convection cooker and/or an oven, as well as a combined steam/microwave cooker, a combined steam/convection cooker, a combined microwave/convection cooker, and a combined steam/microwave/convection cooker.
  • convection cooking should always alternatively or additionally include conventional heating with bottom and/or top heat and/or grill.
  • Combined in this sense encompasses the use of the various cooking methods during a cooking process for a food item to be cooked. This can occur simultaneously or at different times; In any case, the activation of the associated generators takes place within a cooking process with regard to the food to be cooked, and this preferably takes place fully automatically without intervention by the user of the cooking appliance. If the cooking appliance offers the selection/input of cooking programs, then within a selected cooking program, Depending on the cooking process, different cooking methods are used. For example, steam cooking can be used at the beginning of the cooking process in combination with convection cooking, while microwave cooking is activated later in the cooking process.
  • the cooking appliance according to Figure 1 contains a schematically drawn steam generator 4, which is separate from the cooking chamber 1 and whose steam is supplied to the cooking chamber 1 via a supply line 41.
  • a microwave generator with the reference numeral 11 is schematically arranged in the ceiling and may, for example, deliver a maximum output of 700 watts.
  • the cooking appliance further contains a hot air generator 12 for generating and distributing heated air in the cooking chamber 1.
  • This hot air generator 12 is also only schematically drawn on the rear wall.
  • the cooking appliance may have the heating devices known from a conventional oven, for example a resistive top heat 5a arranged on the ceiling and a resistive bottom heat 5b arranged on or below the floor, or a grill heater (not shown).
  • heaters arranged on the sides of the walls may also be provided to heat the cooking chamber 1.
  • a fan 6 is arranged as a blower in a horizontally aligned exhaust air shaft 9, which is designed, for example, as a radial fan or a cross-flow fan.
  • the exhaust air shaft 9 projects beyond the cooking chamber 1 and has an opening on the underside of this projection, to which a hose 7 is connected.
  • the hose 7 opens into an opening 21 of the cooking chamber 1.
  • a schematically drawn sensor 8 is arranged in the hose 7 for measuring gas escaping from the cooking chamber 1, and in particular steam escaping from the cooking chamber 1.
  • This sensor 8 is designed in the present case as a temperature sensor, for example as an NTC resistor, and is located in the lower section of the hose 7. arranged to measure the temperature of the water vapor passing through this point.
  • a further opening 20 is optionally arranged in the ceiling of the cooking chamber 1.
  • the further opening 20 has a diameter of approximately 2.5 cm and can be closed or opened by a flap 93. When the flap 93 is open, steam can be extracted from the cooking chamber 1.
  • a temperature sensor 25 is provided in the cooking chamber 1 for recording a temperature in the cooking chamber 1.
  • a core temperature sensor can also be present (not shown), for example in the form of a needle that is inserted into the food to be cooked.
  • a humidity sensor 26 can optionally be provided in the cooking chamber 1, which measures the relative humidity in the cooking chamber 1 and by which steam generation or steam supply by the steam generator 4 is controlled as an alternative or in addition to the gas outlet sensor 8.
  • a controller 10 is provided to control the steam generator 4, the microwave generator 11, the hot air generator 12, the top and bottom heat 5a, 5b, the radial fan 6, and other components of the cooking appliance. If a cooking program is set by the user on an input unit, for example in the form of a selector switch, the controller then automatically calls up an associated cooking program in the form of software, which controls the temporal operation of the individual generators. Within the cooking program, which thus defines the cooking process, the steam generator 4 is activated at least once, the microwave generator 11 at least once, and the hot air generator 12 or the heating device 5a, 5b at least once. This mode of operation represents the previously mentioned combined steam cooking/hot air/microwave operation.
  • the switching on/activation and/or switching off/deactivation of the individual generators can be triggered by sensor signals, by the operating states of the individual generators, or at fixed times.
  • the controller 10 preferably controls the entire cooking process using all three generators 4, 11, and 12 independently and preferably without user interaction.
  • the program sequence may be fixed or variable depending on the possible influencing factors mentioned above.
  • Cooking programs can be tailored either to the type of dish or to the cooking method.
  • the cooking method may include, for example, “quick cooking,” “gentle cooking,” “energy-efficient cooking,” “regenerating,” or similar.
  • FIG. 2 shows a flowchart for a method according to an advantageous development of the invention.
  • a user of the cooking appliance selects a cooking program, preferably by means of an input or selector switch, which calls up a stored cooking program, the execution of which begins the cooking process.
  • this cooking program should include the "regenerating" of food. During regeneration, prepared cold or cooled food is heated for consumption.
  • a control system of the cooking appliance automatically begins executing the cooking program in step S1 by starting the microwave generator in step S1 with an initial power of, for example, 500 watts.
  • the steam generator and the hot air generator are also started.
  • step S2 a check is carried out to determine whether a cooking chamber temperature, for example, measured with the temperature sensor 25, Figure 1 , has reached a first target temperature of, for example, 130° Celsius. If this is not the case, all three generators remain in operation (for reasons of clarity, all N-loops are omitted in the flow chart). Otherwise (Y), in step S3, only the hot air operation is changed so that the cooking chamber temperature is set to The first target temperature remains regulated. The microwave feed continues at the first power level; the steam feed from the steam generator also remains unchanged.
  • step S4 it is now checked whether a gas outlet sensor 8 according to Figure 1 an assigned threshold is reached. If this is not the case, steam continues to be supplied, microwaves are added, and the cooking chamber temperature is regulated to the first target temperature by the hot air generator. If, however, sufficient steam has been generated so that the gas outlet sensor exceeds its assigned threshold (Y), then in step S5 the steam addition is reduced, as is the microwave addition, whereas the cooking chamber temperature remains regulated unchanged to the first target temperature by the hot air generator. In this case, the reduction in the steam addition occurs depending on the signal from the gas outlet sensor.
  • the steam generator is only operated when, for example, the assigned threshold is undershot by the signal from the gas outlet sensor and is reactivated until the threshold is exceeded again.
  • a clocking of the steam addition occurs, the clocking of which is determined by the aforementioned threshold.
  • the reduction in microwave addition depends on the steam addition rate: The greater the steam addition rate, i.e., the longer the interval between steam additions, the more the microwave addition is reduced.
  • the reduction in microwave power may, for example, be proportional to the steam addition rate.
  • step S6 a check is then made to determine whether the pulse pauses are greater than a predefined limit, i.e., whether the pulse rate has fallen below a predefined level. If this is the case (Y), in step S7, the microwave power is reduced to a second setpoint, in this case, approximately 200 watts, the steam addition is deactivated, and The cooking chamber temperature is regulated by the hot air generator to a second, lower target temperature, for example 110° Celsius.
  • a predefined limit i.e., whether the pulse rate has fallen below a predefined level.
  • step S8 the controller terminates the operation of the still active microwave generator and hot air generator, for example, time-controlled or initiated by the user.
  • FIG. 3 shows a flowchart for a method according to an advantageous development of the invention.
  • a user of the cooking appliance again selects a cooking program, in this case the "Potato Gratin" cooking program, which is geared towards cooking a specific dish or at least a type of dish.
  • a control system of the cooking appliance again automatically begins the cooking process by starting the microwave generator at an initial high power of, for example, 700 watts. At the same time, the steam generator and the hot air generator are also started.
  • step S12 it is checked whether the cooking chamber temperature, for example measured with the temperature sensor 25 from Figure 1 , has reached a first target temperature of, for example, 200° Celsius. If this is not the case, all three generators continue to operate as they started. Otherwise (Y), in step S13, the measured cooking chamber temperature is regulated to the first predetermined target temperature. The microwave output is reduced to a second power of approximately 400 watts; the steam output by the steam generator remains unchanged.
  • step S16 a check is then performed to determine whether a period of time x has already passed since the threshold was exceeded by the gas outlet sensor signal, where x is, for example, 12 minutes. If this is the case (Y), the microwave generator is shut down in step S17. The steam supply remains shut down, and the hot air generator regulates to a second target temperature of 210° Celsius. In step S18, the control system then terminates operation of the still-active hot air generator.
  • FIG. 4 shows a flowchart for a method according to a further advantageous development of the invention.
  • a user of the cooking appliance again selects a cooking program, in this case the "Power Steam” cooking program for gentle cooking of the food.
  • a control system of the cooking appliance automatically begins the cooking process in step S21 by starting the microwave generator with an initial power of, for example, 400 watts, and simultaneously starting the steam generator and the hot air generator.
  • a check is made as to whether the cooking chamber temperature, for example measured with the temperature sensor 25 from Figure 1 , has reached a first target temperature of, for example, 100° Celsius. If this is not the case, all three generators remain in operation.
  • step S23 only the hot air operation is changed so that the hot air generator is now operated at a reduced level.
  • Reduced hot air operation refers to intermittent operation. By no longer continuously adding hot air but intermittently adding it, the supplied hot air energy is reduced.
  • the duration of hot air addition can depend, for example, on the duration of steam addition.
  • a ratio between steam addition and hot air addition can be specified for reduced operation. This ratio can relate to the duration of the addition of hot air and steam or to their energy ratio.
  • the microwave addition remains unchanged at the first power level of 400 watts; the steam addition by the steam generator also remains unchanged.
  • step S24 it is now checked whether the gas outlet sensor 8 according to Figure 1 has reached an assigned threshold. If this is not the case, steam continues to be supplied, microwaves are added, and the hot air generator is operated as described in step S23. However, if sufficient steam has been generated so that the gas outlet sensor exceeds the assigned threshold (Y), the steam addition is reduced in step S25 by operating the steam generator in a timed manner depending on the signal from the gas outlet sensor. The microwave addition remains unchanged. The hot air generator is also operated unchanged.
  • step S26 a check is then made to determine whether the cycle pauses between steam additions are greater than a predefined limit, i.e., whether the cycle rate has fallen below a predefined level. If this is the case (Yes), in step S27, the microwave addition is reduced the longer the cycle pauses are, and preferably proportionally to the cycle pauses. The hot air generator and steam generator remain in the mode defined in step S23. In step S28, the customer then terminates the operation of the still active generators at a time of their choosing.

Landscapes

  • Engineering & Computer Science (AREA)
  • Chemical & Material Sciences (AREA)
  • Combustion & Propulsion (AREA)
  • Mechanical Engineering (AREA)
  • General Engineering & Computer Science (AREA)
  • Physics & Mathematics (AREA)
  • Electromagnetism (AREA)
  • Electric Ovens (AREA)

Description

    Gebiet der Erfindung
  • Die Erfindung betrifft ein Gargerät zum Garen von Gargut und ein Verfahren zum Betreiben eines Gargerätes.
  • Hintergrund
  • Konventionelle Gargeräte unterscheiden sich hinsichtlich der zum Garen verwendeten Energiequelle: Mikrowellengeräte erzeugen Mikrowellen zum Bestrahlen von Gargut. Konventionelle Backöfen verwenden Heizerelemente zum Erhitzen des Garraums. Dampfgargeräte wiederum erzeugen Dampf im Garraum, dem das Gargut ausgesetzt ist.
  • Aus der Offenbarung des Dokuments EP 2 322 858 A1 sind Gargeräte bekannt, die eingerichtet sind, alle drei Energiequellen gleichzeitig zu verwenden.
  • Darstellung der Erfindung
  • Aufgabe der Erfindung ist es, einen Garprozess und ein Gargerät anzugeben, die das Garergebnis verbessern.
  • Die Aufgabe wird gelöst durch ein Gargerät mit den Merkmalen des Patentanspruchs 1 und durch ein Verfahren zum Betreiben eines Gargeräts nach den Merkmalen des Patentanspruchs 6.
  • Das Gargerät weist einen Garraum zur Aufnahme von Gargut auf. Garen im Kontext dieser Erfindung soll alle Arten des Erwärmens von Gargut umfassen, also das Erwärmen, das Erhitzen, aber auch das Auftauen von Lebensmitteln, Speisen, Flüssigkeiten, etc.. Der Garraum ist typischerweise definiert durch Wände eines Hohlkörpers, im Kontext von Backöfen auch Muffel genannt, dessen offene Seite mit einer Türe verschliessbar ist. Es ist ferner ein Dampferzeuger vorgesehen, der ein Zuführen von Dampf, insbesondere Wasserdampf, in den Garraum erlaubt. Dabei seien externe Dampferzeuger mit eingeschlossen, die Dampf ausserhalb des Garraums erzeugen, welcher Dampf dann über eine Zuleitung in den Garraum eingeleitet wird. Der beanspruchte Dampferzeuger soll aber auch interne Dampferzeuger mit umfassen, bei denen der Dampf innerhalb des Garraums, beispielsweise durch Erhitzen von Wasser, erzeugt wird. Dabei ist vorzugsweise ein Behältnis zur Wasseraufnahme mit dem Gargerät verbunden. Zusätzlich zum Dampfgenerator ist ein Mikrowellengenerator zum Erhitzen des Garguts im Garraum vorgesehen. Durch das Vorsehen zweier unterschiedlicher Erwärmungsarten für das Gargut wird das vorliegende Gargerät zum sogenannten Kombigerät. Ferner ist ein Heissluftgenerator und/oder eine Heizeinrichtung vorgesehen. Der Heissluftgenerator umfasst typischerweise ein Heizelement zum Erhitzen von Luft im Garraum und einen Lüfter zum Verteilen/Umwälzen von erhitzter Luft im Garraum. Alternativ oder zusätzlich zum Heissluftgenerator mag eine Heizeinrichtung vorgesehen sein, beispielsweise in Form einer Widerstandsheizung, die je nach Anordnung im/am Garraum in konventionellen Backöfen auch unter den Namen "Oberhitze", "Unterhitze" oder "Grill" bekannt ist. Sofern der Heissluftgenerator und die Heizeinrichtung gemeinsam vorgesehen sind, ist die Widerstandsheizung der Heizeinrichtung vorzugsweise zusätzlich vorgesehen zum Heizelement des Heissluftgenerators.
  • Ferner ist eine Steuerung vorgesehen, vorzugsweise eine elektronische Steuerung für den Betrieb des Gargeräts. Die Steuerung aktiviert den Dampfgenerator, den Mikrowellengenerator und den Heissluftgenerator beziehungsweise die Heizeinrichtung innerhalb eines Garprozesses zum Garen des Garguts. Es ist also vorgesehen, dass drei unterschiedliche Gararten, nämlich das Dampfgaren, das Mikrowellengaren und das Heissluft- oder Heizgaren in einem gemeinsamen Garprozess eingesetzt werden. Der zeitliche Einsatz dieser Gararten mag dabei zumindest teilweise gleichzeitig oder aber zeitlich versetzt zueinander erfolgen. Der Garprozess zum Garen einer in den Garraum eingebrachten Speise ist vorzugsweise durch ein Garprogramm vorgegeben, welches Garprogramm durch die Steuerung ausgeführt wird und den Einsatz dieser drei Gararten umfasst, die auf unterschiedlichen Energiequellen und unterschiedlicher Einflussnahme auf das Gargut beruhen.
  • Dabei steuert die Steuerung selbsttätig, d.h. automatisch ohne das Eingreifen des Nutzers, die Abfolge der Gararten. Dies umfasst das Aktivieren und/oder Deaktivieren und/oder Ändern des jeweiligen Dampfgenerators, sowie des Heissluftgenerators, bzw. der Heizeinrichtung, sowie das alleinige Ändern des Mikrowellengenerators.
  • Die Steuerung legt insbesondere den zeitlichen Einsatzpunkt und die Zeitdauer der jeweiligen Garart fest und damit den Beginn und das Ende des zugehörigen Generatorbetriebs.
  • Ein Nutzer eines solchen Gargeräts mag über eine Eingabeeinrichtung, beispielsweise einen oder mehrere Wahlschalter, das gewünschte Garprogramm eingeben. Ein Garprogramm mag dabei stehen für die Garzubereitung einer Speise. Ein beispielhaftes Garprogramm mag "Kartoffelgratin" lauten. Ein Garprogramm mag aber auch stehen für eine erwünschte Eigenart des Garens, beispielsweise für "energieeffizient" oder "schonend", oder aber auch stehen für eine erwünschte Gargutklasse. Schliesslich mag ein Garprogramm auch durch eine mehrstufige Auswahl durch den Nutzer definiert sein, beispielsweise als "schonendes" und "schnelles" Garprogramm.
  • Bei dem Verfahren zum Garen von Gargut in einem Gargerät mit einem Garraum zur Aufnahme des Garguts sind die folgenden Schritte innerhalb eines Garprozesses vorgesehen:
    • Das Zuführen von Dampf in den Garraum,
    • das Erhitzen des Garguts im Garraum mittels Mikrowellen, und
    • Das Erhitzen des Garraums mit einem Heissluftgenerator oder einer Heizeinrichtung.
  • Dabei sei durch die Auflistung der Schritte keinesfalls ihre Reihenfolge vorgegeben. Je nach Garprogramm mag zunächst der Heissluftgenerator betrieben werden, bevor Mikrowellengenerator und Dampfgenerator zugeschaltet werden. Jede beliebige zeitliche Kombination und Reihenfolge der Gararten soll durch das Verfahren mit umfasst sein. So mag insbesondere auch ein Garprozess mit umfasst sein, in dem die unterschiedlichen Gararten nacheinander ausgeführt werden und keinen gemeinsamen zeitlichen Überlappungsbereich aufweisen, d.h. immer zunächst ein Generator abgeschaltet wird, bevor der nächste Generator zugeschaltet wird. In einer anderen vorteilhaften Weiterbildung dagegen werden beispielsweise alle drei Generatoren zumindest zeitweise gleichzeitig betrieben.
  • Hinsichtlich des Ablaufes der einzelnen Schritte wird auf obige Ausführungen verwiesen. Ein solches Programmelement wird vorzugsweise durch eine Steuerung des Gargeräts ausgeführt, welche Steuerung etwa einen Mikroprozessor aufweist zum Veranlassen der Schritte, wie auch einen Speicher zum Speichern des Programmelements. Die Steuerung steuert die diversen Aktoren des Gargeräts, und insbesondere die Generatoren von Dampf, Mikrowelle und Heissluft oder die Heizeinrichtung.
  • Die oben genannten drei Gararten können gleichzeitig zu Beginn des Garprozesses aktiviert werden. Dies bewirkt einen sehr schnellen Garprozess. Alternativ kann alleine das Dampfgaren zu Beginn des Garprozesses aktiviert werden. Hierbei wird eine schonende Garweise erzielt bei gleichzeitig relativ schnellem Garerfolg. Alternativ kann alleine das Mikrowellengaren zu Beginn des Garprozesses aktiviert werden. Hierbei wird ein schnelles Garergebnis erzielt. In einer weiteren Weiterbildung der Erfindung wird beim Hitze-/Heissluftgaren die Temperatur im Garraum in zwei Stufen auf zunächst eine erste Solltemperatur, und dann auf eine zweite, andere Solltemperatur geregelt, die beipielsweise höher ist als die erste Solltemperatur. Dabei wird ein die Gargutoberfläche schonendes Garverfahren implementiert. In einem anderen Ausführungsbeispiel ist die zweite Solltemperatur niedriger als die erste Solltemperatur.
  • Mit dem erfindungsgemässen Gargerät beziehungsweise Verfahren kann also das Garergebnis deutlich verbessert werden, da durch den Einsatz dreier unterschiedlicher Gararten während eines Garprozesses das Gargut so individuell als möglich gegart werden kann. So kann beispielsweise in einem beispielhaften Garprogramm mit einer Mikrowellenzugabe gewartet werden, bis zumindest ein bestimmtes Dampfniveau im Garraum erreicht ist, unter der Annahme, dass der Dampf primär als Übertragungsmedium für die Mikrowelle hin zum Gargut erachtet wird. Eine bessere Energieaufnahme durch das Gargut mag die Folge sein. Ausserdem kann die Leistungsverteilung verbessert und ein lokales Austrocknen des Gargutes verhindert werden. In einem anderen Beispiel werden Heissluftgaren und Dampfgaren als grundlegende Gararten bestimmt und die zugehörigen Generatoren zu Beginn des Garprozesses aktiviert, welcher Garprozess wiederum durch die Zugabe von Mikrowellen beschleunigt werden kann. Die Heissluft-/Dampfkombination, auch "Superheated Steam" genannt, erzeugt dabei eine schöne, gleichmässige Bräunung, wohingegen die Mikrowelle das Gargut von "innen" erhitzt. So wird die Speise nicht nur von aussen beheizt, was zu einer Zeitersparnis führt. Auch beim Dampfgaren kann Heissluft unterstützend herangezogen werden: Während einer Aufheizphase des Wassers im externen Verdampfer kann der Garraum mit Heissluft vorgewärmt werden. Auch bei dieser Betriebsart kann die Mikrowelle als "Beschleuniger" dienen. So kann insbesondere bei Betriebsbeginn sofort Energie in die Speise gebracht werden, aber auch im Fortheizbetrieb Wärme ins Innere des Garguts geführt werden. Auch für das Regenerieren von Speisen kann der Garraum zunächst mit Dampf und Heissluft aufgewärmt werden bevor die Mikrowelle zum eigentlichen Regenerieren zugeschaltet wird. Der Dampf sorgt dabei dafür, dass das Gargut nicht austrocknet; die Heissluft reduziert das Restwasser im Teller. Werden alle drei Gararten kombiniert, so führt dies zu weniger ausgetrocknetem Gargut, mehr Bissfestigkeit, weniger Restwasser und einer Zeitersparnis.
  • Der Betrieb des Gargeräts kann vorzugsweise über einen Wahlschalter durch die Auswahl eines bestimmten Garprogramms ausgewählt werden. Ein solches Garprogramm führt vorzugsweise selbsttätig den Garprozess durch und erwirkt automatisch die Beigabe von Dampf, Mikrowelle und Heissluft zum erwünschten Zeitpunkt. Der Nutzer wird durch diesen programmgesteuerten Betrieb entlastet. Er muss sich während des Garprozesses, beispielsweise zwischen dem Beginn des Garprozesses durch seine Programmwahl und dem Ende des Garprozesses beispielsweise als Folge des Programmendes nicht mehr um Dosierung, Zeitdauer etc. der jeweiligen Gararten kümmern.
  • Vorteilhafte Weiterbildungen der Erfindung sind durch die Unteransprüche gekennzeichnet.
  • Weiterbildungen, die in Zusammenhang mit dem Gargerät ausdrücklich offenbart sind, seien auch als zum Verfahren zugehörig offenbart anzusehen, und umgekehrt.
  • Kurze Beschreibung der Zeichnungen
  • Weitere Ausgestaltungen, Vorteile und Anwendungen der Erfindung ergeben sich aus den abhängigen Ansprüchen und aus der nun folgenden Beschreibung anhand der Figuren. Dabei zeigen:
    • Fig. 1 einen Querschnitt durch ein Gargerät nach einem Ausführungsbeispiel der Erfindung,
    • Fig. 2 bis 4 zeigen Flussdiagramme für Verfahrensablaufe gemäss Ausführungsbeispielen der Erfindung.
    Weg(e) zur Ausführung der Erfindung
  • Das Gargerät gemäss Fig. 1 umfasst einen Garraum 1, der von Wänden 2 und einer Türe 3 begrenzt wird. Der Garraum 1 mag beispielsweise 50 Liter und mehr umfassen, beispielsweise 56 Liter. Das gezeigte Gargerät kann zumindest sowohl als Dampfgargerät, als Mikrowellengerät und als Heissluftgargerät und/oder Backofen betrieben werden, wie auch als kombiniertes Dampf-/Mikrowellengargerät, als kombiniertes Dampf-/Heissluftgargerät, als kombiniertes Mikrowellen-/Heissluftgargerät, sowie als kombiniertes Dampf-/Mikrowellen-/Heissluftgargerät. Hier und im Folgenden soll das Heisslüften stets auch alternativ oder zusätzlich das konventionelle Heizen mit Unter- und/oder Oberhitze und/oder Grill umfassen können. "Kombiniert" in diesem Sinne umfasst den Einsatz der verschiedenen Gararten während eines Garprozesses bezüglich eines zu garenden Gargutes. Dies kann gleichzeitig erfolgen oder aber zeitversetzt; jedenfalls erfolgt eine Aktivierung der zugehörigen Generatoren aber innerhalb eines Garprozesses bezüglich eines zu garenden Gargutes, und dies vorzugsweise vollautomatisch ohne Eingriff eines Nutzers des Gargeräts. Offeriert das Gargerät die Auswahl/Eingabe von Garprogrammen, so mögen innerhalb eines ausgewählten Garprogramms, das den Garprozess vorgibt, die unterschiedlichen Gararten zum Einsatz kommen. Beispielsweise kann dann also zu Beginn des Garprozesses dampfgegart werden in Kombination mit Heissluftgaren, wohingegen das Mikrowellengaren erst später im Garprozess zugeschaltet wird.
  • Das Gargerät gemäss Figur 1 enthält einen schematisch eingezeichneten und vom Garraum 1 separierten Dampfgenerator 4, dessen Dampf über eine Zuleitung 41 dem Garraum 1 zugeführt wird. Ein Mikrowellengenerator mit dem Bezugszeichen 11 ist schematisch in der Decke angeordnet und mag beispielsweise eine Höchstleistung von 700 Watt liefern. Das Gargerät enthält ferner einen Heissluftgenerator 12 zum Erzeugen und Verteilen von erhitzter Luft im Garraum 1. Auch dieser Heissluftgenerator 12 ist nur schematisch an der Rückwand eingezeichnet. Alternativ oder zusätzlich mag das Gargerät die von einem konventionellen Backofen bekannten Heizeinrichtungen aufweisen, beispielsweise eine an der Decke angeordnete resistive Oberhitze 5a und eine am oder unterhalb des Bodens angeordnete resistive Unterhitze 5b, oder aber einen nicht eingezeichneten Grill-Heizkörper. Alternativ oder zusätzlich hierzu können auch seitlich an Wänden angeordnete Heizungen zum Erhitzen des Garraums 1 vorgesehen sein.
  • Ausserhalb des Garraums 1 ist ein Lüfter 6 in einem horizontal ausgerichteten Abluftschacht 9 als Gebläse angeordnet, der beispielsweise als Radiallüfter oder als Querstromlüfter ausgebildet ist. Rückwärtig steht der Abluftschacht 9 über der Garraum 1 über und weist an der Unterseite dieses Überstands eine Öffnung auf, an die ein Schlauch 7 angeschlossen ist. Der Schlauch 7 mündet in eine Öffnung 21 des Garraums 1. Im Schlauch 7 ist ein schematisch eingezeichneter Sensor 8 zum Messen eines Gasaustritts aus dem Garraum 1 angeordnet, und insbesondere von aus dem Garraum 1 austretendem Dampf. Dieser Sensor 8 ist im vorliegenden Fall als Temperatursensor ausgebildet, beispielsweise als NTC-Widerstand, und ist im unteren Abschnitt des Schlauches 7 angeordnet, um die Temperatur des an diese Stelle durchtretenden Wasserdampfes zu messen.
  • In der Decke des Garraums 1 ist optional eine weitere Öffnung 20 angeordnet. Die weitere Öffnung 20 besitzt einen Durchmesser von etwa 2.5 cm und kann durch eine Klappe 93 verschlossen oder geöffnet werden. Ist die Klappe 93 geöffnet, so kann dem Garraum 1 Dampf entzogen werden. Im Garraum 1 ist ferner ein Temperatursensor 25 vorgesehen zum Aufnehmen einer Temperatur im Garraum 1. Weiter kann auch ein Kerntemperatur-Sensor vorhanden sein (nicht gezeigt), beispielsweise in Form einer Nadel, die in das Gargut gestochen wird. Ferner kann optional auch ein Feuchtesensor 26 im Garraum 1 vorgesehen sein, der die relative Feuchte im Garraum 1 misst, und durch den alternativ oder zusätzlich zu dem Gasaustrittssensor 8 eine Dampferzeugung beziehungsweise Dampfzufuhr durch den Dampfgenerator 4 gesteuert wird.
  • Zum Steuern des Dampfgenerators 4, des Mikrowellengenerators 11, des Heissluftgenerators 12, der Ober- und Unterhitze 5a,5b sowie des Radiallüfters 6 und weiterer Komponenten des Gargeräts ist eine Steuerung 10 vorgesehen. Wird an einer Eingabeeinheit, beispielsweise in Form eines Wahlschalters, ein Garprogramm durch den Benutzer eingestellt, so wird im Folgenden ein zugehöriges Garprogramm in Form einer Software automatisch durch die Steuerung aufgerufen, welches Garprogramm den zeitlichen Betrieb der einzelnen Generatoren steuert. Innerhalb des Garprogramms, das also den Garprozess festlegt, wird mindestens einmal der Dampfgenerator 4 aktiviert, mindestens einmal der Mikrowellengenerator 11, und mindestens einmal der Heissluftgenerator 12 oder die Heizeinrichtung 5a, 5b. Diese Betriebsweise stellt den zuvor erwähnten kombinierten Dampfgar-/Heissluft-/Mikrowellenbetrieb dar.
  • Das Anschalten/Aktivieren und/oder Abschalten/Deaktivieren der einzelnen Generatoren kann ausgelöst werden durch Sensorsignale, durch Betriebszustände der einzelnen Generatoren, oder zu festen Zeitpunkten. Insofern steuert die Steuerung 10 vorzugsweise den gesamten Garprozess unter Einsatz aller drei Generatoren 4, 11 und 12 selbsttätig und vorzugsweise ohne Interaktion mit dem Nutzer. Der Programmablauf mag dabei fest vorgegeben sein, oder aber variabel gestaltet sein in Abhängigkeit der oben genannten möglichen Einflussgrössen.
  • Garprogramme können entweder auf die Art des Gerichts ausgerichtet sein, oder aber sich der Garweise ausrichten. Die Garweise mag beispielsweise umfassen "schnelles Garen", "schonendes Garen", "energieeffizientes Garen", "Regenerieren" oder ähnliches.
  • Figur 2 zeigt ein Flussdiagramm zu einem Verfahren gemäss einer vorteilhaften Weiterbildung der Erfindung. In Schritt S0 wählt ein Nutzer des Gargeräts vorzugsweise durch einen Eingabe- oder einen Wahlschalter ein Garprogramm, der ein gespeichertes Garprogramm aufruft, durch dessen Ausführung der Garprozess begonnen wird. Im vorliegenden Fall soll dieses Graprogramm das "Regenerieren" von Speisen umfassen. Beim Regenerieren werden vorbereitete kalte oder erkaltete Speisen für den Verzehr erwärmt. Durch Auswahl des "Regenerier"-Garprogramms und gegebenenfalls in Verbindung mit dem Betätigen einer Starttaste beginnt in Schritt S1 eine Steuerung des Gargeräts selbsttätig mit der Durchführung des Garprogramms, indem in Schritt S1 der Mikrowellengenerator gestartet wird mit einer ersten Leistung von beispielsweise 500 Watt. Gleichzeitig wird auch der Dampfgenerator gestartet sowie der Heissluftgenerator. In Schritt S2 wird überprüft, ob eine Garraumtemperatur, beispielsweise gemessen mit dem Temperaturfühler 25 aus Figur 1, eine erste Solltemperatur von beispielsweise 130° Celsius erreicht hat. Ist dies nicht der Fall, so bleiben weiterhin alle drei Generatoren in Betrieb (im Flussdiagramm wird aus Übersichtlichkeitsgründen auf das Einzeichnen aller N-Schleifen verzichtet). Andernfalls (Y) wird in Schritt S3 lediglich der Heissluftbetrieb dahingehend geändert, dass die Garraumtemperatur auf eben die erste Solltemperatur geregelt bleibt. Die Mikrowellenzugabe erfolgt unverändert mit der ersten Leistung; auch die Dampfzugabe durch den Dampfgenerator ist unverändert.
  • In Schritt S4 wird nun überprüft, ob ein Gasaustrittssensor 8 gemäss Figur 1 einen zugeordneten Schwellwert erreicht. Ist dies nicht der Fall, wird weiterhin Dampf zugeführt, Mikrowelle zugegeben, und die Garraumtemperatur durch den Heissluftgenerator auf die erste Solltemperatur geregelt. Ist aber ausreichend Dampf erzeugt worden, sodass der Gasaustrittsensor seinen zugeordneten Schwellwert überschreitet (Y), so wird in Schritt S5 die Dampfzugabe reduziert wie auch die Mikrowellenzugabe, wohingegen die Garraumtemperatur mit dem Heissluftgenerator unverändert auf die erste Solltemperatur geregelt bleibt. Die Reduktion der Dampfzugabe erfolgt in diesem Falle in Abhängigkeit des Signals des Gasaustrittssensors. Hier wird der Dampfgenerator nur noch dann betrieben, wenn beispielsweise der zugeordnete Schwellwert durch das Signal des Gasaustrittssensors unterschritten wird und wieder aktiviert wird, bis der Schwellwert wieder überschritten wird. Insofern entsteht eine Taktung der Dampfzugabe, deren Takt bestimmt wird durch den vorgenannten Schwellwert. Die Reduktion der Mikrowellenzugabe erfolgt in Abhängigkeit der Taktung der Dampfzugabe: Je grösser der Takt der Dampfzugabe ist, ist, d.h. je länger die Taktpausen zwischen zwei Dampfzugaben andauern, desto stärker wird die Mikrowellenzugabe reduziert. Die Reduktion der Mikrowellenleistung mag beispielsweise proportional zur Taktung der Dampfzugabe erfolgen.
  • In Schritt S6 wird dann überprüft, ob die Taktpausen grösser als ein vorgegebener Grenzwert sind, also die Taktung unter ein vorgegebenes Mass gefallen ist. Ist dies der Fall (Y), so wird in Schritt S7 die Mikrowellenleistung auf einen zweiten Sollwert reduziert, hier etwa auf 200 Watt, die Dampfzugabe deaktiviert, und die Garraumtemperatur durch den Heissluftgenerator auf eine zweite, niedrigere Solltemperatur geregelt, beispielsweise auf 110° Celsius.
  • In Schritt S8 beendet die Steuerung den Betrieb der noch aktiven Mikrowellengenerator und Heissluftgenerator, beispielsweise zeitgesteuert, oder durch den Nutzer veranlasst.
  • Figur 3 zeigt ein Flussdiagramm zu einem Verfahren gemäss einer vorteilhaften Weiterbildung der Erfindung. In Schritt S10 wählt ein Nutzer des Gargeräts wiederum ein Garprogramm, im vorliegenden Fall das Garprogramm "Kartoffelgratin", das am Garen einer speziellen Speise oder zumindest Speisengattung ausgerichtet ist. In Schritt S11 beginnt wiederum eine Steuerung des Gargeräts selbsttätig mit der Durchführung des Garprozesses, indem der Mikrowellengenerator gestartet wird mit einer ersten hohen Leistung von beispielsweise 700 Watt. Gleichzeitig werden auch der Dampfgenerator und der Heissluftgenerator gestartet.
  • In Schritt S12 wird überprüft, ob die Garraum-Temperatur, beispielsweise gemessen mit dem Temperaturfühler 25 aus Figur 1, eine erste Solltemperatur von beispielsweise 200° Celsius erreicht hat. Ist dies nicht der Fall, so bleiben weiterhin alle drei Generatoren in ihrem begonnenen Betrieb. Andernfalls (Y) wird in Schritt S13 die gemessene Garraumtemperatur auf eben die erste vorbestimmte Solltemperatur geregelt. Die Mikrowellenzugabe wird reduziert auf eine zweite Leistung von etwa 400 Watt; die Dampfzugabe durch den Dampfgenerator bleibt unverändert.
  • In Schritt S14 wird nun überprüft, ob der Gasaustrittssensor 8 gemäss Figur 1 einen zugeordneten Schwellwert erreicht. Ist dies nicht der Fall, wird weiterhin Dampf zugeführt, Mikrowelle zugegeben, und die Luft im Garraum 1 durch den Heissluftgenerator auf die erste Solltemperatur geregelt. Ist aber ausreichend Dampf erzeugt worden, sodass der Gasaustrittsensor seinen zugeordneten Schwellwert überschreitet (Y), so wird in Schritt S15 ein Schieber betrieben, der eine Öffnung im Garraum freigibt, sodass Dampf durch diese Öffnung aus dem Garraum austreten kann. Im Übrigen wird die Dampfzugabe durch den Dampfgenerator ausgeschaltet und die Mikrowellenzugabe auf eine zweite Leistung von etwa 100 W reduziert.
  • In Schritt S16 wird dann überprüft, ob seit dem Überschreiten des Schwellwerts durch das Gasaustrittsensorsignal bereits eine Zeitspanne x vergangen ist, wobei x beispielsweise 12 Minuten beträgt. Ist dies der Fall (Y), so wird in Schritt S17 der Mikrowellengenerator abgeschaltet. Die Dampfzugabe bleibt abgeschaltet, und der Heissluftgenerator regelt auf eine zweite Solltemperatur von 210° Celsius. In Schritt S18 beendet dann die Steuerung den Betrieb des noch aktiven Heissluftgenerators.
  • Figur 4 zeigt ein Flussdiagramm zu einem Verfahren gemäss einer weiteren vorteilhaften Weiterbildung der Erfindung. In Schritt S20 wählt ein Nutzer des Gargeräts wiederum ein Garprogramm, im vorliegenden Fall das Garprogramm "Power Steam" zum schonenden Garen des Garguts. Durch Auswahl des "Power-Steam"-Programms beginnt in Schritt S21 eine Steuerung des Gargeräts selbsttätig mit der Durchführung des Garprozesses, indem in Schritt S21 der Mikrowellengenerator gestartet wird mit einer ersten Leistung von beispielsweise 400 Watt, gleichzeitig auch der Dampfgenerator und der Heissluftgenerator gestartet werden. In Schritt S22 wird überprüft, ob die Garraumtemperatur, beispielsweise gemessen mit dem Temperaturfühler 25 aus Figur 1, eine erste Solltemperatur von beispielsweise 100° Celsius erreicht hat. Ist dies nicht der Fall, so bleiben weiterhin alle drei Generatoren in Betrieb. Andernfalls (Y) wird in Schritt S23 lediglich die der Heissluftbetrieb dahingehend geändert, dass der Heissluftgenerator nun reduziert betrieben wird. Insbesondere kann in diesem, aber auch in anderen Ausführungsbeispielen unter reduziertem Heissluftbetrieb ein Intervallbetrieb verstanden werden. Durch nicht mehr permanente sondern Intervallzugabe von Heissluft wird die zugeführte Heissluftenergie reduziert. Insbesondere, wie etwa in vorliegendem Ausführungsbeispiel kann die Dauer einer Zugabe von Heissluft beispielsweise von der Dauer der Dampfzugabe abhängen. Insbesondere kann ein Verhältnis zwischen Dampfzugabe und Heissluftzugabe vorgegeben sein für den reduzierten Betrieb. Dieses Verhältnis kann sich beziehen auf die Zeitdauer der Zugaben von Heissluft und Dampf oder auf ihr Energieverhältnis. Die Mikrowellenzugabe bleibt unverändert bei der ersten Leistung von 400 Watt; auch die Dampfzugabe durch den Dampfgenerator bleibt unverändert.
  • In Schritt S24 wird nun überprüft, ob der Gasaustrittssensor 8 gemäss Figur 1 einen zugeordneten Schwellwert erreicht hat. Ist dies nicht der Fall, werden weiterhin Dampf zugeführt, Mikrowellen zugegeben, und der Heissluftgenerator wie zu Schritt S23 beschrieben betrieben. Ist aber ausreichend Dampf erzeugt worden, sodass der Gasaustrittsensor den zugeordneten Schwellwert überschreitet (Y), so wird in Schritt S25 die Dampfzugabe reduziert, indem der Dampfgenerator in Abhängigkeit des Signals des Gasaustrittssensors getaktet betrieben wird. Die Mikrowellenzugabe bleibt unverändert. Der Heissluftgenerator wird ebenfalls unverändert betrieben.
  • Im Schritt S26 wird dann überprüft, ob die Taktpausen zwischen den Dampfzugaben grösser sind als ein vorgegebener Grenzwert, also die Taktung unter ein vorgegebenes Mass gefallen ist. Ist dies der Fall (Y), so wird in Schritt S27 die Mikrowellenzugabe reduziert je länger die Taktpausen sind, und vorzugsweise proportional zu den Taktpausen reduziert. Heissluftgenerator und Dampfgenerator bleiben in ihrem in Schritt 23 definierten Betrieb. In Schritt S28 beendet dann der Kunde den Betrieb der noch aktiven Generatoren zu einem Zeitpunkt seiner Wahl.

Claims (12)

  1. Gargerät zum Garen von Gargut, umfassend
    einen Garraum (1) zur Aufnahme des Garguts,
    einen Dampfgenerator (4) zum Zuführen von Dampf in den Garraum (1),
    einen Mikrowellengenerator (11) zum Erhitzen des Garguts,
    einen Heissluftgenerator (12) und/oder eine Heizeinrichtung (5a,5b) zum Erhitzen des Garraums (1),
    eine Steuerung (10) zum selbsttätigen Aktivieren des Dampfgenerators (4), des Mikrowellengenerators (11) und des Heissluftgenerators (12) beziehungsweise der Heizeinrichtung (5a,5b) innerhalb eines gemeinsamen Garprozesses zum Garen des Garguts,
    dadurch gekennzeichnet, dass die Steuerung (10) ausgebildet ist zum selbsttätigen Ändern der Leistung des Mikrowellengenerators (11) in Abhängigkeit eines Sensorsignals eines Gasaustrittssensors (8) zum Erfassen von aus dem Garraum (1) austretendem Gas, wobei der Begriff "Ändern" ein Aktivieren oder Deaktivieren des Mikrowellengenerators nicht umfasst.
  2. Gargerät nach einem der vorhergehenden Ansprüche,
    mit einer Eingabeeinrichtung zum Eingeben eines Garprogramms,
    bei dem die Steuerung (10) ausgebildet ist zum selbsttätigen Aktivieren des Dampfgenerators (4), des Mikrowellengenerators (11) und des Heissluftgenerators (12) beziehungsweise der Heizeinrichtung (5a,5b) in Abhängigkeit des eingegebenen Garprogramms.
  3. Gargerät nach Anspruch 2,
    bei dem die Steuerung (10) ausgebildet ist zum selbsttätigen Deaktivieren des Dampfgenerators (4), des Mikrowellengenerators (11) und des Heissluftgenerators (12) beziehungsweise der Heizeinrichtung (5a,5b) in Abhängigkeit des eingegebenen Garprogramms.
  4. Gargerät nach einem der vorhergehenden Ansprüche,
    bei dem die Heizeinrichtung (5a,5b) enthält:
    - eine Oberhitzeeinrichtung (5a), und/oder
    - eine Unterhitzeeinrichtung (5b), und/oder
    - eine Grilleinrichtung.
  5. Gargerät nach einem der vorhergehenden Ansprüche,
    mit einer Klappe (93) zum Verschliessen einer Öffnung (20) im Garraum (1),
    bei der die Steuerung (10) ausgebildet ist zum selbsttätigen Verfahren der Klappe (93) zum Öffnen und/oder Schliessen der Öffnung (20) während des Garprozesses.
  6. Verfahren zum Garen von Gargut in einem Gargerät mit einem Garraum zur Aufnahme des Garguts nach einer der vorhergehenden Ansprüche, umfassend die folgenden Schritte innerhalb eines gemeinsamen Garprozesses:
    a) Zuführen von Dampf in den Garraum (1) mittels eines Dampfgenerators,
    b) Erhitzen des Garguts im Garraum (1) mittels Mikrowellen eines Mikrowellengenerators,
    c) Erhitzen des Garraums (1) mit einem Heissluftgenerator (12) und/oder einer Heizeinrichtung (5a,5b),
    dadurch gekennzeichnet, dass eine Steuerung (10) ausgebildet ist zum selbsttätigen Ändern der Leistung des Mikrowellengenerators (11) in Abhängigkeit eines Sensorsignals eines Gasaustrittssensors (8) zum Erfassen von aus dem Garraum (1) austretendem Gas, wobei der Begriff "Ändern" ein Aktivieren oder Deaktivieren des Mikrowellengenerators nicht umfasst.
  7. Verfahren nach Anspruch 6,
    bei dem selbsttätig eine gleichzeitige oder zueinander zeitversetzte Abfolge der Schritte a) bis c) innerhalb des Garprozesses in Abhängigkeit eines gewählten Garprogramms veranlasst wird.
  8. Verfahren nach Anspruch 6 oder Anspruch 7,
    bei dem die Schritte a) bis c) gleichzeitig zu Beginn des Garprozesses veranlasst werden.
  9. Verfahren nach Anspruch 6 oder Anspruch 7,
    bei dem alleine der Schritt a) zu Beginn des Garprozesses veranlasst wird.
  10. Verfahren nach Anspruch 6 oder 7,
    bei dem alleine der Schritt b) zu Beginn des Garprozesses veranlasst wird.
  11. Verfahren nach einem der Ansprüche 7 bis 8,
    bei dem im Schritt c) der Garraum (1) in einer ersten Phase auf eine erste Solltemperatur erhitzt wird, und
    bei dem im Schritt c) der Garraum (1) in einer zweiten Phase auf eine zweite Solltemperatur erhitzt wird, die sich von der ersten Solltemperatur unterscheidet.
  12. Verfahren nach einem der vorhergehenden Ansprüche 6 bis 11,
    bei dem eine Steuerung (10) die Schritte a) bis c) selbsttätig beginnt und beendet in Abhängigkeit eines eingegebenen Garprogramms, und
    bei dem der Beginn und die Beendigung eines jeden der Schritte a) bis c) ausgelöst wird durch ein oder mehrere der folgenden Ereignisse:
    - einem Beginn des Garprozesses durch Eingabe eines Garprogramms,
    - einem Signal eines Gasaustrittssensors (8) zum Erfassen von aus dem Garraum (1) austretendem Gas,
    - einem Signal eines Temperatursensors (25) zum Erfassen einer Temperatur im Garraum (1),
    - einem Signal eines Kerntemperatursensors zum Einführen in das Gargut,
    - einem Betriebsparameter eines Dampfgenerators (4) zum Zuführen des Dampfs in den Garraum (1),
    - einem Betriebsparameter eines Mikrowellengenerators (11) zum Erzeugen der Mikrowellen,
    - einem Betriebsparameter des Heissluftgenerators (12) beziehungsweise der Heizeinrichtung (5a,5b),
    - einer Taktung einer Dampfzugabe durch den Dampfgenerator (4),
    - dem Erreichen eines vorgegebenen Zeitpunkts,
    - dem Ablauf eines Zeitintervalls.
EP13001513.4A 2012-04-18 2013-03-25 Kombigargerät Active EP2653788B1 (de)

Applications Claiming Priority (1)

Application Number Priority Date Filing Date Title
CH00532/12A CH704191A2 (de) 2012-04-18 2012-04-18 Gargerät und Verfahren zum Garen von Gargut.

Publications (2)

Publication Number Publication Date
EP2653788A1 EP2653788A1 (de) 2013-10-23
EP2653788B1 true EP2653788B1 (de) 2025-06-25

Family

ID=46146477

Family Applications (1)

Application Number Title Priority Date Filing Date
EP13001513.4A Active EP2653788B1 (de) 2012-04-18 2013-03-25 Kombigargerät

Country Status (4)

Country Link
EP (1) EP2653788B1 (de)
CN (1) CN103375826B (de)
AU (1) AU2013202494B2 (de)
CH (1) CH704191A2 (de)

Families Citing this family (32)

* Cited by examiner, † Cited by third party
Publication number Priority date Publication date Assignee Title
KR20140030023A (ko) * 2012-08-29 2014-03-11 삼성전자주식회사 조리장치 및 그 제어방법
CH705766A2 (de) * 2013-03-07 2013-04-30 V Zug Ag Backofen mit klimagesteuerter Temperaturbegrenzung.
DE102014107895A1 (de) * 2014-06-04 2015-12-17 Rational Aktiengesellschaft Verfahren zum Steuern eines Gargeräts
CN104688002B (zh) * 2014-08-04 2018-07-13 广东美的厨房电器制造有限公司 烹饪装置及其控制方法
CN104121612B (zh) * 2014-08-11 2017-02-01 广东美的厨房电器制造有限公司 蒸汽微波炉的控制方法及控制系统
CN104665573A (zh) * 2014-08-22 2015-06-03 广东美的厨房电器制造有限公司 烹饪设备和烹饪设备的控制方法
DE102014113664A1 (de) * 2014-09-22 2016-03-24 Rational Aktiengesellschaft Gargerät sowie Verfahren zum Garen von Gargut
DE102014223375A1 (de) * 2014-11-17 2016-05-19 BSH Hausgeräte GmbH Verfahren zum Betreiben eines Haushaltsgargeräts
CN106658807B (zh) * 2017-01-18 2019-08-16 广东美的厨房电器制造有限公司 加热控制方法、装置及微波烤箱
CA3065773C (en) 2017-08-09 2021-02-09 Sharkninja Operating Llc Cooking device and components thereof
CN108012363B (zh) * 2017-11-30 2021-12-03 广东美的厨房电器制造有限公司 微波加热装置
USD914436S1 (en) 2018-06-19 2021-03-30 Sharkninja Operating Llc Air diffuser with food preparation pot
USD934027S1 (en) 2018-08-09 2021-10-26 Sharkninja Operating Llc Reversible cooking rack
USD883014S1 (en) 2018-08-09 2020-05-05 Sharkninja Operating Llc Food preparation device
USD903413S1 (en) 2018-08-09 2020-12-01 Sharkninja Operating Llc Cooking basket
USD883015S1 (en) 2018-08-09 2020-05-05 Sharkninja Operating Llc Food preparation device and parts thereof
US11051654B2 (en) 2019-02-25 2021-07-06 Sharkninja Operating Llc Cooking device and components thereof
EP4714316A2 (de) 2019-02-25 2026-03-25 SharkNinja Operating LLC Kochsystem mit schutz
CN111972971B (zh) * 2019-05-23 2021-12-03 九阳股份有限公司 一种蒸烤烹饪方法和蒸烤烹饪设备
USD918654S1 (en) 2019-06-06 2021-05-11 Sharkninja Operating Llc Grill plate
USD982375S1 (en) 2019-06-06 2023-04-04 Sharkninja Operating Llc Food preparation device
DE102019134699A1 (de) * 2019-12-17 2021-06-17 Rational Aktiengesellschaft Verfahren zum Regenerieren von Lebensmitteln
CN111083821B (zh) * 2019-12-31 2022-02-11 广东美的厨房电器制造有限公司 控制方法、装置、设备和计算机可读存储介质
CN111513554B (zh) * 2020-03-23 2022-04-05 华帝股份有限公司 微蒸烤一体机的烹饪控制方法及应用其的微蒸烤一体机
US11134808B2 (en) 2020-03-30 2021-10-05 Sharkninja Operating Llc Cooking device and components thereof
CN112401641A (zh) * 2020-11-17 2021-02-26 长沙易爱餐饮管理有限公司 加热火力曲线获取方法、装置、设备、介质以及烹饪方法
CN112586531B (zh) * 2020-12-14 2022-04-15 广东美的厨房电器制造有限公司 烹饪器具的控制方法、烹饪器具和可读存储介质
CN116249235A (zh) * 2021-12-08 2023-06-09 惠而浦公司 用于微波器具的热阻加热板
CN114568962B (zh) * 2022-03-25 2024-04-16 芜湖美的智能厨电制造有限公司 蒸烤设备及其烹饪控制方法和装置
DE102022114160A1 (de) * 2022-06-03 2023-12-14 Topinox Sarl Verfahren zum Garen eines Garguts in einer bestimmten Garzeit
DE102022127080A1 (de) 2022-10-17 2023-12-14 Miele & Cie. Kg Verfahren zum Betreiben eines Gargeräts und Gargerät
CN117170265A (zh) * 2023-10-09 2023-12-05 上海鲜选网络科技有限公司 基于混合加热烹饪曲线的烹饪进程优化方法及预制菜烹饪系统

Citations (5)

* Cited by examiner, † Cited by third party
Publication number Priority date Publication date Assignee Title
US4115678A (en) * 1976-02-26 1978-09-19 Hitachi Heating Appliances Co., Ltd. Microwave oven
DE19718399A1 (de) * 1997-04-30 1998-11-05 Rational Gmbh Verfahren zum individuellen Führen eines Garprozesses und zugehöriges Gargerät
WO2006069563A1 (de) * 2004-12-27 2006-07-06 Rational Ag Gargerät mit mindestens einem gassensorarray, probennahmesystem für solch ein gargerät, verfahren zum garen mit solch einem gargerät und verfahren zum reinigen solch eines gargeräts
EP1847203A1 (de) * 2007-06-26 2007-10-24 V-Zug AG Gargut-Zubereitung mit Dampfaustritt-Detektion
EP1906100A2 (de) * 2006-08-17 2008-04-02 BSH Bosch und Siemens Hausgeräte GmbH Gargerät und Verfahren zum Einstellen einer Dampferzeugung in einem Gargerät

Family Cites Families (8)

* Cited by examiner, † Cited by third party
Publication number Priority date Publication date Assignee Title
DE3205123A1 (de) * 1982-02-12 1983-08-18 Licentia Gmbh Verfahren und einrichtung zum automatischen garen von nahrungsmittel in einem mikrowellengeraet
DE10117937A1 (de) * 2001-04-10 2002-12-05 Rational Ag Garverfahren und Gargerät unter Einsatz von Radiowellen
EP1483943B1 (de) * 2002-03-12 2007-03-28 Matsushita Electric Industrial Co., Ltd. Hochfrequenzheizvorrichtung und steurungsverfaren derselben
JP4739688B2 (ja) * 2004-04-27 2011-08-03 パナソニック株式会社 加熱調理器
ES2371757T3 (es) * 2005-09-21 2012-01-09 Whirlpool Corporation Método de funcionamiento de un horno que tiene un sistema de calentamiento, un sistema de microondas y un sistema de vapor.
JP5530676B2 (ja) * 2008-08-20 2014-06-25 ホシザキ電機株式会社 加熱調理器
JP2010054176A (ja) * 2008-08-29 2010-03-11 Sharp Corp 加熱調理器
US9516704B2 (en) * 2009-09-11 2016-12-06 Enodis Corporation Impingement microwave oven with steam assist

Patent Citations (5)

* Cited by examiner, † Cited by third party
Publication number Priority date Publication date Assignee Title
US4115678A (en) * 1976-02-26 1978-09-19 Hitachi Heating Appliances Co., Ltd. Microwave oven
DE19718399A1 (de) * 1997-04-30 1998-11-05 Rational Gmbh Verfahren zum individuellen Führen eines Garprozesses und zugehöriges Gargerät
WO2006069563A1 (de) * 2004-12-27 2006-07-06 Rational Ag Gargerät mit mindestens einem gassensorarray, probennahmesystem für solch ein gargerät, verfahren zum garen mit solch einem gargerät und verfahren zum reinigen solch eines gargeräts
EP1906100A2 (de) * 2006-08-17 2008-04-02 BSH Bosch und Siemens Hausgeräte GmbH Gargerät und Verfahren zum Einstellen einer Dampferzeugung in einem Gargerät
EP1847203A1 (de) * 2007-06-26 2007-10-24 V-Zug AG Gargut-Zubereitung mit Dampfaustritt-Detektion

Also Published As

Publication number Publication date
EP2653788A1 (de) 2013-10-23
CN103375826A (zh) 2013-10-30
CN103375826B (zh) 2017-10-20
AU2013202494A1 (en) 2013-11-07
CH704191A2 (de) 2012-05-31
AU2013202494B2 (en) 2017-02-02

Similar Documents

Publication Publication Date Title
EP2653788B1 (de) Kombigargerät
DE102008060899B4 (de) Gargerät zum Energiesparen beim Betrieb
CH712395A2 (de) Kombigargerät mit Steuerung.
EP2537418A1 (de) Verfahren zum Garen eines Garguts mittels Dampf
DE102012013275B4 (de) Verfahren zum Durchführen eines Garvorgangs mit einem Koch- und/oder Bratgerät
EP4248134A1 (de) Haushaltsgargerät und verfahren zum betreiben desselben
WO2009015651A1 (de) Verfahren zum energiesparenden führen eines nahrungsmittelbehandlungsprozesses oder behandlungsraumreinigungsprozesses und gargerät hierfür
EP3250002B1 (de) Haushalts-gargerät
EP2445311B1 (de) Kombigargerät
EP2256415B1 (de) Verfahren zum durchführen eines garvorgangs ohne gesonderten vorheizvorgang in einem backofen
EP2251607A2 (de) Verfahren zum Durchführen eines Zubereitungsvorgangs für ein Lebensmittel
EP3267114B1 (de) Verfahren zur steuerung eines backofens und backofen
DE102009001739B3 (de) Gargerät mit einem Garraum und Verfahren zum Zubereiten eines Garguts mittels Dampf
EP2144481B1 (de) Verfahren zur Einstellung einer Feuchtigkeitszufuhr sowie einer Mikrowellenabstrahlung und Gargerät hierzu
EP2860457A1 (de) Verfahren zum Betreiben eines Gargeräts sowie Gargerät zur Durchführung des Verfahrens
DE102013215847A1 (de) Verfahren zum Durchführen eines Zubereitungsvorgangs mit einer Absenk-Zeitdauer sowie Gargerät zum Durchführen eines derartigen Verfahrens
CH696039A5 (de) Kombinierter Backofen mit Mikrowelle und Trocknungsfunktion.
DE69917525T2 (de) Verfahren zum Kochen von Nahrungsmitteln in einem Garofen
DE102023210853A1 (de) Gargerätevorrichtung, Gargerät und Verfahren zum Betrieb einer Gargerätevorrichtung
DE102010043775A1 (de) Verfahren zum Betreiben eines Gargeräts und Gargerät
DE102014223375A1 (de) Verfahren zum Betreiben eines Haushaltsgargeräts
EP2608635A1 (de) Gargerät und Verfahren zum Betreiben eines Gargerätes
EP4411248A1 (de) Nutzung von restwärme in einem gargerät
DE102005047582B4 (de) Verfahren zum Garen von Speisen in einen Garraum eines Gargeräts
DE20320945U1 (de) Gargerät zum Regenerieren von Gargut

Legal Events

Date Code Title Description
PUAI Public reference made under article 153(3) epc to a published international application that has entered the european phase

Free format text: ORIGINAL CODE: 0009012

AK Designated contracting states

Kind code of ref document: A1

Designated state(s): AL AT BE BG CH CY CZ DE DK EE ES FI FR GB GR HR HU IE IS IT LI LT LU LV MC MK MT NL NO PL PT RO RS SE SI SK SM TR

AX Request for extension of the european patent

Extension state: BA ME

17P Request for examination filed

Effective date: 20140423

RBV Designated contracting states (corrected)

Designated state(s): AL AT BE BG CH CY CZ DE DK EE ES FI FR GB GR HR HU IE IS IT LI LT LU LV MC MK MT NL NO PL PT RO RS SE SI SK SM TR

STAA Information on the status of an ep patent application or granted ep patent

Free format text: STATUS: EXAMINATION IS IN PROGRESS

17Q First examination report despatched

Effective date: 20161216

RAP1 Party data changed (applicant data changed or rights of an application transferred)

Owner name: V-ZUG AG

GRAP Despatch of communication of intention to grant a patent

Free format text: ORIGINAL CODE: EPIDOSNIGR1

STAA Information on the status of an ep patent application or granted ep patent

Free format text: STATUS: GRANT OF PATENT IS INTENDED

INTG Intention to grant announced

Effective date: 20250306

GRAS Grant fee paid

Free format text: ORIGINAL CODE: EPIDOSNIGR3

GRAA (expected) grant

Free format text: ORIGINAL CODE: 0009210

STAA Information on the status of an ep patent application or granted ep patent

Free format text: STATUS: THE PATENT HAS BEEN GRANTED

P01 Opt-out of the competence of the unified patent court (upc) registered

Free format text: CASE NUMBER: APP_20265/2025

Effective date: 20250429

AK Designated contracting states

Kind code of ref document: B1

Designated state(s): AL AT BE BG CH CY CZ DE DK EE ES FI FR GB GR HR HU IE IS IT LI LT LU LV MC MK MT NL NO PL PT RO RS SE SI SK SM TR

REG Reference to a national code

Ref country code: GB

Ref legal event code: FG4D

Free format text: NOT ENGLISH

REG Reference to a national code

Ref country code: CH

Ref legal event code: EP

REG Reference to a national code

Ref country code: CH

Ref legal event code: EP

REG Reference to a national code

Ref country code: IE

Ref legal event code: FG4D

Free format text: LANGUAGE OF EP DOCUMENT: GERMAN

REG Reference to a national code

Ref country code: DE

Ref legal event code: R096

Ref document number: 502013016593

Country of ref document: DE

PG25 Lapsed in a contracting state [announced via postgrant information from national office to epo]

Ref country code: FI

Free format text: LAPSE BECAUSE OF FAILURE TO SUBMIT A TRANSLATION OF THE DESCRIPTION OR TO PAY THE FEE WITHIN THE PRESCRIBED TIME-LIMIT

Effective date: 20250625

REG Reference to a national code

Ref country code: LT

Ref legal event code: MG9D

PG25 Lapsed in a contracting state [announced via postgrant information from national office to epo]

Ref country code: GR

Free format text: LAPSE BECAUSE OF FAILURE TO SUBMIT A TRANSLATION OF THE DESCRIPTION OR TO PAY THE FEE WITHIN THE PRESCRIBED TIME-LIMIT

Effective date: 20250926

Ref country code: NO

Free format text: LAPSE BECAUSE OF FAILURE TO SUBMIT A TRANSLATION OF THE DESCRIPTION OR TO PAY THE FEE WITHIN THE PRESCRIBED TIME-LIMIT

Effective date: 20250925

PG25 Lapsed in a contracting state [announced via postgrant information from national office to epo]

Ref country code: BG

Free format text: LAPSE BECAUSE OF FAILURE TO SUBMIT A TRANSLATION OF THE DESCRIPTION OR TO PAY THE FEE WITHIN THE PRESCRIBED TIME-LIMIT

Effective date: 20250625

PG25 Lapsed in a contracting state [announced via postgrant information from national office to epo]

Ref country code: HR

Free format text: LAPSE BECAUSE OF FAILURE TO SUBMIT A TRANSLATION OF THE DESCRIPTION OR TO PAY THE FEE WITHIN THE PRESCRIBED TIME-LIMIT

Effective date: 20250625

PG25 Lapsed in a contracting state [announced via postgrant information from national office to epo]

Ref country code: RS

Free format text: LAPSE BECAUSE OF FAILURE TO SUBMIT A TRANSLATION OF THE DESCRIPTION OR TO PAY THE FEE WITHIN THE PRESCRIBED TIME-LIMIT

Effective date: 20250925

PG25 Lapsed in a contracting state [announced via postgrant information from national office to epo]

Ref country code: LV

Free format text: LAPSE BECAUSE OF FAILURE TO SUBMIT A TRANSLATION OF THE DESCRIPTION OR TO PAY THE FEE WITHIN THE PRESCRIBED TIME-LIMIT

Effective date: 20250625

REG Reference to a national code

Ref country code: NL

Ref legal event code: MP

Effective date: 20250625

PG25 Lapsed in a contracting state [announced via postgrant information from national office to epo]

Ref country code: NL

Free format text: LAPSE BECAUSE OF FAILURE TO SUBMIT A TRANSLATION OF THE DESCRIPTION OR TO PAY THE FEE WITHIN THE PRESCRIBED TIME-LIMIT

Effective date: 20250625

PG25 Lapsed in a contracting state [announced via postgrant information from national office to epo]

Ref country code: PT

Free format text: LAPSE BECAUSE OF FAILURE TO SUBMIT A TRANSLATION OF THE DESCRIPTION OR TO PAY THE FEE WITHIN THE PRESCRIBED TIME-LIMIT

Effective date: 20251027

PG25 Lapsed in a contracting state [announced via postgrant information from national office to epo]

Ref country code: IS

Free format text: LAPSE BECAUSE OF FAILURE TO SUBMIT A TRANSLATION OF THE DESCRIPTION OR TO PAY THE FEE WITHIN THE PRESCRIBED TIME-LIMIT

Effective date: 20251025

PG25 Lapsed in a contracting state [announced via postgrant information from national office to epo]

Ref country code: SM

Free format text: LAPSE BECAUSE OF FAILURE TO SUBMIT A TRANSLATION OF THE DESCRIPTION OR TO PAY THE FEE WITHIN THE PRESCRIBED TIME-LIMIT

Effective date: 20250625

PG25 Lapsed in a contracting state [announced via postgrant information from national office to epo]

Ref country code: CZ

Free format text: LAPSE BECAUSE OF FAILURE TO SUBMIT A TRANSLATION OF THE DESCRIPTION OR TO PAY THE FEE WITHIN THE PRESCRIBED TIME-LIMIT

Effective date: 20250625

PG25 Lapsed in a contracting state [announced via postgrant information from national office to epo]

Ref country code: PL

Free format text: LAPSE BECAUSE OF FAILURE TO SUBMIT A TRANSLATION OF THE DESCRIPTION OR TO PAY THE FEE WITHIN THE PRESCRIBED TIME-LIMIT

Effective date: 20250625

PG25 Lapsed in a contracting state [announced via postgrant information from national office to epo]

Ref country code: EE

Free format text: LAPSE BECAUSE OF FAILURE TO SUBMIT A TRANSLATION OF THE DESCRIPTION OR TO PAY THE FEE WITHIN THE PRESCRIBED TIME-LIMIT

Effective date: 20250625

PG25 Lapsed in a contracting state [announced via postgrant information from national office to epo]

Ref country code: RO

Free format text: LAPSE BECAUSE OF FAILURE TO SUBMIT A TRANSLATION OF THE DESCRIPTION OR TO PAY THE FEE WITHIN THE PRESCRIBED TIME-LIMIT

Effective date: 20250625

Ref country code: SK

Free format text: LAPSE BECAUSE OF FAILURE TO SUBMIT A TRANSLATION OF THE DESCRIPTION OR TO PAY THE FEE WITHIN THE PRESCRIBED TIME-LIMIT

Effective date: 20250625

PG25 Lapsed in a contracting state [announced via postgrant information from national office to epo]

Ref country code: ES

Free format text: LAPSE BECAUSE OF FAILURE TO SUBMIT A TRANSLATION OF THE DESCRIPTION OR TO PAY THE FEE WITHIN THE PRESCRIBED TIME-LIMIT

Effective date: 20250625