EP2257397B1 - Strangführungssegment - Google Patents
Strangführungssegment Download PDFInfo
- Publication number
- EP2257397B1 EP2257397B1 EP09724438A EP09724438A EP2257397B1 EP 2257397 B1 EP2257397 B1 EP 2257397B1 EP 09724438 A EP09724438 A EP 09724438A EP 09724438 A EP09724438 A EP 09724438A EP 2257397 B1 EP2257397 B1 EP 2257397B1
- Authority
- EP
- European Patent Office
- Prior art keywords
- strand guide
- strand
- cross beam
- guide roller
- longitudinal slot
- Prior art date
- Legal status (The legal status is an assumption and is not a legal conclusion. Google has not performed a legal analysis and makes no representation as to the accuracy of the status listed.)
- Not-in-force
Links
- 238000009749 continuous casting Methods 0.000 claims abstract description 10
- 239000002184 metal Substances 0.000 claims abstract description 3
- 238000009434 installation Methods 0.000 claims 1
- 238000005266 casting Methods 0.000 description 8
- 229910000831 Steel Inorganic materials 0.000 description 2
- 238000005452 bending Methods 0.000 description 2
- 230000000052 comparative effect Effects 0.000 description 2
- 230000000694 effects Effects 0.000 description 2
- 239000007788 liquid Substances 0.000 description 2
- 239000007858 starting material Substances 0.000 description 2
- 239000010959 steel Substances 0.000 description 2
- 229910001208 Crucible steel Inorganic materials 0.000 description 1
- 230000000712 assembly Effects 0.000 description 1
- 238000000429 assembly Methods 0.000 description 1
- 230000005540 biological transmission Effects 0.000 description 1
- 230000015572 biosynthetic process Effects 0.000 description 1
- 238000001816 cooling Methods 0.000 description 1
- 238000005336 cracking Methods 0.000 description 1
- 238000004519 manufacturing process Methods 0.000 description 1
- 238000005457 optimization Methods 0.000 description 1
- 238000009751 slip forming Methods 0.000 description 1
- IHQKEDIOMGYHEB-UHFFFAOYSA-M sodium dimethylarsinate Chemical class [Na+].C[As](C)([O-])=O IHQKEDIOMGYHEB-UHFFFAOYSA-M 0.000 description 1
Images
Classifications
-
- B—PERFORMING OPERATIONS; TRANSPORTING
- B22—CASTING; POWDER METALLURGY
- B22D—CASTING OF METALS; CASTING OF OTHER SUBSTANCES BY THE SAME PROCESSES OR DEVICES
- B22D11/00—Continuous casting of metals, i.e. casting in indefinite lengths
- B22D11/12—Accessories for subsequent treating or working cast stock in situ
- B22D11/128—Accessories for subsequent treating or working cast stock in situ for removing
-
- B—PERFORMING OPERATIONS; TRANSPORTING
- B22—CASTING; POWDER METALLURGY
- B22D—CASTING OF METALS; CASTING OF OTHER SUBSTANCES BY THE SAME PROCESSES OR DEVICES
- B22D11/00—Continuous casting of metals, i.e. casting in indefinite lengths
- B22D11/12—Accessories for subsequent treating or working cast stock in situ
- B22D11/1206—Accessories for subsequent treating or working cast stock in situ for plastic shaping of strands
Definitions
- the invention relates to a strand guide segment for supporting and guiding a cast metal strand in a strand guide of a continuous casting with a plurality of strand guide rollers which are supported in a segment frame of the strand guide segment on cross members, wherein at least one of the cross member is plate-shaped.
- the invention relates to a strand guide segment for supporting and guiding a cast steel strand.
- a thin slab or a strip - strand guide rollers arranged individually or in strand guide segments.
- adjustable and drivable strand guide rollers are provided at intervals from one another on the cast strand and at the start of casting on the starter strand.
- a strand guide segment of the type described above is from the WO 01/94051 A1 already known. It comprises two rows of strand guide rollers supported on cross beams, the cross beams being arranged in successive segment frames.
- a strand guide rollers supporting cross member is guided on vertical guides in the segment frame movable and can be made to the cast strand or the Anfahrstrang.
- the necessary contact force is applied by a clamping device designed as a pressure cylinder, which acts centrally on the cross member. The central contact force causes a deflection of the arc inside cross member and the strand guide rollers supported thereon.
- a desired convex (crowned) cross-sectional shape of the cast strand is achieved when the outer arch portion and the inner arch portion of a segment are braced by acting on the four segment corners clamping cylinders.
- a similar deformation pattern is achieved in a cross member with employed strand guide rollers when two adjusting devices engage in each case in the end regions of the cross member thereto.
- Such an embodiment is known from WO 2006/037555 A1 already known. However, this embodiment has the disadvantage that two synchronously operating pressure medium cylinder must be provided.
- FIGS WO 2008/022731 A1 different ways known. These consist either in a crowning of the interposed strand guide rollers or in a resilient design of the outer bearing in relation to the intermediate bearings or in an inclined position of the strand guide rollers. Ultimately, all of these options are structurally complex and considerably increase the costs of spare parts management in the wear parts, especially the strand guide rollers and roller bearings.
- the object of the present invention is to avoid the disadvantages of the known prior art and to propose a strand guide segment with at least one strand guide rollers supporting cross member of the type described above, in which always a convex in cross-section of the cast strand (convex) cross-sectional shape is ensured.
- a particularly advantageous embodiment is that at least one cross member supporting a strand guide roller is slidably formed in the segment frame normal to the direction of longitudinal extension of the strand guide roller, this displaceable cross member is connected via at least one Anstellinraum with the segment frame and the displaceable cross member is plate-shaped and a parallel to Has longitudinal extension of the strand guide roller aligned longitudinal slot.
- the segment tension of the four tensioning cylinders arranged on the segment corners results in a convex deformation of the stationary cross members and thus in a desired biconvex shape of the cast strand.
- engageable cross member of the same design would result from the centric introduction of the adjusting force a counter-concave deformation of the cross member and thus the driven strand guide rollers.
- the resulting within a segment different deformation of the strand shells could lead to problems with the slab quality.
- the longitudinal slot in the cross member between a pivot joint for the articulation of the adjusting device on the cross member and the strand guide roller is arranged.
- the longitudinal slot in the cross member has a slot length which is less than one of the coaxial and arranged on this cross member supported strand guide roller formed support length.
- a support length of the strand guide roller here is the distance between the two outer side faces of the arranged on the movable cross member strand guide roller to understand.
- the longitudinal slot in the cross member has a slot length which is less than one of the coaxially arranged and supported on this cross member strand guide roller and reduced by half the length of the edge strand guide roller sections support length.
- a cross member is always assigned a "strand guide role".
- This strand-guiding roller comprises a plurality of strand guide roller sections, which each extend between adjacent bearing points in the case of a multi-layered roller.
- a plurality of rollers mounted on a crossbeam and aligned axially independently also fall under the term "strand guide roller”.
- the longitudinal slot extends in the cross member between two aligned normal to the longitudinal extent of the strand guide roller guides.
- the longitudinal slot in the cross member has a slot length which is greater than one third of the coaxially arranged and supported on this cross member strand guide roller support length.
- the connecting device connecting the cross member to the segment frame has an effective line of force application which divides the slot length of the longitudinal slot in the cross member and the support length formed by the strand guide roller in the middle.
- a symmetrical to the center line bending line is achieved.
- the longitudinal slot in the cross member has expansion areas at its ends, edge cracking in this area is certainly avoided.
- These end-side expansion areas are circular.
- the diameter of the circular extension regions is equal to or greater than the slot width of the longitudinal slot.
- the circular widening region thus comprises end sections of the longitudinal slot which terminate in semicircular fillets or circular widenings which terminate the longitudinal slot.
- the extension areas may also differ slightly from the circular shape. They allow a voltage optimization in the sense of avoiding voltage spikes regardless of the slot width and surface finish of the slot.
- a cast strand with still liquid core and a thin strand shell is continuously formed in an oscillating cooled continuous casting mold.
- downstream strand guide with several meters radius of curvature of the casting strand is deflected under constant cooling of substantially vertical direction in the horizontal and directed straight there.
- a plurality of strand guide rollers which are arranged in two rows, form a transport channel for the cast strand, in which it is supported and guided.
- Some of the strand guide rollers are designed as driver rollers and provided with a motor drive to ensure a controlled conveying speed for the casting strand and at the start of casting for the starter strand.
- Casting successive strand guide rollers of both rows are summarized in assemblies in a strand guide segment.
- Such a continuous casting plant is for example from the EP 908 256 A1 known.
- the strand guide is composed of individual strand guide segments, such as one in Fig. 1 is shown schematically in axonometric representation.
- Each strand guide segment comprises a segment frame 1 which is formed by an outer arc segment frame 2 a and an inner arc segment frame 2 b, which are interconnected by four hydraulically actuable bracing devices 3 a, 3 b, 3 c, 3 d arranged in the corner regions of the segment frame 1, which have a predetermined positioning of Allow inner arch segment frame 2b to the outer arch segment frame 2a.
- the bearing housings 6 mounted on successively arranged cross members 4 strand guide rollers 5 can be adjusted to the degree of strand thickness or casting start on the thickness of the Anfahrstranges.
- Each strand guide roller 5 is formed as a continuous, multi-bearing roller or a plurality of aligned rollers.
- the cross members 4 are fixedly secured in the inner bow segment frame 2 b or in the outer bow segment frame 2 a.
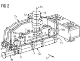
- Fig. 2 shows in a partial section of Fig. 1 a arranged in the inner arc segment frame 2b sliding cross member 7, which carries a plurality of bearing housing 6 which receive a multi-bearing, coupled to a drive 9a strand guide roller 5a rotatably.
- a similar, driven strand guide roller 5b is disposed in the outer arch segment frame 2a opposite and in Fig. 1 indicated by the drive 9b, which is opposite to the drive 9a.
- the driven strand guide roller 5b is supported in stationary cross beams 4 in the same way as the adjacent strand guide rollers 5 fastened in the outer arc segment frame 2a (FIG. Fig. 1 ).
- the provided for the driven strand guide roller 5a sliding roller carrier 7 is on the one hand via a pivot joint 11 connected to a controllable pressure medium cylinder Anstell Sk 10, on the other hand via a pivot joint 12 on the inner arc segment frame 2b is supported.
- the two pivot joints 11, 12 define a connecting line 13, which corresponds to the line of action of the application of force to the cast strand and in FIG. 2 coincides with the central axis of the adjusting device 10.
- guides 15a, 16a are fastened on both sides to the displaceable cross member 7, which cooperate with corresponding counter guides 15b, 16b on the inner bow segment frame 2b.
- the guides 15a are arranged on the broad sides of the cross member 7, approximately at a distance of a half strand guide roller section 5c, 5e from its side edges.
- the guides 16a bear against the end faces of the cross member 7.
- the guides 15a and counter guides 15b stabilize the cross member 7 in the casting direction G, the guides 16 and counter guides 16b in the transverse direction thereto.
- the cross member 7 has a longitudinal slot 20 which is parallel to the axis of rotation 14 of the driven strand guide roller 5a and extends between the two vertical guides 15a. The adjusting forces introduced with the adjusting device 10 in the cross member are redirected through the longitudinal slot and change the voltage conditions in the cross member.
- FIG. 3 shows the movable or engageable on the cast strand cross member 7 with the mounted thereon bearing housings 6 and the rotatably supported strand guide roller 5a, which is formed in several parts and three strand guide roller sections 5c, 5d, 5e.
- the movable cross member 7 is plate-shaped and carries a series of previously described vertical guides 15a, 16a. Between the mounted in the upper edge region and the middle of the cross member 7 pivot joint 11 and the strand guide roller 5a of the cross member 7 is penetrated by a longitudinal slot 20 with a slot length L Sch .
- the slot length is shorter than the support length L St , which is determined by the edge-side end faces of the strand guide roller sections 5c, 5e.
- the slot length L Sch is also less than the support length L St formed by the strand guide roller 5a and reduced by half the length of the edge-side strand guide roller sections 5c, 5e.
- the slot length L Sch is also longer than one third of the support length L St formed by the coaxially arranged strand guide roller. It extends in an area between the two vertical guides 15a.
- the longitudinal slot 20 in the cross member 7 is at its two ends in circular extension areas 21, 21 a over.
- the diameter of these circular extension regions 21, 21 a is at least twice as large as the slot width B Sch .
- FIG. 3 two embodiments of the extension region 21, 21 a are shown.
- the extension portion 21 has a diameter larger than that Slot width B Sch .
- the extension portion 21 a has a diameter corresponding to the slot width B Sch .
- FIG. 3 illustrated embodiment of an engageable on the cast strand cross member is analogous even with a non-adjustable cross member, which is fixed rigidly in an outer arch segment frame or inner arch segment frame applicable.
- FIG. 4a illustrates an inner arc segment frame 2b, which is braced with the outer arch segment frame, not shown, via four arranged in the corner region bracing devices 3a, 3b, 3c, 3d.
- the tension forces F Sp applied by the tensioning devices are transmitted via the cross members 4 fixedly arranged in the segment frame to the strand guide rollers 5 and thus to the cast strand 30.
- This is a desired shape per se, which ensures centered strand transport in the continuous casting plant.
- FIG. 4b For the special case of a displaceable in the segment frame guided and engageable with a central contact force F A against the cast strand cross member 7, which is formed according to the prior art without a longitudinal slot, sets a deformation image, as shown in FIG. 4b is shown schematically.
- the central contact force leads to a deflection of the adjustable cross member 7 and supported on it strand guide rollers 5a. This deflection is transmitted to the cast strand and therefore leads inside the bow to a concave deformation of the cast strand 30 and may increase the bow outer side convex strand deformation.
- the longitudinal slot according to the invention can be arranged on any strand guide rollers carrying cross members both on the outer bow and on the inner bow of the strand guide. This possibility exists regardless of whether this cross member is rigidly anchored in a strand guide segment, as inner arc segment part is adjustable or designed as an individual component in the strand guide segment with a cross member associated Anstell issued adjustable.
- the strand guide segment can also comprise only one cross member carrying at least one strand guide roller.
Landscapes
- Engineering & Computer Science (AREA)
- Mechanical Engineering (AREA)
- Continuous Casting (AREA)
Abstract
Description
- Die Erfindung betrifft ein Strangführungssegment zum Stützen und Führen eines gegossenen Metallstranges in einer Strangführung einer Stranggießanlage mit einer Vielzahl von Strangführungsrollen, die in einem Segmentrahmen des Strangführungssegmentes an Querträgern abgestützt sind, wobei mindestens einer der Querträger plattenförmig ausgebildet ist. Im Besonderen betrifft die Erfindung ein Strangführungssegment zum Stützen und Führen eines gegossenen Stahlstranges.
- In einer Stranggießanlage sind im Bereich der Strangführung zwischen der Kokille und dem horizontal angeordneten Auslaufrollgang für den Strang - mit dem Querschnittsformat einer Bramme, einer Dünnbramme oder eines Bandes - Strangführungsrollen einzeln oder in Strangführungssegmenten zusammengefasst angeordnet. Zusätzlich sind in Abständen voneinander an den Gießstrang und bei Gießbeginn an den Anfahrstrang anstellbare und antreibbare Strangführungsrollen vorgesehen. Durch die von diesen Strangführungsrollen aufgebrachten Anpresskräfte wird der kontrollierte Transport des Gießstranges bzw. des Anfahrstranges durch die Stranggießanlage mit einer vorbestimmten Fördergeschwindigkeit sichergestellt.
- Ein Strangführungssegment der eingangs beschriebenen Art ist aus der
bereits bekannt. Es umfasst zwei Reihen von Strangführungsrollen, die an Querträgern abgestützt sind, wobei die Querträger in aufeinander folgenden Segmentrahmen angeordnet sind. Zusätzlich ist ein Strangführungsrollen tragender Querträger an Vertikalführungen im Segmentrahmen beweglich geführt und kann an den gegossenen Strang oder den Anfahrstrang angestellt werden. Die notwendige Anstellkraft wird von einer als Druckmittelzylinder ausgebildeten Anstelleinrichtung aufgebracht, die mittig am Querträger angreift. Die zentrale Anstellkraft bewirkt eine Durchbiegung des bogeninnenseitigen Querträgers und der daran abgestützten Strangführungsrollen.WO 01/94051 A1 - Eine angestrebte konvexe (ballige) Querschnittsform des gegossenen Stranges wird erreicht, wenn der Außenbogenteil und der Innenbogenteil eines Segmentes durch an den vier Segmentecken angreifende Spannzylindern verspannt werden. Ein gleichartigeres Verformungsbild wird bei einem Querträger mit angestellten Strangführungsrollen erreicht, wenn zwei Anstellvorrichtungen jeweils in den Endbereichen des Querträgers an diesem angreifen. Eine derartige Ausführungsform ist aus der
WO 2006/037555 A1 bereits bekannt. Diese Ausführungsform weist jedoch den Nachteil auf, dass zwei synchron arbeitende Druckmittelzylinder vorgesehen werden müssen. - Aus der
ist es bekannt, im Bereich einer Soft-Reduktions-Strecke zur Bestimmung der Sumpfspitze auf der Festseite des Segmentrahmens ein etwa auf der Strangmittelachse liegendes Kraftglied vorzusehen. Dadurch kann, aufgrund der sich einstellenden Biegelinie der Rollen, die Profilüberhöhung durch Gegenbiegen der Segmenttraverse verringert werden.WO 02/13994 A1 - Zum Einstellen einer symmetrischen Wölbung des Rollenspaltes ist es aus der
bekannt, dem Führungsrollenpaar druck- und positionsgesteuerte Einstelleinrichtungen zuzuordnen, wobei diese Einstelleinrichtungen unmittelbar auf die Mittenlagerungen der Strangführungsrollen wirken.EP 941 787 A1 - Um der Auffederung eines Segmentrahmens infolge des ferrostatischen Druckes des flüssigen Kernbereiches des gegossenen Stranges entgegenzuwirken oder diese zu beeinflussen, sind aus der
WO 2008/022731 A1 verschiedene Möglichkeiten bekannt. Diese bestehen entweder in einer Bombierung der zwischengelagerten Strangführungsrollen oder in einer nachgiebigen Ausbildung der Außenlager in Relation zu den Zwischenlagern oder in einer Schrägstellung der Strangführungsrollen. Alle diese Möglichkeiten sind letztlich konstruktiv aufwändig und verteuern die Ersatzteilwirtschaft bei den Verschleißteilen, speziell den Strangführungsrollen und Rollenlagern, beträchtlich. - Aufgabe der vorliegenden Erfindung ist es, die Nachteile des bekannten Standes der Technik zu vermeiden und ein Strangführungssegment mit mindestens einem Strangführungsrollen tragenden Querträger der eingangs beschriebenen Art vorzuschlagen, bei dem stets eine im Querschnitt des gegossenen Stranges konvexe (ballige) Querschnittsform sichergestellt ist.
- Diese Aufgabe wird ausgehend von einem Strangführungssegment der eingangs beschriebenen Art dadurch gelöst, dass mindestens ein Querträger einen parallel zur Längserstreckung der Strangführungsrollen ausgerichteten Längsschlitz aufweist.
- Eine besonders vorteilhafte Ausführungsform besteht darin, dass mindestens ein eine Strangführungsrolle tragender Querträger im Segmentrahmen normal zur Richtung der Längserstreckung der Strangführungsrolle verschiebbar ausgebildet ist, dieser verschiebbare Querträger über mindestens eine Anstelleinrichtung mit dem Segmentrahmen verbunden ist und der verschiebbare Querträger plattenförmig ausgebildet ist und einen parallel zur Längserstreckung der Strangführungsrolle ausgerichteten Längsschlitz aufweist. Damit wird auch bei einer weitgehend mittigen Anordnung einer Anstelleinrichtung eine im Querschnitt des gegossenen Stranges konvexe Querschnittsform sichergestellt, wie diese bei den nicht mit einer mittigen Anstellvorrichtung angestellten Strangführungsrollen auftritt. Weiters werden die Investitionskosten für die Segmente und der notwendige Verrohrungsaufwand gering gehalten.
- Bei den nicht angestellten Strangführungsrollen kommt es durch die Segmentverspannung der vier an den Segmentecken angeordneten Spannzylindern zu einer konvexen Verformung der stationären Querträger und damit zu einer erwünschten bikonvexen Form des gegossenen Stranges. Beim anstellbaren Querträger gleicher Bauart ergäbe sich durch die zentrische Einbringung der Anstellkraft eine gegengerichtete konkave Verformung des Querträgers und damit der angetriebenen Strangführungsrollen. Die dadurch innerhalb eines Segmentes hervorgerufene unterschiedliche Verformung der Strangschalen könnte zu Problemen mit der Brammenqualität führen. Durch die Anordnung des Längsschlitzes in einem Bereich zwischen dem Anlenkpunkt der Anstelleinrichtung und der Strangführungsrolle kommt es zu einer Umlenkung der Anstellkraft und damit ebenfalls zu einer konvexen Verformung des Querträgers und der erwünschten bikonvexen Querschnittsform des gegossenen Stranges.
- Zweckmäßig ist der Längsschlitz im Querträger zwischen einem Schwenkgelenk für die Anlenkung der Anstelleinrichtung am Querträger und der Strangführungsrolle angeordnet.
- Zur Erzielung einer optimalen Verformung des verschiebbaren Querträgers, die an der Kontaktlinie der Strangführungsrollen mit dem gegossenen Strang dem der stationär im Segmentrahmen angeordneten Querträger entspricht, weist der Längsschlitz im Querträger eine Schlitzlänge auf, die geringer ist als eine von der koaxial angeordneten und an diesem Querträger abgestützten Strangführungsrolle gebildete Stützlänge. Als Stützlänge der Strangführungsrolle ist hierbei der Abstand der beiden außenseitigen Stirnflächen der am verschiebbaren Querträger angeordneten Strangführungsrolle zu verstehen.
- Nach einer bevorzugten Ausführungsform weist der Längsschlitz im Querträger eine Schlitzlänge auf, die geringer ist als eine von der koaxial angeordneten und an diesem Querträger abgestützten Strangführungsrolle gebildete und um die halbe Länge der randseitigen Strangführungsrollenabschnitte verminderte Stützlänge.
- Einem Querträger ist stets eine "Strangführungsrolle" zugeordnet. Diese Strangführungsrolle umfasst bei einer mehrfach gelagerten Rolle mehrere Strangführungsrollenabschnitte, die sich jeweils zwischen benachbarten Lagerstellen erstrecken. Im Sinne dieser Definition fallen auch mehrere unabhängig voneinander an einem Querträger gelagerte und axial fluchtende Rollen unter den Begriff "Strangführungsrolle".
- Zweckmäßig erstreckt sich der Längsschlitz im Querträger zwischen zwei normal zur Längserstreckung der Strangführungsrolle ausgerichteten Führungen.
- Zur Sicherstellung einer ausreichenden Umlenkung der Anstellkraft in die beiden Randbereiche des verschiebbaren Querträgers ist es notwendig, dass der Längsschlitz im Querträger eine Schlitzlänge aufweist, die größer ist als ein Drittel der von der koaxial angeordneten und an diesem Querträger abgestützten Strangführungsrolle gebildeten Stützlänge.
- Zweckmäßig weist die den Querträger mit dem Segmentrahmen verbindende Anstelleinrichtung eine Wirkungslinie der Kraftaufbringung auf, die die Schlitzlänge des Längsschlitzes im Querträgers und die von der Strangführungsrolle gebildete Stützlänge mittig teilt. Damit wird eine zur Mittenlinie symmetrische Biegelinie erzielt. Da der Längsschlitz im Querträger an seinen Enden Erweiterungsbereiche aufweist, wird eine Kantenrissbildung in diesem Bereich sicher vermieden. Diese endseitigen Erweiterungsbereiche sind kreisförmig ausgebildet. Der Durchmesser der kreisförmigen Erweiterungsbereiche ist gleich oder größer als die Schlitzbreite des Längsschlitzes. Der kreisförmige Erweiterungsbereich umfasst somit entweder in halbkreisförmige Ausrundungen auslaufende endseitige Abschnitte des Längsschlitzes oder den Längsschlitz abschließende kreisförmige Erweiterungen. Die Erweiterungsbereiche können auch von der Kreisform geringfügig abweichen. Sie ermöglichen eine Spannungsoptimierung im Sinne einer Vermeidung von Spannungsspitzen unabhängig von der Schlitzbreite und Oberflächenbeschaffenheit des Schlitzes.
- Weitere Vorteile und Merkmale der vorliegenden Erfindung ergeben sich aus der nachfolgenden Beschreibung eines nicht einschränkenden Ausführungsbeispieles, wobei auf die beiliegenden Figuren Bezug genommen wird, die folgendes zeigen:
- Fig. 1
- eine axonometrische Darstellung eines Strangführungssegmentes mit einem anstellbaren und Strangführungsrollen tragenden Querträger,
- Fig. 2
- den im Innenbogensegmentrahmen angeordneten verlagerbaren Querträger in einem Teilschnitt der
Figur 1 , - Fig. 3
- eine Frontalansicht des erfindungsgemäßen Querträgers,
- Fig. 4a bis 4c,
- eine vergleichende Darstellung der Auswirkungen der Spannkräfte und Anstellkräfte im Segment auf die Querschnittsform des gegossenen Stranges.
- In einer Stranggießanlage zur Herstellung von Stahlsträngen im Brammenformat wird in einer oszillierenden gekühlten Stranggießkokille kontinuierlich ein Gießstrang mit noch flüssigem Kern und einer dünnen Strangschale gebildet. In einer der Stranggießkokille in Gießrichtung nachgeordneten Strangführung mit mehreren Metern Krümmungsradius wird der Gießstrang unter ständiger Kühlung von im Wesentlichen vertikaler Richtung in die Horizontale umgelenkt und dort gerade gerichtet. Eine Vielzahl von Strangführungsrollen, die in zwei Reihen angeordnet sind, bilden einen Transportkanal für den Gießstrang, in dem er gestützt und geführt wird. Einige der Strangführungsrollen sind als Treiberrollen ausgebildet und mit einem motorischen Antrieb versehen, um eine kontrollierte Fördergeschwindigkeit für den Gießstrang und bei Gießbeginn für den Anfahrstrang zu gewährleisten. In Gießrichtung aufeinander folgende Strangführungsrollen beider Reihen sind in Baugruppen in einem Strangführungssegment zusammengefasst. Eine derartige Stranggießanlage ist beispielsweise aus der
bekannt.EP 908 256 A1 - Die Strangführung ist aus einzelnen Strangführungssegmenten zusammengesetzt, wie eines in
Fig. 1 in axonometrischer Darstellung schematisch dargestellt ist. Jedes Strangführungssegment umfasst einen Segmentrahmen 1, der von je einem Außenbogensegmentrahmen 2a und einem Innenbogensegmentrahmen 2b gebildet ist, welche durch vier in den Eckbereichen des Segmentrahmens 1 angeordnete, hydraulisch betätigbare Verspanneinrichtungen 3a, 3b, 3c, 3d miteinander verbunden sind, die eine vorgegebene Positionierung von Innenbogensegmentrahmen 2b zum Außenbogensegmentrahmen 2a zulassen. Damit können die in Lagergehäusen 6 an hintereinander angeordneten Querträgern 4 gelagerten Strangführungsrollen 5 auf das Maß der Strangdicke oder bei Gießbeginn auf die Dicke des Anfahrstranges eingestellt werden. Jede Strangführungsrolle 5 ist als durchgehende, mehrfach gelagerte Rolle oder von mehreren fluchtenden Rollen gebildet. Die Querträger 4 sind fest im Innenbogensegmentrahmen 2b bzw. im Außenbogensegmentrahmen 2a befestigt. -
Fig. 2 zeigt in einem Teilschnitt derFig. 1 einen im Innenbogensegmentrahmen 2b angeordneten verschiebbaren Querträger 7, der mehrere Lagergehäuse 6 trägt, die eine mehrfach gelagerte, mit einem Antrieb 9a gekoppelte Strangführungsrolle 5a drehbeweglich aufnehmen. Eine gleichartige, angetriebene Strangführungsrolle 5b ist im Außenbogensegmentrahmen 2a gegenüberliegend angeordnet und inFig. 1 durch den Antrieb 9b, der dem Antrieb 9a gegenüberliegt, angedeutet. Die angetriebene Strangführungsrolle 5b ist gleichermaßen wie die benachbarten im Außenbogensegmentrahmen 2a befestigten Strangführungsrollen 5 in stationären Querträgern 4 abgestützt (Fig. 1 ). Der für die angetriebene Strangführungsrolle 5a vorgesehene verschiebbare Rollenträger 7 ist einerseits über ein Schwenkgelenk 11 mit einer von einem ansteuerbaren Druckmittelzylinder gebildeten Anstelleinrichtung 10 verbunden, die andererseits über ein Schwenkgelenk 12 am Innenbogensegmentrahmen 2b abgestützt ist. Die beiden Schwenkgelenke 11, 12 bestimmen eine Verbindungslinie 13, die der Wirkungslinie der Kraftaufbringung auf den Gießstrang entspricht und inFigur 2 mit der Mittelachse der Anstelleinrichtung 10 zusammenfällt. - Parallel zu den Verbindungslinien 13 sind Führungen 15a, 16a beiderseits am verschiebbaren Querträger 7 befestigt, die mit entsprechenden Gegenführungen 15b, 16b am Innenbogensegmentrahmen 2b zusammenwirken. Die Führungen 15a sind an den Breitseiten des Querträgers 7, etwa im Abstand eines halben Strangführungsrollenabschnittes 5c, 5e von seinen Seitenrändern angeordnet. Die Führungen 16a liegen an den Stirnseiten des Querträgers 7 an. Die Führungen 15a und Gegenführungen 15b stabilisieren den Querträger 7 in Gießrichtung G, die Führungen 16 und Gegenführungen 16b in Querrichtung dazu. Der Querträger 7 weist einen Längsschlitz 20 auf, der parallel zur Drehachse 14 der angetriebenen Strangführungsrolle 5a verläuft und sich zwischen den beiden vertikalen Führungen 15a erstreckt. Die mit der Anstelleinrichtung 10 in den Querträger eingeleiteten Anstellkräfte werden durch den Längsschlitz umgeleitet und verändern die Spannungsverhältnisse im Querträger.
-
Figur 3 zeigt den beweglichen bzw. an den gegossenen Strang anstellbaren Querträger 7 mit den daran montierten Lagergehäusen 6 und der darin drehbar abgestützten Strangführungsrolle 5a, die mehrteilig ausgebildet ist und drei Strangführungsrollenabschnitte 5c, 5d, 5e umfasst. Der bewegbare Querträger 7 ist plattenförmig ausgebildet und trägt eine Reihe von zuvor bereits beschriebenen vertikalen Führungen 15a, 16a. Zwischen dem im oberen Randbereich und mittig am Querträger 7 montierten Schwenkgelenk 11 und der Strangführungsrolle 5a ist der Querträger 7 von einem Längsschlitz 20 mit einer Schlitzlänge LSch durchsetzt. Die Schlitzlänge ist kürzer als die Stützlänge LSt, die durch die randseitigen Stirnflächen der Strangführungsrollenabschnitte 5c, 5e bestimmt ist. Im konkreten Ausführungsbeispiel derFigur 3 ist die Schlitzlänge LSch auch geringer als die von der Strangführungsrolle 5a gebildete und um die halbe Länge der randseitigen Strangführungsrollenabschnitte 5c, 5e verminderte Stützlänge LSt. Die Schlitzlänge LSch ist aber auch länger als ein Drittel der von der koaxial angeordneten Strangführungsrolle gebildeten Stützlänge LSt. Sie erstreckt sich in einem Bereich zwischen den beiden vertikalen Führungen 15a. Der Längsschlitz 20 im Querträger 7 geht an seinen beiden Enden in kreisförmig ausgebildete Erweiterungsbereiche 21, 21 a über. Der Durchmesser dieser kreisförmigen Erweiterungsbereiche 21, 21 a ist mindestens doppelt so groß wie die Schlitzbreite BSch. InFigur 3 sind zwei Ausführungsformen des Erweiterungsbereiches 21, 21a dargestellt. Der Erweiterungsbereich 21 weist einen Durchmesser auf, der größer ist als die Schlitzbreite BSch. Der Erweiterungsbereich 21 a weist einen Durchmesser auf, der der Schlitzbreite BSch entspricht. - Die in
Figur 3 dargestellte Ausführungsform eines an den gegossenen Strang anstellbaren Querträgers ist analog auch bei einem nicht anstellbaren Querträger, der in einem Außenbogensegmentrahmen oder Innenbogensegmentrahmen starr festgelegt ist anwendbar. - Eine vergleichende Darstellung der Auswirkungen der Spannkräfte und Anstellkräfte in einem Strangführungssegment auf die Querschnittsform des gegossenen Stranges ist in den
Figuren 4a, 4b und 4c dargestellt und verdeutlicht den Vorteil der erfindungsgemäßen Lösung. -
Figur 4a veranschaulicht einen Innenbogensegmentrahmen 2b, der mit dem nicht dargestellten Außenbogensegmentrahmen über vier im Eckenbereich angeordnete Verspanneinrichtungen 3a, 3b, 3c, 3d verspannt ist. Die von den Verspanneinrichtungen aufgebrachten Spannkräfte FSp werden über die fest im Segmentrahmen angeordneten Querträger 4 auf die Strangführungsrollen 5 und damit auf den gegossenen Strang 30 übertragen. Hierdurch kommt es zu einer Durchbiegung der Querträger und der Strangführungsrollen, wie im unteren Bild derFigur 4a dargestellt, und führt zu einer bikonvexen Verformung des gegossenen Stranges 30. Dies ist eine an sich gewünschte Formgebung, durch die ein zentrierter Strangtransport in der Stranggießanlage sichergestellt ist. - Für den speziellen Fall eines im Segmentrahmen verschiebbaren geführten und mit einer zentralen Anstellkraft FA gegen den gegossenen Strang anstellbaren Querträgers 7, der gemäß dem Stand der Technik ohne Längsschlitz ausgebildet ist, stellt sich ein Verformungsbild ein, wie es in
Figur 4b schematisch dargestellt ist. Die zentrale Anstellkraft führt zu einer Durchbiegung des anstellbaren Querträgers 7 und der an ihm abgestützten Strangführungsrollen 5a. Diese Durchbiegung überträgt sich auf den gegossenen Strang und führt daher bogeninnenseitig zu einer konkaven Verformung des gegossenen Stranges 30 und verstärkt unter Umständen die bogenaußenseitige konvexe Strangverformung. Diese im Bereich des Innenbogensegmentrahmens 2b im Abstand von zwei Rollenteilungen auftretenden Verformungsänderungen von konvex auf konkav und dann wieder von konkav auf konvex kann speziell bei verformungsempfindlichen Stahlqualitäten zu Rissbildungen führen. - In
Figur 4c ist demgegenüber ein gegen den gegossenen Strang 30 anstellbarer Querträger 7 mit dem erfindungsgemäßen Längsschlitz 20 mit einer zentralen Anstellkraft FA belastet. Da eine Kraftübertragung über den Längsschlitz 20 nicht möglich ist, erfolgt eine Umlenkung der Belastung zu den Randbereichen des Querträgers 7 und damit zu den Endbereichen der Strangführungsrolle 5a. Der gegossene Strang 30 wird daher in seinen seitlichen Randzonen wesentlich stärker belastet als in seinem Mittenbereich. Dies führt ebenfalls zu einem bikonvex Verformungsbild, wie es sich analog bei den starr positionierten Querträgern 4 inFigur 4a einstellt. Die schädliche wechselnde Verformung tritt daher bei der erfindungsgemäßen Ausgestaltung eines Strangführungssegmentes nicht mehr auf. - Die Erfindung ist nicht auf die im Detail beschriebene Ausführungsform beschränkt. Vielmehr kann der erfindungsgemäße Längsschlitz an allen beliebigen Strangführungsrollen tragenden Querträgern sowohl am Außenbogen als auch am Innenbogen der Strangführung angeordnet sein. Diese Möglichkeit besteht unabhängig davon, ob dieser Querträger starr in einem Strangführungssegment verankert ist, als Innenbogensegmentteil anstellbar ist oder als einzelner Bauteil im Strangführungssegment mit einer dem Querträger zugeordneten Anstelleinrichtung anstellbar ausgebildet ist.
- Gleichermaßen kann das Strangführungssegment auch nur einen mindestens eine Strangführungsrolle tragenden Querträger umfassen.
Claims (10)
- Strangführungssegment zum Stützen und Führen eines gegossenen Metallstranges in einer Strangführung einer Stranggießanlage mit einer Vielzahl von Strangführungsrollen (5, 5a, 5b), die in einem Segmentrahmen (1) des Strangführungssegmentes an Querträgern (4, 7) abgestützt sind, wobei mindestens einer der Querträger (7) plattenförmig ausgebildet ist, dadurch gekennzeichnet, dass mindestens ein Querträger (7) einen parallel zur Längserstreckung der Strangführungsrolle (5a) ausgerichteten Längsschlitz (20) aufweist.
- Strangführungssegment nach Anspruch 1, dadurch gekennzeichnet, dass mindestens ein eine Strangführungsrolle (5a) tragender Querträger (7) im Segmentrahmen (1) normal zur Richtung der Längserstreckung der Strangführungsrolle (5a) verschiebbar ausgebildet ist, dieser verschiebbare Querträger (7) über mindestens eine Anstelleinrichtung (10) mit dem Segmentrahmen (1) verbunden ist und der verschiebbare Querträger (7) plattenförmig ausgebildet ist und einen parallel zur Längserstreckung der Strangführungsrolle (5a) ausgerichteten Längsschlitz (20) aufweist.
- Strangführungssegment nach Anspruch 2, dadurch gekennzeichnet, dass der Längsschlitz (20) im Querträger (7) zwischen einem Schwenkgelenk (11) für die Anlenkung der Anstelleinrichtung (10) am Querträger (7) und der Strangführungsrolle (5a) angeordnet ist.
- Strangführungssegment nach einem der vorhergehenden Ansprüche, dadurch gekennzeichnet, dass der Längsschlitz (20) im Querträger (7) eine Schlitzlänge (LSch) aufweist, die geringer ist als eine von der koaxial angeordneten und an diesem Querträger (7) abgestützten Strangführungsrolle (5a) gebildete Stützlänge (LST).
- Strangführungssegment nach einem der Ansprüche 1 bis 3, dadurch gekennzeichnet, dass der Längsschlitz (20) im Querträger (7) eine Schlitzlänge (LSch) aufweist, die geringer ist als eine von der koaxial angeordneten und an diesem Querträger (7) abgestützten Strangführungsrolle (5a) gebildete und um die halbe Länge der randseitigen Strangführungsrollenabschnitte (5c, 5e) verminderte Stützlänge (LSt).
- Strangführungssegment nach einem der Ansprüche 1 bis 3, dadurch gekennzeichnet, dass sich der Längsschlitz (20) im Querträger (7) zwischen zwei normal zur Längserstreckung der Strangführungsrolle (5a) ausgerichteten Führungen (15a) erstreckt.
- Strangführungssegment nach einem der vorhergehenden Ansprüche, dadurch gekennzeichnet, dass der Längsschlitz (20) im Querträger (7) eine Schlitzlänge (LSch) aufweist, die größer ist als ein Drittel der von der koaxial angeordneten und an diesem Querträger (7) abgestützten Strangführungsrolle (5a) gebildeten Stützlänge (LSt).
- Strangführungssegment nach einem der Ansprüche 2 bis 7, dadurch gekennzeichnet, dass die den Querträger (7) mit dem Segmentrahmen (1) verbindende Anstelleinrichtung (10) eine Wirkungslinie der Kraftaufbringung aufweist, die die Schlitzlänge (LSch) des Längsschlitz (20) im Querträger (7) und die von der Strangführungsrolle (5a) gebildete Stützlänge (LSt) mittig teilt.
- Strangführungssegment nach einem der vorhergehenden Ansprüche, dadurch gekennzeichnet, dass der Längsschlitz (20) im Querträger (7) an seinen Enden Erweiterungsbereiche (21, 21a) aufweist.
- Strangführungssegment nach Anspruch 9, dadurch gekennzeichnet, dass die endseitigen Erweiterungsbereiche (21, 21 a) kreisförmig ausgebildet sind und der Durchmesser der kreisförmigen Erweiterungsbereiche (21, 21a) gleich oder größer ist als die Schlitzbreite (BSch) des Längsschlitzes (20).
Applications Claiming Priority (2)
| Application Number | Priority Date | Filing Date | Title |
|---|---|---|---|
| AT0049208A AT506549B1 (de) | 2008-03-28 | 2008-03-28 | Strangführungssegment |
| PCT/EP2009/052099 WO2009118222A1 (de) | 2008-03-28 | 2009-02-23 | Strangführungssegment |
Publications (2)
| Publication Number | Publication Date |
|---|---|
| EP2257397A1 EP2257397A1 (de) | 2010-12-08 |
| EP2257397B1 true EP2257397B1 (de) | 2012-04-04 |
Family
ID=40602489
Family Applications (1)
| Application Number | Title | Priority Date | Filing Date |
|---|---|---|---|
| EP09724438A Not-in-force EP2257397B1 (de) | 2008-03-28 | 2009-02-23 | Strangführungssegment |
Country Status (5)
| Country | Link |
|---|---|
| EP (1) | EP2257397B1 (de) |
| KR (1) | KR20100126846A (de) |
| CN (1) | CN102083571A (de) |
| AT (2) | AT506549B1 (de) |
| WO (1) | WO2009118222A1 (de) |
Cited By (1)
| Publication number | Priority date | Publication date | Assignee | Title |
|---|---|---|---|---|
| EP4529998A1 (de) * | 2023-09-27 | 2025-04-02 | SMS group GmbH | Adaptives segment einer strangführung, insbesondere für eine stranggiessanlage |
Families Citing this family (12)
| Publication number | Priority date | Publication date | Assignee | Title |
|---|---|---|---|---|
| DE102010007659B4 (de) * | 2010-01-12 | 2019-05-09 | Sms Group Gmbh | Stranggießmaschine mit einem Kaltstrang |
| AT509352B1 (de) * | 2010-02-05 | 2014-06-15 | Siemens Vai Metals Tech Gmbh | Strangführungssegment in kassettenbauweise mit einzelrollenanstellung |
| EP2404686A1 (de) * | 2010-07-09 | 2012-01-11 | Siemens VAI Metals Technologies GmbH | Rollenträger für ein Strangführungssegment einer Stranggießmaschine |
| DE102011088127A1 (de) * | 2011-06-07 | 2012-12-13 | Sms Siemag Ag | Strangführungssegment einer Strangführung einer Stranggießanlage und Verfahren zum Betreiben eines Strangführungssegments |
| KR101372640B1 (ko) * | 2011-12-27 | 2014-03-11 | 주식회사 포스코 | 분리형 세그먼트 및 이를 이용한 롤 교환 방법 |
| CN104057049B (zh) * | 2014-07-09 | 2016-06-15 | 北京科技大学 | 连铸坯凝固末端大压下的连铸机扇形段及其大压下方法 |
| CN104057050B (zh) * | 2014-07-14 | 2016-04-13 | 北京科技大学 | 一种板坯连铸机扇形段连铸辊的支撑结构 |
| AT516412B1 (de) * | 2014-10-28 | 2017-07-15 | Primetals Technologies Austria GmbH | Strangführungsrolleneinheit für eine Stranggießmaschine |
| CN108015244B (zh) * | 2017-12-05 | 2023-11-14 | 马鞍山钢铁股份有限公司 | 一种连铸机扇形段结构 |
| AT521416B1 (de) * | 2018-07-02 | 2024-01-15 | Primetals Technologies Austria GmbH | Strangführungssegment mit individuell verschiebbaren Strangführungsrollen |
| CN110523938B (zh) * | 2019-07-24 | 2021-10-01 | 中国一冶集团有限公司 | 一种连铸机更换导轨墙面固定装置及更换导轨固定的方法 |
| CN115647318A (zh) * | 2022-09-20 | 2023-01-31 | 山东钢铁集团日照有限公司 | 一种连铸扇形段辊缝控制装置及其控制方法 |
Family Cites Families (8)
| Publication number | Priority date | Publication date | Assignee | Title |
|---|---|---|---|---|
| GB1101959A (en) * | 1965-07-20 | 1968-02-07 | Nat Res Dev | Improvements in and relating to load cells |
| EP0941787B1 (de) * | 1998-03-09 | 2005-09-28 | SMS Demag AG | Führungselement einer Stranggiessanlage |
| DE19916173A1 (de) * | 1999-04-10 | 2000-10-12 | Sms Demag Ag | Verfahren und Vorrichtung zum Einstellen des Brammenprofils einer stranggegossenen Bramme, insbesondere einer Dünnbramme |
| AT3953U3 (de) * | 2000-06-02 | 2001-04-25 | Voest Alpine Ind Anlagen | Strangführungselement und strangführungssegment mit integriertem strangführungselement |
| DE10040271A1 (de) * | 2000-08-17 | 2002-02-28 | Sms Demag Ag | Vorrichtung zum Stranggießen von Metallen, insbesondere von Stahl |
| AT409465B (de) * | 2000-12-12 | 2002-08-26 | Voest Alpine Ind Anlagen | Verfahren zum einstellen eines giessspaltes an einer strangführung einer stranggiessanlage |
| DE102004048618A1 (de) * | 2004-10-06 | 2006-04-13 | Sms Demag Ag | Verfahren und Rollensegment zum Bestimmen der Kernerstarrung und/oder der Sumpfspitze beim Stranggießen von Metallen, insbesondere von Stahlwerkstoffen |
| DE102006040012A1 (de) * | 2006-08-25 | 2008-02-28 | Sms Demag Ag | Strangführungseinrichtung und Verfahren zum Führen eines noch nicht durcherstarrten Metallbandes |
-
2008
- 2008-03-28 AT AT0049208A patent/AT506549B1/de not_active IP Right Cessation
-
2009
- 2009-02-23 EP EP09724438A patent/EP2257397B1/de not_active Not-in-force
- 2009-02-23 WO PCT/EP2009/052099 patent/WO2009118222A1/de not_active Ceased
- 2009-02-23 AT AT09724438T patent/ATE552057T1/de active
- 2009-02-23 CN CN2009801193193A patent/CN102083571A/zh active Pending
- 2009-02-23 KR KR1020107024086A patent/KR20100126846A/ko not_active Ceased
Cited By (1)
| Publication number | Priority date | Publication date | Assignee | Title |
|---|---|---|---|---|
| EP4529998A1 (de) * | 2023-09-27 | 2025-04-02 | SMS group GmbH | Adaptives segment einer strangführung, insbesondere für eine stranggiessanlage |
Also Published As
| Publication number | Publication date |
|---|---|
| CN102083571A (zh) | 2011-06-01 |
| KR20100126846A (ko) | 2010-12-02 |
| ATE552057T1 (de) | 2012-04-15 |
| AT506549A1 (de) | 2009-10-15 |
| AT506549B1 (de) | 2011-06-15 |
| WO2009118222A1 (de) | 2009-10-01 |
| EP2257397A1 (de) | 2010-12-08 |
Similar Documents
| Publication | Publication Date | Title |
|---|---|---|
| EP2257397B1 (de) | Strangführungssegment | |
| DE2501956C2 (de) | Vorrichtung zum Stützen, Führen, Biegen bzw. Richten und Verformen eines breiten Gußstranges | |
| EP1289689B1 (de) | Strangführungselement | |
| EP1043095B1 (de) | Vorrichtung zum Einstellen des Brammenprofils einer stranggegossenen Bramme, insbesondere einer Dünnbramme | |
| EP2056981A1 (de) | Strangführungseinrichtung und verfahren zum führen eines noch nicht durcherstarrten metallbandes | |
| EP2342026B1 (de) | Walzvorrichtung | |
| AT406644B (de) | Präzisionswalzverfahren | |
| DE102008009136A1 (de) | Strangführung, insbesondere für eine Stahlbrammen-Stranggießanlage | |
| DE1558220C3 (de) | Lagerung von Walzen für die Formänderung eines aus einer Stranggießkokille kommenden metallischen Stranges | |
| EP1365874B1 (de) | Verfahren und vorrichtung zum herstellen von dünnbrammen | |
| EP3256276B1 (de) | Giessanlage | |
| EP1132161A1 (de) | Verfahren zum Stranggiessen von Brammen, und insbesondere von Dünnbrammen | |
| DE3034444A1 (de) | Richttreiber in einer stahlstranggiessanlage | |
| DE2939321C2 (de) | ||
| WO2006056423A1 (de) | Vorrichtung und verfahren zum stranggiessen | |
| EP1960136A1 (de) | Verfahren zum stranggiessen dünner metallbänder und stranggiessanlage | |
| EP0184025A2 (de) | Führungseinrichtung an den Giessbändern einer Doppelbandstranggiesskokille | |
| EP0203279B1 (de) | Walze, vorzugsweise Gegendruckwalze eines Tiefdruckformzylinders, mit durchbiegbarem Walzenmantel | |
| EP0941787A1 (de) | Führungselement einer Stranggiessanlage | |
| WO2002013994A1 (de) | Vorrichtung zum stranggiessen von metallen, insbesondere von stahl | |
| EP3235579B1 (de) | Strangführungseinrichtung und verfahren zum stützen eines giessstrangs | |
| DE10145106A1 (de) | Walzgutführungseinrichtung für Horizontal-Duowalzgerüste | |
| AT234932B (de) | Stützwalzengerüst zur Führung eines gebogenen Gießstranges in einer Stahl- oder Metallstranggießanlage | |
| AT347615B (de) | Treibwalzengeruest fuer mehrstrangige stranggussanlagen | |
| AT251783B (de) | Strangführung für eine Stranggußanlage |
Legal Events
| Date | Code | Title | Description |
|---|---|---|---|
| PUAI | Public reference made under article 153(3) epc to a published international application that has entered the european phase |
Free format text: ORIGINAL CODE: 0009012 |
|
| 17P | Request for examination filed |
Effective date: 20100922 |
|
| AK | Designated contracting states |
Kind code of ref document: A1 Designated state(s): AT BE BG CH CY CZ DE DK EE ES FI FR GB GR HR HU IE IS IT LI LT LU LV MC MK MT NL NO PL PT RO SE SI SK TR |
|
| AX | Request for extension of the european patent |
Extension state: AL BA RS |
|
| DAX | Request for extension of the european patent (deleted) | ||
| GRAP | Despatch of communication of intention to grant a patent |
Free format text: ORIGINAL CODE: EPIDOSNIGR1 |
|
| GRAS | Grant fee paid |
Free format text: ORIGINAL CODE: EPIDOSNIGR3 |
|
| GRAA | (expected) grant |
Free format text: ORIGINAL CODE: 0009210 |
|
| AK | Designated contracting states |
Kind code of ref document: B1 Designated state(s): AT BE BG CH CY CZ DE DK EE ES FI FR GB GR HR HU IE IS IT LI LT LU LV MC MK MT NL NO PL PT RO SE SI SK TR |
|
| REG | Reference to a national code |
Ref country code: GB Ref legal event code: FG4D Free format text: NOT ENGLISH |
|
| REG | Reference to a national code |
Ref country code: CH Ref legal event code: EP |
|
| REG | Reference to a national code |
Ref country code: AT Ref legal event code: REF Ref document number: 552057 Country of ref document: AT Kind code of ref document: T Effective date: 20120415 |
|
| REG | Reference to a national code |
Ref country code: IE Ref legal event code: FG4D Free format text: LANGUAGE OF EP DOCUMENT: GERMAN |
|
| REG | Reference to a national code |
Ref country code: DE Ref legal event code: R096 Ref document number: 502009003205 Country of ref document: DE Effective date: 20120606 |
|
| REG | Reference to a national code |
Ref country code: NL Ref legal event code: VDEP Effective date: 20120404 |
|
| LTIE | Lt: invalidation of european patent or patent extension |
Effective date: 20120404 |
|
| PG25 | Lapsed in a contracting state [announced via postgrant information from national office to epo] |
Ref country code: PL Free format text: LAPSE BECAUSE OF FAILURE TO SUBMIT A TRANSLATION OF THE DESCRIPTION OR TO PAY THE FEE WITHIN THE PRESCRIBED TIME-LIMIT Effective date: 20120404 Ref country code: SE Free format text: LAPSE BECAUSE OF FAILURE TO SUBMIT A TRANSLATION OF THE DESCRIPTION OR TO PAY THE FEE WITHIN THE PRESCRIBED TIME-LIMIT Effective date: 20120404 Ref country code: CY Free format text: LAPSE BECAUSE OF FAILURE TO SUBMIT A TRANSLATION OF THE DESCRIPTION OR TO PAY THE FEE WITHIN THE PRESCRIBED TIME-LIMIT Effective date: 20120404 Ref country code: FI Free format text: LAPSE BECAUSE OF FAILURE TO SUBMIT A TRANSLATION OF THE DESCRIPTION OR TO PAY THE FEE WITHIN THE PRESCRIBED TIME-LIMIT Effective date: 20120404 Ref country code: NO Free format text: LAPSE BECAUSE OF FAILURE TO SUBMIT A TRANSLATION OF THE DESCRIPTION OR TO PAY THE FEE WITHIN THE PRESCRIBED TIME-LIMIT Effective date: 20120704 Ref country code: SI Free format text: LAPSE BECAUSE OF FAILURE TO SUBMIT A TRANSLATION OF THE DESCRIPTION OR TO PAY THE FEE WITHIN THE PRESCRIBED TIME-LIMIT Effective date: 20120404 Ref country code: LT Free format text: LAPSE BECAUSE OF FAILURE TO SUBMIT A TRANSLATION OF THE DESCRIPTION OR TO PAY THE FEE WITHIN THE PRESCRIBED TIME-LIMIT Effective date: 20120404 Ref country code: IS Free format text: LAPSE BECAUSE OF FAILURE TO SUBMIT A TRANSLATION OF THE DESCRIPTION OR TO PAY THE FEE WITHIN THE PRESCRIBED TIME-LIMIT Effective date: 20120804 |
|
| PG25 | Lapsed in a contracting state [announced via postgrant information from national office to epo] |
Ref country code: HR Free format text: LAPSE BECAUSE OF FAILURE TO SUBMIT A TRANSLATION OF THE DESCRIPTION OR TO PAY THE FEE WITHIN THE PRESCRIBED TIME-LIMIT Effective date: 20120404 Ref country code: PT Free format text: LAPSE BECAUSE OF FAILURE TO SUBMIT A TRANSLATION OF THE DESCRIPTION OR TO PAY THE FEE WITHIN THE PRESCRIBED TIME-LIMIT Effective date: 20120806 Ref country code: LV Free format text: LAPSE BECAUSE OF FAILURE TO SUBMIT A TRANSLATION OF THE DESCRIPTION OR TO PAY THE FEE WITHIN THE PRESCRIBED TIME-LIMIT Effective date: 20120404 Ref country code: GR Free format text: LAPSE BECAUSE OF FAILURE TO SUBMIT A TRANSLATION OF THE DESCRIPTION OR TO PAY THE FEE WITHIN THE PRESCRIBED TIME-LIMIT Effective date: 20120705 |
|
| PG25 | Lapsed in a contracting state [announced via postgrant information from national office to epo] |
Ref country code: NL Free format text: LAPSE BECAUSE OF FAILURE TO SUBMIT A TRANSLATION OF THE DESCRIPTION OR TO PAY THE FEE WITHIN THE PRESCRIBED TIME-LIMIT Effective date: 20120404 Ref country code: CZ Free format text: LAPSE BECAUSE OF FAILURE TO SUBMIT A TRANSLATION OF THE DESCRIPTION OR TO PAY THE FEE WITHIN THE PRESCRIBED TIME-LIMIT Effective date: 20120404 Ref country code: DK Free format text: LAPSE BECAUSE OF FAILURE TO SUBMIT A TRANSLATION OF THE DESCRIPTION OR TO PAY THE FEE WITHIN THE PRESCRIBED TIME-LIMIT Effective date: 20120404 Ref country code: EE Free format text: LAPSE BECAUSE OF FAILURE TO SUBMIT A TRANSLATION OF THE DESCRIPTION OR TO PAY THE FEE WITHIN THE PRESCRIBED TIME-LIMIT Effective date: 20120404 Ref country code: SK Free format text: LAPSE BECAUSE OF FAILURE TO SUBMIT A TRANSLATION OF THE DESCRIPTION OR TO PAY THE FEE WITHIN THE PRESCRIBED TIME-LIMIT Effective date: 20120404 Ref country code: RO Free format text: LAPSE BECAUSE OF FAILURE TO SUBMIT A TRANSLATION OF THE DESCRIPTION OR TO PAY THE FEE WITHIN THE PRESCRIBED TIME-LIMIT Effective date: 20120404 |
|
| PLBE | No opposition filed within time limit |
Free format text: ORIGINAL CODE: 0009261 |
|
| STAA | Information on the status of an ep patent application or granted ep patent |
Free format text: STATUS: NO OPPOSITION FILED WITHIN TIME LIMIT |
|
| 26N | No opposition filed |
Effective date: 20130107 |
|
| PG25 | Lapsed in a contracting state [announced via postgrant information from national office to epo] |
Ref country code: ES Free format text: LAPSE BECAUSE OF FAILURE TO SUBMIT A TRANSLATION OF THE DESCRIPTION OR TO PAY THE FEE WITHIN THE PRESCRIBED TIME-LIMIT Effective date: 20120715 |
|
| REG | Reference to a national code |
Ref country code: DE Ref legal event code: R097 Ref document number: 502009003205 Country of ref document: DE Effective date: 20130107 |
|
| PG25 | Lapsed in a contracting state [announced via postgrant information from national office to epo] |
Ref country code: BG Free format text: LAPSE BECAUSE OF FAILURE TO SUBMIT A TRANSLATION OF THE DESCRIPTION OR TO PAY THE FEE WITHIN THE PRESCRIBED TIME-LIMIT Effective date: 20120704 |
|
| BERE | Be: lapsed |
Owner name: SIEMENS VAI METALS TECHNOLOGIES GMBH Effective date: 20130228 |
|
| PG25 | Lapsed in a contracting state [announced via postgrant information from national office to epo] |
Ref country code: MC Free format text: LAPSE BECAUSE OF NON-PAYMENT OF DUE FEES Effective date: 20130228 |
|
| REG | Reference to a national code |
Ref country code: CH Ref legal event code: PL |
|
| GBPC | Gb: european patent ceased through non-payment of renewal fee |
Effective date: 20130223 |
|
| PG25 | Lapsed in a contracting state [announced via postgrant information from national office to epo] |
Ref country code: CH Free format text: LAPSE BECAUSE OF NON-PAYMENT OF DUE FEES Effective date: 20130228 Ref country code: LI Free format text: LAPSE BECAUSE OF NON-PAYMENT OF DUE FEES Effective date: 20130228 |
|
| REG | Reference to a national code |
Ref country code: FR Ref legal event code: ST Effective date: 20131031 |
|
| REG | Reference to a national code |
Ref country code: IE Ref legal event code: MM4A |
|
| PG25 | Lapsed in a contracting state [announced via postgrant information from national office to epo] |
Ref country code: IE Free format text: LAPSE BECAUSE OF NON-PAYMENT OF DUE FEES Effective date: 20130223 Ref country code: BE Free format text: LAPSE BECAUSE OF NON-PAYMENT OF DUE FEES Effective date: 20130228 Ref country code: FR Free format text: LAPSE BECAUSE OF NON-PAYMENT OF DUE FEES Effective date: 20130228 Ref country code: GB Free format text: LAPSE BECAUSE OF NON-PAYMENT OF DUE FEES Effective date: 20130223 |
|
| PG25 | Lapsed in a contracting state [announced via postgrant information from national office to epo] |
Ref country code: MT Free format text: LAPSE BECAUSE OF FAILURE TO SUBMIT A TRANSLATION OF THE DESCRIPTION OR TO PAY THE FEE WITHIN THE PRESCRIBED TIME-LIMIT Effective date: 20120404 |
|
| PGFP | Annual fee paid to national office [announced via postgrant information from national office to epo] |
Ref country code: DE Payment date: 20140417 Year of fee payment: 6 |
|
| REG | Reference to a national code |
Ref country code: AT Ref legal event code: MM01 Ref document number: 552057 Country of ref document: AT Kind code of ref document: T Effective date: 20140223 |
|
| PGFP | Annual fee paid to national office [announced via postgrant information from national office to epo] |
Ref country code: IT Payment date: 20150228 Year of fee payment: 7 |
|
| PG25 | Lapsed in a contracting state [announced via postgrant information from national office to epo] |
Ref country code: AT Free format text: LAPSE BECAUSE OF NON-PAYMENT OF DUE FEES Effective date: 20140223 |
|
| PG25 | Lapsed in a contracting state [announced via postgrant information from national office to epo] |
Ref country code: TR Free format text: LAPSE BECAUSE OF FAILURE TO SUBMIT A TRANSLATION OF THE DESCRIPTION OR TO PAY THE FEE WITHIN THE PRESCRIBED TIME-LIMIT Effective date: 20120404 |
|
| PG25 | Lapsed in a contracting state [announced via postgrant information from national office to epo] |
Ref country code: MK Free format text: LAPSE BECAUSE OF FAILURE TO SUBMIT A TRANSLATION OF THE DESCRIPTION OR TO PAY THE FEE WITHIN THE PRESCRIBED TIME-LIMIT Effective date: 20120404 Ref country code: HU Free format text: LAPSE BECAUSE OF FAILURE TO SUBMIT A TRANSLATION OF THE DESCRIPTION OR TO PAY THE FEE WITHIN THE PRESCRIBED TIME-LIMIT; INVALID AB INITIO Effective date: 20090223 Ref country code: LU Free format text: LAPSE BECAUSE OF NON-PAYMENT OF DUE FEES Effective date: 20130223 |
|
| REG | Reference to a national code |
Ref country code: DE Ref legal event code: R119 Ref document number: 502009003205 Country of ref document: DE |
|
| PG25 | Lapsed in a contracting state [announced via postgrant information from national office to epo] |
Ref country code: DE Free format text: LAPSE BECAUSE OF NON-PAYMENT OF DUE FEES Effective date: 20150901 |
|
| PG25 | Lapsed in a contracting state [announced via postgrant information from national office to epo] |
Ref country code: IT Free format text: LAPSE BECAUSE OF NON-PAYMENT OF DUE FEES Effective date: 20160223 |