EP2244840B2 - Vorrichtung und verfahren zum zuführen von luft zu einem applikationsbereich einer lackieranlage - Google Patents

Vorrichtung und verfahren zum zuführen von luft zu einem applikationsbereich einer lackieranlage Download PDF

Info

Publication number
EP2244840B2
EP2244840B2 EP09716029.5A EP09716029A EP2244840B2 EP 2244840 B2 EP2244840 B2 EP 2244840B2 EP 09716029 A EP09716029 A EP 09716029A EP 2244840 B2 EP2244840 B2 EP 2244840B2
Authority
EP
European Patent Office
Prior art keywords
air
conditioning unit
partial
conditioned
air flow
Prior art date
Legal status (The legal status is an assumption and is not a legal conclusion. Google has not performed a legal analysis and makes no representation as to the accuracy of the status listed.)
Active
Application number
EP09716029.5A
Other languages
English (en)
French (fr)
Other versions
EP2244840A1 (de
EP2244840B1 (de
Inventor
Thomas Klenge
Dietmar Wieland
Current Assignee (The listed assignees may be inaccurate. Google has not performed a legal analysis and makes no representation or warranty as to the accuracy of the list.)
Duerr Systems AG
Original Assignee
Duerr Systems AG
Priority date (The priority date is an assumption and is not a legal conclusion. Google has not performed a legal analysis and makes no representation as to the accuracy of the date listed.)
Filing date
Publication date
Family has litigation
First worldwide family litigation filed litigation Critical https://patents.darts-ip.com/?family=40636995&utm_source=google_patent&utm_medium=platform_link&utm_campaign=public_patent_search&patent=EP2244840(B2) "Global patent litigation dataset” by Darts-ip is licensed under a Creative Commons Attribution 4.0 International License.
Application filed by Duerr Systems AG filed Critical Duerr Systems AG
Priority to PL09716029T priority Critical patent/PL2244840T5/pl
Priority to EP13158416.1A priority patent/EP2602027A3/de
Publication of EP2244840A1 publication Critical patent/EP2244840A1/de
Publication of EP2244840B1 publication Critical patent/EP2244840B1/de
Application granted granted Critical
Publication of EP2244840B2 publication Critical patent/EP2244840B2/de
Active legal-status Critical Current
Anticipated expiration legal-status Critical

Links

Images

Classifications

    • BPERFORMING OPERATIONS; TRANSPORTING
    • B05SPRAYING OR ATOMISING IN GENERAL; APPLYING FLUENT MATERIALS TO SURFACES, IN GENERAL
    • B05BSPRAYING APPARATUS; ATOMISING APPARATUS; NOZZLES
    • B05B14/00Arrangements for collecting, re-using or eliminating excess spraying material
    • B05B14/40Arrangements for collecting, re-using or eliminating excess spraying material for use in spray booths
    • B05B14/43Arrangements for collecting, re-using or eliminating excess spraying material for use in spray booths by filtering the air charged with excess material
    • BPERFORMING OPERATIONS; TRANSPORTING
    • B05SPRAYING OR ATOMISING IN GENERAL; APPLYING FLUENT MATERIALS TO SURFACES, IN GENERAL
    • B05BSPRAYING APPARATUS; ATOMISING APPARATUS; NOZZLES
    • B05B16/00Spray booths
    • BPERFORMING OPERATIONS; TRANSPORTING
    • B05SPRAYING OR ATOMISING IN GENERAL; APPLYING FLUENT MATERIALS TO SURFACES, IN GENERAL
    • B05BSPRAYING APPARATUS; ATOMISING APPARATUS; NOZZLES
    • B05B16/00Spray booths
    • B05B16/60Ventilation arrangements specially adapted therefor
    • BPERFORMING OPERATIONS; TRANSPORTING
    • B05SPRAYING OR ATOMISING IN GENERAL; APPLYING FLUENT MATERIALS TO SURFACES, IN GENERAL
    • B05BSPRAYING APPARATUS; ATOMISING APPARATUS; NOZZLES
    • B05B16/00Spray booths
    • B05B16/90Spray booths comprising conveying means for moving objects or other work to be sprayed in and out of the booth, e.g. through the booth
    • B05B16/95Spray booths comprising conveying means for moving objects or other work to be sprayed in and out of the booth, e.g. through the booth the objects or other work to be sprayed lying on, or being held above the conveying means, i.e. not hanging from the conveying means
    • BPERFORMING OPERATIONS; TRANSPORTING
    • B05SPRAYING OR ATOMISING IN GENERAL; APPLYING FLUENT MATERIALS TO SURFACES, IN GENERAL
    • B05DPROCESSES FOR APPLYING FLUENT MATERIALS TO SURFACES, IN GENERAL
    • B05D3/00Pretreatment of surfaces to which liquids or other fluent materials are to be applied; After-treatment of applied coatings, e.g. intermediate treating of an applied coating preparatory to subsequent applications of liquids or other fluent materials
    • B05D3/04Pretreatment of surfaces to which liquids or other fluent materials are to be applied; After-treatment of applied coatings, e.g. intermediate treating of an applied coating preparatory to subsequent applications of liquids or other fluent materials by exposure to gases
    • BPERFORMING OPERATIONS; TRANSPORTING
    • B05SPRAYING OR ATOMISING IN GENERAL; APPLYING FLUENT MATERIALS TO SURFACES, IN GENERAL
    • B05DPROCESSES FOR APPLYING FLUENT MATERIALS TO SURFACES, IN GENERAL
    • B05D1/00Processes for applying liquids or other fluent materials
    • B05D1/02Processes for applying liquids or other fluent materials performed by spraying
    • BPERFORMING OPERATIONS; TRANSPORTING
    • B05SPRAYING OR ATOMISING IN GENERAL; APPLYING FLUENT MATERIALS TO SURFACES, IN GENERAL
    • B05DPROCESSES FOR APPLYING FLUENT MATERIALS TO SURFACES, IN GENERAL
    • B05D3/00Pretreatment of surfaces to which liquids or other fluent materials are to be applied; After-treatment of applied coatings, e.g. intermediate treating of an applied coating preparatory to subsequent applications of liquids or other fluent materials
    • B05D3/04Pretreatment of surfaces to which liquids or other fluent materials are to be applied; After-treatment of applied coatings, e.g. intermediate treating of an applied coating preparatory to subsequent applications of liquids or other fluent materials by exposure to gases
    • B05D3/0486Operating the coating or treatment in a controlled atmosphere
    • BPERFORMING OPERATIONS; TRANSPORTING
    • B05SPRAYING OR ATOMISING IN GENERAL; APPLYING FLUENT MATERIALS TO SURFACES, IN GENERAL
    • B05DPROCESSES FOR APPLYING FLUENT MATERIALS TO SURFACES, IN GENERAL
    • B05D7/00Processes, other than flocking, specially adapted for applying liquids or other fluent materials to particular surfaces or for applying particular liquids or other fluent materials
    • B05D7/50Multilayers
    • B05D7/52Two layers

Definitions

  • the present invention relates to a device for supplying air to an application area of a paint shop, comprising a circulating air circuit and at least one conditioning unit, which conditions at least a part of the air guided in the circulating air circuit, wherein the device comprises at least one humidity conditioning unit.
  • the supply of air to an application area of a painting installation takes place in the known devices in that a total air flow to be conditioned passes through a plurality of successive conditioning units. For example, the total air flow is first moistened in a conditioning unit and then heated in a further conditioning unit.
  • the present invention has for its object to provide a device for supplying air to an application area of a paint shop of the type mentioned, which allows a particularly energy-efficient operation.
  • the solution according to the invention has the advantage that the total air flow guided in the device does not have to flow through each conditioning unit one after the other. Rather, different flow paths are provided for at least two partial air streams, wherein the at least two partial air streams in the different flow paths can be differently conditioned.
  • the device is particularly energy efficient due to the reduced flow resistance, which results from the fact that not every conditioning unit is flowed through by the total air flow in succession.
  • the different conditioning units are only flowed through by a partial air flow of the total air flow, they can be made smaller, more space-efficient and more energy efficient due to the lower flow.
  • a particularly simple control or regulation of the device can result from the fact that a total air flow must not be conditioned by means of a large conditioning unit, for example, with respect to a small change in temperature, but that, for example, by means of a smaller conditioning only a part of the total air flow current heated or cooled correspondingly stronger and then the unheated or cooled partial air flow of the total air flow is supplied again.
  • an air humidity conditioning unit designed as an air humidification unit can be provided.
  • the device comprises at least one air temperature conditioning unit for influencing the temperature of at least one partial air flow.
  • In one embodiment of the invention may be provided as a heating unit formed Heiltemperaturkonditionierussi.
  • the temperature of the at least one partial air flow can be regulated or controlled by means of the at least one air temperature conditioning unit.
  • the device comprises at least one fan for driving at least one partial air flow guided in the circulating air circuit, the fan being arranged downstream of an air temperature conditioning unit designed as a cooling device. Since a fan always heats an airflow passing through it, placing the fan downstream of a cooling device has the advantage that the air flow can be dehumidified more. In an arrangement of the fan upstream of a cooling device, however, the air flow is first heated and thus obstructing dehumidification, since the heated air from the fan can absorb more moisture.
  • the device comprises at least one bypass line, by means of which at least one partial air flow can be guided past at least one conditioning unit without being conditioned by the same.
  • a partial air flow which already within a predetermined tolerance range, for example, already corresponding to a specification Air temperature and / or humidity, are supplied directly to the application area of a paint shop, without being conditioned by the conditioning unit.
  • the device comprises a first conditioning unit, a second conditioning unit arranged downstream of the first conditioning unit and at least one flow path branch arranged between the two conditioning units.
  • the first conditioning unit is designed as an air temperature conditioning unit and the second conditioning unit is designed as an air humidity conditioning unit.
  • a flow path branch arranged between the two conditioning units an air flow which flows through the air temperature conditioning unit can be divided so that only a partial air flow of the air flow flowing through the air temperature conditioning unit flows through the humidity control unit. This is particularly advantageous when a relatively large change in temperature is to be achieved by means of the air temperature conditioning unit, but only a relatively small change in humidity by means of the humidity control unit.
  • the first conditioning unit is designed as a humidity conditioning unit and the second conditioning unit is designed as an air temperature conditioning unit.
  • an air flow flowing through the air humidity conditioning unit can be divided by means of the flow path branch so that only a partial air flow of the air flow flowing through the air humidity conditioning unit is conditioned by means of the air temperature conditioning unit. This is particularly advantageous if a relatively large change in humidity is to be achieved by means of the humidity control unit, but only a relatively small change in temperature by means of Lucastemperaturkonditionierussi.
  • the device comprises a first conditioning unit, a second conditioning unit arranged downstream of the first conditioning unit, and at least one flow path junction arranged between the two conditioning units.
  • the first conditioning unit is designed as Heiltemperaturkonditionierritt and the second conditioning unit as Heilfeuchtmaschineskonditionierussi.
  • the first partial air flow flowing through the air temperature conditioning unit can be brought together by means of the flow path combination with a second partial air flow.
  • the resulting combined air stream can then be conditioned by means of the air humidity conditioning unit.
  • the first conditioning unit is designed as a humidity conditioning unit and the second conditioning unit is designed as an air temperature conditioning unit.
  • the first partial air flow flowing through the air humidity conditioning unit can be combined with a second partial air flow by means of the flow path combination.
  • the resulting combined air stream can then be conditioned by means of the air temperature conditioning unit.
  • the device comprises at least one flow path branch and at least one fan for driving at least one partial air flow guided in the circulating air circuit, the fan being arranged upstream of the flow path branching.
  • the fan being arranged upstream of the flow path branching.
  • the device has at least one flow path combination and at least one fan for driving at least one guided in the recirculation circuit Partial air flow, wherein the fan is arranged downstream of the Strömungswegzusammen arrangement.
  • the blower by means of the blower, the air flow originating from the at least two flow paths and brought together by means of the flow path combination can be driven on the pressure side.
  • the device comprises at least two air inlets for the air flowing through the application area, wherein at least a partial air flow of the air flowing into a first air inlet at least in terms of its temperature by means of a Lucastemperaturkonditionieratti and at least a partial air flow in a second air inlet flowing air is conditioned at least in terms of its humidity by means of a humidity conditioning unit.
  • a humidity conditioning unit is particularly advantageous when only slight changes in temperature and / or changes in humidity in the air flow to be supplied to the application area of the paint shop have to be achieved by means of the conditioning units.
  • the device comprises a supply air system for supplying supply air to the recirculation circuit and an exhaust system for discharging exhaust air from the recirculation circuit.
  • the recirculation circuit by means of the supply air supply air in the form of indoor air, outdoor air and / or fresh air can be fed to renew the guided in the recirculation air.
  • a portion of the guided in the recirculation air is removed as exhaust air and replaced by supply air.
  • the present invention further relates to a method for conditioning air to be supplied to a painting installation, wherein at least part of the air is guided in a circulating air circuit.
  • the present invention has for its object to provide such a method which allows in an energy-efficient manner to condition the air supplied to an application area of a paint shop.
  • the method according to the invention offers the advantage that a total airflow to be supplied to the application area does not have to flow through each conditioning unit individually one after the other.
  • the guided in the different flow paths partial air flows are rather different conditions, so that the conditioning units can be made smaller, space-saving and energy efficient due to the lower flow.
  • At least a part of at least one partial air flow is conditioned by means of at least one air temperature conditioning unit.
  • supply air is supplied to the circulating air circuit by means of a supply air system.
  • the ratio of circulating air volume flow to supply air volume flow is greater than four.
  • the conditioning units of the device then already make it possible to maintain the temperature and / or air humidity of the total air flow to be supplied to the application area of the paint shop in accordance with a specification. A preconditioning of the supply air is then unnecessary.
  • the ratio of circulated air volume flow to fresh air volume flow rate is from approximately 15: 1 to approximately 25: 1, preferably approximately 20: 1. Then only small temperature differences and / or differences in humidity must be compensated by means of the conditioning units, so that a particularly energy-saving operation of the device is possible.
  • the device according to the invention for supplying air to an application area of a paint shop is particularly suitable for carrying out the method according to the invention.
  • no separate supply system for fresh air is provided.
  • supply air is only outside air in the form of indoor air, which is heated by a fan.
  • a small heating coil may be provided to pre-condition the outside air.
  • partial flow conditioning takes place in such a way that, on the one hand, it is cooled and, on the other hand, moistened in parallel.
  • the powder absorbs part of the humidity, it can be provided that the air to be conditioned is preferably supplied to the amount of water that is absorbed by the powder.
  • the inventive device for supplying air to an application area of a paint shop is in principle suitable for any paint shop.
  • Fig. 1 to 7 illustrated as a whole with 100 designated paint shop for painting workpieces, in particular of vehicle bodies 102, comprises a purely schematically illustrated conveyor 104, by means of which the vehicle bodies 102, which above a in Fig. 5 shown upper side 105 of the conveying device 104 can be arranged along a conveying direction 106 by an application area 108 of a designated as a whole by 110 paint booth can be moved.
  • the conveyor 104 may be formed, for example, as an inverted circular conveyor or as an inverted monorail conveyor.
  • the application area 108 is the interior of the painting booth 110, which is bounded on both sides of the conveyor 104 by a respective outer wall of the painting booth 110 designed as a booth wall 114 in a direction perpendicular to the conveying direction 106, which corresponds to the longitudinal direction of the painting booth 110.
  • painting devices 116 designed as painting robots are arranged in the painting booth 110 (see FIG Fig. 2 . 3 . 5 and 6 ).
  • a cleaning device designated as a whole 118 is arranged under the spray booth 110.
  • the cleaning device 118 is used for separating wet paint overspray from an air stream, which is passed through the application area 108 of the paint booth 110 down into the cleaning device 118.
  • the cleaning device 118 comprises a substantially cuboid filter chamber 120, which is bounded in the transverse direction 112 of the paint booth 110 by vertical side walls 122, which are substantially aligned with the side cabin walls 114 of the paint booth 110, so that the filter chamber 120 substantially the same extent in one to the conveying direction 106 has vertical and horizontal direction as the paint booth 110th
  • the side walls 122 form the lateral outer walls of the filter chamber 120.
  • a plurality, for example eight, filter devices 124 are arranged, in which regenerable surface filters are provided.
  • the eight filter devices 124 are arranged in this embodiment in two rows of four filter devices 124, wherein the two rows are each aligned parallel to the conveying direction 106 and horizontally and with respect to a vertically and in the conveying direction 106 extending longitudinal center plane 128 of the painting booth 110 are arranged mirror-symmetrically to each other.
  • an air supply device 129 is provided on both sides in this embodiment.
  • an air curtain can be produced above the filter devices 124, which prevents settling of wet paint overspray on the upper side of the filter devices 124.
  • a funnel-shaped receptacle 130 for receiving wet paint overspray and filter aid material, which is cleaned by the regenerable surface filters, is arranged in each case.
  • each filter device 124 is bounded on its side facing away from the longitudinal center plane 128 of the paint booth 110 by a respective base body 134.
  • the paint shop 100 in this embodiment comprises eight main body 134.
  • Each main body 134 in this embodiment comprises a cleaning device, not shown in the drawings, for periodically cleaning wet-paint overspray particles and filter aid material (precoat material), which have been infiltrated on the surface filters of the filter devices 124.
  • a cleaning device not shown in the drawings, for periodically cleaning wet-paint overspray particles and filter aid material (precoat material), which have been infiltrated on the surface filters of the filter devices 124.
  • each main body 134 two vertical connecting channels 138 are arranged, which open into collecting channels 140 and allow fluid communication between the main bodies 134 and the collecting channels 140.
  • two collecting channels 140 are provided, which extend below the main body 134 and the connecting channels 138 and are aligned parallel to the conveying direction 106.
  • the collecting channels 140 are formed with respect to the longitudinal center plane 128 mirror-symmetrical to each other and arranged and spaced from each other. They each include one of the longitudinal center plane 128 of the painting booth 110 facing inside 142, which is further spaced from the longitudinal center plane 128 of the painting booth 110 as the outer walls 132 of the filter devices 124th
  • the collecting channels 140 extend in a direction parallel to the conveying direction 106 substantially over the entire length of the painting booth 110 and have a taken in a direction perpendicular to the conveying direction 106 rectangular cross-section.
  • a fan 148 arranged (see, in particular Fig. 7 ).
  • a return line 150 is arranged in each case.
  • Each of the return lines 150 includes an adapter element 152 and a rectilinear return section 154, wherein the rectilinear return section 154 of the return line 150 is in fluid communication with one of the fans 148 by way of the adapter element 152.
  • the rectilinear return sections 154 of the two return lines 150 are aligned vertically and with respect to the longitudinal center plane 128 of the painting booth 110 mirror-symmetrical to each other and arranged and arranged spaced from each other.
  • the rectilinear return sections 154 comprise mutually opposite inner sides 156 facing the longitudinal center plane 128 of the painting booth 110 and outer sides 158 facing away from the inner sides 156.
  • the rectilinear return sections 154 have a rectangular cross-section taken in the horizontal direction.
  • the rectilinear return sections 154 are arranged on the painting installation 100 such that the inner sides 156 of the rectilinear return sections 154 have a smaller distance from the longitudinal center plane 128 of the paint booth 110 than the cabin walls 114 of the paint booth 110 and the outer walls 132 of the filter devices 124.
  • the outer sides 158 of the rectilinear return sections 154 each have a distance D from the longitudinal center plane 128 of the spray booth 110, which is smaller than the sum of the distance d1 between a cabin wall 114 of the spray booth 110 and the longitudinal center plane 128 of the spray booth 110 and the distance d2 between the inner side 156 and the outer side 158 of the rectilinear return section 154 of the return line 150 (see FIG Fig. 6 and 7 ).
  • the outer sides 158 of the rectilinear return sections 154 are aligned with the cabin walls 114 of the paint booth 110.
  • the rectilinear return sections 154 of the return line 150 extend in the illustrated embodiment of a lower end 164 which is located approximately at the level of an upper edge 166 of the receptacle 130, vertically up to an upper end 160 which adjacent to a the paint booth 110 provided plenum 168 is arranged.
  • the rectilinear return section 154 thus extends over a height h that is substantially greater than the distance H between a bottom 175 of a filter cover 174 and the top 105 of the conveyor 104 (see FIG Fig. 7 ).
  • the rectilinear return sections 154 are in fluid communication with the air supply devices 129 to permit supply of circulating air from the rectilinear return sections 154 directly into the filter chamber 120.
  • valves designed as blocking flaps 210 are provided (see FIG Fig. 8 ).
  • the air supply devices 129 are on both sides of the filter chamber 120 with one (in the Fig. 1 to 7 not shown) supply air system 194 (see Fig. 8 ) in fluid communication.
  • supply air system 194 To control the air supply devices 129 supplied from the supply air systems 194 supply air flow formed as supply air valves 196 valves.
  • each rectilinear return section 154 At the upper end 160 of each rectilinear return section 154, a curved return section 162 is provided which is in fluid communication with the rectilinear return section 154.
  • the plenum 168 includes a substantially cuboidal chamber 170 which extends in the conveying direction 106 over substantially the entire length of the painting booth 110 and is delimited in the transverse direction 112 of the painting booth 110 by vertical side walls 172 connected to the lateral cabin walls 114 of FIG Paint booth 110 are aligned so that the chamber 170 has substantially the same horizontal cross-sectional area as the paint booth 110.
  • the side walls 172 form the lateral outer walls of the plenum 168.
  • the chamber 170 of the plenum 168 is separated from the application area 108 of the paint booth 110 by means of the horizontally oriented filter cover 174, the horizontal underside 175 of the filter cover 174 facing the application area 108 of the paint booth 110.
  • a false ceiling 176 in the plenum 168 which divides the chamber 170 of the plenum 168 into an upper area 178 and a lower area 180.
  • a plurality, for example twenty-eight, safety filters 182 are arranged, which are used to remove any remaining in the air flow impurities in order to avoid any supply of contamination to the application area 108 of the paint booth 110.
  • the curved return sections 162 are disposed in indentations 184 of the side walls 172 of the chamber 170 (see, in particular Fig. 1 ).
  • the indentations 184 are aligned vertically and, for example, arranged on the workpiece inlet sides 144 of the painting booth 110 facing the ends of the side walls 172 of the chamber 170.
  • openings 186 are provided, at which the curved return sections 162 open into the upper region 178 of the chamber 170 of the plenum 168.
  • the indentations 184 extend over the entire height of the plenum 168 and over the entire height of the paint booth 110.
  • the rectilinear return sections 154 of the return lines 150 run partially within the indentations 184 and thus, compared to an arrangement of the rectilinear return sections 154 outside the indentations 184, have a smaller distance from the longitudinal center plane 128 of the paint booth 110.
  • the rectilinear return sections 154 extend at least partially both within an outer contour 111 of the paint booth 110 and within an outer contour 169 of the plenum 168 ( Fig. 7 ).
  • the outer contour 111 of the spray booth 110 is the outer boundary of the space area which, when each cross section of the spray booth 110 taken perpendicular to the conveying direction 106 is moved along the conveying direction 106 to the ends of the spray booth 110, is swept by at least one of these cross sections.
  • the outer contour thus defined always encloses a spatial region which is at least as large as the spatial region surrounded by the outer walls of the painting booth 110, but may also contain spatial regions lying outside the outer walls.
  • An object can therefore be arranged outside the area of space surrounded by the outer walls and yet within the associated outer contour.
  • the outer contour 169 of the plenum 168 is the outer boundary of the space area which, when each cross section of the plenum 168 taken perpendicular to the conveying direction 106 is moved along the conveying direction 106 to the ends of the painting booth 110, is swept by at least one of these cross sections.
  • the rectilinear return sections 154 extend vertically downwardly into the region of the filter chamber 120 and therefore extend at least partially within an outer contour 121 of the filter chamber 120, in which embodiment the outer contour 121 of the filter chamber 120 is the outer boundary of the spatial region, if any taken perpendicular to the conveying direction 106 cross section of the filter chamber 120 along the conveying direction 106 is moved to the ends of the painting booth 110 is swept by at least one of these cross sections (see Fig. 6 and 7 ).
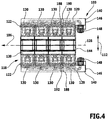
  • two conditioning units 188 are provided in this embodiment, namely an air humidity conditioning unit 190 which is arranged in the collecting duct 140 on the left with respect to the conveying direction 106, and an air temperature conditioning unit 192 which is in the direction of conveyance 106 arranged right collecting duct 140 is arranged (see Fig. 4 ).
  • Both the air humidity conditioning unit 190 and the air temperature conditioning unit 192 are arranged relative to the conveying direction 106 between two adjacent connecting channels 138, which connect the base bodies 134 to the collecting channels 140.
  • the humidity regulating unit 190 is arranged relative to the conveying direction 106 between a second connecting channel 138 in the conveying direction 106 and a third connecting channel 138 of the eight in the conveying direction 106 in succession and with respect to the conveying direction 106 on the left arranged connecting channels 138.
  • the air temperature conditioning unit 192 and the humidity control unit 190 are arranged mirror-symmetrically with respect to the longitudinal center plane 128 of the paint booth 110.
  • the air temperature conditioning unit 192 is thus arranged relative to the conveying direction 106 between a second connecting channel 138 in the conveying direction 106 and a third connecting channel 138 of the eight in the conveying direction 106 in succession and with respect to the conveying direction 106 on the right arranged connecting channels 138.
  • the paint shop 100 described above works as follows (see in particular Fig. 7 ):
  • a guided in the application area 108 of the paint booth 110 air flow is contaminated due to the painting of the painting 116 with wet paint overspray particles.
  • the contaminated air stream is directed out of the paint booth 110 into the filter chamber 120 of the cleaning device 118.
  • the air flow designated as the total air flow AB is split into a first partial air flow A and into a second partial air flow B.
  • the first partial air flow A flows into the filter devices 124 arranged with respect to the conveying direction 106 to the left of the longitudinal center plane 128 of the painting booth 110.
  • the second partial air flow B flows into the filter devices 124 arranged with respect to the conveying direction 106 to the right of the longitudinal center plane 128 of the painting booth 110.
  • the filter devices 124 of the cleaning device 118 clean the air streams A and B from the wet paint overspray particles, with the cleaned air from the interior spaces 126 of the filter devices 124 entering the base bodies 134.
  • the wet paint overspray particles and precoat particles infiltrated on the surface filters of the filter devices 124 are periodically cleaned of the surface filters and taken up in the receptacles 130.
  • the cleaned air collected in the collecting ducts 140 is guided counter to the conveying direction 106 to the ends 146 of the collecting ducts 140 facing the workpiece inlet side 144 of the painting booth 110.
  • the third connection channel 138 of the eight with respect to the conveying direction 106 left connection channels 138 is a Unterteilluftstrom A2, which by a first in the conveying direction 106 and second in the conveying direction 106 connecting channel 138 of the eight with respect to the conveying direction 106 left connection channels 138th flows, not conditioned.
  • the arrangement of the conditioning units 188 in the collecting channels 140 causes the Unterteililluftströme A1 and A2 and the Unterteililluftströme B1 and B2 downstream of the respective conditioning unit 188, that is downstream of the humidity conditioning unit 190 and downstream of the Heiltemperaturkonditionieratti 192, merged again to the partial air streams A and B respectively become.
  • the partial air streams A and B are passed through the blower 148 in the return lines 150 and guided within the rectilinear return sections 154 in the upper part of the paint shop 100.
  • the partial air streams A and B guided in the return lines 150 are deflected and fed to the upper area 178 of the chamber 170 of the plenum 168.
  • Both the safety filter 182 and the filter cover 174 further serve to equalize the air flow through the application area 108 of the paint booth 110 and the reduction of turbulence.
  • a cross-flow Q of 900 m 3 / h with a temperature of 34 ° C and 42% humidity is added by the air supply devices 129 each.
  • This transverse air flow Q can be supplied as circulating air via the barrier flaps 210 from the rectilinear return sections 154 or as supply air via the inlet flaps 196 from the supply air systems 194. It can also be provided that the cross-flow of air Q is mixed at partially open barrier flaps 210 and supply flaps 196 from circulating air and supply air.
  • the partial air flows A and B are split into differently conditionable lower partial air flows A1, A2, B1 and B2.
  • the divider air flow A1 of the partial air flow A is supplied to the humidity control unit 190.
  • the sub-unit air flow A1 is humidified in this embodiment by the humidity control unit 190.
  • the base air flow A2 is conducted past the humidity control unit 190 by means of a bypass line 208 and thus not conditioned.
  • a valve designed as a bypass valve 200 may be provided in the flow path of the Unterteilil Kunststoffstroms A2, that is, in the bypass line 208.
  • bypass flap 200 it is possible to regulate and / or control which portion of the partial air flow A is conditioned by means of the humidity control unit 190.
  • a flow path merging 202 is provided downstream of the humidity control unit 190 (which is realized in the described embodiment by the junctions of the two connecting channels 138 adjacent to the blower 148 in the collecting duct 140 on the left with respect to the conveying direction 106).
  • a blower 148 Downstream of the flow path merger 202, a blower 148 is arranged, which drives the partial air flow A.
  • the blower fan 148 has an output of approximately 18.5 kW.
  • an exhaust system 204 Downstream of the blower 148, an exhaust system 204 is arranged, wherein an exhaust air flow can be regulated by means of a designed as exhaust valve 206 valve.
  • the discharged by means of the exhaust system 204 from the partial air flow A exhaust air flow is 900 m 3 / h.
  • the divisional airflow B1 of the partial airflow B is supplied to the air temperature conditioning unit 192.
  • the divider air flow B1 is cooled by the air temperature conditioning unit 192 in this embodiment.
  • the divider air stream B2 is conducted past the air temperature conditioning unit 192 by means of a bypass line 208 and thus not conditioned.
  • a valve designed as a bypass valve 200 may be provided in the flow path of the Unterteilil Kunststoffstroms B2, that is, in the bypass line 208.
  • bypass flap 200 it is possible to regulate and / or control which portion of the partial air flow B is conditioned by means of the air temperature conditioning unit 192.
  • a flow path merger 202 is provided downstream of the air temperature conditioning unit 192 (which in the embodiment described is realized by the junctions of the two connecting channels 138 adjacent to the blower 148 in the right-hand collecting duct 140 with respect to the conveying direction 106).
  • a blower 148 Downstream of the flow path assembly 202, a blower 148 is arranged, which drives the partial air flow B.
  • the blower fan 148 has an output of approximately 18.5 kW.
  • an exhaust system 204 Downstream of the blower 148, an exhaust system 204 is arranged, wherein an exhaust air flow can be regulated by means of a designed as exhaust valve 206 valve.
  • the discharged by means of the exhaust system 204 from the partial air flow B exhaust air flow is 900 m 3 / h.
  • the partial air streams A and B are combined in the upper region 178 of the chamber 170 of the plenum 168 to the total air flow AB.
  • the total air flow AB is then guided through the safety filter 182 arranged in the false ceiling 176 into the lower region 180 of the chamber 170 of the plenum 168 and from there through the filter cover 174 into the application region 108 of the paint booth 110.
  • the air is thus at least partially guided in a circulating air circuit, that is to say that at least part of the air removed from the application area 108 of the paint booth 110 is returned to the application area 108 of the paint booth 110 after cleaning and conditioning.
  • the air reaches a sinking speed of approximately 0.3 m / s with a total air flow AB of a total of 36,000 m 3 / h.
  • FIG. 9 illustrated second embodiment of a device for supplying air to an application area of a paint shop differs from that in the Fig. 1 to 8 shown first embodiment in that an extraction of the total air flow AB in the filter chamber 120 of the paint system 100 is only one side.
  • Only the partial air flow B is conditioned by means of a humidity conditioning unit 190.
  • the partial air flow A is guided past the air humidity conditioning unit 190 by a bypass line 208 and combined at a flow path junction 202 with the air conditioned by the humidity control unit 190 of the partial air flow B to the partial air flow AB.
  • the combined partial air flow AB is conditioned by means of the air temperature conditioning unit 192.
  • the total air flow ABC is supplied by means of the blower 148 to the plenum 168.
  • An in Fig. 10 illustrated third embodiment of a device for supplying air to an application area of a paint shop differs from the in Fig. 9 illustrated second embodiment in that the humidity control unit 190 and the Heiltemperaturkonditionieriki 192 are arranged interchanged with each other.
  • the partial air flow B is conditioned by means of the air temperature conditioning unit 192. After a merger of the so - called conditioned partial air flow B with the unconditioned partial air flow A is carried out a conditioning of the partial air flow AB by means of the humidity control unit 190th
  • the in Fig. 10 illustrated third embodiment of the device for supplying air to an application area of a paint shop in terms of design and function with the in Fig. 9 illustrated second embodiment, to the above description in this respect reference is made.
  • An in Fig. 11 illustrated fourth embodiment of a device for supplying air to an application area of a paint shop differs from the in Fig. 10 illustrated third embodiment in that the blower 148 is disposed not downstream of the flow path assembly 202, but upstream of the flow path branch 198, wherein at the Strömungswegzwezweigung 198 three partial air streams A, B and C branch off.
  • the partial air flow A is conditioned by the humidity control unit 190.
  • the partial airflow B is conditioned by means of the air temperature conditioning unit 192.
  • the partial air flow C is not conditioned.
  • the in Fig. 11 illustrated fourth embodiment of the device for supplying air to an application area of a paint shop in terms of design and function with the in Fig. 10 illustrated third embodiment, the above description of which reference is made.
  • An in Fig. 12 illustrated fifth embodiment of a device for supplying air to an application area of a paint shop differs from the in Fig. 11 4, in that the fan 148 is disposed not upstream of the flow path branch 198 but downstream of the flow path merger 202.
  • an arrangement of the blower 148 downstream of a cooling device offers the advantage that the air flow is dehumidified more.
  • the blower 148 is arranged upstream of a cooling device, the air flow is first heated and dehumidification is thus hindered, since the air heated by the blower 148 can absorb more moisture.
  • the in Fig. 12 illustrated fifth embodiment of the device for supplying air to an application area of a paint shop in terms of design and function with the in Fig. 11 4, the above description of which is incorporated herein by reference.
  • the division of a total air flow into partial air flows and the subsequent different conditioning of the partial air flows enable a particularly energy-efficient conditioning and supply of the air to be supplied to an application area of a paint shop.

Landscapes

  • Details Or Accessories Of Spraying Plant Or Apparatus (AREA)
  • Nozzles (AREA)

Description

  • Die vorliegende Erfindung betrifft eine Vorrichtung zum Zuführen von Luft zu einem Applikationsbereich einer Lackieranlage, umfassend einen Umluftkreislauf und mindestens eine Konditioniereinheit, die zumindest einen Teil der im Umluftkreislauf geführten Luft konditioniert, wobei die Vorrichtung mindestens eine Luftfeuchtigkeitskonditioniereinheit umfasst.
  • Solche Vorrichtungen zum Zuführen von Luft zu einem Applikationsbereich einer Lackieranlage sind aus dem Stand der Technik bekannt.
  • Die Zuführung von Luft zu einem Applikationsbereich einer Lackieranlage erfolgt bei den bekannten Vorrichtungen dadurch, dass ein zu konditionierender Gesamtluftstrom mehrere aufeinanderfolgende Konditioniereinheiten durchläuft. Beispielsweise wird der Gesamtluftstrom zunächst in einer Konditioniereinheit befeuchtet und anschließend in einer weiteren Konditioniereinheit erwärmt.
  • Die US 5,922,130 A , die FR 2 525 926 A und die WO 2008/107056 A offenbaren Vorrichtungen gemäß dem Oberbegriff von Anspruch 1.
  • Der vorliegenden Erfindung liegt die Aufgabe zugrunde, eine Vorrichtung zum Zuführen von Luft zu einem Applikationsbereich einer Lackieranlage der eingangs genannten Art zu schaffen, welche einen besonders energieeffizienten Betrieb ermöglicht.
  • Diese Aufgabe wird durch eine Vorrichtung nach Anspruch 1 gelöst.
  • Die erfindungsgemäße Lösung bietet den Vorteil, dass der in der Vorrichtung geführte Gesamtluftstrom nicht jede Konditioniereinheit einzeln nacheinander durchströmen muss. Vielmehr sind unterschiedliche Strömungswege für mindestens zwei Teilluftströme vorgesehen, wobei die mindestens zwei Teilluftströme in den unterschiedlichen Strömungswegen unterschiedlich konditionierbar sind.
  • Die Vorrichtung ist aufgrund des verminderten Strömungswiderstands, welcher sich daraus ergibt, dass nicht jede Konditioniereinheit vom Gesamtluftstrom nacheinander durchströmt wird, besonders energieeffizient.
  • Da die unterschiedlichen Konditioniereinheiten jeweils nur von einem Teilluftstrom des Gesamtluftstroms durchströmt werden, können sie aufgrund des geringeren Durchflusses kleiner, platzsparender und energieeffizienter ausgebildet sein.
  • Zusätzlich kann sich eine besonders einfache Steuerung oder Regelung der Vorrichtung dadurch ergeben, dass ein Gesamtluftstrom nicht mittels einer großen Konditioniereinheit beispielsweise hinsichtlich einer geringen Temperaturänderung konditioniert werden muss, sondern dass beispielsweise mittels einer kleineren Konditioniereinheit nur ein Teilluftstrom des Gesamtluftstroms entsprechend stärker erwärmt oder abgekühlt und anschließend dem nicht erwärmten oder abgekühlten Teilluftstrom des Gesamtluftstroms wieder zugeführt wird.
  • Bei einer Ausgestaltung der Erfindung kann eine als Luftbefeuchtungseinheit ausgebildete Luftfeuchtigkeitskonditioniereinheit vorgesehen sein.
  • Alternativ hierzu kann jedoch auch eine als Luftentfeuchtungseinheit ausgebildete Luftfeuchtigkeitskonditioniereinheit vorgesehen sein.
  • Nach einer Weiterbildung der Erfindung umfasst die Vorrichtung mindestens eine Lufttemperaturkonditioniereinheit zur Beeinflussung der Temperatur mindestens eines Teilluftstroms.
  • Bei einer Ausgestaltung der Erfindung kann eine als Heizeinheit ausgebildete Lufttemperaturkonditioniereinheit vorgesehen sein.
  • Günstig ist es, wenn mittels der mindestens einen Lufttemperaturkonditioniereinheit die Temperatur des mindestens einen Teilluftstroms regelbar oder steuerbar ist.
  • Erfindungsgemäß ist vorgesehen, dass die Vorrichtung mindestens ein Gebläse zum Antreiben mindestens eines in dem Umluftkreislauf geführten Teilluftstroms umfasst, wobei das Gebläse stromabwärts einer als Kühlvorrichtung ausgebildeten Lufttemperaturkonditioniereinheit angeordnet ist. Da ein Gebläse einen durch dasselbe geführten Luftstrom stets erwärmt, bietet eine Anordnung des Gebläses stromabwärts von einer Kühlvorrichtung den Vorteil, dass der Luftstrom stärker entfeuchtet werden kann. Bei einer Anordnung des Gebläses stromaufwärts von einer Kühlvorrichtung wird hingegen der Luftstrom zunächst erwärmt und ein Entfeuchten somit behindert, da die vom Gebläse erwärmte Luft mehr Feuchte aufnehmen kann.
  • Vorteilhaft ist es, wenn die Vorrichtung mindestens eine Umgehungsleitung umfasst, mittels derer mindestens ein Teilluftstrom an mindestens einer Konditioniereinheit vorbeiführbar ist, ohne von derselben konditioniert zu werden. Auf diese Weise kann ein Teilluftstrom, welcher beispielsweise innerhalb eines vorgegebenen Toleranzbereichs bereits die einer Vorgabe entsprechende Lufttemperatur und/oder Luftfeuchtigkeit aufweist, direkt dem Applikationsbereich einer Lackieranlage zugeführt werden, ohne von der Konditioniereinheit konditioniert zu werden.
  • Besonders vorteilhaft ist es, wenn die Vorrichtung eine erste Konditioniereinheit, eine stromabwärts von der ersten Konditioniereinheit angeordnete zweite Konditioniereinheit und mindestens eine zwischen den beiden Konditioniereinheiten angeordnete Strömungswegverzweigung umfasst.
  • Dabei kann beispielsweise vorgesehen sein, dass die erste Konditioniereinheit als Lufttemperaturkonditioniereinheit und die zweite Konditioniereinheit als Luftfeuchtigkeitskonditioniereinheit ausgebildet ist. Mittels einer zwischen den beiden Konditioniereinheiten angeordneten Strömungswegverzweigung kann ein Luftstrom, welcher durch die Lufttemperaturkonditioniereinheit strömt, so aufgeteilt werden, dass nur ein Teilluftstrom des durch die Lufttemperaturkonditioniereinheit strömenden Luftstroms durch die Luftfeuchtigkeitskonditioniereinheit strömt. Dies ist insbesondere dann von Vorteil, wenn eine relativ große Temperaturänderung mittels der Lufttemperaturkonditioniereinheit, aber nur eine relativ geringe Luftfeuchtigkeitsänderung mittels der Luftfeuchtigkeitskonditioniereinheit erzielt werden soll.
  • Alternativ hierzu kann vorgesehen sein, dass die erste Konditioniereinheit als Luftfeuchtigkeitskonditioniereinheit und die zweite Konditioniereinheit als Lufttemperaturkonditioniereinheit ausgebildet ist. Auf diese Weise ist ein durch die Luftfeuchtigkeitskonditioniereinheit strömender Luftstrom mittels der Strömungswegverzweigung so teilbar, dass nur ein Teilluftstrom des durch die Luftfeuchtigkeitskonditioniereinheit strömenden Luftstroms mittels der Lufttemperaturkonditioniereinheit konditioniert wird. Dies ist insbesondere dann von Vorteil, wenn eine relativ große Luftfeuchtigkeitsänderung mittels der Luftfeuchtigkeitskonditioniereinheit, aber nur eine relativ geringe Temperaturänderung mittels der Lufttemperaturkonditioniereinheit erzielt werden soll.
  • Bei einer Weiterbildung der Erfindung kann vorgesehen sein, dass die Vorrichtung eine erste Konditioniereinheit, eine stromabwärts von der ersten Konditioniereinheit angeordnete zweite Konditioniereinheit und mindestens eine zwischen den beiden Konditioniereinheiten angeordnete Strömungswegzusammenführung umfasst.
  • Dabei kann vorgesehen sein, dass die erste Konditioniereinheit als Lufttemperaturkonditioniereinheit und die zweite Konditioniereinheit als Luftfeuchtigkeitskonditioniereinheit ausgebildet ist. So ist der durch die Lufttemperaturkonditioniereinheit strömende erste Teilluftstrom mittels der Strömungswegzusammenführung mit einem zweiten Teilluftstrom zusammenführbar. Der so entstehende vereinigte Luftstrom ist anschließend mittels der Luftfeuchtigkeitskonditioniereinheit konditionierbar.
  • Es kann jedoch auch vorgesehen sein, dass die erste Konditioniereinheit als Luftfeuchtigkeitskonditioniereinheit und die zweite Konditioniereinheit als Lufttemperaturkonditioniereinheit ausgebildet ist. Auf diese Weise ist der durch die Luftfeuchtigkeitskonditioniereinheit strömende erste Teilluftstrom mittels der Strömungswegzusammenführung mit einem zweiten Teilluftstrom zusammenführbar. Der so entstehende vereinigte Luftstrom ist anschließend mittels der Lufttemperaturkonditioniereinheit konditionierbar.
  • Vorteilhaft kann es sein, wenn die Vorrichtung mindestens eine Strömungswegverzweigung und mindestens ein Gebläse zum Antreiben mindestens eines in dem Umluftkreislauf geführten Teilluftstroms umfasst, wobei das Gebläse stromaufwärts von der Strömungswegverzweigung angeordnet ist. Dadurch sind alle Teilluftströme des mittels der Strömungswegverzweigung aufgeteilten Luftstroms besonders einfach druckseitig antreibbar.
  • Alternativ oder ergänzend hierzu kann vorgesehen sein, dass die Vorrichtung mindestens eine Strömungswegzusammenführung und mindestens ein Gebläse zum Antreiben mindestens eines in dem Umluftkreislauf geführten Teilluftstroms umfasst, wobei das Gebläse stromabwärts von der Strömungswegzusammenführung angeordnet ist. Auf diese Weise lässt sich mittels des Gebläses der aus den mindestens zwei Strömungswegen stammende, mittels der Strömungswegzusammenführung zusammengeführte Luftstrom druckseitig antreiben.
  • Nach einer Weiterbildung der Erfindung kann vorgesehen sein, dass die Vorrichtung mindestens zwei Lufteinlässe für den Eintritt von den Applikationsbereich durchströmender Luft umfasst, wobei mindestens ein Teilluftstrom der in einen ersten Lufteinlass strömenden Luft zumindest hinsichtlich seiner Temperatur mittels einer Lufttemperaturkonditioniereinheit und mindestens ein Teilluftstrom der in einen zweiten Lufteinlass strömenden Luft zumindest hinsichtlich seiner Luftfeuchtigkeit mittels einer Luftfeuchtigkeitskonditioniereinheit konditioniert wird. Dies ist insbesondere dann von Vorteil, wenn nur geringe Temperaturänderungen und/oder Luftfeuchtigkeitsänderungen in dem dem Applikationsbereich der Lackieranlage zuzuführenden Luftstrom mittels der Konditioniereinheiten erzielt werden müssen.
  • Günstig ist es, wenn die Vorrichtung eine Zuluftanlage zum Zuführen von Zuluft zu dem Umluftkreislauf und eine Abluftanlage zum Abführen von Abluft aus dem Umluftkreislauf umfasst. Insbesondere kann vorgesehen sein, dass dem Umluftkreislauf mittels der Zuluftanlage Zuluft in Form von Hallenluft, Außenluft und/oder Frischluft zuführbar ist, um die in dem Umluftkreislauf geführte Luft zu erneuern.
  • Bei einer besonders bevorzugten Ausgestaltung der Erfindung kann vorgesehen sein, dass regelmäßig oder kontinuierlich ein Teil der in dem Umluftkreislauf geführten Luft als Abluft abgeführt und durch Zuluft ersetzt wird. Dadurch kann eine ansteigende Schadstoffbelastung der in dem Umluftkreislauf geführten Luft vermieden werden.
  • Unter Hallenluft ist in dieser Beschreibung die die Lackieranlage umgebende Luft zu verstehen.
  • Unter Außenluft ist in dieser Beschreibung die eine Gebäudehülle, in der die Lackieranlage angeordnet ist, umgebende Luft zu verstehen.
  • Unter Frischluft ist in dieser Beschreibung Luft aus einer schadstoffunbelasteten Umgebung zu verstehen.
  • Die vorliegende Erfindung betrifft ferner ein Verfahren zur Konditionierung von einer Lackieranlage zuzuführender Luft, wobei zumindest ein Teil der Luft in einem Umluftkreislauf geführt wird.
  • Der vorliegenden Erfindung liegt die Aufgabe zugrunde, ein solches Verfahren zu schaffen, welches auf energieeffiziente Art und Weise eine Konditionierung der einem Applikationsbereich einer Lackieranlage zugeführten Luft ermöglicht.
  • Diese Aufgabe wird durch ein Verfahren nach Anspruch 7 gelöst.
  • Das erfindungsgemäße Verfahren bietet den Vorteil, dass ein dem Applikationsbereich zuzuführender Gesamtluftstrom nicht jede Konditioniereinheit einzeln nacheinander durchströmen muss. Die in den unterschiedlichen Strömungswegen geführten Teilluftströme werden vielmehr unterschiedlich konditioniert, so dass die Konditioniereinheiten aufgrund des geringeren Durchflusses kleiner, platzsparender und energieeffizienter ausgebildet sein können.
  • Vorteilhaft ist es, wenn zumindest ein Teil mindestens eines Teilluftstroms mittels mindestens einer Lufttemperaturkonditioniereinheit konditioniert wird.
  • Nach einer Ausgestaltung der Erfindung kann vorgesehen sein, dass mittels einer Zuluftanlage dem Umluftkreislauf Zuluft zugeführt wird.
  • Vorteilhaft ist es, wenn das Verhältnis von Umluftvolumendurchfluss zu Zuluftvolumendurchfluss, das heißt das Verhältnis von dem Applikationsbereich der Lackieranlage entnommener Luft zu zusätzlich zugeführter Luft, größer als vier ist. Vorzugsweise ermöglichen dann bereits die Konditioniereinheiten der Vorrichtung die Einhaltung der einer Vorgabe entsprechenden Temperatur und/oder Luftfeuchtigkeit des dem Applikationsbereich der Lackieranlage zuzuführenden Gesamtluftstroms. Eine Vorkonditionierung der Zuluft ist dann entbehrlich.
  • Besonders vorteilhaft ist es, wenn das Verhältnis von Umluftvolumendurchfluss zu Zuluftvolumendurchfluss von ungefähr 15:1 bis ungefähr 25:1, vorzugsweise ungefähr 20:1, beträgt. Dann müssen nur geringe Temperaturunterschiede und/oder Luftfeuchtigkeitsunterschiede mittels der Konditioniereinheiten ausgeglichen werden, so dass ein besonders energiesparender Betrieb der Vorrichtung möglich ist.
  • Die erfindungsgemäße Vorrichtung zum Zuführen von Luft zu einem Applikationsbereich einer Lackieranlage eignet sich insbesondere zur Durchführung des erfindungsgemäßen Verfahrens.
  • Bei einer besonders bevorzugten Ausführungsform der Erfindung ist keine separate Zuluftanlage für Frischluft vorgesehen. Als Zuluft dient lediglich Außenluft in Form von Hallenluft, welche mittels eines Gebläses erwärmt wird. Alternativ oder ergänzend hierzu kann ein kleines Heizregister vorgesehen sein, um die Außenluft vorzukonditionieren.
  • Nach einer Weiterbildung der Erfindung erfolgt eine Teilstromkonditionierung derart, dass parallel einerseits gekühlt und andererseits befeuchtet wird.
  • Die Erfindung bietet insbesondere die folgenden Vorteile:
    • Reduzierung des Druckverlustes, da nicht der Gesamtluftstrom jede Konditioniereinheit nacheinander durchströmen muss;
    • Energieeinsparung aufgrund des geringen Druckverlustes, da die Gebläse weniger Arbeit zum Antreiben des Luftstroms verrichten müssen;
    • besseres Regelverhalten durch Teilstromkonditionierung (da im Teilluftstrom größere Temperaturunterschiede (ΔT) und größere Feuchteunterschiede (ΔX) auftreten als im Gesamtluftstrom);
    • kompakte Bauweise, da kleinere Konditioniereinheiten ausgewählt werden können;
    • gute Modularisierung der Kabinenzonen; und
    • Einsparung von Investitionskosten.
  • Da bei der Verwendung von Pulverlack in der Lackieranlage das Pulver einen Teil der Luftfeuchtigkeit aufnimmt, kann vorgesehen sein, dass der zu konditionierenden Luft vorzugsweise die Menge an Wasser zugeführt wird, die von dem Pulver aufgenommen wird.
  • Die erfindungsgemäße Vorrichtung zum Zuführen von Luft zu einem Applikationsbereich einer Lackieranlage ist prinzipiell für jede Lackieranlage geeignet.
  • Weitere Merkmale und Vorteile der Erfindung sind Gegenstand der nachfolgenden Beschreibung und der zeichnerischen Darstellung von Ausführungsbeispielen.
  • In den Figuren zeigen:
  • Fig. 1
    eine schematische perspektivische Darstellung einer Lackieranlage mit einer Vorrichtung zum Zuführen von Luft zu einem Applikationsbereich der Lackieranlage, mit Blickrichtung auf eine Werkstückeintrittsseite einer Lackierkabine der Lackieranlage;
    Fig. 2
    eine schematische perspektivische Darstellung der Lackieranlage mit der Vorrichtung zum Zuführen von Luft aus Fig. 1, mit Blickrichtung auf eine Werkstückaustrittsseite der Lackierkabine der Lackieranlage;
    Fig. 3
    eine schematische Seitenansicht auf eine in einer Förderrichtung linke Seite der Lackieranlage mit der Vorrichtung zum Zuführen von Luft aus Fig. 1, in teiltransparenter Darstellung;
    Fig. 4
    eine schematische Draufsicht von unten auf die Lackieranlage mit der Vorrichtung zum Zuführen von Luft aus Fig. 1 in teiltransparenter Darstellung, mit Blickrichtung in Richtung des Pfeiles 4 in Fig. 3;
    Fig. 5
    eine schematische Draufsicht auf die Werkstückaustrittsseite der Lackierkabine der Lackieranlage mit der Vorrichtung zum Zuführen von Luft aus Fig. 1, mit Blickrichtung in Richtung des Pfeiles 5 in Fig. 3;
    Fig. 6
    eine schematische Draufsicht von oben auf die Lackieranlage mit der Vorrichtung zum Zuführen von Luft aus Fig. 1 in teiltransparenter Darstellung, mit Blickrichtung in Richtung des Pfeiles 6 in Fig. 3;
    Fig. 7
    eine schematische Draufsicht auf die Werkstückeintrittsseite der Lackierkabine der Lackieranlage mit der Vorrichtung zum Zuführen von Luft aus Fig. 1, mit Blickrichtung in Richtung des Pfeiles 7 in Fig. 3;
    Fig. 8
    eine schematische Darstellung des Umluftkreislaufs der Vorrichtung zum Zuführen von Luft aus Fig. 1;
    Fig. 9
    eine schematische Darstellung des Umluftkreislaufs einer zweiten Ausführungsform einer Vorrichtung zum Zuführen von Luft;
    Fig. 10
    eine schematische Darstellung des Umluftkreislaufs einer dritten Ausführungsform einer Vorrichtung zum Zuführen von Luft;
    Fig. 11
    eine schematische Darstellung des Umluftkreislaufs einer vierten Ausführungsform einer Vorrichtung zum Zuführen von Luft; und
    Fig. 12
    eine schematische Darstellung des Umluftkreislaufs einer fünften Ausführungsform einer Vorrichtung zum Zuführen von Luft.
  • Gleiche oder funktional äquivalente Elemente sind in allen Figuren mit denselben Bezugszeichen versehen.
  • Eine in den Fig. 1 bis 7 dargestellte, als Ganzes mit 100 bezeichnete Lackieranlage zum Lackieren von Werkstücken, insbesondere von Fahrzeugkarosserien 102, umfasst eine rein schematisch dargestellte Fördervorrichtung 104, mittels welcher die Fahrzeugkarosserien 102, welche oberhalb einer in Fig. 5 dargestellten Oberseite 105 der Fördervorrichtung 104 anordenbar sind, längs einer Förderrichtung 106 durch einen Applikationsbereich 108 einer als Ganzes mit 110 bezeichneten Lackierkabine bewegt werden können.
  • Die Fördervorrichtung 104 kann beispielsweise als ein invertierter Kreisförderer oder auch als ein invertierter Einschienenförderer ausgebildet sein.
  • Der Applikationsbereich 108 ist der Innenraum der Lackierkabine 110, welche in einer senkrecht zur Förderrichtung 106, die der Längsrichtung der Lackierkabine 110 entspricht, verlaufenden horizontalen Querrichtung 112 zu beiden Seiten der Fördervorrichtung 104 durch jeweils eine als Kabinenwand 114 ausgebildete Außenwand der Lackierkabine 110 begrenzt ist.
  • Zu beiden Seiten der Fördervorrichtung 104 sind in der Lackierkabine 110 beispielsweise als Lackierroboter ausgebildete Lackiereinrichtungen 116 angeordnet (siehe Fig. 2, 3, 5 und 6).
  • Unter der Lackierkabine 110 ist eine als Ganzes mit 118 bezeichnete Reinigungsvorrichtung angeordnet. Die Reinigungsvorrichtung 118 dient dem Abtrennen von Nasslack-Overspray aus einem Luftstrom, welcher durch den Applikationsbereich 108 der Lackierkabine 110 nach unten in die Reinigungsvorrichtung 118 geleitet wird.
  • Die Reinigungsvorrichtung 118 umfasst einen im wesentlichen quaderförmigen Filterraum 120, welcher in der Querrichtung 112 der Lackierkabine 110 durch vertikale Seitenwände 122 begrenzt ist, die im Wesentlichen mit den seitlichen Kabinenwänden 114 der Lackierkabine 110 fluchten, so dass der Filterraum 120 im Wesentlichen dieselbe Ausdehnung in einer zur Förderrichtung 106 senkrechten und horizontalen Richtung aufweist wie die Lackierkabine 110.
  • Die Seitenwände 122 bilden die seitlichen Außenwände des Filterraums 120.
  • Im Filterraum 120 sind mehrere, beispielsweise acht, Filtervorrichtungen 124 angeordnet, in welchen regenerierbare Oberflächenfilter vorgesehen sind. Die acht Filtervorrichtungen 124 sind bei dieser Ausführungsform in zwei Reihen zu je vier Filtervorrichtungen 124 angeordnet, wobei die zwei Reihen jeweils parallel zur Förderrichtung 106 und horizontal ausgerichtet und bezüglich einer vertikal und in der Förderrichtung 106 verlaufenden Längsmittelebene 128 der Lackierkabine 110 spiegelsymmetrisch zueinander angeordnet sind.
  • Im Filterraum 120 oberhalb der Filtervorrichtungen 124 ist in dieser Ausführungsform beidseitig jeweils eine Luftzuleitungsvorrichtung 129 vorgesehen.
  • Mittels dieser Luftzuleitungsvorrichtungen 129 kann beispielsweise ein Luftschleier oberhalb der Filtervorrichtungen 124 erzeugt werden, welcher ein Absetzen von Nasslack-Overspray an der Oberseite der Filtervorrichtungen 124 verhindert.
  • Unter jeder Filtervorrichtung 124 ist jeweils ein trichterförmiger Aufnahmebehälter 130 zur Aufnahme von Nasslack-Overspray und Filterhilfsmaterial, das von den regenerierbaren Oberflächenfiltern abgereinigt wird, angeordnet.
  • Der Innenraum jeder Filtervorrichtung 124 ist auf ihrer der Längsmittelebene 128 der Lackierkabine 110 abgewandten Seite durch jeweils einen Grundkörper 134 begrenzt.
  • Da jeder Filtervorrichtung 124 ein solcher Grundkörper 134 zugeordnet ist, umfasst die Lackieranlage 100 bei dieser Ausführungsform acht Grundkörper 134.
  • Jeder Grundkörper 134 umfasst bei dieser Ausführungsform eine in den Zeichnungen nicht dargestellte Abreinigungsvorrichtung zum regelmäßigen Abreinigen von an den Oberflächenfiltern der Filtervorrichtungen 124 anfiltrierten Nasslack-Overspray-Partikeln und Filterhilfsmaterial (Precoat-Material).
  • Unterhalb jedes Grundkörpers 134 sind jeweils zwei vertikale Verbindungskanäle 138 angeordnet, welche in Sammelkanäle 140 münden und eine Fluidverbindung zwischen den Grundkörpern 134 und den Sammelkanälen 140 ermöglichen.
  • Bei dieser Ausführungsform sind zwei Sammelkanäle 140 vorgesehen, welche sich unterhalb der Grundkörper 134 und der Verbindungskanäle 138 erstrecken und parallel zur Förderrichtung 106 ausgerichtet sind.
  • Die Sammelkanäle 140 sind bezüglich der Längsmittelebene 128 spiegelsymmetrisch zueinander ausgebildet und angeordnet und voneinander beabstandet angeordnet. Sie umfassen jeweils eine der Längsmittelebene 128 der Lackierkabine 110 zugewandte Innenseite 142, welche weiter von der Längsmittelebene 128 der Lackierkabine 110 beabstandet ist als die Außenwände 132 der Filtervorrichtungen 124.
  • Die Sammelkanäle 140 erstrecken sich in einer zur Förderrichtung 106 parallelen Richtung im Wesentlichen über die gesamte Länge der Lackierkabine 110 und weisen einen in einer Richtung senkrecht zur Förderrichtung 106 genommenen rechteckigen Querschnitt auf.
  • An den einer Werkstückeintrittsseite 144 der Lackierkabine 110 zugewandten Enden 146 der Sammelkanäle 140 ist jeweils auf der Innenseite 142 der Sammelkanäle 140, d.h. auf der der Längsmittelebene 128 zugewandten Seite der Sammelkanäle 140, ein Gebläse 148 angeordnet (siehe insbesondere Fig. 7).
  • Über jedem der beiden Gebläse 148 ist jeweils eine Rückführleitung 150 angeordnet.
  • Jede der Rückführleitungen 150 umfasst ein Adapterelement 152 und einen geradlinigen Rückführabschnitt 154, wobei der geradlinige Rückführabschnitt 154 der Rückführleitung 150 mit einem der Gebläse 148 mittels des Adapterelements 152 in Fluidverbindung steht.
  • Die geradlinigen Rückführabschnitte 154 der beiden Rückführleitungen 150 sind vertikal ausgerichtet und bezüglich der Längsmittelebene 128 der Lackierkabine 110 spiegelsymmetrisch zueinander ausgebildet und angeordnet und voneinander beabstandet angeordnet.
  • Die geradlinigen Rückführabschnitte 154 umfassen einander gegenüberliegende, der Längsmittelebene 128 der Lackierkabine 110 zugewandte Innenseiten 156 und den Innenseiten 156 abgewandte Außenseiten 158.
  • Die geradlinigen Rückführabschnitte 154 weisen einen in horizontaler Richtung genommenen rechteckigen Querschnitt auf.
  • Die geradlinigen Rückführabschnitte 154 sind so an der Lackieranlage 100 angeordnet, dass die Innenseiten 156 der geradlinigen Rückführabschnitte 154 einen geringeren Abstand von der Längsmittelebene 128 der Lackierkabine 110 aufweisen als die Kabinenwände 114 der Lackierkabine 110 und die Außenwände 132 der Filtervorrichtungen 124.
  • Die Außenseiten 158 der geradlinigen Rückführabschnitte 154 weisen jeweils einen Abstand D von der Längsmittelebene 128 der Lackierkabine 110 auf, welcher kleiner ist als die Summe aus dem Abstand d1 zwischen einer Kabinenwand 114 der Lackierkabine 110 und der Längsmittelebene 128 der Lackierkabine 110 und dem Abstand d2 zwischen der Innenseite 156 und der Außenseite 158 des geradlinigen Rückführabschnitts 154 der Rückführleitung 150 (siehe Fig. 6 und 7).
  • Bei einer in den Zeichnungen nicht dargestellten Ausführungsform kann vorgesehen sein, dass die Außenseiten 158 der geradlinigen Rückführabschnitte 154 mit den Kabinenwänden 114 der Lackierkabine 110 fluchten.
  • Die geradlinigen Rückführabschnitte 154 der Rückführleitung 150 erstrecken sich in der zeichnerisch dargestellten Ausführungsform von einem unteren Ende 164, welches ungefähr auf der Höhe eines oberen Randes 166 der Aufnahmebehälter 130 angeordnet ist, vertikal nach oben bis zu einem oberen Ende 160, welches benachbart zu einem über der Lackierkabine 110 vorgesehenen Plenum 168 angeordnet ist.
  • Der geradlinige Rückführabschnitt 154 erstreckt sich folglich über eine Höhe h, die wesentlich größer ist als der Abstand H zwischen einer Unterseite 175 einer Filterdecke 174 und der Oberseite 105 der Fördervorrichtung 104 (siehe Fig. 7).
  • Bei dieser Ausführungsform stehen die geradlinigen Rückführabschnitte 154 mit den Luftzuleitungsvorrichtungen 129 in Fluidverbindung, um eine Zuführung von Umluft aus den geradlinigen Rückführabschnitten 154 direkt in den Filterraum 120 zu ermöglichen. Zur Regelung des den Luftzuleitungsvorrichtungen 129 aus den geradlinigen Rückführabschnitten 154 zugeführten Umluftstroms sind als Sperrklappen 210 ausgebildete Ventile vorgesehen (siehe Fig. 8).
  • Ferner stehen die Luftzuleitungsvorrichtungen 129 zu beiden Seiten des Filterraums 120 mit jeweils einer (in den Fig. 1 bis 7 nicht dargestellten) Zuluftanlage 194 (siehe Fig. 8) in Fluidverbindung. Zur Regelung des den Luftzuleitungsvorrichtungen 129 von den Zuluftanlagen 194 zugeführten Zuluftstroms sind als Zuluftklappen 196 ausgebildete Ventile vorgesehen.
  • An dem oberen Ende 160 jedes geradlinigen Rückführabschnitts 154 ist jeweils ein gekrümmter Rückführabschnitt 162 vorgesehen, welcher in Fluidverbindung mit dem geradlinigen Rückführabschnitt 154 steht.
  • Das Plenum 168 umfasst eine im Wesentlichen quaderförmige Kammer 170, welche sich in der Förderrichtung 106 über im Wesentlichen die gesamte Länge der Lackierkabine 110 hinweg erstreckt und in der Querrichtung 112 der Lackierkabine 110 durch vertikale Seitenwände 172 begrenzt ist, die mit den seitlichen Kabinenwänden 114 der Lackierkabine 110 fluchten, so dass die Kammer 170 im Wesentlichen dieselbe horizontale Querschnittsfläche aufweist wie die Lackierkabine 110.
  • Die Seitenwände 172 bilden die seitlichen Außenwände des Plenums 168.
  • Die Kammer 170 des Plenums 168 ist mittels der horizontal ausgerichteten Filterdecke 174 von dem Applikationsbereich 108 der Lackierkabine 110 getrennt, wobei die horizontale Unterseite 175 der Filterdecke 174 dem Applikationsbereich 108 der Lackierkabine 110 zugewandt ist.
  • Über der Filterdecke 174 und parallel zu derselben ist eine Zwischendecke 176 in dem Plenum 168 vorgesehen, welche die Kammer 170 des Plenums 168 in einen oberen Bereich 178 und einen unteren Bereich 180 teilt.
  • In der Zwischendecke 176 sind mehrere, beispielsweise achtundzwanzig, Sicherheitsfilter 182 angeordnet, welche zum Entfernen eventuell noch in dem Luftstrom befindlicher Verunreinigungen dienen, um jegliche Zufuhr von Verunreinigung zu dem Applikationsbereich 108 der Lackierkabine 110 zu vermeiden.
  • Die gekrümmten Rückführabschnitte 162 sind in Einbuchtungen 184 der Seitenwände 172 der Kammer 170 angeordnet (siehe insbesondere Fig. 1).
  • Die Einbuchtungen 184 sind vertikal ausgerichtet und beispielsweise an den den Werkstückeintrittsseiten 144 der Lackierkabine 110 zugewandten Enden der Seitenwände 172 der Kammer 170 angeordnet.
  • In den Einbuchtungen 184 sind Durchtrittsöffnungen 186 vorgesehen, an denen die gekrümmten Rückführabschnitte 162 in den oberen Bereich 178 der Kammer 170 des Plenums 168 einmünden.
  • Bei dieser Ausführungsform erstrecken sich die Einbuchtungen 184 über die gesamte Höhe des Plenums 168 und über die gesamte Höhe der Lackierkabine 110.
  • Die geradlinigen Rückführabschnitte 154 der Rückführleitungen 150 verlaufen teilweise innerhalb der Einbuchtungen 184 und weisen dadurch, verglichen mit einer Anordnung der geradlinigen Rückführabschnitte 154 außerhalb der Einbuchtungen 184, einen geringeren Abstand zu der Längsmittelebene 128 der Lackierkabine 110 auf.
  • Insbesondere ergibt sich daraus, dass die geradlinigen Rückführabschnitte 154 zumindest teilweise sowohl innerhalb einer Außenkontur 111 der Lackierkabine 110 als auch innerhalb einer Außenkontur 169 des Plenums 168 verlaufen (Fig. 7).
  • Die Außenkontur 111 der Lackierkabine 110 ist die äußere Begrenzung des Raumbereichs, der, wenn jeder senkrecht zur Förderrichtung 106 genommene Querschnitt der Lackierkabine 110 längs der Förderrichtung 106 bis zu den Enden der Lackierkabine 110 bewegt wird, von mindestens einem dieser Querschnitte überstrichen wird.
  • Die Bewegung eines Querschnitts längs der Förderrichtung 106 zur Ermittlung der Außenkontur 111 erfolgt dabei so, dass der bewegte Querschnitt immer senkrecht zur lokalen Förderrichtung ausgerichtet ist. Bei einer nichtkonstanten Förderrichtung 106 (bei einem gekrümmten Förderweg) wird ein Querschnitt folglich während der Bewegung zu den Enden der Lackierkabine 110 dem Verlauf der jeweils lokalen Förderrichtung entsprechend gedreht.
  • Die so definierte Außenkontur umschließt folglich immer einen Raumbereich, der mindestens genauso groß ist wie der von den Außenwänden der Lackierkabine 110 umgebene Raumbereich, aber auch außerhalb der Außenwände liegende Raumbereiche enthalten kann.
  • Ein Gegenstand kann also außerhalb des von den Außenwänden umgebenen Raumbereichs und dennoch innerhalb der zugehörigen Außenkontur angeordnet sein.
  • Die Außenkontur 169 des Plenums 168 ist die äußere Begrenzung des Raumbereichs, der, wenn jeder senkrecht zur Förderrichtung 106 genommene Querschnitt des Plenums 168 längs der Förderrichtung 106 bis zu den Enden der Lackierkabine 110 bewegt wird, von mindestens einem dieser Querschnitte überstrichen wird.
  • Die geradlinigen Rückführabschnitte 154 erstrecken sich vertikal nach unten in den Bereich des Filterraums 120 und verlaufen daher zumindest teilweise auch innerhalb einer Außenkontur 121 des Filterraums 120, wobei bei dieser Ausführungsform die Außenkontur 121 des Filterraums 120 die äußere Begrenzung des Raumbereichs ist, der, wenn jeder senkrecht zur Förderrichtung 106 genommene Querschnitt des Filterraums 120 längs der Förderrichtung 106 bis zu den Enden des der Lackierkabine 110 bewegt wird, von mindestens einem dieser Querschnitte überstrichen wird (siehe Fig. 6 und 7).
  • Zur Konditionierung der dem Applikationsbereich 108 der Lackierkabine 110 zuzuführenden Luft sind bei dieser Ausführungsform zwei Konditioniereinheiten 188 vorgesehen, nämlich eine Luftfeuchtigkeitskonditioniereinheit 190, welche in dem bezüglich der Förderrichtung 106 links angeordneten Sammelkanal 140 angeordnet ist, und eine Lufttemperaturkonditioniereinheit 192, welche in dem bezüglich der Förderrichtung 106 rechts angeordneten Sammelkanal 140 angeordnet ist (siehe Fig. 4).
  • Sowohl die Luftfeuchtigkeitskonditioniereinheit 190 als auch die Lufttemperaturkonditioniereinheit 192 sind relativ zur Förderrichtung 106 jeweils zwischen zwei benachbarten Verbindungskanälen 138, welche Grundkörper 134 mit den Sammelkanälen 140 verbinden, angeordnet.
  • Die Luftfeuchtigkeitskonditioniereinheit 190 ist relativ zur Förderrichtung 106 zwischen einem in der Förderrichtung 106 zweiten und einem in der Förderrichtung 106 dritten Verbindungskanal 138 der acht in der Förderrichtung 106 hintereinander und bezüglich der Förderrichtung 106 links angeordneten Verbindungskanäle 138 angeordnet.
  • Die Lufttemperaturkonditioniereinheit 192 und die Luftfeuchtigkeitskonditioniereinheit 190 sind bezüglich der Längsmittelebene 128 der Lackierkabine 110 spiegelsymmetrisch zueinander angeordnet.
  • Die Lufttemperaturkonditioniereinheit 192 ist damit relativ zur Förderrichtung 106 zwischen einem in der Förderrichtung 106 zweiten und einem in der Förderrichtung 106 dritten Verbindungskanal 138 der acht in der Förderrichtung 106 hintereinander und bezüglich der Förderrichtung 106 rechts angeordneten Verbindungskanäle 138 angeordnet.
  • Die vorstehend beschriebene Lackieranlage 100 funktioniert wie folgt (siehe insbesondere Fig. 7):
  • Ein im Applikationsbereich 108 der Lackierkabine 110 geführter Luftstrom wird aufgrund der Lackiertätigkeit der Lackiereinrichtungen 116 mit Nasslack-Overspray-Partikeln verunreinigt.
  • Der verunreinigte Luftstrom wird aus der Lackierkabine 110 in den Filterraum 120 der Reinigungsvorrichtung 118 geleitet.
  • In dem Filterraum 120 erfolgt eine Aufteilung des als Gesamtluftstrom AB bezeichneten Luftstroms in einen ersten Teilluftstrom A und in einen zweiten Teilluftstrom B.
  • Der erste Teilluftstrom A strömt in die bezüglich der Förderrichtung 106 links von der Längsmittelebene 128 der Lackierkabine 110 angeordneten Filtervorrichtungen 124.
  • Der zweite Teilluftstrom B strömt in die bezüglich der Förderrichtung 106 rechts von der Längsmittelebene 128 der Lackierkabine 110 angeordneten Filtervorrichtungen 124.
  • Die Filtervorrichtungen 124 der Reinigungsvorrichtung 118 reinigen die Luftströme A und B von den Nasslack-Overspray-Partikeln, wobei die gereinigte Luft von den Innenräumen 126 der Filtervorrichtungen 124 in die Grundkörper 134 gelangt.
  • Die an den Oberflächenfiltern der Filtervorrichtungen 124 anfiltrierten Nasslack-Overspray-Partikel und Precoat-Teilchen werden in regelmäßigen Abständen von den Oberflächenfiltern abgereinigt und in den Aufnahmebehältern 130 aufgenommen.
  • Durch die Verbindungskanäle 138 gelangt die gereinigte Luft in die Sammelkanäle 140.
  • Die in den Sammelkanälen 140 gesammelte gereinigte Luft wird entgegen der Förderrichtung 106 zu den der Werkstückeintrittsseite 144 der Lackierkabine 110 zugewandten Enden 146 der Sammelkanäle 140 geführt.
  • Aufgrund der Anordnung der Luftfeuchtigkeitskonditioniereinheit 190 relativ zur Förderrichtung 106 zwischen dem in der Förderrichtung 106 zweiten und dem in der Förderrichtung 106 dritten Verbindungskanal 138 der acht bezüglich der Förderrichtung 106 links angeordneten Verbindungskanäle 138 wird ein Unterteilluftstrom A2, welcher durch einen in der Förderrichtung 106 ersten und den in der Förderrichtung 106 zweiten Verbindungskanal 138 der acht bezüglich der Förderrichtung 106 links angeordneten Verbindungskanäle 138 strömt, nicht konditioniert.
  • Lediglich ein Unterteilluftstrom A1, welcher aus dem in der Förderrichtung 106 dritten, einem in der Förderrichtung 106 vierten, einem in der Förderrichtung 106 fünften, einem in der Förderrichtung 106 sechsten, einem in der Förderrichtung 106 siebten und einem in der Förderrichtung achten Verbindungskanal 138 der acht bezüglich der Förderrichtung 106 links angeordneten Verbindungskanäle 138 in den Sammelkanal 140 strömt, wird durch die Luftfeuchtigkeitskonditioniereinheit 190 geführt und dabei von derselben konditioniert.
  • Aufgrund der Anordnung der Lufttemperaturkonditioniereinheit 192 relativ zur Förderrichtung 106 zwischen dem in der Förderrichtung 106 zweiten und dem in der Förderrichtung 106 dritten Verbindungskanal 138 der acht bezüglich der Förderrichtung 106 rechts angeordneten Verbindungskanäle 138 wird ein Unterteilluftstrom B2, welcher durch einen in der Förderrichtung 106 ersten und den in der Förderrichtung 106 zweiten Verbindungskanal 138 der acht bezüglich der Förderrichtung 106 rechts angeordneten Verbindungskanäle 138 strömt, nicht konditioniert.
  • Lediglich ein Unterteilluftstrom B1, welcher aus dem in der Förderrichtung 106 dritten, einem in der Förderrichtung 106 vierten, einem in der Förderrichtung 106 fünften, einem in der Förderrichtung 106 sechsten, einem in der Förderrichtung 106 siebten und einem in der Förderrichtung achten Verbindungskanal 138 der acht bezüglich der Förderrichtung 106 rechts angeordneten Verbindungskanäle 138 in den Sammelkanal 140 strömt, wird durch die Lufttemperaturkonditioniereinheit 192 geführt und dabei von derselben konditioniert.
  • Die Anordnung der Konditioniereinheiten 188 in den Sammelkanälen 140 führt dazu, dass die Unterteilluftströme A1 und A2 sowie die Unterteilluftströme B1 und B2 stromabwärts der jeweiligen Konditioniereinheit 188, das heißt stromabwärts der Luftfeuchtigkeitskonditioniereinheit 190 beziehungsweise stromabwärts der Lufttemperaturkonditioniereinheit 192, wieder zu den Teilluftströmen A beziehungsweise B zusammengeführt werden.
  • An den der Werkstückeintrittsseite 144 der Lackierkabine 110 zugewandten Enden 146 der Sammelkanäle 140 werden die Teilluftströme A und B durch die Gebläse 148 in die Rückführleitungen 150 geleitet und innerhalb der geradlinigen Rückführabschnitte 154 in den oberen Bereich der Lackieranlage 100 geführt.
  • Mittels der gekrümmten Rückführabschnitte 162 werden die in den Rückführleitungen 150 geführten Teilluftströme A und B umgelenkt und dem oberen Bereich 178 der Kammer 170 des Plenums 168 zugeführt.
  • In diesem oberen Bereich 178 erfolgt eine Vermischung der unterschiedlich konditionierten Teilluftströme A und B zu dem Gesamtluftstrom AB.
  • Anschließend wird die so vermischte Luft durch die in der Zwischendecke 176 angeordneten Sicherheitsfilter 182 in den unteren Bereich 180 der Kammer 170 des Plenums 168 und von dort durch die Filterdecke 174 in den Applikationsbereich 108 der Lackierkabine 110 geleitet.
  • Mittels der Sicherheitsfilter 182 werden eventuell noch in dem Luftstrom befindliche Verunreinigungen entfernt, um jegliche Zufuhr von Verunreinigung zu dem Applikationsbereich 108 der Lackierkabine 110 zu vermeiden.
  • Sowohl die Sicherheitsfilter 182 als auch die Filterdecke 174 dienen ferner der Vergleichmäßigung des Luftstroms durch den Applikationsbereich 108 der Lackierkabine 110 und der Verminderung von Verwirbelungen.
  • Bei dieser Ausführungsform ist gemäß dem in Fig. 8 dargestellten Verfahrensschema vorgesehen, dass der durch den Applikationsbereich 108 der Lackierkabine 110 geführte Gesamtluftstrom AB in dem Filterraum 120 zunächst in die Teilluftströme A und B unterteilt wird.
  • In dem Filterraum 120 der Lackieranlage 100 werden beidseitig jeweils ungefähr 18.000 m3 Luft pro Stunde in die Filtervorrichtungen 124 eingesaugt.
  • Zu beiden Seiten des Filterraums 120 wird durch die Luftzuleitungsvorrichtungen 129 jeweils ein Querluftstrom Q von 900 m3/h mit einer Temperatur von 34°C und 42 % Luftfeuchtigkeit zugegeben.
  • Dieser Querluftstrom Q kann als Umluft über die Sperrklappen 210 aus den geradlinigen Rückführabschnitten 154 oder als Zuluft über die Zuluftklappen 196 von den Zuluftanlagen 194 zugeführt werden. Es kann auch vorgesehen sein, dass der Querluftstrom Q bei teilweise geöffneten Sperrklappen 210 und Zuluftklappen 196 aus Umluft und Zuluft gemischt wird.
  • An Strömungswegverzweigungen 198 (welche bei der beschriebenen Ausführungsform durch die Einlassöffnungen der Filtervorrichtungen 124 realisiert sind) erfolgt eine Aufteilung der Teilluftströme A und B in unterschiedlich konditionierbare Unterteilluftströme A1, A2, B1 und B2.
  • Mit einer Geschwindigkeit von ungefähr 8 m/s wird der Unterteilluftstrom A1 des Teilluftstroms A der Luftfeuchtigkeitskonditioniereinheit 190 zugeleitet.
  • Der Unterteilluftstrom A1 wird bei dieser Ausführungsform mittels der Luftfeuchtigkeitskonditioniereinheit 190 befeuchtet.
  • Der Unterteilluftstrom A2 wird an der Luftfeuchtigkeitskonditioniereinheit 190 mittels einer Umgehungsleitung 208 vorbeigeleitet und somit nicht konditioniert. In dem Strömungsweg des Unterteilluftstroms A2, das heißt in der Umgehungsleitung 208, kann ein als Bypass-Klappe 200 ausgebildetes Ventil vorgesehen sein.
  • Mit der Bypass-Klappe 200 kann reguliert und/oder gesteuert werden, welcher Anteil des Teilluftstroms A mittels der Luftfeuchtigkeitskonditioniereinheit 190 konditioniert wird.
  • Stromabwärts von der Luftfeuchtigkeitskonditioniereinheit 190 ist eine Strömungswegzusammenführung 202 vorgesehen (welche bei der beschriebenen Ausführungsform durch die Einmündungen der beiden dem Gebläse 148 benachbarten Verbindungskanäle 138 in den bezüglich der Förderrichtung 106 linken Sammelkanal 140 realisiert ist).
  • Mittels der Strömungswegzusammenführung 202 werden die Unterteilluftströme A1 und A2 wieder zu dem Teilluftstrom A zusammengeführt.
  • Stromabwärts von der Strömungswegzusammenführung 202 ist ein Gebläse 148 angeordnet, welches den Teilluftstrom A antreibt.
  • Das als Ventilator ausgebildete Gebläse 148 weist eine Leistung von ungefähr 18,5 kW auf.
  • Stromabwärts von dem Gebläse 148 ist eine Abluftanlage 204 angeordnet, wobei ein Abluftstrom mittels eines als Abluftklappe 206 ausgebildeten Ventils regelbar ist.
  • Bei dieser Ausführungsform beträgt der mittels der Abluftanlage 204 aus dem Teilluftstrom A abgeführte Abluftstrom 900 m3/h.
  • Mit einer Geschwindigkeit von ungefähr 8 m/s wird der Unterteilluftstrom B1 des Teilluftstroms B der Lufttemperaturkonditioniereinheit 192 zugeleitet.
  • Der Unterteilluftstrom B1 wird bei dieser Ausführungsform mittels der Lufttemperaturkonditioniereinheit 192 gekühlt.
  • Der Unterteilluftstrom B2 wird an der Lufttemperaturkonditioniereinheit 192 mittels einer Umgehungsleitung 208 vorbeigeleitet und somit nicht konditioniert. In dem Strömungsweg des Unterteilluftstroms B2, das heißt in der Umgehungsleitung 208, kann ein als Bypass-Klappe 200 ausgebildetes Ventil vorgesehen sein.
  • Mit der Bypass-Klappe 200 kann reguliert und/oder gesteuert werden, welcher Anteil des Teilluftstroms B mittels der Lufttemperaturkonditioniereinheit 192 konditioniert wird.
  • Stromabwärts von der Lufttemperaturkonditioniereinheit 192 ist eine Strömungswegzusammenführung 202 vorgesehen (welche bei der beschriebenen Ausführungsform durch die Einmündungen der beiden dem Gebläse 148 benachbarten Verbindungskanäle 138 in den bezüglich der Förderrichtung 106 rechten Sammelkanal 140 realisiert ist).
  • Mittels der Strömungswegzusammenführung 202 werden die Unterteilluftströme B1 und B2 wieder zu dem Teilluftstrom B zusammengeführt.
  • Stromabwärts von der Strömungswegzusammenführung 202 ist ein Gebläse 148 angeordnet, welches den Teilluftstrom B antreibt.
  • Das als Ventilator ausgebildete Gebläse 148 weist eine Leistung von ungefähr 18,5 kW auf.
  • Stromabwärts von dem Gebläse 148 ist eine Abluftanlage 204 angeordnet, wobei ein Abluftstrom mittels eines als Abluftklappe 206 ausgebildeten Ventils regelbar ist.
  • Bei dieser Ausführungsform beträgt der mittels der Abluftanlage 204 aus dem Teilluftstrom B abgeführte Abluftstrom 900 m3/h.
  • Die Teilluftströme A und B werden im oberen Bereich 178 der Kammer 170 des Plenums 168 zu dem Gesamtluftstrom AB zusammengeführt.
  • Der Gesamtluftstrom AB wird anschließend durch die in der Zwischendecke 176 angeordneten Sicherheitsfilter 182 in den unteren Bereich 180 der Kammer 170 des Plenums 168 und von dort durch die Filterdecke 174 in den Applikationsbereich 108 der Lackierkabine 110 geführt.
  • Die Luft wird also zumindest teilweise in einem Umluftkreislauf geführt, das heißt, dass zumindest ein Teil der aus dem Applikationsbereich 108 der Lackierkabine 110 entnommenen Luft nach der Reinigung und Konditionierung dem Applikationsbereich 108 der Lackierkabine 110 wieder zugeführt wird.
  • In dem Applikationsbereich 108 der Lackierkabine 110 erreicht die Luft bei einem Gesamtluftstrom AB von insgesamt 36.000 m3/h eine Sinkgeschwindigkeit von ungefähr 0,3 m/s.
  • Eine in Fig. 9 dargestellte zweite Ausführungsform einer Vorrichtung zum Zuführen von Luft zu einem Applikationsbereich einer Lackieranlage unterscheidet sich von der in den Fig. 1 bis 8 dargestellten ersten Ausführungsform dadurch, dass eine Absaugung des Gesamtluftstroms AB in dem Filterraum 120 der Lackieranlage 100 nur einseitig erfolgt.
  • Stromabwärts von den Filtervorrichtungen 124 erfolgt an einer Strömungswegverzweigung 198 eine Aufteilung des Gesamtluftstroms ABC in drei Teilluftströme A, B und C.
  • Nur der Teilluftstrom B wird mittels einer Luftfeuchtigkeitskonditioniereinheit 190 konditioniert.
  • Der Teilluftstrom A wird durch eine Umgehungsleitung 208 an der Luftfeuchtigkeitskonditioniereinheit 190 vorbeigeführt und an einer Strömungswegzusammenführung 202 mit der mittels der Luftfeuchtigkeitskonditioniereinheit 190 konditionierten Luft des Teilluftstroms B zu dem Teilluftstrom AB zusammengeführt.
  • Der zusammengeführte Teilluftstrom AB wird mittels der Lufttemperaturkonditioniereinheit 192 konditioniert.
  • Stromabwärts von der Lufttemperaturkonditioniereinheit 192 erfolgt schließlich eine Zusammenführung der so konditionierten Luft des Teilluftstroms AB mit dem nicht konditionierten Teilluftstrom C zu dem Gesamtluftstrom ABC an einer Strömungswegzusammenführung 202.
  • Der Gesamtluftstrom ABC wird mittels des Gebläses 148 dem Plenum 168 zugeführt.
  • Eine in Fig. 10 dargestellte dritte Ausführungsform einer Vorrichtung zum Zuführen von Luft zu einem Applikationsbereich einer Lackieranlage unterscheidet sich von der in Fig. 9 dargestellten zweiten Ausführungsform dadurch, dass die Luftfeuchtigkeitskonditioniereinheit 190 und die Lufttemperaturkonditioniereinheit 192 miteinander vertauscht angeordnet sind.
  • Es erfolgt somit zunächst eine Konditionierung des Teilluftstroms B mittels der Lufttemperaturkonditioniereinheit 192. Nach einer Zusammenführung des so konditionierten Teilluftstroms B mit dem unkonditionierten Teilluftstrom A erfolgt eine Konditionierung des Teilluftstroms AB mittels der Luftfeuchtigkeitskonditioniereinheit 190.
  • Im Übrigen stimmt die in Fig. 10 dargestellte dritte Ausführungsform der Vorrichtung zum Zuführen von Luft zu einem Applikationsbereich einer Lackieranlage hinsichtlich Aufbau und Funktion mit der in Fig. 9 dargestellten zweiten Ausführungsform überein, auf deren vorstehende Beschreibung insoweit Bezug genommen wird.
  • Eine in Fig. 11 dargestellte vierte Ausführungsform einer Vorrichtung zum Zuführen von Luft zu einem Applikationsbereich einer Lackieranlage unterscheidet sich von der in Fig. 10 dargestellten dritten Ausführungsform dadurch, dass das Gebläse 148 nicht stromabwärts von der Strömungswegzusammenführung 202, sondern stromaufwärts von der Strömungswegverzweigung 198 angeordnet ist, wobei an der Strömungswegverzweigung 198 drei Teilluftströme A, B und C abzweigen. Der Teilluftstrom A wird mittels der Luftfeuchtigkeitskonditioniereinheit 190 konditioniert. Der Teilluftstrom B wird mittels der Lufttemperaturkonditioniereinheit 192 konditioniert. Der Teilluftstrom C wird nicht konditioniert.
  • An der Strömungswegzusammenführung 202 werden bei dieser Ausführungsform alle drei Teilluftströme A, B und C wieder zu dem Gesamtluftstrom ABC zusammengeführt.
  • Im Übrigen stimmt die in Fig. 11 dargestellte vierte Ausführungsform der Vorrichtung zum Zuführen von Luft zu einem Applikationsbereich einer Lackieranlage hinsichtlich Aufbau und Funktion mit der in Fig. 10 dargestellten dritten Ausführungsform überein, auf deren vorstehende Beschreibung insoweit Bezug genommen wird.
  • Eine in Fig. 12 dargestellte fünfte Ausführungsform einer Vorrichtung zum Zuführen von Luft zu einem Applikationsbereich einer Lackieranlage unterscheidet sich von der in Fig. 11 dargestellten vierten Ausführungsform dadurch, dass das Gebläse 148 nicht stromaufwärts von der Strömungswegverzweigung 198, sondern stromabwärts von der Strömungswegzusammenführung 202 angeordnet ist.
  • Da das Gebläse 148 einen durch dasselbe geführten Luftstrom stets erwärmt, bietet eine Anordnung des Gebläses 148 stromabwärts von einer Kühlvorrichtung den Vorteil, dass der Luftstrom stärker entfeuchtet wird. Bei einer Anordnung des Gebläses 148 stromaufwärts von einer Kühlvorrichtung wird hingegen der Luftstrom zunächst erwärmt und ein Entfeuchten somit behindert, da die vom Gebläse 148 erwärmte Luft mehr Feuchte aufnehmen kann.
  • Im Übrigen stimmt die in Fig. 12 dargestellte fünfte Ausführungsform der Vorrichtung zum Zuführen von Luft zu einem Applikationsbereich einer Lackieranlage hinsichtlich Aufbau und Funktion mit der in Fig. 11 dargestellten vierten Ausführungsform überein, auf deren vorstehende Beschreibung insoweit Bezug genommen wird.
  • Die Aufteilung eines Gesamtluftstroms in Teilluftströme und die anschließende unterschiedliche Konditionierung der Teilluftströme ermöglichen eine besonders energieeffiziente Konditionierung und Zuführung der einem Applikationsbereich einer Lackieranlage zuzuführenden Luft.

Claims (11)

  1. Vorrichtung zum Zuführen von Luft zu einem Applikationsbereich (108) einer Lackieranlage (100), umfassend einen Umluftkreislauf und mindestens eine Konditioniereinheit (188), die zumindest einen Teil der im Umluftkreislauf geführten Luft konditioniert,
    wobei die Vorrichtung mindestens eine Luftfeuchtigkeitskonditioniereinheit (190) umfasst,
    dadurch gekennzeichnet,
    dass die Vorrichtung mehrere unterschiedliche Strömungswege für mindestens zwei Teilluftströme (A, B) umfasst, wobei die mindestens zwei Teilluftströme (A, B) in den unterschiedlichen Strömungswegen unterschiedlich konditionierbar, vor Eintritt in den Applikationsbereich (108) zusammenbringbar und mischbar sowie nachfolgend als ein vermischter Gesamtluftstrom (AB) dem Applikationsbereich (108) zuführbar sind, wobei die Vorrichtung mindestens ein Gebläse (148) zum Antreiben mindestens eines in dem Umluftkreislauf geführten Teilluftstroms (A, B) umfasst, wobei das Gebläse (148) stromabwärts einer als Kühlvorrichtung ausgebildeten Lufttemperaturkonditioniereinheit (192) der Vorrichtung angeordnet ist.
  2. Vorrichtung nach Anspruch 1, dadurch gekennzeichnet, dass die Vorrichtung mindestens eine Lufttemperaturkonditioniereinheit (192) zur Beeinflussung der Temperatur mindestens eines Teilluftstroms (A, B) umfasst.
  3. Vorrichtung nach Anspruch 2, dadurch gekennzeichnet, dass mindestens zwei Teilluftströme (A, B) mittels mindestens einer Konditioniereinheit (188) konditionierbar sind, wobei mindestens einer der Teilluftströme (A, B) befeuchtbar ist.
  4. Vorrichtung nach einem der Ansprüche 1 bis 3, dadurch gekennzeichnet, dass die Vorrichtung mindestens eine Umgehungsleitung (208) umfasst, mittels derer mindestens ein Teilluftstrom (A, B) an mindestens einer Konditioniereinheit (188) vorbeiführbar ist, ohne von derselben konditioniert zu werden.
  5. Vorrichtung nach einem der Ansprüche 1 bis 4, dadurch gekennzeichnet, dass die Vorrichtung mindestens eine Strömungswegverzweigung (198) und mindestens ein Gebläse (148) zum Antreiben mindestens eines in dem Umluftkreislauf geführten Teilluftstroms (A, B) umfasst, wobei das Gebläse (148) stromaufwärts von der Strömungswegverzweigung (198) angeordnet ist.
  6. Vorrichtung nach einem der Ansprüche 1 bis 5, dadurch gekennzeichnet, dass die Vorrichtung eine Zuluftanlage (194) zum Zuführen von Zuluft zu dem Umluftkreislauf und eine Abluftanlage (204) zum Abführen von Abluft von dem Umluftkreislauf umfasst.
  7. Verfahren zur Konditionierung von einem Applikationsbereich (108) einer Lackieranlage (100) zuzuführender Luft, wobei zumindest ein Teil der Luft in einem Umluftkreislauf geführt wird, wobei ein dem Applikationsbereich (108) zuzuführender Gesamtluftstrom (AB) zur Konditionierung in mindestens zwei unterschiedliche Teilluftströme (A, B) aufgeteilt wird, die unterschiedlich konditioniert werden, wobei zumindest ein Teil mindestens eines Teilluftstroms (A, B) mittels mindestens einer Luftfeuchtigkeitskonditioniereinheit (190) konditioniert wird, dadurch gekennzeichnet, dass die mindestens zwei Teilluftströme (A, B) vor Eintritt in den Applikationsbereich (108) der Lackieranlage (100) zusammengebracht und gemischt sowie nachfolgend als ein vermischter Gesamtluftstrom (AB) dem Applikationsbereich (108) zugeführt werden,
    wobei mindestens ein in dem Umluftkreislauf geführter Teilluftstrom (A, B) mittels mindestens eines Gebläses (148) angetrieben wird, welches stromabwärts einer als Kühlvorrichtung ausgebildeten Lufttemperaturkonditioniereinheit (192) angeordnet ist.
  8. Verfahren nach Anspruch 7, dadurch gekennzeichnet, dass zumindest ein Teil mindestens eines Teilluftstroms (A, B) mittels mindestens einer Lufttemperaturkonditioniereinheit (192) konditioniert wird.
  9. Verfahren nach einem der Ansprüche 7 oder 8, dadurch gekennzeichnet, dass das Verhältnis von aus dem Applikationsbereich (108) der Lackieranlage (100) entnommener Luft zu zusätzlich zugeführter Luft mindestens 4:1 beträgt.
  10. Verfahren nach einem der Ansprüche 7 bis 9, dadurch gekennzeichnet, dass mindestens ein Teilluftstrom (A, B) mittels mindestens einer Umgehungsleitung (208) an mindestens einer Konditioniereinheit (188) vorbeigeführt wird, ohne von derselben konditioniert zu werden.
  11. Verwendung einer Vorrichtung nach einem der Ansprüche 1 bis 6 zur Durchführung eines Verfahrens nach einem der Ansprüche 7 bis 10.
EP09716029.5A 2008-02-29 2009-02-18 Vorrichtung und verfahren zum zuführen von luft zu einem applikationsbereich einer lackieranlage Active EP2244840B2 (de)

Priority Applications (2)

Application Number Priority Date Filing Date Title
PL09716029T PL2244840T5 (pl) 2008-02-29 2009-02-18 Urządzenie do doprowadzania i sposób doprowadzania powietrza do obszaru aplikacji instalacji lakierniczej
EP13158416.1A EP2602027A3 (de) 2008-02-29 2009-02-18 Vorrichtung und Verfahren zum Zuführen von Luft zu einem Applikationsbereich einer Lackieranlage

Applications Claiming Priority (2)

Application Number Priority Date Filing Date Title
DE102008013714A DE102008013714A1 (de) 2008-02-29 2008-02-29 Vorrichtung und Verfahren zum Zuführen von Luft zu einem Applikationsbereich einer Lackieranlage
PCT/EP2009/001151 WO2009106255A1 (de) 2008-02-29 2009-02-18 Vorrichtung und verfahren zum zuführen von luft zu einem applikationsbereich einer lackieranlage

Related Child Applications (3)

Application Number Title Priority Date Filing Date
EP13158416.1A Division EP2602027A3 (de) 2008-02-29 2009-02-18 Vorrichtung und Verfahren zum Zuführen von Luft zu einem Applikationsbereich einer Lackieranlage
EP13158416.1A Division-Into EP2602027A3 (de) 2008-02-29 2009-02-18 Vorrichtung und Verfahren zum Zuführen von Luft zu einem Applikationsbereich einer Lackieranlage
EP13158416.1 Division-Into 2013-03-08

Publications (3)

Publication Number Publication Date
EP2244840A1 EP2244840A1 (de) 2010-11-03
EP2244840B1 EP2244840B1 (de) 2013-04-24
EP2244840B2 true EP2244840B2 (de) 2016-07-27

Family

ID=40636995

Family Applications (2)

Application Number Title Priority Date Filing Date
EP13158416.1A Withdrawn EP2602027A3 (de) 2008-02-29 2009-02-18 Vorrichtung und Verfahren zum Zuführen von Luft zu einem Applikationsbereich einer Lackieranlage
EP09716029.5A Active EP2244840B2 (de) 2008-02-29 2009-02-18 Vorrichtung und verfahren zum zuführen von luft zu einem applikationsbereich einer lackieranlage

Family Applications Before (1)

Application Number Title Priority Date Filing Date
EP13158416.1A Withdrawn EP2602027A3 (de) 2008-02-29 2009-02-18 Vorrichtung und Verfahren zum Zuführen von Luft zu einem Applikationsbereich einer Lackieranlage

Country Status (10)

Country Link
EP (2) EP2602027A3 (de)
KR (1) KR20100124728A (de)
CN (1) CN101959615B (de)
BR (1) BRPI0908902A2 (de)
DE (1) DE102008013714A1 (de)
ES (1) ES2422158T5 (de)
MX (1) MX2010009450A (de)
PL (1) PL2244840T5 (de)
PT (1) PT2244840E (de)
WO (1) WO2009106255A1 (de)

Families Citing this family (8)

* Cited by examiner, † Cited by third party
Publication number Priority date Publication date Assignee Title
DE102010030280A1 (de) 2010-06-18 2011-12-22 Dürr Systems GmbH Lackieranlage mit Leitungssystem für das Umwälzen von Gas und/oder Luft
DE102010033711A1 (de) * 2010-08-06 2012-02-09 Eisenmann Ag Im Umluftbetrieb arbeitende Lackieranlage
DE102011076469A1 (de) * 2011-01-26 2012-07-26 Dürr Systems GmbH Oberflächenbehandlungsvorrichtung und Verfahren zum Betrieb einer Oberflächenbehandlungsvorrichtung
DE102015214711A1 (de) 2015-07-31 2017-02-02 Dürr Systems Ag Behandlungsanlage und Verfahren zum Behandeln von Werkstücken
DE102015214706A1 (de) 2015-07-31 2017-02-02 Dürr Systems Ag Behandlungsanlage und Verfahren zum Behandeln von Werkstücken
DE102016114466A1 (de) * 2016-08-04 2018-02-08 Eisenmann Se Konditioniervorrichtung und Verfahren zum Konditionieren eines gasförmigen Mediums sowie Anlage und Verfahren zum Behandeln von Werkstücken
EP3618795A4 (de) 2017-05-05 2021-04-14 Badri Amurthur Stimulationsverfahren und -vorrichtung
CN111774268A (zh) * 2020-07-22 2020-10-16 顾丽霞 一种玻璃门用玻璃胶快速固化方法

Citations (2)

* Cited by examiner, † Cited by third party
Publication number Priority date Publication date Assignee Title
EP0595864B1 (de) 1991-07-24 1995-05-17 HERRMANN, Johannes Lackier- und trocknungskabine
DE102006008431A1 (de) 2006-02-23 2007-08-30 Rehau Ag + Co. Lackieranlage mit einer Spritzkabine mit Abscheidesystem

Family Cites Families (8)

* Cited by examiner, † Cited by third party
Publication number Priority date Publication date Assignee Title
GB1474732A (en) * 1975-03-11 1977-05-25 Carrier Drysys Ltd Paint-spraying booths
JPS5858177A (ja) * 1981-09-30 1983-04-06 Toyota Central Res & Dev Lab Inc 塗装ブ−ス
SE454328B (sv) * 1982-04-30 1988-04-25 Flaekt Ab Forfarande och anordning for ventilering av en sprutbox
JPS58195675U (ja) * 1982-06-17 1983-12-26 トヨタ自動車株式会社 塗装ブ−ス
DE8327215U1 (de) * 1983-09-22 1987-04-23 RMG Beierling GmbH, 4791 Altenbeken Lackier- und Abdunstanlage mit Umluftbelüftung
US5922130A (en) * 1997-03-31 1999-07-13 Sermatech International, Inc. Spray booth for applying coatings to substrate
DE102007015150A1 (de) * 2007-03-02 2008-09-04 Wurster, Gerd Lackieranlage
DE202007005748U1 (de) * 2007-04-19 2007-11-22 Teubner, Christian Lackiereinrichtung

Patent Citations (2)

* Cited by examiner, † Cited by third party
Publication number Priority date Publication date Assignee Title
EP0595864B1 (de) 1991-07-24 1995-05-17 HERRMANN, Johannes Lackier- und trocknungskabine
DE102006008431A1 (de) 2006-02-23 2007-08-30 Rehau Ag + Co. Lackieranlage mit einer Spritzkabine mit Abscheidesystem

Also Published As

Publication number Publication date
PL2244840T3 (pl) 2013-09-30
ES2422158T3 (es) 2013-09-09
BRPI0908902A2 (pt) 2017-09-19
EP2244840A1 (de) 2010-11-03
PT2244840E (pt) 2013-05-06
CN101959615A (zh) 2011-01-26
DE102008013714A1 (de) 2009-11-05
WO2009106255A1 (de) 2009-09-03
PL2244840T5 (pl) 2017-01-31
MX2010009450A (es) 2010-09-24
EP2602027A3 (de) 2014-01-22
EP2244840B1 (de) 2013-04-24
KR20100124728A (ko) 2010-11-29
CN101959615B (zh) 2013-06-05
EP2602027A2 (de) 2013-06-12
ES2422158T5 (es) 2017-02-10

Similar Documents

Publication Publication Date Title
EP2244840B2 (de) Vorrichtung und verfahren zum zuführen von luft zu einem applikationsbereich einer lackieranlage
EP2258485B2 (de) Vorrichtung zum Abtrennen von Nasslack-Overspray
EP2505268B2 (de) Vorrichtung und Verfahren zum Abtrennen von Nasslack-Overspray
DE102018115234A1 (de) Temperiervorrichtung zum Temperieren von Gegenständen
EP2244839B2 (de) Lackieranlage
EP2418431B1 (de) Klimatisierungseinrichtung mit Luftkonditionierungseinrichtung
EP3866985A1 (de) Behandlungsanlage und behandlungsverfahren
DE202020103567U1 (de) Behandlungsanlage
EP1704925A2 (de) Vorrichtung zum Abtrennen von Nasslack-Overspray
EP1704926B1 (de) Vorrichtung zum Abtrennen von Nasslack-Overspray
EP0410098B1 (de) Modulares Sonderklima-Raumsystem
DE102005013710A1 (de) Vorrichtung zum Abtrennen von Naßlack-Overspray
WO2021043373A1 (de) Trennvorrichtung, behandlungsanlage, verfahren zum trennen zweier raumbereiche und verfahren zum behandeln von werkstücken
EP4264154A1 (de) Trennvorrichtung, behandlungsanlage und verfahren zum behandeln von werkstücken
DE102004063654B4 (de) Lackieranlage mit im Umluftverfahren betriebener Lackierkabine
DE3832915A1 (de) Reinraum
CH699036B1 (de) Farbspritzkabine.
DE19958002A1 (de) Belüftungsvorrichtung und Verfahren zur Belüftung eines Freiflächenarbeitsplatzes in einer Werkshalle
DD298303A5 (de) Modulares sonderklima-raumsystem

Legal Events

Date Code Title Description
PUAI Public reference made under article 153(3) epc to a published international application that has entered the european phase

Free format text: ORIGINAL CODE: 0009012

17P Request for examination filed

Effective date: 20100727

AK Designated contracting states

Kind code of ref document: A1

Designated state(s): AT BE BG CH CY CZ DE DK EE ES FI FR GB GR HR HU IE IS IT LI LT LU LV MC MK MT NL NO PL PT RO SE SI SK TR

AX Request for extension of the european patent

Extension state: AL BA RS

DAX Request for extension of the european patent (deleted)
GRAP Despatch of communication of intention to grant a patent

Free format text: ORIGINAL CODE: EPIDOSNIGR1

RIC1 Information provided on ipc code assigned before grant

Ipc: B05D 1/02 20060101ALN20121002BHEP

Ipc: B05B 15/12 20060101AFI20121002BHEP

Ipc: B05D 3/04 20060101ALN20121002BHEP

GRAS Grant fee paid

Free format text: ORIGINAL CODE: EPIDOSNIGR3

GRAA (expected) grant

Free format text: ORIGINAL CODE: 0009210

AK Designated contracting states

Kind code of ref document: B1

Designated state(s): AT BE BG CH CY CZ DE DK EE ES FI FR GB GR HR HU IE IS IT LI LT LU LV MC MK MT NL NO PL PT RO SE SI SK TR

REG Reference to a national code

Ref country code: GB

Ref legal event code: FG4D

Free format text: NOT ENGLISH

REG Reference to a national code

Ref country code: CH

Ref legal event code: EP

REG Reference to a national code

Ref country code: PT

Ref legal event code: SC4A

Free format text: AVAILABILITY OF NATIONAL TRANSLATION

Effective date: 20130426

REG Reference to a national code

Ref country code: AT

Ref legal event code: REF

Ref document number: 608272

Country of ref document: AT

Kind code of ref document: T

Effective date: 20130515

REG Reference to a national code

Ref country code: IE

Ref legal event code: FG4D

Free format text: LANGUAGE OF EP DOCUMENT: GERMAN

REG Reference to a national code

Ref country code: NL

Ref legal event code: T3

REG Reference to a national code

Ref country code: DE

Ref legal event code: R096

Ref document number: 502009006936

Country of ref document: DE

Effective date: 20130620

REG Reference to a national code

Ref country code: RO

Ref legal event code: EPE

REG Reference to a national code

Ref country code: ES

Ref legal event code: FG2A

Ref document number: 2422158

Country of ref document: ES

Kind code of ref document: T3

Effective date: 20130909

REG Reference to a national code

Ref country code: LT

Ref legal event code: MG4D

REG Reference to a national code

Ref country code: PL

Ref legal event code: T3

REG Reference to a national code

Ref country code: SK

Ref legal event code: T3

Ref document number: E 14411

Country of ref document: SK

REG Reference to a national code

Ref country code: HU

Ref legal event code: AG4A

Ref document number: E016919

Country of ref document: HU

PG25 Lapsed in a contracting state [announced via postgrant information from national office to epo]

Ref country code: GR

Free format text: LAPSE BECAUSE OF FAILURE TO SUBMIT A TRANSLATION OF THE DESCRIPTION OR TO PAY THE FEE WITHIN THE PRESCRIBED TIME-LIMIT

Effective date: 20130725

Ref country code: SI

Free format text: LAPSE BECAUSE OF FAILURE TO SUBMIT A TRANSLATION OF THE DESCRIPTION OR TO PAY THE FEE WITHIN THE PRESCRIBED TIME-LIMIT

Effective date: 20130424

Ref country code: NO

Free format text: LAPSE BECAUSE OF FAILURE TO SUBMIT A TRANSLATION OF THE DESCRIPTION OR TO PAY THE FEE WITHIN THE PRESCRIBED TIME-LIMIT

Effective date: 20130724

Ref country code: SE

Free format text: LAPSE BECAUSE OF FAILURE TO SUBMIT A TRANSLATION OF THE DESCRIPTION OR TO PAY THE FEE WITHIN THE PRESCRIBED TIME-LIMIT

Effective date: 20130424

Ref country code: IS

Free format text: LAPSE BECAUSE OF FAILURE TO SUBMIT A TRANSLATION OF THE DESCRIPTION OR TO PAY THE FEE WITHIN THE PRESCRIBED TIME-LIMIT

Effective date: 20130824

Ref country code: LT

Free format text: LAPSE BECAUSE OF FAILURE TO SUBMIT A TRANSLATION OF THE DESCRIPTION OR TO PAY THE FEE WITHIN THE PRESCRIBED TIME-LIMIT

Effective date: 20130424

PG25 Lapsed in a contracting state [announced via postgrant information from national office to epo]

Ref country code: CY

Free format text: LAPSE BECAUSE OF FAILURE TO SUBMIT A TRANSLATION OF THE DESCRIPTION OR TO PAY THE FEE WITHIN THE PRESCRIBED TIME-LIMIT

Effective date: 20130424

Ref country code: HR

Free format text: LAPSE BECAUSE OF FAILURE TO SUBMIT A TRANSLATION OF THE DESCRIPTION OR TO PAY THE FEE WITHIN THE PRESCRIBED TIME-LIMIT

Effective date: 20130424

Ref country code: BG

Free format text: LAPSE BECAUSE OF FAILURE TO SUBMIT A TRANSLATION OF THE DESCRIPTION OR TO PAY THE FEE WITHIN THE PRESCRIBED TIME-LIMIT

Effective date: 20130724

Ref country code: LV

Free format text: LAPSE BECAUSE OF FAILURE TO SUBMIT A TRANSLATION OF THE DESCRIPTION OR TO PAY THE FEE WITHIN THE PRESCRIBED TIME-LIMIT

Effective date: 20130424

PLBI Opposition filed

Free format text: ORIGINAL CODE: 0009260

PG25 Lapsed in a contracting state [announced via postgrant information from national office to epo]

Ref country code: EE

Free format text: LAPSE BECAUSE OF FAILURE TO SUBMIT A TRANSLATION OF THE DESCRIPTION OR TO PAY THE FEE WITHIN THE PRESCRIBED TIME-LIMIT

Effective date: 20130424

Ref country code: DK

Free format text: LAPSE BECAUSE OF FAILURE TO SUBMIT A TRANSLATION OF THE DESCRIPTION OR TO PAY THE FEE WITHIN THE PRESCRIBED TIME-LIMIT

Effective date: 20130424

26 Opposition filed

Opponent name: EISENMANN AG

Effective date: 20140121

PLAX Notice of opposition and request to file observation + time limit sent

Free format text: ORIGINAL CODE: EPIDOSNOBS2

REG Reference to a national code

Ref country code: DE

Ref legal event code: R026

Ref document number: 502009006936

Country of ref document: DE

Effective date: 20140121

PLAF Information modified related to communication of a notice of opposition and request to file observations + time limit

Free format text: ORIGINAL CODE: EPIDOSCOBS2

BERE Be: lapsed

Owner name: DURR SYSTEMS G.M.B.H.

Effective date: 20140228

PLBB Reply of patent proprietor to notice(s) of opposition received

Free format text: ORIGINAL CODE: EPIDOSNOBS3

PG25 Lapsed in a contracting state [announced via postgrant information from national office to epo]

Ref country code: LU

Free format text: LAPSE BECAUSE OF FAILURE TO SUBMIT A TRANSLATION OF THE DESCRIPTION OR TO PAY THE FEE WITHIN THE PRESCRIBED TIME-LIMIT

Effective date: 20140218

REG Reference to a national code

Ref country code: CH

Ref legal event code: PL

PG25 Lapsed in a contracting state [announced via postgrant information from national office to epo]

Ref country code: LI

Free format text: LAPSE BECAUSE OF NON-PAYMENT OF DUE FEES

Effective date: 20140228

Ref country code: CH

Free format text: LAPSE BECAUSE OF NON-PAYMENT OF DUE FEES

Effective date: 20140228

REG Reference to a national code

Ref country code: IE

Ref legal event code: MM4A

PG25 Lapsed in a contracting state [announced via postgrant information from national office to epo]

Ref country code: IE

Free format text: LAPSE BECAUSE OF NON-PAYMENT OF DUE FEES

Effective date: 20140218

Ref country code: BE

Free format text: LAPSE BECAUSE OF NON-PAYMENT OF DUE FEES

Effective date: 20140228

REG Reference to a national code

Ref country code: FR

Ref legal event code: PLFP

Year of fee payment: 7

REG Reference to a national code

Ref country code: DE

Ref legal event code: R082

Ref document number: 502009006936

Country of ref document: DE

Representative=s name: HOEGER, STELLRECHT & PARTNER PATENTANWAELTE MB, DE

RIC2 Information provided on ipc code assigned after grant

Ipc: B05B 15/12 20060101AFI20151110BHEP

Ipc: B05D 1/02 20060101ALN20151110BHEP

Ipc: B05D 3/04 20060101ALN20151110BHEP

REG Reference to a national code

Ref country code: FR

Ref legal event code: PLFP

Year of fee payment: 8

PG25 Lapsed in a contracting state [announced via postgrant information from national office to epo]

Ref country code: MT

Free format text: LAPSE BECAUSE OF FAILURE TO SUBMIT A TRANSLATION OF THE DESCRIPTION OR TO PAY THE FEE WITHIN THE PRESCRIBED TIME-LIMIT

Effective date: 20130424

PUAH Patent maintained in amended form

Free format text: ORIGINAL CODE: 0009272

STAA Information on the status of an ep patent application or granted ep patent

Free format text: STATUS: PATENT MAINTAINED AS AMENDED

27A Patent maintained in amended form

Effective date: 20160727

AK Designated contracting states

Kind code of ref document: B2

Designated state(s): AT BE BG CH CY CZ DE DK EE ES FI FR GB GR HR HU IE IS IT LI LT LU LV MC MK MT NL NO PL PT RO SE SI SK TR

REG Reference to a national code

Ref country code: DE

Ref legal event code: R102

Ref document number: 502009006936

Country of ref document: DE

REG Reference to a national code

Ref country code: NL

Ref legal event code: FP

REG Reference to a national code

Ref country code: DE

Ref legal event code: R081

Ref document number: 502009006936

Country of ref document: DE

Owner name: DUERR SYSTEMS AG, DE

Free format text: FORMER OWNER: DUERR SYSTEMS GMBH, 74321 BIETIGHEIM-BISSINGEN, DE

Ref country code: DE

Ref legal event code: R082

Ref document number: 502009006936

Country of ref document: DE

Representative=s name: HOEGER, STELLRECHT & PARTNER PATENTANWAELTE MB, DE

REG Reference to a national code

Ref country code: SK

Ref legal event code: T5

Ref document number: E 14411

Country of ref document: SK

REG Reference to a national code

Ref country code: ES

Ref legal event code: DC2A

Ref document number: 2422158

Country of ref document: ES

Kind code of ref document: T5

Effective date: 20170210

REG Reference to a national code

Ref country code: FR

Ref legal event code: PLFP

Year of fee payment: 9

REG Reference to a national code

Ref country code: DE

Ref legal event code: R079

Ref document number: 502009006936

Country of ref document: DE

Free format text: PREVIOUS MAIN CLASS: B05B0015120000

Ipc: B05B0016000000

REG Reference to a national code

Ref country code: FR

Ref legal event code: PLFP

Year of fee payment: 10

PGFP Annual fee paid to national office [announced via postgrant information from national office to epo]

Ref country code: MC

Payment date: 20180214

Year of fee payment: 10

Ref country code: TR

Payment date: 20180216

Year of fee payment: 10

PG25 Lapsed in a contracting state [announced via postgrant information from national office to epo]

Ref country code: MK

Free format text: LAPSE BECAUSE OF FAILURE TO SUBMIT A TRANSLATION OF THE DESCRIPTION OR TO PAY THE FEE WITHIN THE PRESCRIBED TIME-LIMIT

Effective date: 20130424

REG Reference to a national code

Ref country code: DE

Ref legal event code: R082

Ref document number: 502009006936

Country of ref document: DE

Representative=s name: DTS PATENT- UND RECHTSANWAELTE SCHNEKENBUEHL U, DE

Ref country code: DE

Ref legal event code: R082

Ref document number: 502009006936

Country of ref document: DE

Representative=s name: HOEGER, STELLRECHT & PARTNER PATENTANWAELTE MB, DE

PG25 Lapsed in a contracting state [announced via postgrant information from national office to epo]

Ref country code: MC

Free format text: LAPSE BECAUSE OF NON-PAYMENT OF DUE FEES

Effective date: 20190228

PGFP Annual fee paid to national office [announced via postgrant information from national office to epo]

Ref country code: FI

Payment date: 20210218

Year of fee payment: 13

Ref country code: PT

Payment date: 20210204

Year of fee payment: 13

Ref country code: RO

Payment date: 20210204

Year of fee payment: 13

Ref country code: NL

Payment date: 20210217

Year of fee payment: 13

PGFP Annual fee paid to national office [announced via postgrant information from national office to epo]

Ref country code: AT

Payment date: 20210218

Year of fee payment: 13

REG Reference to a national code

Ref country code: DE

Ref legal event code: R082

Ref document number: 502009006936

Country of ref document: DE

Representative=s name: DTS PATENT- UND RECHTSANWAELTE SCHNEKENBUEHL U, DE

Ref country code: DE

Ref legal event code: R082

Ref document number: 502009006936

Country of ref document: DE

Representative=s name: DTS PATENT- UND RECHTSANWAELTE PARTMBB, DE

REG Reference to a national code

Ref country code: FI

Ref legal event code: MAE

REG Reference to a national code

Ref country code: NL

Ref legal event code: MM

Effective date: 20220301

REG Reference to a national code

Ref country code: AT

Ref legal event code: MM01

Ref document number: 608272

Country of ref document: AT

Kind code of ref document: T

Effective date: 20220218

PG25 Lapsed in a contracting state [announced via postgrant information from national office to epo]

Ref country code: RO

Free format text: LAPSE BECAUSE OF NON-PAYMENT OF DUE FEES

Effective date: 20220218

Ref country code: PT

Free format text: LAPSE BECAUSE OF NON-PAYMENT OF DUE FEES

Effective date: 20220818

Ref country code: FI

Free format text: LAPSE BECAUSE OF NON-PAYMENT OF DUE FEES

Effective date: 20220218

Ref country code: AT

Free format text: LAPSE BECAUSE OF NON-PAYMENT OF DUE FEES

Effective date: 20220218

PG25 Lapsed in a contracting state [announced via postgrant information from national office to epo]

Ref country code: NL

Free format text: LAPSE BECAUSE OF NON-PAYMENT OF DUE FEES

Effective date: 20220301

P01 Opt-out of the competence of the unified patent court (upc) registered

Effective date: 20230628

PG25 Lapsed in a contracting state [announced via postgrant information from national office to epo]

Ref country code: TR

Free format text: LAPSE BECAUSE OF NON-PAYMENT OF DUE FEES

Effective date: 20190218

PGFP Annual fee paid to national office [announced via postgrant information from national office to epo]

Ref country code: HU

Payment date: 20250220

Year of fee payment: 17

PGFP Annual fee paid to national office [announced via postgrant information from national office to epo]

Ref country code: DE

Payment date: 20250218

Year of fee payment: 17

PGFP Annual fee paid to national office [announced via postgrant information from national office to epo]

Ref country code: FR

Payment date: 20250221

Year of fee payment: 17

Ref country code: CZ

Payment date: 20250212

Year of fee payment: 17

PGFP Annual fee paid to national office [announced via postgrant information from national office to epo]

Ref country code: IT

Payment date: 20250221

Year of fee payment: 17

Ref country code: SK

Payment date: 20250211

Year of fee payment: 17

Ref country code: GB

Payment date: 20250219

Year of fee payment: 17

PGFP Annual fee paid to national office [announced via postgrant information from national office to epo]

Ref country code: PL

Payment date: 20250207

Year of fee payment: 17

PGFP Annual fee paid to national office [announced via postgrant information from national office to epo]

Ref country code: ES

Payment date: 20250331

Year of fee payment: 17