EP2161384A2 - Dichtungsband mit Stabilisierungselement - Google Patents
Dichtungsband mit Stabilisierungselement Download PDFInfo
- Publication number
- EP2161384A2 EP2161384A2 EP20090011310 EP09011310A EP2161384A2 EP 2161384 A2 EP2161384 A2 EP 2161384A2 EP 20090011310 EP20090011310 EP 20090011310 EP 09011310 A EP09011310 A EP 09011310A EP 2161384 A2 EP2161384 A2 EP 2161384A2
- Authority
- EP
- European Patent Office
- Prior art keywords
- adhesive
- sealing strip
- strip
- sealing
- strip according
- Prior art date
- Legal status (The legal status is an assumption and is not a legal conclusion. Google has not performed a legal analysis and makes no representation as to the accuracy of the status listed.)
- Withdrawn
Links
- 238000007789 sealing Methods 0.000 title claims description 58
- 230000006641 stabilisation Effects 0.000 title 1
- 239000000853 adhesive Substances 0.000 claims abstract description 46
- 230000001070 adhesive effect Effects 0.000 claims abstract description 46
- 239000011248 coating agent Substances 0.000 claims abstract description 7
- 238000000576 coating method Methods 0.000 claims abstract description 7
- 230000000087 stabilizing effect Effects 0.000 claims abstract description 5
- 239000004744 fabric Substances 0.000 claims abstract description 4
- 239000002904 solvent Substances 0.000 claims abstract description 4
- 239000012190 activator Substances 0.000 claims abstract description 3
- 239000013013 elastic material Substances 0.000 claims abstract description 3
- 239000004033 plastic Substances 0.000 claims abstract description 3
- 239000004753 textile Substances 0.000 claims abstract description 3
- 238000009281 ultraviolet germicidal irradiation Methods 0.000 claims abstract description 3
- 239000012790 adhesive layer Substances 0.000 claims description 3
- 230000001681 protective effect Effects 0.000 claims description 2
- 230000005855 radiation Effects 0.000 claims description 2
- 239000000463 material Substances 0.000 abstract description 2
- 239000002390 adhesive tape Substances 0.000 description 2
- 239000000565 sealant Substances 0.000 description 2
- 239000004677 Nylon Substances 0.000 description 1
- 229920001778 nylon Polymers 0.000 description 1
Images
Classifications
-
- E—FIXED CONSTRUCTIONS
- E04—BUILDING
- E04B—GENERAL BUILDING CONSTRUCTIONS; WALLS, e.g. PARTITIONS; ROOFS; FLOORS; CEILINGS; INSULATION OR OTHER PROTECTION OF BUILDINGS
- E04B1/00—Constructions in general; Structures which are not restricted either to walls, e.g. partitions, or floors or ceilings or roofs
- E04B1/62—Insulation or other protection; Elements or use of specified material therefor
- E04B1/66—Sealings
- E04B1/68—Sealings of joints, e.g. expansion joints
- E04B1/6812—Compressable seals of solid form
-
- A—HUMAN NECESSITIES
- A47—FURNITURE; DOMESTIC ARTICLES OR APPLIANCES; COFFEE MILLS; SPICE MILLS; SUCTION CLEANERS IN GENERAL
- A47K—SANITARY EQUIPMENT NOT OTHERWISE PROVIDED FOR; TOILET ACCESSORIES
- A47K3/00—Baths; Douches; Appurtenances therefor
- A47K3/008—Sealing between wall and bathtub or shower tray
Definitions
- the invention relates to a sealing strip with a stabilizing element according to the preamble of claim 1.
- sealing tape jointing known in which the sealing strip is pressed into a sticky sealant, which was previously introduced into the joint to be sealed.
- the sealing strip itself runs an anti-rotation element, which serves to ensure that when attaching the existing of a highly elastic material sealing strip this is not stretched in the longitudinal direction. Such stretching would result in the risk that the sealing strip would automatically detach itself from the joint due to the tensile forces that then occur.
- the invention has for its object to provide a sealing tape which is safe to use without the use of an additional sealant for sealing a joint.
- the sealing strip according to the invention has a stabilizing element, which is effective in the longitudinal direction.
- This may be a tape applied on the back, which cures quickly and / or represents an anti-sag element.
- a fast-curing adhesive that cures after peeling off a protective film, for example after about 30 seconds the advantage that even with a slight elongation occurring an automatic detachment of the sealing tape from the joint is no longer possible, since the adhesive is cured almost immediately after the attachment of the sealing strip.
- the adhesive strip is made of a textile tape made of fabric or plastic with adhesive coating, the adhesive strip acts like a stretch-proof element, which reliably prevents longitudinal expansion of the sealing strip when attached to a joint.
- the adhesive coating can also be such that it can be rapidly cured by UV irradiation or heat radiation.
- the adhesive strip may also consist of an adhesive which is activatable in conjunction with an activator or in conjunction with a solvent.
- the adhesive layer or the adhesive material may be integrated in the sealing strip, so that, for example, a solvent which is applied in the region of the joint or on the back of the sealing strip, activates the adhesive function.
- the adhesive strip or the adhesive tape does not completely cover the rear side of the sealing strip so that at least one rear narrow edge strip remains free on both longitudinal edges of the sealing strip. This ensures that these remaining free edges rest directly in the joint area on the wall parts to be sealed and give an optimal seal. If the adhesive strip were to extend completely to the longitudinal edges, then the adhesive strip itself would have a certain sealing function take. In particular, if the adhesive strip has a certain thickness, a small gap between the longitudinal edges of the sealing strip and the adjacent walls would thereby arise, which would be undesirable in any case.
- An optimal sealing function is achieved for the sealing strip in combination with adhesive tape on the back, in that the longitudinal edges form slightly curved sealing lips and thus elastically press against the wall parts and ensure optimum sealing function.
- the one or more adhesive strips may be in corresponding grooves on the sealing strip einre. This can be achieved that even slightly thicker adhesive strips can be arranged substantially flush with the back of the sealing strip, or survive only slightly on the back of the sealing strip. It should also be noted that when using only one adhesive strip this can then extend to the back of the sealing strip from the left edge area to the right band area and thus summarizes covers the entire back.
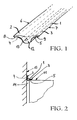
- FIG. 1 a partial perspective view of a sealing tape shown enlarged with 2 back adhesive strips and
- FIG. 2 a sectional view in the region of a joint to be sealed, in which a sealing strip according to the invention is used.
- sealing strip 1 has two slightly curved longitudinally extending sealing lips 2, 3, which form the two longitudinal edges of the sealing strip 1. At the back of the two sealing lips 2, 3 each have an adhesive strip 4, 5, which extend over the entire length of the sealing strip 1.
- the adhesive strips 4, 5 may be formed as a thin adhesive layer or as tissue-reinforced adhesive strips. Both adhesive strips 4, 5 are mounted so that at the rear of the sealing strip 1 at both longitudinal edges 6, 7 each have a narrow edge strips 8, 9 remains free.
- the illustrated adhesive strips 4, 5 are drawn for better representation because of relatively thick. However, the adhesive strips 4, 5 can be made substantially thinner to ensure that the longitudinal edges 6, 7 on the walls 10, 11 (FIG. FIG. 2 ) safely come to the plant.
- an additional anti-rotation element 13 may be arranged in the main body 12 of the sealing strip 1.
- This may be a tensile nylon thread or the like.
- the anti-rotation element 13 can be dispensed with. This is also the case when the adhesive strips 4, 5 are fast curing and immediately after the attachment of the sealing strip enter into a firm, permanent connection with the adjacent walls 10, 11.
- FIG. 2 it can be seen how even a relatively wide joint 14 can be sealed by means of the sealing strip 1.
- the illustrated cross-section shows that the curved sealing lips 2, 3 are held firmly by means of the adhesive strips 4, 5 on the walls 10, 11 and the joint 14 thus seal.
Landscapes
- Engineering & Computer Science (AREA)
- Architecture (AREA)
- Health & Medical Sciences (AREA)
- Public Health (AREA)
- Physics & Mathematics (AREA)
- Electromagnetism (AREA)
- Civil Engineering (AREA)
- Structural Engineering (AREA)
- Epidemiology (AREA)
- General Health & Medical Sciences (AREA)
- Adhesive Tapes (AREA)
Abstract
Der Gegenstand der Erfindung betrifft ein Dichtungsband mit seitlichen Dichtungslippen (2, 3) zur Verwendung als Fugendichtung, insbesondere für den Sanitärbereich und für Feuchträume, das aus einem hochelastischen Material besteht und wenigstens ein in Längsrichtung wirksames Stabilisierungselement hat, wobei das Stabilisierungselement als wenigstens ein auf der Rückseite des Dichtungsbandes (1) befindlicher Klebestreifen (4, 5) ausgebildet ist.
Description
- Die Erfindung betrifft ein Dichtungsband mit einem Stabilisierungselement gemäß Oberbegriff des Anspruchs 1.
- Aus der
EP 1516971B1 ist eine als Dichtungsband ausgeführte Fugendichtung bekannt, bei der das Dichtungsband in eine klebrige Dichtungsmasse, die zuvor in die abzudichtende Fuge eingebracht wurde, eingedrückt wird. Im Dichtungsband selbst verläuft ein Strecksicherungselement, welches dazu dient, dass beim Anbringen des aus einem hochelastischen Material bestehenden Dichtungsbandes dieses nicht in Längsrichtung gedehnt wird. Ein solches Dehnen hätte zur Folge, dass aufgrund der dann auftretenden Zugkräfte die Gefahr bestünde, dass das Dichtungsband sich selbständig wieder aus der Fuge ablösen könnte. - Der Erfindung liegt die Aufgabe zugrunde, ein Dichtungsband zu schaffen, welches ohne Verwendung einer zusätzlichen Dichtungsmasse sicher zur Abdichtung einer Fuge einsetzbar ist.
- Die Lösung dieser Aufgabe erhält man durch die im Anspruch 1 angegebenen Merkmale. Das erfindungsgemäße Dichtungsband besitzt ein Stabilisierungselement, welches in Längsrichtung wirksam ist. Dabei kann es sich um einen rückseitig aufgebrachten Klebestreifen handeln, der schnell aushärtet und/oder ein Strecksicherungselement darstellt. Ein schnell aushärtender Kleber, der nach dem Abziehen einer Schutzfolie beispielsweise nach etwa 30 Sekunden aushärtet, hat den Vorteil, dass selbst bei einer geringfügig aufgetretenen Längsdehnung ein selbsttätiges Ablösen des Dichtbandes aus der Fuge nicht mehr möglich ist, da ja der Kleber praktisch unmittelbar nach dem Anbringen des Dichtbandes ausgehärtet ist.
- Ist der Klebestreifen dagegen aus einem Textilband aus Stoff oder Kunststoff mit Klebebeschichtung hergestellt, so wirkt der Klebestreifen wie ein Strecksicherungselement, welches eine Längsdehnung des Dichtungsbandes beim Anbringen an einer Fuge sicher verhindert.
- Die Klebebeschichtung kann in jedem Fall auch so beschaffen sein, dass diese durch UV-Bestrahlung oder Wärmebestrahlung schnell aushärtbar ist. Der Klebestreifen kann außerdem aus einem Klebemittel bestehen, welches in Verbindung mit einem Aktivator beziehungsweise in Verbindung mit einem Lösungsmittel aktivierbar ist. Dabei kann die Klebeschicht beziehungsweise das klebende Material im Dichtungsband integriert sein, sodass beispielsweise ein Lösungsmittel, welches im Bereich der Fuge oder auf die Rückseite des Dichtungsbandes aufgetragen wird, die Klebefunktion aktiviert.
- Besonders vorteilhaft ist es, wenn der oder die Klebestreifen die Rückseite des Dichtungsbandes nicht vollständig überdecken, sodass wenigstens ein rückseitiger schmaler Randstreifen an beiden Längsrändern des Dichtungsbandes frei bleibt. Damit wird erreicht, dass diese freibleibenden Längsränder unmittelbar im Fugenbereich an den abzudichtenden Wandungsteilen anliegen und eine optimale Abdichtung ergeben. Würde der Klebestreifen vollständig bis zu den Längsrändern hinreichen, so müsste der Klebestreifen selbst eine gewisse Abdichtungsfunktion übernehmen. Insbesondere wenn der Klebestreifen eine gewisse Dicke aufweist, würde dabei ein kleiner Spalt zwischen den Längsrändern des Dichtungsbandes und den angrenzenden Wandungen entstehen können, der in jedem Fall unerwünscht wäre.
- Eine optimale Abdichtungsfunktion wird für das Dichtungsband in Kombination mit rückseitigem Klebestreifen dadurch erreicht, dass die Längsränder leicht gebogene Dichtungslippen bilden und somit elastisch gegen die Wandungsteile drücken und eine optimale Abdichtungsfunktion gewährleisten.
- Der oder die rückseitigen Klebestreifen können in entsprechenden Nuten am Dichtungsband einliegen. Damit kann erreicht werden, dass auch etwas dickere Klebestreifen im Wesentlichen bündig mit der Rückseite des Dichtungsbandes angeordnet sein können, oder nur geringfügig an der Rückseite des Dichtungsbandes überstehen. Es wird noch angemerkt, dass bei Verwendung nur eines Klebestreifens dieser sich dann an der Rückseite des Dichtungsbandes vom linken Randbereich bis zum rechten Bandbereich erstrecken kann und somit fasst die gesamte Rückseite überdeckt.
- Die Erfindung wird anhand eines in der Zeichnung dargestellten Ausführungsbeispiels näher erläutert.
-
Figur 1 eine perspektivische Teilansicht eines vergrößert dargestellten Dichtungsbandes mit 2 rückseitigen Klebestreifen und -
Figur 2 eine Schnittansicht im Bereich einer abzudichtenden Fuge, in die ein erfindungsgemäßes Dichtungsband eingesetzt ist. - Das in
Figur 1 dargestellte Dichtungsband 1 hat zwei in Längsrichtung leicht gewölbt verlaufende Dichtungslippen 2, 3, welche die beiden Längsränder des Dichtungsbandes 1 bilden. An der Rückseite der beiden Dichtungslippen 2, 3 verläuft jeweils ein Klebestreifen 4, 5, die sich über die gesamte Länge des Dichtungsbandes 1 erstrecken. Die Klebestreifen 4, 5 können als dünne Klebeschicht oder als mittels Gewebe verstärkte Klebestreifen ausgebildet sein. Beide Klebestreifen 4, 5 sind so angebracht, dass an der Rückseite des Dichtungsbandes 1 an beiden Längsrändern 6, 7 jeweils ein schmaler Randstreifen 8, 9 frei bleibt. - Die dargestellten Klebestreifen 4, 5 sind der besseren Darstellung wegen verhältnismäßig dick eingezeichnet. Die Klebestreifen 4, 5 können jedoch wesentlich dünner ausgeführt sein, um sicherzustellen, dass die Längsränder 6, 7 an den Wandungen 10, 11 (
Figur 2 ) sicher zur Anlage kommen. - In
Figur 2 ist außerdem ersichtlich, dass im Grundkörper 12 des Dichtungsbandes 1 ein zusätzliches Strecksicherungselement 13 angeordnet sein kann. Dabei kann es sich um einen zugfesten Perlonfaden oder dergleichen handeln. Besitzen jedoch die Klebestreifen 4, 5 eine ausreichende Strecksicherungsfunktion, so kann das Strecksicherungselement 13 entfallen. Dies ist auch der Fall, wenn die Klebestreifen 4, 5 schnell aushärtend sind und unmittelbar nach dem Anbringen des Dichtungsbandes eine feste, unlösbare Verbindung mit den angrenzenden Wandungen 10, 11 eingehen. - In
Figur 2 ist ersichtlich, wie mittels des Dichtungsbandes 1 sogar eine verhältnismäßig breite Fuge 14 abgedichtet werden kann. Der dargestellte Querschnitt zeigt, dass die gewölbten Dichtungslippen 2, 3 mittels der Klebestreifen 4, 5 fest an den Wandungen 10, 11 gehalten werden und die Fuge 14 damit abdichten.
Claims (10)
- Dichtungsband mit seitlichen Dichtungslippen (2, 3) zur Verwendung als Fugendichtung, insbesondere für den Sanitärbereich und für Feuchträume, das aus einem hochelastischen Material besteht und wenigstens ein in Längsrichtung wirksames Stabilisierungselement hat, dadurch gekennzeichnet, dass das Stabilisierungselement als wenigstens ein auf der Rückseite des Dichtungsbandes (1) befindlicher Klebestreifen (4, 5) ausgebildet ist.
- Dichtungsband nach Anspruch 1, dadurch gekennzeichnet, dass der Klebestreifen (4, 5) eine schnell aushärtbare Klebebeschichtung ist.
- Dichtungsband nach Anspruch 2, dadurch gekennzeichnet, dass die Klebebeschichtung mittels UV-Bestrahlung oder Wärmebestrahlung schnell aushärtbar ist.
- Dichtungsband nach einem der vorhergehenden Ansprüche, dadurch gekennzeichnet, dass der Klebestreifen (4, 5) aus einem Textilband aus Stoff oder Kunststoffgewebe mit Klebebeschichtung besteht.
- Dichtungsband nach einem der vorhergehenden Ansprüche, dadurch gekennzeichnet, dass der Klebestreifen (4, 5) aus einem im Dichtungsband (4, 5) integrierten oder aufgebrachten Klebemittel besteht, wobei das Klebemittel unmittelbar vor dem Anbringen des Dichtungsbandes (1) an einer Fuge (14) durch Auftragen eines Lösungsmittels oder eines Aktivators auf den Fugenbereich oder auf das Dichtungsband (1) aktiviert wird.
- Dichtungsband nach einem der Ansprüche (4, 5), dadurch gekennzeichnet, dass der Klebestreifen (4, 5) aus einem schnell aushärtendem Kleber besteht, sodass nach dem Abziehen einer Schutzfolie von der Klebeschicht diese schnell aushärtet.
- Dichtungsband nach einem der vorhergehenden Ansprüche, dadurch gekennzeichnet, dass der oder die Klebestreifen (4, 5) die Rückseite des Dichtungsbandes (1) nicht vollständig überdecken, sodass wenigstens ein rückseitiger schmaler Randstreifen (8, 9) an beiden Längsrändern (6, 7) frei bleibt.
- Dichtungsband nach einem der vorhergehenden Ansprüche, dadurch gekennzeichnet, dass die Dichtungslippen (2, 3) gewölbt ausgebildet sind und den oder die rückseitig angebrachten Klebestreifen (4, 5) übergreifen.
- Dichtungsband nach einem der vorhergehenden Ansprüche, dadurch gekennzeichnet, dass der Klebestreifen (4, 5) im Dichtungsband (1) integriert ist und/oder dünn ausgeführt ist.
- Dichtungsband nach einem der vorhergehenden Ansprüche, dadurch gekennzeichnet, dass der Klebestreifen (4,5) in einer an der Rückseite des Dichtungsbandes (1) vorgesehenen Nut wenigstens teilweise einliegt.
Applications Claiming Priority (1)
| Application Number | Priority Date | Filing Date | Title |
|---|---|---|---|
| DE200820011758 DE202008011758U1 (de) | 2008-09-03 | 2008-09-03 | Dichtungsband mit Stabilisierungselement |
Publications (1)
| Publication Number | Publication Date |
|---|---|
| EP2161384A2 true EP2161384A2 (de) | 2010-03-10 |
Family
ID=40031213
Family Applications (1)
| Application Number | Title | Priority Date | Filing Date |
|---|---|---|---|
| EP20090011310 Withdrawn EP2161384A2 (de) | 2008-09-03 | 2009-09-03 | Dichtungsband mit Stabilisierungselement |
Country Status (2)
| Country | Link |
|---|---|
| EP (1) | EP2161384A2 (de) |
| DE (1) | DE202008011758U1 (de) |
Cited By (3)
| Publication number | Priority date | Publication date | Assignee | Title |
|---|---|---|---|---|
| GB2509332A (en) * | 2012-12-31 | 2014-07-02 | Simon Jenkins | Adhesive sealing strip |
| US10550584B2 (en) * | 2009-07-27 | 2020-02-04 | Gregory A. Amundson | Flexible corner trim product |
| CN119572526A (zh) * | 2023-09-05 | 2025-03-07 | 中国航发商用航空发动机有限责任公司 | 一种弹性封严条、流道板组件及其制造方法 |
Families Citing this family (3)
| Publication number | Priority date | Publication date | Assignee | Title |
|---|---|---|---|---|
| GB0615714D0 (en) * | 2006-08-08 | 2006-09-20 | Classic Marble Showers Ltd | A sealing strip |
| DE102017110057A1 (de) * | 2017-05-10 | 2018-11-15 | Hydrophon Kunststofftechnik Gmbh | Fugenschnur |
| DE102021208456A1 (de) * | 2021-08-04 | 2023-03-09 | Silu Verwaltung Ag | Dichtstreifen |
Citations (1)
| Publication number | Priority date | Publication date | Assignee | Title |
|---|---|---|---|---|
| EP1516971B1 (de) | 2003-09-20 | 2007-12-19 | M + S Silicon GmbH & Co. KG | Fugendichtung |
-
2008
- 2008-09-03 DE DE200820011758 patent/DE202008011758U1/de not_active Expired - Lifetime
-
2009
- 2009-09-03 EP EP20090011310 patent/EP2161384A2/de not_active Withdrawn
Patent Citations (1)
| Publication number | Priority date | Publication date | Assignee | Title |
|---|---|---|---|---|
| EP1516971B1 (de) | 2003-09-20 | 2007-12-19 | M + S Silicon GmbH & Co. KG | Fugendichtung |
Cited By (4)
| Publication number | Priority date | Publication date | Assignee | Title |
|---|---|---|---|---|
| US10550584B2 (en) * | 2009-07-27 | 2020-02-04 | Gregory A. Amundson | Flexible corner trim product |
| US11401720B2 (en) | 2009-07-27 | 2022-08-02 | Amundson Technology, Llc | Flexible corner trim product |
| GB2509332A (en) * | 2012-12-31 | 2014-07-02 | Simon Jenkins | Adhesive sealing strip |
| CN119572526A (zh) * | 2023-09-05 | 2025-03-07 | 中国航发商用航空发动机有限责任公司 | 一种弹性封严条、流道板组件及其制造方法 |
Also Published As
| Publication number | Publication date |
|---|---|
| DE202008011758U1 (de) | 2008-11-20 |
Similar Documents
| Publication | Publication Date | Title |
|---|---|---|
| EP2222930B1 (de) | Verfahren zur befestigung einer platte oder glasscheibe in einem rahmenelement sowie dichtungselement zur verwendung in einem solchen verfahren | |
| EP2161384A2 (de) | Dichtungsband mit Stabilisierungselement | |
| EP3063030A1 (de) | Abdichtungsanordnung für eine fahrzeugscheibe | |
| AT17402U1 (de) | Anschlussprofilleiste | |
| EP3748100A1 (de) | System zum verbinden einer warenbahn mit einer wickelwelle | |
| DE202007001697U1 (de) | Anschlussprofil, insbesondere Putzanschlussprofil | |
| EP3399130A1 (de) | Anschlussprofil für an putz angrenzende bauteile | |
| DE4214489C2 (de) | Dichtungsprofilkörper für einen Kfz-Flansch | |
| EP3808918B1 (de) | Gebäude-übergang umfassend eine anputzleiste | |
| DE60311697T2 (de) | Flexible Fensterdichtungsleiste | |
| EP2101027A2 (de) | Dichtungsband und Verwendung eines Dichtungsbandes | |
| EP2754836B1 (de) | Haustürflügel mit klipsverbindung | |
| DE2444983C3 (de) | Dichtungsleiste für den Spalt zwischen einem verschiebbaren Fensterflügel und einer Gegenfläche | |
| EP2014859A2 (de) | Anschlussprofilleiste, insbesondere Laibungsanschlussprofilleiste | |
| EP1916355A1 (de) | Gittergewebestreifen mit einer daran befestigten Profilleiste | |
| DE29817483U1 (de) | Duplexprofil und Kraftfahrzeugtürrahmendichtung | |
| DE29620179U1 (de) | Stoßprofil für Fenstereinbindungen | |
| DE202016106315U1 (de) | Schneidekasten für ein Rollfolienmaterial | |
| EP3822446B1 (de) | Profilelement | |
| AT527680B1 (de) | Anputzdichtleiste | |
| DE102010035166A1 (de) | Anschlussprofilleiste, insbesondere Laibungsanschlussprofilleiste | |
| EP2194203B1 (de) | Bauplatte, insbesondere Fassadenplatte als Wärme/Schalldämmung für Außenfassaden, sowie Verfahren zum Verlegen solcher Bauplatten | |
| DE202009011394U1 (de) | Fugendichtband | |
| EP4036347A1 (de) | Putzprofil mit einer überputzbaren folie auf einem seiner putzschenkel | |
| DE202021105918U1 (de) | Winkelablauf für Flachdächer mit einer über die Dachfläche ragenden Umfassung |
Legal Events
| Date | Code | Title | Description |
|---|---|---|---|
| PUAI | Public reference made under article 153(3) epc to a published international application that has entered the european phase |
Free format text: ORIGINAL CODE: 0009012 |
|
| AK | Designated contracting states |
Kind code of ref document: A2 Designated state(s): AT BE BG CH CY CZ DE DK EE ES FI FR GB GR HR HU IE IS IT LI LT LU LV MC MK MT NL NO PL PT RO SE SI SK SM TR |
|
| AX | Request for extension of the european patent |
Extension state: AL BA RS |
|
| STAA | Information on the status of an ep patent application or granted ep patent |
Free format text: STATUS: THE APPLICATION IS DEEMED TO BE WITHDRAWN |
|
| 18D | Application deemed to be withdrawn |
Effective date: 20120403 |