EP1950375B1 - Ausbau im Hoch- und Tiefbau - Google Patents
Ausbau im Hoch- und Tiefbau Download PDFInfo
- Publication number
- EP1950375B1 EP1950375B1 EP08002696A EP08002696A EP1950375B1 EP 1950375 B1 EP1950375 B1 EP 1950375B1 EP 08002696 A EP08002696 A EP 08002696A EP 08002696 A EP08002696 A EP 08002696A EP 1950375 B1 EP1950375 B1 EP 1950375B1
- Authority
- EP
- European Patent Office
- Prior art keywords
- fastener
- lining according
- anchor
- film
- external
- Prior art date
- Legal status (The legal status is an assumption and is not a legal conclusion. Google has not performed a legal analysis and makes no representation as to the accuracy of the status listed.)
- Active
Links
Images
Classifications
-
- E—FIXED CONSTRUCTIONS
- E21—EARTH OR ROCK DRILLING; MINING
- E21D—SHAFTS; TUNNELS; GALLERIES; LARGE UNDERGROUND CHAMBERS
- E21D11/00—Lining tunnels, galleries or other underground cavities, e.g. large underground chambers; Linings therefor; Making such linings in situ, e.g. by assembling
- E21D11/04—Lining with building materials
- E21D11/10—Lining with building materials with concrete cast in situ; Shuttering also lost shutterings, e.g. made of blocks, of metal plates or other equipment adapted therefor
- E21D11/105—Transport or application of concrete specially adapted for the lining of tunnels or galleries ; Backfilling the space between main building element and the surrounding rock, e.g. with concrete
-
- E—FIXED CONSTRUCTIONS
- E21—EARTH OR ROCK DRILLING; MINING
- E21D—SHAFTS; TUNNELS; GALLERIES; LARGE UNDERGROUND CHAMBERS
- E21D21/00—Anchoring-bolts for roof, floor in galleries or longwall working, or shaft-lining protection
-
- E—FIXED CONSTRUCTIONS
- E21—EARTH OR ROCK DRILLING; MINING
- E21D—SHAFTS; TUNNELS; GALLERIES; LARGE UNDERGROUND CHAMBERS
- E21D11/00—Lining tunnels, galleries or other underground cavities, e.g. large underground chambers; Linings therefor; Making such linings in situ, e.g. by assembling
- E21D11/04—Lining with building materials
- E21D11/10—Lining with building materials with concrete cast in situ; Shuttering also lost shutterings, e.g. made of blocks, of metal plates or other equipment adapted therefor
-
- E—FIXED CONSTRUCTIONS
- E21—EARTH OR ROCK DRILLING; MINING
- E21D—SHAFTS; TUNNELS; GALLERIES; LARGE UNDERGROUND CHAMBERS
- E21D11/00—Lining tunnels, galleries or other underground cavities, e.g. large underground chambers; Linings therefor; Making such linings in situ, e.g. by assembling
- E21D11/38—Waterproofing; Heat insulating; Soundproofing; Electric insulating
-
- E—FIXED CONSTRUCTIONS
- E21—EARTH OR ROCK DRILLING; MINING
- E21D—SHAFTS; TUNNELS; GALLERIES; LARGE UNDERGROUND CHAMBERS
- E21D11/00—Lining tunnels, galleries or other underground cavities, e.g. large underground chambers; Linings therefor; Making such linings in situ, e.g. by assembling
- E21D11/38—Waterproofing; Heat insulating; Soundproofing; Electric insulating
- E21D11/383—Waterproofing; Heat insulating; Soundproofing; Electric insulating by applying waterproof flexible sheets; Means for fixing the sheets to the tunnel or cavity wall
Definitions
- the invention relates to an expansion in civil engineering, in particular an expansion of underground spaces such as tunnels and tunnels or pipelines in stable mountains.
- Another problem is leaking mountain water. In winter, the water freezes. There is a danger of falling ice masses. This danger is usually met with a film seal. Depending on the thickness of the film is also spoken by webs. In part, there is also the name membrane.
- the foil seal dissipates the water. At the same time a freezing of the water is prevented with a thermal insulation.
- the film seal is composed of film webs.
- the film webs are laid overlapping at the mountain outbreak, so that the film edges can then be welded together.
- the known roundels are for example in the DE-3244000C1 . DE4100902A1 . DE19519595A1 . DE8632994.4U1 . DE8701969.8U1 . DE20217044U1 shown and described.
- the known roundels have been welded to the foil and resulted in a perfect seal. This also applies to the in JP 10-306695 shown and described Rondellenbefest Trent.
- Rondelles with a predetermined breaking point were considered particularly favorable.
- the rondels should break at a load on the film at the predetermined breaking point.
- the strength of the predetermined breaking point is significantly lower than the film strength. This will cause the rondelle to break first if excessive tension is applied to the foil. This means, the film seal will remain intact upon excessive tension in the film while the disk ruptures.
- plastic rondels are only suitable for fixing the films, if small forces occur during the attachment of the films and a subsequent shotcrete application.
- the known roundels have a diameter of about 150 mm and a thickness of 3 to 4 millimeters. Such rondels have great strength.
- the known anchors have diameters of 12 or 14 or 16 or 20mm. They are preferably made of stainless steel and are profiled on the mountain side to develop a high tensile strength in the mountains. For the anchor corresponding holes are introduced into the mountains. Subsequently, the anchors are fixed with a mounting cement or other suitable mounting means in the holes. Such anchors, unlike the known nail construction, can absorb really large forces. The loads are directed to the mountains. With the anchors, it is therefore possible to build a Tunnelausbau, the the loads of passing trains and passing vehicles withstand.
- the steel rondelles are held between two screws. The screws allow adjustment of the rondels on the anchor.
- the anchors are usually so long that they protrude beyond the steel rondels out into the tunnel. This serves to attach a wire grid as a retention during injection of the concrete and to stiffen the tunnel lining by connecting to the mountains.
- the wire mesh also serves to reinforce the shotcrete layer.
- a spacer for the wire mesh can be mounted on the anchor.
- Known spacers are star-shaped provided with rods to support the wire mesh as large as possible.
- the water then also passes through the opening formed in the film. There are leaks. Even a dropwise leakage leads to significant amounts of water in a corresponding time.
- the water can escape at the inside of the tunnel.
- the invading water freezes. It forms icicles, which fall at the latest in thawing thawing and form a bad risk of accidents.
- the ice can cause significant destruction of the tunnel.
- the JP2000220395 has set itself the task of causing a seal of the film in the anchor penetration area.
- a fastener has been proposed in this document, which is screwed onto the protruding through the foil anchor end and has a collar. On the collar, an adhesive is provided, which is intended to effect a connection of the collar with the film. But this can only work if the mountain eruption behind the film is sufficiently flat and parallel. Even in the presentation of this document is missing the planning.
- there is the rough construction site operation in which it seems impossible to bring in the anchor holes and to set the anchor so that a necessary parallelism arises.
- the collar should be pressed with a screw against the film to cause a strong bond.
- a screw against the film In the case of an uneven bearing surface or non-parallel bearing surface of the foil, a one-sided and punctiform adhesion will occur. Any further screw rotation can lead to destruction of the film.
- this solution must fail if no contact against the mountain eruption is possible because the anchor end has a large distance from the mountain outbreak. This is the case regularly, usually even wanted.
- the JP03030098 includes the same technique as the JP2000220395 and has the same difficulties.
- This solution is based on a tension against the mountain eruption or against a concrete layer on the mountain outbreak in the tunnel and excretes when the anchor end is too far away from the mountain eruption or concrete.
- This solution is also based on a plane and plane-parallel concrete surface, which is the exception in the tunnel and not the rule.
- JP07042497 shows a seal for a tunnel construction in non-stable mountains, in which a load-bearing concrete layer is applied as shotcrete layer on the mountain development.
- JP07042497 should be introduced into the concrete layer an anchor bolt in the manner of a dowel to attach to the dowel a plastic disc on which the film provided on the inside is welded or glued.
- the film is perforated at the point to then pass through the resulting opening a screw with which another disc is pressed inside against the film.
- the water-carrying thread of the anchor ends before the film seal.
- differently shaped fasteners can be used as roundels. Therefore, in the following is spoken of fasteners in general and of rondels in particular.
- the fasteners no penetration of the outside fastener is optionally provided in the fasteners according to the invention. This should not preclude penetration of the anchor into the fastener.
- the decisive factor is that every opening, including every capillary opening, is closed. This is certainly the case when the fastener is without a passage opening.
- the connection of the outside fastener with the anchor is possible without a passage opening.
- this is done with a nozzle.
- the nozzle or a nozzle-like thickening is optionally formed on the outside fastener.
- the nozzle is welded to the outside of the fastener or secured in any other way.
- the neck preferably has a threaded hole formed as a blind hole.
- the one-piece fastener with the neck can be cast as a molding, for example.
- the fastener is multi-part.
- the neck may have an internally threaded blind hole and be welded in the desired length to the fastener.
- the threaded hole has a thread adapted to the anchor thread.
- the welding can be done on the inside of the fastener.
- the nozzle in the multi-part design protrudes through a corresponding opening of the fastener, so that a circumferential weld can be placed on the inside at the protruding end of the socket.
- the nozzle is welded on the outside of the fastener in multi-part design of the device.
- the possibility is used to give the nozzle different screw positions on the anchor end. This possibility is greater, the longer the nozzle is.
- the same mandrel can be used as in the above examples, when the plug has a correspondingly greater length. This can be achieved by providing different plug lengths.
- threaded pieces that help to find the correct nozzle position.
- different mandrels with which an adaptation to the different ergna the nozzle can be achieved.
- the different mandrels have differently long threaded pieces, with which they can be screwed into the socket.
- threaded rods or mandrels may also be provided on the inside of the fastener whose length compensates for greater distances between the anchor end and the center of the tunnel.
- the outside end of the nozzle can be closed with an adapter.
- the task of the adapter is an adaptation to the invention.
- the adapter should close the threaded hole of the nozzle and in turn form a threaded hole with which the fastener can be screwed onto the end of the anchor.
- the adapter side has a threaded stem and a thickening.
- With the threaded pin of the adapter can be screwed into the threaded hole of the nozzle.
- With the thickening of the adapter can sit on the neck and close the threaded hole tight. In the thickening is formed as a blind hole threaded hole whose thread is adapted to the anchor thread.
- the threaded hole in the neck of the conventional fastener may optionally be long enough or too short to additionally exempt from the inside a mandrel for attaching the wire mesh and for connecting the shotcrete with the surrounding rock. If the threaded hole is too short, the adapter may have an elongated pin projecting on the inside or protruding into the tunnel and forming a spike there.
- the neck or adapter has either wholly or partly a cylindrical or all or part of an edged shape, e.g. the shape of a hexagon.
- Such nozzles can be cut to length by a rod with a circular cross section or by a rod with a hexagonal cross section. The same applies to blanks for the production of an adapter.
- the fastener can first be tightened by hand, as far as possible.
- a tool is beneficial.
- the collet is not required that the nozzle or adapter is particularly prepared for the bracing. With the collet so much friction can be by appropriate tension generate enough torque to be transmitted to the fastener or adapter to cause sufficient tightening of the fastener on the anchor.
- an open-end wrench can be used for clamping. Open-end wrenches are easier and faster to set up and remove than a collet.
- a cylindrical neck is provided on the fastener and the cylindrical neck is provided with two key surfaces for a wrench (spanner).
- the wrench surfaces can be milled or sanded or pressed.
- the pressing can have economic advantages over the use of hexagonal profile.
- the fastener With the nozzle or adapter, the fastener is screwed onto the anchor.
- the neck can be short or longer. The longer the nozzle or the adapter, the larger the adjustment range or setting range of the fastener.
- the fastener In the desired mounting position, the fastener can be secured by a lock nut on the threaded rod.
- the setting of the fastener is important when the eruption has been created with considerable tolerances and if the rock holes for the anchors allow no adjustment of the anchor in the hole or when the anchors have been mounted in the rock holes irrespective of the position of the ends corresponding with the fasteners.
- the anchor ends protruding from the mountains are thereby more or less removed from the ideal escape line for a tunnel.
- the fastener can be adapted to the ideal breakout line.
- the same anchors and extension rods are provided between the anchors and the fasteners.
- the extension rods are in particular threaded rods.
- the connection of the extension rods to the anchors is then done by threaded sleeves.
- the threaded sleeves are separate parts or connected to the threaded rod.
- the use of separate threaded rods reduces the cost of materials.
- the extension rods can namely be cut to length from long threaded rods to the appropriate level. Cutting to length is easy. It is done either by sawing or by cutting.
- Particularly advantageous cut-off grinders are angle grinders which are equipped with a suitable grinding wheel. The best-known angle grinders are the so-called flex devices. Therefore, this work is called flexing.
- threaded rods which have already been prepared in the factory with a threaded sleeve, facilitates work on the construction site.
- the factory preparation shifts some of the work into the factory. There, welding processes are much easier to represent than at the construction site. This applies to the quality as well as the processing time.
- a separate threaded sleeve can also be provided with different threads, namely with a left-hand thread at one end and a right-hand thread at the other end.
- the corresponding ends of the threaded rod and the anchor are then adapted.
- the advantage of such threaded sleeves is that they simultaneously by screwing in the same direction the screw with both corresponding ends can effect or cause by simultaneous rotation in the opposite direction of the two corresponding ends.
- the overlap dimension is material-dependent and load-dependent.
- the minimum size can be determined with a few breakaways. Moreover, the determination of the minimum size and the approximation to the minimum is not mandatory. On the contrary, for security reasons and economic reasons, it is advisable to select a measure without any attempts at which recognizable security is given.
- This dimension can be derived from nuts of the same screw thread. Preferably, when deriving the dimensions, a safety factor of at least 1.5 is used.
- the minimum dimension must be determined depending on the material and the load.
- the loading of the sleeve is essential, whether and which tools are used for the screw connection to the sleeve. Again, a few measures could be used to determine a minimum measure.
- the dimension of a screw nut of the same thread is used as a measure of the sleeve.
- a safety factor of at least 1.5 is used.
- an inner-side fastener is clamped in a further embodiment of the invention.
- the outside fastener has on the inside an at least partially threaded mandrel.
- the mandrel may be molded and form a one-piece workpiece with the outside fastener.
- the mandrel can also be welded or screwed to the fastener.
- the mandrel may also be formed on the neck described above and form a one-piece workpiece with the neck.
- the mandrel can also be welded or screwed to the neck.
- the nozzle can be screwed with appropriate dimensions with the outside fastener so that the nozzle rests with a surface sealingly against a corresponding surface.
- the multi-part is advantageous if the same raw material can be used for the nozzle and the sleeve.
- the pole is delivered prepared to the site.
- the bar is mounted on the construction site.
- the inside fastener is provided for mounting with a corresponding opening so that it can slide on the mandrel and clamped there with a suitable screw.
- the foil is pushed onto the mandrel.
- the mandrel penetrates the film.
- the film is clamped alone or together with a seal between the two fasteners.
- the two fasteners may be circular in shape as conventional rondelles or fasteners. It can even be used the known steel rondelles by the opening of the known Rondellen is closed by the described nozzle, mandrel or rod.
- the fasteners can also be shaped differently, for example quadrangular with rounded corners.
- the fasteners may be flat or curved. By adjusting the curvature of the fastener to the respective tunnel curvature wrinkling in the film is reduced. In addition, an inward curvature or outward curvature at the edge of the fasteners may be useful to avoid excessive stress on the film at the fastener edge by edge pressure.
- a clamping of the film is provided at the edge of the fastener.
- the fasteners are designed for Randeinten so that they touch each other without foil on the edge and the remaining fastener surfaces spaced from each other.
- the length of the mandrel depends on the extent of the shotcrete construction.
- the structure can consist exclusively of concrete.
- the structure may also include an insulating layer.
- the insulating layer is then preferably arranged on the mountain side behind the concrete.
- the mandrel must then protrude through the insulating layer to support the wireframe and spacer described above at the forward end.
- the nozzle is passed through an opening of the outside fastener until it protrudes sufficiently far opposite the fastener on the film side. Able to weld the nozzle in the fastener. The weld closes the opening in the fastener.
- a threaded rod piece is screwed in as a mandrel.
- the mandrel is secured by a weld. The weld prevents loosening of the mandrel and closes the thread at the same time.
- the fasteners according to the invention are preferably made of steel. Steel can be processed very well, even welding. The processing capability is particularly advantageous in so-called free-cutting steel. With vending machines are called automated lathes and automated milling machines. With these machines, the special parts provided according to the invention can be produced very inexpensively. Because of the risk of corrosion from mountain water, such steel parts are preferably provided on all sides with a corrosion protection. A corrosion protection with epoxy resin or with zinc is known. The zinc is electroplated or applied by dipping the workpieces in a hot zinc bath. However, diving in a hot zinc bath poses the problem of added threads. The coating with epoxy resin can be metered very accurately and does not interfere with the fitting if the layer does not exceed a certain thickness. Optionally, stainless steel is also used. But it can also find unfoamed plastic application. Particularly suitable are polyamides and polyesters, preferably reinforced by a fiber reinforcement and / or by a fabric reinforcement.
- the fasteners may have different dimensions. There are conceivable fasteners with diameters or edge lengths of 10mm to 2000 mm. Preferably, dimensions of 80 to 300 mm, more preferably 130 to 300 mm.
- the fasteners have a curvature which is adapted to the tunnel curvature. This causes a foil-saving clamping between the fasteners.
- Cup-shaped or cup-shaped fasteners are not quite so cheap in terms of clamping the film. But such fasteners but have a much higher stability than a metal sheet, which is adapted only to the tunnel arch. This allows a reduction of the sheet thickness for the fasteners. In this sense, thicknesses of 2.5 mm and less may be sufficient. As far as the invention has been explained in the foregoing with reference to a tunnel lining, the same applies to the application of the invention to studs
- Fig. 1 shows a mountain outbreak 1 in stable mountains. At regular intervals anchors have been introduced into the mountains. For this purpose, appropriate holes were drilled and anchors were fixed with mounting cement in the holes. From the anchors, the central axes 2 are shown.
- the mountain outbreak 1 is used to make a tunnel.
- a shotcrete construction is provided in the mountain outbreak.
- the shotcrete construction consists roughly of a film layer 4 and a shotcrete layer 3.
- the film layer 4 is composed of individual webs, which are laid overlapping and are welded together at the overlapping edges. In this case, two adjacent welds are provided at a distance from each other. The cavity Compressed air is applied between the welds to check the tightness of the welds.
- an armature 5 is shown schematically.
- the armature 5 is connected to the protruding end of the mountains with a fastener 14.
- the film layer 4 is applied.
- a fastener 15 At the film layer side, which is opposite to the fastener 14 is a fastener 15.
- the fasteners 14 and 15 clamp the film layer 4 between them.
- the fasteners carry a spacer 13 for a wire mesh 12.
- the wire mesh 12 has two purposes. It serves to build up the shotcrete layer 3 by preventing the concrete layer rebounding from falling off of the foil layer.
- the wire mesh 12 forms a reinforcement for the shotcrete layer.
- the anchors direct the weight of the shotcrete expansion into the mountains. After solidification of the shotcrete construction, the anchors form a solid composite of the expansion with the mountains.
- the 4 and 5 show another embodiment of fasteners according to the invention.
- the outside fastener is called 20, the inside fastener 21.
- a nozzle 22 is welded.
- the nozzle 22 is not simply placed on the closed bottom of the fastener, but performed by a central opening in the bottom of the fastener 20 so that the nozzle 22 inside a piece stock.
- the degree of projection is precisely matched to the nature of two seals 27 and 28, which the in Fig. 4 include film layer designated 26 between them.
- the measure determines the possible compression of the seals 27 and 28 during the clamping of the film layer 26th
- the seals 27 and 28 and the film layer 26 have openings sufficient to be pushed over a protruding as a mandrel threaded rod 23 and the protruding pipe 22.
- the nozzle 22 is provided at each end with a blind hole. Both blind holes are separated by a material wall. In the film-side blind hole, the threaded rod 23 sits as a mandrel. In the opposite, outside blind hole sits in the installation situation of the anchor. The described material wall prevents leakage through the thread.
- the seals 27 and 28 are in the embodiment of polyethylene foam with a density of 30 kg per cubic meter, in other embodiments of 18 to 40 kg per cubic meter.
- the purpose of the seals is to compensate for unevenness in the surfaces of the fasteners and the film and imbalances between the fasteners.
- the thickness of the seals is 5mm, in other embodiments 3 to 10 mm. By tightening the two fasteners experienced the seals a strong compression, so that the density of the seals comes close to the density of non-foamed polyethylene.
- the thickness of the seal is reduced by bracing the two fasteners to at least 50%, preferably to at least 70% and even more preferably to at least 90%. The reduction refers to the foam volume.
- FIGS. 13 to 17 show a further embodiment of fasteners according to the invention.
- the outside fastener is called 520
- the inside fastener is 521.
- the nozzle 522 has two blind holes designated 528 and 529.
- the thread in the neck and at the anchor is M16.
- the nozzle 522 is not simply placed on the closed bottom of the fastener, but placed on a central opening in the bottom of the fastener 520 and welded there.
- the circumferential weld is designated 525. Both blind holes are provided with internal thread. In the outwardly facing blind hole 528 sits the anchor end 526th
- the tensioning device consists of a threaded rod 524 and a clamping nut 523.
- the inside fastener 521 has like the outside fastener in the form of a shell.
- the fasteners / shells are spaced and shown without intervening foil and seal in which Fig. 16 lying in each other.
- the fastener 521 is curved inwardly, while the fastener 520 is curved outward.
- the fastener 521 is centered slightly weaker than the fastener 520. As a result, touch the two fasteners on the edge.
- the fastener 520 has an outer diameter of 300 mm
- the fastener 521 has an outer diameter of 222 mm. In other embodiments, other dimensions may be chosen.
- the fastener 520 is selected as a shell so that it completely absorbs the Bestiger 521 in the position shown in FIG. 35. In the embodiment, this results in a depth of the fastener 520 of 32 mm.
- the further embodiment according to Fig. 18 and 19 is different from that FIGS. 13 to 17 by other fasteners 537 and 538.
- the fastener 537 has an outer diameter of 160 mm relative to the fastener 520.
- the fastener 520 is less deep than the fastener 521.
- the anchor 526 is identical to the anchor 535. The same applies to the nozzles 536 and 522, as well as for the threaded rods 539 and 524 and for the clamping nuts 540 and 523.
- the fastener 538 is identical to the fastener 537 and arranged in mirror image. This results in a different clamping of the film between the two fasteners as in the embodiments according to FIGS. 13 to 17 ,
- the seals are self-adhesive on both sides.
- the adhesive surfaces are covered by silicone-coated paper before assembly.
- the paper is first peeled off the contact surface with the fastener 20. Thereafter, the seal 28 can be positioned and pressed on the fastener 20. Subsequently, the paper is withdrawn from the contact surface of the seal 28 with the film layer 26 and pressed the film layer against the seal. This results in a provisional stop of the film seal 26.
- the paper is withdrawn from the contact surface of the seal 27 with the film layer 26 and the seal 27 is positioned and pressed against the film layer 26.
- the fastener 21 has an opening that is slightly larger than the diameter of the threaded rod 23 but at the same time significantly less than the diameter of the nozzle 22.
- the seals have the shapes and thicknesses designated 27 'and 28'.
- the fasteners 20 and 21 are compressed so far that the seals develop a desired pressure against the film layer on the one hand and against the contact surfaces with the fasteners on the other. This pressure also causes a clamping of the film layer. Together with the adhesive connection results in a very advantageous holding the film layer.
- Fig. 6 shows a further embodiment for the fastener.
- the fasteners are designated 30 and 31.
- the two fasteners 30 and 31 enclose a film layer 32 between them.
- the outside fastener 31 is provided with a pot-like recess.
- the inside fastener 30 is like a lid in the pot-like fastener 31, so that between the curved edges a desired clamping takes place.
- inclined surfaces act like wedges against each other, so that with little force over appropriate ways a strong clamping, even a large-scale clamping can be achieved.
- the fastener 31 is also provided with a curved edge 33.
- Fig. 8 shows a possible honeycomb 43 for the in Fig. 2 illustrated wire mesh.
- Fig. 7 shows a spacer 40 for the positioning of the wire mesh.
- the spacer 40 is pressed with another nut against the nut 25.
- the spacer 40 has various arms to which the wire mesh 43 can be hooked.
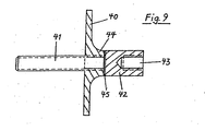
- Fig. 9 shows a conventional outside fastener 40 with a central continuous thread and with an adapter 42.
- the adapter 42 has a mandrel 41 with an external thread. Opposite the mandrel 41, the adapter 42 has an outer diameter corresponding to the diameter of the molded socket 44 corresponds to the fastener 40.
- the adapter 42 is screwed with its mandrel 41 in the fastener 40, that the adapter 42 closes against the nozzle 44 and the two contact surfaces are stretched against each other. Both contact surfaces are processed so that leakage is excluded.
- the seal is additionally secured by a sealing ring 45.
- the adapter 42 has a threaded hole formed as a blind hole 43, with which a screw on the anchor is possible.
- FIGS. 11 and 12 show a shotcrete construction for a tunnel in stable mountains.
- the mountains are designated 101.
- threaded rods 102 have been introduced as an anchor.
- 101 holes have been drilled into the mountains and the anchors have been glued in the mountains.
- the anchors are placed at a distance of 1.2m so that a large number of uniform attachment points are formed at the circumference of the rock outcrop, and all points lie on the corner points of equal squares with an edge length of 1.2 m.
- a sealing washer 103 On each threaded rod 102, a sealing washer 103 has then been screwed. Then a waterproofing membrane has been laid. The laying is done in such a way that the film has been placed on the protruding anchor. The anchors 102 penetrate the film. The resulting holes are closed by means of further sealing discs 105. The sealing discs 103 and 105 clamp the film 104 between them and moreover close tightly with the anchors 102.
- first a fast-binding cement milk is sprayed thinly onto the film.
- the dried cement slurry forms an advantageous primer for a subsequent application of shotcrete.
- the shotcrete is applied in layers, starting at the tunnel sole.
- the resulting shotcrete layer is designated 106.
- the tunnel runs horizontally, so that the shotcrete is laid in horizontal layers, which are superimposed from bottom to top of the film.
- the layers have a width which corresponds to the desired shotcrete layer thickness. In otherstasbe bit a smaller width of the layers is provided so that first a first shotcrete layer is applied to the film, which completely covers the film side. Thereafter, another shotcrete layer is applied, which completely covers the previously discussed shotcrete layer. This is repeated until the desired thickness of the shotcrete layer is reached.
- the anchors After creating the shotcrete layer, the anchors still protrude from the concrete layer. At the projecting ends cladding panels should be attached, especially panels for fire protection.
- the plates are secured in the exemplary embodiment with the anchors 102 and nuts and washers on the shotcrete. So that the thread of the anchor 102 is not unusable by the shotcrete, the thread has been protected by caps when applying the shotcrete.
Landscapes
- Engineering & Computer Science (AREA)
- Structural Engineering (AREA)
- Mining & Mineral Resources (AREA)
- Architecture (AREA)
- Geology (AREA)
- General Life Sciences & Earth Sciences (AREA)
- Geochemistry & Mineralogy (AREA)
- Life Sciences & Earth Sciences (AREA)
- Civil Engineering (AREA)
- Lining And Supports For Tunnels (AREA)
- Connection Of Plates (AREA)
- Joining Of Building Structures In Genera (AREA)
- Sealing Material Composition (AREA)
- Piles And Underground Anchors (AREA)
- Tents Or Canopies (AREA)
- Door And Window Frames Mounted To Openings (AREA)
- Revetment (AREA)
- Curing Cements, Concrete, And Artificial Stone (AREA)
- Vehicle Interior And Exterior Ornaments, Soundproofing, And Insulation (AREA)
Description
- Die Erfindung betrifft einen Ausbau im Hoch- und Tiefbau, insbesondere einen Ausbau unterirdischer Räume wie Tunnel und Stollen oder Rohrleitungen im standfesten Gebirge.
- Besonders häufig finden Befestiger im Tunnelausbau Anwendung. Dabei ist zu unterscheiden zwischen den Tunneln im standfesten Gebirge und im nicht standfesten Gebirge. Ein standfestes Gebirge bricht nach dem Tunnelausbruch nicht ein. Dagegen wird bei einem nicht standfesten Gebirge ein tragfähiger Ausbau des Tunnels erforderlich, der das Gewicht des Gebirges teilweise aufnimmt. Im nicht standfesten Gebirge ist sowohl ein Stahlausbau als auch ein Betonausbau üblich. Es können auch Kombinationen von Stahl und Beton Anwendung finden. Der Betonausbau kann wird zumeist an der Baustelle gefertigt werden. Es sind auch Betonpaneele üblich, die im Werk hergestellt und zur Baustelle transportiert werden.
- Im standfesten Gebirge entfällt das Festigkeitsproblem.
Es verbleibt das Problem, wie eine Sicherung gegen herab fallende Steine stattfindet. Das Problem wird üblicherweise mit Spritzbeton gelöst. Dabei wird Beton gegen den Gebirgsausbruch gespritzt, der dort erhärtet und eine schützende Haut bildet. - Ein anderes Problem ist austretendes Gebirgswasser.
Im Winter friert das Wasser. Es besteht die Gefahr herab fallender Eismassen. Dieser Gefahr wird üblicherweise mit einer Folienabdichtung begegnet. Je nach Dicke der Folie wird auch von Bahnen gesprochen. Zum Teil findet sich auch die Bezeichnung Membran. - Die Folienabdichtung leitet das Wasser ab. Zugleich wird mit einer Wärmedämmung ein Frieren des Wassers verhindert.
- Die Folienabdichtung wird aus Folienbahnen zusammengesetzt.
Die Folienbahnen werden am Gebirgsausbruch überlappend verlegt, so daß die Folienränder anschließend miteinander verschweißt werden können. - Die Befestigung der Folie erfolgt auf unterschiedliche Weise. Ursprünglich wurden Anker gesetzt und die Folie auf den Ankern zwischen zwei Platten eingespannt. Das geschah unter Lochung der Folie. Man war bemüht, jedes Loch durch eine Dichtung mit zwei beiderseits der Folie angeordnete Neopren-Dichtscheiben zu schließen. Die Dichtung war sehr bescheiden, weil Wasser weiter entlang der Anker durchtreten konnte.
- Bei geringen Festigkeitsanforderungen hat sich in der Vergangenheit eine Folienbefestigung mit einem als Rondelle ausgebildeten Befestiger aus Kunststoff durchgesetzt. Die Rondelle wird an das Gebirge oder an eine erste, aufgetragene Spritzbetonschicht genagelt oder angeschossen. Beim Anschießen werden die Rondellen nicht mit einem Hammer oder dergleichen ins Gebirge geschlagen, sondern mittels einer Sprengpatrone in das Gebirge oder in die erste aufgetragene Spritzbetonschicht getrieben.
- Die bekannten Rondellen sind zum Beispiel in der
DE-3244000C1 ,DE4100902A1 ,DE19519595A1 ,DE8632994.4U1 ,DE8701969.8U1 ,DE20217044U1 dargestellt und beschrieben. Die bekannten Rondellen sind mit der Folie verschweißt worden und führten zu einer perfekten Dichtung. Das gilt auch für die in gezeigte und beschriebene Rondellenbefestigung.JP 10-306695 - Als besonders günstig wurden Rondellen mit einer Sollbruchstelle angesehen,
DE3244000A1 . Die Rondellen sollen bei einer Belastung der Folie an der Sollbruchstelle zerbrechen. Die Festigkeit der Sollbruchstelle liegt wesentlich unter der Folienfestigkeit. Dadurch bricht zuerst die Rondelle, wenn auf die Folie ein übermäßiger Zug ausgeübt wird. Das heißt, die Folienabdichtung bleibt bei übermäßigem Zug in der Folie unversehrt, während die Rondelle zerbricht. - Die Kunststoff-Rondellen sind jedoch nur dann zur Befestigung der Folien geeignet, wenn bei der Befestigung der Folien und einem anschließenden Spritzbetonauftrag geringe Kräfte entstehen.
- Insbesondere in Tunneln kommen jedoch hohe Kräfte vor. In Eisenbahntunneln wird von den durchfahrenden Zügen ein extremer Luftdruck und anschließend ein extremer Saugzug erzeugt. Die Drücke wirken auf extrem große Flächen, so daß Gesamtdrücke entstehen, die eine ausreichend feste Verbindung des Tunnelausbaus mit dem Gebirge erfordern. Die Drücke sind von der Fahrgeschwindigkeit der Züge abhängig. Hochgeschwindigkeitszüge erhöhen die Drücke noch einmal um ein Vielfaches gegenüber normalen Eisenbahnen. Ähnliches gilt für Kraftfahrzeugtunnel.
- Bei solcher Belastung haben sich Rondellen aus Stahl als Befestiger durchgesetzt, die mit Ankern im Gebirge gehalten werden. Die Rondellen haben die Form von Kallotten(Abschnitten einer Hohlkugel) und spannen die Folie zwischen sich ein.
- Die bekannten Rondellen haben einen Durchmesser von etwa 150 mm und eine Dicke von 3 bis 4 Millimetern. Solche Rondellen besitzen ein große Festigkeit.
Die bekannten Anker haben Durchmesser von 12 oder 14 oder 16 oder 20mm. Sie bestehen vorzugsweise aus rostfreiem Stahl und sind gebirgsseitig profiliert, um im Gebirge eine hohe Auszugfestigkeit zu entfalten. Für die Anker werden entsprechende Bohrungen in das Gebirge eingebracht. Anschließend werden die Anker mit einem Montagezement oder anderen geeigneten Montagemitteln in den Bohrungen festgesetzt.
Solche Anker können im Unterschied zu der bekannten Nagelkonstruktion richtig große Kräfte aufnehmen. Die Lasten werden in das Gebirge geleitet. Mit den Ankern ist es deshalb möglich, einen Tunnelausbau aufzubauen, der den Belastungen durchfahrender Züge und durchfahrender Kraftfahrzeuge standhält.
An dem freien Ende sind die Anker in der Regel mit einem Gewinde versehen, vorzugsweise entsprechend dem Durchmesser mit metrischen Gewinde M12 oder M14 oder M16 oder M20. An dem gewindeseitigen Ende werden die Stahlrondellen zwischen zwei Schrauben gehalten. Die Schrauben erlauben eine Einstellung der Rondellen auf dem Anker. - Die Anker sind üblicherweise so lang, daß sie über die Stahlrondellen hinaus in den Tunnel ragen. Das dient zur Befestigung eines Drahtgitters als Rückhaltung beim Anspritzen des Betons und zur Versteifung des Tunnelausbaus durch Verbindung mit dem Gebirge.
- Das Drahtgitter dient auch zur Armierung der Spritzbetonschicht.
- Auf dem Anker kann auch ein Abstandshalter für das Drahtgitter montiert werden. Bekannte Abstandshalter sind sternförmig mit Stangen versehen, um das Drahtgitter möglichst großflächig zu stützen.
- Bei der bekannten Bauweise durchstoßen die Anker die Folie.
Eine solche Bauweise ist auch aus der bekannt. Dort finden sich Anker, auf denen ein Ausbau mit einer Abdichtungsfolie und mit Kunststoffschaum gehalten ist. Zur Halterung dient ein System von Balken, Stangen und Klemmeinrichtungen. Die Anker durchdringen die Folie. Zwar hat man sich dabei Gedanken über eine Abdichtung der entstandenen Löcher gemacht. Die Abdichtung war aber unzulänglich, weil nicht erkannt worden ist, daß im Tiefsten der Gewindegänge die Ursache für die Leckagen zu suchen ist.GB2325946 - In der Praxis zeigt sich nämlich, daß das Gebirgswasser an den Ankern entlangläuft. Das gilt sowohl für das aus der
bekannte System als auch für Anker mit üblichen Rondellenhalterung für die Folie.GB2325946
Dadurch stehen Anker und Befestiger bzw. Rondellen unter entsprechender Wasserbelastung. Die Erfindung hat erkannt, daß das Wasser durch das - Schraubengewinde von Rondellen und Anker dringt. Das Wasser läuft dann auch durch die in der Folie entstandene Öffnung. Es kommt zu Leckagen. Selbst eine tropfenweise Leckage führt in entsprechender Zeit zu erheblichen Wassermengen. Das Wasser kann an der Tunnelinnenseite austreten. Im Winter friert das eindringende Wasser. Es bilden sich Eiszapfen, die spätestens bei eintretendem Tauwetter herunterfallen und eine schlimme Unfallgefahr bilden. Außerdem kann das Eis erhebliche Zerstörung am Tunnelausbau verursachen.
Hinzu kommen die Korrosion durch das Gebirgswasser und dessen Salzfracht. - Um das Eindringen von Wasser am Gewinde der Rondelle zu verhindern, ist es bekannt, in die Durchtrittsöffnung der Rondelle einen Gummiring einzusetzen. Der Gummiring hat allerdings nur eine sehr beschränkte Wirkung, weil er nicht ausreichend in die Gewindegänge des Ankers greifen kann. Es ist zwar bekannt, den Gummiring gewindeseitig mit Noppen zu versehen, die besser zwischen die Gewindegänge greifen sollen als ein glatter Ring. Das bewirkt allerdings immer noch keine ausreichende Dichtung.
- Auch die
hat sich die Aufgabe gestellt, eine Abdichtung der Folie im Bereich der Ankerdurchdringung zu bewirken. Dazu ist in dieser Druckschrift ein Befestiger vorgeschlagen worden, der auf das durch die Folie ragende Ankerende geschraubt wird und einen Kragen hat. An dem Kragen ist ein Kleber vorgesehen, der eine Verbindung des Kragens mit der Folie bewirken soll. Das kann aber nur dann funktionieren, wenn der Gebirgsausbruch hinter der Folie ausreichend plan und parallel ist. Selbst in der Darstellung dieser Druckschrift fehlt es an dem Planen. Außerdem gibt es im Tunnel selbst bei feinstem Spritzbetonauftrag nur in ganz geringem Umfang plane Flächen. Zumindest in der Tunnelfirste sind die Flächen gekrümmt.JP2000220395
Hinzu kommt der rauhe Baustellenbetrieb, bei dem es ausgeschlossen erscheint, die Ankerbohrungen so einzubringen und die Anker so zu setzen, daß eine notwendige Parallelität entsteht. - Hinzu kommt, daß der Kragen mit einer Verschraubung gegen die Folie gedrückt werden soll, um eine starke Verklebung zu bewirken. Bei unebener Auflagefläche bzw. nicht paralleler Auflagefläche der Folie wird es zu einer einseitigen und punktuellen Klebung kommen. Jede weitere Schraubendrehung kann zu einer Zerstörung der Folie führen.
Hinzu kommt auch, daß diese Lösung versagen muß, wenn keine Anpressung gegen den Gebirgsausbruch möglich ist, weil das Ankerende zu großen Abstand vom Gebirgsausbruch hat. Das ist regelmäßig der Fall, in der Regel sogar gewollt. - Die
beinhaltet die gleiche Technik wie dieJP03030098 und hat die gleichen Schwierigkeiten. Auch diese Lösung basiert auf einer Verspannung gegen den Gebirgsausbruch bzw. gegen eine Betonschicht auf dem Gebirgsausbruch im Tunnel und scheidet aus, wenn das Ankerende zu großen Abstand vom Gebirgsausbruch oder Beton hat. Auch diese Lösung basiert auf einer planen und planparallelen Betonfläche, die im Tunnel die Ausnahme und nicht die Regel ist.JP2000220395 - Auch die
zeigt eine Abdichtung für einen Tunnelausbau im nicht standfesten Gebirge, bei dem eine tragende Betonschicht als Spritzbetonschicht auf den Gebirgsausbau aufgetragen wird.JP07042497
Nach der soll in die Betonschicht ein Ankerbolzen nach Art eines Dübels eingebracht werden, um an dem Dübel eine Kunststoffscheibe zu befestigen, an der die innenseitig vorgesehene Folie verschweißt oder verklebt wird. Darüber hinaus wird die Folie an der Stelle perforiert, um anschließend durch die entstehende Öffnung eine Verschraubung durchzubringen, mit der eine weitere Scheibe innenseitig gegen die Folie gedrückt wird.JP07042497
Diese Lösung erscheint gegenüber der oben beschriebenen Lösung mit Kunststofftellern rückschrittlich, weil bei der oben beschriebenen Lösung keine Perforierung der Folie stattfindet. Ohne die Perforierung stellt sich an den Ankern kein Abdichtungsproblem.
Außerdem ist die Bauweise der erkennbar für nicht standfestes Gebirge vorgesehen, weil ein Anliegen einer beträchtlichen Betonschicht regelmäßig nur am Gebirgsausbruch vorkommt.JP07042497
Bei standfestem Gebirge kann sich der Gebirgsausbruch fehlt es regelmäßig an einem Spritzbetonschicht auf dem Gebirgsausbruch, die für ein Einbringen der gezeigten Anker geeignet ist. - Im übrigen ist es bekannt, den Tunnel innen mit einer Isolierung zu versehen, um eine Eisbildung zu verhindern.
- Die Erfindung hat sich die Aufgabe gestellt, den Tunnelausbau zu verbessern, insbesondere durch bessere Anker. Nach der Erfindung wird das mit den Merkmalen der Patentansprüche erreicht.
- Insbesondere ist vorgesehen, daß die wasserführenden Gewinde der Anker vor der Folienabdichtung enden. Dabei können auch anders geformte Befestiger als Rondellen zur Anwendung kommen. Deshalb wird im Folgenden von Befestigern im Allgemeinen und von Rondellen im Besonderen gesprochen.
- Anders als bei den bekannten Rondellen ist bei den erfindungsgemäßen Befestigern wahlweise keine Durchdringung des außenseitigen Befestigers vorgesehen. Das soll ein Eindringen des Ankers in den Befestiger nicht ausschließen. Entscheidend ist, daß jede Öffnung, auch jede kapillare Öffnung verschlossen ist. Das ist ganz sicher der Fall, wenn der Befestiger ohne Durchtrittsöffnung ist.
Die Verbindung des außenseitigen Befestigers mit dem Anker wird ohne Durchtrittsöffnung möglich. Wahlweise erfolgt das mit einem Stutzen. Der Stutzen oder eine stutzenartige Verdickung ist wahlweise an dem außenseitigen Befestiger angeformt. Vorzugsweise wird der Stutzen außenseitig an dem Befestiger angeschweißt oder in sonstiger Weise befestigt ist.
Zum Anker hin besitzt der Stutzen vorzugsweise ein als Gewindeloch ausgebildetes Sackloch. - Der mit dem Stutzen einteilige Befestiger kann zum Beispiel als Formteil gegossen werden.
Vorzugsweise ist der Befestiger aber mehrteilig.
In der mehrteiligen Form kommen verschiedene Ausführungen in Betracht. Zum Beispiel kann der Stutzen ein mit Innengewinde versehenes Sackloch aufweisen und in der gewünschten Länge an dem Befestiger verschweißt sein. Das Gewindeloch besitzt ein dem Ankergewinde angepasstes Gewinde. Die Verschweißung kann innenseitig an dem Befestiger erfolgen. Dann ragt der Stutzen in der mehrteiligen Ausführung durch eine entsprechende Öffnung des Befestigers, so daß innenseitig an dem durchragenden Stutzenende eine umlaufende Schweißnaht gelegt werden kann. Vorzugweise ist der Stutzen bei mehrteiliger Ausführung der Vorrichtung außenseitig an dem Befestiger verschweißt. - Dabei wird die Möglichkeit genutzt, dem Stutzen unterschiedliche Schraubstellungen auf dem Ankerende zu geben. Diese Möglichkeit ist umso größer, je länger der Stutzen ist.
Zugleich kann der gleiche Dorn wie in obigen Beispielen verwendet werden, wenn der Stopfen eine entsprechend größere Länge aufweist. Das läßt sich durch Vorhaltung unterschiedlicher Stopfenlängen erreichen. - Es können auch Gewindestücke vorgesehen sein, die helfen, die richtige Stutzenstellung zu finden.
Es können auch unterschiedliche Dorne vorgesehen sein, mit denen eine Anpassung an die unterschiedliche Schraubstellung des Stutzens erreicht werden kann. Dazu haben die verschiedenen Dorne unterschiedlich lange Gewindestücke, mit denen sie in dem Stutzen verschraubt werden können. - Wahlweise können auch innenseitig am Befestiger Gewindestangen bzw. Dorne vorgesehen sein, deren Länge größere Abstände der Ankerende von der Tunnelmitte kompensiert.
- Das außenseitigen Ende des Stutzens kann mit einem Adapter verschlossen werden. Aufgabe des Adapters ist eine Anpassung an die Erfindung. In dem Rahmen soll der Adapter das Gewindeloch des Stutzens verschließen und seinerseits ein Gewindeloch bilden, mit dem der Befestiger auf das Ende des Ankers aufgeschraubt werden kann. In dem Sinne hat der Adapter stutzenseitig einen Gewindezapfen und eine Verdickung. Mit dem Gewindezapfen kann der Adapter in dem Gewindeloch des Stutzens verschraubt werden. Mit der Verdickung kann der Adapter auf dem Stutzen aufsitzen und das Gewindeloch dicht verschließen.
In der Verdickung befindet sich ein als Sackloch ausgebildetes Gewindeloch, dessen Gewinde dem Ankergewinde angepasst ist.
Mit dem Adapter können die oben erläuterten Mängel der bekannten Befestiger beseitigt werden. Das heißt, durch Einschrauben eines Adapters kann ein herkömmlicher Befestiger in einen erfindungsgemäßen Befestiger verwandelt werden. - Das Gewindeloch im Stutzen des herkömmlichen Befestigers kann gegebenenfalls lang genug oder zu kurz sein, um zusätzlich von innen einen Dorn für die Befestigung des Drahtnetzes und für die Verbindung des Spritzbetons mit dem umgebenden Felsen auszunehmen. Ist das Gewindeloch zu kurz, so kann der Adapter einen verlängerten Zapfen aufweisen, der innenseitig vorragt bzw. in den Tunnel ragt und dort einen Dorn bildet.
- Der Stutzen bzw. Adapter hat wahlweise ganz oder teilweise eine zylindrische oder ganz oder teilweise eine kantige Form, z.B. die Form eines Sechskants. Solche Stutzen lassen sich von einer Stange mit kreisförmigem Querschnitt oder von einer Stange mit Sechskant-Querschnitt ablängen. Entsprechendes gilt für Rohlinge zur Herstellung eines Adapters.
- Der Befestiger kann zunächst mit der Hand verspannt werden, soweit das möglich ist. Für die abschließende Verspannung ist ein Werkzeug von Vorteil. Bei Verwendung einer Spannzange ist nicht erforderlich, daß der Stutzen oder Adapter auf das Verspannen besonders vorbereitet ist. Mit der Spannzange läßt sich durch entsprechende Spannung so viel Reibung erzeugen, daß ein ausreichendes Drehmoment auf den Befestiger oder auf den Adapter übertragen werden kann, um eine ausreichende Verspannung des Befestigers auf dem Anker zu bewirken.
- Soweit ein Stutzen oder ein Adapter einen kantigen Querschnitt aufweist, kann zur Verspannung ein Maulschlüssel verwendet werden. Maulschlüssel lassen sich leichter und schneller ansetzen und abnehmen als eine Spannzange.
- Wahlweise ist ein zylindrischer Stutzen an dem Befestiger vorgesehen und ist der zylindrische Stutzen mit zwei Schlüssel-Flächen für einen Schraubenschlüssel(Maulschlüssel) versehen. Die Schlüsselflächen können angefräst oder angeschliffen oder angepresst werden. Das Anpressen kann gegenüber der Verwendung von Sechskantprofil wirtschaftlich Vorteile haben.
- Mit dem Stutzen bzw. Adapter wird der Befestiger auf den Anker aufgeschraubt. Der Stutzen kann kurz sein oder länger. Je länger der Stutzen bzw. der Adapter ist, desto größer ist der Verstellbereich oder Einstellbereich des Befestigers.
In der gewünschten Montagestellung kann der Befestiger durch eine Kontermutter auf der Gewindestange gesichert werden. - Die Einstellung des Befestigers ist wichtig,
wenn der Gebirgsausbruch mit erheblichen Toleranzen erstellt worden ist und
wenn die Felsbohrungen für die Anker kein Verstellen des Ankers in der Bohrung erlauben oder
wenn die Anker in den Felsbohrungen ohne Rücksicht auf die Lage der mit den Befestigern korrespondierenden Enden montiert worden sind. - Die aus dem Gebirge herausragenden Anker-Enden sind dadurch mehr oder weniger von der idealen Ausbruchslinie für einen Tunnel entfernt. Durch Einstellung kann der Befestiger der idealen Ausbruchslinie angepasst werden.
- Besonders großer Einstellungsbedarf ergibt sich im klüftigen Gebirge. Dort ergeben sich zum Teil sehr große Abstände der Ankerenden zur idealen Ausbruchslinie. Wahlweise wird dem mit längeren Ankern Rechnung getragen. Vorzugsweise sind gleiche Anker und Verlängerungsstangen zwischen den Ankern und den Befestigern vorgesehen. Die Verlängerungsstangen sind insbesondere Gewindestangen. Die Verbindung der Verlängerungsstangen zu den Ankern erfolgt dann durch Gewindehülsen. Wahlweise sind die Gewindehülsen separate Teile oder mit der Gewindestange verbunden.
Die Verwendung separater Gewindestangen reduziert den Materialaufwand. Die Verlängerungsstangen können nämlich von langen Gewindestangen auf das jeweils zweckmäßige Maß abgelängt werden.
Das Ablängen ist einfach. Es erfolgt entweder durch Sägen oder durch Trennschleifen. Besonders vorteilhafte Trennschleifer sind Winkelschleifer, die mit einer geeigneten Schleifscheibe bestückt sind. Die bekanntesten Winkelschleifer sind die sogenannten Flex-Geräte. Deshalb wird dieses Arbeiten als Flexen bezeichnet. - Die Verwendung von Gewindestangen, die werksseitig bereits mit einer Gewindehülse vorbereitet worden sind, erleichtert das Arbeiten an der Baustelle. Durch die werksseitige Vorbereitung wird ein Teil der Arbeiten in das Werk verlagert. Dort sind Schweißvorgänge sehr viel besser darstellbar als an der Baustelle. Das gilt sowohl für die Qualität wie auch für die Bearbeitungsdauer.
- Eine getrennte Gewindehülse kann auch mit unterschiedlichen Gewinden versehen werden, nämlich mit einem Linksgewinde an dem einen Ende und einem Rechtsgewinde an dem anderen Ende. Die korrespondierenden Enden der Gewindestange und des Ankers sind dann angepasst. Der Vorteil solcher Gewindehülsen ist, daß sie durch Drehen in der gleichen Richtung gleichzeitig die Verschraubung mit beiden korrespondierenden Enden bewirken kann bzw. durch Drehen in der entgegengesetzten Richtung ein gleichzeitiges Lösen von den beiden korrespondierenden Enden bewirken kann.
- In den Verschraubungen zwischen Anker und Befestiger bzw. Anker und Hülse bzw. Hülse und Verlängerungsstange bzw. Verlängerungsstange und Befestiger ist ein Mindestmaß in der Überlappung der verschraubten Teile zu berücksichtigen. Das Überlappungsmaß ist materialabhängig und belastungsabhängig. Das Mindestmaß läßt sich mit wenigen Ausreißversuchen feststellen.
Im übrigen ist die Bestimmung des Mindestmaßes und die Annäherung an das Mindestmaß nicht zwingend. Vielmehr bietet es sich aus Sicherheitsgründen und wirtschaftlichen Gründen an, ohne Versuche ein Maß zu wählen, bei dem erkennbare Sicherheit gegeben ist. Dieses Maß kann von Schraubenmuttern gleichen Schraubengewindes abgeleitet werden. Vorzugsweise findet bei der Ableitung der Abmessungen ein Sicherheitsfaktor von mindestens 1,5 Anwendung. - Das gleiche gilt für den Durchmesser der Hülse bzw. den Durchmesser des Stutzens. Auch hier ist das Mindestmaß in Abhängigkeit vom Material und der Belastung zu bestimmen. Für die Belastung der Hülse ist wesentlich, ob und mit welchen Werkzeugen für die Verschraubung an die Hülse gegriffen wird. Auch hier könnte mit einigen Versuchen ein Minimalmaß bestimmt werden. Andererseits bietet sich insbesondere im Falle des Angriffs von Werkzeugen die Abmessung einer Schraubenmutter gleichen Gewindes als Maß für die Hülse an. Vorzugsweise findet auch hier bei der Ableitung der Abmessungen ein Sicherheitsfaktor von mindestens 1,5 Anwendung.
- Mit dem erfindungsgemäßen außenseitigen Befestiger wird in weiterer Ausbildung der Erfindung ein innenseitiger Befestiger verspannt. Vorzugsweise besitzt der außenseitige Befestiger dazu innenseitig einen zumindest teilweise mit Gewinde versehenen Dorn.
- Für den Dorn gilt ähnliches wie für den oben beschriebenen Stutzen. Der Dorn kann angeformt sein und mit dem außenseitigen Befestiger ein einteiliges Werkstück bilden.
Der Dorn kann aber auch an dem Befestiger angeschweißt oder angeschraubt werden.
Wahlweise kann der Dorn auch an dem oben beschriebenen Stutzen angeformt sein und mit dem Stutzen ein einstückiges Werkstück bilden. Der Dorn kann aber auch an dem Stutzen angeschweißt oder angeschraubt werden.
Wie oben erläutert, kann der Stutzen bei entsprechenden Abmessungen mit dem außenseitigen Befestiger so verschraubt werden, daß der Stutzen mit einer Fläche dichtend an einer korrespondierenden Fläche anliegt. - Die Mehrteiligkeit ist von Vorteil, wenn für den Stutzen und die Hülse gleiches Einsatzmaterial verwendet werden kann. Das gleiche gilt für den Dorn und die Verlängerungsstange. Wahlweise wird die Stange vorbereitet an die Baustelle geliefert. Wahlweise wird die Stange erst an der Baustelle montiert.
- Der innenseitige Befestiger ist zur Montage mit einer entsprechenden Öffnung versehen, so daß er sich auf den Dorn schieben und dort mit einer geeigneten Schraube verspannt werden kann.
Vor der Montage des innenseitigen Befestigers wird die Folie auf den Dorn geschoben. Dabei durchdringt der Dorn die Folie. Es wird die Folie allein oder zusammen mit einer Dichtung zwischen beiden Befestigern eingespannt. - Die beiden Befestiger können kreisförmig ausgebildet sein wie herkömmliche Rondellen bzw. Befestiger. Es können sogar die bekannten Stahlrondellen verwendet werden, indem die Öffnung der bekannten Rondellen durch den beschriebenen Stutzen, Dorn bzw. Stange verschlossen wird.
- Die Befestiger können auch anders geformt werden, zum Beispiel viereckig mit Abrundungen an den Ecken.
- Die Befestiger können eben oder gewölbt ausgebildet sein. Durch Anpassung der Wölbung des Befestigers an die jeweilige Tunnelwölbung wird die Faltenbildung in der Folie reduziert.
Darüber hinaus kann eine Einwärtswölbung bzw. eine Auswärtswölbung am Rand der Befestiger zweckmäßig sein, um eine übermäßige Belastung der Folie am Befestigerrand durch Kantendruck zu vermeiden. - In weiterer Ausbildung der Erfindung ist eine Einspannung der Folie am Rand der Befestiger vorgesehen. Das hat den Vorteil einer möglichst großen Verteilung angreifender Kräfte auf die Folie.
Nach der Erfindung sind die Befestiger zur Randeinspannung so ausgelegt, daß sie ohne Folie einander am Rand berühren und die übrigen Befestigerflächen Abstand voneinander haben. - Die Länge des Dorns ist von dem Umfang des Spritzbetonausbaus abhängig. Der Aufbau kann ausschließlich aus Beton bestehen. Der Aufbau kann auch eine Isolierschicht beinhalten. Die Isolierschicht wird dann vorzugsweise gebirgsseitig hinter dem Beton angeordnet.
Der Dorn muß dann durch die Isolierschicht hindurch ragen, um am vorderen Ende das oben beschriebene Drahtgitter und den Abstandshalter zu tragen. - Wahlweise wird der Stutzen durch eine Öffnung des außenseitigen Befestigers hindurchgeführt, bis er folienseitig ausreichend weit gegenüber dem Befestiger vorragt.
In der Lage kann der Stutzen in dem Befestiger verschweißt werden. Durch die Schweißung wird die Öffnung in dem Befestiger geschlossen.
In den Stutzen wird ein Gewindestangenstück als Dorn eingeschraubt. Wahlweise wird der Dorn dabei durch eine Schweißnaht gesichert. Die Schweißnaht verhindert ein Lösen des Dornes und verschließt zugleich den Gewindegang. - Die erfindungsgemäßen Befestiger bestehen vorzugsweise aus Stahl. Stahl läßt sich sehr gut verarbeiten, auch schweißen. Die Verarbeitungsfähigkeit ist besonders vorteilhaft bei sogenanntem Automatenstahl. Mit Automaten sind automatisierte Drehmaschinen und automatisierte Fräsmaschinen bezeichnet. Mit diesen Maschinen lassen sich die nach der Erfindung vorgesehenen besonderen Teile sehr kostengünstig herstellen.
Wegen der vom Gebirgswasser ausgehenden Korrosionsgefahr sind derartige Stahlteile vorzugsweise allseitig mit einem Korrosionsschutz versehen. Bekannt ist ein Korrosionsschutz mit Epoxidharz oder mit Zink. Der Zink wird galvanisch aufgetragen oder durch Tauchen der Werkstücke in einem heißen Zinkbad aufgetragen. Das Tauchen im heißen Zinkbad stellt aber das Problem zugesetzter Gewinde.
Die Beschichtung mit Expoxidharz kann sehr genau dosiert werden und stört die Verschraubung nicht, wenn die Schicht, eine bestimmte Dicke nicht überschreitet.
Wahlweise findet auch rostfreier Stahl Anwendung.
Es können aber auch ungeschäumte Kunststoff Anwendung finden. Besonders geeignet sind dabei Polyamide und Polyester, vorzugsweise verstärkt durch eine Faserarmierung und/oder durch eine Gewebearmierung. - Die Befestiger können unterschiedliche Abmessungen aufweisen. Es sind Befestiger mit Durchmessern oder Kantenlängen von 10mm bis 2000 mm denkbar. Vorzugsweise kommen Abmessungen von 80 bis 300 mm vor, noch weiter bevorzugt 130 bis 300mm.
- Günstig ist auch, wenn die Befestiger eine Krümmung besitzen, die der Tunnelkrümmung angepasst ist. Das bewirkt eine Folien schonende Einspannung zwischen den Befestigern.
- Schalenförmige bzw. topfförmige Befestiger sind zwar im Hinblick auf die Einspannung der Folie nicht ganz so günstig. Dafür besitzen solche Befestiger aber eine sehr höhere Stabilität als ein Blech, welches lediglich der Tunnelwölbung angepasst ist. Das erlaubt eine Reduzierung der Blechdicke für die Befestiger. In dem Sinne können Dicken von 2,5 mm und weniger ausreichend sein. Soweit die Erfindung im Vorstehenden anhand eines Tunnelausbaus erläutert worden ist, gilt entsprechendes für die Anwendung der Erfindung auf Stollen
- Mit dem Spritzbetonaufbau entsteht eine feste Betonschäle in einem Tunnel, welche durch die Anker mit dem Gebirge verbunden ist. Allerdings unterliegt der Tunnelausbau bei zeitgemäßer Belastung durch Kraftfahrzeuge oder durch Zugverkehr erheblichen Belastungen.
Dieser Verkehr verursacht starke Druckwellen und Saugwellen. Die Stärke ist von dem Volumen der Kraftfahrzeuge und Züge, von deren Geschwindigkeit und von den Abmessungen des Tunnels abhängig.
Durch die Druckwellen und Saugwellen wirken über die oben beschriebenen Anker auf das Gebirge. Deshalb werden erhebliche Anforderungen an die Festigkeit des Ankersitzes im Gebirge gestellt. Das hat in der Praxis dazu geführt, daß Ankerstangen von mindestens 16 mm Durchmesser, vorzugsweise von 20mm Durchmesser Verwendung gefunden haben und die Ankerstangen in gleichmäßigen, verhältnismäßig kurzen Abständen angeordnet sind. -
Fig 1 zeigt einen Gebirgsausbruch 1 im standfesten Gebirge.
In regelmäßigen Abständen sind Anker in das Gebirge eingebracht worden.
Dazu wurden entsprechende Löcher gebohrt und die Anker mit Montagezement in den Löchern festgesetzt worden. Von den Ankern sind die Mittelachsen 2 dargestellt. - Der Gebirgsausbruch 1 dient der Herstellung eines Tunnels.
Zur Drainage des austretenden Wassers und zur Sicherung gegen herabstützende Steine ist in dem Gebirgsausbruch ein Spritzbetonausbau vorgesehen.
Der Spritzbetonausbau besteht im Groben aus einer Folienschicht 4 und einer Spritzbetonschicht 3. Die Folienschicht 4 ist aus einzelnen Bahnen zusammengesetzt, die überlappend verlegt werden und an den überlappenden Rändern miteinander verschweißt sind. Dabei sind zwei nebeneinander liegende Schweißnähte mit Abstand voneinander vorgesehen. Der Hohlraum zwischen den Schweißnähten wird mit Druckluft beaufschlagt, um die Dichtigkeit der Schweißnähte zu prüfen. - Einzelheiten des Spritzbetonausbaus sind in der
Fig. 2 dargestellt.
Dabei ist ein Anker 5 schematisch dargestellt. Der Anker 5 ist an dem aus dem Gebirge herausragenden Ende mit einem Befestiger 14 verbunden. An dem Befestiger 14 liegt die Folienschicht 4 an.
An der Folienschichtseite, die dem Befestiger 14 gegenüberliegt befindet sich ein Befestiger 15. Die Befestiger 14 und 15 spannen die Folienschicht 4 zwischen sich ein.
Außerdem tragen die Befestiger einen Abstandshalter 13 für ein Drahtgeflecht 12. Das Drahtgeflecht 12 hat zwei Aufgaben. Es dient dem Aufbau der Spritzbetonschicht 3, indem es ein Herabfallen des von der Folienschicht zurückprallenden Betons verhindert. Zusätzlich bildet das Drahtgeflecht 12 eine Armierung für die Spritzbetonschicht. - Beim Spritzbetonausbau hat der Ausbau im Verhältnis zur Form so viel Gewicht, daß der Ausbau vor Erreichen ausreichender Festigkeit ohne die Anker zusammenbrechen würde. Die Anker leiten das Gewicht des Spritzbetonausbaus in das Gebirge.
Nach der Verfestigung des Spritzbetonausbaus bilden die Anker einen festen Verbund des Ausbaus mit dem Gebirge. - Die
Fig. 4 und 5 zeigen ein anderes Ausführungsbeispiel für erfindungsgemäße Befestiger. Der außenseitige Befestiger trägt die Bezeichnung 20, der innenseitige Befestiger die Bezeichnung 21.
Mit dem außenseitigen Befestiger 20 ist ein Stutzen 22 verschweißt. Der Stutzen 22 ist nicht einfach auf den geschlossenen Boden des Befestigers aufgesetzt, sondern durch eine zentrische Öffnung in dem Boden des Befestigers 20 durchgeführt, so daß der Stutzen 22 innenseitig ein Stück vorrat. Das Maß des Vorragens ist genau abgestimmt auf die Beschaffenheit zweier Dichtungen 27 und 28, welche die inFig. 4 mit 26 bezeichnete Folienschicht zwischen sich einschließen. Das Maß bestimmt die mögliche Zusammenpressung der Dichtungen 27 und 28 bei der Einspannung der Folienschicht 26.
Die Dichtungen 27 und 28 und die Folienschicht 26 besitzen ausreichende Öffnungen, um über eine als Dorn vorragende Gewindestange 23 und den vorragenden Stutzen 22 geschoben zu werden. - Der Stutzen 22 ist an jedem Ende mit einem Sackloch versehen. Beide Sacklöcher sind durch eine Materialwand voneinander getrennt. In dem folienseitigen Sackloch sitzt die Gewindestange 23 als Dorn.
In dem gegenüberliegenden, außenseitigen Sackloch sitzt in der Einbausituation der Anker.
Die beschriebene Materialwand verhindert eine durch das Gewinde hindurchgehende Leckage. - Die Dichtungen 27 und 28 bestehen im Ausführungsbeispiel aus Polyethylenschaum mit einem Raumgewicht von 30 kg pro Kubikmeter, in anderen Ausführungsbeispielen von 18 bis 40 kg pro Kubikmeter. Aufgabe der Dichtungen ist es, Ungleichmäßigkeiten in den Oberflächen der Befestiger und der Folie und Schieflagen zwischen den Befestigern auszugleichen. Die Dicke der Dichtungen beträgt dabei 5mm, in anderen Ausführungsbeispielen 3 bis 10 mm. Durch Verspannung der beiden Befestiger erfahren die Dichtungen eine starke Zusammendrückung, so daß der Raumgewicht der Dichtungen nahe an das Raumgewicht ungeschäumten Polyethylens kommt.
Die Dicke der Dichtung wird durch Verspannung der beiden Befestiger auf mindestens 50%, vorzugsweise auf mindestens 70% und noch weiter bevorzugt auf mindestens 90% reduziert. Die Reduktion bezieht sich auf das Schaumvolumen. Bei dieser Betrachtung bleibt das Volumen der ungeschäumten Folie gleichen Kunststoffes und gleichen Flächengewichtes unberücksichtigt. Das heißt, das für die Dickenreduzierung maßgebliche Ausgangsmaß wird um das Dickenmaß der ungeschäumten Folie verringert. DieFig. 13 bis 17 zeigen ein weiteres Ausführungsbeispiel für erfindungsgemäße Befestiger. Der außenseitige Befestiger trägt die Bezeichnung 520, der innenseitige Befestiger die Bezeichnung 521.
Mit dem außenseitigen Befestiger 520 ist ein Stutzen 522 verschweißt. Der Stutzen 522 besitzt zwei mit 528 und 529 bezeichnete Sacklöcher. Das Gewinde in dem Stutzen und an dem Anker ist M16.
Der Stutzen 522 ist nicht einfach auf den geschlossenen Boden des Befestigers aufgesetzt, sondern an eine zentrische Öffnung in dem Boden des Befestigers 520 aufgesetzt und dort verschweißt. Die umlaufende Schweißnaht ist mit 525 bezeichnet. Beide Sacklöcher sind mit Innengewinde versehen. In dem nach außen weisende Sackloch 528 sitzt das Ankerende 526. - Es ist außerdem kein Abstandshalter vorgesehen, so daß die mögliche Zusammenpressung der Dichtungen bei der Einspannung der Folienschicht allein durch die Anpreßkraft einer Spanneinrichtung bestimmt ist. Die Spannvorrichtung besteht aus einer Gewindestange 524 und einer Spannmutter 523. Der innenseitige Befestiger 521 hat wie der außenseitiger Befestiger die Form einer Schale.
- In den
Fig. 13 bis 15 und17 sind die Befestiger/Schalen beabstandet und ohne zwischenliegende Folie und Dichtung dargestellt, in derFig. 16 ineinander liegend. Am Rand ist der Befestiger 521 einwärts gewölbt, während der Befestiger 520 auswärts gewölbt ist. Zugleich ist der Befestiger 521 mittig schwächer gewölbt als der Befestiger 520. Dadurch berühren sich die beiden Befestiger am Rand. - Im Ausführungsbeispiel hat der Befestiger 520 einen Außendurchmesser von 300mm, der Befestiger 521 einen Außendurchmesser von 222 mm. In anderen Ausführungsbeispielen können andere Maße gewählt werden.
- Der Befestiger 520 ist als Schale so gewählt, daß er in der Stellung nach Fig. 35 den Bestiger 521 vollständig aufnimmt. Im Ausführungsbeispiel ergibt sich dadurch eine Tiefe des Befestigers 520 von 32 mm.
- Das weitere Ausführungsbeispiel nach
Fig. 18 und19 unterscheidet sich von dem nachFig. 13 bis 17 durch andere Befestiger 537 und 538. Der Befestiger 537 hat gegenüber dem Befestiger 520 einen Außendurchmesser von 160mm. Außerdem ist der Befestiger 520 weniger tief als der Befestiger 521. Der Anker 526 ist baugleich zu dem Anker 535. Das gleiche gilt für die Stutzen 536 und 522, sowie für die Gewindestangen 539 und 524 und für die Spannmuttern 540 und 523. - Der Befestiger 538 ist baugleich zu dem Befestiger 537 und spiegelbildlich angeordnet. Dadurch ergibt sich eine andere Einspannung der Folie zwischen beiden Befestigern als bei den Ausführungsbeispielen nach
Fig. 13 bis 17 . - In einem weiteren Ausführungsbeispiel sind die Dichtungen beidseitig selbstklebend ausgebildet. Die Klebeflächen sind vor der Montage durch Siliconbeschichtetes Papier abgedeckt. Das Papier wird zunächst von der Berührungsfläche mit dem Befestiger 20 abgezogen. Danach kann die Dichtung 28 auf dem Befestiger 20 positioniert und angedrückt werden. Anschließend wird von der Berührungsfläche der Dichtung 28 mit der Folienschicht 26 das Papier abgezogen und die Folienschicht gegen die Dichtung gedrückt. Es entsteht ein vorläufiger Halt der Foliendichtung 26. Zur weiteren Montage wird von der Berührungsfläche der Dichtung 27 mit der Folienschicht 26 das Papier abgezogen und die Dichtung 27 an der Folienschicht 26 positioniert und angedrückt.
Danach wird von der Berührungsfläche der Dichtung 27 mit dem innen liegenden Befestiger das Papier abgezogen und der Befestiger 21 auf den Dorn geschoben. Der Befestiger 21 hat eine Öffnung, die zwar geringfügig größer als der Durchmesser der Gewindestange 23 aber zugleich deutlich geringer als der Durchmesser des Stutzens 22 ist. - Nach dem Aufschieben des innen liegenden Befestigers ergibt sich die in
Fig. 5 dargestellte Situation. In der Situation wird noch kein Druck auf die Dichtungen ausgeübt. Die Dichtungen haben die mit 27' und 28' bezeichneten Formen bzw. Dicken. - Mit Hilfe einer Schraubenmutter 25 werden die Befestiger 20 und 21 so weit zusammengedrückt, daß die Dichtungen einen gewünschten Druck gegen die Folienschicht einerseits und gegen die Berührungsflächen mit den Befestigern andererseits entfalten.
Dieser Druck bewirkt zugleich eine Einspannung der Folienschicht. Zusammen mit der Klebeverbindung entsteht eine sehr vorteilhafte Halterung der Folienschicht. -
Fig. 6 zeigt eine weitere Ausführungsform für die Befestiger.
Dabei sind die Befestiger mit 30 und 31 bezeichnet. Die beiden Befestiger 30 und 31 schließen eine Folienschicht 32 zwischen sich ein.
Im Unterschied zu der Ausführungsform nachFig. 4 und 5 ist der außenseitige Befestiger 31 mit einer topfartigen Vertiefung versehen. Der innenseitige Befestiger 30 liegt wie ein Deckel in dem topfartigen Befestiger 31, so daß zwischen den gewölbten Rändern eine gewünschte Einspannung erfolgt. Dabei wirken geneigte Flächen wie Keile gegeneinander, so daß mit geringer Kraft über entsprechende Wege eine starke Einspannung, auch eine großflächige Einspannung erreicht werden kann.
Um eine Verletzung der Folie zu vermeiden, ist der Befestiger 31 darüber hinaus mit einem gebogenen Rand 33 versehen. -
Fig. 8 zeigt eine mögliche Wabenform 43 für das inFig. 2 dargestellte Drahtgeflecht. -
Fig. 7 zeigt einen Abstandshalter 40 für die Positionierung des Drahtgeflechtes. Der Abstandshalter 40 wird mit einer weiteren Schraubenmutter gegen die Schraubenmutter 25 gepreßt. Der Abstandshalter 40 besitzt diverse Arme, an denen das Drahtgewebe 43 verhakt werden kann. -
Fig. 9 zeigt einen herkömmlichen außenseitigen Befestiger 40 mit einem mittigen durchgehenden Gewinde und mit einem Adapter 42. Der Adapter 42 besitzt einen Dorn 41 mit einem Außengewinde. Gegenüber dem Dorn 41 hat der Adapter 42 einen Außendurchmesser, der dem Durchmesser des angeformten Stutzens 44 an dem Befestiger 40 entspricht. Der Adapter 42 ist mit seinem Dorn 41 so in dem Befestiger 40 verschraubt, daß der Adapter 42 schließend an dem Stutzen 44 anliegt bzw. die beiden Berührungsflächen gegeneinander gespannt sind. Beide Berührungsflächen sind so bearbeitet, daß eine Leckage ausgeschlossen ist. Wahlweise ist die Abdichtung zusätzlich durch einen Dichtring 45 gesichert.
Außenseitig hat der Adapter 42 ein als Gewindeloch ausgebildetes Sackloch 43, mit dem eine Verschraubung auf dem Anker möglich ist. -
Fig. 11 und 12 zeigen einen Spritzbetonausbau für einen Tunnel im standfesten Gebirge. Das Gebirge ist mit 101 bezeichnet. In das Gebirge sind Gewindestangen 102 als Anker eingebracht worden. Dazu sind in das Gebirge 101 Löcher gebohrt worden und die Anker im Gebirge verklebt worden. Die Anker sind im Abstand von 1,2m so angebracht, daß am Umfang des Gebirgsausbruch eine Vielzahl gleichmäßiger Befestigungspunkte entsteht und alle Punkt auf den Eckpunkten gleicher Quadrate mit einer Kantenlänge von 1 ;2m liegen. - Auf jeder Gewindestange 102 ist dann eine Dichtungsscheibe 103 aufgeschraubt worden. Darauf ist eine Abdichtungsbahn verlegt worden. Das Verlegen ist in der Weise erfolgt, daß die Folie auf die vorragenden Anker gesteckt worden ist. Dabei durchdringen die Anker 102 die Folie. Die entstehenden Löcher werden mittels weiterer Dichtungsscheiben 105 geschlossen. Die Dichtungsscheiben 103 und 105 spannen die Folie 104 zwischen sich ein und schließen darüber hinaus dicht mit den Ankern 102 ab.
- Nach der Montage der Folie 104 im Tunnel wird im Ausführungsbeispiel zunächst eine schnell bindende Zementmilch dünn auf die Folie gedüst. Die getrocknete Zementmilch bildet eine vorteilhafte Grundierung für einen anschließenden Auftrag von Spritzbeton. Der Spritzbeton wird schichtweise aufgetragen, beginnend an der Tunnelsohle. Die dadurch entstehende Spritzbetonschicht ist mit 106 bezeichnet. Im Ausführungsbeispiel verläuft der Tunnel horizontal, so daß der Spritzbeton in horizontalen Lagen verlegt wird, die von unten nach oben an der Folie übereinander gelegt werden. Dabei haben die Lagen eine Breite, die der gewünschten Spritzbetonschichtdicke entspricht.
In anderen Ausführungsbespielen ist eine geringere Breite der Lagen vorgesehen, so daß zunächst eine erste Spritzbetonschicht auf die Folie aufgebracht wird, welche die Folienseite vollständig überdeckt. Danach wird eine weitere Spritzbetonschicht aufgebracht, welche die zuvor erläuterte Spritzbetonschicht vollständig überdeckt. Das wird wiederholt, bis die gewünschte Dicke der Spritzbetonschicht erreicht ist. - Nach der Erstellung der Spritzbetonschicht ragen die Anker noch aus der Betonschicht vor. An den vorragenden Enden sollen Verkleidungsplatten befestigt werden, insbesondere Platten für den Brandschutz. Die Platten werden im Ausführungsbeispiel mit den Ankern 102 und Schraubenmuttern sowie Unterlegscheiben an dem Spritzbetonausbau gesichert. Damit das Gewinde der Anker 102 nicht durch den Spritzbeton unbrauchbar wird, ist das Gewinde durch Kappen beim Auftragen des Spritzbetons geschützt worden.
-
- 1
- Gebirgsausbruch
- 2
- Mittelachsen der Anker
- 3
- Spritzbetonschicht
- 4
- Folienschicht
- 5
- Anker
- 6
- 7
- 8
- 9
- 10
- 11
- 12
- Drahtgeflecht
- 13
- Abstandshalter
- 14
- außenseitiger Befestiger
- 15
- innenseitiger Befestiger
- 20
- außenseitiger Befestiger
- 21
- innenseitiger Befestiger
- 22
- Stutzen
- 23
- Gewindestange/Dorn
- 24
- 25
- Schraubenmutter
- 26
- Folienschicht
- 27
- Dichtung
- 28
- Dichtung
- 29
- 30
- innenseitiger Befestiger
- 31
- außenseitiger Befestiger
- 32
- Folienschicht
- 33
- gebogener Rand
- 40
- Abstandshalter/außenseitiger Befestiger mit durchgehendem Gewinde
- 41
- Dorn
- 42
- Adapter
- 43
- Wabenform/Drahtgewebe/Sackloch
- 44
- Stutzen
- 45
- Dichtring
- 50
- 51
- 52
- 53
- 54
- 56
- 57
- 101
- Gebirge
- 102
- Gewindestangen/Anker
- 103
- Dichtungsscheibe/außenseitiger Befestiger
- 104
- Folie
- 105
- Dichtungsscheibe/innenseitiger Befestiger
- 106
- Spritzbetonschicht
- 520
- außenseitiger Befestiger
- 521
- innenseitiger Befestiger
- 522
- 523
- Spannmutter
- 524
- Gewindestange
- 525
- Schweißnaht
- 527
- 528
- Sackloch
- 535
- Anker
- 536
- Stutzen
- 537
- innenseitiger Befestiger
- 538
- außenseitiger Befestiger
- 539
- Gewindestange
- 540
- Spannmutter
Claims (24)
- Ausbau für den Tunnelausbau oder Ausbau von Stollen im standfesten Gebirge (101),
mit einer Abdichtung in Form einer Folie (4, 26, 32, 104) gegen Wasser,
wobei Anker (2, 5, 102, 535) verwendet werden, die in das standfeste
Gebirge (101) eingebracht werden und den Tunnelausbau im Abstand von dem Gebirgsausbruch (1) halten,
wobei die Folie mittels Befestigern (14,15,20,21,30,31,520,521,537,538) an den Ankern (2, 5, 102, 535) gehalten wird, wobei die Folie (4,26,32,104) jeweils zwischen zwei Befestigern (9,14,15,20,21,30,31,520,521,537,538) eingespannt wird, von denen der eine außenseitig an der Folie (4,26,32,104)
und der andere innenseitig an der Folie (4,26,32,104) angeordnet ist,
wobei der außenseitige Befestiger (9,14,20,31,520,538) eine
Schraubverbindung mit dem Anker (2, 5, 102, 535) hat
und wobei an der Folie (4,26,32,104) eine Spritzbetonschicht (3) aufgebaut werden kann,
dadurch gekennzeichnet, daß der außenseitige Befestiger (9,14,20,31,520,538) mit einem als Sackloch (528) ausgebildeten Gewindeloch auf dem Anker (2, 5, 102, 535) aufschraubbar ist, wobei das Sackloch (528)nach außen weist. - Ausbau nach Anspruch 1, dadurch gekennzeichnet, daß der außenseitige Befestiger (14,20,31,520,538) zum Anker (2, 5, 102, 535) hin einen angeformten oder befestigten Stutzen (22,44,57,536) mit einem nach außen weisenden Sackloch aufweist
- Ausbau nach Anspruch 1 oder 2, dadurch gekennzeichnet, daß der außenseitige Befestiger (14,20,31,520,538) zum innenseitigen Befestiger (15,21,31,521,537) hin einen angeformten oder befestigten Dorn aufweist, der für die Verspannung des innenseitigen Befestigers (15,21,31,521,537) mit einem Außengewinde versehen ist,
- Ausbau nach Anspruch 1 oder 2, dadurch gekennzeichnet, daß der außenseitige Befestiger (40)a)ein durchgehendes mittiges Gewindeloch besitzt undb)das Gewindeloch außenseitig mit einem Adapter (42) verschlossen ist,c)wobei der Adapter (42) mit einem Gewindezapfen in das Gewindeloch des Befestigers greift undd) mit einer Dichtfläche gegen eine andere Dichtfläche am Befestiger gespannt iste) wobei der Adapter (42) außenseitig ein als Sackloch (43) ausgebildetes Gewindeloch besitzt, mit dem der Befestiger auf den Anker aufschraubbar istf) und wobei der Anker am korrespondierenden Ende ein Außengewinde besitzt
- Ausbau nach Anspruch 4, dadurch gekennzeichnet, daß innenseitig ein Dorn vorgesehen ist, der für die Verspannung des innenseitigen Befestigers (15,21,31,521,537) ein Außengewinde aufweist.
- Ausbau nach Anspruch 1 oder 2, dadurch gekennzeichnet, daß an dem außenseitigen Befestiger (9,14,20,31,520,538) ein Stutzen (22,44,536) vorgesehen ist und
der Stutzen (22,44,536) am außenseitigen Ende ein als Sackloch (528) ausgebildetes Gewindeloch besistzt und
am innenseitigen Ende ein weiteres Gewindeloch als Sackloch (529) besitzt und daß innenseitig ein Dorn für die Verspannung des innenseitigen Befestigers (15,21,31,521,537) in dem Gewindeloch verschraubt ist - Ausbau nach einem der Ansprüche 1,2,6, dadurch gekennzeichnet, daß an dem außenseitigen Befestiger (14,20,31,520,538) ein Stutzen (22,44,536) mit einem nach außen weisenden Sackloch vorgesehen ist und der Stutzen (22,44,536) mit dem außenseitigen Befestiger (9,14,20,31,520,538) dichtend verschweißt ist
- Ausbau nach einem der Ansprüche 1 bis 7, dadurch gekennzeichnet, daß die beiden Befestiger schalenförmig ausgebildet sind, wobei die Schalen ineinander liegen oder spiegelbildlich angeordnet sind.
- Ausbau nach Anspruch 8, dadurch gekennzeichnet, daß die Schale des außenseitigen Befestigers (9,14,20,31,520,538) größer als die Schale des inneren Befestigers ist, so daß der innere Befestiger in dem äußeren Befestiger liegen kann, wobei der innere Befestiger am Rand eine zusätzliche Einwärtswölbung besitzt und der äußere Befestiger am Rand eine zusätzliche Auswärtswölbung besitzt
- Ausbau nach Anspruch 8 oder 9, dadurch gekennzeichnet, daß beide Befestiger baugleich ausgebildet und spiegelbildlich zueinander angeordnet sind, wobei beide Befestiger am Rand eine Auswärtswölbung besitzen.
- Ausbau nach Anspruch 4, dadurch gekennzeichnet, daß der Adapter einen Gewindezapfen besitzt, der zugleich einen Dorn für die Verspannung des innenseitigen Befestigers (15,21,31,521,537) bildet.
- Ausbau nach einem der Ansprüche 1 bis 11, gekennzeichnet durch eine Verlängerungsstange zwischen dem Ankerende und dem außenseitigen Befestiger (14,20,31,520,538).
- Ausbau nach Anspruch 12, dadurch gekennzeichnet, daß die Verlängerungsstange aus einer Gewindestange mit gleichem Gewinde wie das korrespondierende Ankerende besteht und daß zur Verbindung mit dem korrespondierenden Ankerende eine Hülse vorgesehen ist.
- Ausbau nach Anspruch 12 oder 13, gekennzeichnet durch Hülse zur Verbindung der Verlängerungsstange mit dem Ankerende, die aus dem gleichen Material wie die den Stutzen (22,44,536) an dem außenseitige Befestiger (14,20,31,520,538) bildende Hülse besteht.
- Ausbau nach einem der Ansprüche 11 bis 14, dadurch gekennzeichnet, daß der Dorn aus dem gleichen Material wie die Verlängerungsstange und/oder die Verlängerungsstange aus dem gleichen Material wie der Anker (2, 5, 102, 535) besteht.
- Ausbau nach einem der Ansprüche 1 bis 15, dadurch gekennzeichnet, daß die Überlappung zweier miteinander verschraubter Teile ein Maß hat, das mindestens gleich der Dicke einer Schraubenmutter mit gleichem Gewinde ist.
- Ausbau nach Anspruch 16, dadurch gekennzeichnet, daß der Stutzen (22,44,536) einen Durchmesser hat, der mindestens gleich dem Durchmesser einer Schraubenmutter mit gleichem Gewinde ist.
- Ausbau nach Anspruch 16 oder 17, dadurch gekennzeichnet daß das Überlappungsmaß der verschraubten Teile und/oder der Durchmesser des Stutzens (22,44,536) mit einem Sicherheitsfaktor von mindestens 1,5 aus einer Schraubenmutter abgeleitet ist.
- Ausbau nach einem der Ansprüche 1 bis 18, gekennzeichnet durch eine topfförmige Vertiefung des einen Befestigers und eine deckelförmige Ausbildung des anderen Befestigers.
- Ausbau nach einem der Ansprüche 1 bis 19, gekennzeichnet durch Befestiger-Abmessungen von 10mm bis 2000 mm, vorzugsweise von 80 bis 300 mm, noch weiter bevorzugt von 130 bis 300 mm.
- Ausbau nach einem der Ansprüche 1 bis 20, dadurch gekennzeichnet, daß die Befestiger ganz oder teilweise aus rostfreiem Stahl und/oder aus Kunststoff bestehen.
- Ausbau nach Anspruch 21, gekennzeichnet durch die Verwendung von Polyester, insbesondere von PET, oder Polyamid als Kunststoff und/oder eine Armierung im Kunststoff.
- Ausbau nach Anspruch 21 oder 22, gekennzeichnet durch eine Faserarmierung des Kunststoffes.
- Ausbau nach einem der Ansprüche 1 bis 23, gekennzeichnet durch einen Korrosionsschutz der Befestiger mit Epoxidharz oder Zink.
Applications Claiming Priority (6)
| Application Number | Priority Date | Filing Date | Title |
|---|---|---|---|
| DE102005032434 | 2005-07-09 | ||
| DE102005038363 | 2005-08-11 | ||
| DE200510048118 DE102005048118A1 (de) | 2005-10-06 | 2005-10-06 | Spritzbetonbau mit Foliendichtung |
| DE102005057959A DE102005057959A1 (de) | 2005-07-09 | 2005-12-03 | Befestiger für Abdichtungsbahnen |
| DE102005057960 | 2005-12-03 | ||
| EP06776099A EP1902197A2 (de) | 2005-07-09 | 2006-06-30 | Ausbau im hoch- und tiefbau |
Related Parent Applications (2)
| Application Number | Title | Priority Date | Filing Date |
|---|---|---|---|
| EP06776099A Division EP1902197A2 (de) | 2005-07-09 | 2006-06-30 | Ausbau im hoch- und tiefbau |
| EP06776099.1 Division | 2006-06-30 |
Publications (3)
| Publication Number | Publication Date |
|---|---|
| EP1950375A2 EP1950375A2 (de) | 2008-07-30 |
| EP1950375A3 EP1950375A3 (de) | 2008-08-27 |
| EP1950375B1 true EP1950375B1 (de) | 2010-05-12 |
Family
ID=37637516
Family Applications (4)
| Application Number | Title | Priority Date | Filing Date |
|---|---|---|---|
| EP14002660.0A Not-in-force EP2837768B1 (de) | 2005-07-09 | 2006-06-30 | Ausbau im Hoch- und Tiefbau |
| EP11008814.3A Not-in-force EP2420648B1 (de) | 2005-07-09 | 2006-06-30 | Ausbau im Hoch- und Tiefbau |
| EP08002696A Active EP1950375B1 (de) | 2005-07-09 | 2006-06-30 | Ausbau im Hoch- und Tiefbau |
| EP06776099A Withdrawn EP1902197A2 (de) | 2005-07-09 | 2006-06-30 | Ausbau im hoch- und tiefbau |
Family Applications Before (2)
| Application Number | Title | Priority Date | Filing Date |
|---|---|---|---|
| EP14002660.0A Not-in-force EP2837768B1 (de) | 2005-07-09 | 2006-06-30 | Ausbau im Hoch- und Tiefbau |
| EP11008814.3A Not-in-force EP2420648B1 (de) | 2005-07-09 | 2006-06-30 | Ausbau im Hoch- und Tiefbau |
Family Applications After (1)
| Application Number | Title | Priority Date | Filing Date |
|---|---|---|---|
| EP06776099A Withdrawn EP1902197A2 (de) | 2005-07-09 | 2006-06-30 | Ausbau im hoch- und tiefbau |
Country Status (7)
| Country | Link |
|---|---|
| EP (4) | EP2837768B1 (de) |
| AT (1) | ATE467747T1 (de) |
| DE (1) | DE502006006948D1 (de) |
| DK (1) | DK1950375T3 (de) |
| ES (3) | ES2341592T3 (de) |
| NO (2) | NO341102B1 (de) |
| WO (1) | WO2007006428A2 (de) |
Cited By (2)
| Publication number | Priority date | Publication date | Assignee | Title |
|---|---|---|---|---|
| WO2019108068A2 (en) | 2017-11-29 | 2019-06-06 | John Oldroyd Cheetham | Disk for fixing and sealing a lining and method for providing a fluid tight suspension of a membrane on tunnel walls |
| WO2024112209A1 (en) | 2022-11-24 | 2024-05-30 | John Oldroyd Cheetham | A system for fixing and sealing a lining providing a fluid tight suspension of a membrane on tunnel walls |
Families Citing this family (9)
| Publication number | Priority date | Publication date | Assignee | Title |
|---|---|---|---|---|
| EP2837768B1 (de) | 2005-07-09 | 2018-01-31 | Skumtech AS | Ausbau im Hoch- und Tiefbau |
| NO334815B1 (no) * | 2009-02-03 | 2014-06-02 | John Oldroyd Cheetham | Vanntett membran av et ekstrudert plastmateriale |
| DE102012012522A1 (de) | 2011-11-16 | 2013-05-16 | Skumtech As | Ausbau im Hoch- und Tiefbau |
| CN105201532B (zh) * | 2015-09-11 | 2017-09-22 | 中铁九局集团第二工程有限公司 | 软弱围岩下地下大跨径球冠状穹顶的环形开挖施工方法 |
| KR101790217B1 (ko) * | 2016-12-30 | 2017-10-25 | 씨카코리아(주) | 방수 시스템 |
| CN108194106B (zh) * | 2018-02-26 | 2019-09-03 | 龚岗 | 隧道锚喷支护混凝土台车用移动式灌注施工工艺 |
| CN109973120B (zh) * | 2019-04-28 | 2020-01-10 | 中国矿业大学 | 一种预留卸压观测钻孔并联合注浆的两巷变形控制方法 |
| CN110159309B (zh) * | 2019-05-27 | 2021-03-23 | 中国水利水电第八工程局有限公司 | 一种采用泡沫混凝土回填矿山法隧道的施工方法 |
| CN115234241B (zh) * | 2022-07-25 | 2023-06-06 | 广东省源天工程有限公司 | 一种引水隧洞的施工方法 |
Family Cites Families (64)
| Publication number | Priority date | Publication date | Assignee | Title |
|---|---|---|---|---|
| AT194605B (de) | 1954-01-23 | 1958-01-10 | Munk & Schmitz Kommanditgesell | Verfahren und Vorrichtung zum Flammenspritzen pulverförmiger oder pastöser thermoplastischer Stoffe |
| GB777984A (en) | 1954-01-26 | 1957-07-03 | Montedison Spa | Method for assuring the adhesion of polyethylene coatings to surfaces |
| US2936814A (en) | 1956-06-25 | 1960-05-17 | Goodyear Tire & Rubber | Method of embedding particles in plastic sheet material |
| US2987104A (en) | 1957-09-19 | 1961-06-06 | Congoleum Nairn Inc | Method of producing decorative surface covering |
| US3622422A (en) | 1965-12-15 | 1971-11-23 | Kendall & Co | Process for producing a nonwoven fabric |
| DE2400866C2 (de) * | 1974-01-09 | 1981-10-01 | Ruhrkohle Ag, 4300 Essen | Ausbau für unterirdische Räume, insbesondere im Tunnel- und im Untertagebergbau, z.B. zum Streckenausbau |
| DE2833148A1 (de) * | 1978-07-28 | 1980-02-07 | Dynamit Nobel Ag | Abdichtung von wandungen gegen druckund/oder sickerwasser unter verwendung einer mehrschichtigen dichtungsbahn |
| DE3244000A1 (de) | 1982-11-27 | 1984-05-30 | Niederberg-Chemie GmbH, 4133 Neukirchen-Vluyn | Spritzbetonausbau |
| DE3622559A1 (de) | 1986-07-04 | 1987-05-21 | Schlegel Lining Tech Gmbh | Verfahren zum ausruesten der oberflaeche einer folie aus schweissbarem polymerwerkstoff mit vorspruengen sowie nach diesem verfahren hergestellte folie |
| DE3626980A1 (de) | 1986-08-08 | 1988-02-11 | Niederberg Chemie | Tunnelausbau |
| DE8701969U1 (de) | 1986-12-09 | 1987-04-02 | Niederberg-Chemie GmbH, 4133 Neukirchen-Vluyn | Rondelle |
| DE8632994U1 (de) | 1986-12-09 | 1987-02-05 | Niederberg-Chemie GmbH, 4133 Neukirchen-Vluyn | Rondelle |
| DE3741699A1 (de) | 1987-12-09 | 1989-06-22 | Niederberg Chemie | Frostsicherung |
| JPH0742497B2 (ja) | 1988-02-04 | 1995-05-10 | 山陽特殊製鋼株式会社 | 耐食・耐熱軸受用鋼の熱処理方法 |
| DE3823898A1 (de) | 1988-07-14 | 1990-01-25 | Niederberg Chemie | Frostsicherung im tunnel |
| DE8809049U1 (de) | 1988-07-14 | 1988-09-01 | Niederberg-Chemie GmbH, 4133 Neukirchen-Vluyn | Abdichtungsbahn für Tunnelisolierung |
| IT1234069B (it) | 1989-04-28 | 1992-04-29 | Trevi Spa | Procedimento per l'esecuzione del rivestimento di una galleria ed apparecchiatura per l'attivazione di tale procedimento |
| US5002438B1 (en) | 1990-01-03 | 1995-05-30 | Strong Systems Inc | Method of rehabilitating manholes by custom lining/relining. |
| GB9001799D0 (en) | 1990-01-26 | 1990-03-28 | Blue Circle Ind Plc | Cementitious composition and making concrete therefrom |
| DE4100902A1 (de) | 1990-02-26 | 1991-08-29 | Huels Troisdorf | Verfahren zum befestigen von folien oder bahnen zu abdichtungszwecken an einem untergrund |
| JPH0819833B2 (ja) * | 1990-05-24 | 1996-02-28 | 環構エンヂニアリング株式会社 | トンネル構築における防水シートの取付方法およびその取付部材 |
| NO172255C (no) | 1991-01-08 | 1993-06-23 | Sandoz Ltd | Fremgangsmaate ved innblanding av tilsetningsstoffer i en stoepemasse samt tilsetning til bruk ved fremgangsmaaten |
| DE4207210A1 (de) | 1992-03-06 | 1993-09-09 | Mauser Werke Gmbh | Verfahren und vorrichtung zur erhoehung der oberflaechenrauhigkeit von thermoplastischen kunststoffen |
| SE501419C2 (sv) | 1993-02-25 | 1995-02-13 | Svensk Glasaatervinning Ab | Förfarande för framställning av betong innefattande glasfiller samt användning av glasfiller vid framställning av betong |
| FR2708592B1 (fr) | 1993-07-29 | 1995-09-29 | Lafarge Coppee | Agent accélérateur de prise et du durcissement des liants hydrauliques siliciques. |
| JPH0742497A (ja) * | 1993-07-30 | 1995-02-10 | Kanko Eng Kk | 遮水シートの取付方法とその取付部材 |
| CH686513A5 (de) | 1993-12-06 | 1996-04-15 | Sika Ag | Verfahren zur Beschleunigung des Abbindens und Erhaertens eines Bindemitteln und Abbinde-und Erhaertungsbeschleuniger. |
| US5612081A (en) | 1994-11-25 | 1997-03-18 | Netlon Limited | Applying grit particles to a continuous web |
| DE19519595A1 (de) | 1995-05-29 | 1996-12-05 | Niedlich Thorsten | Verfahren zur Befestigung von Bahnen oder Platten für Abdichtungs- und Schutzzwecke an einem Untergrund im Ingenieur-, Tief-Wasser- und Tunnelbau |
| CH691873A5 (de) * | 1995-12-27 | 2001-11-15 | Mbt Holding Ag | Verfahren und Einrichtung zum Beschichten von Tunnelinnenwänden mit Spritzbeton. |
| US5728424A (en) | 1996-04-10 | 1998-03-17 | Gse Lining Technology, Inc. | Method for forming a textured surface on a geomembrane |
| NO301786B1 (no) * | 1996-04-11 | 1997-12-08 | Oersta Staalindustri | Anordning for festing av tunnelkledning |
| EP0807614B1 (de) | 1996-05-13 | 2003-04-23 | Denki Kagaku Kogyo Kabushiki Kaisha | Beschleunigungsmittel, Sprühmaterial und Verfahren das dieses Material verwendet |
| AU723970B2 (en) | 1996-06-14 | 2000-09-07 | Construction Research & Technology Gmbh | Concrete spraying additives |
| IT1283165B1 (it) | 1996-07-17 | 1998-04-07 | Italcementi Spa | Cemento rapido contenente clinker a base di fluoroalluminato di calcio miscelato con calce |
| DE19650330A1 (de) | 1996-08-16 | 1998-02-19 | Johannes Junior | Verfahren und Vorrichtung im Tunnelbau |
| SE9603418D0 (sv) | 1996-09-19 | 1996-09-19 | Eka Chemicals Ab | A method for preparation of a hardening composition |
| GB9625163D0 (en) | 1996-12-04 | 1997-01-22 | Sandoz Ltd | Organic compounds |
| JPH10306695A (ja) * | 1997-04-28 | 1998-11-17 | Taisei Corp | トンネルにおける鉄筋吊り下げ金具 |
| DE19718035C2 (de) * | 1997-04-29 | 2000-07-27 | Gse Lining Technology Gmbh | Verfahren zum Aufbringen von Kunststoffpartikel auf eine Kunststoffplatte zur Herstellung einer rauhen Oberfläche |
| GB9708831D0 (en) | 1997-04-30 | 1997-06-25 | Unilever Plc | Suspensions with high storage stability, comprising an aqueous silicate solution and filler material |
| DE19721799A1 (de) | 1997-05-24 | 1998-11-26 | Naue Fasertechnik | Kunststoffdichtungsbahn mit flacher Oberflächenprofilierung und zusätzlich herausragenden Spikes |
| AT2027U1 (de) | 1997-05-27 | 1998-03-25 | Lukas Walter Dr | Spritzdüse und verfahren zum trockenspritzen von spritzbeton |
| DE29710362U1 (de) | 1997-06-13 | 1997-08-14 | Ed. Züblin AG, 70567 Stuttgart | Vorrichtung zum Betonieren von bewehrten Decken, speziell Gewölben von Tunneln |
| DE19733029C2 (de) | 1997-07-31 | 2002-03-28 | Ludwig Pfeiffer | Verfahren zur Sanierung einer Rohrleitung, insbesondere für den Tiefbau |
| DE29718950U1 (de) | 1997-10-24 | 1998-01-02 | Eber, Friedhelm, 45701 Herten | Spritzdüse zum Ausblasen von fertigen Gemischen, wie Spritzbeton, Spritzmörtel, Schaumbeton, Schaummörtel o.dgl. |
| DE19746958C1 (de) | 1997-10-24 | 1999-06-17 | Friedhelm Eber | Vorrichtung zur Herstellung eines Feststoff-Luft-Flüssigkeitsgemisches, insbesondere zur Herstellung von Spritzmörtel oder dergleichen |
| DE19754446A1 (de) | 1997-12-08 | 1999-06-10 | Dyckerhoff Ag | Spritzbindemittel und dessen Verwendung |
| DE29824292U1 (de) | 1997-12-08 | 2000-10-26 | Dyckerhoff AG, 65203 Wiesbaden | Spritzbeton |
| US5981630A (en) | 1998-01-14 | 1999-11-09 | Synthetic Industries, Inc. | Fibers having improved sinusoidal configuration, concrete reinforced therewith and related method |
| DE19819148C1 (de) | 1998-04-24 | 1999-12-16 | Mannesmann Ag | Faser zur Verstärkung gießbarer aushärtender Werkstoffe sowie Verfahren und Vorrichtung zu deren Herstellung |
| DE29812769U1 (de) | 1998-07-17 | 1998-11-12 | Hanisch, Wolfgang, 02826 Görlitz | Anhängefahrzeug, insbesondere an Personenkraftwagen, für Werbung und Information |
| GB2340070B (en) | 1998-07-28 | 2003-04-16 | Fosroc International Ltd | Waterproofing membranes and a method for their application |
| DE19838710C2 (de) | 1998-08-26 | 2002-03-21 | Spritzbeton Stuttgart Gmbh & C | Verfahren zur Herstellung spritzfertigen Spritzbetons |
| DE29818934U1 (de) | 1998-10-23 | 2000-02-24 | Tepe Maschinen-, Anlagen- und Industrieanlagenbau GmbH, 99706 Sondershausen | Vorrichtung zur Herstellung gebrauchsfertiger Mischungen aus Schüttgut |
| DE19851913C2 (de) | 1998-11-11 | 2001-02-15 | Rombold & Gfroehrer Gmbh & Co | Verfahren zum Herstellen eines Spritzbetons oder Spritzmörtels |
| DE29825081U1 (de) | 1998-11-25 | 2004-09-09 | Dyckerhoff Ag | Schnellsterstarrende hydraulische Bindemittelzusammensetzung |
| DE19854476C2 (de) | 1998-11-25 | 2002-04-11 | Dyckerhoff Ag | Sulfatträgerfreie hydraulische Bindemittelzusammensetzung sowie deren Verwendung |
| JP2000220395A (ja) * | 1999-02-02 | 2000-08-08 | Bridgestone Corp | 施工面への覆工コンクリート用支持材の取付けに用いる防水型連結具 |
| IT1308638B1 (it) | 1999-03-02 | 2002-01-09 | Italcementi Spa | Cemento rapido a base di calce e alluminati. |
| DE60010252T2 (de) | 2000-08-08 | 2004-08-26 | Denki Kagaku Kogyo K.K. | Beschleunigungsmittel, Spritzmaterial und seine Verwendung in einem Spritzverfahren |
| DE20217044U1 (de) | 2002-11-05 | 2003-06-26 | Mohr, Peter, 81825 München | Schutzschicht aus zweilagigem Vlies mit innenliegenden Schweißflächen |
| DE102005019645A1 (de) * | 2005-04-26 | 2006-11-02 | Skumtech As | Spritzbetonbau mit Foliendichtung |
| EP2837768B1 (de) | 2005-07-09 | 2018-01-31 | Skumtech AS | Ausbau im Hoch- und Tiefbau |
-
2006
- 2006-06-30 EP EP14002660.0A patent/EP2837768B1/de not_active Not-in-force
- 2006-06-30 ES ES08002696T patent/ES2341592T3/es active Active
- 2006-06-30 ES ES14002660.0T patent/ES2659022T3/es active Active
- 2006-06-30 WO PCT/EP2006/006358 patent/WO2007006428A2/de not_active Ceased
- 2006-06-30 DE DE502006006948T patent/DE502006006948D1/de active Active
- 2006-06-30 EP EP11008814.3A patent/EP2420648B1/de not_active Not-in-force
- 2006-06-30 DK DK08002696.6T patent/DK1950375T3/da active
- 2006-06-30 AT AT08002696T patent/ATE467747T1/de active
- 2006-06-30 EP EP08002696A patent/EP1950375B1/de active Active
- 2006-06-30 EP EP06776099A patent/EP1902197A2/de not_active Withdrawn
- 2006-06-30 ES ES11008814.3T patent/ES2523276T3/es active Active
-
2007
- 2007-12-27 NO NO20076650A patent/NO341102B1/no not_active IP Right Cessation
-
2016
- 2016-05-04 NO NO20160753A patent/NO20160753A1/no not_active Application Discontinuation
Cited By (2)
| Publication number | Priority date | Publication date | Assignee | Title |
|---|---|---|---|---|
| WO2019108068A2 (en) | 2017-11-29 | 2019-06-06 | John Oldroyd Cheetham | Disk for fixing and sealing a lining and method for providing a fluid tight suspension of a membrane on tunnel walls |
| WO2024112209A1 (en) | 2022-11-24 | 2024-05-30 | John Oldroyd Cheetham | A system for fixing and sealing a lining providing a fluid tight suspension of a membrane on tunnel walls |
Also Published As
| Publication number | Publication date |
|---|---|
| EP2420648A2 (de) | 2012-02-22 |
| NO341102B1 (no) | 2017-08-28 |
| ATE467747T1 (de) | 2010-05-15 |
| EP2837768A2 (de) | 2015-02-18 |
| WO2007006428A2 (de) | 2007-01-18 |
| EP1950375A3 (de) | 2008-08-27 |
| ES2659022T3 (es) | 2018-03-13 |
| EP2420648A3 (de) | 2013-01-02 |
| EP2837768B1 (de) | 2018-01-31 |
| NO20160753A1 (no) | 2016-05-04 |
| EP2837768A3 (de) | 2015-09-09 |
| ES2523276T3 (es) | 2014-11-24 |
| WO2007006428A3 (de) | 2007-03-29 |
| DK1950375T3 (da) | 2010-07-05 |
| DE502006006948D1 (de) | 2010-06-24 |
| EP1902197A2 (de) | 2008-03-26 |
| EP1950375A2 (de) | 2008-07-30 |
| NO20076650L (no) | 2007-12-27 |
| EP2420648B1 (de) | 2014-10-08 |
| ES2341592T3 (es) | 2010-06-22 |
Similar Documents
| Publication | Publication Date | Title |
|---|---|---|
| EP1950375B1 (de) | Ausbau im Hoch- und Tiefbau | |
| DE102007026990A1 (de) | Ausbau im Hoch- und Tiefbau | |
| DE202005019668U1 (de) | Dämmsystem | |
| EP2295660B1 (de) | Verfahren zur installation von dämmplatten | |
| DE102017002170A1 (de) | Abstandshalter und Befestiger für durch eine Fassade hindurch an Gebäuden zu befestigenden Teile | |
| DE102012012522A1 (de) | Ausbau im Hoch- und Tiefbau | |
| EP1828487A1 (de) | Verfahren zum setzen von ankern und bei diesem verfahren verwendbarer anker | |
| DE3216232C2 (de) | Verankerung für einen metallischen Sockel | |
| EP1978207A2 (de) | Brandschutz an Bauwerken | |
| AT511240B1 (de) | Verfahren zum erstellen eines bauwerkes und mauerwerk-verankerungssystem | |
| DE102018008598A1 (de) | Abstandshalter und Befestiger für durch eine Fassade hindurch am Gebäude zu befestigenden Teile | |
| DE102005057959A1 (de) | Befestiger für Abdichtungsbahnen | |
| DE202018006261U1 (de) | Abstandshalter und Befestiger für durch eine Fassade hindurch an Gebäuden zu befestigende Teile | |
| DE102008010657A1 (de) | Ausbau mit Spritzbeton | |
| DE102008046055A1 (de) | Tunnelausbau mit Wärmeisolierung und Spritzbeton | |
| DE10327607B3 (de) | Steifenanschluss | |
| DE3931369C2 (de) | Vorrichtung und Verfahren zur Befestigung von Abdichtungsbahnen an Betonschichten in Gebirgsausbrüchen für Tunnels | |
| WO2023237570A1 (de) | Tunnelausbauelement | |
| DE6909859U (de) | Verankerungs-bolzen zum verfestigen von steilwaenden und gelaendeboden, insbesondere der stollen von bergwerken. | |
| EP0686736B1 (de) | Verfahren und Vorrichtung zum Befestigen von Halterungen an den Stirnseiten von Betonplatten oder Betonscheiben | |
| DE102011120942A1 (de) | Tunnelausbau mit Wärmeisolierung und Spritzbeton | |
| DE9421453U1 (de) | Vorrichtung zum Befestigen von Halterungen an den Stirnseiten von Betonplatten oder Betonscheiben | |
| DE2139168A1 (de) | Zugstangeneinrichtung für Betongießformen | |
| DE102005048118A1 (de) | Spritzbetonbau mit Foliendichtung | |
| DE102005052220A1 (de) | Ankertechnik im Gebirge |
Legal Events
| Date | Code | Title | Description |
|---|---|---|---|
| PUAI | Public reference made under article 153(3) epc to a published international application that has entered the european phase |
Free format text: ORIGINAL CODE: 0009012 |
|
| PUAL | Search report despatched |
Free format text: ORIGINAL CODE: 0009013 |
|
| 17P | Request for examination filed |
Effective date: 20080213 |
|
| AC | Divisional application: reference to earlier application |
Ref document number: 1902197 Country of ref document: EP Kind code of ref document: P |
|
| AK | Designated contracting states |
Kind code of ref document: A2 Designated state(s): AT BE BG CH CY CZ DE DK EE ES FI FR GB GR HU IE IS IT LI LT LU LV MC NL PL PT RO SE SI SK TR |
|
| AX | Request for extension of the european patent |
Extension state: AL BA HR MK RS |
|
| AK | Designated contracting states |
Kind code of ref document: A3 Designated state(s): AT BE BG CH CY CZ DE DK EE ES FI FR GB GR HU IE IS IT LI LT LU LV MC NL PL PT RO SE SI SK TR |
|
| AX | Request for extension of the european patent |
Extension state: AL BA HR MK RS |
|
| RIC1 | Information provided on ipc code assigned before grant |
Ipc: E21D 11/38 20060101AFI20080624BHEP Ipc: E21D 21/00 20060101ALI20080718BHEP Ipc: E21D 11/10 20060101ALI20080718BHEP |
|
| 17Q | First examination report despatched |
Effective date: 20080908 |
|
| AKX | Designation fees paid |
Designated state(s): AT BE BG CH CY CZ DE DK EE ES FI FR GB GR HU IE IS IT LI LT LU LV MC NL PL PT RO SE SI SK TR |
|
| GRAP | Despatch of communication of intention to grant a patent |
Free format text: ORIGINAL CODE: EPIDOSNIGR1 |
|
| RTI1 | Title (correction) |
Free format text: SUPPORT FOR CONSTRUCTIONS ABOVE AND BELOW GROUND |
|
| GRAS | Grant fee paid |
Free format text: ORIGINAL CODE: EPIDOSNIGR3 |
|
| GRAA | (expected) grant |
Free format text: ORIGINAL CODE: 0009210 |
|
| AC | Divisional application: reference to earlier application |
Ref document number: 1902197 Country of ref document: EP Kind code of ref document: P |
|
| AK | Designated contracting states |
Kind code of ref document: B1 Designated state(s): AT BE BG CH CY CZ DE DK EE ES FI FR GB GR HU IE IS IT LI LT LU LV MC NL PL PT RO SE SI SK TR |
|
| REG | Reference to a national code |
Ref country code: GB Ref legal event code: FG4D Free format text: NOT ENGLISH |
|
| REG | Reference to a national code |
Ref country code: CH Ref legal event code: EP |
|
| REG | Reference to a national code |
Ref country code: CH Ref legal event code: NV Representative=s name: ROTTMANN, ZIMMERMANN + PARTNER AG |
|
| REG | Reference to a national code |
Ref country code: ES Ref legal event code: FG2A Ref document number: 2341592 Country of ref document: ES Kind code of ref document: T3 |
|
| REG | Reference to a national code |
Ref country code: IE Ref legal event code: FG4D Free format text: LANGUAGE OF EP DOCUMENT: GERMAN |
|
| REF | Corresponds to: |
Ref document number: 502006006948 Country of ref document: DE Date of ref document: 20100624 Kind code of ref document: P |
|
| REG | Reference to a national code |
Ref country code: DK Ref legal event code: T3 |
|
| REG | Reference to a national code |
Ref country code: SE Ref legal event code: TRGR |
|
| REG | Reference to a national code |
Ref country code: NL Ref legal event code: VDEP Effective date: 20100512 |
|
| REG | Reference to a national code |
Ref country code: SK Ref legal event code: T3 Ref document number: E 7507 Country of ref document: SK |
|
| LTIE | Lt: invalidation of european patent or patent extension |
Effective date: 20100512 |
|
| PG25 | Lapsed in a contracting state [announced via postgrant information from national office to epo] |
Ref country code: NL Free format text: LAPSE BECAUSE OF FAILURE TO SUBMIT A TRANSLATION OF THE DESCRIPTION OR TO PAY THE FEE WITHIN THE PRESCRIBED TIME-LIMIT Effective date: 20100512 Ref country code: LT Free format text: LAPSE BECAUSE OF FAILURE TO SUBMIT A TRANSLATION OF THE DESCRIPTION OR TO PAY THE FEE WITHIN THE PRESCRIBED TIME-LIMIT Effective date: 20100512 |
|
| PG25 | Lapsed in a contracting state [announced via postgrant information from national office to epo] |
Ref country code: SI Free format text: LAPSE BECAUSE OF FAILURE TO SUBMIT A TRANSLATION OF THE DESCRIPTION OR TO PAY THE FEE WITHIN THE PRESCRIBED TIME-LIMIT Effective date: 20100512 Ref country code: LV Free format text: LAPSE BECAUSE OF FAILURE TO SUBMIT A TRANSLATION OF THE DESCRIPTION OR TO PAY THE FEE WITHIN THE PRESCRIBED TIME-LIMIT Effective date: 20100512 |
|
| REG | Reference to a national code |
Ref country code: IE Ref legal event code: FD4D |
|
| BERE | Be: lapsed |
Owner name: SKUMTECH AS Effective date: 20100630 |
|
| PG25 | Lapsed in a contracting state [announced via postgrant information from national office to epo] |
Ref country code: CY Free format text: LAPSE BECAUSE OF FAILURE TO SUBMIT A TRANSLATION OF THE DESCRIPTION OR TO PAY THE FEE WITHIN THE PRESCRIBED TIME-LIMIT Effective date: 20100526 Ref country code: PL Free format text: LAPSE BECAUSE OF FAILURE TO SUBMIT A TRANSLATION OF THE DESCRIPTION OR TO PAY THE FEE WITHIN THE PRESCRIBED TIME-LIMIT Effective date: 20100512 |
|
| PG25 | Lapsed in a contracting state [announced via postgrant information from national office to epo] |
Ref country code: IE Free format text: LAPSE BECAUSE OF FAILURE TO SUBMIT A TRANSLATION OF THE DESCRIPTION OR TO PAY THE FEE WITHIN THE PRESCRIBED TIME-LIMIT Effective date: 20100512 Ref country code: EE Free format text: LAPSE BECAUSE OF FAILURE TO SUBMIT A TRANSLATION OF THE DESCRIPTION OR TO PAY THE FEE WITHIN THE PRESCRIBED TIME-LIMIT Effective date: 20100512 Ref country code: PT Free format text: LAPSE BECAUSE OF FAILURE TO SUBMIT A TRANSLATION OF THE DESCRIPTION OR TO PAY THE FEE WITHIN THE PRESCRIBED TIME-LIMIT Effective date: 20100913 Ref country code: MC Free format text: LAPSE BECAUSE OF NON-PAYMENT OF DUE FEES Effective date: 20100630 |
|
| PG25 | Lapsed in a contracting state [announced via postgrant information from national office to epo] |
Ref country code: RO Free format text: LAPSE BECAUSE OF FAILURE TO SUBMIT A TRANSLATION OF THE DESCRIPTION OR TO PAY THE FEE WITHIN THE PRESCRIBED TIME-LIMIT Effective date: 20100512 |
|
| PLBE | No opposition filed within time limit |
Free format text: ORIGINAL CODE: 0009261 |
|
| STAA | Information on the status of an ep patent application or granted ep patent |
Free format text: STATUS: NO OPPOSITION FILED WITHIN TIME LIMIT |
|
| PG25 | Lapsed in a contracting state [announced via postgrant information from national office to epo] |
Ref country code: IT Free format text: LAPSE BECAUSE OF FAILURE TO SUBMIT A TRANSLATION OF THE DESCRIPTION OR TO PAY THE FEE WITHIN THE PRESCRIBED TIME-LIMIT Effective date: 20100512 |
|
| 26N | No opposition filed |
Effective date: 20110215 |
|
| GBPC | Gb: european patent ceased through non-payment of renewal fee |
Effective date: 20100812 |
|
| PG25 | Lapsed in a contracting state [announced via postgrant information from national office to epo] |
Ref country code: GR Free format text: LAPSE BECAUSE OF FAILURE TO SUBMIT A TRANSLATION OF THE DESCRIPTION OR TO PAY THE FEE WITHIN THE PRESCRIBED TIME-LIMIT Effective date: 20100813 |
|
| REG | Reference to a national code |
Ref country code: DE Ref legal event code: R097 Ref document number: 502006006948 Country of ref document: DE Effective date: 20110214 |
|
| PG25 | Lapsed in a contracting state [announced via postgrant information from national office to epo] |
Ref country code: BE Free format text: LAPSE BECAUSE OF NON-PAYMENT OF DUE FEES Effective date: 20100630 |
|
| PG25 | Lapsed in a contracting state [announced via postgrant information from national office to epo] |
Ref country code: GB Free format text: LAPSE BECAUSE OF NON-PAYMENT OF DUE FEES Effective date: 20100812 |
|
| REG | Reference to a national code |
Ref country code: CH Ref legal event code: PFA Owner name: SKUMTECH AS Free format text: SKUMTECH AS#AKERSBAKKEN 12#0172 OSLO (NO) -TRANSFER TO- SKUMTECH AS#AKERSBAKKEN 12#0172 OSLO (NO) |
|
| REG | Reference to a national code |
Ref country code: SK Ref legal event code: MM4A Ref document number: E 7507 Country of ref document: SK Effective date: 20110630 |
|
| PG25 | Lapsed in a contracting state [announced via postgrant information from national office to epo] |
Ref country code: SK Free format text: LAPSE BECAUSE OF NON-PAYMENT OF DUE FEES Effective date: 20110630 |
|
| PG25 | Lapsed in a contracting state [announced via postgrant information from national office to epo] |
Ref country code: LU Free format text: LAPSE BECAUSE OF NON-PAYMENT OF DUE FEES Effective date: 20100630 Ref country code: BG Free format text: LAPSE BECAUSE OF FAILURE TO SUBMIT A TRANSLATION OF THE DESCRIPTION OR TO PAY THE FEE WITHIN THE PRESCRIBED TIME-LIMIT Effective date: 20100512 Ref country code: HU Free format text: LAPSE BECAUSE OF FAILURE TO SUBMIT A TRANSLATION OF THE DESCRIPTION OR TO PAY THE FEE WITHIN THE PRESCRIBED TIME-LIMIT Effective date: 20101113 |
|
| PG25 | Lapsed in a contracting state [announced via postgrant information from national office to epo] |
Ref country code: TR Free format text: LAPSE BECAUSE OF FAILURE TO SUBMIT A TRANSLATION OF THE DESCRIPTION OR TO PAY THE FEE WITHIN THE PRESCRIBED TIME-LIMIT Effective date: 20100512 |
|
| PG25 | Lapsed in a contracting state [announced via postgrant information from national office to epo] |
Ref country code: SK Free format text: LAPSE BECAUSE OF NON-PAYMENT OF DUE FEES Effective date: 20100630 |
|
| REG | Reference to a national code |
Ref country code: AT Ref legal event code: MM01 Ref document number: 467747 Country of ref document: AT Kind code of ref document: T Effective date: 20110630 |
|
| PG25 | Lapsed in a contracting state [announced via postgrant information from national office to epo] |
Ref country code: AT Free format text: LAPSE BECAUSE OF NON-PAYMENT OF DUE FEES Effective date: 20110630 |
|
| PG25 | Lapsed in a contracting state [announced via postgrant information from national office to epo] |
Ref country code: BG Free format text: LAPSE BECAUSE OF FAILURE TO SUBMIT A TRANSLATION OF THE DESCRIPTION OR TO PAY THE FEE WITHIN THE PRESCRIBED TIME-LIMIT Effective date: 20100812 |
|
| PGFP | Annual fee paid to national office [announced via postgrant information from national office to epo] |
Ref country code: ES Payment date: 20140627 Year of fee payment: 9 |
|
| REG | Reference to a national code |
Ref country code: DE Ref legal event code: R082 Ref document number: 502006006948 Country of ref document: DE Representative=s name: KAEWERT, KLAUS, DE |
|
| REG | Reference to a national code |
Ref country code: CH Ref legal event code: PUE Owner name: VAIA AS, NO Free format text: FORMER OWNER: SKUMTECH AS, NO |
|
| REG | Reference to a national code |
Ref country code: DE Ref legal event code: R082 Ref document number: 502006006948 Country of ref document: DE Representative=s name: KAEWERT, KLAUS, DE Effective date: 20150212 Ref country code: DE Ref legal event code: R081 Ref document number: 502006006948 Country of ref document: DE Owner name: VAIA AS, OSLO, NO Free format text: FORMER OWNER: SKUMTECH AS, OSLO, NO Effective date: 20150212 |
|
| REG | Reference to a national code |
Ref country code: FR Ref legal event code: TP Owner name: VAIA AS, NO Effective date: 20150519 |
|
| REG | Reference to a national code |
Ref country code: FR Ref legal event code: PLFP Year of fee payment: 10 |
|
| PGFP | Annual fee paid to national office [announced via postgrant information from national office to epo] |
Ref country code: FR Payment date: 20150622 Year of fee payment: 10 |
|
| REG | Reference to a national code |
Ref country code: ES Ref legal event code: FD2A Effective date: 20160728 |
|
| PGFP | Annual fee paid to national office [announced via postgrant information from national office to epo] |
Ref country code: CZ Payment date: 20160531 Year of fee payment: 11 Ref country code: CH Payment date: 20160504 Year of fee payment: 11 |
|
| PGFP | Annual fee paid to national office [announced via postgrant information from national office to epo] |
Ref country code: DK Payment date: 20160620 Year of fee payment: 11 |
|
| PGFP | Annual fee paid to national office [announced via postgrant information from national office to epo] |
Ref country code: DE Payment date: 20160630 Year of fee payment: 11 |
|
| REG | Reference to a national code |
Ref country code: CH Ref legal event code: PCAR Free format text: NEW ADDRESS: GARTENSTRASSE 28 A, 5400 BADEN (CH) |
|
| PG25 | Lapsed in a contracting state [announced via postgrant information from national office to epo] |
Ref country code: ES Free format text: LAPSE BECAUSE OF NON-PAYMENT OF DUE FEES Effective date: 20150701 |
|
| REG | Reference to a national code |
Ref country code: FR Ref legal event code: ST Effective date: 20170228 |
|
| PG25 | Lapsed in a contracting state [announced via postgrant information from national office to epo] |
Ref country code: FR Free format text: LAPSE BECAUSE OF NON-PAYMENT OF DUE FEES Effective date: 20160630 |
|
| REG | Reference to a national code |
Ref country code: DE Ref legal event code: R119 Ref document number: 502006006948 Country of ref document: DE |
|
| REG | Reference to a national code |
Ref country code: DK Ref legal event code: EBP Effective date: 20170630 |
|
| PG25 | Lapsed in a contracting state [announced via postgrant information from national office to epo] |
Ref country code: CZ Free format text: LAPSE BECAUSE OF NON-PAYMENT OF DUE FEES Effective date: 20170630 |
|
| REG | Reference to a national code |
Ref country code: CH Ref legal event code: PL |
|
| PG25 | Lapsed in a contracting state [announced via postgrant information from national office to epo] |
Ref country code: CH Free format text: LAPSE BECAUSE OF NON-PAYMENT OF DUE FEES Effective date: 20170630 Ref country code: DE Free format text: LAPSE BECAUSE OF NON-PAYMENT OF DUE FEES Effective date: 20180103 Ref country code: LI Free format text: LAPSE BECAUSE OF NON-PAYMENT OF DUE FEES Effective date: 20170630 |
|
| PG25 | Lapsed in a contracting state [announced via postgrant information from national office to epo] |
Ref country code: DK Free format text: LAPSE BECAUSE OF NON-PAYMENT OF DUE FEES Effective date: 20170630 |
|
| PGFP | Annual fee paid to national office [announced via postgrant information from national office to epo] |
Ref country code: IS Payment date: 20180531 Year of fee payment: 13 |
|
| PGFP | Annual fee paid to national office [announced via postgrant information from national office to epo] |
Ref country code: FI Payment date: 20190619 Year of fee payment: 14 |
|
| PG25 | Lapsed in a contracting state [announced via postgrant information from national office to epo] |
Ref country code: IS Free format text: LAPSE BECAUSE OF FAILURE TO SUBMIT A TRANSLATION OF THE DESCRIPTION OR TO PAY THE FEE WITHIN THE PRESCRIBED TIME-LIMIT Effective date: 20191231 |
|
| REG | Reference to a national code |
Ref country code: FI Ref legal event code: MAE |
|
| PG25 | Lapsed in a contracting state [announced via postgrant information from national office to epo] |
Ref country code: FI Free format text: LAPSE BECAUSE OF NON-PAYMENT OF DUE FEES Effective date: 20200630 |
|
| PGFP | Annual fee paid to national office [announced via postgrant information from national office to epo] |
Ref country code: SE Payment date: 20250610 Year of fee payment: 20 |