EP1719952A2 - Systeme d'affichage de l'etat de fonctionnement d'un parmi plusieurs modules de cuisson, comme une cuve, d'une cuisiniere - Google Patents

Systeme d'affichage de l'etat de fonctionnement d'un parmi plusieurs modules de cuisson, comme une cuve, d'une cuisiniere Download PDF

Info

Publication number
EP1719952A2
EP1719952A2 EP06008243A EP06008243A EP1719952A2 EP 1719952 A2 EP1719952 A2 EP 1719952A2 EP 06008243 A EP06008243 A EP 06008243A EP 06008243 A EP06008243 A EP 06008243A EP 1719952 A2 EP1719952 A2 EP 1719952A2
Authority
EP
European Patent Office
Prior art keywords
cooking
display
display system
module
modules
Prior art date
Legal status (The legal status is an assumption and is not a legal conclusion. Google has not performed a legal analysis and makes no representation as to the accuracy of the status listed.)
Granted
Application number
EP06008243A
Other languages
German (de)
English (en)
Other versions
EP1719952A3 (fr
EP1719952B1 (fr
Inventor
Peter Wiedemann
Helen Podestat
Michael Müllges
Current Assignee (The listed assignees may be inaccurate. Google has not performed a legal analysis and makes no representation or warranty as to the accuracy of the list.)
Rational International AG
Rational AG
Original Assignee
Rational AG
Frima SA
Priority date (The priority date is an assumption and is not a legal conclusion. Google has not performed a legal analysis and makes no representation as to the accuracy of the date listed.)
Filing date
Publication date
Application filed by Rational AG, Frima SA filed Critical Rational AG
Publication of EP1719952A2 publication Critical patent/EP1719952A2/fr
Publication of EP1719952A3 publication Critical patent/EP1719952A3/fr
Application granted granted Critical
Publication of EP1719952B1 publication Critical patent/EP1719952B1/fr
Anticipated expiration legal-status Critical
Expired - Lifetime legal-status Critical Current

Links

Images

Classifications

    • FMECHANICAL ENGINEERING; LIGHTING; HEATING; WEAPONS; BLASTING
    • F24HEATING; RANGES; VENTILATING
    • F24CDOMESTIC STOVES OR RANGES ; DETAILS OF DOMESTIC STOVES OR RANGES, OF GENERAL APPLICATION
    • F24C7/00Stoves or ranges heated by electric energy
    • F24C7/08Arrangement or mounting of control or safety devices
    • F24C7/082Arrangement or mounting of control or safety devices on ranges, e.g. control panels, illumination

Definitions

  • the present invention relates to a system for displaying the operating status of one of several cooking modules, such as vats, of a range.
  • a visual display system of a range which display system is disposed in a support column substantially at eye level of a user.
  • a control panel is provided on the display system, through which the cooking parameters, the activation states, etc. can be set. individual cooking modules.
  • the document DE 2 0310 602 U1 discloses a proven range comprising a column type support, on which two cooking modules are arranged on the left and right sides above pivoting arms.
  • a control panel is integrated centrally between the two cooking modules arranged on the left and right sides of the column type support.
  • the user can be aware of the respective operating state of the individual cooking modules only when he directly accesses the cooking space of the cooking module, in order to determine the corresponding operating state in the cooking module. This can be accompanied by an unfortunate influence of the atmosphere of the cooking space. While other known modular cooking systems use two display systems, it is often difficult for a user to be aware sufficiently quickly and correctly of the respective operating values of the various cooking modules, especially when the high workload the user leaves him little time to be aware of the operating status of the cooking module and evaluate it. Above all, the abundance of cooking values and cooking parameters for each of the cooking modules greatly distracts the user from the modular cooking systems known to his own task of monitoring and directing the cooking process. preparation of each individual cooking module. When the user intervenes too late, since he misinterpreted the displayed information state of a cooking module, the resulting cooking may suffer the consequences.
  • the object of the invention is to create a system for displaying the operating status of one of several cooking modules, such as tanks, of a stove, with which the user understands and uses the cooking states. the current operation of one of the cooking modules in a simple and ergonomic manner and with which the user will be diverted as little as possible from his own activity.
  • a system for displaying the operating status of one of several cooking modules, such as tanks, of a stove which display system comprises a display of the operating state, with which the information concerning the activity of the cooking module can be indicated, such as the set cooking program, the position of the cooking module lid, the activation status, the cooking values, such as temperature, pressure, humidity etc., pre-set cooking parameters and the like, a cooking module that can be selected from several cooking modules, and a correspondence display, which displays the cooking module selected, to which must correspond the information indicated in the display of the operating status.
  • the operation status information of a single cooking module that is selected will always be displayed in the operating status display panel, while the information about the module (s) will be displayed. ) not selected (s) remain hidden until the one (s) selected (s).
  • the display system according to the invention ensures that the user only learns the information of an individual cooking module. So, errors interpretation is excluded because the user only needs to focus on a cooking unit of a cooking module when evaluating the cooking conditions. A distraction caused by the operating values of other cooking modules is excluded according to the invention. Unexpectedly, it is proved that with the display system according to the invention, the frequent unpleasant intervention of the user in the cooking atmosphere on the cooking appliance can be avoided, since the display of Correspondence gives the user a sense of security when interpreting the operating state of the controlled cooking module, which is why this eliminates unnecessary subsequent checks in the cooking space.
  • the correspondence display is visualized by a location indication which essentially indicates the position of the selected cooking module relative to the display system or with respect to a marked part of the range, as a column-type cooking module support or an unselected cooking module.
  • symbols of the type pictograms which schematically reproduce, for example, the overall structure of the range showing the position of the cooking module, serve to draw attention to the selected cooking module.
  • the correspondence display is visualized by a directional arrow, which is oriented substantially from the display system towards the current position of the selected cooking module, when observing the display system.
  • the arrow display shows without figures and letters the exact correspondence of the operating states of the selected cooking module indicated in the operating status display, and the user can now focus exclusively on the combination of letters and numbers of operating status indications.
  • the system according to the invention can be provided with an additional on-off display relating to the operating state of the cooking modules, which permanently indicates the activation state of one of the selected cooking modules, preferably all modules.
  • the on-off display is configured in such a way that signals predefined by the visual display system, in particular color signals, correspond to the respective cooking modules, in order to permanently indicate preferably their current state. activation.
  • the correspondence display is formed by an electronic display comprising a touch screen function, in contact with which the user can select the cooking module whose operating information must be displayed in the operating status display.
  • the on-off display is realized in the electronic display of the correspondence display.
  • the electronic display of the correspondence display comprises a control panel, in which only location information, such as directional arrows, can be viewed and distributed, depending on the number of cooking modules, in order to display the position of the selected cooking module, knowing that by correspondingly touching the control panel in the area of the location indication, it is possible to select the respective cooking module corresponding to the location indication to view its operating status values.
  • location information such as directional arrows
  • a cooker comprising two cooking modules, which are arranged on the right side and left side on a support column carrying the display system, two directional arrows in particular opposite in the correspondence display are displayed, which arrows are oriented to the right and to the left according to the selected cooking module.
  • the correspondence display may include, for example, a left and right signal section having an editable color, a predefined hue, such as red, indicating for the left and / or right signal section the state of respective activation, in particular the on-off state, of the cooking module located on the left and / or on the right.
  • a predefined hue such as red
  • the display system comprises an acoustic signal transmitter, which is activated in a predefined operating state or a predefined modification of the operating state, such as the end of the cooking process of a cooking module, whose operating information is not indicated in the display of the operating state, by emitting an acoustic signal. Stimulated by the signal, the user checks the operating status of the selected cooking module according to the display of the operating status and determines that its operating state is normal, which furthermore pushes it to select the desired operating mode. other cooking modules to control them.
  • the invention furthermore relates to a range comprising a support, in particular of the column type, at least two cooking modules arranged on the support, such as tanks, and a display system according to the invention.
  • the cooking modules are movably arranged, in particular so as to be able to pivot on the support, and when the location of the correspondence display of the display device according to the invention is modified. , the corresponding location indications are also modified, in particular the direction of the directional arrow, in the correspondence display as a function of the modified position of the selected cooking module. In this way, the current position of the selected cooking module is permanently displayed, which is the reason why it avoids confusions of information of the cooking module.
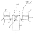
  • Figure 1 illustrates a range 1 comprising a support of the column type 3, which is fixedly placed on the ground (not shown in more detail) by providing electrical connections and / or other connections.
  • a heating plate 7 is arranged at optimum height ergonomically for the user.
  • the cooker 1 generally comprises a shaft-type support structure, in which two branch-type pivot axes 9, 11 extend perpendicularly to the longitudinal axis L of the support 3.
  • a module 13, 15 is disposed respectively left side and right side on the support 3.
  • the cooking modules 13, 15 are pivotally housed, in order to spill cooking or cleaning liquids over a limiting ridge of the cooking module 13, 15.
  • a corresponding drive unit is arranged in the support of the column type 3.
  • the cooking modules 13, 15 respectively comprise a tank 17, 19, which can be closed by a movable cover 21, 23.
  • a display system 25 according to the invention is integrated at the height of the pivot axis on the support of the column type 3, which system consists of several touch screen control panels and display units and is combined to a joystick, like a turning knob.
  • Figure 2 is shown a detailed view of the display control panel of the display system 25 according to the invention.
  • the display system 25 of the invention includes a plurality of visual display panels, which are combined with a control function, which is generally referred to as a touch screen.
  • the rectangular top panel 31 is used to turn on and off a selected cooking module. We will come back later to the individual selection.
  • the operating state of the cooking module is designated “0" when it is off and "I” when it is activated.
  • the control panel 33 located below is used to select a memorized cooking function defined, the location and selection being made by touching the control panel.
  • the two smaller pictograms represent displays according to which the selected cooking module is in roasting or steaming and / or boiling activity.
  • Predefined cooking procedures can be set with the control panel bar 37, 39, 41 arranged below.
  • baking procedures for roasting processes for example the rissolement of pieces of meat, fish, etc.
  • steaming processes for example for braising or cooking boiled eggs or pasta, being provided in a left part of the bar of the control panel.
  • Pictograms (not shown) can be used for visual representation of individual cooking programs.
  • the display system according to the invention further comprises a correspondence display 43, which indicates, by an arrow lighting and extinguishing, to which cooking modules 13, 15 must correspond the operating values in the panels of display 33, 37, 39, 41 cited above.
  • the correspondence display 43 may be provided with a color display (not shown), which may uniformly display one or more hues. For example, in a left section of panel 45, the bottom is of a red color, which makes it clear to the user that the left side cooking module 15 is in cooking activity. If the straight section of panel 45 of the correspondence display 43 is also red, the user must deduce that the right cooking module 13 is also in operation. In the case of another color, the user can deduce that the respective cooking module is stopped.
  • the display system 25 is equipped with an acoustic signal emitter (not shown), which emits in particular an acoustic signal when a defined value of the operating state on the unselected cooking module is set or when the operating state of the cooking module unselected is changed.
  • an acoustic signal emitter (not shown), which emits in particular an acoustic signal when a defined value of the operating state on the unselected cooking module is set or when the operating state of the cooking module unselected is changed.
  • a touch screen function is integrated in the correspondence display 43, to easily select the respective cooking module 13, 15. By touching the respective panel section 45, 47, the left or right cooking module 13, 15 can be selected.
  • a program selection push button 49 is arranged below the correspondence display 43, a button with which different cooking programs can be selected, which can be displayed for example in the display bars 37 to 41.
  • an induction regulator 51 is provided below the switch 49.

Landscapes

  • Engineering & Computer Science (AREA)
  • Chemical & Material Sciences (AREA)
  • Combustion & Propulsion (AREA)
  • Mechanical Engineering (AREA)
  • General Engineering & Computer Science (AREA)
  • Electric Ovens (AREA)
  • Induction Heating Cooking Devices (AREA)
  • Electric Stoves And Ranges (AREA)
  • Cookers (AREA)
  • Indicating Measured Values (AREA)

Abstract

Système d'affichage de l'état de fonctionnement d'un parmi plusieurs modules de cuisson (13, 15), comme des cuves (17, 19), d'une cuisinière (1), comportant un affichage de l'état de fonctionnement, avec lequel peuvent être indiquées les informations concernant l'activité, l'état d'activation, les valeurs de cuisson, comme la température, la pression, etc., les paramètres de cuisson et similaires, d'un module de cuisson (13) pouvant être sélectionné parmi plusieurs modules de cuisson (13), et un affichage de correspondance (43), qui affiche le module de cuisson (13) sélectionné, auquel doivent correspondre les informations indiquées dans l'affichage de l'état de fonctionnement.

Description

  • La présente invention concerne un système d'affichage de l'état de fonctionnement d'un parmi plusieurs modules de cuisson, comme des cuves, d'une cuisinière.
  • On connaît par exemple d'après le document EP 1 254 623 A2 un système d'affichage visuel d'une cuisinière, lequel système d'affichage est disposé dans une colonne de support sensiblement à hauteur des yeux d'un utilisateur. Il est prévu sur le système d'affichage un panneau de commande, par l'intermédiaire duquel peuvent être réglés les paramètres de cuisson, les états d'activation etc. des modules de cuisson individuels.
  • Le document DE 2 0310 602 U1 divulgue une cuisinière éprouvée comprenant un support du type colonne, sur lequel deux modules de cuisson sont aménagés côté gauche et côté droit au-dessus de bras pivotants. Dans cette cuisinière, un panneau de commande est intégré de façon centrale entre les deux modules de cuisson aménagés coté gauche et côté droit sur le support du type colonne.
  • Dans de nombreux systèmes de cuisson modulaire connus, l'utilisateur ne peut avoir conscience de l'état de fonctionnement respectif des modules de cuisson individuels que lorsqu'il accède directement à l'espace de cuisson du module de cuisson, afin de déterminer l'état de fonctionnement correspondant dans le module de cuisson. Cela peut s'accompagner d'une influence fâcheuse de l'atmosphère de l'espace de cuisson. D'autres systèmes de cuisson modulaire connus utilisent certes deux systèmes d'affichage, toutefois il est souvent difficile pour un utilisateur d'avoir conscience suffisamment rapidement et correctement des valeurs de fonctionnement respectives des divers modules de cuisson, surtout lorsque la charge de travail élevée de l'utilisateur ne lui laisse que peu de temps pour avoir conscience de l'état de fonctionnement du module de cuisson et évaluer celui-ci. Avant tout, l'abondance des valeurs de cuisson et des paramètres de cuisson pour chacun des modules de cuisson détourne fortement l'utilisateur se servant des systèmes de cuisson modulaire connus de sa propre tâche, consistant à surveiller et à diriger le processus de cuisson et de préparation de chaque module de cuisson individuel. Lorsque l'utilisateur intervient trop tardivement, étant donné qu'il a mal interprété l'état d'information affiché d'un module de cuisson, la cuisson résultante peut en subir les conséquences.
  • L'objet de l'invention est de créer un système d'affichage de l'état de fonctionnement d'un parmi plusieurs modules de cuisson, comme des cuves, d'une cuisinière, avec lequel l'utilisateur comprend et utilise les états de fonctionnement actuels d'un des modules de cuisson de façon simple et ergonomique et avec lequel l'utilisateur sera détourné le moins possible de sa propre activité.
  • Cet objet est résolu par le fait qu'il est prévu un système d'affichage de l'état de fonctionnement d'un parmi plusieurs modules de cuisson, comme des cuves, d'une cuisinière, lequel système d'affichage comporte un affichage de l'état de fonctionnement, avec lequel peuvent être indiquées les informations concernant l'activité du module de cuisson, comme le programme de cuisson réglé, la position du couvercle du module de cuisson, l'état d'activation, les valeurs de cuisson, comme la température, la pression, l'humidité etc., les paramètres de cuisson préréglés et similaires, d'un module de cuisson pouvant être sélectionné à partir de plusieurs modules de cuisson, et un affichage de correspondance, qui affiche le module de cuisson sélectionné, auquel doivent correspondre les informations indiquées dans l'affichage de l'état de fonctionnement. Dans ce cas, seules seront toujours affichées dans le panneau d'affichage de l'état de fonctionnement les informations de l'état de fonctionnement d'un seul module de cuisson qui est sélectionné, tandis que les informations concernant le ou les module(s) de cuisson non sélectionné(s) restent dissimulées jusqu'à ce que celui(ceux)-ci soi(en)t sélectionné(s).
  • Le système d'affichage selon l'invention garantit que l'utilisateur apprenne uniquement les informations d'un module de cuisson individuel. Ainsi, les erreurs d'interprétation son exclues, car l'utilisateur ne doit se concentrer que sur une unité de cuisson d'un module de cuisson lorsqu'il évalue les états de cuisson. Une distraction entraînée par les valeurs de fonctionnement d'autres modules de cuisson est exclue selon l'invention. De manière inattendue, il est prouvé qu'avec le système d'affichage selon l'invention, l'intervention fréquente fâcheuse de l'utilisateur dans l'atmosphère de cuisson sur l'appareil de cuisson peut être évitée, car l'affichage de correspondance donne à l'utilisateur un sentiment de sécurité lorsqu'il interprète l'état de fonctionnement du module de cuisson contrôlé, c'est la raison pour laquelle cela dispense des contrôles ultérieurs inutiles dans l'espace de cuisson.
  • Dans une formation complémentaire de l'invention, l'affichage de correspondance est visualisé par une indication d'emplacement qui indique essentiellement la position du module de cuisson sélectionné par rapport au système d'affichage ou par rapport à un élément repéré de la cuisinière, comme un support de module de cuisson du type colonne ou un module de cuisson non sélectionné. Dans ce cas, des symboles du type pictogrammes, lesquels reproduisent schématiquement par exemple la structure d'ensemble de la cuisinière faisant ressortir la position du module de cuisson, servent à attirer l'attention sur le module de cuisson sélectionné. De préférence, l'affichage de correspondance est visualisé par une flèche directionnelle, qui est orientée sensiblement depuis le système d'affichage en direction de la position actuelle du module de cuisson sélectionné, lorsqu'on observe le système d'affichage. L'affichage fléché précise notamment sans chiffres et sans lettres la correspondance exacte des états de fonctionnement du module de cuisson sélectionné indiqués dans l'affichage de l'état de fonctionnement, et l'utilisateur peut à présent se concentrer exclusivement sur la combinaison de lettres et de chiffres des indications de l'état de fonctionnement.
  • En outre, le système selon l'invention peut être pourvu d'un affichage supplémentaire marche-arrêt concernant l'état de fonctionnement des modules de cuisson, qui indique en permanence l'état d'activation d'un des modules de cuisson sélectionnés, de préférence de tous les modules. De préférence, l'affichage marche-arrêt est configuré de telle sorte que des signaux prédéfinis par le système d'affichage visuel, notamment des signaux en couleur, correspondent aux modules de cuisson respectifs, afin d'indiquer en permanence de préférence leur état d'activation.
  • Dans un mode de réalisation préféré de l'invention, l'affichage de correspondance est formé par un affichage électronique comprenant une fonction d'écran tactile, au contact duquel l'utilisateur peut sélectionner le module de cuisson dont l'information de fonctionnement doit être affichée dans l'affichage de l'état de fonctionnement. De préférence, l'affichage marche-arrêt est réalisé dans l'affichage électronique de l'affichage de correspondance.
  • Dans une formation complémentaire de l'invention, l'affichage électronique de l'affichage de correspondance comprend un panneau de commande, dans lequel ne peuvent être visualisées et distribuées que des informations d'emplacement, comme des flèches directionnelles, en fonction du nombre de modules de cuisson, afin d'afficher la position du module de cuisson sélectionné, sachant que, en touchant de façon correspondante le panneau de commande dans la zone de l'indication d'emplacement, il est possible de sélectionner le module de cuisson respectif correspondant à l'indication d'emplacement pour visualiser ses valeurs d'état de fonctionnement.
  • Dans un mode de réalisation préféré d'une cuisinière comprenant deux modules de cuisson, qui sont aménagés côté droit et côté gauche sur une colonne de support portant le système d'affichage, deux flèches directionnelles notamment opposées dans l'affichage de correspondance sont visualisées, lesquelles flèches sont orientées vers la droite et vers la gauche en fonction du module de cuisson sélectionné.
  • En outre, l'affichage de correspondance peut comprendre, par exemple, une section de signal gauche et droite présentant une couleur modifiable, une teinte prédéfinie, comme le rouge, indiquant pour la section de signal gauche et/ou droite l'état d'activation respectif, notamment l'état marche-arrêt, du module de cuisson situé à gauche et/ou à droite.
  • Dans une formation complémentaire de l'invention, le système d'affichage selon l'invention comporte un émetteur de signaux acoustiques, qui est activé dans un état de fonctionnement pouvant être prédéfini ou une modification pouvant être prédéfinie de l'état de fonctionnement, comme la fin du processus de cuisson d'un module de cuisson, dont les informations de fonctionnement ne sont pas indiquées dans l'affichage de l'état de fonctionnement, en émettant un signal acoustique. Stimulé par le signal, l'utilisateur contrôle l'état de fonctionnement du module de cuisson sélectionné en fonction de l'affichage de l'état de fonctionnement et détermine que son état de fonctionnement est normal, ce qui le pousse en outre à sélectionner d'autres modules de cuisson afin de les contrôler.
  • L'invention concerne en outre une cuisinière comprenant un support notamment du type colonne, au moins deux modules de cuisson aménagés sur le support, comme des cuves, et un système d'affichage selon l'invention.
  • Dans une formation complémentaire de la cuisinière, les modules de cuisson sont aménagés de façon mobile, notamment de façon à pouvoir pivoter sur le support, et lorsque l'emplacement de l'affichage de correspondance du dispositif d'affichage selon l'invention est modifié, les indications d'emplacement correspondantes sont également modifiées, notamment la direction de la flèche directionnelle, dans l'affichage de correspondance en fonction de la position modifiée du module de cuisson sélectionné. De cette façon, la position actuelle du module de cuisson sélectionné est affichée en permanence, c'est la raison pour laquelle cela évite des confusions d'informations du module de cuisson.
  • D'autres détails, avantages et caractéristiques de l'invention deviennent plus clairs à la lecture de la description suivante d'un mode de réalisation préféré de l'invention en s'appuyant sur les dessins en annexe, sur lesquels on peut voir que :
    • la figure 1 illustre une vue latérale schématique d'une cuisinière selon l'invention comprenant un système d'affichage selon l'invention ; et
    • la figure 2 illustre une vue détaillée du système d'affichage selon la figure 1.
  • La figure 1 illustre une cuisinière 1 comprenant un support du type colonne 3, qui est placé fixement sur le sol (non représenté plus en détail) en mettant à disposition des raccords électriques et/ou d'autres raccords. Sur l'extrémité libre supérieure 5 du support du type colonne 3, une plaque chauffante 7 est disposée à hauteur optimale de façon ergonomique pour l'utilisateur.
  • La cuisinière 1 comporte généralement une structure de support du type arbre, dans laquelle deux axes de pivotement 9, 11 du type branche s'étendent perpendiculairement à l'axe longitudinal L du support 3. Sur les axes de pivotement 9, 11, un module de cuisson 13, 15 est disposé respectivement côté gauche et côté droit sur le support 3. Les modules de cuisson 13, 15 sont logés de façon pivotante, afin de renverser des liquides de cuisson ou de nettoyage au-dessus d'une arête de limitation du module de cuisson 13, 15. Pour réaliser le processus de pivotement, une unité d'entraînement correspondante est aménagée dans le support du type colonne 3.
  • Les modules de cuisson 13, 15 comprennent respectivement une cuve 17, 19, qui peut être fermée par un couvercle mobile 21, 23.
  • Un système d'affichage 25 selon l'invention est intégré à hauteur de l'axe de pivotement sur le support du type colonne 3, lequel système est constitué de plusieurs panneaux de commande à écran tactile et d'unités d'affichage et est combiné à une manette d'utilisation, comme un bouton tournant. Sur la figure 2 est représentée une vue détaillée du panneau de commande d'affichage du système d'affichage 25 selon l'invention. Le système d'affichage 25 selon l'invention comporte plusieurs panneaux d'affichage visuels, qui sont combinés à une fonction de commande, ce qui est désigné généralement par écran tactile.
  • Le panneau supérieur rectangulaire 31 sert à mettre en marche et à arrêter un module de cuisson sélectionné. On reviendra ultérieurement sur la sélection individuelle. L'état de fonctionnement du module de cuisson est désigné par « 0 » lorsqu'il est désactivé et par « I » lorsqu'il est activé. Le panneau de commande 33 situé dessous sert à sélectionner une fonction de cuisson mémorisée définie, la localisation et la sélection étant réalisées en touchant le panneau de commande.
  • Les deux pictogrammes plus petits, représentés dans un cadre rectangulaire, représentent des affichages selon lesquels le module de cuisson sélectionné est en activité de rôti ou de cuisson à l'étuvée et/ou d'ébullition. Des procédures de cuisson prédéfinies peuvent être définies avec la barre de panneau de commande 37, 39, 41 disposée dessous. Dans une partie droite des barres de panneau de commande, des procédures de cuisson pour des processus de rôti, par exemple le rissolement de morceaux de viande, de poisson, etc. peuvent être sélectionnées, des processus de cuisson à la vapeur, par exemple pour braiser ou faire cuire des oeufs à la coque ou des pâtes, étant prévus dans une partie gauche de la barre du panneau de commande. Des pictogrammes (non représentés) peuvent être utilisés pour la représentation visuelle des programmes de cuisson individuels.
  • Le système d'affichage selon l'invention comporte en outre un affichage de correspondance 43, lequel indique, par une flèche s'allumant et s'éteignant, à quels modules de cuisson 13, 15 doivent correspondre les valeurs de fonctionnement dans les panneaux d'affichage 33, 37, 39, 41 cités ci-dessus.
  • Dans l'exemple représenté sur la figure 2, il est possible de reconnaître la flèche 42 orientée vers la gauche (caractérisée par une ligne ininterrompue), ce qui fait comprendre à l'utilisateur que les informations dans les panneaux d'affichage concernent le module de cuisson 15, qui est fixé côté gauche au support du type colonne 3. La flèche 44 représentée en pointillés illustrera qu'un affichage fléché est possible, mais qu'en sélectionnant le module de cuisson 15, il n'est pas visible par l'utilisateur lorsqu'il est éteint. Dans une formation complémentaire de l'objet de l'invention illustré sur la figure 2, une troisième flèche directionnelle peut être prévue, qui est orientée verticalement vers le haut en direction de la plaque chauffante 7 et s'allume lorsqu'elle est sélectionnée.
  • En outre, l'affichage de correspondance 43 peut être pourvu d'un affichage en couleur (non représenté), qui peut afficher de façon uniforme une ou plusieurs teinte(s). Par exemple, dans une section gauche de panneau 45, le fond est d'une couleur rouge, ce qui fait comprendre à l'utilisateur que le module de cuisson côté gauche 15 est en activité de cuisson. Si la section droite de panneau 45 de l'affichage de correspondance 43 est également rouge, l'utilisateur doit en déduire que le module de cuisson droit 13 est également en fonctionnement. Dans le cas d'une autre couleur, l'utilisateur peut en déduire que le module de cuisson respectif est arrêté.
  • Afin d'attirer l'attention de l'utilisateur sur une modification de l'état de fonctionnement du module de cuisson non sélectionné (sur la figure 2, le module de cuisson 13), le système d'affichage 25 selon l'invention est pourvu d'un émetteur de signaux acoustiques (non représenté), qui émet notamment un signal acoustique lorsqu'une valeur définie de l'état de fonctionnement sur le module de cuisson non sélectionné est réglée ou lorsque l'état de fonctionnement du module de cuisson non sélectionné est modifié. En sélectionnant de manière correspondante le module de cuisson non sélectionné, l'utilisateur peut effectuer un contrôle. Un émetteur de signaux peut alors notamment être activé lorsqu'une activité de cuisson est terminée.
  • Etant donné que seules les valeurs de fonctionnement d'un module de cuisson peuvent être affichées, une fonction d'écran tactile est intégrée dans l'affichage de correspondance 43, pour sélectionner facilement le module de cuisson 13, 15 respectif. En touchant la section de panneau 45, 47 respective, le module de cuisson gauche ou droit 13, 15 peut être sélectionné.
  • Un bouton poussoir de sélection de programme 49 est disposé au-dessous de l'affichage de correspondance 43, bouton avec lequel peuvent être sélectionnés différents programmes de cuisson, lesquels peuvent être affichés par exemple dans les barres d'affichage 37 à 41.
  • Pour régler des paramètres de cuisson et des valeurs de cuisson définis, un régulateur à induction 51 est prévu au-dessous de l'aiguillage 49.
  • Les caractéristiques exposées dans la description précédente et sur les figures peuvent être importantes aussi bien individuellement qu'en combinaison quelconque pour la réalisation de l'invention dans les différentes configurations.
  • Bien entendu, l'invention n'est pas limitée aux exemples de réalisation ci-dessus décrits et représentés, à partir desquels on pourra prévoir d'autres modes et d'autres formes de réalisation, sans pour autant sortir du cadre de l'invention.
  • Liste des numéros de référence
  • 1
    cuisinière
    3
    support
    5
    extrémité libre supérieure du support
    7
    plaque chauffante
    9, 11
    axes de pivotement
    13, 15
    module de cuisson
    17, 19
    cuve
    21, 23
    couvercle pivotant
    25
    système d'affichage
    31
    panneau de commande supérieur rectangulaire
    33
    panneau de commande situé dessous
    37, 39, 41
    barre de panneau de commande
    43
    affichage de correspondance
    42, 44
    flèches directionnelles
    45, 47
    sections de panneau
    49
    bouton poussoir de sélection de programme
    51
    régulateur à induction
    L
    axe longitudinal

Claims (12)

  1. Système d'affichage de l'état de fonctionnement d'un parmi plusieurs modules de cuisson (13, 15), comme des casseroles ou cuves(17, 19), d'une cuisinière (1), comportant un affichage de l'état de fonctionnement, avec lequel peuvent être indiquées les informations concernant l'activité, comme l'état d'activation, les valeurs de cuisson, comme la température, la pression, etc., les paramètres de cuisson et similaires, d'un module de cuisson (13) pouvant être sélectionné parmi les plusieurs modules de cuisson (13), et un affichage de correspondance (43), qui affiche le module de cuisson (13) sélectionné, auquel doivent correspondre les informations indiquées dans l'affichage de l'état de fonctionnement.
  2. Système d'affichage selon la revendication 1, dans lequel l'affichage de correspondance est visualisé par une indication d'emplacement, qui indique sensiblement la position du module de cuisson sélectionné par rapport au système d'affichage ou par rapport à un autre élément repéré, comme un support de module de cuisson du type colonne ou un module de cuisson non sélectionné.
  3. Système d'affichage selon la revendication 1 ou 2, dans lequel l'affichage de correspondance (43) est réalisé par une flèche, qui est orientée sensiblement depuis le système d'affichage (25) vers la position actuelle du module de cuisson (13) sélectionné, lorsqu'on observe le système d'affichage (25).
  4. Système d'affichage selon l'une quelconque des revendications 1 à 3, dans lequel est prévu un affichage marche-arrêt supplémentaire, qui indique l'état d'activation au moins du module de cuisson (13) sélectionné.
  5. Système d'affichage selon l'une quelconque des revendications 1 à 4, dans lequel l'affichage de correspondance est formé par un affichage électronique comprenant une fonction d'écran tactile, au contact duquel l'utilisateur peut sélectionner un module de cuisson (13), module dont l'information d'activité doit être affichée dans l'affichage de l'état de fonctionnement.
  6. Système d'affichage selon l'une quelconque des revendications 1 à 5, dans lequel un affichage marche-arrêt est réalisé dans l'affichage de correspondance (43), notamment dans l'affichage électronique.
  7. Système d'affichage selon la revendication 5 ou 6, dans lequel l'affichage électronique de l'affichage de correspondance comprend un panneau de commande, dans lequel, des indications d'emplacement, comme des flèches, peuvent être visualisées de façon exclusivement individuelle, en fonction du nombre des modules de cuisson, pour indiquer la position du module de cuisson sélectionné.
  8. Système d'affichage selon l'une quelconque des revendications 1 à 7, sachant que dans une cuisinière comprenant deux modules de cuisson, qui sont aménagés côté gauche et côté droit sur une colonne de support portant le système d'affichage, deux flèches peuvent être visualisées individuellement dans l'affichage de correspondance, parmi lesquelles l'une est orientée vers la droite et l'autre vers la gauche en fonction du module de cuisson sélectionné.
  9. Système d'affichage selon l'une quelconque des revendications 1 à 8, sachant que dans une cuisinière comprenant deux modules de cuisson (13, 15), qui sont aménagés côté gauche et côté droit sur une colonne de support portant le système d'affichage, l'affichage de correspondance (43) comprend des sections de signal gauche et droite (45, 47) présentant une couleur modifiable, une teinte prédéfinie, comme le rouge, de la section de signal gauche et/ou droite indiquant l'état d'activation, notamment l'état marche-arrêt, du module de cuisson côté gauche et/ou côté droit (13, 15).
  10. Système d'affichage selon l'une quelconque des revendications 1 à 9, comprenant un émetteur de signaux acoustiques, qui est activé à l'occasion d'un changement de l'état de fonctionnement pouvant être prédéfini, comme la fin d'un processus de cuisson, d'un module de cuisson, dont l'information de fonctionnement n'est pas indiquée dans l'affichage de l'état de fonctionnement.
  11. Cuisinière comprenant un support notamment du type colonne (3), au moins deux modules de cuisson (13, 14) aménagés sur le support (3), comme des cuves, et un système d'affichage (25) conçu selon l'une quelconque des revendications.
  12. Cuisinière, dans laquelle les modules de cuisson (13, 15) sont aménagés de façon mobile sur le support (3) et les indications d'emplacement de l'affichage de correspondance (43) informent de la position modifiable du module de cuisson (13, 15) sélectionné, de sorte que la position actuelle du module de cuisson (13, 15) sélectionné est affichée, en permanence.
EP06008243.5A 2005-04-25 2006-04-21 Cuisinière comprenant aux moins deux modules de cuisson et un système d'affichage Expired - Lifetime EP1719952B1 (fr)

Applications Claiming Priority (1)

Application Number Priority Date Filing Date Title
FR0504126A FR2884903B1 (fr) 2005-04-25 2005-04-25 Systeme d'affichage de l'etat de fonctionnement d'un parmi plusieurs modules de cuisson comme une cuve, d'une cuisiniere

Publications (3)

Publication Number Publication Date
EP1719952A2 true EP1719952A2 (fr) 2006-11-08
EP1719952A3 EP1719952A3 (fr) 2008-02-20
EP1719952B1 EP1719952B1 (fr) 2018-01-17

Family

ID=35432260

Family Applications (1)

Application Number Title Priority Date Filing Date
EP06008243.5A Expired - Lifetime EP1719952B1 (fr) 2005-04-25 2006-04-21 Cuisinière comprenant aux moins deux modules de cuisson et un système d'affichage

Country Status (2)

Country Link
EP (1) EP1719952B1 (fr)
FR (1) FR2884903B1 (fr)

Cited By (8)

* Cited by examiner, † Cited by third party
Publication number Priority date Publication date Assignee Title
WO2009026877A3 (fr) * 2007-08-27 2010-01-21 Rational Ag Dispositif d'affichage et de commande graphique multilingue et multiproduit d'un appareil de cuisson et appareil de cuisson associé
EP2211117A1 (fr) 2009-01-27 2010-07-28 Rational AG Procédé de sélection et d'agencement de représentants de programmes et appareil de cuisson correspondant
EP2211115A2 (fr) 2009-01-27 2010-07-28 Rational AG Procédé d'agencement de programmes
EP2211114A2 (fr) 2009-01-27 2010-07-28 Rational AG Procédé d'agencement de programmes et appareil de cuisson correspondant
EP2211116A1 (fr) 2009-01-27 2010-07-28 Rational AG Procédé de visualisation de programmes et appareil de cuisson correspondant
EP2261568A1 (fr) * 2009-06-12 2010-12-15 Electrolux Home Products Corporation N.V. Commande d'un appareil de cuisine
EP2583600A1 (fr) 2011-10-19 2013-04-24 MKN Maschinenfabrik Kurt Neubauer GmbH & Co. Appareil de cuisson doté de plusieurs espaces de cuisson et procédé de commande d'un tel appareil
EP2695552A1 (fr) * 2012-08-10 2014-02-12 Frima-T Sas Appareil de cuisson

Citations (2)

* Cited by examiner, † Cited by third party
Publication number Priority date Publication date Assignee Title
EP1254623A2 (fr) 2001-04-30 2002-11-06 Rational AG Système de cuisson modulaire
DE10127594A1 (de) 2001-05-30 2002-12-05 Ego Elektro Geraetebau Gmbh Berührungsschalteranordnung für ein Elektrogerät

Family Cites Families (9)

* Cited by examiner, † Cited by third party
Publication number Priority date Publication date Assignee Title
US4454501A (en) * 1980-07-25 1984-06-12 Roper Corporation Prompting control
FR2522785A1 (fr) * 1982-03-05 1983-09-09 Scholtes Ets Eugen Tableau de commande d'appareil de cuisson menager a programmation electronique
ATE344426T1 (de) * 1998-10-01 2006-11-15 Aeg Hausgeraete Gmbh Kochfeld mit integrierter zeitsteuerung
US6255630B1 (en) * 1999-09-01 2001-07-03 Maytag Corporation Program control and display system for a cooking appliance
JP4474573B2 (ja) * 2000-07-14 2010-06-09 パロマ工業株式会社 フライヤー
DE20203117U1 (de) * 2002-02-22 2002-05-23 Wiesheu Gmbh, 71563 Affalterbach Vorrichtung zur Wärmebehandlung von Lebensmitteln
FR2856574B1 (fr) * 2003-06-30 2005-10-14 Frima Sa Agencement de modules de cuisson
DE202004018719U1 (de) * 2004-01-07 2005-04-21 Rational Ag Bedienelement für ein Gargerät
DE102005032088A1 (de) * 2005-07-08 2007-01-18 BSH Bosch und Siemens Hausgeräte GmbH Hausgerät, insbesondere Gargerät mit berührungsempfindlichem Stellstreifen

Patent Citations (2)

* Cited by examiner, † Cited by third party
Publication number Priority date Publication date Assignee Title
EP1254623A2 (fr) 2001-04-30 2002-11-06 Rational AG Système de cuisson modulaire
DE10127594A1 (de) 2001-05-30 2002-12-05 Ego Elektro Geraetebau Gmbh Berührungsschalteranordnung für ein Elektrogerät

Cited By (16)

* Cited by examiner, † Cited by third party
Publication number Priority date Publication date Assignee Title
WO2009026877A3 (fr) * 2007-08-27 2010-01-21 Rational Ag Dispositif d'affichage et de commande graphique multilingue et multiproduit d'un appareil de cuisson et appareil de cuisson associé
EP2211114A3 (fr) * 2009-01-27 2011-12-07 Rational AG Procédé d'agencement de programmes et appareil de cuisson correspondant
EP2211117A1 (fr) 2009-01-27 2010-07-28 Rational AG Procédé de sélection et d'agencement de représentants de programmes et appareil de cuisson correspondant
EP2211115A2 (fr) 2009-01-27 2010-07-28 Rational AG Procédé d'agencement de programmes
EP2211114A2 (fr) 2009-01-27 2010-07-28 Rational AG Procédé d'agencement de programmes et appareil de cuisson correspondant
EP2211116A1 (fr) 2009-01-27 2010-07-28 Rational AG Procédé de visualisation de programmes et appareil de cuisson correspondant
DE102009006224A1 (de) 2009-01-27 2010-07-29 Rational Ag Verfahren zur Auswahl und Anordnung von Programmen, Gargerät hierfür und Küchennetzwerk hiermit
DE102009006182A1 (de) 2009-01-27 2010-07-29 Rational Ag Verfahren zur Auswahl und Anordnung von Programmen, Gargerät hierfür und Küchennetzwerk hiermit
EP2211115A3 (fr) * 2009-01-27 2011-12-07 Rational AG Procédé d'agencement de programmes
WO2010142542A3 (fr) * 2009-06-12 2011-03-31 Electrolux Home Products Corporation N.V. Appareil de cuisine
EP2261568A1 (fr) * 2009-06-12 2010-12-15 Electrolux Home Products Corporation N.V. Commande d'un appareil de cuisine
CN102803854A (zh) * 2009-06-12 2012-11-28 伊莱克斯家用产品股份有限公司 用于厨房用具的控制装置
AU2010257658B2 (en) * 2009-06-12 2015-03-05 Electrolux Home Products Corporation N.V. Control device for kitchen appliance
CN102803854B (zh) * 2009-06-12 2015-09-02 伊莱克斯家用产品股份有限公司 用于厨房用具的控制装置
EP2583600A1 (fr) 2011-10-19 2013-04-24 MKN Maschinenfabrik Kurt Neubauer GmbH & Co. Appareil de cuisson doté de plusieurs espaces de cuisson et procédé de commande d'un tel appareil
EP2695552A1 (fr) * 2012-08-10 2014-02-12 Frima-T Sas Appareil de cuisson

Also Published As

Publication number Publication date
EP1719952A3 (fr) 2008-02-20
FR2884903A1 (fr) 2006-10-27
FR2884903B1 (fr) 2007-10-05
EP1719952B1 (fr) 2018-01-17

Similar Documents

Publication Publication Date Title
RU2387361C2 (ru) Панель управления автомата для приготовления горячих напитков и автомат, содержащий такую панель управления
US9750089B2 (en) Cooking device with a predetermined parameter, program and/or mode of operation
US10260754B2 (en) Advanced electronic control display
EP1719952B1 (fr) Cuisinière comprenant aux moins deux modules de cuisson et un système d'affichage
US20080218486A1 (en) Contextual Touch Panel
FR2993431A1 (fr) Machine agricole a systeme perfectionne d'affichage de parametres fonctionnels
JP2009288451A (ja) 商品情報表示システム
US20170295997A1 (en) Capacitive touch faceplate for a blender
JP2017006550A (ja) 調理器の表示装置
JP2003262345A (ja) 加熱調理器
US7008022B2 (en) Lever arm with tactile contour
JP2018132200A (ja) コンロおよび調理支援システム
EP3273834B1 (fr) Dispositif de gestion de la cuisson muni d'un afficheur perfectionne
JP6110733B2 (ja) 加熱調理装置
JP2007060917A (ja) 調理用食品
EP2291623A1 (fr) Appareil de pesage a interface interactive
JP4879564B2 (ja) 加熱調理器
JP3116243U (ja) 調理用食品
WO2001015011B1 (fr) Procedes et dispositifs de selection d'articles tels que des fichiers de donnees
JP2006126379A (ja) 多機能画像表示装置
EP2402660B1 (fr) Dispositif de commande d'un appareil électroménager
JP2025184227A (ja) 炊飯器
KR101312133B1 (ko) 온도표시용 집게
JP2019000286A (ja) 調理器の表示装置
JPH1114066A (ja) 加熱調理器

Legal Events

Date Code Title Description
PUAI Public reference made under article 153(3) epc to a published international application that has entered the european phase

Free format text: ORIGINAL CODE: 0009012

AK Designated contracting states

Kind code of ref document: A2

Designated state(s): AT BE BG CH CY CZ DE DK EE ES FI FR GB GR HU IE IS IT LI LT LU LV MC NL PL PT RO SE SI SK TR

AX Request for extension of the european patent

Extension state: AL BA HR MK YU

PUAL Search report despatched

Free format text: ORIGINAL CODE: 0009013

AK Designated contracting states

Kind code of ref document: A3

Designated state(s): AT BE BG CH CY CZ DE DK EE ES FI FR GB GR HU IE IS IT LI LT LU LV MC NL PL PT RO SE SI SK TR

AX Request for extension of the european patent

Extension state: AL BA HR MK YU

17P Request for examination filed

Effective date: 20080325

AKX Designation fees paid

Designated state(s): DE FR GB IT

17Q First examination report despatched

Effective date: 20090526

RAP1 Party data changed (applicant data changed or rights of an application transferred)

Owner name: RATIONAL AG

Owner name: FRIMA T SAS

RAP1 Party data changed (applicant data changed or rights of an application transferred)

Owner name: FRIMA INTERNATIONAL AG

Owner name: RATIONAL AG

GRAP Despatch of communication of intention to grant a patent

Free format text: ORIGINAL CODE: EPIDOSNIGR1

INTG Intention to grant announced

Effective date: 20170920

GRAS Grant fee paid

Free format text: ORIGINAL CODE: EPIDOSNIGR3

GRAA (expected) grant

Free format text: ORIGINAL CODE: 0009210

AK Designated contracting states

Kind code of ref document: B1

Designated state(s): DE FR GB IT

REG Reference to a national code

Ref country code: GB

Ref legal event code: FG4D

Free format text: NOT ENGLISH

REG Reference to a national code

Ref country code: DE

Ref legal event code: R096

Ref document number: 602006054562

Country of ref document: DE

REG Reference to a national code

Ref country code: FR

Ref legal event code: PLFP

Year of fee payment: 13

REG Reference to a national code

Ref country code: DE

Ref legal event code: R097

Ref document number: 602006054562

Country of ref document: DE

PLBE No opposition filed within time limit

Free format text: ORIGINAL CODE: 0009261

STAA Information on the status of an ep patent application or granted ep patent

Free format text: STATUS: NO OPPOSITION FILED WITHIN TIME LIMIT

26N No opposition filed

Effective date: 20181018

GBPC Gb: european patent ceased through non-payment of renewal fee

Effective date: 20180421

PG25 Lapsed in a contracting state [announced via postgrant information from national office to epo]

Ref country code: GB

Free format text: LAPSE BECAUSE OF NON-PAYMENT OF DUE FEES

Effective date: 20180421

P01 Opt-out of the competence of the unified patent court (upc) registered

Effective date: 20230619

REG Reference to a national code

Ref country code: DE

Ref legal event code: R084

Ref document number: 602006054562

Country of ref document: DE

REG Reference to a national code

Ref country code: DE

Ref legal event code: R081

Ref document number: 602006054562

Country of ref document: DE

Owner name: RATIONAL INTERNATIONAL AG, CH

Free format text: FORMER OWNERS: FRIMA INTERNATIONAL AG, HEERBRUGG, CH; RATIONAL AG, 86899 LANDSBERG, DE

Ref country code: DE

Ref legal event code: R081

Ref document number: 602006054562

Country of ref document: DE

Owner name: RATIONAL AG, DE

Free format text: FORMER OWNERS: FRIMA INTERNATIONAL AG, HEERBRUGG, CH; RATIONAL AG, 86899 LANDSBERG, DE

PGFP Annual fee paid to national office [announced via postgrant information from national office to epo]

Ref country code: DE

Payment date: 20250417

Year of fee payment: 20

PGFP Annual fee paid to national office [announced via postgrant information from national office to epo]

Ref country code: IT

Payment date: 20250430

Year of fee payment: 20

PGFP Annual fee paid to national office [announced via postgrant information from national office to epo]

Ref country code: FR

Payment date: 20250424

Year of fee payment: 20

REG Reference to a national code

Ref country code: DE

Ref legal event code: R071

Ref document number: 602006054562

Country of ref document: DE