EP1566868A2 - Überspannungsschutzelement und Zündelement für ein Überspannungsschutzelement - Google Patents

Überspannungsschutzelement und Zündelement für ein Überspannungsschutzelement Download PDF

Info

Publication number
EP1566868A2
EP1566868A2 EP05003261A EP05003261A EP1566868A2 EP 1566868 A2 EP1566868 A2 EP 1566868A2 EP 05003261 A EP05003261 A EP 05003261A EP 05003261 A EP05003261 A EP 05003261A EP 1566868 A2 EP1566868 A2 EP 1566868A2
Authority
EP
European Patent Office
Prior art keywords
ignition
electrodes
overvoltage protection
ignition element
element according
Prior art date
Legal status (The legal status is an assumption and is not a legal conclusion. Google has not performed a legal analysis and makes no representation as to the accuracy of the status listed.)
Granted
Application number
EP05003261A
Other languages
English (en)
French (fr)
Other versions
EP1566868A3 (de
EP1566868B1 (de
Inventor
Rainer Dipl.-Ing. Durth
Current Assignee (The listed assignees may be inaccurate. Google has not performed a legal analysis and makes no representation or warranty as to the accuracy of the list.)
Phoenix Contact GmbH and Co KG
Original Assignee
Phoenix Contact GmbH and Co KG
Priority date (The priority date is an assumption and is not a legal conclusion. Google has not performed a legal analysis and makes no representation as to the accuracy of the date listed.)
Filing date
Publication date
Application filed by Phoenix Contact GmbH and Co KG filed Critical Phoenix Contact GmbH and Co KG
Publication of EP1566868A2 publication Critical patent/EP1566868A2/de
Publication of EP1566868A3 publication Critical patent/EP1566868A3/de
Application granted granted Critical
Publication of EP1566868B1 publication Critical patent/EP1566868B1/de
Anticipated expiration legal-status Critical
Expired - Lifetime legal-status Critical Current

Links

Images

Classifications

    • HELECTRICITY
    • H01ELECTRIC ELEMENTS
    • H01TSPARK GAPS; OVERVOLTAGE ARRESTERS USING SPARK GAPS; SPARKING PLUGS; CORONA DEVICES; GENERATING IONS TO BE INTRODUCED INTO NON-ENCLOSED GASES
    • H01T4/00Overvoltage arresters using spark gaps
    • H01T4/10Overvoltage arresters using spark gaps having a single gap or a plurality of gaps in parallel
    • HELECTRICITY
    • H01ELECTRIC ELEMENTS
    • H01TSPARK GAPS; OVERVOLTAGE ARRESTERS USING SPARK GAPS; SPARKING PLUGS; CORONA DEVICES; GENERATING IONS TO BE INTRODUCED INTO NON-ENCLOSED GASES
    • H01T1/00Details of spark gaps
    • H01T1/20Means for starting arc or facilitating ignition of spark gap

Definitions

  • the invention relates to an overvoltage protection element for deriving transient overvoltages, with at least two electrodes, with at least an arranged between the electrodes ignition element of insulating Material and with an effective between the electrodes air breakdown spark gap, wherein upon ignition of the air breakdown spark gap an arc is created between the two electrodes.
  • the invention also relates to an ignition element for use in an overvoltage protection element.
  • Overvoltages are all voltages above the upper tolerance limit of the rated voltage. These include in particular, the transient overvoltages due to atmospheric Discharge, but also by switching operations or short circuits in Power supply networks can occur and galvanic, inductive or capacitive can be coupled into electrical circuits.
  • electronic Measuring, control, regulating and switching circuits, especially telecommunications equipment and facilities, wherever they are used To protect against transient overvoltages are overvoltage protection element or overvoltage protection devices have been developed and since known for over twenty years.
  • Essential component of overvoltage protection elements here in speech standing type is at least one spark gap, which at a certain Overvoltage, the response voltage, responds and thus prevents in the protected by an overvoltage protection circuit Overvoltages occur that are greater than the response voltage of the spark gap are.
  • the overvoltage protection element according to the invention two electrodes and one existing between the two electrodes or effective air breakdown spark gap has.
  • Air Punch Spark gap is generally a breakdown spark gap meant; it should also be covered by a breakdown spark gap, not air, but another gas between the electrodes is available.
  • overvoltage protection elements with an air breakdown spark gap there are overvoltage protection elements with an air flashover spark gap, in which when responding a sliding discharge occurs.
  • German Patent Application 198 03 636 is an overvoltage protection element or an overvoltage protection device with two electrodes, with an effective air-breakdown spark gap between the two electrodes and a starting aid known.
  • the ignition aid is designed as an "active ignition aid", namely the fact that in addition to the two electrodes - there as main electrodes designated - two ignition electrodes are still provided. These two ignition electrodes form a second, serving as a spark gap air breakdown spark gap.
  • this known overvoltage protection device belongs to the Zünd Anlagen except the spark gap still Ignition circuit with an ignition switch. In case of overvoltage at the known overvoltage protection device ensures the ignition circuit the ignition switching element for a response of the spark gap.
  • the Spark gap or the two ignition electrodes are in relation to the two Main electrodes arranged such that in that the spark gap has addressed the air breakdown spark gap between the two main electrodes responds.
  • the response of the spark gap results in an ionization of the existing in the air breakdown spark gap Air, so that - abruptly - after response of the spark gap then the air breakdown spark gap between the two main electrodes responds.
  • the invention is therefore based on the object, an overvoltage protection element to provide the type described above, in which particularly simple and effective way a relatively low and As constant as possible operating voltage can be guaranteed. That too used ignition element should be as simple and therefore cost can be produced.
  • the overvoltage protection element according to the invention in which the previously indicated Task is now initially and essentially characterized that the ignition element is arranged and designed so that between the two electrodes an area of weakened insulation (ignition area) is provided and that when applying a voltage to the ignition element a discharge on the surface of the ignition element to a conductive Connection between the two leads leads, where the conductive Compound has a low current carrying capacity.
  • the ignition element is chosen or dimensioned so that when a concern Voltage greater than the response voltage of the overvoltage protection element is, a sliding discharge occurs on the surface of the ignition element, leading to a conductive connection between the two - on the ignition element adjacent - electrodes leads. At a load of this conductive Connection with a leakage current occurs then due to the low Current carrying capacity of the conductive connection to a "burning" of the conductive Connection. By this "burning" the ignition area is ionized, so that it - abruptly - to ignite the air breakdown spark gap comes between the two electrodes.
  • the invention differs Overvoltage protection element substantially from the known Overvoltage protection elements.
  • an element between the two electrodes to arrange insulating material, but this element exists accordingly his role as a stamper made of an insulating material, which also at a pending arc the desired isolation between the two Permanently ensured electrodes.
  • DE 42 44 051 A1 is indeed also an overvoltage protection element is known in which between the two Electrodes an ignition element made of insulating material is arranged in this known overvoltage protection element is the ignition of the air breakdown spark gap but only in that on the ignition element a Sliding discharge occurs.
  • the known overvoltage protection element is due to the arrangement of the ignition element between the two electrodes thus realizing an auxiliary air flashover spark gap; a conductive Connection between the two electrodes via the ignition element is against not provided.
  • the arrangement and design of the ignition element described above can preferably be effected in that the area of weakened insulation (Ignition) is realized by a recess in the ignition element.
  • the area of weakened insulation Ignition
  • the Ignition area edge form in the ignition element.
  • the ignition element may preferably be a plastic with a relatively low CTI value (Comperative Trecking Index) used become.
  • CTI value Comperative Trecking Index
  • POM overvoltage protection elements for the spacers arranged between the electrodes Plastics
  • the ignition element arranged and formed so that when queuing an arc between the electrodes, a charring of the surface of the ignition element occurs.
  • the surface of the ignition element is a conductive, applied low current carrying coating. This will be a ensures conductive connection between the two electrodes, which is independent from that by the discharge on the surface of the ignition element occurring charring is.
  • the coating can for example by a chemical, thermal or electrothermal charring of the Surface of the ignition element in the manufacture of the overvoltage protection element will be realized.
  • the overvoltage protection element advantageously a voltage switching element connected in series.
  • a voltage switching element in particular a gas-filled surge arrester, a varistor or a suppressor diode may be provided.
  • the voltage switching element is chosen or dimensioned so that it is in the Response voltage of the overvoltage protection device is conductive, ie "Switches". This is then due to the overvoltage protection element or on the two electrodes to the overvoltage, which then to the previously in detail described ignition of the air breakdown spark gap through the initiated by the ignition element initial ignition leads.
  • the ignition element described above, in particular in the previously described Overvoltage protection element can be used is characterized particularly simple and inexpensive to produce that the ignition element of at least two electrically conductive layers and at least one in between arranged insulating layer, wherein the insulating Layer by gluing or pressing with the electrically conductive Layers is connected and an area of weakened insulation (ignition area) having.
  • the preparation of the ignition element according to the invention can doing so according to the known manufacturing processes for multilayer Printed circuit boards (multilayer printed circuit boards) are carried out, and for the most part also the known materials, d. H. Copper foils for the electrically conductive Layers and polyimide foils or FR4 foils for the insulating layer can be used.
  • electrically conductive layers or films in particular copper foils and insulating foils, for example polyimide foils, allows very small distances between the conductive layers produce at very tight dimensional tolerances.
  • the electrically conductive Layers are so far apart from each other through the insulating layer space or isolate that the electrical insulation significantly above the in the worst case expected operating voltage of the overvoltage protection element lies.
  • both for the electrically conductive Layers and for the insulating layer of copper foils or polyimide films or FR4 transparencies available by default Thicknesses of 35 microns, 50 microns, 70 microns or 100 microns are used.
  • copper foils instead of copper foils, other metallic Foils or electrically conductive plastic films are used.
  • the area of weakened insulation (ignition area) in the insulating layer in which both the initial ignition and the actual ignition of the air breakdown spark gap can take place simply through a recess or a hole in the insulating layer and optionally additionally in one or both electrically conductive layers. It can be a Hole, which is conductive both in the insulating layer and in the two Layers is formed, for example, simply by a corresponding Be produced after lamination of the individual layers.
  • an overvoltage protection element according to the invention is only with regard to its basic structure shown.
  • To the illustrated overvoltage protection element include a first electrode 1, a second electrode 2, an ignition element 3 arranged between the two electrodes 1 and 2 and an existing between the two electrodes 1 and 2 or effective Air Punch Spark gap 4.
  • an Air Punch Spark gap 4 arises between the two electrodes 1 and 2 - not illustrated - arc over which the derived lightning current flows.
  • the ignition element 3 is now arranged so that between the two electrodes 1 and 2 an area of weakened insulation (ignition area) is formed, in the case of igniting the air breakdown spark gap 4 of the arc arises.
  • the ignition element 3 is designed so that when concerns a voltage on the ignition element 3, a discharge on the surface 5 of the ignition element 3 to a conductive connection between the two Leads electrodes 1 and 2, wherein the conductive compound only a small Current carrying capacity. Now start over this conductive connection a leakage current to flow, so it comes because of the low current carrying capacity the conductive connection to a burning of the conductive connection and thus to an ionization of the ignition area, resulting in a abrupt ignition of the air breakdown spark gap 4 leads.
  • the actual overvoltage protection element an additional voltage switching element 6, for example a varistor and / or a gas-filled surge arrester in Series switched.
  • the voltage switching element 6 is so dimensioned that it is at the response voltage of the overvoltage protection device becomes conductive.
  • the overvoltage protection device Occurs at the overvoltage protection device one Overvoltage, this leads to a switching of the voltage switching element 6, so that then the overvoltage is applied to the two electrodes 1 and 2, resulting in the above-described ignition of the air breakdown spark gap 4 due to the ignition triggered by the ignition of the ignition element 3 leads.
  • the voltage switching element prevents 6, that normally, d. H. if there is no overvoltage, a - then unwanted - current through the overvoltage protection element flows.
  • the ignition element 3 shown in FIGS. 2 to 4 consists of two conductive Layers 7, 8 and an insulating layer 9 arranged between them, wherein the area of weakened insulation through a recess 10 in the insulating layer 9 is realized.
  • the recess for example, according to 1 and 3 may be formed as a central hole, can easily through Drilling or milling are made. It can - as a comparison 2 and 4 shows - the recess 10 either only in a conductive Layer 7 or be formed in two conductive layers 7, 8.
  • the production of the ignition element 3 according to the invention is now particularly special simply, that of producing multilayer printed circuit boards (Multilayer printed circuit boards) known manufacturing processes are applied can.
  • the conductive layers 7, 8, which may be for example to act standardized copper foils, with the insulating Layer 9 are connected by lamination.
  • the insulating Layer 9 are suitable for the production of multilayer printed circuit boards known materials, such as polyimide films or FR-4 films, with their standard available thicknesses of 35 to 100 ⁇ m. This allows the distance between the directly with the electrodes 1 and 2 Connectable conductive layers 7, 8 very low but still very accurate can be adjusted, whereby very low threshold voltages can be realized are.
  • the insulating layer 9 has a slight larger outer diameter than the conductive layers 7, 8, so that on Edge region 11 of the ignition element 3 by an extended creepage distance a Increased insulation is given, which prevents ignition in this area becomes.
  • Fig. 5 shows an embodiment of a firing element 3, the more conductive Layers 7, 8 and a plurality of insulating layers 9 has.
  • the three conductive layers 7, 7 'and 7 "and the three conductive layers 8, 8 'and 8" are electrically connected to each other connected so that, although a total of six conductive layers 7, 7 ', 7 “and 8, 8 ', 8 "are present, but these have only two different potentials, wherein the two potentials are arranged alternately to each other and each separated by an insulating layer 9.
  • the ignition element 3 can manufacture variations due to the properties of the insulating layers 9 and thereby conditional Fluctuations in the response voltage of the ignition element 3 balanced become.
  • the initial ignition is always from the sectionzündelement 3 ' triggered that has the lowest operating voltage, d. H. otherwise same properties in the sectionzündelement 3 'with the thinnest insulating Layer 9.
  • the ignition element 3 a plurality of conductive layers 7, 7 ', 8, 8' and a plurality of insulating layers 9 on, wherein the conductive layers 7, 7 'and 8, 8' electrically connected to each other are, so that there are only two different potentials here.
  • the two different potentials do not alternate several times arranged.
  • the advantage of this embodiment compared to the embodiment As shown in FIG. 2 is that after the ignition of the air breakdown spark gap 4 of the arc directly on the outside conductive Layers 7, 8 skips so that a larger arc is present.
  • FIGS. 7 and 8 show two embodiments of an ignition element 3 with three horizontally one above the other (Fig. 7) and four horizontally next to each other arranged potentials (Fig. 8).
  • Such ignition elements 3 are suitable
  • the ignition element 3 of FIG. 7 a third conductive layer 13 provided by the second conductive Layer 8 is separated by a second insulating layer 14, so that the three conductive layers 7, 8, 13 have three different potentials.
  • conductive layers 8, 13, 15 and 16 are provided, each electrically not connected to each other.
  • the conductive layers 8, 13, 15 and 16 are each formed like a circle segment and side by side arranged, with the circular conductive layer 7 opposite to all is arranged.
  • For a pending overvoltage between the first conductive layer 7 and one of the other conductive layers 8, 13, 15 or 16 it comes first to an initial spark of the respective Air breakdown spark gap 4, due to the arrangement of the individual conductive layers 8, 13, 15 and 16 to each other or to the conductive Layer 7 is an ignition of all air breakdown spark gap 4.
  • the desired level of protection not only between the active phase conductors (L1, L2, L3) and the neutral conductor (N) or between the neutral conductor (N) and earth (PE) but ensured between all lines.

Landscapes

  • Emergency Protection Circuit Devices (AREA)
  • Thermistors And Varistors (AREA)

Abstract

Beschrieben und dargestellt ist ein Überspannungsschutzelement zum Ableiten von transienten Überspannungen, mit mindestens zwei Elektroden (1, 2), mit mindestens einem zwischen den Elektroden (1, 2) angeordneten Zündelement (3) aus isolierendem Material und mit einer zwischen den Elektroden (1, 2) wirksamen Luft-Durchschlag-Funkenstrecke (4), wobei beim Zünden der Luft-Durchschlag-Funkenstrecke (4) zwischen den beiden Elektroden (1, 2) ein Lichtbogen entsteht.
Erfindungsgemäß ist ein Überspannungsschutzelement in besonders einfacher Weise mit einem besonders einfach herstellbaren Zündelement (3) versehen, wobei daß das Zündelement (3) so angeordnet und ausgebildet ist, daß zwischen den beiden Elektroden (1, 2) ein Bereich geschwächter Isolation (Zündbereich) vorgesehen ist und daß beim Anliegen einer Spannung an dem Zündelement (3) eine Entladung an der Oberfläche (5) des Zündelements (3) zu einer leitfähigen Verbindung zwischen den beiden Elektroden (1, 2) führt, wobei die leitfähigen Verbindung eine geringe Stromtragfähigkeit aufweist.

Description

Die Erfindung betrifft ein Überspannungsschutzelement zum Ableiten von transienten Überspannungen, mit mindestens zwei Elektroden, mit mindestens einem zwischen den Elektroden angeordneten Zündelement aus isolierendem Material und mit einer zwischen den Elektroden wirksamen Luft-Durchschlag-Funkenstrecke, wobei beim Zünden der Luft-Durchschlag-Funkenstrecke zwischen den beiden Elektroden ein Lichtbogen entsteht. Daneben betrifft die Erfindung noch ein Zündelement zur Verwendung bei einem Überspannungsschutzelement.
Elektrische, insbesondere aber elektronische Meß-, Steuer-, Regel- und Schaltkreise, vor allem auch Telekommunikationseinrichtungen und -anlagen, sind empfindlich gegen transiente Überspannungen, wie sie insbesondere durch atmosphärische Entladungen, aber auch durch Schalthandlungen oder Kurzschlüsse in Energieversorgungsnetzen auftreten können. Diese Empfindlichkeit hat in dem Maße zugenommen, in dem elektronische Bauelemente, insbesondere Transistoren und Thyristoren, verwendet werden; vor allem sind zunehmend eingesetzte integrierte Schaltkreise in starkem Maße durch transiente Überspannungen gefährdet. Überspannungen können in erheblichem Umfang elektrische und elektronische Geräte und Anlagen zerstören. Die Schäden begrenzen sich dabei nicht nur auf industrielle und gewerblichen Anlagen. Auch die Gebäudetechnik, bishin zu den Geräten des täglichen Gebrauchs im privaten Haushalt, wie Küchengeräte, Telefonanlage, Fernsehgeräte und Hifi-Anlagen sowie Computer sind betroffen. Ohne wirkungsvolle Schutzmaßnahmen gegen Überspannungen sind mit hohe Kosten für Reparatur oder Neuanschaffung der betroffenen Anlagen und Geräte zu rechnen.
Elektrische Stromkreise arbeiten mit der für sie spezifizierten Spannung, der Nennspannung, normalerweise störungsfrei. Das gilt dann nicht, wenn Überspannungen auftreten. Als Überspannungen gelten alle Spannungen, die oberhalb der oberen Toleranzgrenze der Nennspannung liegen. Hierzu zählen vor allem auch die transienten Überspannungen, die aufgrund von atmosphärischen Entladungen, aber auch durch Schalthandlungen oder Kurzschlüsse in Energieversorgungsnetzen auftreten können und galvanisch, induktiv oder kapazitiv in elektrische Stromkreise eingekoppelt werden können. Um nun elektronische Meß-, Steuer-, Regel- und Schaltkreise, vor allem auch Telekommunikationseinrichtungen und -anlagen, wo auch immer sie eingesetzt sind, gegen transiente Überspannungen zu schützen, sind Überspannungsschutzelement bzw. Überspannungsschutzeinrichtungen entwickelt worden und seit mehr als zwanzig Jahren bekannt.
Wesentlicher Bestandteil von Überspannungsschutzelementen der hier in Rede stehenden Art ist mindestens eine Funkenstrecke, die bei einer bestimmten Überspannung, der Ansprechspannung, anspricht und damit verhindert, daß in dem durch eine Überspannungsschutzeinrichtung geschützten Stromkreis Überspannungen auftreten, die größer als die Ansprechspannung der Funkenstrecke sind.
Eingangs ist ausgeführt worden, daß das erfindungsgemäße Überspannungsschutzelement zwei Elektroden und eine zwischen den beiden Elektroden existente bzw. wirksame Luft-Durchschlag-Funkenstrecke aufweist. Mit Luft-Durchschlag-Funkenstrecke ist ganz allgemein eine Durchschlag-Funkenstrecke gemeint; umfaßt sein soll damit also auch eine Durchschlag-Funkenstrecke, bei der nicht Luft, sondern ein anderes Gas zwischen den Elektroden vorhanden ist. Neben Überspannungsschutzelementen mit einer Luft-Durchschlag-Funkenstrecke gibt es Überspannungsschutzelemente mit einer Luft-Überschlag-Funkenstrecke, bei denen beim Ansprechen eine Gleitentladung auftritt.
Überspannungsschutzelemente mit einer Luft-Durchschlag-Funkenstrecke haben gegenüber Überspannungsschutzelementen mit einer Luft-Überschlag-Funkenstrecke den Vorteil einer höheren Stoßstromtragfähigkeit, jedoch den Nachteil einer höheren - und auch nicht sonderlich konstanten - Ansprechspannung. Deshalb sind bereits verschiedene Überspannungsschutzelemente mit einer Luft-Durchschlag-Funkenstrecke vorgeschlagen worden, die in bezug auf die Ansprechspannung verbessert worden sind. Dabei sind im Bereich der Elektroden bzw. der zwischen den Elektroden wirksamen Luft-Durchschlag-Funkenstrecke in verschiedener Weise Zündhilfen realisiert worden, z. B. dergestalt, daß zwischen den Elektroden mindestens eine eine Gleitentladung auslösende Zündhilfe vorgesehen worden ist, die zumindest teilweise in die Luft-Durchschlag-Funkenstrecke hineinragt, stegartig ausgeführt ist und aus Kunststoff besteht (vgl. z. B. DE 41 41 681 A1, DE 42 44 051 A1 oder DE 44 02 615 A1).
Die bei den bekannten Überspannungsschutzelementen vorgesehenen, zuvor angesprochenen Zündhilfen können gleichsam als "passive Zündhilfen" bezeichnet werden, "passive Zündhilfen" deshalb, weil sie nicht selbst "aktiv" ansprechen, sondern nur durch eine Überspannung ansprechen, die an den Hauptelektroden auftritt.
Aus der deutschen Offenlegungsschrift 198 03 636 ist ein Überspannungsschutzelement bzw. eine Überspannungsschutzeinrichtung mit zwei Elektroden, mit einer zwischen den beiden Elektroden wirksamen Luft-Durchschlag-Funkenstrecke und einer Zündhilfe bekannt. Bei dieser bekannten Überspannungsschutzeinrichtung ist die Zündhilfe als "aktive Zündhilfe" ausgebildet, nämlich dadurch, daß neben den beiden Elektroden - dort als Hauptelektroden bezeichnet - noch zwei Zündelektroden vorgesehen sind. Diese beiden Zündelektroden bilden eine zweite, als Zündfunkenstrecke dienende Luft-Durchschlag-Funkenstrecke. Bei dieser bekannten Überspannungsschutzeinrichtung gehört zu der Zündhilfe außer der Zündfunkenstrecke noch ein Zündkreis mit einem Zündschaltelement. Bei Anliegen einer Überspannung an der bekannten Überspannungsschutzeinrichtung sorgt der Zündkreis mit dem Zündschaltelement für ein Ansprechen der Zündfunkenstrecke. Die Zündfunkenstrecke bzw. die beiden Zündelektroden sind in bezug auf die beiden Hauptelektroden derart angeordnet, daß dadurch, daß die Zündfunkenstrecke angesprochen hat, die Luft-Durchschlag-Funkenstrecke zwischen den beiden Hauptelektroden anspricht. Das Ansprechen der Zündfunkenstrekke führt zu einer Ionisierung der in der Luft-Durchschlag-Funkenstrecke vorhandenen Luft, so daß - schlagartig - nach Ansprechen der Zündfunkenstrecke dann auch die Luft-Durchschlag-Funkenstrecke zwischen den beiden Hauptelektroden anspricht.
Bei den bekannten, zuvor beschriebenen Ausführungsformen von Überspannungsschutzelementen mit Zündhilfen führen die Zündhilfen zu einer verbesserten, nämlich niedrigeren und konstanteren Ansprechspannung. Nachteilig bei einer aktiven Zündhilfe ist jedoch, daß ein zusätzlicher Zündkreis mit einem Zündschaltelement erforderlich ist, um ein Ansprechen der Zündfunkenstrecke zu realisieren. Dabei besteht die Gefahr, daß die Zündfunkenstrekke bzw. der Zündkreis mit dem Zündschaltelement durch den Blitzstrom oder den zumeist auftretenden Netzfolgestrom zerstört werden.
Der Erfindung liegt daher die Aufgabe zugrunde, ein Überspannungsschutzelement der eingangs beschriebenen Art zur Verfügung zu stellen, bei dem auf besonders einfache und effektive Art und Weise eine relativ niedrige und möglichst konstante Ansprechspannung gewährleistet werden kann. Das dazu verwendete Zündelement soll dabei möglichst einfach und damit kostengünstig hergestellt werden können.
Das erfindungsgemäße Überspannungsschutzelement, bei dem die zuvor aufgezeigte Aufgabe gelöst ist, ist nun zunächst und im wesentlichen dadurch gekennzeichnet, daß das Zündelement so angeordnet und ausgebildet ist, daß zwischen den beiden Elektroden ein Bereich geschwächter Isolation (Zündbereich) vorgesehen ist und daß beim Anliegen einer Spannung an dem Zündelement eine Entladung an der Oberfläche des Zündelements zu einer leitfähigen Verbindung zwischen den beiden Elektroden führt, wobei die leitfähige Verbindung eine geringe Stromtragfähigkeit aufweist.
Damit ist ein völlig neues Überspannungsschutzelement mit einem Zündelement bzw. ein völlig neues Zündelement zur Verwendung bei einem Überspannungsschutzelement realisiert, wie sich aus der folgenden Funktionsbeschreibung ergibt:
Das Zündelement ist so gewählt bzw. dimensioniert, daß beim Anliegen einer Spannung, die größer als die Ansprechspannung des Überspannungsschutzelements ist, eine Gleitentladung an der Oberfläche des Zündelements auftritt, die zu einer leitfähigen Verbindung zwischen den beiden - an dem Zündelement angrenzenden - Elektroden führt. Bei einer Belastung dieser leitfähigen Verbindung mit einem Ableitstrom kommt es dann aufgrund der geringen Stromtragfähigkeit der leitenden Verbindung zu einem "Aufbrennen" der leitenden Verbindung. Durch dieses "Aufbrennen" wird der Zündbereich ionisiert, so daß es - schlagartig - zu einem Zünden der Luft-Durchschlag-Funkenstrecke zwischen den beiden Elektroden kommt.
Durch die gewollt auftretende leitfähige Verbindung zwischen den beiden Elektroden der Luft-Durschlag-Funkenstrecke unterscheidet sich das erfindungsgemäße Überspannungsschutzelement wesentlich von den bekannten Überspannungsschutzelementen. Aus dem Stand der Technik (vgl. 198 56 939 A1) ist es zwar bekannt, zwischen den beiden Elektroden ein Element aus isolierendem Material anzuordnen, dieses Element besteht jedoch entsprechend seiner Funktion als Dienstanzhalter aus einem Isolierstoff, der auch bei einem anstehenden Lichtbogen die gewollte Isolation zwischen den beiden Elektroden dauerhaft gewährleistet. Aus der DE 42 44 051 A1 ist zwar ebenfalls ein Überspannungsschutzelement bekannt, bei dem zwischen den beiden Elektroden ein Zündelement aus isolierendem Material angeordnet ist, bei diesem bekannten Überspannungsschutzelement erfolgt die Zündung der Luft-Durchschlag-Funkenstrecke jedoch nur dadurch, daß an dem Zündelement eine Gleitentladung auftritt. Bei dem bekannten Überspannungsschutzelement wird durch die Anordnung des Zündelements zwischen den beiden Elektroden somit eine Hilfs-Luft-Überschlag-Funkenstrecke realisiert; eine leitfähige Verbindung zwischen den beiden Elektroden über das Zündelement ist dagegen nicht vorgesehen.
Die zuvor beschriebene Anordnung und Ausbildung des Zündelements kann vorzugsweise dadurch erfolgen, daß der Bereich geschwächter Isolation (Zündbereich) durch eine Aussparung im Zündelement realisiert ist. Bei dieser Aussparung kann es sich beispielsweise einfach um ein in dem Zündelement eingebrachtes Loch handeln, wobei dann der Zündbereich vollständig von dem Zündelement umgeben ist. Daneben ist es jedoch auch möglich den Zündbereich randseitig in dem Zündelement auszubilden.
Als Material für das Zündelement kann vorzugsweise ein Kunststoff mit einem relativ niedrigen CTI-Wert (Comperative Trecking Index) verwendet werden. Durch die Verwendung eines Kunststoffes mit einem niedrigen CTI-Wert - und damit mit einer niedrigen Kriechstromfestigkeit - wird die gewollte Ausbildung der leitfähigen Verbindung an der Oberfläche des Zündelements gefördert. Im Unterschied dazu werden bei bekannten Überspannungsschutzelementen für die zwischen den Elektroden angeordneten Distanzhalter Kunststoffe, beispielsweise POM, mit einem möglichst hohen CTI-Wert verwendet.
Gemäß einer weiteren bevorzugten Ausgestaltung der Erfindung ist das Zündelement so angeordnet und ausgebildet, daß beim Anstehen eines Lichtbogens zwischen den Elektroden eine Verkohlung der Oberfläche des Zündelements auftritt. Dadurch wird erreicht, daß bei einem erneuten Auftreten einer Überspannung die Anfangsbedingungen einer leitfähigen, gering stromtragfähigen Verbindung zwischen den beiden Elektroden an der Oberfläche des Zündelements erneut vorliegen, so daß es wieder zu einer Initialzündung der Luft-Durschlag-Funkenstrecke und zu einem "Aufbrennen" der leitenden Verbindung und somit zu einer Ionisierung des Zündbereichs kommt. Dadurch wird ein Überspannungsschutzelement zur Verfügung gestellt, welches auch bei mehreren, zeitlich nacheinander auftretenden Überspannungen ein konstantes Ansprechverhalten mit einer niedrigen Ansprechspannung aufweist.
Zur Verbesserung des Ansprechverhaltens des erfindungsgemäßen Überspannungsschutzelements beim ersten Anliegen einer Überspannung ist gemäß einer bevorzugten Ausgestaltung auf der Oberfläche des Zündelements eine leitfähige, gering stromtragfähige Beschichtung aufgebracht. Dadurch wird eine leitfähige Verbindung zwischen den beiden Elektroden gewährleistet, die unabhängig von der durch die Entladung an der Oberfläche des Zündelements auftretenden Verkohlung ist. Die Beschichtung kann dabei beispielsweise durch eine chemische, thermische oder elektrothermische Verkohlung der Oberfläche des Zündelements bei der Herstellung des Überspannungsschutzelements realisiert werden.
Da bei dem zuvor beschriebenen erfindungsgemäßen Überspannungsschutzelement eine leitfähige Verbindung zwischen den beiden Elektroden realisiert ist bzw. beim Anlegen einer Überspannung durch Entladung an der Oberfläche des Zündelements realisiert wird, ist dem Überspannungsschutzelement vorteilhafterweise ein Spannungsschaltelement in Reihe geschaltet. Ein Spannungsschaltelement kann dabei insbesondere ein gasgefüllter Überspannungsableiter, ein Varistor oder eine Suppressordiode vorgesehen sein. Durch das zusätzlich in Reihe geschaltete Spannungsschaltelement wird dabei verhindert, daß über das Überspannungsschutzelement im Normalfall, d. h. wenn keine Überspannung anliegt, ein Strom fließt. Bei einer derartigen Überspannungsschutzeinrichtung, die dann aus dem erfindungsgemäßen Überspannungsschutzelement und dem zusätzlichen Spannungsschaltelement besteht, ist das Spannungsschaltelement so gewählt bzw. dimensioniert, daß es bei der Ansprechspannung der Überspannungsschutzeinrichtung leitend wird, also "schaltet". Dadurch liegt dann an dem Überspannungsschutzelement bzw. an den beiden Elektroden die Überspannung an, was dann zu dem zuvor im einzelnen beschriebenen Zünden der Luft-Durchschlag-Funkenstrecke durch die von dem Zündelement ausgelöste Initialzündung führt.
Das eingangs beschriebene Zündelement, das insbesondere bei dem zuvor beschriebenen Überspannungsschutzelement verwendet werden kann, ist dadurch besonders einfach und kostengünstig herstellbar, daß das Zündelement aus mindestens zwei elektrisch leitfähigen Schichten und mindestens einer dazwischen angeordneten isolierenden Schicht besteht, wobei die isolierende Schicht durch Verkleben bzw. Verpressen mit den elektrischen leitfähigen Schichten verbunden ist und einen Bereich geschwächter Isolation (Zündbereich) aufweist. Die Herstellung des erfindungsgemäßen Zündelements kann dabei entsprechend den bekannten Herstellungsprozessen für mehrschichtige Leiterplatten (Multilayer-Leiterplatten) erfolgen, wobei größtenteils auch die daraus bekannten Materialien, d. h. Kupferfolien für die elektrisch leitfähigen Schichten und Polyimidfolien bzw. FR4-Folien für die isolierende Schicht verwendet werden können.
Die Verwendung von elektrisch leitfähigen Schichten bzw. Folien, insbesondere von Kupferfolien und von isolierenden Folien, beispielsweise Polyimidfolien, ermöglicht es sehr geringe Abstände zwischen den leitfähigen Schichten bei sehr engen Maßtoleranzen herzustellen. Die elektrisch leitfähigen Schichten sind dabei durch die isolierende Schicht so weit voneinander zu beabstanden bzw. zu isolieren, daß die elektrische Isolation deutlich über der im ungünstigsten Fall zu erwartenden Ansprechspannung des Überspannungsschutzelements liegt. In der Praxis können dabei sowohl für die elektrisch leitfähigen Schichten als auch für die isolierende Schicht Kupferfolien bzw. Polyimidfolien oder FR4-Folien mit standardmäßig zur Verfügung stehenden Dicken von 35 µm, 50 µm, 70 µm oder 100µm verwendet werden. Selbstve r-ständlich können jedoch anstelle von Kupferfolien auch andere metallische Folien oder elektrisch leitfähige Kunststofffolien verwendet werden.
Der Bereich geschwächter Isolation (Zündbereich) in der isolierenden Schicht, in dem sowohl die Initialzündung als auch die eigentliche Zündung der Luft-Durchschlag-Funkenstrecke stattfindet, kann einfach durch eine Aussparung bzw. ein Loch in der isolierenden Schicht und gegebenenfalls zusätzlich in einer oder beiden elektrisch leitfähigen Schichten realisiert sein. Dabei kann ein Loch, welches sowohl in der isolierenden Schicht als auch in den beiden leitfähigen Schichten ausgebildet ist, beispielsweise einfach durch eine entsprechende Bohrung nach dem Laminieren der einzelnen Schichten erzeugt werden.
Bei einer entsprechenden Dimensionierung der elektrisch leitfähigen Schichten können diese direkt die Funktion der Elektroden eines Überspannungsschutzelements übernehmen, so daß dann ein derartiges Zündelement selber als Überspannungsschutzelement fungieren kann. In der Regel werden die leitfähigen Schichten des Zündelements jedoch so ausgerührt, daß durch sie die Elektroden des Überspannungsschutzelements direkt kontaktiert werden können.
Im einzelnen gibt es nun eine Vielzahl von Möglichkeiten, daß erfindungsgemäße Überspannungsschutzelement bzw. das erfindungsgemäße Zündelement auszugestalten und weiterzubilden. Dazu wird verwiesen einerseits auf die den Patentansprüchen 1 und 8 nachgeordneten Patentansprüche, andererseits auf die nachfolgende Beschreibung bevorzugter Ausführungsbeispiele in Verbindung mit der Zeichnung. In der Zeichnung zeigen
Fig. 1
eine Prinzipskizze eines Ausführungsbeispiels eines erfindungsgemäßen Überspannungsschutzelements,
Fig. 2
ein erstes Ausführungsbeispiel eines erfindungsgemäßen Zündelements,
Fig. 3
ein zweites Ausführungsbeispiel eines erfindungsgemäßen Zündelements,
Fig. 4
ein Ausführungsbeispiel eines Zündelements, ähnlich der Ausführung gemäß Fig. 1,
Fig. 5
ein Ausführungsbeispiel eines Zündelements mit einer Mehrzahl von elektrisch leitfähigen und isolierenden Schichten,
Fig. 6
ein weiteres Ausführungsbeispiel eines Zündelements mit einer Mehrzahl von elektrisch leitfähigen und isolierenden Schichten,
Fig. 7
ein Ausführungsbeispiel eines Zündelements für ein mehrphasiges Überspannungsschutzsystem und
Fig. 8
ein weiteres Ausführungsbeispiel eines Zündelements für ein mehrphasiges Überspannungsschutzelement.
In der Fig, 1 ist ein erfindungsgemäßes Überspannungsschutzelement nur hinsichtlich seines prinzipiellen Aufbaus dargestellt. Zu dem dargestellten Überspannungsschutzelement gehören eine erste Elektrode 1, eine zweite Elektrode 2, ein zwischen den beiden Elektroden 1 und 2 angeordnetes Zündelement 3 und eine zwischen den beiden Elektroden 1 und 2 existente bzw. wirksame Luft-Durchschlag-Funkenstrecke 4. Beim Zünden der Luft-Durchschlag-Funkenstrecke 4 entsteht zwischen den beiden Elektroden 1 und 2 ein - nicht dargestellter - Lichtbogen über den der abzuleitende Blitzstrom fließt.
Das Zündelement 3 ist nun so angeordnet, daß zwischen den beiden Elektroden 1 und 2 ein Bereich geschwächter Isolation (Zündbereich) ausgebildet ist, in dem beim Zünden der Luft-Durchschlag-Funkenstrecke 4 der Lichtbogen entsteht. Erfindungsgemäß ist das Zündelement 3 so ausgebildet, daß bei Anliegen einer Spannung an dem Zündelement 3 eine Entladung an der Oberfläche 5 des Zündelements 3 zu einer leitfähigen Verbindung zwischen den beiden Elektroden 1 und 2 führt, wobei die leitfähige Verbindung nur eine geringe Stromtragfähigkeit aufweist. Beginnt nun über diese leitfähige Verbindung ein Ableitstrom zu fließen, so kommt es aufgrund der geringen Stromtragfähigkeit der leitfähigen Verbindung zu einem Aufbrennen der leitfähigen Verbindung und damit zu einer Ionisierung des Zündbereichs, was zu einem schlagartigen Zünden der Luft-Durchschlag-Funkenstrecke 4 führt.
Der beim Zünden der Luft-Durchschlag-Funkenstrecke 4 entstehende Lichtbogen sorgt bei einer geeigneten Dimensionierung des Zündelements 3 dafür, daß es zu einer "Verkohlung" an der Oberfläche 5 des Zündelements 3 kommt. Dadurch wird erreicht, daß bei einem erneuten Auftreten einer Überspannung wieder eine leitfähige, gering stromtragfähige Verbindung zwischen den beiden Elektroden 1 und 2 vorliegt, die bei einer Belastung mit einem Ableitstrom wiederum zu einem Aufbrennen und damit zu einer Initialzündung der Luft-Durchschlag-Funkenstrecke 4 und damit zu einem Zünden des Überspannungsschutzelemets führt.
Da bei einem derartigen Überspannungsschutzelement auch beim Anliegen der Normalspannung - gewollt - eine leitfähige Verbindung zwischen den beiden Elektroden 1 und 2 vorliegt, ist gemäß Fig. 1 dem eigentlichen Überspannungsschutzelement ein zusätzliches Spannungsschaltelement 6 beispielsweise ein Varistor und/oder ein gasgefüllter Überspannungsableiter in Reihe geschaltet. Bei einer derartigen Überspannungsschutzeinrichtung, die aus dem erfindungsgemäßen Überspannungsschutzelement und dem zusätzlichen Spannungsschaltelement 6 besteht, ist das Spannungsschaltelement 6 so dimensioniert, daß es bei der Ansprechspannung der Überspannungsschutzeinrichtung leitend wird. Tritt an der Überspannungsschutzeinrichtung eine Überspannung auf, so führt dies zu einem Schalten des Spannungsschaltelements 6, so daß dann die Überspannung an den beiden Elektroden 1 und 2 anliegt, was zu dem zuvor beschriebenen Zünden der Luft-Durchschlag-Funkenstrecke 4 durch die durch die Stromzündung ausgelöste Initialzündung des Zündelements 3 führt. Auf der anderen Seite verhindert das Spannungsschaltelement 6, daß im Normalfall, d. h. wenn keine Überspannung anliegt, ein - dann unerwünschter - Strom über das Überspannungsschutzelement fließt.
Nachfolgend werden bevorzugte Ausführungsbeispiele des erfindungsgemäßen Zündelements 3 anhand der Fig. 2 bis 8 erläutert.
Das in den Fig. 2 bis 4 dargestellte Zündelement 3 besteht aus zwei leitfähigen Schichten 7, 8 und einer dazwischen angeordneten isolierenden Schicht 9, wobei der Bereich geschwächter Isolation durch eine Aussparung 10 in der isolierenden Schicht 9 realisiert ist. Die Aussparung, die beispielsweise gemäß den Fig. 1 und 3 als mittiges Loch ausgebildet sein kann, kann einfach durch Bohren oder Fräsen hergestellt werden. Dabei kann - wie dies ein Vergleich der Fig. 2 und 4 zeigt - die Aussparung 10 entweder nur in einer leitfähigen Schicht 7 oder in beiden leitfähigen Schichten 7, 8 ausgebildet sein.
Die Herstellung des erfindungsgemäßen Zündelements 3 ist nun dadurch besonders einfach, daß die von der Herstellung mehrschichtiger Leiterplatten (Multilayer-Leiterplatten) bekannten Herstellungsprozesse angewendet werden können. So können die leitfähigen Schichten 7, 8, bei den es sich beispielsweise um standardisierte Kupferfolien handeln kann, mit der isolierenden Schicht 9 durch Laminieren verbunden werden. Auch für die isolierende Schicht 9 eignen sich dabei die aus der Herstellung von Multilayer-Leiterplatten bekannten Materialien, wie Polyimidfolien oder FR-4-Folien, mit ihren standardmäßig zur Verfügung stehenden Dicken von 35 bis 100 µm. Dadurch kann der Abstand zwischen den direkt mit den Elektroden 1 und 2 verbindbaren leitfähigen Schichten 7, 8 sehr gering aber dennoch sehr genau eingestellt werden, wodurch sehr geringe Ansprechspannungen realisierbar sind.
Bei einer - in den Ausführungsbeispielen dargestellten - kreisförmigen Ausbildung des Zündelements 3 weist die isolierende Schicht 9 einen geringfügig größeren Außendurchmesser als die leitfähigen Schichten 7, 8 auf, so daß am Randbereich 11 des Zündelements 3 durch eine verlängerte Kriechstrecke eine erhöhte Isolation gegeben ist, wodurch ein Zünden in diesem Bereich verhindert wird.
Fig. 5 zeigt ein Ausführungsbeispiel eines Zündelements 3, das mehrere leitfähige Schichten 7, 8 und mehrere isolierende Schichten 9 aufweist. Im dargestellten Ausführungsbeispiel sind dabei die drei leitfähige Schichten 7, 7' und 7" und die drei leitfähige Schichten 8, 8' und 8" jeweils elektrisch miteinander verbunden, so daß zwar insgesamt sechs leitfähige Schichten 7, 7', 7" und 8, 8', 8" vorhanden sind, diese jedoch nur zwei verschiedene Potentiale aufweisen, wobei die beiden Potentiale jeweils abwechselnd zueinander angeordnet und jeweils durch eine isolierende Schicht 9 getrennt sind. Natürlich können anstelle der gezeigten sechs leitfähige Schichten auch noch mehr leitfähige Schichten abwechselnd mit zwei unterschiedlichen Potentialen angeordnet sein.
Durch eine derartige Vervielfachung des prinzipiell in Fig. 2 gezeigten Aufbaus des Zündelements 3 können herstellungsbedingte Schwankungen bezüglich der Eigenschaften der isolierenden Schichten 9 und dadurch bedingte Schwankungen hinsichtlich der Ansprechspannung des Zündelements 3 ausgeglichen werden. Bei dem in Fig. 5 dargestellten Ausführungsbeispiel des Zündelements 3 wird die Initialzündung stets von dem Teilzündelement 3' ausgelöst, daß die geringste Ansprechspannung aufweist, d. h. bei ansonsten gleichen Eigenschaften bei dem Teilzündelement 3' mit der dünnsten isolierenden Schicht 9.
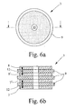
Auch bei dem Ausführungsbeispiel gemäß Fig. 6 weist das Zündelements 3 mehrere leitfähige Schichten 7, 7', 8, 8' und mehrere isolierende Schichten 9 auf, wobei die leitfähigen Schichten 7, 7' und 8, 8' elektrisch miteinander verbunden sind, so daß auch hier lediglich zwei unterschiedliche Potentiale vorliegen. Im Unterschied zu dem Ausführungsbeispiel gemäß Fig. 5 sind hier jedoch die beiden unterschiedlichen Potentiale nicht mehrfach abwechselnd angeordnet. Der Vorteil dieser Ausführungsform im Vergleich zu der Ausführung gemäß Fig. 2 besteht darin, daß nach dem Zünden der Luft-Durchschlag-Funkenstrecke 4 der Lichtbogen direkt auf die außenliegenden leitfähigen Schichten 7, 8 überspringt, so daß ein größerer Lichtbogen ansteht.
Die Fig. 7 und 8 zeigen schließlich zwei Ausführungsbeispiele eines Zündelements 3 mit drei horizontal übereinander (Fig. 7) bzw. vier horizontal nebeneinander angeordneten Potentialen (Fig. 8). Derartige Zündelemente 3 eignen sich somit zur Verwendung bei einem Überspannungsschutzelement, das in einem Drei-Phasen-Netz eingesetzt wird. Im Unterschied zu dem Ausführungsbeispiel gemäß Fig. 2 ist dabei bei dem Zündelement 3 gemäß Fig. 7 eine dritte leitfähige Schicht 13 vorgesehen, die von der zweiten leitfähigen Schicht 8 durch eine zweite isolierende Schicht 14 getrennt ist, so daß die drei leitfähigen Schichten 7, 8, 13 drei unterschiedliche Potentiale aufweisen.
Bei dem Zündelement 3, wie es in Fig. 8 dargestellt ist, sind neben einer kreisförmigen leitfähigen Schicht 7 und einer ebenfalls kreisförmigen isolierenden Schicht 9 weitere leitfähige Schichten 8, 13, 15 und 16 vorgesehen, die jeweils elektrisch nicht miteinander verbunden sind. Die leitfähigen Schichten 8, 13, 15 und 16 sind dabei jeweils kreissegmentartig ausgebildet und nebeneinander angeordnet, wobei die kreisförmigen leitfähige Schicht 7 allen gegenüberliegend angeordnet ist. Bei einer anstehenden Überspannung zwischen der ersten leitfähigen Schicht 7 und einem der anderen leitfähigen Schichten 8, 13, 15 oder 16 kommt es dann zunächst zu einer Initialzündung der jeweiligen Luft-Durchschlag-Funkenstrecke 4, wobei aufgrund der Anordnung der einzelnen leitfähigen Schichten 8, 13, 15 und 16 zueinander bzw. zur leitfähigen Schicht 7 eine Zündung aller Luft-Durchschlag-Funkenstrecke 4 erfolgt. Bei einer entsprechenden Schaltung des Überspannungsschutzelements ist dadurch der gewünschte Schutzpegel nicht nur zwischen den aktiven Phasenleitem (L1, L2, L3) und dem Neutralleiter (N) bzw. zwischen dem Neutralleiter (N) und der Erde (PE) sondern zwischen allen Leitungszweigen sichergestellt.

Claims (13)

  1. Überspannungsschutzelement zum Ableiten von transienten Überspannungen, mit mindestens zwei Elektroden (1, 2), mit mindestens einem zwischen den Elektroden (1, 2) angeordneten Zündelement (3) aus isolierendem Material und mit einer zwischen den Elektroden (1, 2) wirksamen Luft-Durchschlag-Funkenstrecke (4), wobei beim Zünden der Luft-Durchschlag-Funkenstrecke (4) zwischen den beiden Elektroden (1, 2) ein Lichtbogen entsteht,
    dadurch gekennzeichnet, daß das Zündelement (3) so angeordnet und ausgebildet ist, daß zwischen den beiden Elektroden (1, 2) ein Bereich geschwächter Isolation (Zündbereich) vorgesehen ist und daß beim Anliegen einer Spannung an dem Zündelement (3) eine Entladung an der Oberfläche (5) des Zündelements (3) zu einer leitfähigen Verbindung zwischen den beiden Elektroden (1, 2) führt, wobei die leitfähigen Verbindung eine geringe Stromtragfähigkeit aufweist.
  2. Überspannungsschutzelement nach Anspruch 1, dadurch gekennzeichnet, daß der Bereich geschwächter Isolation durch eine Aussparung (10) im Zündelement (3) realisiert ist.
  3. Überspannungsschutzelement nach Anspruch 1 oder 2, dadurch gekennzeichnet, daß das Zündelement (3) aus Kunststoff oder einem anderen isolierenden Material mit einem relativ niedrigen CTI-Wert besteht.
  4. Überspannungsschutzelement nach einem der Ansprüche 1 bis 3, dadurch gekennzeichnet, daß die leitfähigen Verbindung nur an der Oberfläche (5) des Zündelements (3) entsteht.
  5. Überspannungsschutzelement nach einem der Ansprüche 1 bis 4, dadurch gekennzeichnet, daß das Zündelement (3) so angeordnet und ausgebildet ist, daß beim Anstehen eines Lichtbogens zwischen den Elektroden (1, 2) eine "Verkohlung" der Oberfläche (5) des Zündelements (3) auftritt.
  6. Überspannungsschutzelement nach einem der Ansprüche 1 bis 5, dadurch gekennzeichnet, daß auf der Oberfläche (5) des Zündelements (3) eine leitfähige, gering stromtragfähige Beschichtung aufgebracht ist.
  7. Überspannungsschutzelement nach Anspruch 6, dadurch gekennzeichnet, daß die Beschichtung durch chemische, thermische oder elektrothermische Verkohlung realisiert ist.
  8. Zündelement zur Verwendung bei einem Überspannungsschutzelement, insbesondere nach einem der Ansprüche 1 bis 7,
    dadurch gekennzeichnet, daß das Zündelement (3) aus mindestens zwei elektrisch leitfähigen Schichten (7, 8) und mindestens einer dazwischen angeordneten isolierenden Schicht (9) besteht, wobei die isolierende Schicht (9) durch Verkleben bzw. Verpressen mit den elektrisch leitfähigen Schichten (7, 8) verbunden ist und einen Bereich geschwächter Isolation (5) (Zündbereich) aufweist.
  9. Zündelement nach Anspruch 8, dadurch gekennzeichnet, daß der Bereich geschwächter Isolation durch eine Aussparung (10) bzw. ein Loch in der isolierenden Schicht (9) und ggf. zusätzlich in der elektrisch leitfähigen Schicht (7) bzw. in den elektrisch leitfähigen Schichten (7, 8), insbesondere durch Bohren oder Fräsen, realisiert ist.
  10. Zündelement nach Anspruch 8 oder 9, mit mindestens drei elektrisch leitfähigen Schichten (7, 7', 8, 8') und mindestens zwei isolierenden Schichten (9), dadurch gekennzeichnet, daß mindestens zwei elektrisch leitfähige Schichten (7, 7', 8, 8') elektrisch miteinander verbunden sind.
  11. Zündelement nach einem der Ansprüche 8 bis 10, dadurch gekennzeichnet, daß als elektrisch leitfähige Schichten (7, 8) Kupferfolien und als isolierende Schicht (9) eine Polyimidfolie oder eine FR4-Folien verwendet werden.
  12. Zündelement nach einem der Ansprüche 8 bis 11, dadurch gekennzeichnet, daß in der isolierenden Schicht (9) leitfähige Komponenten, beispielsweise Fasern oder Metallteilchen, isoliert eingebracht sind
  13. Zündelement nach einem der Ansprüche 8 bis 12, dadurch gekennzeichnet, daß die elektrisch leitfähigen Schichten (7, 8) und/oder die isolierende Schicht (9) eine Dicke von weniger als 0,2 mm, vorzugsweise von 35 µm bis 70 µm aufweisen.
EP05003261A 2004-02-23 2005-02-16 Überspannungsschutzelement und Zündelement für ein Überspannungsschutzelement Expired - Lifetime EP1566868B1 (de)

Applications Claiming Priority (2)

Application Number Priority Date Filing Date Title
DE102004009072A DE102004009072A1 (de) 2004-02-23 2004-02-23 Überspannungsschutzelement und Zündelement für ein Überspannungsschutzelement
DE102004009072 2004-02-23

Publications (3)

Publication Number Publication Date
EP1566868A2 true EP1566868A2 (de) 2005-08-24
EP1566868A3 EP1566868A3 (de) 2007-05-16
EP1566868B1 EP1566868B1 (de) 2009-12-09

Family

ID=34706908

Family Applications (1)

Application Number Title Priority Date Filing Date
EP05003261A Expired - Lifetime EP1566868B1 (de) 2004-02-23 2005-02-16 Überspannungsschutzelement und Zündelement für ein Überspannungsschutzelement

Country Status (5)

Country Link
US (1) US7817395B2 (de)
EP (1) EP1566868B1 (de)
CN (1) CN1674375B (de)
DE (2) DE102004009072A1 (de)
ES (1) ES2337695T3 (de)

Cited By (1)

* Cited by examiner, † Cited by third party
Publication number Priority date Publication date Assignee Title
DE102014102065A1 (de) 2014-02-18 2015-08-20 Phoenix Contact Gmbh & Co. Kg Zündelement zur Verwendung bei einem Überspannungsschutzelement

Families Citing this family (27)

* Cited by examiner, † Cited by third party
Publication number Priority date Publication date Assignee Title
DE102007015364B4 (de) * 2006-12-12 2016-10-20 Phoenix Contact Gmbh & Co. Kg Überspannungsschutzeinrichtung
CN101378178B (zh) * 2007-10-16 2012-05-30 曾献昌 带外接触发端子的多间隙金属陶瓷气体放电管
DE102009048045B4 (de) 2009-10-02 2011-06-01 Phoenix Contact Gmbh & Co. Kg Überspannungsschutzelement
DE202009014000U1 (de) 2009-10-15 2011-02-24 Phoenix Contact Gmbh & Co. Kg Überspannungsschutzelement
DE102011102937B4 (de) 2010-08-17 2017-03-02 DEHN + SÖHNE GmbH + Co. KG. Anordnung zur Zündung von Funkenstrecken
CN103636085B (zh) * 2011-04-13 2016-08-03 上海电科电器科技有限公司 产生触发电弧的元件
DE102011052803A1 (de) * 2011-08-18 2013-02-21 Phoenix Contact Gmbh & Co. Kg Basiselement zur Aufnahme eines Überspannungsschutzmoduls
TWI419631B (zh) * 2011-12-05 2013-12-11 Au Optronics Corp 多層電路板以及靜電放電保護結構
DE102012002962A1 (de) 2012-02-16 2013-08-22 Phoenix Contact Gmbh & Co. Kg Kurzschließeinrichtung zum Sach- und Personenschutz in elektrischen Systemen
CN102969654A (zh) * 2012-12-18 2013-03-13 深圳市莱普斯科技有限公司 带熄弧栅的气体放电隙
DE102013225835B4 (de) 2013-12-13 2022-10-06 Phoenix Contact Gmbh & Co. Kg Reihenfunkenstrecke
DE102014210516C5 (de) * 2014-06-03 2020-03-26 Phoenix Contact Gmbh & Co. Kg Funkenstrecke
DE202015100397U1 (de) * 2015-01-28 2016-05-02 Phoenix Contatct GmbH & Co. KG Funkenstrecke mit adaptiver Kühl- und/oder Dämpfungseinrichtung
DE102014215279A1 (de) 2014-08-04 2016-02-04 Phoenix Contact Gmbh & Co. Kg Schmelzsicherung für eine zu schützende Einrichtung
US10319545B2 (en) 2016-11-30 2019-06-11 Iskra Za{hacek over (s)}{hacek over (c)}ite d.o.o. Surge protective device modules and DIN rail device systems including same
US10447026B2 (en) 2016-12-23 2019-10-15 Ripd Ip Development Ltd Devices for active overvoltage protection
CZ2017143A3 (cs) * 2017-03-15 2018-08-08 Saltek S.R.O. Omezovač napětí s přepěťovou ochranou
US10685767B2 (en) * 2017-09-14 2020-06-16 Raycap IP Development Ltd Surge protective device modules and systems including same
US20190207386A1 (en) * 2018-01-04 2019-07-04 Ceramate Technical Co., Ltd. Surge protection device structure
BE1026431B1 (de) 2018-06-28 2020-02-03 Phoenix Contact Gmbh & Co Funkenstrecke mit Zündkreis und Funkenstreckenanordnung
US11223200B2 (en) 2018-07-26 2022-01-11 Ripd Ip Development Ltd Surge protective devices, circuits, modules and systems including same
DE102019101448B3 (de) 2018-10-15 2020-01-23 Dehn Se + Co Kg Anordnung zur Zündung von Funkenstrecken
US11862967B2 (en) 2021-09-13 2024-01-02 Raycap, S.A. Surge protective device assembly modules
US11990745B2 (en) 2022-01-12 2024-05-21 Raycap IP Development Ltd Methods and systems for remote monitoring of surge protective devices
US12199412B2 (en) 2022-06-02 2025-01-14 Ripd Ip Development Ltd. Surge protective devices, circuits, modules and systems including same
US12206234B2 (en) 2022-09-20 2025-01-21 Ripd Ip Development Ltd Overvoltage protection device modules
US12437906B2 (en) 2022-10-18 2025-10-07 Raycap, S.A. Surge protective devices

Family Cites Families (16)

* Cited by examiner, † Cited by third party
Publication number Priority date Publication date Assignee Title
AT77683B (de) * 1917-04-16 1919-08-11 Robert Bosch Ag Fa Löschfunkenstrecke für tönende Funken.
GB545677A (en) * 1940-02-29 1942-06-08 Westinghouse Electric Int Co Improvements in or relating to low voltage protective electric discharge devices
DE1911424A1 (de) * 1969-03-06 1970-09-24 Siemens Ag Verfahren zum Bearbeiten von Werkstuecken mittels Unterwasser-Druckstoessen
US3627905A (en) * 1969-12-08 1971-12-14 British Railways Board High-voltage electrical insulator having a predetermined surface conductance
CH516878A (de) * 1970-09-18 1971-12-15 Sprecher & Schuh Ag Funkenstrecke konstanter Ansprechspannung
DE2337743C3 (de) * 1973-07-25 1981-01-15 Dehn + Soehne Gmbh + Co Kg, 8500 Nuernberg Funkenstrecke
JPH0246680A (ja) * 1988-08-05 1990-02-16 Okaya Electric Ind Co Ltd サージ吸収素子
DE4141681C2 (de) * 1991-12-17 1996-11-14 Phoenix Contact Gmbh & Co Überspannungsschutzelement
DE4244051C2 (de) * 1992-12-28 1996-03-14 Phoenix Contact Gmbh & Co Überspannungsschutzelement
DE4402615C3 (de) * 1993-05-31 2000-01-05 Phoenix Contact Gmbh & Co Überspannungsschutzelement
JP2888754B2 (ja) * 1993-05-31 1999-05-10 フェニックス、コンタクト、ゲゼルシャフト、ミット、ベシュレンクテル、ハフツング、ウント、コンパニー 過電圧保護装置
US5714794A (en) * 1995-04-18 1998-02-03 Hitachi Chemical Company, Ltd. Electrostatic protective device
DE19741658A1 (de) * 1997-09-16 1999-03-18 Siemens Ag Gasgefüllte Entladungsstrecke
DE19803636A1 (de) * 1998-02-02 1999-08-05 Phoenix Contact Gmbh & Co Überspannungsschutzsystem
DE19856939A1 (de) * 1998-12-10 2000-06-15 Bettermann Obo Gmbh & Co Kg Schaltungsanordnung zum Schutz von elektrischen Installationen gegen Überspannungsereignisse
DE20020771U1 (de) * 2000-02-22 2001-02-15 Dehn & Soehne Druckfest gekapselte Funkenstreckenanordnung zum Ableiten von schädlichen Störgrößen durch Überspannung

Cited By (2)

* Cited by examiner, † Cited by third party
Publication number Priority date Publication date Assignee Title
DE102014102065A1 (de) 2014-02-18 2015-08-20 Phoenix Contact Gmbh & Co. Kg Zündelement zur Verwendung bei einem Überspannungsschutzelement
WO2015124624A1 (de) 2014-02-18 2015-08-27 Phoenix Contact Gmbh & Co. Kg Zündelement zur verwendung bei einem überspannungsschutzelement

Also Published As

Publication number Publication date
US20050185356A1 (en) 2005-08-25
ES2337695T3 (es) 2010-04-28
DE502005008658D1 (de) 2010-01-21
CN1674375A (zh) 2005-09-28
EP1566868A3 (de) 2007-05-16
CN1674375B (zh) 2011-12-21
EP1566868B1 (de) 2009-12-09
DE102004009072A1 (de) 2005-09-08
US7817395B2 (en) 2010-10-19

Similar Documents

Publication Publication Date Title
EP1566868B1 (de) Überspannungsschutzelement und Zündelement für ein Überspannungsschutzelement
EP0933860B1 (de) Überspannungsschutzsystem
EP0815454B1 (de) Spannungswandler
DE102012022399A1 (de) Zündkreis
EP1456921B1 (de) Überspannungsschutzeinrichtung
EP1423894B1 (de) Überspannungsschutzeinrichtung
EP1461852B1 (de) Mehrpoliges überspannungsschutzsystem und verfahren zum sicheren betrieb eines mehrpoligen überspannungsschutzsystems
DE10146728B4 (de) Überspannungsschutzeinrichtung
DE4244051C2 (de) Überspannungsschutzelement
EP1692751A1 (de) Überspannungsschutzeinrichtung
DE19707769A1 (de) Einrichtung zum Schutz von elektrischen Schaltungen, insbesondere der Automobiltechnik, vor elektrostatischen Entladungen
DE19914313A1 (de) Überspannungsschutzsystem
DE4141682A1 (de) Ueberspannungsschutzelement
EP3834260B1 (de) Anordnung zur zündung von funkenstrecken
DE3910435C2 (de)
EP2876653B1 (de) Multikontaktelement für einen Varistor
CH668516A5 (de) Ueberspannungsschutzeinrichtung fuer elektrische anlagen, insbesondere fuer elektronische apparate.
DE102014102065B4 (de) Zündelement zur Verwendung bei einem Überspannungsschutzelement, Überspannungsschutzelement und Verfahren zur Herstellung eines Zündelements
DE102007015364B4 (de) Überspannungsschutzeinrichtung
DE102015200186A1 (de) Überspannungsschutzvorrichtung sowie Leuchte mit einer derartigen Überspannungsschutzvorrichtung
EP3588706B1 (de) Funkenstreckenanordnung mit zwei zündkreisen
DE3037120A1 (de) Ueberspannungsschutzschaltung mit zenerdiode
DE102009049579A1 (de) Überspannungschutzeinrichtung
EP4270688B1 (de) Mehrfachfunkenstrecke
AT17235U1 (de) Leiterplatte mit Schutzelement

Legal Events

Date Code Title Description
PUAI Public reference made under article 153(3) epc to a published international application that has entered the european phase

Free format text: ORIGINAL CODE: 0009012

AK Designated contracting states

Kind code of ref document: A2

Designated state(s): AT BE BG CH CY CZ DE DK EE ES FI FR GB GR HU IE IS IT LI LT LU MC NL PL PT RO SE SI SK TR

AX Request for extension of the european patent

Extension state: AL BA HR LV MK YU

PUAL Search report despatched

Free format text: ORIGINAL CODE: 0009013

AK Designated contracting states

Kind code of ref document: A3

Designated state(s): AT BE BG CH CY CZ DE DK EE ES FI FR GB GR HU IE IS IT LI LT LU MC NL PL PT RO SE SI SK TR

AX Request for extension of the european patent

Extension state: AL BA HR LV MK YU

17P Request for examination filed

Effective date: 20070718

17Q First examination report despatched

Effective date: 20070830

AKX Designation fees paid

Designated state(s): DE ES FR IT SE

GRAP Despatch of communication of intention to grant a patent

Free format text: ORIGINAL CODE: EPIDOSNIGR1

GRAS Grant fee paid

Free format text: ORIGINAL CODE: EPIDOSNIGR3

GRAA (expected) grant

Free format text: ORIGINAL CODE: 0009210

AK Designated contracting states

Kind code of ref document: B1

Designated state(s): DE ES FR IT SE

REF Corresponds to:

Ref document number: 502005008658

Country of ref document: DE

Date of ref document: 20100121

Kind code of ref document: P

REG Reference to a national code

Ref country code: SE

Ref legal event code: TRGR

REG Reference to a national code

Ref country code: ES

Ref legal event code: FG2A

Ref document number: 2337695

Country of ref document: ES

Kind code of ref document: T3

PLBE No opposition filed within time limit

Free format text: ORIGINAL CODE: 0009261

STAA Information on the status of an ep patent application or granted ep patent

Free format text: STATUS: NO OPPOSITION FILED WITHIN TIME LIMIT

26N No opposition filed

Effective date: 20100910

PGFP Annual fee paid to national office [announced via postgrant information from national office to epo]

Ref country code: IT

Payment date: 20150225

Year of fee payment: 11

PGFP Annual fee paid to national office [announced via postgrant information from national office to epo]

Ref country code: SE

Payment date: 20150220

Year of fee payment: 11

REG Reference to a national code

Ref country code: FR

Ref legal event code: PLFP

Year of fee payment: 12

PGFP Annual fee paid to national office [announced via postgrant information from national office to epo]

Ref country code: ES

Payment date: 20160201

Year of fee payment: 12

REG Reference to a national code

Ref country code: SE

Ref legal event code: EUG

PG25 Lapsed in a contracting state [announced via postgrant information from national office to epo]

Ref country code: SE

Free format text: LAPSE BECAUSE OF NON-PAYMENT OF DUE FEES

Effective date: 20160217

PG25 Lapsed in a contracting state [announced via postgrant information from national office to epo]

Ref country code: IT

Free format text: LAPSE BECAUSE OF NON-PAYMENT OF DUE FEES

Effective date: 20160216

REG Reference to a national code

Ref country code: FR

Ref legal event code: PLFP

Year of fee payment: 13

REG Reference to a national code

Ref country code: FR

Ref legal event code: PLFP

Year of fee payment: 14

REG Reference to a national code

Ref country code: ES

Ref legal event code: FD2A

Effective date: 20180704

PG25 Lapsed in a contracting state [announced via postgrant information from national office to epo]

Ref country code: ES

Free format text: LAPSE BECAUSE OF NON-PAYMENT OF DUE FEES

Effective date: 20170217

PGFP Annual fee paid to national office [announced via postgrant information from national office to epo]

Ref country code: FR

Payment date: 20200225

Year of fee payment: 16

PG25 Lapsed in a contracting state [announced via postgrant information from national office to epo]

Ref country code: FR

Free format text: LAPSE BECAUSE OF NON-PAYMENT OF DUE FEES

Effective date: 20210228

P01 Opt-out of the competence of the unified patent court (upc) registered

Effective date: 20230424

PGFP Annual fee paid to national office [announced via postgrant information from national office to epo]

Ref country code: DE

Payment date: 20240429

Year of fee payment: 20

REG Reference to a national code

Ref country code: DE

Ref legal event code: R071

Ref document number: 502005008658

Country of ref document: DE