EP1566594A1 - Verfahren und eine Vorrichtung zum Be- und/oder Entlüften eines Garofens - Google Patents

Verfahren und eine Vorrichtung zum Be- und/oder Entlüften eines Garofens Download PDF

Info

Publication number
EP1566594A1
EP1566594A1 EP04030589A EP04030589A EP1566594A1 EP 1566594 A1 EP1566594 A1 EP 1566594A1 EP 04030589 A EP04030589 A EP 04030589A EP 04030589 A EP04030589 A EP 04030589A EP 1566594 A1 EP1566594 A1 EP 1566594A1
Authority
EP
European Patent Office
Prior art keywords
door
air
flow channel
flow
oven
Prior art date
Legal status (The legal status is an assumption and is not a legal conclusion. Google has not performed a legal analysis and makes no representation as to the accuracy of the status listed.)
Withdrawn
Application number
EP04030589A
Other languages
English (en)
French (fr)
Inventor
Christoph Walther
Harald Pörner
Dietmar Hildner
Hermann Fersterra
Current Assignee (The listed assignees may be inaccurate. Google has not performed a legal analysis and makes no representation or warranty as to the accuracy of the list.)
Electrolux Home Products Corp NV
Original Assignee
Electrolux Home Products Corp NV
Priority date (The priority date is an assumption and is not a legal conclusion. Google has not performed a legal analysis and makes no representation as to the accuracy of the date listed.)
Filing date
Publication date
Application filed by Electrolux Home Products Corp NV filed Critical Electrolux Home Products Corp NV
Publication of EP1566594A1 publication Critical patent/EP1566594A1/de
Withdrawn legal-status Critical Current

Links

Images

Classifications

    • FMECHANICAL ENGINEERING; LIGHTING; HEATING; WEAPONS; BLASTING
    • F24HEATING; RANGES; VENTILATING
    • F24CDOMESTIC STOVES OR RANGES ; DETAILS OF DOMESTIC STOVES OR RANGES, OF GENERAL APPLICATION
    • F24C15/00Details
    • F24C15/006Arrangements for circulation of cooling air
    • FMECHANICAL ENGINEERING; LIGHTING; HEATING; WEAPONS; BLASTING
    • F24HEATING; RANGES; VENTILATING
    • F24CDOMESTIC STOVES OR RANGES ; DETAILS OF DOMESTIC STOVES OR RANGES, OF GENERAL APPLICATION
    • F24C14/00Stoves or ranges having self-cleaning provisions, e.g. continuous catalytic cleaning or electrostatic cleaning
    • F24C14/02Stoves or ranges having self-cleaning provisions, e.g. continuous catalytic cleaning or electrostatic cleaning pyrolytic type
    • FMECHANICAL ENGINEERING; LIGHTING; HEATING; WEAPONS; BLASTING
    • F24HEATING; RANGES; VENTILATING
    • F24CDOMESTIC STOVES OR RANGES ; DETAILS OF DOMESTIC STOVES OR RANGES, OF GENERAL APPLICATION
    • F24C15/00Details
    • F24C15/02Doors specially adapted for stoves or ranges
    • F24C15/04Doors specially adapted for stoves or ranges with transparent panels

Definitions

  • the invention relates to a method and a device for loading and / or venting a cooking oven.
  • a cooking oven is known with a furnace muffle, in the Muffelwandung, preferably the muffle cover, a Wrasenaustrittsö réelle is provided, and arranged with a muffle outside the fan with at least one suction, which is connected to the Wrasenaustrittsö réelle the Muffelwandung, and with at least one blow-out area.
  • At least one fresh air duct which opens into an outer space with one end and opens into the intake area of the blower at one end and at least one discharge duct connecting the blower area with the outer space for discharging the mixture of the vapors sucked out of the cooking space by the blower in its operation provided on the one hand and sucked by the fresh air passage from the outside fresh air on the other hand.
  • the fresh air duct and the diversion duct preferably extend substantially horizontally above the oven muffle and are separated from one another by an air baffle plate.
  • the fresh air channel is arranged below the diversion channel.
  • the fan is preferably a radial fan and arranged above the Wrasenaustrittsö Maschinen Maschinen.
  • the feed opening of the oven muffle is closed and is an outlet opening of the door with the entrance of the fresh air duct in flow communication, so that the fan via the fresh air duct sucks fresh air from the door interior.
  • an air flow is generated in the door interior from the lower open end of the door up.
  • fresh air is drawn through the door handle through an opening behind it in the door interior and then into the fresh air duct, whereby the door handle is cooled.
  • This ventilation system serves, on the one hand, for cooling the cooking oven and, on the other hand, for removing the vapor from the oven muffle.
  • DE 198 01 585 A1 discloses a method for cooling the outer environment of a Garofenmuffel, the muffle interior is heated while a feed opening of the open muffle is closed with a door.
  • air is sucked from an outside space in an intake area below the door, the sucked air is guided around at least part of the oven muffle and the air guided around the oven muffle is at least partially blown into the door interior from above.
  • Part of the air routed around the oven muffle can be directly blown out into the outdoor area in a blow-out area in an upper area or above the door.
  • the door interior comprises an inner space between an inner pane and an intermediate pane of the door and an outer space between an outer pane and the intermediate pane of the door.
  • a handle bar is arranged with a door handle and with three adjacent openings.
  • the two outer openings are downwardly separated by a respective air guide body from the inside of the door, while behind the central opening an air deflecting body (baffle plate) is arranged, which directs a portion of the exiting an air duct cooling air from above into the door interior.
  • This air deflecting body is arranged in continuation of the outer pane, so that the deflected air is mainly conducted into the outer space of the door. As a result, the outer pane of the door is cooled and the temperature is lowered there.
  • a cooling fan is arranged, the in the intake area below the door cooling air from the outside sucks, then below the oven muffle and behind the oven muffle is led upwards and above the Furnace muffle in the air duct to the blow-out is guided in or above the door.
  • the muffle blanket If a connection can be provided, via the vapors the muffle interior is discharged into the air duct and blown out of the blow-out area together with the cooling air becomes.
  • the vapor can also be in another place be discharged and not supplied to the cooling air, for example, in a built-in cooker over the associated built-in hob.
  • the two outer openings in the handle of the door together form the blow-out area through which the cooling air K coming from the air duct, possibly with the vapor, flows out into the outer space.
  • a connection area is formed, via which the inner space and the outer space of the door are in fluid communication.
  • the washer protrudes further down than the inner pane.
  • an oven is known with at least one heat source and a microwave generator for heating the food and with a provided on an overhead muffle Wrasenö réelle. On the Wrasenö réelle a provided with two separated by a partition suction chambers suction housing is placed and in the suction chambers each a fan of a common fan drive is arranged, wherein a suction chamber suction side with the Ofenmuffel and the other suction chamber communicates with the housing space and both suction chambers discharge side in a common discharge channel, wherein the flow path of the housing chamber associated with the suction chamber is separated or separable from the flow path of the other suction chamber by a closure flap.
  • a baking and roasting oven is known with a Wrasenabzug in the region of a device for measuring the moisture contained in the withdrawing vapor is arranged, wherein the moisture measuring device is part of a control device, as a function of measured by the measuring device Moisture content adjusted a control of the vapor outlet flap or the speed of the fan motor of a hot air blower for circulating the heating air in the baking and frying room is changed.
  • DE 35 19 423 C2 discloses a cooking appliance with a closable cooking space, in which a grill element is arranged and the further heating means are assigned, as well as with a cooling fan, from which an air stream flows through the cooking chamber, wherein the air flow through an air damper at the entrance is arranged as a setting depending on the operating mode of the cooking appliance in the intermediate position adjustable by means of a manually operable selector, with the different operating modes and possibly different temperature ranges are adjustable, the adjusting member in the dialing range outgoing from the cooling fan and entering into the cooking chamber the selector for cooking operation by means of thermal radiator in at least one intermediate-open position is adjustable, in which the grill element is turned on.
  • an oven in particular with a pyrolytic self-cleaning, which has a vapor opening in the muffle cover, through which the steam produced in the oven operation is sucked outwards by a blower and blown outwards.
  • the flow cross section of the vapor opening itself or a subsequent flow channel is automatically adjustable by a throttle as a function of temperature and / or humidity of Wrasens.
  • a cooking oven is known with a furnace muffle, in the muffle wall, preferably the muffle cover, a Wrasenaustrittsö réelle is provided, and arranged with a muffle outside the fan with at least one suction, which is connected to the Wrasenaustrittsö Maschinen the Muffelwandung, and with at least one blow-out area.
  • At least one fresh air duct which opens into an outer space with one end and opens into the intake area of the blower at one end and at least one discharge duct connecting the blower area with the outer space for discharging the mixture of the vapors sucked out of the cooking space by the blower in its operation provided on the one hand and sucked by the fresh air passage from the outside fresh air on the other hand.
  • the fresh air duct and the diversion duct preferably extend substantially horizontally above the oven muffle and are separated from one another by an air baffle plate.
  • the fresh air channel is arranged below the diversion channel.
  • the fan is preferably a radial fan and arranged above the Wrasenaustrittsö Maschinen Maschinen.
  • the feed opening of the oven muffle is closed and is an outlet opening of the door with the entrance of the fresh air duct in flow communication, so that the fan via the fresh air duct sucks fresh air from the door interior.
  • an air flow is generated in the door interior from the lower open end of the door up.
  • fresh air is drawn through the door handle through an opening behind it in the door interior and then into the fresh air duct, whereby the door handle is cooled.
  • This ventilation system serves, on the one hand, for cooling the cooking oven and, on the other hand, for removing the vapor from the oven muffle.
  • the invention is based on the object, a new Method and a new device for loading and / or venting of a cooking oven.
  • the invention is based on the consideration, in cooking mode and in pyrolysis operation of a Garofens different air ducts through the door of the oven.
  • pyrolysis operation The air is sucked in from below and through the door interior headed upstairs and out the door again discharged. Because the air in a room in the area of the floor usually colder than in an area about it, especially over the oven muffle of the oven, and the Air above the oven muffle in pyrolysis mode high temperatures of over 500 ° C particularly strong heated, is thus according to the invention colder air to Cooling the door used to cool the door.
  • the cooking mode are the temperatures occurring in the oven muffle significantly lower than in pyrolysis and are typically between 100 ° C and 250 ° C, in grill mode sometimes even up to 300 ° C. Therefore, the cooking operation is air from the top into the door and down again into the outside space blown out.
  • the flow direction of the air in the door So in cooking mode is just opposite to the pyrolysis operation.
  • the door in the cooking mode can blow out air on the door standing at the door of the user or even the face as in the prior art reduced or even be completely avoided, which on the one hand the associated Inconvenience and on the other hand the sounds e.g. the fan can be reduced.
  • pyrolysis mode is against assume that a user person usually will not be in front of the oven for a long time, allowing the blowing out of the hot exhaust air even in a blow-out area can be done above the door, as in the state of the technique.
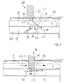
  • the cooking oven 2 according to FIG. 1 and 2 comprises a furnace muffle 3 with a loading opening 30 which is closed by a door 5 is.
  • the door 5 is substantially perpendicular to Ground or arranged parallel to gravity and lies while a seal on a housing front 22 of the oven 2, which surrounds the feed opening 30.
  • the door 5 has according to Figures 1 and 2, an outer pane 50, a Inner disk 51 and two intermediate disks 52 and 53.
  • the outer and inner spaces 55 and 56 of the door 5 are via sealing elements or Closures 15 and 16 below and 25 and 26 sealed above.
  • the middle gap 54 is above and open at the bottom and serves as a door interior for air guidance.
  • an air guide part 11 is provided, that on an inner side a first passage opening 13 of the door 5, which in a flow channel 81st opens inside the air guide part 11.
  • a separate Air guide 19 attached, the one initially above substantially parallel to the outer pane 50 extending and then bent outward flow channel 17 below has, which adjoins the middle gap 54 or this continues and in a second passage opening 14 below the outer pane 50 in the outer space 10 opens. This will, depending on the bend of the flow channel 17 an obliquely or horizontally directed air flow achieved through the second passage opening 14.
  • a fan 7 arranged which may be formed in a known manner can, for example, one of an electric drive motor driven impeller or fan roller include and / or designed as a radial fan or axial fan can be.
  • the fan 7 sucks in the pyrolysis of the cooking oven 2 provided embodiment of the ventilation As shown in FIG 1 air L1 from the door 5 via a suction connected first flow channel 9 and air L2 from a Outside 10 and blows the sucked air through L1 + L2 a pressure side connected second flow channel. 8 towards the front of the device.
  • the first flow channel 9 opens according to Figures 1 and 2 at the Housing front 22 in an opening, the first passage opening 13 in the air guide part 11 of the door 5 is opposite.
  • the fan 7 is a Air flow of fresh air L1 from the exterior 10 of down through the second passage opening 14 of the door 5, through the central gap 54 between the two Washers 52 and 53 in the door 5 upwards, through the flow channel 81 in the air guide part 11 and the first Passage opening 13 from the door 5 and finally by generates the first flow channel 9 to the fan 7 out.
  • a flow channel 82 formed in a blow-out area (blow-out slot) 12 above the outer pane 50 of the door 5 in the outer space 10 opens.
  • this flow channel 82 opens the second flow channel 8.
  • a flow adjuster 88 the Flow control in the two flow channels 8 and 9 changed or switched by both flow channels 8 and 9 in each case a front, first portion 8A and 9A and a rear, second portion 8B and 9B, respectively and these subregions 8A, 8B, 9A and 9B fluidically be interconnected differently.
  • the Flow adjuster 88 is except in FIGS 1 and 2 in an enlarged view in Figures 3 and 4 shown. 3 corresponds to the setting or the state the flow adjuster 88 in the cooking mode according to 3 and FIG 4 of the setting or the state in pyrolysis according to FIG. 1
  • the flow adjuster 88 includes a first closure member 85, which is pivotally mounted in a center is and is in the form of a rotary flap, and a second closure member 86 pivotable at one end is stored and at another end in a closing element 80 engages, as well as one in the partition between the two flow channels 8 and 9 provided opening (or: Flow passage) 84.
  • the closing element 80 is of a Actuator 89 (shown only in Figures 1 and 2) operable, by being outside in a first state according to FIG of the second flow channel 8 is arranged and in a second state shown in FIG 4 down now moves in the flow channel 8 is arranged.
  • the adjusting device 89 may e.g. electromagnetically (e.g., relay, coil) or thermoelectric (e.g., bimetal) or mechanically (e.g. Pushbutton with slider, e.g. on the control panel 21) the Press closing element 80.
  • the closing element 80 by the adjusting device 89 moves out of the flow channel 8 and the first Closing element 85 rotates by its aysmmetric mass distribution and that from the action of gravity resulting torque itself in a position in the one opening in the first closing element 85 a flow passage between the second flow channel 8 and the first flow channel 9 through in the Partition provided opening 84 creates and a continuous Area of the first closing element 85, the first Flow channel 9 closes and in the two sections 9A and 9B separates.
  • the second closing element 86 has openings on or is smaller than the flow cross-section of the second flow channel 8 to a part of the incoming air as the second airflow L2 in the front forward first portion 8A of the flow channel 8.
  • the main part of the air flow from the second Flow channel 8 is on the other hand as the first air flow L1 the rear second portion 8 B of the flow channel eighth in the front first portion 9A of the first flow channel 9 passed and then through the passage opening 13th (see FIG 2) introduced into the door. After flowing through the Flow channel 81 in the air guide part 11 and the gap 54 down this first air flow L1 flows through the flow channel 17 and the second passage opening 14th again out into the outer space 10.
  • the door 5 flows in the Essentially only pure air L1.
  • the closing element 80 of the adjusting device 89 introduced into the flow channel 8 and thereby pushes the second closing element 86 down, wherein this during the pivoting movement and the first closing element 85 brings in a horizontal open position, so that through the now again through the second flow channel 8 the air flow L1 according to FIG 1 and 4 flow can.
  • the second closing element 86 now closes the Opening 84, so that the second flow channel 8 and the first flow channel 9 separated by the partition again are. Since the closing element 80 has openings or is smaller than the flow cross-section of second flow channel 8, can now according to FIG 1 and 4 of Air flow L1 + L2 flow in the second flow channel 8.
  • the Width of the openings 12 and 13 can be chosen differently his and / or himself almost over the whole device width or Door width extend.

Landscapes

  • Engineering & Computer Science (AREA)
  • Chemical & Material Sciences (AREA)
  • Combustion & Propulsion (AREA)
  • Mechanical Engineering (AREA)
  • General Engineering & Computer Science (AREA)
  • Chemical Kinetics & Catalysis (AREA)
  • Electric Ovens (AREA)
  • Electric Stoves And Ranges (AREA)

Abstract

Zum Be- und/oder Entlüften eines Garofens, insbesondere eines Haushaltsgarofens, der mindestens eine Ofenmuffel und eine Tür zum Verschließen einer Beschickungsöffnung der O-fenmuffel in einem geschlossenen Zustand umfasst sowie wenigstens einen Garbetrieb zum Garen von Speisen in der Ofenmuffel sowie einen Pyrolysebetrieb zum pyrolytischen Reinigen der Ofenmuffel aufweist, sind die folgenden Verfahrensschritte vorgesehen: a) in wenigstens einer Garbetriebsart wird Luft in einem oberen Bereich der im geschlossenen Zustand befindlichen Tür in einen Türinnenraum eingeleitet und durch den Türinnenraum nach unten geführt und in einem unteren Bereich der Tür in einen Außenraum ausgeleitet, b) in der Pyrolysebetriebsart wird Luft aus einem Außenraum in einem unteren Bereich der Tür in den Türinnenraum der Tür eingeleitet, durch den Türinnenraum nach oben geführt und im oberen Bereich der Tür wieder aus dem Türinnenraum ausgeleitet. <IMAGE>

Description

Die Erfindung betrifft ein Verfahren und eine Vorrichtung zum Be- und/oder Entlüften eines Garofens.
Aus DE 199 20 345 C1 ist ein Garofen bekannt mit einer Ofenmuffel, in deren Muffelwandung, vorzugsweise der Muffeldecke, eine Wrasenaustrittsöffnung vorgesehen ist, und mit einem außerhalb der Muffelwandung angeordneten Gebläse mit wenigstens einem Ansaugbereich, der mit der Wrasenaustrittsöffnung der Muffelwandung verbunden ist, und mit wenigstens einem Ausblasbereich. Ferner ist wenigstens ein mit einem Ende in einen Außenraum mündenden und mit einem anderen Ende in den Ansaugbereich des Gebläse mündender Frischluftkanal sowie wenigstens ein den Ausblasbereich des Gebläses mit dem Außenraum verbindender Ausleitkanal zum Ausleiten des Gemischs der vom Gebläse in dessen Betrieb aus dem Garraum angesaugten Wrasen einerseits und der durch den Frischluftkanal aus dem Außenraum angesaugten Frischluft andererseits vorgesehen. Der Frischluftkanal und der Ausleitkanal verlaufen vorzugsweise oberhalb der Ofenmuffel im Wesentlichen horizontal und sind durch eine Luftleitplatte voneinander getrennt. Der Frischluftkanal ist dabei unterhalb des Ausleitkanals angeordnet. Das Gebläse ist vorzugsweise ein Radialgebläse und oberhalb der Wrasenaustrittsöffnung angeordnet. Bei geschlossener Tür ist die Beschickungsöffnung der Ofenmuffel verschlossen und steht eine Austrittsöffnung der Tür mit dem Eingang des Frischluftkanals in Strömungsverbindung, so dass das Gebläse über den Frischluftkanal Frischluft aus dem Türinnenraum ansaugt. Dadurch wird im Türinnenraum eine Luftströmung von dem unteren offenen Ende der Tür nach oben erzeugt. Ferner wird auch Frischluft über den Türgriff durch eine dahinterliegende Öffnung in den Türinnenraum und dann in den Frischluftkanal gezogen, wodurch auch der Türgriff gekühlt wird. Dieses Be- und Entlüftungssystem dient zum einen zur Kühlung des Garofens und zum anderen zum Ableiten des Wrasen aus der Ofenmuffel.
Die DE 198 01 585 A1 offenbart ein Verfahren zum Kühlen der Außenumgebung einer Garofenmuffel, deren Muffelinnenraum erhitzt wird, während eine Beschickungsöffnung der Offenmuffel mit einer Tür verschlossen ist. Bei diesem Verfahren wird in einem Ansaugbereich unterhalb der Tür Luft aus einem Außenraum angesaugt, die angesaugte Luft um wenigstens einen Teil der Ofenmuffel geführt und die um die Ofenmuffel geführte Luft wenigstens teilweise in den Türinnenraum von oben geblasen. Ein Teil der um die Ofenmuffel geführte Luft kann in einem Ausblasbereich in einem oberen Bereich oder oberhalb der Tür direkt wieder in den Außenraum ausgeblasen werden. Der Türinnenraum umfasst einen inneren Zwischenraum zwischen einer Innenscheibe und einer Zwischenscheibe der Tür und einen äußeren Zwischenraum zwischen einer Außenscheibe und der Zwischenscheibe der Tür. Oberhalb der drei Scheiben der Tür ist eine Griffleiste mit einem Türgriff und mit drei nebeneinander angeordneten Öffnungen angeordnet. Die beiden äußeren Öffnungen sind nach unten durch jeweils einen Luftleitkörper strömungstechnisch von dem Türinnenraum getrennt, während hinter der mittleren Öffnung ein Luftablenkkörper (Prallplatte) angeordnet ist, der einen Teil der aus einem Luftführungskanal austretenden Kühlluft von oben in den Türinnenraum leitet. Dieser Luftablenkkörper ist in Fortsetzung der Außenscheibe angeordnet, so dass die umgelenkte Luft hauptsächlich in den äußeren Zwischenraum der Tür geleitet wird. Dadurch wird die Außenscheibe der Tür gekühlt und die Temperatur dort gesenkt.
Oberhalb der Ofenmuffel ist ein Kühlgebläse angeordnet, das im Ansaugbereich unterhalb der Tür Kühlluft aus dem Außenraum ansaugt, die dann unterhalb der Ofenmuffel und hinter der Ofenmuffel nach oben geführt wird und oberhalb der Ofenmuffel in dem Luftführungskanal zu dem Ausblasbereich in oder oberhalb der Tür geführt wird. In der Muffeldecke kann eine Verbindung vorgesehen sein, über die Wrasen aus dem Muffelinnenraum in den Luftführungskanal abgeführt wird und zusammen mit der Kühlluft aus dem Ausblasbereich ausgeblasen wird. Der Wrasen kann auch an einer anderen Stelle ausgeleitet werden und nicht der Kühlluft zugeführt werden, beispielsweise bei einem Einbauherd über das zugehörte Einbaukochfeld.
Die beiden äußeren Öffnungen in der Griffleiste der Tür bilden gemeinsam den Ausblasbereich, durch den die aus dem Luftführungskanal kommende Kühlluft K, eventuell mit dem Wrasen, in den Außenraum ausströmt. Zwischen dem Luftleitkörper, der die Öffnungen vom Türinnenraum trennt, und der Zwischenscheibe ist ein Verbindungsbereich gebildet, über den der innere Zwischenraum und der äußere Zwischenraum der Tür in Strömungsverbindung stehen. Im unteren Bereich der Tür ragt die Zwischenscheibe weiter nach unten als die Innenscheibe. Dadurch kann durch den inneren Zwischenraum Luft durch thermische Konvektion nach oben strömen und über den Verbindungsbereich unterhalb des Luftleitkörpers in den äußeren Zwischenraum eintreten und mit der Kühlluft durch diesen äußeren Zwischenraum wieder nach unten strömen. Dadurch wird eine umlaufende Kühlluftströmung in der Tür erreicht. Die durch den äußeren Zwischenraum nach unten strömende Kühlluft wird im Ansaugbereich wieder vom Gebläse angesaugt, so dass ein geschlossener Teilkreislauf der Kühlluft entsteht und Kühlluft nur durch die Griffleiste in den Außenraum austritt. Ferner kann gemäß DE 198 01 585 A1 zwischen der Außenscheibe und dem Luftleitkörper ein schmaler Luftspalt gebildet sein, über den der Verbindungsbereich zwischen dem inneren Zwischenraum und den äußeren Zwischenraum mit dem Außenraum verbunden ist. Dadurch kann ein Teil der thermisch aufgestiegenen Luft auch aus der Tür direkt in den Außenraum austreten, so dass Gardämpfe aus der Tür abgeführt werden können.
Aus DE 87 06 668 U1 ist ein Backofen bekannt mit wenigstens einer Wärmequelle und einem Mikrowellengenerator zur Erwärmung des Gargutes sowie mit einer an einer obenliegenden Muffelwand vorgesehen Wrasenöffnung. Auf die Wrasenöffnung ist ein mit zwei durch eine Trennwand voneinander getrennten Saugkammern versehenes Sauggehäuse aufgesetzt und in den Saugkammern ist jeweils ein Lüfterrad eines gemeinsamen Gebläseantriebs angeordnet, wobei die eine Saugkammer saugseitig mit der Ofenmuffel und die andere Saugkammer mit dem Gehäuseraum in Verbindung steht und beide Saugkammern druckseitig in einen gemeinsamen Abführkanal einmünden, wobei der Strömungsweg der dem Gehäuseraum zugeordneten Saugkammer vom Strömungsweg der anderen Saugkammer durch eine Verschlussklappe abgetrennt oder abtrennbar ist.
Aus DE 28 56 094 C2 ist ein Back- und Bratofen bekannt mit einen Wrasenabzug in dessen Bereich eine Vorrichtung zur Messung der in dem abziehenden Wrasen enthaltenen Feuchtigkeit angeordnet ist, wobei die Feuchtigkeitsmessvorrichtung Teil eines Steuergeräts ist, über das in Abhängigkeit des von der Messvorrichtung gemessenen Feuchtigkeitsgehaltes eine den Wrasenabzug beherrschende Klappe verstellt oder die Drehzahl des Ventilatormotors eines Heißluftgebläses zum Umwälzen der Heizluft im Back- und Bratraum verändert wird.
Die DE 35 19 423 C2 offenbart ein Gargerät mit verschließbarem Garraum, in dem ein Grillheizkörper angeordnet ist und dem weitere Heizeinrichtungen zugeordnet sind, sowie mit einem Kühlgebläse, von dem aus ein Luftstrom den Garraum durchströmt, wobei die Luftströmung durch eine Luftklappe, die am Eingang des von Kühlgebläse ausgehenden und in den Garraum einmündenden Strömungskanal angeordnet ist als Einstellorgan in Abhängigkeit von der Betriebsart des Gargerätes auch in Zwischenstellung verstellbar ist mittels einer von Hand betätigbaren Wähleinrichtung, mit der unterschiedliche Betriebsarten und ggf. unterschiedliche Temperaturbereiche einstellbar sind, wobei das Einstellorgan im Wählbereich der Wähleinrichtung für Garbetrieb mittels thermischer Heizkörper in zumindest eine Zwischen-Öffnungsstellung einstellbar ist, in welcher der Grillheizkörper eingeschaltet ist.
Aus EP 0 598 211 A1 ist ein Backofen, insbesondere mit einer pyrolytischen Selbstreinigung, bekannt, der eine Wrasenöffnung in der Muffeldecke aufweist, durch die der im Backofenbetrieb entstehende Wrasen nach außen von einem Gebläse angesaugt wird und nach außen ausgeblasen wird. Der Strömungsquerschnitt der Wrasenöffnung selbst oder eines anschließenden Strömungskanals ist durch eine Drossel in Abhängigkeit von Temperatur und/oder Feuchtigkeit des Wrasens selbsttätig verstellbar.
Aus DE 199 20 345 C1 ist ein Garofen bekannt mit einer Ofenmuffel, in deren Muffelwandung, vorzugsweise der Muffeldecke, eine Wrasenaustrittsöffnung vorgesehen ist, und mit einem außerhalb der Muffelwandung angeordneten Gebläse mit wenigstens einem Ansaugbereich, der mit der Wrasenaustrittsöffnung der Muffelwandung verbunden ist, und mit wenigstens einem Ausblasbereich. Ferner ist wenigstens ein mit einem Ende in einen Außenraum mündenden und mit einem anderen Ende in den Ansaugbereich des Gebläse mündender Frischluftkanal sowie wenigstens ein den Ausblasbereich des Gebläses mit dem Außenraum verbindender Ausleitkanal zum Ausleiten des Gemischs der vom Gebläse in dessen Betrieb aus dem Garraum angesaugten Wrasen einerseits und der durch den Frischluftkanal aus dem Außenraum angesaugten Frischluft andererseits vorgesehen. Der Frischluftkanal und der Ausleitkanal verlaufen vorzugsweise oberhalb der Ofenmuffel im Wesentlichen horizontal und sind durch eine Luftleitplatte voneinander getrennt. Der Frischluftkanal ist dabei unterhalb des Ausleitkanals angeordnet. Das Gebläse ist vorzugsweise ein Radialgebläse und oberhalb der Wrasenaustrittsöffnung angeordnet. Bei geschlossener Tür ist die Beschickungsöffnung der Ofenmuffel verschlossen und steht eine Austrittsöffnung der Tür mit dem Eingang des Frischluftkanals in Strömungsverbindung, so dass das Gebläse über den Frischluftkanal Frischluft aus dem Türinnenraum ansaugt. Dadurch wird im Türinnenraum eine Luftströmung von dem unteren offenen Ende der Tür nach oben erzeugt. Ferner wird auch Frischluft über den Türgriff durch eine dahinterliegende Öffnung in den Türinnenraum und dann in den Frischluftkanal gezogen, wodurch auch der Türgriff gekühlt wird. Dieses Be- und Entlüftungssystem dient zum einen zur Kühlung des Garofens und zum anderen zum Ableiten des Wrasen aus der Ofenmuffel.
Der Erfindung liegt nun die Aufgabe zugrunde, ein neues Verfahren und eine neue Vorrichtung zum Be- und/oder Entlüften eines Garofens anzugeben.
Diese Aufgabe wird gemäß der Erfindung gelöst mit dem Merkmalen des Anspruchs 1 bzw. des Anspruchs 17.
Die Erfindung beruht auf der Überlegung, im Garbetrieb und im Pyrolysebetrieb eines Garofens unterschiedliche Luftführungen durch die Tür des Garofens zu erzeugen. Im Pyrolysebetrieb wird die Luft von unten angesaugt und durch den Türinnenraum bis nach oben geleitet und wieder aus der Tür ausgeleitet. Da die Luft in einem Raum im Bereich des Bodens in der Regel kälter ist als in einem Bereich darüber, insbesondere über der Ofenmuffel des Garofens, und sich die Luft über der Ofenmuffel bei den im Pyrolysebetrieb herrschenden hohen Temperaturen von über 500 °C besonders stark erhitzt, wird somit gemäß der Erfindung kältere Luft zur Kühlung der Tür zur Kühlung der Tür verwendet. Im Garbetrieb sind die in der Ofenmuffel auftretenden Temperaturen deutlich niedriger als im Pyrolysebetrieb und liegen typischerweise zwischen 100° C und 250° C, im Grillbetrieb manchmal auch bis 300° C. Deshalb wird im Garbetrieb Luft von oben in die Tür geleitet und unten wieder in den Außenraum ausgeblasen. Die Strömungsrichtung der Luft in der Tür ist also im Garbetrieb gerade entgegengesetzt zum Pyrolysebetrieb. Durch die Abführung der Luft oder Entlüftung durch die Tür im Garbetrieb kann ein Ausblasen von Luft auf den vor der Tür stehenden Benutzer in Höhe der Hände oder sogar des Gesichts wie beim Stand der Technik reduziert oder sogar ganz vermieden werden, wodurch zum Einen die damit verbundene Unannehmlichkeit und zum Anderen die Geräusche z.B. des Gebläses reduziert werden. Im Pyrolysebetrieb ist dagegen davon auszugehen, dass eine Benutzerperson in der Regel sich nicht für längere Zeit vor dem Garofen befinden wird, so dass das Ausblasen der heißen Abluft auch in einem Ausblasbereich oberhalb der Tür erfolgen kann, wie beim Stand der Technik.
Vorteilhafte Ausgestaltungen und Weiterbildungen des Verfahrens und der Vorrichtung ergeben sich aus dem vom Anspruch 1 bzw. Anspruch 17 jeweils abhängigen Ansprüchen.
Die Erfindung wird im Folgenden anhand von Ausführungsbeispielen weiter erläutert. Dabei wird auf die Zeichnung Bezug genommen, in deren
FIG 1
ein Garofen mit einer Belüftung in einem Pyrolysebetrieb in einer geschnittenen Seitenansicht,
FIG 2
der Garofen gemäß FIG 1 mit einem Belüftungsbetrieb in einem Garbetrieb,
FIG 3
eine Strömungseinstelleinrichtung für die Strömungskanäle des Garofens gemäß FIG 1 oder FIG 2 in einer vergrößerten geschnittenen Darstellung
jeweils schematisch dargestellt sind. Einander entsprechende Teile und Größen sind in den FIG 1 bis 3 mit denselben Bezugszeichen versehen.
Der Garofen 2 gemäß FIG 1 und 2 umfasst eine Ofenmuffel 3 mit einer Beschickungsöffnung 30, die durch eine Tür 5 verschlossen ist. Die Tür 5 ist im Wesentlichen senkrecht zum Boden oder parallel zur Schwerkraft angeordnet und liegt dabei über eine Dichtung an einer Gehäusefront 22 des Garofens 2 an, die die Beschickungsöffnung 30 umgibt.
Die Tür 5 weist gemäß FIG 1 und 2 eine Außenscheibe 50, eine Innenscheibe 51 und zwei Zwischenscheiben 52 und 53 auf.
Zwischen der Außenscheibe 50 und der Zwischenscheibe 52 ist ein äußerer Zwischenraum 55 gebildet, zwischen den beiden Zwischenscheiben 52 und 53 ein mittlerer Zwischenraum 54 und zwischen der Zwischenscheibe 53 und der Innenscheibe 51 ein innerer Zwischenraum 56. Der äußere und der innere Zwischenraum 55 und 56 der Tür 5 sind über Abdichtelemente oder Verschlüsse 15 bzw. 16 unten und 25 und 26 oben abgedichtet. Der mittlere Zwischenraum 54 ist dagegen oben und unten offen und dient als Türinnenraum zur Luftführung.
In einem oberen Bereich der Tür 5, in FIG 1 und 2 oberhalb der Scheiben 51 bis 53, ist ein Luftführungsteil 11 vorgesehen, das an einer Innenseite eine erste Durchtrittsöffnung 13 der Tür 5 aufweist, die in einen Strömungskanal 81 innerhalb des Luftführungsteils 11 mündet.
In einem unteren Bereich der Tür 5 ist ein gesondertes Luftleitteil 19 angesetzt, das einen zunächst oben im Wesentlichen parallel zur Außenscheibe 50 verlaufenden und unten dann nach außen gebogen gestalteten Strömungskanal 17 aufweist, der sich an den mittleren Zwischenraum 54 anschließt oder diesen fortsetzt und in einer zweiten Durchtrittsöffnung 14 unterhalb der Außenscheibe 50 in den Außenraum 10 mündet. Dadurch wird, je nach Biegung des Strömungskanals 17 eine schräg oder horizontal gerichtete Luftführung durch die zweite Durchtrittsöffnung 14 erreicht.
Oberhalb einer Muffeldecke 31 der Ofenmuffel 3 ist ein Gebläse 7 angeordnet, das in bekannter Weise ausgebildet sein kann, beispielsweise ein von einem elektrischen Antriebsmotor angetriebenes Lüfterrad oder Lüfterwalze umfassen und/oder als Radialgebläse oder Axialgebläse ausgebildet sein kann.
Das Gebläse 7 saugt in der für den Pyrolysebetrieb des Garofens 2 vorgesehenen Ausführungsform der Be- und Entlüftung gemäß FIG 1 Luft L1 aus der Tür 5 über einen saugseitig angeschlossenen ersten Strömungskanal 9 und Luft L2 aus einem Außenraum 10 an und bläst die angesaugte Luft L1 + L2 durch einen druckseitig angeschlossenen zweiten Strömungskanal 8 nach vorne zur Gerätefront hin.
Der erste Strömungskanal 9 mündet gemäß FIG 1 und 2 an der Gehäusefront 22 in einer Öffnung, die der ersten Durchtrittsöffnung 13 im Luftführungsteil 11 der Tür 5 gegenüberliegt.
In der Ausführungsform gemäß FIG 1 wird vom Gebläse 7 eine Luftströmung von frischer Luft L1 aus dem Außenraum 10 von unten durch die zweite Durchtrittsöffnung 14 der Tür 5, durch den zentralen Zwischenraum 54 zwischen den beiden Zwischenscheiben 52 und 53 in der Tür 5 nach oben, durch den Strömungskanal 81 im Luftführungsteil 11 und die erste Durchtrittsöffnung 13 aus der Tür 5 und schließlich durch den ersten Strömungskanal 9 zum Gebläse 7 hin erzeugt.
Zwischen einer oberen Außenwand des Luftführungsteils 11 und der Gehäusefront 22 sowie einer oberhalb der Tür 5 angeordneten Bedienblende 21 ist gemäß FIG 1 und 2 ein Strömungskanal 82 gebildet, der in einem Ausblasbereich (Ausblasschlitz) 12 oberhalb der Außenscheibe 50 der Tür 5 in den Außenraum 10 mündet. In diesen Strömungskanal 82 mündet der zweite Strömungskanal 8.
Ferner ist gemäß FIG 1 und 2 auch eine Abführung von Wrasen (Abgasen, Gardämpfen) aus dem Innenraum der Ofenmuffel 3 vorgesehen über einen im vorderen Bereich des Garofens 2 an der Muffeldecke 31 vorgesehenen Wrasenkanal 32, der kurz vor dessen Mündung in den Strömungskanal 8 mündet.
Es wird nun gemäß FIG 1 die angesaugte Luft L1 + L2 vom Gebläse 7 durch den zweiten Strömungskanal 8 geblasen und infolge der Injektorwirkung wird von der Luftströmung L1 + L2 bei dem Pyrolyseprozess entstehender Wrasen (oder Abgase) W aus der Ofenmuffel 3 abgesaugt. Das Luft/Wrasengemisch W + L1 + L2 wird nun über den Strömungskanal 82 und den Ausblasbereich 12 in den Außenraum 10 abgeführt.
Im Garbetrieb des Garofens 2 wird dagegen eine andere Luftführung gewählt, die in FIG 2 gezeigt ist.
Dazu wird mittels einer Strömungseinstelleinrichtung 88 die Strömungsführung in den beiden Strömungskanälen 8 und 9 geändert oder umgeschaltet, indem beide Strömungskanäle 8 und 9 in jeweils einen vorderen, ersten Teilbereich 8A bzw. 9A und einen hinteren, zweiten Teilbereich 8B bzw. 9B aufgeteilt werden und diese Teilbereiche 8A, 8B, 9A und 9B strömungstechnisch unterschiedlich verschaltet werden. Die Strömungseinstelleinrichtung 88 ist außer in den FIG 1 und 2 in einer vergrößerten Darstellung in den FIG 3 und 4 gezeigt. FIG 3 entspricht dabei der Einstellung oder dem Zustand der Strömungseinstelleinrichtung 88 im Garbetrieb gemäß FIG 3 und FIG 4 der Einstellung oder dem Zustand im Pyrolysebetrieb gemäß FIG 1.
Die Strömungseinstelleinrichtung 88 umfasst ein erstes Verschlusselement 85, das in einer Mitte schwenkbar gelagert ist und in Form einer Drehklappe ausgebildet ist, und ein zweites Verschlusselement 86, das an einem Ende schwenkbar gelagert ist und an einem anderen Ende in ein Schließelement 80 eingreift, sowie eine in der Trennwand zwischen den beiden Strömungskanälen 8 und 9 vorgesehene Öffnung (oder: Strömungspassage) 84. Das Schließelement 80 ist von einer Stelleinrichtung 89 (nur in FIG 1 und 2 dargestellt) betätigbar, indem es in einem ersten Zustand gemäß FIG 3 außerhalb des zweiten Strömungskanals 8 angeordnet ist und in einem zweiten Zustand gemäß FIG 4 nach unten bewegt nun in den Strömungskanal 8 angeordnet ist. Die Stelleinrichtung 89 kann z.B. elektromagnetisch (z.B. Relais, Spule) oder thermoelektrisch (z.B. Bimetall) oder auch mechanisch (z.B. Drucktaste mit Schieber, z.B. an der Bedienblende 21) das Schließelement 80 betätigen.
Im ersten Zustand der Strömungseinstelleinrichtung 88 gemäß FIG 3 wird das Schließelement 80 durch die Stelleinrichtung 89 aus dem Strömungskanal 8 heraus bewegt und das erste Verschließelement 85 dreht durch seine aysmmetrische Massenverteilung und das daraus unter Einwirkung der Schwerkraft resultierende Drehmoment sich selbst in eine Stellung, in der eine Öffnung in dem ersten Verschließelement 85 eine Strömungspassage zwischen dem zweiten Strömungskanal 8 und dem ersten Strömungskanal 9 durch die in der Trennwand vorgesehene Öffnung 84 schafft und ein durchgehender Bereich des ersten Verschließelements 85 den ersten Strömungskanal 9 verschließt und in die zwei Teilbereiche 9A und 9B trennt. Zugleich hebt das erste Verschließelement 85 das zweite Verschließelement 86 an in eine sich quer durch den Strömungskanal 8 erstreckende Verschließstellung, in der das zweite Verschließelement 86 den Strömungskanal 8 in den ersten Teilbereich 8A und zweiten Teilbereich 8B unterteilt. Das zweite Verschließelement 86 weist Öffnungen auf oder ist kleiner ausgebildet als der Strömungsquerschnitt des zweiten Strömungskanals 8, um einen Teil der ankommenden Luft als zweiten Luftstrom L2 in den vorderen ersten Teilbereich 8A des Strömungskanals 8 weiterzuleiten.
Der hauptsächliche Teil der Luftströmung aus dem zweiten Strömungskanal 8 wird dagegen als erster Luftstrom L1 aus dem hinteren zweiten Teilbereich 8B des Strömungskanals 8 in den vorderen ersten Teilbereich 9A des ersten Strömungskanals 9 geleitet und dann über die Durchtrittsöffnung 13 (siehe FIG 2) in die Tür eingeleitet. Nach Durchströmen des Strömungskanals 81 im Luftführungsteil 11 und des Zwischenraumes 54 nach unten strömt dieser erste Luftstrom L1 durch den Strömungskanal 17 und die zweite Durchtrittsöffnung 14 wieder nach außen in den Außenraum 10.
Gemäß FIG 2 wird der Wrasen W über den Wrasenkanal 32 in den vorderen Teilbereich 8A des Strömungskanals 8 geführt und mit dem Luftteilstrom L2 nach außen als Luft-/Wrasen-Gemisch W + L2 abgeführt. Durch die Tür 5 strömt dagegen im Wesentlichen nur reine Luft L1.
Im zweiten Zustand der Strömungseinstelleinrichtung 88 gemäß FIG 4 wird das Schließelement 80 von der Stelleinrichtung 89 in den Strömungskanal 8 eingebracht und drückt dadurch das zweite Verschließelement 86 nach unten, wobei dieses bei der Schwenkbewegung auch das erste Verschließelement 85 in eine horizontale offene Stellung bringt, so dass durch den nunmehr wieder durchgehenden zweiten Strömungskanal 8 die Luftströmung L1 gemäß FIG 1 und 4 strömen kann. Das zweite Verschließelement 86 verschließt nun die Öffnung 84, so dass der zweite Strömungskanal 8 und der erste Strömungskanal 9 durch die Trennwand wieder getrennt sind. Da das Schließelement 80 Öffnungen aufweist oder kleiner ausgebildet ist als der Strömungsquerschnitt des zweiten Strömungskanal 8, kann nun gemäß FIG 1 und 4 der Luftstrom L1 + L2 im zweiten Strömungskanal 8 strömen.
Die Strömungsquerschnitte des Strömungskanals 81 oder der Eintrittsöffnung 13 einerseits und des Strömungskanals 82 andererseits werden so aufeinander abgestimmt, dass ein vorgegebenes Verhältnis der Luftmengen oder Volumenströme der Luftströme L1 und L2 erreicht wird. Bevorzugt ist ein Verhältnis zwischen 9 : 1 und 7 : 3, also eine deutlich größere Menge Luft L1 durch die Tür als L2 oberhalb der Tür. Die senkrecht gemessene Höhe der Austrittsöffnung 12 für den zweiten Luftstrom L2 kann beispielsweise zwischen 2 mm und 6 mm betragen und die Höhe der Eintrittsöffnung 13 für den ersten Luftstrom L1 zwischen 4 mm und 10 mm. Die Breite der Öffnungen 12 und 13 kann unterschiedlich gewählt sein und/oder sich fast über die ganze Gerätebreite oder Türbreite erstrecken.
Bezugszeichenliste
2
Garofen
3
Ofenmuffel
5
Tür
7
Gebläse
8, 9
Strömungskanal
10
Außenraum
11
Luftführungsteil
12
Ausblasbereich
13
Eintrittsöffnung
14
Austrittsöffnung
15, 16
Verschluss
17
Ausblaskanal
20
Ofengehäuse
21
Bedienblende
22
Gehäusefront
25, 26
Verschluss
30
Beschickungsöffnung
31
Muffeldecke
32
Wrasenkanal
40
Beschickungsöffnung
42
Wrasenkanal
50
Außenscheibe
51
Innenscheibe
52, 53
Zwischenscheibe
54
innerer Zwischenraum
55
äußerer Zwischenraum
56
innerer Zwischenraum
57, 67
Türgriff
60
Außenscheibe
61
Innenscheibe
62, 63
Zwischenscheibe
64
innerer Zwischenraum
65
äußerer Zwischenraum
66
innerer Zwischenraum
72
Wrasenkanal
80
Schließelement
81, 82
Strömungskanal
85, 86
Verschließelement
88
Strömungseinstelleinrichtung

Claims (34)

  1. Verfahren zum Be- und/oder Entlüften eines Garofens, insbesondere eines Haushaltsgarofens, der mindestens eine Ofenmuffel und eine Tür zum Verschließen einer Beschickungsöffnung der Ofenmuffel in einem geschlossenen Zustand umfasst sowie wenigstens einen Garbetrieb zum Garen von Speisen in der Ofenmuffel sowie einen Pyrolysebetrieb zum pyrolytischen Reinigen der Ofenmuffel aufweist, wobei die folgenden Verfahrensschritte vorgesehen sind:
    a) in wenigstens einer Garbetriebsart wird Luft in einem oberen Bereich der im geschlossenen Zustand befindlichen Tür in einen Türinnenraum eingeleitet und durch den Türinnenraum nach unten geführt und in einem unteren Bereich der Tür in einen Außenraum ausgeleitet,
    b) in der Pyrolysebetriebsart wird Luft aus einem Außenraum in einem unteren Bereich der Tür in den Türinnenraum der Tür eingeleitet, durch den Türinnenraum nach oben geführt und im oberen Bereich der Tür wieder aus dem Türinnenraum ausgeleitet.
  2. Verfahren nach Anspruch 1, bei dem der obere Bereich des Türinnenraums in wenigstens einem Garbetrieb mit einer Saugseite wenigstens eines Gebläses in Strömungsverbindung gebracht wird und im Pyrolysebetrieb mit einer Druckseite des oder der selben oder wenigstens eines weiteren Gebläses in Strömungsverbindung gebracht wird.
  3. Verfahren nach Anspruch 2, bei dem das Gebläse über wenigstens einen ersten Strömungskanal mit dem oberen Bereich der Tür in deren geschlossenem Zustand in Strömungsverbindung steht oder bringbar ist.
  4. Verfahren nach Anspruch 3, bei dem durch Umkehr der Förderrichtung oder Austauschen von Saugseite und Druckseite des Gebläses die Strömungsrichtung der Luft im ersten Strömungskanal in dem wenigstens einen Garbetrieb und dem Pyrolysebetrieb zueinander entgegengesetzt eingestellt wird.
  5. Verfahren nach einem oder mehreren der vorhergehenden Ansprüche, bei dem das Gebläse über wenigstens einen zweiten Strömungskanal mit wenigstens einem in den Außenraum mündenden Ausblasbereich, der vorzugsweise in dem oberen Bereich der Tür oder oberhalb der Tür angeordnet ist, in Strömungsverbindung steht oder bringbar ist.
  6. Verfahren nach Anspruch 5 und Anspruch 3 oder Anspruch 4, bei dem der erste Strömungskanal mit der Saugseite des Gebläses in Strömungsverbindung steht oder bringbar ist und der zweite Strömungskanal mit der Druckseite des Gebläses in Strömungsverbindung steht oder bringbar ist.
  7. Verfahren nach Anspruch 6, bei dem in dem Pyrolysebetrieb die Luft aus dem Türinnenraum vom Gebläse durch den wenigstens einen ersten Strömungskanal angesaugt wird und anschließend durch den wenigstens einen zweiten Strömungskanal über den Ausblasbereich wieder in den Außenraum ausgeblasen wird.
  8. Verfahren zum Be- und/oder Entlüften eines Garofens, insbesondere eines Haushaltsgarofens, insbesondere Verfahren nach Anspruch 6 oder Anspruch 7, bei dem
    a) in wenigstens einem Garbetrieb des Garofens mittels einer Strömungseinstelleinrichtung
    a1) der erste Strömungskanal in einen, vorzugsweise der Tür zugewandten, ersten Teilbereich und einen, vorzugsweise dem Gebläse zugewandten, zweiten Teilbereich unterteilt wird, wobei die beiden Teilbereiche des ersten Strömungskanals voneinander strömungstechnisch getrennt werden,
    a2) und eine Strömungsverbindung zwischen dem ersten Teilbereich des ersten Strömungskanals und dem zweiten Strömungskanal hergestellt wird, wobei vorzugsweise die von dem oder einem Gebläse ausgeblasene Luft wenigstens zum Teil über den ersten Teilbereich des ersten Strömungskanals, vorzugsweise zum oberen Bereich der Tür und in den Türinnenraum, ausgeblasen wird,
    und bei dem
    b) in einem Pyrolysebetrieb des Garofens mittels der Strömungseinstelleinrichtung
    b1) die Trennung des ersten Strömungskanals in die beiden Teilbereiche aufgehoben wird, wobei vorzugsweise Luft aus einem Außenraum, vorzugsweise durch den Türinnenraum der Tür, durch den ersten Strömungskanal vom Gebläse angesaugt wird,
    b2) und die Strömungsverbindung zwischen dem ersten Teilbereich des ersten Strömungskanals und dem zweiten Strömungskanal unterbrochen wird, wobei vorzugsweise die von dem oder einem Gebläse ausgeblasene Luft wenigstens zum Teil über den ersten Strömungskanal und vorzugsweise den oder einen Ausblasbereich in den Außenraum ausgeblasen wird.
  9. Verfahren nach Anspruch 8, bei dem in dem wenigstens einen Garbetrieb ein Teil der vom Gebläse ausgeblasenen Luft über den zweiten Strömungskanal und den Ausblasbereich in den Außenraum ausgeleitet wird.
  10. Verfahren nach Anspruch 9, bei dem das Verhältnis der geförderten Luftmengen, insbesondere der Volumenströme, der über den Türinnenraum in den Außenraum ausgeleiteten Luft und der über den Ausblasbereich in den Außenraum ausgeleiteten Luft in einem Bereich von 9 : 1 bis 7 : 3 eingestellt wird.
  11. Verfahren nach einem oder mehreren der vorhergehenden Ansprüche, bei dem die aus dem Außenraum angesaugte Luft vor dem Einleiten in den Türinnenraum an wenigstens einem Teil des Außenbereiches der Ofenmuffel oder eines an den Außenbereich der Ofenmuffel angrenzenden Luftführungselement entlang geführt wird.
  12. Verfahren nach einem oder mehreren der vorhergehenden Ansprüche, bei dem der Luft aus dem Außenraum,' insbesondere beim Ansaugen und/oder beim Entlangführen an dem Außenbereich der Ofenmuffel oder dem angrenzenden Luftführungselement und/oder vor dem Einblasen in den Türinnenraum und/oder vor dem Ausblasen in den Au-ßenraum, Wrasen aus einem Muffelinnenraum der Ofenmuffel zugeführt wird.
  13. Verfahren nach Anspruch 12 und Anspruch 9, bei dem Wrasen mit dem Luftteilstrom über den zweiten Strömungskanal und den Ausblasbereich abgeführt wird.
  14. Verfahren nach einem oder mehreren der vorhergehenden Ansprüche, bei dem
    a) die Tür in ihrem oberen Bereich wenigstens eine erste Durchtrittsöffnung und in ihrem unteren Bereich wenigstens eine zweite Durchtrittsöffnung aufweist und
    b) in der wenigstens einen Garbetriebsart die Luft durch die wenigstens eine erste Durchtrittsöffnung in den Türinnenraum eingeleitet wird und durch die wenigstens eine zweite Durchtrittsöffnung in den Außenraum ausgeleitet wird und
    c) in der Pyrolysebetriebsart die Luft aus dem Außenraum durch die wenigstens eine zweite Durchtrittsöffnung in den Türinnenraum eingeleitet wird und durch die wenigstens eine erste Durchtrittsöffnung wieder aus dem Türinnenraum ausgeleitet wird.
  15. Verfahren nach einem oder mehreren der vorhergehenden Ansprüche, bei dem die Tür eine dem Außenraum zugewandte Außenscheibe und eine im geschlossenen Zustand der Tür der Ofenmuffel zugewandten Innenscheibe aufweist und bei dem als Türinnenraum, durch den die Luft geleitet wird, ein Zwischenraum, der von der Außenscheibe und der Innenscheibe begrenzt wird, und/oder ein Zwischenraum, der von der Innenscheibe oder der Außenscheibe einerseits und einer zwischen Außenscheibe und Innenscheibe angeordneten Zwischenscheibe der Tür andererseits begrenzt wird, und/oder ein Zwischenraum, der von zwei zwischen der Innenscheibe und der Außenscheibe angeordneten Zwischenscheiben der Tür begrenzt wird, verwendet wird.
  16. Verfahren nach einem oder mehreren der vorhergehenden Ansprüche, bei dem der Garofen wenigstens zwei Ofenmuffeln, deren Beschickungsöffnungen jeweils mit einer Tür verschlossen oder verschließbar sind, umfasst und bei dem die aus dem Außenraum angesaugte Luft in der Garbetriebsart und/oder in der Pyrolysebetriebsart nacheinander durch die Türinnenräume beider Türen geleitet wird.
  17. Vorrichtung zum Be- und/oder Entlüften eines Garofens, insbesondere eines Haushaltsgarofens, der mindestens eine Ofenmuffel und eine Tür zum Verschließen einer Beschickungsöffnung der Ofenmuffel in einem geschlossenen Zustand umfasst sowie wenigstens einen Garbetrieb zum Garen von Speisen in der Ofenmuffel sowie einen Pyrolysebetrieb zum pyrolytischen Reinigen der Ofenmuffel aufweist, umfassend
    a) wenigstens eine Luftfördereinrichtung,
    b) die in wenigstens einer Garbetriebsart Luft in einem oberen Bereich der im geschlossenen Zustand befindlichen Tür in einen Türinnenraum einleitet und durch den Türinnenraum nach unten führt und in einem unteren Bereich der Tür in einen Außenraum ausleitet und
    c) die in der Pyrolysebetriebsart Luft aus einem Außenraum in einem unteren Bereich der Tür in den Türinnenraum der Tür einleitet, durch den Türinnenraum nach oben geführt und im oberen Bereich der Tür wieder aus dem Türinnenraum ausgeleitet.
  18. Vorrichtung nach Anspruch 17, bei der die Luftfördereinrichtung wenigstens ein Gebläse mit einer Saugseite und einer Druckseite umfasst, wobei der obere Bereich des Türinnenraums in wenigstens einem Garbetrieb mit einer Saugseite wenigstens eines Gebläses in rolysebetrieb mit einer Druckseite des oder der selben oder wenigstens eines weiteren Gebläses in Strömungsverbindung gebracht wird oder ist.
  19. Vorrichtung nach Anspruch 18, bei der das Gebläse über wenigstens einen ersten Strömungskanal mit dem oberen Bereich der Tür in deren geschlossenem Zustand in Strömungsverbindung steht oder bringbar ist.
  20. Vorrichtung nach Anspruch 19, bei der die Förderrichtung des Gebläses umkehrbar ist oder Saugseite und Druckseite des Gebläses austauschbar sind zum Einstellen der Strömungsrichtung der Luft im ersten Strömungskanal in dem wenigstens einen Garbetrieb und dem Pyrolysebetrieb.
  21. Vorrichtung nach einem oder mehreren der Ansprüche 17 bis 20, bei der das Gebläse über wenigstens einen zweiten Strömungskanal mit wenigstens einem in den Außenraum mündenden Ausblasbereich, der vorzugsweise in dem oberen Bereich der Tür oder oberhalb der Tür angeordnet ist, in Strömungsverbindung steht oder bringbar ist.
  22. Vorrichtung nach Anspruch 21 und Anspruch 19 oder Anspruch 20, bei der der erste Strömungskanal mit der Saugseite des Gebläses in Strömungsverbindung steht oder bringbar ist und der zweite Strömungskanal mit der Druckseite des Gebläses in Strömungsverbindung steht oder bringbar ist.
  23. Vorrichtung nach Anspruch 22, bei der in dem Pyrolysebetrieb das Gebläse die Luft aus dem Türinnenraum durch den wenigstens einen ersten Strömungskanal ansaugt und anschließend durch den wenigstens einen zweiten Strömungskanal über den Ausblasbereich wieder in den Außenraum ausbläst.
  24. Vorrichtung zum Be- und/oder Entlüften eines Garofens, insbesondere Vorrichtung nach Anspruch 22 oder Anspruch 23, mit einer Strömungseinstelleinrichtung, die
    a) in wenigstens einem Garbetrieb des Garofens
    a1) den ersten Strömungskanal in einen, vorzugsweise der Tür des Garofens zugewandten ersten Teilbereich und einen, vorzugsweise dem Gebläse zugewandten, zweiten Teilbereich unterteilt, wobei die beiden Teilbereiche des ersten Strömungskanals voneinander strömungstechnisch getrennt werden,
    a2) und eine Strömungsverbindung zwischen dem ersten Teilbereich des ersten Strömungskanals und dem zweiten Strömungskanal herstellt, wobei vorzugsweise die von dem oder einem Gebläse ausgeblasene Luft wenigstens zum Teil über den ersten Teilbereich des ersten Strömungskanals, vorzugsweise zum oberen Bereich der Tür und in den Türinnenraum, ausgeblasen wird,
    und bei dem
    b) in einem Pyrolysebetrieb des Garofens
    b1) die Trennung des ersten Strömungskanals in die beiden Teilbereiche aufhebt, wobei vorzugsweise Luft aus einem Außenraum, vorzugsweise durch den Türinnenraum der Tür, durch den ersten Strömungskanal vom Gebläse angesaugt wird,
    b2) und die Strömungsverbindung zwischen dem ersten Teilbereich des ersten Strömungskanals und dem zweiten Strömungskanal unterbricht wird, wobei vorzugsweise die von dem oder einem Gebläse ausgeblasene Luft wenigstens zum Teil über den zweiten Strömungskanal und vorzugsweise den oder einen Ausblasbereich in den Außenraum ausgeblasen wird.
  25. Vorrichtung nach Anspruch 24, bei der die Strömungseinstelleinrichtung in dem wenigstens einen Garbetrieb einen Teil der vom Gebläse ausgeblasenen Luft in den zweiten Strömungskanal weiterleitet zur Ausleitung in den Außenraum im Ausblasbereich.
  26. Vorrichtung nach Anspruch 25, bei dem das Verhältnis der geförderten Luftmengen, insbesondere der Volumenströme, der über den Türinnenraum in den Außenraum ausgeleiteten Luft und der über den Ausblasbereich in den Außenraum ausgeleiteten Luft in einem Bereich von 9 : 1 bis 7 : 3 eingestellt wird.
  27. Vorrichtung nach Anspruch 25 oder Anspruch 26, bei der an jede Ofenmuffel ein Wrasenkanal angeschlossen ist zum Abführen von Wrasen aus der Ofenmuffel, wobei der Wrasenkanal in den zweiten Strömungskanal zwischen der Strömungseinstelleinrichtung und dem Ausblasbereich mündet.
  28. Vorrichtung nach einem oder mehreren der vorhergehenden Ansprüche, bei dem
    a) die Tür in ihrem oberen Bereich wenigstens eine erste Durchtrittsöffnung und in ihrem unteren Bereich wenigstens eine zweite Durchtrittsöffnung aufweist und
    b) in der wenigstens einen Garbetriebsart die Luft durch die wenigstens eine erste Durchtrittsöffnung in den Türinnenraum eingeleitet wird und durch die wenigstens eine zweite Durchtrittsöffnung in den Außenraum ausgeleitet wird und
    c) in der Pyrolysebetriebsart die Luft aus dem Außenraum durch die wenigstens eine zweite Durchtrittsöffnung in den Türinnenraum eingeleitet wird und durch die wenigstens eine erste Durchtrittsöffnung wieder aus dem Türinnenraum ausgeleitet wird.
  29. Vorrichtung nach Anspruch 28 mit wenigstens einem Trennelement, das die zweite(n) Durchtrittsöffnung(en) der Tür von einer Saugseite der Luftfördereinrichtung trennt.
  30. Vorrichtung nach einem oder mehreren der Ansprüche 17 bis 29 zum Be- und/oder Entlüften eines Garofens mit wenigstens zwei Ofenmuffeln, deren Beschickungsöffnungen jeweils durch eine zugehörige Tür verschlossen oder verschließbar sind, wobei die Türinnenräume der beiden Türen strömungstechnisch in Reihe geschaltet oder schaltbar sind und die Luftfördereinrichtung die angesaugte Luft nacheinander durch beide Türinnenräume fördert.
  31. Vorrichtung nach einem oder mehreren der Ansprüche 17 bis 30, bei der die Saugseite der Luftfördereinrichtung oder des Gebläses mit Öffnungen in einem Gehäuse, insbesondere einer Gehäuserückwand, des Garofens in Strömungsverbindung steht.
  32. Vorrichtung nach einem oder mehreren der Ansprüche 17 bis 31, bei der die Luftfördereinrichtung oberhalb der oder jeder Ofenmuffel und/oder nahe der Gehäuserückwand angeordnet ist.
  33. Vorrichtung nach einem oder mehreren der Ansprüche 17 bis 32, bei der die Tür des Garofens eine dem Außenraum zugewandte Außenscheibe und eine im geschlossenen Zustand der Tür der Ofenmuffel zugewandten Innenscheibe aufweist und bei der der Türinnenraum, durch den die Luft geleitet wird, von einem Zwischenraum, der von der Außenscheibe und der Innenscheibe begrenzt wird, und/oder von einem Zwischenraum, der von der Innenscheibe oder der Außenscheibe einerseits und einer zwischen Außenscheibe und Innenscheibe angeordneten Zwischenscheibe der Tür andererseits begrenzt wird, und/oder von einem Zwischenraum, der von zwei zwischen der Innenscheibe und der Außenscheibe angeordneten Zwischenscheiben der Tür begrenzt wird, gebildet ist.
  34. Vorrichtung nach einem oder mehreren der Ansprüche 17 bis 33 zum Durchführen eines Verfahrens nach einem oder mehreren der Ansprüche 1 bis 16.
EP04030589A 2004-02-20 2004-12-23 Verfahren und eine Vorrichtung zum Be- und/oder Entlüften eines Garofens Withdrawn EP1566594A1 (de)

Applications Claiming Priority (2)

Application Number Priority Date Filing Date Title
DE200410008463 DE102004008463B3 (de) 2004-02-20 2004-02-20 Verfahren und eine Vorrichtung zum Be- und/oder Entlüften eines Garofens
DE102004008463 2004-02-20

Publications (1)

Publication Number Publication Date
EP1566594A1 true EP1566594A1 (de) 2005-08-24

Family

ID=34178111

Family Applications (1)

Application Number Title Priority Date Filing Date
EP04030589A Withdrawn EP1566594A1 (de) 2004-02-20 2004-12-23 Verfahren und eine Vorrichtung zum Be- und/oder Entlüften eines Garofens

Country Status (2)

Country Link
EP (1) EP1566594A1 (de)
DE (1) DE102004008463B3 (de)

Cited By (8)

* Cited by examiner, † Cited by third party
Publication number Priority date Publication date Assignee Title
EP2108891A1 (de) * 2008-04-10 2009-10-14 Whirpool Corporation Einbauofen mit verbessertem Kühlungssystem
US7708007B2 (en) * 2005-12-02 2010-05-04 Lg Electronics Inc. Door assembly for home appliance, electric oven using the same, and method for operating electric oven
EP2741013A1 (de) * 2012-12-04 2014-06-11 BSH Bosch und Siemens Hausgeräte GmbH Gargerät mit einem Lüfter und einer Stelleinrichtung
EP2846100A1 (de) * 2013-09-10 2015-03-11 Electrolux Appliances Aktiebolag Kühl- und Abzugsanlage für einen Backofen
EP2980491A3 (de) * 2014-08-01 2016-04-27 Samsung Electronics Co., Ltd. Ofen
EP3091291A1 (de) * 2015-05-08 2016-11-09 Electrolux Appliances Aktiebolag Backofen mit einem herdinnenraum und ofentür
EP3058282B1 (de) * 2013-10-18 2018-09-26 Whirlpool EMEA S.p.A Haushaltskochgerät
US10502431B2 (en) 2014-08-01 2019-12-10 Samsung Electronics Co., Ltd. Oven and door assembly applied to the oven

Families Citing this family (12)

* Cited by examiner, † Cited by third party
Publication number Priority date Publication date Assignee Title
PL1825197T3 (pl) * 2004-12-13 2012-06-29 Arcelik As Urządzenie do gotowania
ITVR20060001A1 (it) * 2006-01-10 2007-07-11 Societa Europea Componenti Elettrici Spa Ventilatore, particolarmente per la ventilazione di forni da cucina
ITTV20080136A1 (it) * 2008-10-27 2010-04-28 Unieldom Group S Cons A R L Forno per la cottura d'alimenti, con dispositivo di controllo a flusso d'aria della dispersione di calore dalla camera di cottura attraverso la luce d'accesso, e sistema integrato di ventilazione per l'isolamento termico con barriera termica della lu
WO2011013088A2 (en) * 2009-07-30 2011-02-03 Indesit Company S.P.A. Cooking oven, in particular for household use
IT1395264B1 (it) * 2009-07-30 2012-09-05 Indesit Co Spa Forno di cottura, in particolare di uso domestico
IT1395265B1 (it) * 2009-07-30 2012-09-05 Indesit Co Spa Forno di cottura, in particolare di uso domestico, di tipologia migliorata
ES2386560B1 (es) * 2009-11-25 2013-07-08 BSH Electrodomésticos España S.A. Procedimiento para accionar un aparato doméstico para preparar alimentos, y aparato doméstico de tal tipo.
ITRN20100013A1 (it) * 2010-04-02 2011-10-03 Indesit Co Spa Forno di cottura.
ITTO20110191A1 (it) * 2011-03-03 2012-09-04 Indesit Co Spa Forno di cottura, in particolare di uso domestico
EP2505924A1 (de) * 2011-03-30 2012-10-03 Electrolux Home Products Corporation N.V. Herd mit einem Vorderrahmen und einer Herdtür, die an dem Vorderrahmen schwenkbar montiert ist
KR102852566B1 (ko) * 2020-07-29 2025-08-29 삼성전자주식회사 조리기기
CN119488223B (zh) * 2024-12-04 2025-11-04 杭州老板电器股份有限公司 烹饪设备

Citations (2)

* Cited by examiner, † Cited by third party
Publication number Priority date Publication date Assignee Title
EP1022517A1 (de) 1999-01-25 2000-07-26 CANDY S.p.A. Tür für pyrolytischen Ofen
DE10047016A1 (de) * 2000-09-22 2002-04-18 Aeg Hausgeraete Gmbh Verfahren zum Kühlen einer Ofenmuffeltür und Garofen mit Kühlung

Family Cites Families (6)

* Cited by examiner, † Cited by third party
Publication number Priority date Publication date Assignee Title
DE2856094C2 (de) * 1978-12-23 1986-05-22 Licentia Patent-Verwaltungs-Gmbh, 6000 Frankfurt Back- und Bratofen
DE3519423A1 (de) * 1985-05-30 1986-12-04 Bosch-Siemens Hausgeräte GmbH, 7000 Stuttgart Gargeraet mit verschliessbarem garraum
DE8706668U1 (de) * 1987-05-08 1987-07-02 Bosch-Siemens Hausgeräte GmbH, 8000 München Backofen
DE4238660C2 (de) * 1992-11-16 1994-09-01 Bosch Siemens Hausgeraete Backofen, insbesondere mit einer Einrichtung für pyrolytische Selbstreinigung
DE19801585A1 (de) * 1998-01-19 1999-07-22 Aeg Hausgeraete Gmbh Verfahren zum Kühlen der Außenumgebung einer Ofenmuffel und Garofen mit Kühleinrichtung
DE19920345C1 (de) * 1999-05-04 2000-12-21 Aeg Hausgeraete Gmbh Garofen mit Wrasenabführung und Frischluftbeimischung

Patent Citations (2)

* Cited by examiner, † Cited by third party
Publication number Priority date Publication date Assignee Title
EP1022517A1 (de) 1999-01-25 2000-07-26 CANDY S.p.A. Tür für pyrolytischen Ofen
DE10047016A1 (de) * 2000-09-22 2002-04-18 Aeg Hausgeraete Gmbh Verfahren zum Kühlen einer Ofenmuffeltür und Garofen mit Kühlung

Cited By (13)

* Cited by examiner, † Cited by third party
Publication number Priority date Publication date Assignee Title
US7708007B2 (en) * 2005-12-02 2010-05-04 Lg Electronics Inc. Door assembly for home appliance, electric oven using the same, and method for operating electric oven
EP2108891A1 (de) * 2008-04-10 2009-10-14 Whirpool Corporation Einbauofen mit verbessertem Kühlungssystem
EP2741013A1 (de) * 2012-12-04 2014-06-11 BSH Bosch und Siemens Hausgeräte GmbH Gargerät mit einem Lüfter und einer Stelleinrichtung
AU2014320631B2 (en) * 2013-09-10 2018-05-10 Electrolux Appliances Aktiebolag Cooling and exhaust system for a cooking oven
WO2015036274A1 (en) * 2013-09-10 2015-03-19 Electrolux Appliances Aktiebolag Cooling and exhaust system for a cooking oven
EP2846100A1 (de) * 2013-09-10 2015-03-11 Electrolux Appliances Aktiebolag Kühl- und Abzugsanlage für einen Backofen
EP3058282B1 (de) * 2013-10-18 2018-09-26 Whirlpool EMEA S.p.A Haushaltskochgerät
US11092344B2 (en) 2013-10-18 2021-08-17 Whirlpool Emea S.P.A. Household cooking appliance
EP2980491A3 (de) * 2014-08-01 2016-04-27 Samsung Electronics Co., Ltd. Ofen
US9784457B2 (en) 2014-08-01 2017-10-10 Samsung Electronics Co., Ltd. Oven, door assembly applied to the same, and method for controlling the oven
US10502431B2 (en) 2014-08-01 2019-12-10 Samsung Electronics Co., Ltd. Oven and door assembly applied to the oven
EP3091291A1 (de) * 2015-05-08 2016-11-09 Electrolux Appliances Aktiebolag Backofen mit einem herdinnenraum und ofentür
WO2016180684A1 (en) * 2015-05-08 2016-11-17 Electrolux Appliances Aktiebolag A cooking oven with an oven cavity and an oven door

Also Published As

Publication number Publication date
DE102004008463B3 (de) 2005-03-10

Similar Documents

Publication Publication Date Title
EP1566594A1 (de) Verfahren und eine Vorrichtung zum Be- und/oder Entlüften eines Garofens
EP0752561B1 (de) Backofen
DE3839657C2 (de) Luftführungssystem für einen Backofen
DE19939673B4 (de) Garofen mit Auslaßphase
DE10245773C1 (de) Vorrichtung zur Wärmebehandlung von Lebensmitteln
EP0732549A2 (de) Ofen zur Wärmebehandlung von Lebensmitteln und Verfahren zum Backen
EP1589287B1 (de) Verfahren und eine Vorrichtung zum Be- und/oder Entlüften eines Garofens
DE3519423C2 (de)
DE10047016B4 (de) Garofen
EP0947776B1 (de) Garofen mit Kühleinrichtung
DE20221100U1 (de) Dunstabsaugvorrichtung für ein Kochfeld o.dgl. und insbesondere dafür geeigneter Fettfilter
CH678913A5 (en) Oven for forced cooling - with heat transferred to air which flows along channels in oven walls and door
EP1639299A1 (de) Backofen
DE3144493C2 (de)
CH630240A5 (en) Hot-air circulating, baking, frying and grilling oven, and method of operating it
EP1979683B1 (de) Gargerätetür
EP1120607B1 (de) Vorrichtung für einen mit einer Ofentür versehenen Erhitzungsofen
EP1201999A2 (de) Back- und/oder Bratofen
DE3441191C2 (de)
EP0482602B1 (de) Backofen
EP0499803A1 (de) Backofentür mit Griffleiste
EP0734503A1 (de) Heissluftofen für die zubereitung von lebensmitteln
DE19820067B4 (de) Entschwadung für einen Backofen
DE8806276U1 (de) Backofen
CH631802A5 (en) Baking, roasting and grilling oven

Legal Events

Date Code Title Description
PUAI Public reference made under article 153(3) epc to a published international application that has entered the european phase

Free format text: ORIGINAL CODE: 0009012

17P Request for examination filed

Effective date: 20050613

AK Designated contracting states

Kind code of ref document: A1

Designated state(s): AT BE BG CH CY CZ DE DK EE ES FI FR GB GR HU IE IS IT LI LT LU MC NL PL PT RO SE SI SK TR

AX Request for extension of the european patent

Extension state: AL BA HR LV MK YU

RAP1 Party data changed (applicant data changed or rights of an application transferred)

Owner name: ELECTROLUX HOME PRODUCTS CORPORATION N.V.

AKX Designation fees paid

Designated state(s): AT BE BG CH CY CZ DE DK EE ES FI FR GB GR HU IE IS IT LI LT LU MC NL PL PT RO SE SI SK TR

17Q First examination report despatched

Effective date: 20070608

RAP1 Party data changed (applicant data changed or rights of an application transferred)

Owner name: ELECTROLUX HOME PRODUCTS CORPORATION N.V.

RAP1 Party data changed (applicant data changed or rights of an application transferred)

Owner name: ELECTROLUX HOME PRODUCTS CORPORATION N.V.

STAA Information on the status of an ep patent application or granted ep patent

Free format text: STATUS: THE APPLICATION IS DEEMED TO BE WITHDRAWN

18D Application deemed to be withdrawn

Effective date: 20140701