EP1489232A2 - Vorrichtung zum Aufbringen eines Bindemittels für einen Asphaltbelag auf eine Verkehrsfläche - Google Patents

Vorrichtung zum Aufbringen eines Bindemittels für einen Asphaltbelag auf eine Verkehrsfläche Download PDF

Info

Publication number
EP1489232A2
EP1489232A2 EP04450126A EP04450126A EP1489232A2 EP 1489232 A2 EP1489232 A2 EP 1489232A2 EP 04450126 A EP04450126 A EP 04450126A EP 04450126 A EP04450126 A EP 04450126A EP 1489232 A2 EP1489232 A2 EP 1489232A2
Authority
EP
European Patent Office
Prior art keywords
asphalt
screed
binder
spray
chassis
Prior art date
Legal status (The legal status is an assumption and is not a legal conclusion. Google has not performed a legal analysis and makes no representation as to the accuracy of the status listed.)
Withdrawn
Application number
EP04450126A
Other languages
English (en)
French (fr)
Other versions
EP1489232A3 (de
Inventor
Josef Strassmayr
Maximilian Strassmayr
Johann Bleier
Current Assignee (The listed assignees may be inaccurate. Google has not performed a legal analysis and makes no representation or warranty as to the accuracy of the list.)
STRASSMAYR MASCHINENBAUGESELLSCHAFT M.B.H. & CO. K
Original Assignee
Strassmayr Maschinenbaugesellschaft Mbh & Co KG
Priority date (The priority date is an assumption and is not a legal conclusion. Google has not performed a legal analysis and makes no representation as to the accuracy of the date listed.)
Filing date
Publication date
Application filed by Strassmayr Maschinenbaugesellschaft Mbh & Co KG filed Critical Strassmayr Maschinenbaugesellschaft Mbh & Co KG
Publication of EP1489232A2 publication Critical patent/EP1489232A2/de
Publication of EP1489232A3 publication Critical patent/EP1489232A3/de
Withdrawn legal-status Critical Current

Links

Images

Classifications

    • EFIXED CONSTRUCTIONS
    • E01CONSTRUCTION OF ROADS, RAILWAYS, OR BRIDGES
    • E01CCONSTRUCTION OF, OR SURFACES FOR, ROADS, SPORTS GROUNDS, OR THE LIKE; MACHINES OR AUXILIARY TOOLS FOR CONSTRUCTION OR REPAIR
    • E01C19/00Machines, tools or auxiliary devices for preparing or distributing paving materials, for working the placed materials, or for forming, consolidating, or finishing the paving
    • E01C19/48Machines, tools or auxiliary devices for preparing or distributing paving materials, for working the placed materials, or for forming, consolidating, or finishing the paving for laying-down the materials and consolidating them, or finishing the surface, e.g. slip forms therefor, forming kerbs or gutters in a continuous operation in situ
    • EFIXED CONSTRUCTIONS
    • E01CONSTRUCTION OF ROADS, RAILWAYS, OR BRIDGES
    • E01CCONSTRUCTION OF, OR SURFACES FOR, ROADS, SPORTS GROUNDS, OR THE LIKE; MACHINES OR AUXILIARY TOOLS FOR CONSTRUCTION OR REPAIR
    • E01C19/00Machines, tools or auxiliary devices for preparing or distributing paving materials, for working the placed materials, or for forming, consolidating, or finishing the paving
    • E01C19/12Machines, tools or auxiliary devices for preparing or distributing paving materials, for working the placed materials, or for forming, consolidating, or finishing the paving for distributing granular or liquid materials
    • E01C19/16Machines, tools or auxiliary devices for preparing or distributing paving materials, for working the placed materials, or for forming, consolidating, or finishing the paving for distributing granular or liquid materials for applying or spreading liquid materials, e.g. bitumen slurries
    • E01C19/17Application by spraying or throwing
    • E01C19/176Spraying or throwing elements, e.g. nozzles; Arrangement thereof or supporting structures therefor, e.g. spray-bars
    • EFIXED CONSTRUCTIONS
    • E01CONSTRUCTION OF ROADS, RAILWAYS, OR BRIDGES
    • E01CCONSTRUCTION OF, OR SURFACES FOR, ROADS, SPORTS GROUNDS, OR THE LIKE; MACHINES OR AUXILIARY TOOLS FOR CONSTRUCTION OR REPAIR
    • E01C2301/00Machine characteristics, parts or accessories not otherwise provided for
    • E01C2301/14Extendable screeds
    • E01C2301/16Laterally slidable screeds

Definitions

  • the invention relates to a device for applying a Binder for an asphalt surface on a traffic area with an asphalt paver, with one carried by the asphalt paver's chassis, one Downstream distribution device for the asphalt mix Screed for compacting and smoothing the installed asphalt mix and with one connected to a storage container for the binder, the distributor for the asphalt mix upstream, with spray nozzles equipped spray bar, a middle part and extendable side parts includes.
  • Paving an asphalt surface in a street bed will be better Adhesion of the asphalt mix before application of the asphalt mix a binder sprayed onto the street bed.
  • Asphalt paver known (US 5 279 500 A)
  • the distribution device a spray bar for applying the asphalt in the direction of travel Binder is upstream, so that the asphalt material on the immediately before binder sprayed onto the street bed is applied before the in Asphalt mix installed in this way through a downstream screed is compressed and smoothed.
  • US 5 324 136 A the spray nozzles of Spray bar to move transversely to the direction of travel.
  • a Spray bar with a frame-fixed middle part and extendable side parts intended. While in the area of the middle part fixed to the frame on a Spray nozzles arranged transversely to the direction of travel are merely arranged are moved over a spray area that cannot be changed in width, the extendable side panels can be adjusted with regard to the extension length be what adapting the entire width of the spray area to different Conditions allowed.
  • a disadvantage of this known device for applying a binder to a traffic area is that through the spray nozzles, which can be moved back and forth across the direction of travel none of the middle part and the side parts of the spray bar sufficiently precise dosing across the entire width of the spray area can be ensured.
  • the cross to the direction of travel Asphalt paver movable side parts of the spray bar additional Installation space in the longitudinal direction that is not readily available.
  • Binder for an asphalt surface is also known (EP 971 072 A1) to apply the binder through spray nozzles that are intermittent can be switched on and off.
  • the invention is therefore based on the object of a device for Applying a binder for an asphalt surface on a traffic area the type described in such a way that with simple structural Measures to adapt to different working widths of the asphalt paver is possible without having to apply an exact dosage of the To do without the binder.
  • the invention solves the problem in that the extendable Side parts of the spray bar one led around a pulley and through the Deflection roller in a along the long side of the chassis and one transversely running strand subdivided link chain have that the transverse to each side of the vehicle running side of the link chain of the two extendable side parts of the spray bar on an extendable side part the screed attacks while the along the long side of the vehicle frame extending chain center is connected to a return drive, and that the link chains carry individually controllable spray nozzles.
  • the extendable Side part of the screed drive-connected strand of the link chain with the spray nozzles associated with this chain center the effective extension of the forms a central part of the spray bar, there is a spray bar, the total length of which is determined by the screed Working width of the asphalt paver is adjusted. That for the respective extension of the spray bar with the associated nozzles runs on the long side of the chassis frame, which is advantageous Construction creates relationships because of the for the fixed middle part of the Installation space provided for the spray bar does not additionally accommodate the extendable side panels must be used.
  • the screed can be adjusted in height using swivel arms stored on the chassis of the asphalt paver, it is recommended that the side parts of the spray bar on the swivel arms of the screed, to avoid special design measures for length compensation between the chain center running transversely to the direction of travel and the screed to have to provide for their height shift.
  • the viscosity of the binder is advantageous for spraying can be ensured, the binder must be warmed up accordingly.
  • the storage container for the binder on the screed facing wall or on the asphalt paver to provide arranged tipping trough into which the hot to be processed Asphalt mix is brought in to be discharged over a scraper floor the distributor device downstream of the spray bar, usually one Auger to be fed.
  • the binder can thus be heated in the storage container so that to reach the desired binder temperature, the binder only can be warmed up with a comparatively small amount of heat got to.
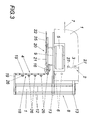
  • the device for applying a binder for an asphalt surface on a traffic area is built on an asphalt paver, the one Chassis 1 with one arranged at the front end of the chassis 1
  • Tipping trough for the hot asphalt mix has a scraper floor discharged from the tipping body and a distribution device in the form a distribution screw is fed, but for reasons of clarity is not shown.
  • a spray bar 2 is arranged upstream of this distributor device, that of a central part 3 indicated by dashed lines in FIGS. 2 and 3 and extendable side parts 4 and the distance between the middle part 3 and bridging the side parts 4 in the area of the wheels 5 of the asphalt paver Spray nozzles 6 there.
  • a screed 8 is arranged downstream of the distributor device in the direction of travel 7, which is mounted on swivel arms 9 on the chassis 1 and with With the help of a swivel drive 10, for example a swivel cylinder, the Height can be adjusted.
  • the screed 8 is extendable Provided side parts 11, the guide rods 12 in a frame 13th of the middle part of the screed 8 slidably mounted transversely to the direction of travel 7 are.
  • the screed 8 is with sliding plates 14 for compacting and smoothing the asphalt mix installed in a road bed via the distribution device Mistake.
  • the side parts 4 of the spray bar 2 are each connected by a link chain 15 formed, which is guided around a deflection roller 16.
  • This pulley 16 divides the link chain 15 into one along the long side of the chassis 1 running chain center 17 and a chain center 18 running transversely thereto. While the chain center 18 on a side plate 19 of the respective side part 11 of the screed 8 is articulated, the free end of the chain center engages 17 on a return drive 20, for example from an actuating cylinder 21 for a pivot lever 22, on which in turn a connecting link 23 is supported at the end of the chain center 17.
  • This chain end is in a sliding guide 24 extending in the direction of travel 7, the Carrier 25 also receives the deflection roller 16.
  • the link chain 15 is deflected around the deflection roller 16 taken against the return drive 20, which is transverse to Direction of travel 7 extending chain center 18 extended accordingly. Since on the individual chain links of the link chain 15 spray nozzles 26 are arranged, which can be controlled individually results from the nozzles in the Region of the respective chain center 18 an extension of the nozzle bar 2 to the extent of the adjustment of the side parts 11 of the screed 8.
  • the nozzles 26 in the area of the chain center 18 thus form together with the nozzles 6 and the nozzles 27 of the middle part 3 of the spray bar 2 a row of nozzles, the one has uniform nozzle spacing transversely to the direction of travel 7, which with matching Spray nozzles 6, 26 and 27 are an essential requirement for an even distribution of the binder over the respective working width of the asphalt paver. Because the amount of binder sprayed through the spray nozzles with given spray nozzle dimensions and a given Viscosity of the binder only from the application pressure of the Binder and the pulse duration of the spray pulses depends on the device to apply the binder in a simple manner using these parameters can be controlled precisely.

Landscapes

  • Engineering & Computer Science (AREA)
  • Architecture (AREA)
  • Civil Engineering (AREA)
  • Structural Engineering (AREA)
  • Road Paving Machines (AREA)

Abstract

Es wird eine Vorrichtung zum Aufbringen eines Bindemittels für einen Asphaltbelag auf einer Verkehrsfläche mit einem Asphaltfertiger, mit einer vom Fahrgestell (1) des Asphaltfertigers getragenen, einer Verteilereinrichtung für das Asphaltmischgut in Fahrrichtung (7) nachgeordneten Einbaubohle (8) zum Verdichten und Glätten des eingebauten Asphaltmischgutes und mit einem an einen Vorratsbehälter für das Bindemittel angeschlossenen, der Verteilereinrichtung für das Asphaltmischgut vorgelagerten, mit Sprühdüsen (6, 26, 27) bestückten Sprühbalken (2) beschrieben, der einen Mittelteil (3) und ausfahrbare Seitenteile (4) umfaßt. Um einfache Konstruktionsverhältnisse zu schaffen, wird vorgeschlagen, daß die ausfahrbaren Seitenteile (4) des Sprühbalkens (2) eine um eine Umlenkrolle (16) geführte und durch die Umlenkrolle (16) in ein entlang der Längsseite des Fahrgestelles (1) sowie ein dazu quer verlaufendes Trum (18) unterteilte Laschenkette (15) aufweisen, daß das quer zur jeweiligen Fahrzeuglängsseite verlaufende Trum (18) der Laschenkette (15) der beiden ausfahrbaren Seitenteile (4) des Sprühbalkens (2) an einem ausziehbaren Seitenteil (11) der Einbaubohle (8) angreift, während das entlang der Längsseite des Fahrzeugrahmens (1) verlaufende Kettentrum (17) mit einem Rückstelltrieb (20) verbunden ist, und daß die Laschenketten (15) einzeln ansteuerbare Sprühdüsen (26) tragen. <IMAGE>

Description

Die Erfindung bezieht sich auf eine Vorrichtung zum Aufbringen eines Bindemittels für einen Asphaltbelag auf einer Verkehrsfläche mit einem Asphaltfertiger, mit einer vom Fahrgestell des Asphaltfertigers getragenen, einer Verteilereinrichtung für das Asphaltmischgut in Fahrrichtung nachgeordneten Einbaubohle zum Verdichten und Glätten des eingebauten Asphaltmischgutes und mit einem an einen Vorratsbehälter für das Bindemittel angeschlossenen, der Verteilereinrichtung für das Asphaltmischgut vorgelagerten, mit Sprühdüsen bestückten Sprühbalken, der einen Mittelteil und ausfahrbare Seitenteile umfaßt.
Zum Einbau einer Asphaltdecke in ein Straßenbett wird zur besseren Haftung des Asphaltmischgutes vor dem Aufbringen des Asphaltmischgutes ein Bindemittel auf das Straßenbett aufgesprüht. Damit das Bindemittel in einem Arbeitsgang mit dem Asphaltmischgut vorgenommen werden kann, sind Asphaltfertiger bekannt (US 5 279 500 A), bei denen der Verteilereinrichtung zum Aufbringen des Asphaltgutes in Fahrrichtung ein Sprühbalken für das Bindemittel vorgelagert ist, so daß das Asphaltgut auf das unmittelbar vorher auf das Straßenbett aufgesprühte Bindemittel aufgebracht wird, bevor das in dieser Weise eingebaute Asphaltmischgut durch eine nachgeordnete Einbaubohle verdichtet und geglättet wird. Um ein gleichmäßiges Aufbringen des Bindemittels auf die mit einer Asphaltdecke zu versehende Verkehrsfläche zu erreichen, wurde bereits vorgeschlagen (US 5 324 136 A), die Sprühdüsen des Sprühbalkens quer zur Fahrrichtung zu verfahren. Zu diesem Zweck ist ein Sprühbalken mit einem gestellfesten Mittelteil und ausfahrbaren Seitenteilen vorgesehen. Während die im Bereich des gestellfesten Mittelteils auf einem quer zur Fahrrichtung verschiebbaren Rohr angeordneten Sprühdüsen lediglich über einen in seiner Breite nicht veränderbaren Sprühbereich bewegt werden, können die ausziehbaren Seitenteile hinsichtlich der Ausziehlänge eingestellt werden, was das Anpassen der gesamten Breite des Sprühbereichs an unterschiedliche Verhältnisse erlaubt. Nachteilig bei dieser bekannten Vorrichtung zum Aufbringen eines Bindemittels auf eine Verkehrsfläche ist jedoch, daß durch die quer zur Fahrrichtung hin- und hergehend verschiebbaren Sprühdüsen sowohl des Mittelteils als auch der Seitenteile des Sprühbalkens keine ausreichend genaue Dosierung über die Gesamtbreite des Sprühbereiches sichergestellt werden kann. Außerdem bedingen die quer zur Fahrrichtung des Asphaltfertigers verschiebbaren Seitenteile des Sprühbalkens zusätzlichen Einbauraum in Fahrlängsrichtung der nicht ohne weiteres zur Verfügung steht.
Zur genauen Dosierung eines auf eine Verkehrsfläche aufbringbaren Bindemittels für eine Asphaltdecke ist es darüber hinaus bekannt (EP 971 072 A1), das Bindemittel durch Sprühdüsen aufzubringen, die zeitlich intermittierend ein- und ausgeschaltet werden. Durch diese Maßnahme können trotz der für einen sicheren Betrieb ausreichend großen Düsenquerschnitte vergleichsweise geringe Bindemittelmengen über den gesamten Sprühbereich fein verteilt werden, was im Zusammenhang mit wasserfreien und im wesentlichen lösungsmittelfreien Bindemitteln, beispielsweise mit Rapsöl versetztem Bitumen, von besonderer Bedeutung ist.
Schließlich ist es bei Asphaltfertigern zur Anpassung an unterschiedliche Arbeitsbreiten bekannt (EP 507 258 A1), die Einbaubohle zum Verdichten und Glätten des eingebauten Asphaltmischgutes aus einem Mittelteil und zwei diesem Mittelteil gegenüber quer zur Fahrrichtung verlagerbaren Seitenteilen auszubilden, die mit dem Mittelteil in einem gemeinsamen Gestell angeordnet und über Schwenkarme auf dem Fahrgestell des Asphaltfertigers der Höhe nach verstellbar gelagert sind. Diese bekannten Asphaltfertiger weisen jedoch keinen Sprühbalken zum unmittelbaren Aufbringen eines Bindemittels vor dem Auftrag des Asphaltmischgutes auf.
Der Erfindung liegt somit die Aufgabe zugrunde, eine Vorrichtung zum Aufbringen eines Bindemittels für einen Asphaltbelag auf einer Verkehrsfläche der eingangs geschilderten Art so auszugestalten, daß mit einfachen baulichen Maßnahmen eine Anpassung an unterschiedliche Arbeitsbreiten des Asphaltfertigers möglich wird, ohne auf eine genaue Dosierung des aufgebrachten Bindemittels verzichten zu müssen.
Die Erfindung löst die gestellte Aufgabe dadurch, daß die ausfahrbaren Seitenteile des Sprühbalkens eine um eine Umlenkrolle geführte und durch die Umlenkrolle in ein entlang der Längsseite des Fahrgestelles sowie ein dazu quer verlaufendes Trum unterteilte Laschenkette aufweisen, daß das quer zur jeweiligen Fahrzeuglängsseite verlaufende Trum der Laschenkette der beiden ausfahrbaren Seitenteile des Sprühbalkens an einem ausziehbaren Seitenteil der Einbaubohle angreift, während das entlang der Längsseite des Fahrzeugrahmens verlaufende Kettentrum mit einem Rückstelltrieb verbunden ist, und daß die Laschenketten einzeln ansteuerbare Sprühdüsen tragen.
Da zufolge dieser Maßnahmen das jeweils mit dem ausziehbaren Seitenteil der Einbaubohle antriebsverbundene Trum der Laschenkette mit den diesem Kettentrum zugehörigen Sprühdüsen die wirksame Verlängerung des gestellfesten Mittelteils des Sprühbalkens bildet, ergibt sich ein Sprühbalken, der in seiner Gesamtlänge jeweils an die durch die Einbaubohle bestimmte Arbeitsbreite des Asphaltfertigers angepaßt ist. Das für die jeweilige Verlängerung des Sprühbalkens nicht benötigte Kettentrum mit den zugehörigen Düsen verläuft dabei auf der Längsseite des Fahrgestellrahmens, was vorteilhafte Konstruktionsverhältnisse schafft, weil der für den gestellfesten Mittelteil des Sprühbalkens vorgesehene Einbauraum nicht zusätzlich zur Aufnahme von ausziehbaren Seitenteilen genützt werden muß. Mit der Einzelansteuerung der Sprühdüsen auf der Laschenkette und dem vorzugsweise mit dem gegenseitigen Düsenabstand des Mittelteils übereinstimmenden Düsenabstand der Seitenteile ergibt sich eine einfachen Steuerung des aufzubringenden Bindemittels, insbesondere wenn die einzelnen Sprühdüsen in an sich bekannter Weise zeitlich intermittierend angesteuert werden. Zum Verkürzen der Sprühbalkenlänge werden die Laschenketten über einen am Kettentrum längsseits des Fahrzeugrahmens angreifenden Rückstelltrieb zurückgezogen, sobald die Seitenteile der Einbaubohle eingefahren werden.
Ist die Einbaubohle über Schwenkarme der Höhe nach verstellbar auf dem Fahrgestell des Asphaltfertigers gelagert, so empfiehlt es sich, die Seitenteile des Sprühbalkens auf den Schwenkarmen der Einbaubohle vorzusehen, um nicht besondere konstruktive Vorkehrungen für einen Längenausgleich zwischen dem quer zur Fahrrichtung verlaufenden Kettentrum und der Einbaubohle bei deren Höhenverlagerung vorsehen zu müssen.
Damit eine für das Versprühen vorteilhafte Viskosität des Bindemittels sichergestellt werden kann, ist das Bindemittel entsprechend aufzuwärmen. In diesem Zusammenhang empfiehlt es sich, den Vorratsbehälter für das Bindemittel auf der der Einbaubohle zugekehrten Wand der auf dem Asphaltfertiger angeordneten Einkippmulde vorzusehen, in die das zu verarbeitende, heiße Asphaltmischgut eingebracht wird, um über einen Kratzboden ausgetragen und der dem Sprühbalken nachgeordneten Verteilereinrichtung, üblicherweise einer Verteilerschnecke, zugefördert zu werden. Über die Wärme des Asphaltmischgutes kann somit das Bindemittel im Vorratsbehälter erwärmt werden, so daß zum Erreichen der angestrebten Bindemitteltemperatur das Bindemittel nur mehr mit einer vergleichsweise geringen Wärmemenge aufgewärmt werden muß.
Damit der Bindemittelauftrag auf das Straßenbett nicht durch Asphaltmischgut beeinträchtigt werden kann, das über die Verteilereinrichtung in den Sprühbereich des Sprühbalkens gelangt, können zwischen dem Sprühbalken und der Verteilereinrichtung gegen die Verkehrsfläche absenkbare Schürzen vorgesehen sein, die während der Einschaltdauer der Düsen abgesenkt und danach wieder hochgezogen werden können, um Hindernissen auszuweichen.
In der Zeichnung ist der Erfindungsgegenstand beispielsweise dargestellt. Es zeigen:
Fig. 1
eine erfindungsgemäße Vorrichtung zum Aufbringen eines Bindemittels für einen Asphaltbelag auf eine Verkehrsfläche, ausschnittsweise in einer schematischen Seitenansicht auf den Asphaltfertiger,
Fig. 2
diese Vorrichtung in einer schematischen Draufsicht im Bereich eines ausziehbaren Seitenteils des Sprühbalkens und
Fig. 3
eine der Fig. 2 entsprechenden Darstellung der Vorrichtung mit ausgezogenem Seitenteil des Sprühbalkens in einem kleinerem Maßstab.
Die Vorrichtung zum Aufbringen eines Bindemittels für einen Asphaltbelag auf einer Verkehrsfläche ist auf einem Asphaltfertiger aufgebaut, der ein Fahrgestell 1 mit einer am vorderen Ende des Fahrgestells 1 angeordneten Einkippmulde für das heiße Asphaltmischgut aufweist, das über einen Kratzboden aus der Einkippmulde ausgetragen und einer Verteilereinrichtung in Form einer Verteilerschnecke zugeführt wird, die jedoch aus Übersichtlichkeitsgründen nicht dargestellt ist. Dieser Verteilereinrichtung ist ein Sprühbalken 2 vorgeordnet, der aus einem in den Fig. 2 und 3 strichliert angedeuteten Mittelteil 3 und ausziehbaren Seitenteilen 4 sowie den Abstand zwischen dem Mittelteil 3 und den Seitenteilen 4 im Bereich der Räder 5 des Asphaltfertigers überbrükkenden Sprühdüsen 6 besteht.
Der Verteilereinrichtung ist in Fahrrichtung 7 eine Einbaubohle 8 nachgeordnet, die über Schwenkarme 9 auf dem Fahrgestell 1 gelagert ist und mit Hilfe eines Schwenktriebes 10, beispielsweise eines Schwenkzylinders, der Höhe nach verstellt werden kann. Die Einbaubohle 8 ist mit ausschiebbaren Seitenteilen 11 versehen, die über Führungsstangen 12 in einem Gestell 13 des Mittelteils der Einbaubohle 8 quer zur Fahrrichtung 7 verschiebbar gelagert sind. Die Einbaubohle 8 ist mit Gleitplatten 14 zum Verdichten und Glätten des über die Verteilereinrichtung in ein Straßenbett eingebauten Asphaltmischgutes versehen.
Die Seitenteile 4 des Sprühbalkens 2 werden jeweils durch eine Laschenkette 15 gebildet, die um eine Umlenkrolle 16 geführt ist. Diese Umlenkrolle 16 teilt die Laschenkette 15 in ein entlang der Längsseite des Fahrgestell 1 verlaufendes Kettentrum 17 und ein dazu quer verlaufendes Kettentrum 18. Während das Kettentrum 18 an einem Seitenschild 19 des jeweiligen Seitenteils 11 der Einbaubohle 8 angelenkt ist, greift das freie Ende des Kettentrums 17 an einem Rückstelltrieb 20 an, der beispielsweise aus einem Stellzylinder 21 für einen Schwenkhebel 22 besteht, an dem wiederum ein Verbindungslenker 23 zum Ende des Kettentrums 17 gelagert ist. Dieses Kettentrumende ist in einer in Fahrrichtung 7 verlaufenden Verschiebeführung 24 gehalten, deren Träger 25 auch die Umlenkrolle 16 aufnimmt. Wird einer der beiden Seitenteile 11 der Einbaubohle 8 nach außen über einen nicht dargestellten Stelltrieb verlagert, so wird die Laschenkette 15 unter einer Umlenkung um die Umlenkrolle 16 gegen den Rückstelltrieb 20 mitgenommen, wobei sich das quer zur Fahrrichtung 7 verlaufende Kettentrum 18 entsprechend verlängert. Da auf den einzelnen Kettengliedern der Laschenkette 15 Sprühdüsen 26 angeordnet sind, die je für sich angesteuert werden können, ergibt sich durch die Düsen im Bereich des jeweiligen Kettentrums 18 eine Verlängerung des Düsenbalkens 2 im Ausmaß der Verstellung der Seitenteile 11 der Einbaubohle 8. Die Düsen 26 im Bereich des Kettentrums 18 bilden somit zusammen mit den Düsen 6 und den Düsen 27 des Mittelteils 3 des Sprühbalkens 2 eine Düsenreihe, die einen gleichmäßigen Düsenabstand quer zur Fahrrichtung 7 aufweist, was bei übereinstimmenden Sprühdüsen 6, 26 und 27 eine wesentliche Voraussetzung für eine gleichmäßige Verteilung des Bindemittels über die jeweilige Arbeitsbreite des Asphaltfertigers darstellt. Da die über die Sprühdüsen versprühte Bindemittelmenge bei vorgegebenen Sprühdüsenabmessungen und einer vorgegebenen Viskosität des Bindemittels ausschließlich vom Beaufschlagungsdruck des Bindemittels und der Impulsdauer der Sprühimpulse abhängt, kann die Vorrichtung zum Aufbringen des Bindemittels in einfacher Weise über diese Parameter genau gesteuert werden.
Um bei einer Höhenverstellung der Einbaubohle 8 über die Schwenkarme 9 keinen Längenausgleich für die Laschenketten 15 vorsehen zu müssen, können die Seitenteile 4 des Sprühbalkens 2 zusammen mit dem Rückstelltrieb 20 für die Laschenkette 15 vorteilhaft auf den Schwenkarmen 9 angeordnet werden.

Claims (4)

  1. Vorrichtung zum Aufbringen eines Bindemittels für einen Asphaltbelag auf einer Verkehrsfläche mit einem Asphaltfertiger, mit einer vom Fahrgestell des Asphaltfertigers getragenen, einer Verteilereinrichtung für das Asphaltmischgut in Fahrrichtung nachgeordneten Einbaubohle zum Verdichten und Glätten des eingebauten Asphaltmischgutes und mit einem an einen Vorratsbehälter für das Bindemittel angeschlossenen, der Verteilereinrichtung für das Asphaltmischgut vorgelagerten, mit Sprühdüsen bestückten Sprühbalken, der einen Mittelteil und ausfahrbare Seitenteile umfaßt, dadurch gekennzeichnet, daß die ausfahrbaren Seitenteile (4) des Sprühbalkens (2) eine um eine Umlenkrolle (16) geführte und durch die Umlenkrolle (16) in ein entlang der Längsseite des Fahrgestelles (1) sowie ein dazu quer verlaufendes Trum (18) unterteilte Laschenkette (15) aufweisen, daß das quer zur jeweiligen Fahrzeuglängsseite verlaufende Trum (18) der Laschenkette (15) der beiden ausfahrbaren Seitenteile (4) des Sprühbalkens (2) an einem ausziehbaren Seitenteil (11) der Einbaubohle (8) angreift, während das entlang der Längsseite des Fahrzeugrahmens (1) verlaufende Kettentrum (17) mit einem Rückstelltrieb (20) verbunden ist, und daß die Laschenketten (15) einzeln ansteuerbare Sprühdüsen (26) tragen.
  2. Vorrichtung nach Anspruch 1 mit einer über Schwenkarme der Höhe nach verstellbar auf dem Fahrgestell des Asphaltfertigers gelagerter Einbaubohle, dadurch gekennzeichnet, daß die Seitenteile (4) des Sprühbalkens (2) auf den Schwenkarmen (9) der Einbaubohle (8) vorgesehen sind.
  3. Vorrichtung nach Anspruch 1 oder 2, mit einer auf dem Fahrgestell des Asphaltfertigers angeordneten Einkippmulde für das Asphaltmischgut, dadurch gekennzeichnet, daß der Vorratsbehälter für das Bindemittel auf der der Einbaubohle (8) zugekehrten Wand der Einkippmulde vorgesehen ist.
  4. Vorrichtung nach einem der Ansprüche 1 bis 3, dadurch gekennzeichnet, daß zwischen dem Sprühbalken (2) und der Verteilereinrichtung gegen die Verkehrsfläche absenkbare Schürzen vorgesehen sind.
EP04450126A 2003-06-12 2004-06-14 Vorrichtung zum Aufbringen eines Bindemittels für einen Asphaltbelag auf eine Verkehrsfläche Withdrawn EP1489232A3 (de)

Applications Claiming Priority (2)

Application Number Priority Date Filing Date Title
AT9122003 2003-06-12
AT9122003A AT412735B (de) 2003-06-12 2003-06-12 Vorrichtung zum aufbringen eines bindemittels für einen asphaltbelag auf einer verkehrsfläche

Publications (2)

Publication Number Publication Date
EP1489232A2 true EP1489232A2 (de) 2004-12-22
EP1489232A3 EP1489232A3 (de) 2005-08-10

Family

ID=33314963

Family Applications (1)

Application Number Title Priority Date Filing Date
EP04450126A Withdrawn EP1489232A3 (de) 2003-06-12 2004-06-14 Vorrichtung zum Aufbringen eines Bindemittels für einen Asphaltbelag auf eine Verkehrsfläche

Country Status (2)

Country Link
EP (1) EP1489232A3 (de)
AT (1) AT412735B (de)

Cited By (4)

* Cited by examiner, † Cited by third party
Publication number Priority date Publication date Assignee Title
DE102007062671A1 (de) 2007-12-24 2009-07-02 schäfer-technic GmbH Straßenoberflächen-Instandsetzungseinrichtung zur Reparatur von Fahrbahnoberflächen
CN116163187A (zh) * 2023-03-09 2023-05-26 中交二公局第三工程有限公司 一种铺设沥青路面两层防水粘结层的装置
CN116240772A (zh) * 2023-03-14 2023-06-09 上海公路桥梁(集团)有限公司 用于摊铺机履带的防粘装置、摊铺机及其防粘方法
CN117845691A (zh) * 2024-01-23 2024-04-09 中国建筑第八工程局有限公司 用于机场道面的混凝土布料装置和使用方法

Families Citing this family (1)

* Cited by examiner, † Cited by third party
Publication number Priority date Publication date Assignee Title
CN115198597B (zh) * 2021-04-14 2024-02-27 中冶京诚工程技术有限公司 纳米光触煤材料的喷洒施工方法

Citations (4)

* Cited by examiner, † Cited by third party
Publication number Priority date Publication date Assignee Title
EP0507258A1 (de) 1991-04-03 1992-10-07 Caterpillar Paving Products Inc. Ausziehbare Bohle für einen Asphaltfertiger
US5279500A (en) 1990-08-08 1994-01-18 Colas S.A. Apparatus for spreading a road surfacing material
US5324136A (en) 1990-05-21 1994-06-28 Colas S.A. Apparatus for spreading bonding emulsion or similar material for road asphalt
EP0971072A1 (de) 1998-07-10 2000-01-12 ÖSTERREICHISCHE VIALIT GESELLSCHAFT mbH Verfahren zum Herstellen eines Asphaltbelages

Family Cites Families (3)

* Cited by examiner, † Cited by third party
Publication number Priority date Publication date Assignee Title
FR2652098B1 (fr) * 1989-09-15 1991-12-13 Screg Routes & Travaux Table de compactage et de finissage d'un revetement routier a largeur de travail reglable comportant des moyens de repandage de liant liquide.
DE9116781U1 (de) * 1990-04-06 1993-11-04 Joseph Vögele AG, 68199 Mannheim Selbstfahrender Deckenfertiger
FR2675522B1 (fr) * 1991-04-17 1993-12-10 Screg Routes Travaux Publics Dispositif de realisation d'un revetement routier par repandage successif sur la surface routiere a recouvrir, d'une couche d'accrochage et d'une couche de materiau bitumineux chaud.

Patent Citations (4)

* Cited by examiner, † Cited by third party
Publication number Priority date Publication date Assignee Title
US5324136A (en) 1990-05-21 1994-06-28 Colas S.A. Apparatus for spreading bonding emulsion or similar material for road asphalt
US5279500A (en) 1990-08-08 1994-01-18 Colas S.A. Apparatus for spreading a road surfacing material
EP0507258A1 (de) 1991-04-03 1992-10-07 Caterpillar Paving Products Inc. Ausziehbare Bohle für einen Asphaltfertiger
EP0971072A1 (de) 1998-07-10 2000-01-12 ÖSTERREICHISCHE VIALIT GESELLSCHAFT mbH Verfahren zum Herstellen eines Asphaltbelages

Cited By (5)

* Cited by examiner, † Cited by third party
Publication number Priority date Publication date Assignee Title
DE102007062671A1 (de) 2007-12-24 2009-07-02 schäfer-technic GmbH Straßenoberflächen-Instandsetzungseinrichtung zur Reparatur von Fahrbahnoberflächen
DE202007018971U1 (de) 2007-12-24 2009-12-24 schäfer-technic GmbH Straßenoberflächen-Instandsetzungseinrichtung zur Reparatur von Fahrbahnoberflächen
CN116163187A (zh) * 2023-03-09 2023-05-26 中交二公局第三工程有限公司 一种铺设沥青路面两层防水粘结层的装置
CN116240772A (zh) * 2023-03-14 2023-06-09 上海公路桥梁(集团)有限公司 用于摊铺机履带的防粘装置、摊铺机及其防粘方法
CN117845691A (zh) * 2024-01-23 2024-04-09 中国建筑第八工程局有限公司 用于机场道面的混凝土布料装置和使用方法

Also Published As

Publication number Publication date
AT412735B (de) 2005-06-27
ATA9122003A (de) 2004-11-15
EP1489232A3 (de) 2005-08-10

Similar Documents

Publication Publication Date Title
EP1396581B3 (de) Vorrichtung zum Bearbeiten von Böden oder Fahrbahnen
EP2886717B1 (de) Nachbehandlungsmaschine sowie Verfahren zum nachträglichen Bearbeiten einer frisch gefertigten Betonschicht
EP1925736B1 (de) Verfahren zum Herstellen eines Sprühteppichs und Strassenfertiger mit einem Sprühsystem
DE69101176T2 (de) Vorrichtung zur Ausbreitung flüssigen Materials oder dgl., insbesondere einer Haftemulsion für bituminöses Mischgut auf die Strassenoberfläche, und Strassenbaumaschine, insbesondere Strassenfertiger mit einer derartigen Vorrichtung.
DE2850344A1 (de) Verfahren und vorrichtung zum abtragen und neubeschichten von strassendecken
DE2655984A1 (de) Verfahren zur fahrbahn-erneuerung sowie maschine zur ausfuehrung des verfahrens
EP1837442A1 (de) Einbauzug
EP3293310B1 (de) Strassenfertiger mit sprühvorrichtung
EP1582629B1 (de) Fertiger und Verfahren zum gleichzeitigen Einbauen mehrerer Einbaugut-Lagen
DE2135033C3 (de) Vorrichtung zum Ausbessern von Straßendecken
EP3988714A1 (de) Kanalblechanordnung für einen strassenfertiger
AT412735B (de) Vorrichtung zum aufbringen eines bindemittels für einen asphaltbelag auf einer verkehrsfläche
DE69001973T2 (de) Ausziehbare Bohle zum Verdichten und Fertigen von Strassendeckenschichten mit Spritzvorrichtung für flüssiges Bindemittel.
DE3225645A1 (de) Verfahren und einrichtung zum dosierten auftragen eines fluessigen bindemittels auf eine strassenflaeche
EP0081194B1 (de) Verfahren zum Instandsetzen einer bituminösen Fahrbahndeckschicht
DE69207052T2 (de) Vorrichtung zum Erstellen eines Strassenbelags durch sukzessive Streuung von einer Klebe- und einer heissen, bituminösen Schicht auf der zudeckenden Strassenoberfläche
DE69108348T2 (de) Verfahren zum Aufbringen von Bitumen mit reduzierter Geschwindigkeit, Vorrichtung zum Durchführen desselben und Vorrichtung mit dieser Vorrichtung.
DE3838105C2 (de) Einrichtung zum Verkleben eines Gleisrostes auf einem betonierten Gleisunterbau
DE69105054T2 (de) Gerät zum Spritzen eines flüssigen Stoffes und Vorrichtung zum gleichzeitigen Aufbringen dieses Stoffes und eines Materials für Strassendecken.
DE112004002583T5 (de) Verfahren und Vorrichtung zum Ausbreiten von Schüttgut, bevorzugt Asphalt, um Straßen und dergleichen herzustellen
DE2700137A1 (de) Verfahren und vorrichtung zum ausbessern von strassen-asphaltbelaegen
DE8631626U1 (de) Spritzvorrichtung zum Aufspritzen flüssiger Bindemittel auf Straßenflächen
DE20000996U1 (de) Sprühvorrichtung und Straßenfertiger
EP1300517A2 (de) Verfahren und Vorrichtung zum Einbringen von Streugut in eine Asphaltschicht
DE8506280U1 (de) Fahrbares Gerät zum Ausbessern von Straßendecken

Legal Events

Date Code Title Description
PUAI Public reference made under article 153(3) epc to a published international application that has entered the european phase

Free format text: ORIGINAL CODE: 0009012

AK Designated contracting states

Kind code of ref document: A2

Designated state(s): AT BE BG CH CY CZ DE DK EE ES FI FR GB GR HU IE IT LI LU MC NL PL PT RO SE SI SK TR

AX Request for extension of the european patent

Extension state: AL HR LT LV MK

PUAL Search report despatched

Free format text: ORIGINAL CODE: 0009013

AK Designated contracting states

Kind code of ref document: A3

Designated state(s): AT BE BG CH CY CZ DE DK EE ES FI FR GB GR HU IE IT LI LU MC NL PL PT RO SE SI SK TR

AX Request for extension of the european patent

Extension state: AL HR LT LV MK

RIC1 Information provided on ipc code assigned before grant

Ipc: 7E 01C 19/48 B

Ipc: 7E 01C 19/17 A

17P Request for examination filed

Effective date: 20060119

AKX Designation fees paid

Designated state(s): AT BE BG CH CY CZ DE DK EE ES FI FR GB GR HU IE IT LI LU MC NL PL PT RO SE SI SK TR

RAP1 Party data changed (applicant data changed or rights of an application transferred)

Owner name: STRASSMAYR MASCHINENBAUGESELLSCHAFT M.B.H. & CO. K

GRAP Despatch of communication of intention to grant a patent

Free format text: ORIGINAL CODE: EPIDOSNIGR1

STAA Information on the status of an ep patent application or granted ep patent

Free format text: STATUS: THE APPLICATION IS DEEMED TO BE WITHDRAWN

18D Application deemed to be withdrawn

Effective date: 20080924