EP1452804A1 - Einrichtung zum Absaugen von Abluft eines Elektrowärmegeräts und Verfahren zum Betrieb derselben - Google Patents

Einrichtung zum Absaugen von Abluft eines Elektrowärmegeräts und Verfahren zum Betrieb derselben Download PDF

Info

Publication number
EP1452804A1
EP1452804A1 EP04002869A EP04002869A EP1452804A1 EP 1452804 A1 EP1452804 A1 EP 1452804A1 EP 04002869 A EP04002869 A EP 04002869A EP 04002869 A EP04002869 A EP 04002869A EP 1452804 A1 EP1452804 A1 EP 1452804A1
Authority
EP
European Patent Office
Prior art keywords
substances
sensors
media
electric heating
heating device
Prior art date
Legal status (The legal status is an assumption and is not a legal conclusion. Google has not performed a legal analysis and makes no representation as to the accuracy of the status listed.)
Withdrawn
Application number
EP04002869A
Other languages
English (en)
French (fr)
Inventor
Konrad SCHÖNEMANN
Current Assignee (The listed assignees may be inaccurate. Google has not performed a legal analysis and makes no representation or warranty as to the accuracy of the list.)
EGO Elektro Geratebau GmbH
Original Assignee
EGO Elektro Geratebau GmbH
Priority date (The priority date is an assumption and is not a legal conclusion. Google has not performed a legal analysis and makes no representation as to the accuracy of the date listed.)
Filing date
Publication date
Application filed by EGO Elektro Geratebau GmbH filed Critical EGO Elektro Geratebau GmbH
Publication of EP1452804A1 publication Critical patent/EP1452804A1/de
Withdrawn legal-status Critical Current

Links

Images

Classifications

    • FMECHANICAL ENGINEERING; LIGHTING; HEATING; WEAPONS; BLASTING
    • F24HEATING; RANGES; VENTILATING
    • F24CDOMESTIC STOVES OR RANGES ; DETAILS OF DOMESTIC STOVES OR RANGES, OF GENERAL APPLICATION
    • F24C15/00Details
    • F24C15/20Removing cooking fumes
    • F24C15/2021Arrangement or mounting of control or safety systems

Definitions

  • the invention relates to a device for extracting air Electric heating device with the features of the preamble of the claim 1 and a corresponding method for controlling the operation such a facility.
  • the device can Extractor hood, which is arranged above a hob is and suck off cooking fumes or the like emanating therefrom and should clean.
  • a further extractor hood is known from EP 727 620 A2, which detects the state of the intake air.
  • a sensor device here are an ultrasonic transmitter and an ultrasonic sensor with one Sensor route provided. Above all, this can reduce the degree of pollution of the intake air can be determined based on this for example to control the suction power of a suction drive.
  • the invention has for its object a device mentioned and to create an associated procedure with which the Functionalities of the known prior art are expanded can and in particular also an improved interaction with an electric heater is possible.
  • the device has means with sensors for detection and evaluation of gaseous media or substances in gaseous Media on.
  • the means are designed to detect Groups of characteristics of the gaseous media or substances and have at least one gas sensor.
  • Characteristics can generally be said that a gas sensor detects the Concentration of the gas to be detected is recorded and converted in an electrical size.
  • This electrical quantity can be electrical Resistance, capacity or an electromotive force (EMF) of one Be a tension cell.
  • EMF electromotive force
  • groups of characteristics is said here understood a collection of several values or properties which enable a certain gaseous medium or to identify or at least classify a substance in it. This is also referred to below as a signature based on which a Medium or substance can be determined or classified.
  • sensors are advantageously designed as gas sensors. This is particularly so then advantageous when determining a degree of contamination the intake air is not absolutely necessary, but just a determination of the ingredients in the air.
  • sensors or gas sensors can, for example, metal oxide sensors or Solid electrolyte sensors are used. Such sensors are known for example from DE 44 04 067, EP 829 718 or EP 675 357.
  • the device can have a drive for suction the exhaust air, for example an electric motor.
  • This drive can to be driven by the means for evaluating its operation or change its operating performance. So it is possible, for example depending on the detection of particularly odorous substances to increase the performance of an extractor hood. Furthermore, it is an extractor hood is also possible when a fire is detected switch off in order not to start the fire by additional suction.
  • the means for evaluation have control electronics. This is for Differentiation between different types of media or substances formed by means of the sensors.
  • a memory for example, can do this be provided in which different characteristics of different Substances are stored and a medium or substance is determined by comparison becomes.
  • the means for evaluating with a control or power supply of an electric heating device be connectable or connected. So the operation of the electric heating device depending on a detected medium or Substance can be changed. For example, if certain roasts or the like can be detected in the exhaust air, which is too high Cooking temperature of a food item indicate the performance of the electric heater reduced and the cooking temperature lowered as a result become.
  • at least partially automated cooking is another Variant possible in addition to the known automatic cooking systems. It is also possible to set up automatic cooking based on this, which cooking programs are carried out or processes are checked.
  • the controlling connection of the device to the electric heating device can be wireless on the one hand, for example as a radio link. This means, that there is no need for cabling, which in particular with modern, partially free-hanging extractor hoods would be expensive.
  • a radio transmission can also be designed in this way be that it works at intervals or only when a user expressly wishes this radio connection or a corresponding one Necessity based on detected media or substances.
  • the sensors can be arranged on the device in such a way that they are protected as far as possible from contamination or damage. If this is not possible with regard to impurities, they should at least be easily accessible for a user so that they can be cleaned.
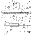
  • FIG. 1 shows an embodiment of an extractor hood with gas sensors over an electric stove.
  • FIG. 1 shows an example Extractor hood 11.
  • This has a housing 15, which extends wide and merges into an exhaust pipe 16 upwards.
  • On a filter 17 is arranged on the underside of the housing 15 for cleaning of intake air.
  • a fan sits above the filter 17 19 with an electric motor and generates an air flow upwards, so that exhaust air is drawn through the filter 17 and is cleaned in the process.
  • This basically corresponds to the usual structure of an extractor hood.
  • a controller 21 is connected to the blower 19 and one is not energy supply shown.
  • the controller 21 is also included Sensors 23a to 23e connected, which are gas sensors. Are there the sensors 23a to 23c on the underside of the filter 17 or directly in the suctioned airflow arranged. The sensors 23d and 23e are against this above the filter 17 and thus at least partially cleaned Air flows around.
  • the controller 21 is also connected to a transmitter 24.
  • This transmitter 24 can be radio-based, for example.
  • Below the extractor hood 11 is an electric cooker 26 which has a glass ceramic plate 27 having.
  • a heater 29 is arranged under the glass ceramic 27.
  • This is connected to a controller 31, which in itself is a conventional one Control for an electric stove can correspond.
  • On the glass ceramic 27 is a pan 36 with food 37 in it.
  • the controller 31 has an adjustment option 33, e.g. a rotary switch, with which a power setting or a mode selection for the heater 29 or the electric stove 26 can be done. Besides, is the controller 31 is connected to the receiver 34. This is one of them trained to cooperate with the transmitter 24. As shown, can the signal-transmitting connection between transmitter 24 and receiver 34 can also be bidirectional. This means signal feedback also from the electric cooker 26 to the extractor hood 11 can be given, for example for its operational settings or as feedback. In addition, both transmitter and Receiver properties.
  • an adjustment option 33 e.g. a rotary switch, with which a power setting or a mode selection for the heater 29 or the electric stove 26 can be done.
  • the controller 31 is connected to the receiver 34. This is one of them trained to cooperate with the transmitter 24. As shown, can the signal-transmitting connection between transmitter 24 and receiver 34 can also be bidirectional. This means signal feedback also from the electric cooker 26 to the extractor hood 11 can be given, for example for its operational settings or as feedback
  • gas sensors can be used as sensors 23, for example the aforementioned metal oxide sensors or solid electrolyte sensors. These can be designed differently or designed to recognize different substances or media. On the one hand, distinctions can be made between sensors below the filter 17 and sensors above the filter 17. Furthermore, the term “sensors” is to be understood in such a way that several individual sensors for detecting different substances or media are also to be understood here. These can in turn be grouped together to form sensor components or sensor modules, which are then mounted as sensors at various points on the extractor hood. This arrangement at various points on the extractor hood has the great advantage that, on the one hand, it can be localized and precisely recorded. On the other hand, it can be achieved that certain ascending substances and media are definitely detected by one of the various sensors 23.
  • the food 29 is heated by means of the heater 29 in the Pan 36 heated.
  • the haze 39 comes necessarily in contact with one of the distributed sensors 23.
  • An analysis of the haze 39 is determined by means of the sensors 23 Characteristics or signatures composed of them of the ingredients. These are sent to the controller 21 and with those stored in the controller 21 or a memory Characteristics or signatures compared. It is also possible by interaction of several sensors in front of and behind the filter 17 Determine substances or characterize the haze 39 more precisely. Consequently it is possible, for example, to determine the exact composition of the To determine haze 39 or at least some important ingredients, which are characteristic or of interest for a cooking process. On the basis of these ingredients of the haze 39 can on type and condition of the food 37 to be closed in the pan 36.
  • the controller 21 sends a signal to the transmitter 24 Electric cooker 26. Its receiver receives the signal, it gives it to the Control 31 continues, whereupon this reduces the heating 29 or even completely switches off.

Landscapes

  • Engineering & Computer Science (AREA)
  • Chemical & Material Sciences (AREA)
  • Combustion & Propulsion (AREA)
  • Mechanical Engineering (AREA)
  • General Engineering & Computer Science (AREA)
  • Ventilation (AREA)

Abstract

Bei einem Ausführungsbeispiel der Erfindung kann eine Dunstabzugshaube (11) geschaffen werden, mit der Abluft (39) eines Elektroherds (26) abgesaugt werden kann. Die Dunstabzugshaube (11) weist neben einem Gebläse (19) Sensoren (23) auf, welche beispielsweise Gassensoren sein können und zum Erfassen und Auswerten von gasförmigen Medien oder Stoffen in gasförmigen Medien ausgebildet sind. Dabei werden Charakteristika oder sogenannte Signaturen, also Gruppen von Charakteristika, der gasförmigen Medien oder Stoffe erfasst. Des weiteren ist es möglich, in Abhängigkeit von einer Verschmutzung der Abluft (39) bzw. der Konzentration von geruchstörenden Stoffen im Dunst das Gebläse (19) überhaupt erst anzuschalten oder in seiner Leistung zu steigern. So kann auch eine sich automatisch einschaltende Dunstabzugshaube (11) geschaffen werden. <IMAGE>

Description

Die Erfindung betrifft eine Einrichtung zum Absaugen von Luft eines Elektrowärmegeräts mit den Merkmalen des Oberbegriffs des Anspruchs 1 sowie ein entsprechendes Verfahren zum Steuern des Betriebs einer solchen Einrichtung. Insbesondere kann die Einrichtung eine Dunstabzugshaube sein, welche oberhalb eines Kochfeldes angeordnet ist und davon ausgehende Kochdämpfe oder dergleichen absaugen und reinigen soll.
Aus der DE 101 09 930 ist es bekannt, eine Dunstabzugshaube mit einer Feuerlöscheinrichtung zu kombinieren. Dazu sind an der Dunstabzugshaube Rauch-/Feuermelder oder Temperaturfühler vorgesehen. Diese können feststellen, ob etwas auf einer Kochstelle anbrennt oder ein flammender Brand entsteht.
Aus der EP 727 620 A2 ist eine weitere Dunstabzugshaube bekannt, welche den Zustand der angesaugten Luft erfasst. Als Sensoreinrichtung sind hier ein Ultraschallgeber und ein Ultraschallsensor mit einer Sensorstrecke vorgesehen. Vor allem kann hierdurch der Verschmutzungsgrad der angesaugten Luft ermittelt werden, um davon ausgehend beispielsweise die Absaugleistung eines Absaugantriebs zu steuern.
Weitere Funktionalitäten ergeben sich aus dem genannten Stand der Technik nicht.
Aufgabe und Lösung
Der Erfindung liegt die Aufgabe zugrunde, eine eingangs genannte Einrichtung sowie ein zugehöriges Verfahren zu schaffen, mit denen die Funktionalitäten des bekannten Standes der Technik erweitert werden können und insbesondere auch ein verbessertes Zusammenwirken mit einem Elektrowärmegerät möglich ist.
Gelöst wird diese Aufgabe durch eine Einrichtung mit den Merkmalen des Anspruchs 1 sowie ein Verfahren mit den Merkmalen des Anspruchs 9. Vorteilhafte sowie bevorzugte Ausgestaltungen der Erfindung sind Gegenstand der weiteren Ansprüche und werden im folgenden näher erläutert. Der Wortlaut der Ansprüche wird durch ausdrückliche Bezugnahme zum Inhalt der Beschreibung gemacht.
Erfindungsgemäß weist die Einrichtung Mittel mit Sensoren zum Erfassen und Auswerten von gasförmigen Medien oder Stoffen in gasförmigen Medien auf. Dabei sind die Mittel ausgebildet zur Erfassung von Gruppen von Charakteristika der gasförmigen Medien oder Stoffe und weisen mindestens einen Gassensor auf. Zum Verständnis des Begriffs "Charakteristika" kann allgemein gesagt werden, dass ein Gassensor die Konzentration des zu detektierenden Gases erfasst und sie umwandelt in eine elektrische Größe. Diese elektrische Größe kann ein elektrischer Widerstand, Kapazität oder eine elektromotorische Kraft (EMK) einer Spannungszelle sein. Unter Gruppen von Charakteristika soll hier vor allem eine Sammlung mehrerer Werte oder Eigenschaften verstanden werden, welche es ermöglichen, ein bestimmtes gasförmiges Medium oder einen Stoff darin zu identifizieren oder zumindest zu klassifizieren. Dies wird im folgenden auch als Signatur bezeichnet, anhand derer ein Medium oder Stoff bestimmt oder klassifiziert werden kann.
Hierzu können einerseits mehrere Eigenschaften oder Messwerte gleicher Art herangezogen werden, beispielsweise entsprechend einem Spektrum. Des weiteren können mehrere Eigenschaften prinzipiell unterschiedlicher Art erfasst werden, welche eine Bestimmung des Mediums oder des Stoffs ermöglichen. Auf diese Art und Weise ist es möglich, nicht nur einen Verschmutzungsgrad der abgesaugten Luft oder einen Brand festzustellen, sondern auch Informationen zu gewinnen über einen Betriebszustand oder Kochvorgang am Elektrowärmegerät. Dadurch können, wie nachfolgend genauer ausgeführt wird, auch Steuervorgänge ausgelöst werden.
Vorteilhaft sind alle Sensoren als Gassensoren ausgebildet. Dies ist insbesondere dann vorteilhaft, wenn eine Bestimmung eines Verschmutzungsgrades der angesaugten Luft nicht unbedingt notwendig ist, sondern lediglich eine Bestimmung der Inhaltsstoffe der Luft. Als Sensoren bzw. Gassensoren können beispielsweise Metalloxid-Sensoren oder Festelektrolyt-Sensoren verwendet werden. Derartige Sensoren sind beispielsweise aus der DE 44 04 067, EP 829 718 oder EP 675 357 bekannt.
Des weiteren kann die Einrichtung einen Antrieb aufweisen zum Absaugen der Abluft, beispielsweise einen Elektromotor. Dieser Antrieb kann von den Mitteln zum Auswerten angesteuert werden, um seinen Betrieb bzw. seine Betriebsleistung zu ändern. So ist es möglich, beispielsweise in Abhängigkeit von der Erfassung besonders geruchsstörender Stoffe die Leistung einer Dunstabzugshaube zu erhöhen. Des weiteren ist es auch möglich, beim Feststellen eines Brandes eine Dunstabzugshaube abzuschalten, um den Brand durch zusätzlichen Sog nicht weiter anzufachen.
Die Mittel zum Auswerten weisen eine Steuerelektronik auf. Diese ist zur Unterscheidung zwischen verschiedenen Arten von Medien oder Stoffen mittels der Sensoren ausgebildet. Dazu kann beispielsweise ein Speicher vorgesehen sein, in dem verschiedene Charakteristika verschiedener Stoffe hinterlegt sind und durch Vergleich ein Medium oder Stoff bestimmt wird.
In weiterer Ausgestaltung der Erfindung können die Mittel zum Auswerten mit einer Steuerung oder Leistungsversorgung eines Elektrowärmegeräts verbindbar bzw. verbunden sein. So kann der Betrieb des Elektrowärmegeräts in Abhängigkeit von einem detektierten Medium oder Stoff geändert werden. Beispielsweise kann, wenn bestimmte Röststoffe oder dergleichen in der Abluft detektiert werden, welche auf eine zu hohe Kochtemperatur eines Kochguts hindeuten, die Leistung des Elektrowärmegeräts reduziert und die Kochtemperatur infolge dessen gesenkt werden. Somit ist ein zumindest teilautomatisiertes Kochen in einer weiteren Variante zusätzlich zu den bekannten Kochautomatiken möglich. Es ist auch möglich, darauf basierend eine Kochautomatik einzurichten, welche Kochprogramme durchführt oder Abläufe kontrolliert.
Die steuernde Verbindung der Einrichtung zu dem Elektrowärmegerät kann einerseits drahtlos sein, beispielsweise als Funkstrecke. Dies bedeutet, dass auf eine Verkabelung verzichtet werden kann, welche insbesondere bei modernen, teilweise frei schwebenden Dunstabzugshauben aufwändig wäre. Eine Funkübertragung kann auch so ausgebildet sein, dass sie in Intervallen arbeitet oder nur dann, wenn ein Benutzer ausdrücklich diese Funkverbindung wünscht oder sich eine entsprechende Notwendigkeit anhand detektierter Medien oder Stoffe ergibt.
Die Sensoren können derart an der Einrichtung angeordnet sein, dass sie vor Verunreinigung oder Beschädigung möglichst geschützt sind. Falls dies bezüglich Verunreinigungen nicht möglich sind, sollten sie wenigstens für einen Benutzer gut zugänglich angeordnet sein, damit sie gereinigt werden können.
Es ist möglich, die Sensoren vor einem Filter odgl. anzuordnen, mit dem die Luft gereinigt wird. Es können auch hinter dem Filter Sensoren angeordnet sein, da manche Inhaltsstoffe nicht ausgefiltert werden. Es ist auch möglich, bei Sensoren vor und hinter dem Filter einen Vergleich zwischen den detektierten Stoffen oder Charakteristika anzustellen. So kann wiederum auf Eigenschaften geschlossen werden.
Das eingangs genannte Verfahren, mit dem gasförmige Medien oder Stoffe in gasförmigen Medien erfasst werden und anhand dessen der Betrieb einer Einrichtung zum Absaugen von Abluft oder der Betrieb eines Elektrowärmegeräts gesteuert werden kann, ist in Anspruch 9 definiert. Es weist die zum Teil schon vorgenannten Merkmale auf. Das Erfassen von Gruppen von Charakteristika oder sogenannten Signaturen ermöglicht eine sehr gute Bestimmung. Vor allem der Vergleich von erfassten Charakteristika oder daraus erstellten Signaturen der Medien oder Stoffe mit bekannten oder abgespeicherten Charakteristika oder Signaturen ermöglicht eine relativ gute Bestimmung der erfassten Stoffe.
Diese und weitere Merkmale gehen außer aus den Ansprüchen auch aus der Beschreibung und der Zeichnung hervor, wobei die einzelnen Merkmale jeweils für sich allein oder zu mehreren in Form von Unterkombinationen bei einer Ausführungsform der Erfindung und auf anderen Gebieten verwirklicht sein und vorteilhafte sowie für sich schutzfähige Ausführungen darstellen können, für die hier Schutz beansprucht wird. Die Unterteilung der Anmeldung in einzelne Abschnitte sowie Zwischen-Überschriften beschränken die unter diesen gemachten Aussagen nicht in ihrer Allgemeingültigkeit.
Kurzbeschreibung der Zeichnung
Ein Ausführungsbeispiel der Erfindung ist in der Zeichnung schematisch dargestellt und wird im folgenden näher erläutert. In der Zeichnung zeigt die Figur 1 eine Ausführung einer Dunstabzugshaube mit Gassensoren über einem Elektroherd.
Detaillierte Beschreibung des Ausführungsbeispiels
In der schematisch zu verstehenden Darstellung zeigt Figur 1 eine beispielhafte Dunstabzugshaube 11. Diese weist ein Gehäuse 15 auf, welches sich breit erstreckt und in ein Abluftrohr 16 nach oben übergeht. An der Unterseite des Gehäuses 15 ist ein Filter 17 angeordnet zur Reinigung von angesaugter Abluft. Oberhalb des Filters 17 sitzt ein Gebläse 19 mit einem Elektromotor und erzeugt einen Luftstrom nach oben, so dass Abluft durch das Filter 17 gezogen wird und dabei gereinigt wird. Dies entspricht grundsätzlich einem üblichen Aufbau einer Dunstabzugshaube.
Eine Steuerung 21 ist mit dem Gebläse 19 verbunden sowie einer nicht dargestellten Energieversorgung. Des weiteren ist die Steuerung 21 mit Sensoren 23a bis 23e verbunden, welche Gassensoren sind. Dabei sind die Sensoren 23a bis 23c an der Unterseite des Filters 17 bzw. direkt im angesaugten Luftstrom angeordnet. Die Sensoren 23d und 23e sind dagegen oberhalb des Filters 17 und somit von zumindest teilweise gereinigter Luft umströmt angeordnet.
Die Steuerung 21 ist auch mit einem Sender 24 verbunden. Dieser Sender 24 kann beispielsweise funkbasiert sein. Unterhalb der Dunstabzugshaube 11 ist ein Elektroherd 26, welcher eine Glaskeramikplatte 27 aufweist. Unter der Glaskeramik 27 ist eine Heizung 29 angeordnet. Diese ist mit einer Steuerung 31 verbunden, welche an sich einer üblichen Steuerung für einen Elektroherd entsprechen kann. Auf der Glaskeramik 27 steht eine Pfanne 36 mit Gargut 37 darin.
Die Steuerung 31 weist eine Einstellmöglichkeit 33 auf, z.B. einen Drehschalter, mit dem eine Leistungseinstellung oder eine Betriebsartenwahl für die Heizung 29 bzw. den Elektroherd 26 erfolgen kann. Außerdem ist die Steuerung 31 mit dem Empfänger 34 verbunden. Dieser ist dazu ausgebildet, mit dem Sender 24 zusammenzuwirken. Wie dargestellt, kann die signalübertragende Verbindung zwischen Sender 24 und Empfänger 34 auch bidirektional sein. Dies bedeutet, dass Signal-Rückmeldungen auch von dem Elektroherd 26 an die Dunstabzugshaube 11 gegeben werden können, beispielsweise für dessen Betriebseinstellungen oder als Rückmeldungen. Dazu haben beide Sender- und Empfängereigenschaften.
Als Sensoren 23 können, wie gesagt, Gassensoren verwendet werden, beispielsweise vorgenannte Metalloxid-Sensoren oder Festelektrolyt-Sensoren. Diese können unterschiedlich ausgebildet sein bzw. für die Erkennung verschiedener Stoffe oder Medien ausgebildet sein. Hier können einerseits Unterscheidungen getroffen werden zwischen Sensoren unterhalb des Filters 17 und Sensoren oberhalb des Filters 17. Des weiteren ist der Ausdruck "Sensoren" derart zu verstehen, dass hier auch mehrere Einzelsensoren zur Erfassung verschiedener Stoffe oder Medien zu verstehen sind. Diese können wiederum gruppenweise zu Sensorbauelementen oder Sensormodulen zusammengefasst werden, welche dann eben an verschiedenen Stellen der Dunstabzugshaube als Sensoren montiert werden.
Diese Anordnung an verschiedenen Stellen der Dunstabzugshaube weist den großen Vorteil auf, dass einerseits lokalisiert und genau eine Erfassung stattfinden kann. Andererseits kann so erreicht werden, dass bestimmte, aufsteigende Stoffe und Medien auf alle Fälle von einem der verschiedenen Sensoren 23 erfasst werden.
Funktion des Ausführungsbeispiels
Wie in Figur 1 dargestellt, wird mittels der Heizung 29 Gargut 37 in der Pfanne 36 erhitzt. Dabei entsteht Dunst 39, der zum einen von sich aus aufsteigt und zum anderen durch die Absaugwirkung des Gebläses 19 der Dunstabzughaube 11 nach oben gezogen wird. Der Dunst 39 kommt zwangsläufig mit einem der verteilt angeordneten Sensoren 23 in Kontakt.
Mittels der Sensoren 23 wird eine Analyse des Dunstes 39 nach bestimmten Charakteristika oder daraus zusammengesetzten Signaturen der Inhaltsstoffe vorgenommen. Diese werden an die Steuerung 21 geschickt und mit in der Steuerung 21 oder einem Speicher hinterlegten Charakteristika oder Signaturen verglichen. Hierbei ist es auch möglich, durch Zusammenwirken mehrerer Sensoren vor und hinter dem Filter 17 Stoffe zu ermitteln bzw. den Dunst 39 genauer zu charakterisieren. Somit ist es beispielsweise möglich, die genaue Zusammensetzung des Dunstes 39 bzw. zumindest einige wichtige Inhaltsstoffe zu ermitteln, welche für einen Kochvorgang charakteristisch oder von Interesse sind. Anhand dieser Inhaltsstoffe des Dunstes 39 kann auf Art und Zustand des Gargutes 37 in der Pfanne 36 geschlossen werden.
So kann es beispielsweise ermittelt werden, wenn das Gargut 37 anbrennt, ohne dass die üblichen Rauch- oder Brandgase entstehen, welche von üblichen Rauchmeldern erkannt werden können. Wird ein solches Anbrennen des Gargutes 37 über den entstehenden Dunst 39 erkannt, sendet die Steuerung 21 über den Sender 24 ein Signal an den Elektroherd 26. Dessen Empfänger empfängt das Signal, gibt es an die Steuerung 31 weiter, woraufhin diese die Heizung 29 reduziert oder gar ganz abschaltet.
In Anlehnung an die vorbeschriebene Möglichkeit ist es aber nicht nur möglich, in sogenannten kritischen Fällen (Anbrennen des Kochguts; jedoch noch vor einem Brand) eine Änderung des Betriebszustands des Elektroherds zu erreichen. Es kann auch beispielsweise ermittelt werden, ob bei einem gewünschten langsamen Erwärmen von Gargut, beispielsweise beim sogenannten Dünsten oder Simmern, eine zu hohe Heizleistung besteht und das Gargut zu warm wird. Dabei erzeugt es dann beispielsweise eine bestimmte Art von Dunst 39. Es wäre darüber hinaus auch möglich, über bestimmte Sensoren einen Wasseranteil im Dunst 39 zu bestimmen. Daraus kann wiederum geschlossen werden, ob ein Gargut 37 in einer Pfanne 36 bereits kocht oder nur normal erwärmt wird.
Es ist auch möglich, bei einem bestimmten Gargut, welches im Lauf der Zeit seine Konsistenz oder zumindest Ausdünstung verändert, sozusagen automatisch zu kochen. Dazu muss lediglich bekannt oder in der Steuerung 21 oder der Steuerung 31 abgespeichert sein, welche Inhaltsstoffe über einen gewissen zeitlichen Verlauf in dem Dunst 39 zu finden sein werden.

Claims (12)

  1. Einrichtung, insbesondere Dunstabzugshaube (11), zum Absaugen von Abluft (39) eines Eiektrowärmegeräts (26), wobei die Einrichtung (11) oberhalb des Elektröwärmegeräts (26) angeordnet ist und Mittel mit Sensoren (23) zum Erfassen und Auswerten von gasförmigen Medien oder Stoffen in gasförmigen Medien oder der Abluft (39) aufweist, dadurch gekennzeichnet, dass die Mittel ausgebildet sind zur Erfassung von Gruppen von Charakteristika der gasförmigen Medien oder Stoffe, wobei die Mittel mindestens einen Gassensor aufweisen.
  2. Einrichtung nach Anspruch 1, dadurch gekennzeichnet, dass alle Sensoren der Mittel Gassensoren (23) sind.
  3. Einrichtung nach Anspruch 1 oder 2, dadurch gekennzeichnet, dass mindestens ein Gassensor (23) ein Metalloxid-Sensor oder ein Festelektrolyt-Sensor ist.
  4. Einrichtung nach einem der vorhergehenden Ansprüche, dadurch gekennzeichnet, dass die Einrichtung (11) einen Antrieb (19) aufweist zum Absaugen der Abluft (39), wobei der Antrieb von den Mitteln (21, 23) zum Auswerten ansteuerbar ist bezüglich seines Betriebszustandes oder seiner Betriebsleistung.
  5. Einrichtung nach einem der vorhergehenden Ansprüche, dadurch gekennzeichnet, dass die Mittel zum Auswerten eine Steuerelektronik (21) aufweisen, welche zur Unterscheidung zwischen verschiedenen Arten von Stoffen oder Medien anhand der Sensoren (23) ausgebildet ist.
  6. Einrichtung nach Anspruch 4 oder 5, dadurch gekennzeichnet, dass die Mittel (21, 23) zum Auswerten mit einer Steuerung (31) oder Leistungsversorgung für das Elektrowärmegerät (26) verbindbar oder verbunden sind, insbesondere zur Änderung des Betriebs des Elektrowärmegeräts in Abhängigkeit von einem detektierten Medium oder Stoff.
  7. Einrichtung nach Anspruch 6, dadurch gekennzeichnet, dass die Verbindung zu dem Elektrowärmegerät (26) drahtlos ist, vorzugsweise über Funk (24, 34).
  8. Einrichtung nach einem der vorhergehenden Ansprüche, dadurch gekennzeichnet, dass die Sensoren (23) zumindest teilweise vor Verunreinigung oder Beschädigung geschützt an der Einrichtung (11) angeordnet sind.
  9. Verfahren zum Erfassen von gasförmigen Medien oder Stoffen in gasförmigen Medien zum Steuern des Betriebs einer Einrichtung (11) nach einem der vorhergehenden Ansprüche, wobei mittels Sensoren (23) gasförmige Medien oder Stoffe erfasst werden und diese Medien oder Stoffe ausgewertet werden zum Steuern des Betriebs der Einrichtung (11) in Abhängigkeit von der Auswertung, dadurch gekennzeichnet, dass Gruppen von Charakteristika oder Signaturen der Medien oder Stoffe erfasst werden.
  10. Verfahren nach Anspruch 9, dadurch gekennzeichnet, dass die Einrichtung (11) mit einem Elektrowärmegerät (26), dessen Abluft (39) sie erfasst und absaugt, steuernd verbunden ist und in Abhängigkeit von der Erfassung bestimmter Medien oder Stoffe der Betrieb des Elektrowärmegeräts (26) beeinflusst wird, insbesondere dessen Leistung reduziert wird.
  11. Verfahren nach Anspruch 9 oder 10, dadurch gekennzeichnet, dass verschiedene Charakteristika oder Signaturen der Medien oder Stoffe erfasst werden und in Abhängigkeit davon ein Vergleich mit abgespeicherten Charakteristika oder Signaturen verschiedener Medien oder Stoffe erfolgt zur Bestimmung des erfassten Mediums oder Stoffs.
  12. Verfahren nach einem der Ansprüche 9 bis 11, dadurch gekennzeichnet, dass Sensoren (23) vor und hinter einem Filter (17) angeordnet sind zum Vergleich der Messungen und Rückschluss auf Charakteristika oder Signaturen der Medien oder Stoffe der detektierten Stoffe.
EP04002869A 2003-02-17 2004-02-10 Einrichtung zum Absaugen von Abluft eines Elektrowärmegeräts und Verfahren zum Betrieb derselben Withdrawn EP1452804A1 (de)

Applications Claiming Priority (2)

Application Number Priority Date Filing Date Title
DE10307247 2003-02-17
DE2003107247 DE10307247A1 (de) 2003-02-17 2003-02-17 Einrichtung zum Absaugen von Abluft eines Elektrowärmegeräts und Verfahren zum Betrieb derselben

Publications (1)

Publication Number Publication Date
EP1452804A1 true EP1452804A1 (de) 2004-09-01

Family

ID=32748013

Family Applications (1)

Application Number Title Priority Date Filing Date
EP04002869A Withdrawn EP1452804A1 (de) 2003-02-17 2004-02-10 Einrichtung zum Absaugen von Abluft eines Elektrowärmegeräts und Verfahren zum Betrieb derselben

Country Status (2)

Country Link
EP (1) EP1452804A1 (de)
DE (1) DE10307247A1 (de)

Cited By (10)

* Cited by examiner, † Cited by third party
Publication number Priority date Publication date Assignee Title
WO2014019862A1 (de) * 2012-08-02 2014-02-06 BSH Bosch und Siemens Hausgeräte GmbH Dunstabzugsvorrichtung und verfahren zum ansteuerung eines lüftermotors eines lüfters und zur luftreinigungswirkungsermittlung
EP2746681A1 (de) 2012-12-20 2014-06-25 Diehl AKO Stiftung & Co. KG Dunstabzugshaube und Verfahren zum Steuern des Betriebs einer Dunstabzugshaube
DE102013022023A1 (de) 2013-12-20 2015-06-25 Diehl Ako Stiftung & Co. Kg Dunstabzugshaube und Verfahren zum Steuern des Betriebs einer Dunstabzugshaube
EP2966363A1 (de) * 2014-07-08 2016-01-13 Elica S.p.A. Verbesserte filterhaube
CN105716132A (zh) * 2016-03-31 2016-06-29 宁波欧琳厨房电器有限公司 防跑烟吸油烟机及其控制方法
CN105716133A (zh) * 2016-03-31 2016-06-29 宁波欧琳厨房电器有限公司 具有防跑烟功能的吸油烟机及其控制方法
CN105716131A (zh) * 2016-03-31 2016-06-29 宁波欧琳厨房电器有限公司 带防跑烟功能的吸油烟机及其控制方法
EP3112758A1 (de) * 2015-07-03 2017-01-04 Miele & Cie. KG Verfahren zum betreiben eines kochsystems
CN107314416A (zh) * 2017-09-03 2017-11-03 吴联凯 一种可制冷的油烟机及其控制方法
EP3477207A1 (de) * 2017-10-26 2019-05-01 Vestel Elektronik Sanayi ve Ticaret A.S. Anordnung zum durchströmen von abluft durch eine abzugshaube

Families Citing this family (9)

* Cited by examiner, † Cited by third party
Publication number Priority date Publication date Assignee Title
DE102004062737A1 (de) * 2004-12-27 2006-07-13 Rational Ag Gargerät, enthaltend mindestens ein Gassensorarray, sowie ein Verfahren zum Garen mit diesem Gargerät, ein Verfahren zum Reinigen dieses Gargeräts und ein Probenentnahmesystem
DE102005011305A1 (de) 2005-03-07 2006-09-14 E.G.O. Elektro-Gerätebau GmbH Verfahren und Vorrichtung zur Regelung von Garvorgängen in einem Garraum
DE102008036683B4 (de) 2008-08-06 2013-12-24 Rational Ag Gargerät und Verfahren zum Steuern eines Garprozesses
DE102013210764A1 (de) * 2013-06-10 2014-12-11 BSH Bosch und Siemens Hausgeräte GmbH Lüftervorrichtung für eine Dunstabzugshaube und Dunstabzugshaube
DE102013213546B4 (de) 2013-07-10 2022-01-20 E.G.O. Elektro-Gerätebau GmbH Verfahren zum Betreiben eines Dunstabzugs und Dunstabzug
CN107101235B (zh) * 2017-05-25 2019-03-08 珠海格力电器股份有限公司 一种油烟机控制方法、装置及油烟机
EP3807577B1 (de) 2018-06-13 2025-11-19 BSH Hausgeräte GmbH Gerätekombination aus haushaltgeräten, verfahren zum betreiben einer dunstabzugsvorrichtung und computerprogrammprodukt
JP7121985B2 (ja) * 2018-08-06 2022-08-19 富士工業株式会社 レンジフード
CN111336557B (zh) * 2020-03-05 2022-04-19 宁波方太厨具有限公司 一种吸油烟机及其控制方法

Citations (7)

* Cited by examiner, † Cited by third party
Publication number Priority date Publication date Assignee Title
US4295028A (en) * 1979-02-23 1981-10-13 Sharp Kabushiki Kaisha Combination of gas sensor controlled cooking utensil and gas leak alarm
EP1070920A1 (de) * 1999-07-20 2001-01-24 L.N. 2 S.r.l. Absauggerät für eine Küchenhaube
DE20208031U1 (de) * 2002-05-23 2002-08-08 Schabus, Wolfgang, 83071 Stephanskirchen Sicherheitsfernsteuerungssystem zum Steuern von Abluftfördergeräten
US6446624B1 (en) * 2000-10-12 2002-09-10 Taiwan Sakura Corporation Smart circuit device of smoke exhauster for cooking
US20020129809A1 (en) * 1999-08-24 2002-09-19 Frank Liese Control or regulating device for a stove and method for control
WO2003061717A1 (en) * 2002-01-16 2003-07-31 Vent Master (Europe) Limited Ultraviolet lamp ventilation apparatus and method
US20030186641A1 (en) * 2002-01-08 2003-10-02 Shaikh Mohammad Ali Room ventilating apparatus

Family Cites Families (11)

* Cited by examiner, † Cited by third party
Publication number Priority date Publication date Assignee Title
DE2718889A1 (de) * 1976-10-06 1978-04-13 Giampieretti & Crescentini Fab Raumluftreinigungsvorrichtung
DE4239334C2 (de) * 1992-11-23 2001-09-27 Bsh Bosch Siemens Hausgeraete Wrasenkanal
DE4404067A1 (de) * 1994-02-09 1995-08-10 Heinz Prof Dr Kohler Strahlungsbeheizter Festkörpersensor
FR2718240B1 (fr) * 1994-03-31 1996-06-21 Inst Nat Environnement Ind Procédé de caractérisation d'un mélange gazeux par oxydation catalytique.
DE19505683A1 (de) * 1995-02-20 1996-08-22 Bosch Siemens Hausgeraete Dunstabzugshaube
DE19522300C2 (de) * 1995-06-20 1997-05-28 Berufsfoerderungswerk Heidelbe Elektrische Sicherheitsvorrichtung für Kochstellen
DE19639072A1 (de) * 1996-09-11 1998-03-12 Heinz Prof Dr Kohler Gasanalysegerät mit einem Halbleiter-Gassensor
DE19860261A1 (de) * 1998-12-24 2000-07-06 Aeg Hausgeraete Gmbh Dunstabzugseinrichtung mit Bewegungsmelder
DE19907149A1 (de) * 1999-02-19 2000-08-24 Bsh Bosch Siemens Hausgeraete Dunstabzugsvorrichtung zum bestimmungsgemäßen Einsatz oberhalb einer Kochstelle
DE10109930A1 (de) * 2001-02-22 2002-09-12 Friedrich Traugott Gott Dippon Dunstabzugshaube mit Feuerlöscheinrichtung
DE10118342C1 (de) * 2001-04-12 2002-12-12 Bosch Gmbh Robert Heizungs- und Entlüftungsanlage für den Wohnbereich eines Gebäudes

Patent Citations (7)

* Cited by examiner, † Cited by third party
Publication number Priority date Publication date Assignee Title
US4295028A (en) * 1979-02-23 1981-10-13 Sharp Kabushiki Kaisha Combination of gas sensor controlled cooking utensil and gas leak alarm
EP1070920A1 (de) * 1999-07-20 2001-01-24 L.N. 2 S.r.l. Absauggerät für eine Küchenhaube
US20020129809A1 (en) * 1999-08-24 2002-09-19 Frank Liese Control or regulating device for a stove and method for control
US6446624B1 (en) * 2000-10-12 2002-09-10 Taiwan Sakura Corporation Smart circuit device of smoke exhauster for cooking
US20030186641A1 (en) * 2002-01-08 2003-10-02 Shaikh Mohammad Ali Room ventilating apparatus
WO2003061717A1 (en) * 2002-01-16 2003-07-31 Vent Master (Europe) Limited Ultraviolet lamp ventilation apparatus and method
DE20208031U1 (de) * 2002-05-23 2002-08-08 Schabus, Wolfgang, 83071 Stephanskirchen Sicherheitsfernsteuerungssystem zum Steuern von Abluftfördergeräten

Cited By (15)

* Cited by examiner, † Cited by third party
Publication number Priority date Publication date Assignee Title
WO2014019862A1 (de) * 2012-08-02 2014-02-06 BSH Bosch und Siemens Hausgeräte GmbH Dunstabzugsvorrichtung und verfahren zum ansteuerung eines lüftermotors eines lüfters und zur luftreinigungswirkungsermittlung
CN104541106A (zh) * 2012-08-02 2015-04-22 Bsh博世和西门子家用电器有限公司 排烟装置和用于控制风扇的风扇电机和用于获得净化空气效果的方法
US11125444B2 (en) 2012-08-02 2021-09-21 BSH Hausgeräte GmbH Vapor extraction device and method for controlling a vapor extraction device
EP2746681A1 (de) 2012-12-20 2014-06-25 Diehl AKO Stiftung & Co. KG Dunstabzugshaube und Verfahren zum Steuern des Betriebs einer Dunstabzugshaube
DE102012024975A1 (de) 2012-12-20 2014-06-26 Diehl Ako Stiftung & Co. Kg Dunstabzugshaube und Verfahren zum Steuern des Betriebs einer Dunstabzugshaube
DE102013022023A1 (de) 2013-12-20 2015-06-25 Diehl Ako Stiftung & Co. Kg Dunstabzugshaube und Verfahren zum Steuern des Betriebs einer Dunstabzugshaube
EP2966363A1 (de) * 2014-07-08 2016-01-13 Elica S.p.A. Verbesserte filterhaube
EP3112758A1 (de) * 2015-07-03 2017-01-04 Miele & Cie. KG Verfahren zum betreiben eines kochsystems
CN105716131A (zh) * 2016-03-31 2016-06-29 宁波欧琳厨房电器有限公司 带防跑烟功能的吸油烟机及其控制方法
CN105716133A (zh) * 2016-03-31 2016-06-29 宁波欧琳厨房电器有限公司 具有防跑烟功能的吸油烟机及其控制方法
CN105716132B (zh) * 2016-03-31 2019-09-17 宁波欧琳厨房电器有限公司 防跑烟吸油烟机及其控制方法
CN105716132A (zh) * 2016-03-31 2016-06-29 宁波欧琳厨房电器有限公司 防跑烟吸油烟机及其控制方法
CN107314416A (zh) * 2017-09-03 2017-11-03 吴联凯 一种可制冷的油烟机及其控制方法
CN107314416B (zh) * 2017-09-03 2019-03-08 吴联凯 一种可制冷的油烟机及其控制方法
EP3477207A1 (de) * 2017-10-26 2019-05-01 Vestel Elektronik Sanayi ve Ticaret A.S. Anordnung zum durchströmen von abluft durch eine abzugshaube

Also Published As

Publication number Publication date
DE10307247A1 (de) 2004-08-26

Similar Documents

Publication Publication Date Title
EP1452804A1 (de) Einrichtung zum Absaugen von Abluft eines Elektrowärmegeräts und Verfahren zum Betrieb derselben
EP3953645B1 (de) Vorrichtung zum erhitzen von gargut
DE102012024975A1 (de) Dunstabzugshaube und Verfahren zum Steuern des Betriebs einer Dunstabzugshaube
DE3006714C2 (de) Koch- und/oder Bratgerät
EP2880368B1 (de) Dunstabzugsvorrichtung und verfahren zum ansteuerung eines lüftermotors eines lüfters
WO2006069563A1 (de) Gargerät mit mindestens einem gassensorarray, probennahmesystem für solch ein gargerät, verfahren zum garen mit solch einem gargerät und verfahren zum reinigen solch eines gargeräts
CH707522A2 (de) Anordnung mit Kochfeld und Dunstabzug.
EP1489361A2 (de) Verfahren zur berührungslosen Steuerung eines Garvorgangs bei einem Gargerät und Gargerät
DE102008036683B4 (de) Gargerät und Verfahren zum Steuern eines Garprozesses
WO2001084054A1 (de) Dunstabzugshaube
DE19758860B4 (de) Verfahren zur Steuerung eines Pyrolysereinigungsvorganges
DE3039246A1 (de) Dunstabzugshaube, insbesondere zum einsatz in kuechen
DE3518498C1 (de) Vorrichtung zur Regelung einer Waermebehandlung von Nahrungsmitteln
WO2022268482A1 (de) Verfahren zum betreiben eines gargeräts und gargerät
DE102005063350B4 (de) Dunstabzugshaube
DE102015218007B4 (de) Dunstabzugsvorrichtung und Verfahren zur Überwachung des Verschmutzungsgrades eines Geruchsfilters
EP1837600B1 (de) Verfahren zur Überwachung bzw. Steuerung oder Regelung eines geschlossenen Elektrowärmegerätes
EP1055883A2 (de) Dunstabzugshaube
EP1223386A2 (de) Verfahren und Vorrichtung zum Betrieb einer steuer- bzw. regelbaren Dunstabzugshaube
DE102005025787B3 (de) Dunstabzugshaube und Verfahren zum Steuern einer Dunstabzugshaube
DE102019110198A1 (de) Gargerät und Verfahren zum Detektieren eines Fehlerzustands eines Gargeräts
EP4354024A1 (de) Verfahren zum steuern einer vorrichtung zum abzug von kochdünsten, insbesondere zum steuern eines kochfeldabzugs, steuereinrichtung, vorrichtung und kochfeldsystem
DE10327864B4 (de) Verfahren zur berührungslosen Steuerung eines Garvorgangs bei einem Gargerät und Gargerät
DE102005034303B4 (de) Garofen
DE10114080C1 (de) Verfahren zum Bestimmen eines Garparameters aus von einem Gargut freigegebenen Substanzen und dieses Verfahren durchführende Gargerät

Legal Events

Date Code Title Description
PUAI Public reference made under article 153(3) epc to a published international application that has entered the european phase

Free format text: ORIGINAL CODE: 0009012

AK Designated contracting states

Kind code of ref document: A1

Designated state(s): AT BE BG CH CY CZ DE DK EE ES FI FR GB GR HU IE IT LI LU MC NL PT RO SE SI SK TR

AX Request for extension of the european patent

Extension state: AL LT LV MK

17P Request for examination filed

Effective date: 20041013

AKX Designation fees paid

Designated state(s): AT BE BG CH CY CZ DE DK EE ES FI FR GB GR HU IE IT LI LU MC NL PT RO SE SI SK TR

STAA Information on the status of an ep patent application or granted ep patent

Free format text: STATUS: THE APPLICATION IS DEEMED TO BE WITHDRAWN

18D Application deemed to be withdrawn

Effective date: 20060901