EP1355552B1 - Gerät zum auftragen von farbe auf einzelne haarsträhnen - Google Patents
Gerät zum auftragen von farbe auf einzelne haarsträhnen Download PDFInfo
- Publication number
- EP1355552B1 EP1355552B1 EP02712829A EP02712829A EP1355552B1 EP 1355552 B1 EP1355552 B1 EP 1355552B1 EP 02712829 A EP02712829 A EP 02712829A EP 02712829 A EP02712829 A EP 02712829A EP 1355552 B1 EP1355552 B1 EP 1355552B1
- Authority
- EP
- European Patent Office
- Prior art keywords
- brush
- handle
- hair
- strands
- holding device
- Prior art date
- Legal status (The legal status is an assumption and is not a legal conclusion. Google has not performed a legal analysis and makes no representation as to the accuracy of the status listed.)
- Expired - Lifetime
Links
- 239000003086 colorant Substances 0.000 title abstract description 3
- 229920003023 plastic Polymers 0.000 claims description 3
- 239000004033 plastic Substances 0.000 claims description 3
- 239000000463 material Substances 0.000 claims description 2
- 238000007373 indentation Methods 0.000 claims 1
- 239000003973 paint Substances 0.000 description 5
- 210000003128 head Anatomy 0.000 description 2
- 239000007844 bleaching agent Substances 0.000 description 1
- 238000004040 coloring Methods 0.000 description 1
- 239000000118 hair dye Substances 0.000 description 1
- 239000007788 liquid Substances 0.000 description 1
- 238000000034 method Methods 0.000 description 1
- 210000004761 scalp Anatomy 0.000 description 1
Images
Classifications
-
- A—HUMAN NECESSITIES
- A46—BRUSHWARE
- A46B—BRUSHES
- A46B5/00—Brush bodies; Handles integral with brushware
- A46B5/0004—Additional brush head
- A46B5/0012—Brushes with two or more heads on the same end of a handle for simultaneous use, e.g. cooperating with each-other
-
- A—HUMAN NECESSITIES
- A45—HAND OR TRAVELLING ARTICLES
- A45D—HAIRDRESSING OR SHAVING EQUIPMENT; EQUIPMENT FOR COSMETICS OR COSMETIC TREATMENTS, e.g. FOR MANICURING OR PEDICURING
- A45D19/00—Devices for washing the hair or the scalp; Similar devices for colouring the hair
- A45D19/02—Hand-actuated implements, e.g. hand-actuated spray heads
- A45D19/026—Hand-actuated implements, e.g. hand-actuated spray heads having brush or comb applicators
-
- A—HUMAN NECESSITIES
- A45—HAND OR TRAVELLING ARTICLES
- A45D—HAIRDRESSING OR SHAVING EQUIPMENT; EQUIPMENT FOR COSMETICS OR COSMETIC TREATMENTS, e.g. FOR MANICURING OR PEDICURING
- A45D19/00—Devices for washing the hair or the scalp; Similar devices for colouring the hair
- A45D19/0041—Processes for treating the hair of the scalp
- A45D19/0066—Coloring or bleaching
-
- A—HUMAN NECESSITIES
- A45—HAND OR TRAVELLING ARTICLES
- A45D—HAIRDRESSING OR SHAVING EQUIPMENT; EQUIPMENT FOR COSMETICS OR COSMETIC TREATMENTS, e.g. FOR MANICURING OR PEDICURING
- A45D19/00—Devices for washing the hair or the scalp; Similar devices for colouring the hair
- A45D19/02—Hand-actuated implements, e.g. hand-actuated spray heads
- A45D19/024—Hand-actuated implements, e.g. hand-actuated spray heads comprising two clamping surfaces for insertion of hair there between
-
- A—HUMAN NECESSITIES
- A46—BRUSHWARE
- A46B—BRUSHES
- A46B2200/00—Brushes characterized by their functions, uses or applications
- A46B2200/10—For human or animal care
- A46B2200/1046—Brush used for applying cosmetics
-
- A—HUMAN NECESSITIES
- A46—BRUSHWARE
- A46B—BRUSHES
- A46B5/00—Brush bodies; Handles integral with brushware
- A46B5/002—Brush bodies; Handles integral with brushware having articulations, joints or flexible portions
- A46B5/0054—Brush bodies; Handles integral with brushware having articulations, joints or flexible portions designed to allow relative positioning of the head to body
Definitions
- the invention relates to a device for applying color to individual strands of hair in order to produce different colors or highlights in the hair.
- the device according to the invention for applying paint whereby the term paint is understood to mean both tints, bleaching agents or hair dyes, on individual hair strands consists of a tongue-shaped handle, which consist of flexible, but dimensionally stable plastic material or may be multi-part, so that the ends of the handle can be approximated in a simple manner to each other.
- the multi-part can be achieved, for example, that two handle parts riveted or joined together by a press fit.
- the one end of the tongue-shaped handle is provided with a brush and the other end with a holding device for holding the tress. Both the brush and the holding device may be detachably connected to the handle, so that differently shaped brushes or holding devices can be used.
- the brush has a plurality of rows of bristles, wherein according to the invention, the bristles are designed shorter in the middle of the brush than on the sides.
- the number of bristle rows with shorter bristles may vary depending on the thickness of the tress to be treated, so that it is also desirable for this reason if the brush head is made replaceable.
- the opposite end of the handle has a holding device for holding the strand when applying the paint, which has in the middle of the shorter bristles of the brush opposite collection. This will cause more paint to be absorbed into this collection and allow hair strands of different thickness to be processed depending on the design of the middle bristles of the brush and the depth of the collection, which together form a kind of channel.
- the brush is provided with a pump for supplying the ink in order to make discontinuation during the processing unnecessary.
- the holding device at the other end of the handle preferably has a memory for excess color, so that they may be used again when processing the next tress.
- a designated amount of paint is applied to the brush, then taken a strand of hair from the rest of the head hair and placed in the holding device of the device. Then the device is compressed so that the two ends touch and then pulled from the scalp to the end of the strand. The color is distributed continuously and evenly in the selected strand during this process.
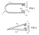
- the device 1 consists of a tongue-shaped handle 40, which may for example represent an elastic plastic tube.
- the tongue-shaped handle 40 has two opposite ends 5 and 30, wherein the handle is folded by about 180 ° in itself.
- the first end 5 of the handle 40 has a removable brush 10, which has a plurality of bristle rows 12.
- the inner rows of bristles are shorter than the outer rows of bristles.
- the brush 10 may be adhesively attached to the handle 40, press fit, or the like.
- the second end 30 of the handle 40 has a releasable holding device 20, which is connected here as by the first end by fastening means 15 here by fastening means 35 to the handle end.
- the holding device 20 has a collection 80 in the middle, so that the selected strand can be held and excess color is stored.
- the retainer 20 is secured to the surface of the end 30 of the handle by the attachment means 35.
- the fasteners 35 if desired, allow this fixture 20 to be removed and replaced with other fixtures of a different shape.
- the handle may also be multi-part, in particular two-part, and consist of the equally long sections 50 and 60, which are connected together at their free ends by a fastening device 100.
- the device according to the invention is easy to use and is suitable both for the treatment of strands by the customer or the customer's home as well as for professional use.
- the design of the brush and the holding device enables a uniform and continuous coloring of strands, whereby strands of different thickness can be treated.
Landscapes
- Health & Medical Sciences (AREA)
- Dermatology (AREA)
- General Health & Medical Sciences (AREA)
- Brushes (AREA)
- Coating Apparatus (AREA)
- Cosmetics (AREA)
- Cleaning And Drying Hair (AREA)
Description
- Die Erfindung betrifft ein Gerät zum Auftragen von Farbe auf einzelne Haarsträhnen, um unterschiedliche Farben oder Glanzlichter im Haar zu erzeugen.
- Geräte zum Auftragen von Farbe nicht auf das gesamte Kopfhaar, sondern nur auf einzelne Strähnen des Haares sind bekannt. In der US 2705499 wird ein zangenförmiges Gerät beschrieben, welches an einer Seite der Zange eine Art Bürste und gegenüberliegend eine Vorrichtung zum Auftragen von Flüssigkeit aufweist. Ein solches Gerät ist relativ schwierig zu handhaben und weist außerdem den Nachteil auf, daß keine unterschiedlich dicken Strähnen bearbeitet werden können. Aus der EP 0884008 ist ebenfalls ein Gerät zum Auftragen von Farbe auf einzelne Strähnen bekannt, das auch in etwa Zangenform aufweist, wobei ein Zangenteil mit einer kamm- oder bürstenartigen Struktur versehen ist, die mit einer Haltevorrichtung auf dem anderen Teil, bestehend aus zwei Vorsprüngen mit einer dazwischenliegenden planen Fläche, zusammenwirkt. Nachteilig auch bei diesem Gerät ist, daß einzelne Strähnen nur schwierig zu halten sind und praktisch nur dünne Strähnen bearbeitet werden können.
- Es besteht daher noch ein Bedürfnis nach einem verbesserten Gerät zum Auftragen von Farbe auf einzelne Haarsträhnen, das einfach in der Handhabung ist und auch die Bearbeitung unterschiedlich dicker Strähnen zuläßt.
- Zur Lösung der Aufgabe wird ein Gerät entsprechend dem Anspruch 1 vorgeschlagen.
- Das erfindungsgemäße Gerät zum Auftragen von Farbe, wobei unter dem Begriff Farbe sowohl Tönungen, Blondierungsmittel oder Haarfarben verstanden werden, auf einzelne Haarsträhnen besteht aus einem zungenförmigen Griff, der aus flexiblen, aber formbeständigem Kunststoffmaterial bestehen oder mehrteilig sein kann, so daß die Enden des Griffes in einfacher Weise aneinander angenähert werden können. Die Mehrteiligkeit kann beispielsweise dadurch erreicht werden, daß zwei Griffteile zusammengenietet oder durch einen Preßsitz miteinander verbunden werden.
- Das eine Ende des zungenförmigen Griffes ist mit einer Bürste und das andere Ende mit einer Haltevorrichtung zum Halten der Strähne versehen. Sowohl die Bürste als auch die Haltevorrichtung können mit dem Griff lösbar verbunden sein, so daß verschieden gestaltete Bürsten oder Haltevorrichtungen eingesetzt werden können.
- Die Bürste weist mehrere Reihen von Borsten auf, wobei erfindungsgemäß die Borsten in der Mitte der Bürste kürzer als an den Seiten gestaltet sind. Die Anzahl der Borstenreihen mit kürzeren Borsten kann unterschiedlich sein je nach Dicke der zu behandelnden Strähne, so daß es auch aus diesem Grund wünschenswert ist, wenn der Bürstenkopf auswechselbar gestaltet ist.
- Das gegenüberliegende Ende des Griffes weist eine Haltevorrichtung zum Festhalten der Strähne beim Auftragen der Farbe auf, die in der Mitte eine den kürzeren Borsten der Bürste gegenüberliegende Einziehung hat. Damit wird bewirkt, daß mehr Farbe in diese Einziehung aufgenommen werden kann und daß Haarsträhnen verschiedener Dicke bearbeitet werden können je nach Gestaltung der mittleren Borsten der Bürste und der Tiefe der Einziehung, die zusammen eine Art Kanal bilden.
- Vorzugsweise wird die Bürste mit einer Pumpe zur Zuführung der Farbe versehen, um ein Absetzen während der Bearbeitung unnötig zu machen. Die Haltevorrichtung am anderen Ende des Griffes weist vorzugsweise einen Speicher für überschüssige Farbe auf, so daß diese ggf. bei der Bearbeitung der nächsten Strähne wieder eingesetzt werden kann. Beim Auftragen wird eine vorgesehene Menge der Farbe auf die Bürste aufgetragen, dann eine Haarsträhne vom übrigen Kopfhaar genommen und in die Haltevorrichtung des Gerätes gelegt. Dann wird das Gerät so zusammengedrückt, daß die beiden Enden sich berühren und dann von der Kopfhaut bis zum Ende der Strähne gezogen. Die Farbe verteilt sich während dieses Vorganges kontinuierlich und gleichmäßig in der ausgewählten Strähne.
- Die Erfindung wird nunmehr anhand der Zeichnungen näher erläutert.
- Fig. 1
- zeigt eine Seitenansicht des erfindungsgemäßen Gerätes,
- Fig. 2
- zeigt in Seitenansicht eine weitere Ausführungsform.
- Wie sich aus der Fig. 1 ergibt, besteht das Gerät 1 aus einem zungenförmigen Griff 40, der beispielsweise ein elastisches Kunststoffrohr darstellen kann. Der zungenförmige Griff 40 weist zwei gegenüberliegende Enden 5 und 30 auf, wobei der Griff um etwa 180° in sich gefaltet ist. Das erste Ende 5 des Griffes 40 verfügt über eine ablösbare Bürste 10, die eine Mehrzahl von Borstenreihen 12 aufweist. Dabei sind die inneren in der Mitte liegenden Borstenreihen kürzer als die äußeren Borstenreihen. Auf die Bürste 10 wird die Farbe bzw. Blondierungsmittel bzw. Tönung für die Bearbeitung einer einzelnen Haarsträhne des Kunden aufgetragen. Die Bürste 10 kann beispielsweise am Griff 40 mit Klebeband, durch Preßsitz oder in ähnlicher Weise befestigt sein. Das zweite Ende 30 des Griffes 40 weist eine lösbare Haltevorrichtung 20 auf, die wie beim ersten Ende durch Befestigungsmittel 15 hier durch Befestigungsmittel 35 mit dem Griffende verbunden ist. Die Haltevorrichtung 20 hat in der Mitte eine Einziehung 80, so daß die ausgesuchte Strähne festgehalten werden kann und überschüssige Farbe gespeichert wird. Bei der Anwendung wird die Haltevorrichtung 20 an der Oberfläche des Endes 30 des Griffes durch die Befestigungsmittel 35 befestigt. Die Befestigungsmittel 35 erlauben es, falls gewünscht, diese Haltevorrichtung 20 zu entfernen und durch andere Haltevorrichtungen mit anderer Form zu ersetzen.
- Wie der Fig. 2 zu entnehmen ist, kann der Griff auch mehrteilig, insbesondere zweiteilig sein und aus den gleich langen Teilstücken 50 und 60 bestehen, die an ihren freien Enden durch eine Befestigungsvorrichtung 100 miteinander verbunden sind.
- Das erfindungsgemäße Gerät ist einfach zu bedienen und ist geeignet sowohl für die Behandlung von Strähnen durch die Kundin oder den Kunden Zuhause wie auch für den professionellen Einsatz. Durch die Gestaltung der Bürste und der Haltevorrichtung wird eine gleichmäßige und kontinuierliche Einfärbung von Strähnen ermöglicht, wobei Strähnen unterschiedlicher Dicke behandelt werden können.
Claims (6)
- Gerät zum Auftragen von Farbe auf einzelne Haarsträhnen, wobei ein zungenförmiger Griff an einem Ende eine Bürste und am anderen Ende eine Haltevorrichtung zum Halten der Strähne aufweist, dadurch gekennzeichnet, daß die Borsten (12) der Bürste (10) in der Mitte der Bürste kürzer als an den Seiten sind und daß die Haltevorrichtung (20) in der Mitte eine den kürzeren Borsten gegenüberliegende Einziehung (80) aufweist.
- Gerät nach Anspruch 1, dadurch gekennzeichnet, daß die Bürste (10) und die Haltevorrichtung (20) mit dem Griff (40) lösbar verbunden sind.
- Gerät nach Anspruch 1 oder 2, dadurch gekennzeichnet, daß die Bürste (10) mit einer Pumpe zur Zuführung von Farbe versehen ist.
- Gerät nach Anspruch 1 bis 3, dadurch gekennzeichnet, daß die Haltevorrichtung (20) einen Speicher für überschüssige Farbe aufweist.
- Gerät nach Anspruch 1 bis 4, dadurch gekennzeichnet, daß der Griff (40) aus Kunststoff besteht.
- Gerät nach Anspruch 1 bis 5, dadurch gekennzeichnet, daß der Griff (40) mehrteilig ist.
Applications Claiming Priority (3)
| Application Number | Priority Date | Filing Date | Title |
|---|---|---|---|
| DE10102800A DE10102800B4 (de) | 2001-01-22 | 2001-01-22 | Gerät zum Auftragen von Farbe auf einzelne Haarsträhnen |
| DE10102800 | 2001-01-22 | ||
| PCT/EP2002/000565 WO2002056723A1 (de) | 2001-01-22 | 2002-01-21 | Gerät zum auftragen von farbe auf einzelne haarsträhnen |
Publications (2)
| Publication Number | Publication Date |
|---|---|
| EP1355552A1 EP1355552A1 (de) | 2003-10-29 |
| EP1355552B1 true EP1355552B1 (de) | 2007-02-28 |
Family
ID=7671401
Family Applications (1)
| Application Number | Title | Priority Date | Filing Date |
|---|---|---|---|
| EP02712829A Expired - Lifetime EP1355552B1 (de) | 2001-01-22 | 2002-01-21 | Gerät zum auftragen von farbe auf einzelne haarsträhnen |
Country Status (8)
| Country | Link |
|---|---|
| EP (1) | EP1355552B1 (de) |
| JP (1) | JP2004516911A (de) |
| AT (1) | ATE354986T1 (de) |
| CA (1) | CA2435188C (de) |
| DE (2) | DE10102800B4 (de) |
| ES (1) | ES2282398T3 (de) |
| PT (1) | PT1355552E (de) |
| WO (1) | WO2002056723A1 (de) |
Cited By (1)
| Publication number | Priority date | Publication date | Assignee | Title |
|---|---|---|---|---|
| DE102010012188A1 (de) | 2009-11-18 | 2011-05-19 | Damiano Palummo | Vorrichtung zum Aufbringen von Färbemitteln auf Haare |
Families Citing this family (6)
| Publication number | Priority date | Publication date | Assignee | Title |
|---|---|---|---|---|
| DE102005030029A1 (de) * | 2005-06-27 | 2007-01-04 | Wella Ag | Vorrichtung zum Entnehmen jeweils eines einzelnen Haars/Faser aus einem Büschel mittels einer Greifeinrichtung |
| JP5266230B2 (ja) * | 2006-10-09 | 2013-08-21 | ザ プロクター アンド ギャンブル カンパニー | 毛髪処理用塗布器及び方法 |
| CA2694025A1 (en) * | 2007-06-06 | 2008-12-11 | The Procter & Gamble Company | Kit and method for hair treatment applications |
| MX2009013696A (es) * | 2007-06-15 | 2010-01-20 | Procter & Gamble | Aplicador de tratamiento para el cabello para proporcionar efectos de mechones de cabello. |
| AU2008229710A1 (en) * | 2008-03-21 | 2009-10-08 | Heard, Serena Mrs | Head Lice Removal Tweezers |
| US20240415276A1 (en) * | 2023-06-14 | 2024-12-19 | Sepehr Abdolsamadi | Attachable/detachable hairbrush top having a compressible handle |
Family Cites Families (9)
| Publication number | Priority date | Publication date | Assignee | Title |
|---|---|---|---|---|
| US2463611A (en) * | 1947-08-29 | 1949-03-08 | Green Albert | Applicator for permanent waving lotions and other liquids |
| US2705499A (en) * | 1951-12-07 | 1955-04-05 | Rose M Breeze | Liquid applicator |
| AT177878B (de) * | 1952-07-31 | 1954-03-10 | Eduard Frieb Fa | Zahnbürste |
| US2776667A (en) * | 1955-04-08 | 1957-01-08 | Gerald Paulina Fitz | Hair treating apparatus |
| US3030968A (en) * | 1960-02-05 | 1962-04-24 | Gillette Co | Applicator for hair treating liquid |
| GB2167946A (en) * | 1984-11-20 | 1986-06-11 | Leslie Lowery | Hair treatment device |
| DE9316704U1 (de) * | 1993-11-02 | 1994-01-13 | Georg Karl Geka-Brush Gmbh, 91572 Bechhofen | Mascara-Bürstchen |
| FR2764488B1 (fr) * | 1997-06-12 | 1999-07-23 | Oreal | Dispositif pour l'application en meches d'un produit capillaire |
| US6250312B1 (en) * | 1999-07-23 | 2001-06-26 | Denivaldo G. Dasilva | Apparatus for applying hair highlights |
-
2001
- 2001-01-22 DE DE10102800A patent/DE10102800B4/de not_active Expired - Fee Related
-
2002
- 2002-01-21 CA CA2435188A patent/CA2435188C/en not_active Expired - Fee Related
- 2002-01-21 AT AT02712829T patent/ATE354986T1/de not_active IP Right Cessation
- 2002-01-21 PT PT02712829T patent/PT1355552E/pt unknown
- 2002-01-21 EP EP02712829A patent/EP1355552B1/de not_active Expired - Lifetime
- 2002-01-21 DE DE50209585T patent/DE50209585D1/de not_active Expired - Fee Related
- 2002-01-21 JP JP2002557238A patent/JP2004516911A/ja active Pending
- 2002-01-21 WO PCT/EP2002/000565 patent/WO2002056723A1/de not_active Ceased
- 2002-01-21 ES ES02712829T patent/ES2282398T3/es not_active Expired - Lifetime
Cited By (2)
| Publication number | Priority date | Publication date | Assignee | Title |
|---|---|---|---|---|
| DE102010012188A1 (de) | 2009-11-18 | 2011-05-19 | Damiano Palummo | Vorrichtung zum Aufbringen von Färbemitteln auf Haare |
| WO2011060925A1 (de) | 2009-11-18 | 2011-05-26 | Damiano Palummo | Vorrichtung zum aufbringen von färbemitteln auf haare |
Also Published As
| Publication number | Publication date |
|---|---|
| ATE354986T1 (de) | 2006-03-15 |
| WO2002056723A1 (de) | 2002-07-25 |
| ES2282398T3 (es) | 2007-10-16 |
| CA2435188A1 (en) | 2002-07-25 |
| DE10102800B4 (de) | 2006-06-14 |
| JP2004516911A (ja) | 2004-06-10 |
| DE50209585D1 (de) | 2007-04-12 |
| PT1355552E (pt) | 2007-06-04 |
| DE10102800A1 (de) | 2002-08-01 |
| EP1355552A1 (de) | 2003-10-29 |
| CA2435188C (en) | 2010-05-11 |
Similar Documents
| Publication | Publication Date | Title |
|---|---|---|
| DE69804718T2 (de) | Vorrichtung zum Auftragen eines Haarpflegeproduktes auf Strähnen im Haar | |
| DE69411588T2 (de) | Pinsel mit auswechselbarem borstensatz | |
| DE3221410C2 (de) | Farbauftragskamm | |
| DE10241218A1 (de) | Vorrats- und Applikatoreinheit | |
| DE19922092A1 (de) | Applikationsvorrichtung zum Färben von Strähnchen | |
| DE19733758A1 (de) | Zahnbürste | |
| DE4024157A1 (de) | Haarbehandlungsvorrichtung | |
| EP0615709A1 (de) | Vorrichtung zur Erzeugung von Strähnen im Haar | |
| DE3110318A1 (de) | Kosmetischer applikator | |
| DE68916949T2 (de) | Zahnreinigungsanordnung. | |
| DE10296502T5 (de) | Oberflächenkontakt-Hilfsmittel | |
| EP1355552B1 (de) | Gerät zum auftragen von farbe auf einzelne haarsträhnen | |
| DE60316571T2 (de) | Haarfärbevorrichtung mit entfernbar verbundenem basisteil | |
| AT411205B (de) | Haarklammer | |
| DE29712284U1 (de) | Zahnbürstenkopf | |
| EP0193059B1 (de) | Bürste zum Applizieren von Haarfärbemittel | |
| WO2001035789A1 (de) | Behälteraufsatz | |
| DE2750498A1 (de) | Haarbuerste | |
| DE2649565A1 (de) | Rundbuerste | |
| EP0499067A1 (de) | Kunstkopf als Trainingsmodell in der Friseur- und Kosmetikerausbildung | |
| DE545600C (de) | Rasierpinsel mit zwischen den Pinselhaaren angeordneten Massageelementen in Form von Gummistiften o. dgl. | |
| DE1943863C3 (de) | Vorrichtung zum Aufbringen von Haaren auf dünnbehaarten Kopfhautstellen | |
| WO1995027419A1 (de) | Integrale zahnbürste | |
| DE20257C (de) | Neuerungen an Pinseln und Bürsten | |
| DE2547236C3 (de) | Zeichenpinsel und Verfahren zu dessen Herstellung |
Legal Events
| Date | Code | Title | Description |
|---|---|---|---|
| PUAI | Public reference made under article 153(3) epc to a published international application that has entered the european phase |
Free format text: ORIGINAL CODE: 0009012 |
|
| 17P | Request for examination filed |
Effective date: 20030703 |
|
| AK | Designated contracting states |
Kind code of ref document: A1 Designated state(s): AT BE CH CY DE DK ES FI FR GB GR IE IT LI LU MC NL PT SE TR |
|
| AX | Request for extension of the european patent |
Extension state: AL LT LV MK RO SI |
|
| RAP1 | Party data changed (applicant data changed or rights of an application transferred) |
Owner name: DA SILVA, DENIS |
|
| RIN1 | Information on inventor provided before grant (corrected) |
Inventor name: DA SILVA, DENIS |
|
| GRAP | Despatch of communication of intention to grant a patent |
Free format text: ORIGINAL CODE: EPIDOSNIGR1 |
|
| GRAS | Grant fee paid |
Free format text: ORIGINAL CODE: EPIDOSNIGR3 |
|
| GRAA | (expected) grant |
Free format text: ORIGINAL CODE: 0009210 |
|
| AK | Designated contracting states |
Kind code of ref document: B1 Designated state(s): AT BE CH CY DE DK ES FI FR GB GR IE IT LI LU MC NL PT SE TR |
|
| AX | Request for extension of the european patent |
Extension state: AL LT LV MK RO SI |
|
| PG25 | Lapsed in a contracting state [announced via postgrant information from national office to epo] |
Ref country code: NL Free format text: LAPSE BECAUSE OF FAILURE TO SUBMIT A TRANSLATION OF THE DESCRIPTION OR TO PAY THE FEE WITHIN THE PRESCRIBED TIME-LIMIT Effective date: 20070228 Ref country code: FI Free format text: LAPSE BECAUSE OF FAILURE TO SUBMIT A TRANSLATION OF THE DESCRIPTION OR TO PAY THE FEE WITHIN THE PRESCRIBED TIME-LIMIT Effective date: 20070228 Ref country code: DK Free format text: LAPSE BECAUSE OF FAILURE TO SUBMIT A TRANSLATION OF THE DESCRIPTION OR TO PAY THE FEE WITHIN THE PRESCRIBED TIME-LIMIT Effective date: 20070228 Ref country code: IE Free format text: LAPSE BECAUSE OF FAILURE TO SUBMIT A TRANSLATION OF THE DESCRIPTION OR TO PAY THE FEE WITHIN THE PRESCRIBED TIME-LIMIT Effective date: 20070228 |
|
| REG | Reference to a national code |
Ref country code: GB Ref legal event code: FG4D Free format text: NOT ENGLISH |
|
| REG | Reference to a national code |
Ref country code: CH Ref legal event code: EP |
|
| REF | Corresponds to: |
Ref document number: 50209585 Country of ref document: DE Date of ref document: 20070412 Kind code of ref document: P |
|
| REG | Reference to a national code |
Ref country code: IE Ref legal event code: FG4D Free format text: LANGUAGE OF EP DOCUMENT: GERMAN |
|
| PG25 | Lapsed in a contracting state [announced via postgrant information from national office to epo] |
Ref country code: SE Free format text: LAPSE BECAUSE OF FAILURE TO SUBMIT A TRANSLATION OF THE DESCRIPTION OR TO PAY THE FEE WITHIN THE PRESCRIBED TIME-LIMIT Effective date: 20070531 |
|
| REG | Reference to a national code |
Ref country code: PT Ref legal event code: SC4A Free format text: AVAILABILITY OF NATIONAL TRANSLATION Effective date: 20070524 |
|
| GBT | Gb: translation of ep patent filed (gb section 77(6)(a)/1977) |
Effective date: 20070531 |
|
| REG | Reference to a national code |
Ref country code: CH Ref legal event code: NV Representative=s name: TROESCH SCHEIDEGGER WERNER AG |
|
| NLV1 | Nl: lapsed or annulled due to failure to fulfill the requirements of art. 29p and 29m of the patents act | ||
| ET | Fr: translation filed | ||
| LTIE | Lt: invalidation of european patent or patent extension |
Effective date: 20070228 |
|
| REG | Reference to a national code |
Ref country code: ES Ref legal event code: FG2A Ref document number: 2282398 Country of ref document: ES Kind code of ref document: T3 |
|
| REG | Reference to a national code |
Ref country code: IE Ref legal event code: FD4D |
|
| PLBE | No opposition filed within time limit |
Free format text: ORIGINAL CODE: 0009261 |
|
| STAA | Information on the status of an ep patent application or granted ep patent |
Free format text: STATUS: NO OPPOSITION FILED WITHIN TIME LIMIT |
|
| 26N | No opposition filed |
Effective date: 20071129 |
|
| PG25 | Lapsed in a contracting state [announced via postgrant information from national office to epo] |
Ref country code: GR Free format text: LAPSE BECAUSE OF FAILURE TO SUBMIT A TRANSLATION OF THE DESCRIPTION OR TO PAY THE FEE WITHIN THE PRESCRIBED TIME-LIMIT Effective date: 20070529 |
|
| PGFP | Annual fee paid to national office [announced via postgrant information from national office to epo] |
Ref country code: CH Payment date: 20080327 Year of fee payment: 7 |
|
| PGFP | Annual fee paid to national office [announced via postgrant information from national office to epo] |
Ref country code: DE Payment date: 20071130 Year of fee payment: 7 |
|
| BERE | Be: lapsed |
Owner name: DA SILVA, DENIS Effective date: 20080131 |
|
| PG25 | Lapsed in a contracting state [announced via postgrant information from national office to epo] |
Ref country code: MC Free format text: LAPSE BECAUSE OF NON-PAYMENT OF DUE FEES Effective date: 20080131 |
|
| PG25 | Lapsed in a contracting state [announced via postgrant information from national office to epo] |
Ref country code: BE Free format text: LAPSE BECAUSE OF NON-PAYMENT OF DUE FEES Effective date: 20080131 |
|
| PG25 | Lapsed in a contracting state [announced via postgrant information from national office to epo] |
Ref country code: AT Free format text: LAPSE BECAUSE OF NON-PAYMENT OF DUE FEES Effective date: 20080121 |
|
| PG25 | Lapsed in a contracting state [announced via postgrant information from national office to epo] |
Ref country code: CY Free format text: LAPSE BECAUSE OF FAILURE TO SUBMIT A TRANSLATION OF THE DESCRIPTION OR TO PAY THE FEE WITHIN THE PRESCRIBED TIME-LIMIT Effective date: 20070228 |
|
| REG | Reference to a national code |
Ref country code: CH Ref legal event code: PL |
|
| PG25 | Lapsed in a contracting state [announced via postgrant information from national office to epo] |
Ref country code: DE Free format text: LAPSE BECAUSE OF NON-PAYMENT OF DUE FEES Effective date: 20090801 Ref country code: LI Free format text: LAPSE BECAUSE OF NON-PAYMENT OF DUE FEES Effective date: 20090131 Ref country code: CH Free format text: LAPSE BECAUSE OF NON-PAYMENT OF DUE FEES Effective date: 20090131 |
|
| PG25 | Lapsed in a contracting state [announced via postgrant information from national office to epo] |
Ref country code: LU Free format text: LAPSE BECAUSE OF NON-PAYMENT OF DUE FEES Effective date: 20080121 |
|
| PG25 | Lapsed in a contracting state [announced via postgrant information from national office to epo] |
Ref country code: TR Free format text: LAPSE BECAUSE OF FAILURE TO SUBMIT A TRANSLATION OF THE DESCRIPTION OR TO PAY THE FEE WITHIN THE PRESCRIBED TIME-LIMIT Effective date: 20070228 |
|
| PGFP | Annual fee paid to national office [announced via postgrant information from national office to epo] |
Ref country code: FR Payment date: 20101216 Year of fee payment: 10 |
|
| PGFP | Annual fee paid to national office [announced via postgrant information from national office to epo] |
Ref country code: PT Payment date: 20101206 Year of fee payment: 10 |
|
| PG25 | Lapsed in a contracting state [announced via postgrant information from national office to epo] |
Ref country code: IT Free format text: LAPSE BECAUSE OF NON-PAYMENT OF DUE FEES Effective date: 20090121 |
|
| PGFP | Annual fee paid to national office [announced via postgrant information from national office to epo] |
Ref country code: GB Payment date: 20101213 Year of fee payment: 10 |
|
| PGFP | Annual fee paid to national office [announced via postgrant information from national office to epo] |
Ref country code: IT Payment date: 20101218 Year of fee payment: 10 Ref country code: ES Payment date: 20110216 Year of fee payment: 10 |
|
| PGRI | Patent reinstated in contracting state [announced from national office to epo] |
Ref country code: IT Effective date: 20110616 |
|
| REG | Reference to a national code |
Ref country code: PT Ref legal event code: MM4A Free format text: LAPSE DUE TO NON-PAYMENT OF FEES Effective date: 20120723 |
|
| GBPC | Gb: european patent ceased through non-payment of renewal fee |
Effective date: 20120121 |
|
| REG | Reference to a national code |
Ref country code: FR Ref legal event code: ST Effective date: 20120928 |
|
| PG25 | Lapsed in a contracting state [announced via postgrant information from national office to epo] |
Ref country code: GB Free format text: LAPSE BECAUSE OF NON-PAYMENT OF DUE FEES Effective date: 20120121 |
|
| PG25 | Lapsed in a contracting state [announced via postgrant information from national office to epo] |
Ref country code: PT Free format text: LAPSE BECAUSE OF NON-PAYMENT OF DUE FEES Effective date: 20120723 Ref country code: IT Free format text: LAPSE BECAUSE OF NON-PAYMENT OF DUE FEES Effective date: 20120121 |
|
| PG25 | Lapsed in a contracting state [announced via postgrant information from national office to epo] |
Ref country code: FR Free format text: LAPSE BECAUSE OF NON-PAYMENT OF DUE FEES Effective date: 20120131 |
|
| REG | Reference to a national code |
Ref country code: ES Ref legal event code: FD2A Effective date: 20130709 |
|
| PG25 | Lapsed in a contracting state [announced via postgrant information from national office to epo] |
Ref country code: ES Free format text: LAPSE BECAUSE OF NON-PAYMENT OF DUE FEES Effective date: 20120122 |