EP1318262A1 - Dämmleiste - Google Patents

Dämmleiste Download PDF

Info

Publication number
EP1318262A1
EP1318262A1 EP03005354A EP03005354A EP1318262A1 EP 1318262 A1 EP1318262 A1 EP 1318262A1 EP 03005354 A EP03005354 A EP 03005354A EP 03005354 A EP03005354 A EP 03005354A EP 1318262 A1 EP1318262 A1 EP 1318262A1
Authority
EP
European Patent Office
Prior art keywords
insulation strip
insulation
frame structure
strip according
insulating material
Prior art date
Legal status (The legal status is an assumption and is not a legal conclusion. Google has not performed a legal analysis and makes no representation as to the accuracy of the status listed.)
Granted
Application number
EP03005354A
Other languages
English (en)
French (fr)
Other versions
EP1318262B1 (de
Inventor
Harald Dr.-Ing. Schulz
Current Assignee (The listed assignees may be inaccurate. Google has not performed a legal analysis and makes no representation or warranty as to the accuracy of the list.)
Individual
Original Assignee
Individual
Priority date (The priority date is an assumption and is not a legal conclusion. Google has not performed a legal analysis and makes no representation as to the accuracy of the date listed.)
Filing date
Publication date
Application filed by Individual filed Critical Individual
Publication of EP1318262A1 publication Critical patent/EP1318262A1/de
Application granted granted Critical
Publication of EP1318262B1 publication Critical patent/EP1318262B1/de
Anticipated expiration legal-status Critical
Expired - Lifetime legal-status Critical Current

Links

Images

Classifications

    • EFIXED CONSTRUCTIONS
    • E06DOORS, WINDOWS, SHUTTERS, OR ROLLER BLINDS IN GENERAL; LADDERS
    • E06BFIXED OR MOVABLE CLOSURES FOR OPENINGS IN BUILDINGS, VEHICLES, FENCES OR LIKE ENCLOSURES IN GENERAL, e.g. DOORS, WINDOWS, BLINDS, GATES
    • E06B3/00Window sashes, door leaves, or like elements for closing wall or like openings; Layout of fixed or moving closures, e.g. windows in wall or like openings; Features of rigidly-mounted outer frames relating to the mounting of wing frames
    • E06B3/04Wing frames not characterised by the manner of movement
    • E06B3/263Frames with special provision for insulation
    • E06B3/2632Frames with special provision for insulation with arrangements reducing the heat transmission, other than an interruption in a metal section
    • EFIXED CONSTRUCTIONS
    • E06DOORS, WINDOWS, SHUTTERS, OR ROLLER BLINDS IN GENERAL; LADDERS
    • E06BFIXED OR MOVABLE CLOSURES FOR OPENINGS IN BUILDINGS, VEHICLES, FENCES OR LIKE ENCLOSURES IN GENERAL, e.g. DOORS, WINDOWS, BLINDS, GATES
    • E06B3/00Window sashes, door leaves, or like elements for closing wall or like openings; Layout of fixed or moving closures, e.g. windows in wall or like openings; Features of rigidly-mounted outer frames relating to the mounting of wing frames
    • E06B3/04Wing frames not characterised by the manner of movement
    • E06B3/263Frames with special provision for insulation
    • E06B3/2632Frames with special provision for insulation with arrangements reducing the heat transmission, other than an interruption in a metal section
    • E06B2003/26325Frames with special provision for insulation with arrangements reducing the heat transmission, other than an interruption in a metal section the convection or radiation in a hollow space being reduced, e.g. by subdividing the hollow space
    • E06B2003/26329Frames with special provision for insulation with arrangements reducing the heat transmission, other than an interruption in a metal section the convection or radiation in a hollow space being reduced, e.g. by subdividing the hollow space the insulating strips between the metal sections being interconnected
    • EFIXED CONSTRUCTIONS
    • E06DOORS, WINDOWS, SHUTTERS, OR ROLLER BLINDS IN GENERAL; LADDERS
    • E06BFIXED OR MOVABLE CLOSURES FOR OPENINGS IN BUILDINGS, VEHICLES, FENCES OR LIKE ENCLOSURES IN GENERAL, e.g. DOORS, WINDOWS, BLINDS, GATES
    • E06B3/00Window sashes, door leaves, or like elements for closing wall or like openings; Layout of fixed or moving closures, e.g. windows in wall or like openings; Features of rigidly-mounted outer frames relating to the mounting of wing frames
    • E06B3/04Wing frames not characterised by the manner of movement
    • E06B3/263Frames with special provision for insulation
    • E06B3/2632Frames with special provision for insulation with arrangements reducing the heat transmission, other than an interruption in a metal section
    • E06B2003/26325Frames with special provision for insulation with arrangements reducing the heat transmission, other than an interruption in a metal section the convection or radiation in a hollow space being reduced, e.g. by subdividing the hollow space
    • E06B2003/2633Frames with special provision for insulation with arrangements reducing the heat transmission, other than an interruption in a metal section the convection or radiation in a hollow space being reduced, e.g. by subdividing the hollow space the insulating strips between the metal sections having ribs extending into the hollow space
    • EFIXED CONSTRUCTIONS
    • E06DOORS, WINDOWS, SHUTTERS, OR ROLLER BLINDS IN GENERAL; LADDERS
    • E06BFIXED OR MOVABLE CLOSURES FOR OPENINGS IN BUILDINGS, VEHICLES, FENCES OR LIKE ENCLOSURES IN GENERAL, e.g. DOORS, WINDOWS, BLINDS, GATES
    • E06B3/00Window sashes, door leaves, or like elements for closing wall or like openings; Layout of fixed or moving closures, e.g. windows in wall or like openings; Features of rigidly-mounted outer frames relating to the mounting of wing frames
    • E06B3/04Wing frames not characterised by the manner of movement
    • E06B3/263Frames with special provision for insulation
    • E06B3/2632Frames with special provision for insulation with arrangements reducing the heat transmission, other than an interruption in a metal section
    • E06B2003/26332Arrangements reducing the heat transfer in the glazing rabbet or the space between the wing and the casing frame
    • EFIXED CONSTRUCTIONS
    • E06DOORS, WINDOWS, SHUTTERS, OR ROLLER BLINDS IN GENERAL; LADDERS
    • E06BFIXED OR MOVABLE CLOSURES FOR OPENINGS IN BUILDINGS, VEHICLES, FENCES OR LIKE ENCLOSURES IN GENERAL, e.g. DOORS, WINDOWS, BLINDS, GATES
    • E06B3/00Window sashes, door leaves, or like elements for closing wall or like openings; Layout of fixed or moving closures, e.g. windows in wall or like openings; Features of rigidly-mounted outer frames relating to the mounting of wing frames
    • E06B3/04Wing frames not characterised by the manner of movement
    • E06B3/263Frames with special provision for insulation
    • E06B2003/26349Details of insulating strips
    • E06B2003/2635Specific form characteristics
    • E06B2003/26352Specific form characteristics hollow
    • E06B2003/26354Specific form characteristics hollow filled
    • EFIXED CONSTRUCTIONS
    • E06DOORS, WINDOWS, SHUTTERS, OR ROLLER BLINDS IN GENERAL; LADDERS
    • E06BFIXED OR MOVABLE CLOSURES FOR OPENINGS IN BUILDINGS, VEHICLES, FENCES OR LIKE ENCLOSURES IN GENERAL, e.g. DOORS, WINDOWS, BLINDS, GATES
    • E06B3/00Window sashes, door leaves, or like elements for closing wall or like openings; Layout of fixed or moving closures, e.g. windows in wall or like openings; Features of rigidly-mounted outer frames relating to the mounting of wing frames
    • E06B3/04Wing frames not characterised by the manner of movement
    • E06B3/263Frames with special provision for insulation
    • E06B2003/26349Details of insulating strips
    • E06B2003/2635Specific form characteristics
    • E06B2003/26359Specific form characteristics making flush mounting with neighbouring metal section members possible
    • EFIXED CONSTRUCTIONS
    • E06DOORS, WINDOWS, SHUTTERS, OR ROLLER BLINDS IN GENERAL; LADDERS
    • E06BFIXED OR MOVABLE CLOSURES FOR OPENINGS IN BUILDINGS, VEHICLES, FENCES OR LIKE ENCLOSURES IN GENERAL, e.g. DOORS, WINDOWS, BLINDS, GATES
    • E06B3/00Window sashes, door leaves, or like elements for closing wall or like openings; Layout of fixed or moving closures, e.g. windows in wall or like openings; Features of rigidly-mounted outer frames relating to the mounting of wing frames
    • E06B3/04Wing frames not characterised by the manner of movement
    • E06B3/263Frames with special provision for insulation
    • E06B2003/26349Details of insulating strips
    • E06B2003/2635Specific form characteristics
    • E06B2003/26361Openings, incisions or indents
    • EFIXED CONSTRUCTIONS
    • E06DOORS, WINDOWS, SHUTTERS, OR ROLLER BLINDS IN GENERAL; LADDERS
    • E06BFIXED OR MOVABLE CLOSURES FOR OPENINGS IN BUILDINGS, VEHICLES, FENCES OR LIKE ENCLOSURES IN GENERAL, e.g. DOORS, WINDOWS, BLINDS, GATES
    • E06B3/00Window sashes, door leaves, or like elements for closing wall or like openings; Layout of fixed or moving closures, e.g. windows in wall or like openings; Features of rigidly-mounted outer frames relating to the mounting of wing frames
    • E06B3/04Wing frames not characterised by the manner of movement
    • E06B3/263Frames with special provision for insulation
    • E06B2003/26349Details of insulating strips
    • E06B2003/26369Specific material characteristics
    • E06B2003/26374Specific material characteristics with parts of differing nature
    • EFIXED CONSTRUCTIONS
    • E06DOORS, WINDOWS, SHUTTERS, OR ROLLER BLINDS IN GENERAL; LADDERS
    • E06BFIXED OR MOVABLE CLOSURES FOR OPENINGS IN BUILDINGS, VEHICLES, FENCES OR LIKE ENCLOSURES IN GENERAL, e.g. DOORS, WINDOWS, BLINDS, GATES
    • E06B3/00Window sashes, door leaves, or like elements for closing wall or like openings; Layout of fixed or moving closures, e.g. windows in wall or like openings; Features of rigidly-mounted outer frames relating to the mounting of wing frames
    • E06B3/04Wing frames not characterised by the manner of movement
    • E06B3/263Frames with special provision for insulation
    • E06B2003/26349Details of insulating strips
    • E06B2003/26369Specific material characteristics
    • E06B2003/26378Specific material characteristics comprising foam

Definitions

  • the present invention relates to an insulation strip Plastic for a composite profile with the characteristics of The preamble of claim 1.
  • Usual insulation strips are used for the formation of frames in Range of windows, doors and facades used. in the Individual is here for the lowest possible heat conduction between the outward and the inward Areas of a frame. This will be ensures that for reasons of strength necessarily used through metal profiles Plastic strips are connected together at their Outer contour are equipped with connection profiles, for example with a dovetail, a hammer head or the like, so that they are in a respective holding contour of a metal profile can be inserted and in one direction perpendicular to their longitudinal extent in the holding contour are anchored. Thus, such plastic insulation strips ensure which are used to connect at least two metal profiles, for a thermal separation of the inside and the back exterior metal profiles.
  • the insulation strip has two in essentially parallel boundary walls that between form a cavity.
  • the boundary walls are over connected at least one crossbar so that the Cavity inside the insulation strip in several, in Longitudinal direction of the insulation strip arranged one behind the other Hollow chambers is divided.
  • The is via connection profiles Insulation strip in grooves of metal profiles Composite profile used.
  • the thickness and width of the Boundary walls and the size of the insulation strip is like this dimensioned that the heat conduction between the inside and the outside metal profiles kept as low as possible becomes.
  • a thermally insulated composite profile with two metal profiles via engaging with projections in grooves of the metal profiles multi-part insulating webs are connected to each other is in described in DE 42 38 750.
  • the isolating bridge is off two parts, each with a different thickness composed and serves for thermal separation of the outer and inner metal profiles.
  • the multi-part structure this known insulating strip, however, on the one hand a comparatively high production cost and is on the other hand, complex to use.
  • From DE-A-3 342 700 is a thermally insulated profile body known, with the elongated, profiled insulating strips over edge folds attached at their end regions in Engage grooves in aluminum profile rails.
  • Such Insulating strip has an open cross-sectional contour, whereby in combination with an aluminum profile rail Can form cavity. There is in the area of Interfering game between the insulating strip and the aluminum profile rail. To one for each Satisfactory connection or anchoring between the aluminum profile and the insulating strip create is a stabilization of the nested Items required.
  • Aluminum profile rail can be activated by the supply of heat and foamable intermediate product in the connection area between the profile elements and in the of the insulating strip cavity formed with the aluminum profile rail brought in.
  • the primary product is the hardening of the aluminum profile rail existing heat is used, so that a positive Connection of the insulating strip with the aluminum profile the foaming material takes place.
  • the invention has for its object an insulation strip for Propose use in a composite profile that is high Has thermal insulation and at the same time sufficient Provides stability.
  • the invention is based on the idea of an insulation strip Design plastic for a composite profile so that the Walls of the frame structure are kept thin.
  • the heat flow through the insulation strip depends heavily on the thickness of the walls, so that this reduces the heat flow and can improve the insulation properties.
  • thermal insulation material with at least part of the Frame structure is connected, in addition the Thermal insulation can improve. Only the combination of these two measures, optimizing the wall thickness of the Frame structure comprising a longitudinal wall, and the additional Provide thermal insulation material on both sides of the Longitudinal wall optimizes the plastic insulation strip in terms of on the insulation properties.
  • the bar is understood to mean those areas that are in Extend in the direction of a longitudinal extension of the bar and the are essentially parallel to the heat flow direction.
  • crossbars are analogously those areas of Understand the structure of the insulation strip, which is in a Extend transverse direction of the insulation strip and essentially are transverse to the heat flow direction.
  • Part of the frame structure of the insulation strip is thin-walled designed.
  • an area has a wall thickness between 0.3 and 1.2 mm and preferably between 0.5 and 1.0mm on.
  • This wall thickness in the specified range ensures a stable construction of the insulation strip, whereby at the same time a relatively low heat conduction the walls is scored.
  • the one flowing over the bar Thermal energy is u. a. by the thickness and width of the Walls of the frame structure influenced. In this regard, one aim for the smallest possible wall thickness, but without the neglect necessary strength properties.
  • Thermal insulation material on the longitudinal wall attached that part of the mechanical stress that is on the insulation strip acts from the heat-insulating material is recorded. This enables the longitudinal wall with regard to low heat conduction optimize, as this achieves the required strength is by using the heat insulating material to accommodate the Contributes.
  • connection profiles are preferably the Holding contour of the corresponding metal profile adjusted, see above that they fit positively and securely in the metal profile are attachable.
  • connection profiles are preferably the Holding contour of the corresponding metal profile adjusted, see above that they fit positively and securely in the metal profile are attachable.
  • the Frame structure of the insulation strip at least two crossbars.
  • the frame structure of at least one longitudinal wall and is built at least two crossbars it is simple Way by appropriate arrangement of the longitudinal walls and crossbars possible, the required strength of the insulation strip over a to achieve a customized profile.
  • the Frame structure of the insulation strip made up of a longitudinal wall, at the end of each a cross bar is provided and with the Longitudinal wall is connected.
  • a Double T-profile formed, the good mechanical Has strength properties.
  • the insulating strip according to the invention is preferably made of Plastic and has a one-piece (integral) Frame profile on.
  • the Insulation strip can be designed as a one-piece component that on the one hand with little. Effort to handle and on the other hand is easy to manufacture.
  • the bar is a thickness S3 of the range of Frame structure that is adjacent to the insulating material, compared to the thickness of the remaining areas of the Reduced frame structure.
  • S3 is in the Range from 0.15 x S1 to 0.95 x S1.
  • a particularly simple and stable design of the insulation strip results in a preferred embodiment in which the bar has a length of 30 mm to 100 mm, preferably 40 mm to 70 mm, and a width of 10 mm to 100 mm, preferably 15 mm to 80 mm or 20 mm to 50 mm.
  • the thermal insulation material to the Longitudinal wall glued, clamped or with a form-fitting Connection connected to it.
  • a form-fitting Connection connected to it.
  • the thermal insulation material With an additional Securing the thermal insulation material by gluing, clamping or a form fit, such as B. undercut Tongue and groove connections, gears or the like, it will thermal insulation material on the insulation strip also against Secured slipping or loosening.
  • the connection is thus extremely stable. This is particularly the case advantageous, where mechanical stress caused by the thermal insulation material is to be transferred.
  • the foam-like material made of polyurethane, polystyrene or the like consists. These materials are comparatively bad thermally conductive, so that the inventive Principle can be implemented particularly well.
  • heat-insulating material is strip-shaped.
  • Strip-like material can have certain insulation properties can be achieved by different Insulation strips can be combined.
  • the use has proven to be useful for the plastic insulation strip of polypropylene, polyethylene, polyamide, acrynitrile-butadiene-styrene or polyethylene terephthalate as advantageous.
  • This Materials can be reinforced with appropriate reinforcement and / or Reinforcing elements are provided to ensure the stability of the To increase insulation strip further.
  • the use of this Materials allows the production of very temperature-resistant and stable strips.
  • the insulation strip cutouts in the longitudinal wall. Inhibit such recesses additional heat flow through the bar. This will improved insulation properties.
  • These recesses can have a wide variety of geometries, are conceivable for example rectangular cutouts, circular Cutouts, triangular cutouts or the like. It is still possible, and even more preferred, that several rows of recesses are arranged. Will this Recesses in the rows are offset from one another, the heat flow through the bar is additionally reduced because no straight connection in the longitudinal direction of the bar in the frame structure exists.
  • the heat-insulating material is preferably one appropriate requirements for the insulation strip attached so that it protrudes from the frame profile. For one thing, it will the surface of the bar enlarges, resulting in a larger one Radiation area and thus a lower heat flow leads between inner profile and outer profile. This improves on the one hand the insulation properties of the insulation strip. on the other hand can target certain geometries of the bar through the Insulation material can be realized.
  • the projecting one is Insulation material between projections of the frame structure, which as Recordings seem appropriate. These projections serve mainly to ensure that the insulating material is securely attached Hold place so that it is less susceptible to Is slipping or loosening.
  • This insulation material can on the one hand an insulation material of the insulation strip according to the invention be compared to reinforcing the frame structure serves mechanical load, on the other hand this can thermal insulation material, however, additionally on the Be attached to the outside of the insulation strip and exclusively Isolation and insulation purposes.
  • the insulation strip according to the invention has Plastic has an integral cross-sectional shape, whereby thin-walled longitudinal walls and crossbars of the insulation strip integral are interconnected.
  • a wall thickness of Longitudinal wall in a range between 0.3 mm and 1.2 mm.
  • FIG. 1 one is not a cross-sectional view insulation strip 2 falling within the scope of the invention
  • Plastic shown in a first embodiment according to the 1 shows the insulation strip 2 in two essentially parallel and spaced apart Longitudinal walls 4, which form a cavity between them.
  • the two longitudinal walls 4 are by a total of four crosspieces 6 connected to each other, the crossbars 6 essentially right-angled on the inside facing the cavity 5 the longitudinal walls 4 are arranged.
  • Crosspieces 6 extending at right angles to the longitudinal walls 4 is the cavity inside the insulation strip 2 in several, in Longitudinal direction of the longitudinal walls 4 of the insulation strip 2 hollow chambers 8 arranged one behind the other. On this way it can be seen that the bar 2 as a Hollow profile is designed.
  • the crossbars 6 and the longitudinal walls 4 together form the frame structure 7 of the insulation strip.
  • connection profiles 12 There are several on an outer contour 10 of the strip 2 Connection profiles 12 provided. These are shown in the Case as a widening, so-called Dovetail run and show two of which in Fig. 1 top and bottom crossbar 6 to the outside inclined sides, so that a total widened foot or head arises.
  • the Connection profiles 12 is the insulation strip 2 shown in one Holding contour of a (not shown) metal profile, the one has a complementarily shaped groove with undercuts, anchored.
  • the central, central hollow chamber 8 has a filling made of a heat-insulating material, in the present case a foam on.
  • the foam is the middle one Hollow chamber 8 completely filled.
  • Example the length D of the insulation strip 2 is greater than a width H. Furthermore, the top and bottom in the drawing arranged hollow chambers 8 a lower height d1 than that middle hollow chamber 8 with a height d2. This allows different volumes of the hollow chambers 8 realized become.
  • a thickness S1 of the longitudinal walls 4 corresponds to a thickness S2 of the crossbars 6.
  • the bar 2 By designing the bar 2 as a multi-chamber hollow profile with thin-walled longitudinal walls 4 and 6 crosspieces Heat conduction through the bar 2 significantly reduced become. In addition, the additional provision of the insulating foam material in one or even several hollow chamber (s) the heat conduction through the bar 2 further significantly reduced.
  • the foaming of the hollow chamber continues to cause Increase the mechanical strength of the construction by the filling material is part of the mechanical load receives. This allows the wall thicknesses of the longitudinal walls can be further reduced.
  • the strip 2 is through in the areas of reduced thickness S3 the foam material 14 to increase the strength stiffened.
  • the Heat conduction by reducing the thickness of the longitudinal walls 4 additionally reduced.
  • Foam material 14 additionally with the respective longitudinal walls 4 connected by an adhesive bond, which is an interaction the frame structure with the filling material guaranteed.
  • an insulating strip 2 is shown as a third embodiment in cross section, the structure of which corresponds essentially to the insulating strip 2 shown in Fig. 1.
  • An essential difference between the first and the third exemplary embodiment shown in FIG. 3 is that the hollow profile of the strip 2 comprises a total of two hollow chambers 8.
  • the two hollow chambers 8 are each completely foamed with the heat-insulating material 14.
  • the entire hollow profile body of the strip 2 is filled with insulation material 14, which enables a very effective thermal insulation. Because all the walls of the frame structure adjoin a foamed area, the wall thicknesses of the frame structure S 1 and S 2 can be selected to be very small, since part of the mechanical load is absorbed by the foam material, which thus stiffens the frame structure.
  • the small wall thickness of the frame structure also leads to a reduction in heat conduction through the insulation strip.
  • the stabilizing foam can also be glued to the frame structure. However, a sufficient hold between the frame structure and the insulation material is usually achieved without additional gluing, especially when using foam-like insulation material, which is first poured into an area of the insulation strip and then foamed.
  • FIG fourth embodiment of a not in the scope of Invention falling insulation strip 2 differs from that shown in Fig. 1 essentially in that fork-like Connection profiles 12 on the outer contour 10 of the strip 2 are trained.
  • the middle Hollow chamber 8 is always with the thermal insulation Material 14 filled in, the two outer hollow chambers 8, which is not a fully closed cross section have (located in the drawing above and below) can optionally be filled with an insulating material.
  • Fig. 5 shows a fifth embodiment of a not in the Scope of the invention falling insulation strip 2.
  • the frame structure 7 from two individual ones Components trained. These components each include Crosspieces 6 and longitudinal walls 4.
  • the connection of the two individual components are made using the heat-insulating material 14.
  • the insulating material 14 can either between the the frame structure 7 components glued or clamped be, with a positive connection between the Frame parts 7 and the insulating material 14 for use can come.
  • Such a connection is exemplified in Fig. 6 shown.
  • the thermal insulation material is here with a provided undercut spring, the frame structure 7 with a corresponding undercut groove.
  • the embodiment of the insulation strip 2 shown in FIG. 5 can but can also be made by the frame structure 7 is initially manufactured with three chambers, the middle chamber, which is then the thermal insulation material, preferably foam material, accommodates 14, initially wider is manufactured when the end width H of the insulation strip 2. After the foam material 14 has been introduced into the middle one Cavity and foaming are milled off the side walls. The foam material 14 thus takes over an essential part the mechanical load acting on the insulation strip 2.
  • connection between Frame structure 7 and heat-insulating material 14 is next to it the aforementioned shape in the area of the connection between Frame structure and heat-insulating material possible through Application of adhesive material in addition to the connection consolidate.
  • the shape, the connection in addition secures in the connection area between frame structure 7 and Foam material 14 can, as shown in Fig. 7, also from a Interlocking on the frame structure and a corresponding one There are teeth on the insulating material. This increases the liability between heat insulating material and Frame structure 7 and thus ensures a form-fitting Connection.
  • connection profile 12 shown in FIGS. 5, 6 and 7 to the Holding contour of a metal profile is on both sides of the insulation strip 2 each as one piece Swallowtail trained in a corresponding Recess on a holding contour of a metal profile intervenes.
  • Shapes according to the holding contour of the metal profile conceivable.
  • FIGS. 5, 6 and 7 shown in FIGS Insulation strips have an interrupted frame structure 7. Because no direct connection through the Frame structure exists, and the heat flow only through that thermal insulation material, the heat flow in the Insulation strip severely limited. Thus, good ones Thermal insulation properties achieved.
  • FIG. 5 8 Another embodiment, that of FIG. 5 8 is shown in FIG.
  • the insulation material 14 is here glued between two parts of the frame structure 7. in the Contrary to the previously shown embodiments, closes the thermal insulation material between the frame structure 7 is glued, but not flush with the frame structure 7 and especially their longitudinal walls 4, but is on the side extended.
  • this can be advantageous because higher thermal insulation is achieved.
  • the Heat exchange through radiation hampers, which also leads to Achieving good insulation properties is exploited.
  • a Reduction of the convection space also ensures improved insulation properties.
  • Embodiment 9 shows different aspects of a Embodiment of the present invention.
  • the frame structure 7 from an im essentially continuous longitudinal wall 4 and two on their End arranged transverse webs 6 formed. These crossbars serve to absorb the insulation material and cause it Desired and required stabilization of the insulation strip.
  • the insulation material 14 is on the side of the longitudinal wall on both Pages arranged, symmetrical in the case of Figure 9, in the case of Figures 10 and 11 asymmetrical.
  • the one shown in Fig. 9 Longitudinal wall 4 has interruptions 13, which are in Fig. 10 and 11 longitudinal walls 4 not shown.
  • An interruption of the Longitudinal wall or recesses in the longitudinal wall inhibit the Heat flow over the insulation material due to a lower thermal conductivity is reduced.
  • Connection profile 12 to the holding contour of a metal profile each serve a dovetail that is attached centrally to the outside of the cross profiles 6.
  • the interruptions in the longitudinal wall have the Advantage that when the insulation material is foamed, this extends through the recesses in the longitudinal wall and thus the two areas of insulation on either side of the Longitudinal walls are formed from a single piece. This increases the mechanical stability of the insulation material.
  • the insulation material is attached to the side of the longitudinal wall 4.
  • This insulating material 14, for. B. foam material can either be glued to the frame structure 7, the in 9, 10 and 11 shown cross profiles an arcuate Have shape and thus hold the foam mass 14 in addition and secure against loosening in relation to the frame structure.
  • the Insulating material can also be similar to that in FIG. 5 described, can be introduced in that first a closed hollow profile is formed, in which the Foam material 14 is poured, and then the outer Longitudinal walls are milled away in order to achieve the final shape come, which is shown in Fig. 9.
  • Figures 10 and 11 show Similar to FIG. 8, an insulation strip 2, in which at least one Part of the insulating material 14, which in connection with stands the frame structure 7, protrudes from this.
  • This The insulation material 14 can protrude over the entire length the insulation strip be present, or only over Subareas. As mentioned above, it serves as far as the Allow space in the overall arrangement, the additional insulation by reducing the convection space and as a
  • the insulation strip 2 in one of the shown in FIGS. 9, 10 and 11 Embodiments offers good insulation and Thermal insulation properties because the frame structure is thin can be formed because the heat insulating material 14 a Absorbs part of the mechanical load. Thin profiles ensure low heat conduction and thus good Thermal insulation properties.
  • FIGS. 12, 15, 16 and 17 are further embodiments of the shown present invention. These embodiments common that, as from the side views (Fig. 12, 15, 16 and 17) can be seen the insulation strip along its Cross-sections changing in the longitudinal direction.
  • at least one of the longitudinal walls 4 of the Insulation strip 2 is provided with recesses 15, which to the Leads to cross-sectional changes. Otherwise these recesses reduce closed hollow profile of this embodiment additionally the heat flow.
  • the longitudinal wall can only be in one limited area serve as a thermal bridge.
  • the course of the Heat flow is indicated by an arrow Q in FIGS. 12, 15, 16 and 17 indicated.
  • the recesses 15 in the longitudinal wall 4 of the Insulation strips can have different shapes (circle, rectangle, Triangle etc.).
  • FIGS. 13 and 14 Cuts through the insulation strip according to FIG. 12 are shown in FIGS. 13 and 14.
  • 13 corresponds to a section the location identified by A-A from FIGS. 12, 14 a cut at the point marked B-B.
  • the Insulation strip additionally one protruding from the main profile Area.
  • this is not essential required, but a concise formation of the Foam filling 14 in the insulation strip 2, the recesses in has at least one of its longitudinal walls 4 is conceivable and shown in Fig. 18.
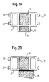
  • FIG. 19 and 20 Another feature is shown in Figs. 19 and 20.
  • the The embodiment shown is based on that in FIG. 2 shown embodiment.
  • this is additional insulation 18 glued on.
  • Attaching a holding structure 19 offers an additional protection against slipping of the insulation material has the advantage that the insulation material in this holding area can also be pinched, or the Holding area with the insulating material a positive Can enter into a connection.
  • the essential aspect of the insulation strip according to the invention lies in that since it was recognized that the thermal insulation Material absorbs part of the mechanical load that Frame structure of the insulation strip may be thin-walled can or in some areas recesses or May have interruptions. This causes the Thermal insulation properties of the insulation strip can be improved without to forego mechanical strength properties have to.

Landscapes

  • Physics & Mathematics (AREA)
  • Thermal Sciences (AREA)
  • Engineering & Computer Science (AREA)
  • Civil Engineering (AREA)
  • Structural Engineering (AREA)
  • Building Environments (AREA)
  • Refrigerator Housings (AREA)
  • Laminated Bodies (AREA)
  • Insulating Bodies (AREA)
  • Insulation, Fastening Of Motor, Generator Windings (AREA)
  • Wing Frames And Configurations (AREA)
  • Body Structure For Vehicles (AREA)

Abstract

Eine Dämmleiste (2) aus Kunststoff für ein Verbundprofil weist eine dünnwandige Rahmenstruktur (7) auf. Wärmedämmendes Material (14) steht mit mindestens einem Teil der Rahmenstruktur (7) in Verbindung. Ferner sind Anschlussprofile (12) vorgesehen, über die die Dämmleiste in einer Haltekontur eines Metallprofils verankerbar ist. Mindestens ein Bereich der Rahmenstruktur ist dünnwandig, wobei eine Wandstärke des dünnwandigen Bereichs in einen Bereich zwischen 0,3 mm und 1,2 mm liegt. <IMAGE>

Description

Technisches Gebiet
Die vorliegende Erfindung betrifft eine Dämmleiste aus Kunststoff für ein Verbundprofil mit den Merkmalen des Oberbegriffs von Anspruch 1.
Übliche Dämmleisten werden für die Ausbildung von Rahmen im Bereich von Fenstern, Türen und Fassaden verwendet. Im einzelnen ist hierbei für eine möglichst geringe Wärmeleitung zwischen den nach außen und den nach innen gerichteten Bereichen eines Rahmens zu sorgen. Dies wird dadurch gewährleistet, dass die aus Gründen der Festigkeit notwendigerweise verwendeten Metallprofile durch Kunststoffleisten miteinander verbunden werden, die an ihrer Außenkontur mit Anschlussprofilen ausgestattet sind, beispielsweise mit einem Schwalbenschwanz, einem Hammerkopf oder ähnlichem, so dass sie in eine jeweilige Haltekontur eines Metallprofils einschiebbar sind und in einer Richtung senkrecht zu ihrer Längserstreckung in der Haltekontur verankert sind. Somit sorgen derartige Kunststoffdämmleisten, die der Verbindung von mindestens zwei Metallprofilen dienen, für eine thermische Trennung der nach innen und der nach außen gerichteten Metallprofile.
Stand der Technik
Aus der WO 97/09504 ist eine Dämmleiste, die zwischen zwei Metallprofilen eingesetzt ist, zur Erfüllung der genannten Anforderungen bekannt. Hierbei weist die Dämmleiste zwei im wesentlichen parallele Begrenzungswände auf, die zwischen sich einen Hohlraum bilden. Die Begrenzungswände sind über zumindest einen Quersteg miteinander verbunden, so dass der Hohlraum im Inneren der Dämmleiste in mehrere, in Längsrichtung der Dämmleiste hintereinander angeordnete Hohlkammern unterteilt ist. Über Anschlussprofile ist die Dämmleiste in Aufnahmenuten von Metallprofilen eines Verbundprofils eingesetzt. Die Dicke und die Breite der Begrenzungswände sowie die Größe der Dämmleiste ist so bemessen, dass die Wärmeleitung zwischen den innen und den außen angeordneten Metallprofilen möglichst gering gehalten wird. Dabei ist jedoch eine Reduzierung der Wanddicken der Dämmleiste zur Verringerung der Wärmeleitung auf ein bestimmtes Maß begrenzt, um die Stabilität der gesamten Anordnung nicht zu gefährden. Aufgrund der Wärmeleitfähigkeit des zur Herstellung der Dämmleiste verwendeten Materials ist ferner stets eine geringe Wärmeleitung zwischen den Metallprofilen zu verzeichnen.
Ein wärmegedämmtes Verbundprofil mit zwei Metallprofilen, die über mit Vorsprüngen in Nuten der Metallprofile eingreifende mehrteilige Isolierstege miteinander verbunden sind, ist in der DE 42 38 750 beschrieben. Hierbei ist der Isoliersteg aus zwei Teilen mit jeweils unterschiedlicher Dicke zusammengesetzt und dient einer thermischen Trennung der äußeren und inneren Metallprofile. Der mehrteilige Aufbau dieser bekannten Isolierleiste bedingt jedoch einerseits einen vergleichsweise hohen Herstellungsaufwand und ist andererseits aufwendig in der Handhabung.
Aus der DE-A-3 342 700 ist ein wärmeisolierter Profilkörper bekannt, bei dem langgestreckte, profilierte Isolierleisten über an ihren Endbereichen angebrachte Randabkantungen in Nuten von Aluminiumprofilschienen eingreifen. Eine derartige Isolierleiste weist eine offene Querschnittskontur auf, wobei sie in Verbindung mit einer Aluminiumprofilschiene einen Hohlraum ausbilden kann. Dabei besteht im Bereich des Eingriffs Spiel zwischen der eingesetzten Isolierleiste und der Aluminiumprofilschiene. Um eine für den jeweiligen Verwendungszweck befriedigende Verbindung bzw. Verankerung zwischen dem Aluminiumprofil und der Isolierleiste zu schaffen, ist eine Stabilisierung der ineinandergesetzten Elemente erforderlich. Zur Fixierung der Isolierleiste in der Aluminiumprofilschiene wird daher vor dem Härten der Aluminiumprofilschiene ein durch Wärmezufuhr aktivierbares und aufschäumbares Vorprodukt in den Verbindungsbereich zwischen den Profilelementen und in den von der Isolierleiste mit der Aluminiumprofilschiene ausgebildeten Hohlraum eingebracht. Für die Aktivierung und das Aufschäumen des Vorproduktes wird die beim Härten der Aluminiumprofilschiene vorhandene Wärme ausgenützt, so dass eine formschlüssige Verbindung der Isolierleiste mit dem Aluminiumprofil durch das aufschäumende Material erfolgt.
Darstellung der Erfindung
Der Erfindung liegt die Aufgabe zugrunde, eine Dämmleiste zum Einsatz in einem Verbundprofil vorzuschlagen, die eine hohe Wärmedämmung aufweist und gleichzeitig ausreichende Stabilität bietet.
Diese Aufgabe wird durch eine Dämmleiste mit den Merkmalen des Anspruchs 1 gelöst.
Der Erfindung liegt der Gedanke zugrunde, eine Dämmleiste aus Kunststoff für ein Verbundprofil so auszugestalten, dass die Wände der Rahmenstruktur dünn gehalten werden. Der Wärmestrom durch die Dämmleiste hängt stark von der Dicke der Wände ab, so dass sich hierdurch eine Verringerung des Wärmestroms und eine Verbesserung der Dämmeigenschaften erzielen lässt. Darüber hinaus wurde festgestellt, dass das Vorsehen von wärmedämmendem Material, das mit zumindest einem Teil der Rahmenstruktur in Verbindung steht, zusätzlich die Wärmedämmung verbessern kann. Erst die Kombination dieser beiden Maßnahmen, die Optimierung der Wandstärke der Rahmenstruktur umfassend eine Längswand, und das zusätzliche Vorsehen von wärmedämmendem Material auf beiden Seiten der Längswand optimiert die Dämmleiste aus Kunststoff in bezug auf die Dämmeigenschaften. Mit dem Begriff "Längswände" der Leiste werden diejenigen Bereiche verstanden, die sich in Richtung einer Längserstreckung der Leiste erstrecken und die im wesentlichen parallel zur Wärmestromrichtung sind. Mit dem Begriff "Querstege" werden sinngemäß diejenigen Bereiche der Rahmenstruktur der Dämmleiste verstanden, die sich in einer Querrichtung der Dämmleiste erstrecken und im wesentlichen quer zur Wärmestromrichtung sind.
Ein Teil der Rahmenstruktur der Dämmleiste ist dünnwandig gestaltet. Insbesondere weist ein Bereich eine Wanddicke zwischen 0,3 und 1,2 mm und vorzugsweise zwischen 0,5 und 1.0mm auf. Diese Wanddicke in dem angegebenen Bereich gewährleistet eine stabile Konstruktion der Dämmleiste, wobei gleichzeitig eine verhältnismäßig geringe Wärmeleitung über die Wände erzielt wird. Die über die Leiste fließende Wärmeenergie wird u. a. durch die Dicke und die Breite der Wände der Rahmenstruktur beeinflusst. Diesbezüglich ist eine möglichst geringe Wanddicke anzustreben, jedoch ohne die nötigen Festigkeitseigenschaften zu vernachlässigen.
Vorteilhafte Ausführungsformen sind durch die übrigen Ansprüche gekennzeichnet.
Nach einer bevorzugten Ausführungsform der Erfindung ist das wärmedämmende Material an der Längswand dergestalt angebracht, dass ein Teil der mechanischen Belastung, die auf die Dämmleiste einwirkt, von dem wärmedämmenden Material aufgenommen wird. Dies ermöglicht es, die Längswand hinsichtlich einer geringen Wärmeleitung weiter zu optimieren, da die erforderliche Festigkeit dadurch erzielt wird, indem das wärmedämmende Material zur Aufnahme der Kräfte beiträgt.
Eine weitere Optimierung der Wärmedämmung kann dadurch geschehen, dass die Längswand dünn gehalten wird, oder dass geeignete Aussparungen und Unterbrechungen der Wand vorgesehen sind. Aussparungen und Unterbrechungen der Wand führen zu einer Unterbrechung oder Verlängerung des Wärmeleitungswegs, was in einer verminderten Wärmeleitung über die Dämmleiste resultiert. Der Wärmestrom durch die Dämmleiste hängt ferner stark von der Dicke der Wände ab. Ein geringer Wärmestrom und gute Dämmeigenschaften werden somit dadurch erzielt, dass die Wände möglichst dünn gehalten werden.
Ferner ist die erfindungsgemäße Dämmleiste zur Verankerung in einer Haltekontur eines Metallprofils mit Anschlussprofilen versehen. Die Anschlussprofile sind vorzugsweise der Haltekontur des entsprechenden Metallprofils angepasst, so dass diese formschlüssig und sicher in dem'Metallprofil befestigbar sind. Das Vorsehen einer zusätzlichen Verbindungsmöglichkeit, beispielsweise ein Verkleben oder Ausschäumen, zwischen Anschluss- und Metallprofil zur Befestigung bzw. Verankerung der Dämmleiste in dem Verbundprofil kann somit entfallen. Dies vereinfacht die Konstruktion erheblich.
Nach einer bevorzugten Ausführungsform umfasst die Rahmenstruktur der Dämmleiste mindestens zwei Querstege. Indem die Rahmenstruktur aus mindestens einer Längswand und mindestens zwei Querstegen aufgebaut ist, ist es auf einfache Weise durch geeignete Anordnung der Längswände und Querstege möglich, die benötigte Festigkeit der Dämmleiste über ein den jeweiligen Gegebenheiten angepasstes Profil zu erzielen.
Z. B. ist nach einer bevorzugten Ausführungsform die Rahmenstruktur der Dämmleiste aus einer Längswand aufgebaut, an deren Ende jeweils ein Quersteg vorgesehen und mit der Längswand verbunden ist. Durch diese Anordnung wird ein Doppel-T-Profil gebildet, das gute mechanische Festigkeitseigenschaften aufweist.
Bevorzugterweise ist die erfindungsgemäße Dämmleiste aus Kunststoff und weist ein einstückiges (integrales) Rahmenprofil auf. Durch eine entsprechende Anordnung kann die Dämmleiste als einstückiges Bauteil gestaltet werden, das einerseits mit wenig. Aufwand zu handhaben und andererseits einfach zu fertigen ist.
In bestimmten Anwendungsfällen, abhängig von der mechanischen Belastung der Leiste, ist eine Dicke S3 des Bereichs der Rahmenstruktur, der an das wärmedämmende Material angrenzt, im Vergleich zur Dicke der übrigen Bereiche der Rahmenstruktur reduziert ausgebildet. S3 liegt dabei im Bereich von 0,15 x S1 bis 0,95 x S1. Dadurch wird einerseits in vorteilhafter Weise die Wärmeleitung über die Rahmenstruktur herabgesetzt, wobei die Stabilität durch das an die Rahmenstruktur im entsprechenden Bereich anliegende wärmende Material sichergestellt ist; andererseits trägt diese Gestaltung zu einer besonders leichten Konstruktion der Leiste bei.
Eine besonders einfache und stabile Gestaltung der Dämmleiste ergibt sich bei einer bevorzugten Ausführungsform, bei der die Leiste eine Länge von 30 mm bis 100 mm, vorzugsweise 40 mm bis 70 mm, und eine Breite von 10 mm bis 100 mm, vorzugsweise 15 mm bis 80 mm oder 20 mm bis 50 mm, aufweist.
Vorteilhafterweise ist das wärmedämmende Material an die Längswand geklebt, geklemmt oder mit einer formschlüssigen Verbindung mit ihr verbunden. Bei einer zusätzlichen Sicherung des wärmedämmenden Materials durch Kleben, Klemmen oder einem Formschluss, wie z. B. hinterschnittene Nutfederverbindungen, Verzahnungen oder ähnliches, wird das wärmedämmende Material an der Dämmleiste zusätzlich gegen Verrutschen oder Lösen gesichert. Die Verbindung ist somit überaus stabil. Dies ist insbesondere an den Stellen vorteilhaft, an denen mechanische Belastung durch das wärmedämmende Material übertragen werden soll.
Um ein leichtes Einbringen des wärmedämmenden Materials in Aussparungen der Dämmleiste sicherzustellen, wird ein schaumartiges Material für das Dämmmaterial bevorzugt. In diesem Zusammenhang ist es vorteilhaft, wenn das schaumartige Material aus Polyurethan, Polystyrol oder dergleichen besteht. Diese Materialien sind vergleichsweise schlecht wärmeleitend, so dass sich hierdurch das erfindungsgemäße Prinzip besonders gut verwirklichen lässt.
Bevorzugterweise ist in bestimmten Anwendungsfällen das wärmedämmende Material streifenförmig ausgebildet. Durch streifenförmiges Material können bestimmte Dämmeigenschaften gezielt erreicht werden, indem verschiedene Dämmmaterialstreifen miteinander kombiniert werden.
Für die Dämmleiste aus Kunststoff erweist sich die Verwendung von Polypropylen, Polyethylen, Polyamid, Acrynitril-Butadien-Styrol oder Polyethylenterephthalat als vorteilhaft. Diese Materialien können mit einer geeigneten Verstärkung und/oder Verstärkungselementen versehen sein, um die Stabilität der Dämmleiste weiter zu erhöhen. Die Verwendung dieser Materialien gestattet die Herstellung von sehr temperaturbeständigen und stabilen Leisten.
Nach einer bevorzugten Ausführungsform weist die Dämmleiste in der Längswand Aussparungen auf. Solche Aussparungen hemmen den Wärmefluss durch die Leiste zusätzlich. Dadurch werden verbesserte Dämmeigenschaften erzielt. Diese Aussparungen können verschiedenste Geometrien aufweisen, denkbar sind beispielsweise rechteckige Aussparungen, kreisförmige Aussparungen, dreieckige Aussparungen oder ähnliches. Es ist weiterhin möglich, und sogar besonders bevorzugt, dass mehrere Reihen von Aussparungen angeordnet sind. Werden diese Aussparungen in den Reihen versetzt zueinander angeordnet, wird der Wärmefluss über die Leiste zusätzlich reduziert, da keine geradlinige Verbindung in Längsrichtung der Leiste in der Rahmenstruktur besteht.
Bevorzugterweise ist das wärmedämmende Material bei einer entsprechenden Anforderung an die Dämmleiste so angebracht, dass es aus dem Rahmenprofil vorsteht. Zum einen wird dadurch die Oberfläche der Leiste vergrößert, was zu einer größeren Strahlungsfläche und damit einem geringeren Wärmefluss zwischen Innenprofil und Außenprofil führt. Dies verbessert einerseits die Dämmeigenschaften der Dämmleiste. Andererseits können gezielt bestimmte Geometrien der Leiste durch das Dämmmaterial verwirklicht werden.
Nach einer bevorzugten Ausführungsform ist das vorspringende Dämmmaterial zwischen Vorsprüngen der Rahmenstruktur, die als Aufnahmen wirken, angebracht. Diese Vorsprünge dienen hauptsächlich dazu, das wärmedämmende Material sicher am Platz zu halten, so dass es weniger anfällig gegenüber Verrutschen oder Lösen ist. Dieses Dämmmaterial kann einerseits ein Dämmmaterial der erfindungsgemäßen Dämmleiste sein, das auch zur Verstärkung der Rahmenstruktur gegenüber mechanischer Belastung dient, andererseits kann dieses wärmedämmende Material jedoch noch zusätzlich an der Außenseite der Dämmleiste angebracht sein und ausschließlich Isolations- und Dämmzwecken dienen.
Demzufolge weist die erfindungsgemäße Dämmleiste aus Kunststoff eine integrale Querschnittsform auf, wobei dünnwandige Längswände und Querstege der Dämmleiste integral miteinander verbunden sind. Hierbei liegt eine Wanddicke der Längswand in einem Bereich zwischen 0,3 mm und 1,2 mm. Durch diese Anordnung kann die Dämmleiste als einstückiges Bauteil gestaltet werden, das mit wenig Aufwand zu handhaben und leicht herstellbar ist. Ferner gewährleistet die erfindungsgemäß vorgesehene Wanddicke in dem angegebenen Bereich eine stabile Konstruktion der Dämmleiste, wobei gleichzeitig eine Wärmeleitung über die Längswände möglichst gering gehalten wird.
Kurze Beschreibung der Zeichnungen
Nachfolgend wird die Erfindung anhand von beispielhaften in den Zeichnungen dargestellten Ausführungsformen näher beschrieben. Es zeigen:
Fig. 1
eine Querschnittsansicht einer Ausführungsform einer nicht in den Umfang der Erfindung fallenden erfindungsgemäßen Dämmleiste;
Fig. 2
eine Querschnittsansicht einer weiteren Ausführungsform einer nicht in den Umfang der Erfindung fallenden Dämmleiste;
Fig. 3
eine Querschnittsansicht einer weiteren Ausführungsform einer nicht in den Umfang der Erfindung fallenden Dämmleiste;
Fig. 4
eine Querschnittsansicht einer weiteren Ausführungsform einer nicht in den Umfang der Erfindung fallenden Dämmleiste;
Fig. 5
eine Querschnittsansicht einer weiteren Ausführungsform einer nicht in den Umfang der Erfindung fallenden Dämmleiste;
Fig. 6
einen Ausschnitt aus einem Querschnitt einer weiteren Ausführungsform einer nicht in den Umfang der Erfindung fallenden Dämmleiste;
Fig. 7
eine Querschnittsansicht einer weiteren Ausführungsform einer nicht in den Umfang der Erfindung fallenden Dämmleiste;
Fig. 8
eine Querschnittsansicht einer weiteren Ausführungsform einer nicht in den Umfang der Erfindung fallenden Dämmleiste;
Fig. 9
eine Querschnittsansicht einer ersten Ausführungsform der erfindungsgemäßen Dämmleiste;
Fig. 10
eine Querschnittsansicht einer weiteren Ausführungsform der erfindungsgemäßen Dämmleiste;
Fig. 11
eine Querschnittsansicht einer weiteren Ausführungsform der erfindungsgemäßen Dämmleiste;
Fig. 12
eine Seitenansicht einer weiteren Ausführungsform der erfindungsgemäßen Dämmleiste ohne Querstege;
Fig. 13
einen Querschnitt der Ausführungsform der erfindungsgemäßen Dämmleiste gemäß Fig. 12 an der Stelle A aus Fig. 12;
Fig. 14
einen Querschnitt der Ausführungsform der erfindungsgemäßen Dämmleiste gemäß Fig. 12 an der Stelle B aus Fig. 12;
Fig. 15
eine Seitenansicht einer weiteren Ausführungsform der erfindungsgemäßen Dämmleiste;
Fig. 16
eine Seitenansicht einer weiteren Ausführungsform der erfindungsgemäßen Dämmleiste;
Fig. 17
eine Seitenansicht einer weiteren Ausführungsform der erfindungsgemäßen Dämmleiste;
Fig. 18
eine perspektivische Ansicht einer weiteren Ausführungsform der erfindungsgemäßen Dämmleiste ohne Querstege;
Fig. 19
eine Querschnittsansicht einer weiteren Ausführungsform einer nicht in den Umfang der Erfindung fallenden Dämmleiste; und
Fig. 20
eine Querschnittsansicht einer weiteren Ausführungsform einer nicht in den Umfang der Erfindung fallenden Dämmleiste.
Wege zur Ausführung der Erfindung
In Fig. 1 ist in einer Querschnittsansicht eine einer nicht in den Umfang der Erfindung fallenden Dämmleiste 2 aus Kunststoff in einer ersten Ausführungsform gezeigt. Gemäß der Darstellung von Fig. 1 weist die Dämmleiste 2 zwei im wesentlichen parallel und im Abstand zueinander angeordnete Längswände 4 auf, die zwischen sich einen Hohlraum bilden. Die beiden Längswände 4 sind durch insgesamt vier Querstege 6 miteinander verbunden, wobei die Querstege 6 im wesentlichen rechtwinklig auf der zu dem Hohlraum weisenden Innenseite 5 der Längswände 4 angeordnet sind. Hierbei sind die Querstege 6, wie in der Fig. 1 zu erkennen ist, einstückig mit den Längswänden 4 der Dämmleiste 2 ausgebildet. Durch die sich rechtwinklig zu den Längswänden 4 erstreckenden Querstege 6 ist der Hohlraum im Inneren der Dämmleiste 2 in mehrere, in Längsrichtung der Längswände 4 der Dämmleiste 2 hintereinander angeordnete Hohlkammern 8 unterteilt. Auf diese Weise ist ersichtlich, dass die Leiste 2 als ein Hohlprofil gestaltet ist. Die Querstege 6 und die Längswände 4 bilden zusammen die Rahmenstruktur 7 der Dämmleiste.
An einer Außenkontur 10 der Leiste 2 sind mehrere Anschlussprofile 12 vorgesehen. Diese sind in dem gezeigten Fall jeweils als sich verbreiternder, sogenannter Schwalbenschwanz ausgeführt und weisen zwei sich von dem in Fig. 1 oben und unten befindlichen Quersteg 6 nach außen geneigt ausgebildete Seiten auf, so dass insgesamt ein verbreiterter Fuß bzw. Kopf entsteht. Mittels der Anschlussprofile 12 ist die gezeigte Dämmleiste 2 in einer Haltekontur eines (nicht gezeigten) Metallprofils, die eine komplementär geformte Nut mit Hinterschneidungen aufweist, verankerbar.
Ferner weist die mittlere, zentrale Hohlkammer 8 eine Füllung aus einem wärmedämmenden Material, im vorliegenden Fall aus einem Schaum, auf. Durch den Schaum ist die mittlere Hohlkammer 8 vollständig ausgefüllt. In den in der Fig. 1 oben und unten gezeigten Hohlkammern 8 ist hingegen kein wärmedämmendes Material enthalten.
Wie weiterhin in der Fig. 1 zu erkennen ist, ist in diesem Beispiel die Länge D der Dämmleiste 2 größer als eine Breite H. Ferner weisen die in der Zeichnung oben und unten angeordneten Hohlkammern 8 eine geringere Höhe d1 als die mittlere Hohlkammer 8 mit einer Höhe d2 auf. Dadurch können unterschiedliche Volumina der Hohlkammern 8 realisiert werden. Eine Dicke S1 der Längswände 4 entspricht einer Dicke S2 der Querstege 6.
Durch die Ausbildung der Leiste 2 als Mehrkammerhohlprofil mit dünnwandigen Längswänden 4 und Querstegen 6 kann die Wärmeleitung durch die Leiste 2 wesentlich herabgesetzt werden. Darüber hinaus wird durch das zusätzliche Vorsehen des wärmedämmenden Schaummaterials in einer oder auch mehreren Hohlkammer(n) die Wärmeleitung durch die Leiste 2 weiter erheblich herabgesetzt.
Die Ausschäumung der Hohlkammer bewirkt weiterhin eine Erhöhung der mechanischen Festigkeit der Konstruktion, indem das Füllmaterial einen Teil der mechanischen Belastung aufnimmt. Hierdurch können die Wanddicken der Längswände weiter verringert werden.
In einer in Fig. 2 gezeigte Querschnittsansicht einer zweiten Ausführungsform einer nicht in den Umfang der Erfindung fallenden Dämmleiste 2 wird der Aspekt der Aufnahme mechanischer Belastung durch das mit der Rahmenstruktur zusammenwirkende Füllmaterial deutlich. Diese Ausführungsform entspricht im wesentlichen der in Fig. 1 gezeigten Ausführungsform. Im Unterschied zu der in Fig. 1 dargestellten Leiste 2, ist jedoch eine Dicke S3 der Längswände 4, die an die mittlere, mit dem Dämmmaterial 14 gefüllte Hohlkammer 8 angrenzen, im Vergleich zu der Dicke S1 der Längswände 4, die an die in der Zeichnung oben und unten dargestellte, nicht mit dem Dämmmaterial 14 gefüllten Hohlkammern 8 angrenzen, reduziert ausgebildet. Hierbei lässt sich die Beziehung der reduzierten Wanddicke S3 zu der Dicke S1 durch die Gleichung S3 = 0,05 - 0,95xS1, vorzugsweise S3 = 0,15 - 0,95xS1, am meisten bevorzugt S3 = 0,2 - 0,8xS1, beschreiben.
Die Leiste 2 ist in den Bereichen verminderter Dicke S3 durch das Schaummaterial 14 zur Erhöhung der Festigkeit ausgesteift. Bei dieser Gestaltung der Dämmleiste 2.wird die Wärmeleitung durch Verringerung der Dicke der Längswände 4 zusätzlich herabgesetzt. Um die Festigkeit im Bereich der an das Dämmmaterial 14 angrenzenden Längswände 4 in jedem Fall sicherzustellen, ist in der gezeigten Ausführungsform das Schaummaterial 14 zusätzlich mit den jeweiligen Längswänden 4 durch eine Klebeverbindung verbunden, was ein Zusammenwirken der Rahmenstruktur mit dem Füllmaterial gewährleistet.
In Fig. 3 ist als drittes Ausführungsbeispiel im Querschnitt eine Dämmleiste 2 gezeigt, deren Aufbau im wesentlichen der in Fig. 1 gezeigten Dämmleiste 2 entspricht. Ein wesentlicher Unterschied zwischen dem ersten und dem in Fig. 3 gezeigten dritten Ausführungsbeispiel liegt darin, dass das Hohlprofil der Leiste 2 insgesamt zwei Hohlkammern 8 umfasst. Die beiden Hohlkammern 8 sind jeweils vollständig mit dem wärmeisolierenden Material 14 ausgeschäumt. Auf diese Weise ist der gesamte Hohlprofilkörper der Leiste 2 mit Dämmmaterial 14 gefüllt, wodurch eine sehr effektive Wärmedämmung ermöglich ist. Dadurch dass alle Wände der Rahmenstruktur an einen ausgeschäumten Bereich angrenzen, können die Wandstärken der Rahmenstruktur S1 und S2 sehr gering gewählt werden, da ein Teil der mechanischen Belastung durch das Schaummaterial aufgenommen wird, das somit die Rahmenstruktur versteift. Die geringe Wandstärke der Rahmenstruktur führt zudem zu einer Verringerung der Wärmeleitung durch die Dämmleiste. Die stabilisierende Ausschäumung kann zusätzlich mit der Rahmenstruktur verklebt sein. Eine ausreichende Haltung zwischen Rahmenstruktur und Dämmmaterial entsteht jedoch i.d.R. auch ohne zusätzliche Verklebung, insbesondere bei der Verwendung von schaumartigem Dämmstoff, der zunächst in einen Bereich der Dämmleiste gegossen und anschließend aufgeschäumt wird.,
Die in der Fig. 4 dargestellte Querschnittsansicht einer vierten Ausführungsform einer nicht in den Umfang der Erfindung fallenden Dämmleiste 2 unterscheidet sich von der in Fig. 1 gezeigten im wesentlichen dadurch, dass gabelartige Anschlussprofile 12 an der Außenkontur 10 der Leiste 2 ausgebildet sind. Darüber hinaus sind die in der in Fig. 4 oben und unten dargestellten Hohlkammern 8 geöffnet und weisen im Gegensatz zu den vorhergehenden Ausführungsformen keine geschlossene Querschnittskontur auf. Die mittlere Hohlkammer 8 ist hierbei stets mit dem wärmedämmenden Material 14 ausgefüllt, wobei die beiden äußeren Hohlkammern 8, die keinen vollständig geschlossenen Querschnitt aufweisen, (in der Zeichnung oben und unten befindlich) optional mit einem Dämmmaterial gefüllt sein können.
Fig. 5 zeigt eine fünfte Ausführungsform einer nicht in den Umfang der Erfindung fallenden Dämmleiste 2. Bei dieser Ausführungsform ist die Rahmenstruktur 7 aus zwei einzelnen Bauteilen ausgebildet. Diese Bauteile umfassen jeweils Querstege 6 und Längswände 4. Die Verbindung der beiden einzelnen Bauteile geschieht über das wärmedämmende Material 14. Das wärmedämmende Material 14 kann entweder zwischen die die Rahmenstruktur 7 bildenden Bauteile geklebt oder geklemmt werden, wobei eine formschlüssige Verbindung zwischen den Rahmenteilen 7 und dem wärmedämmenden Material 14 zum Einsatz kommen kann. Eine solche Verbindung ist beispielhaft in Fig. 6 gezeigt. Das wärmedämmende Material ist hierbei mit einer hinterschnittenen Feder versehen, die Rahmenstruktur 7 mit einer entsprechenden hinterschnittenen Nut.
Die in Fig. 5 gezeigte Ausführungsform der Dämmleiste 2 kann aber auch dadurch gefertigt werden, indem die Rahmenstruktur 7 zunächst mit drei Kammern gefertigt wird, wobei die mittlere Kammer, die anschließend das wärmedämmende Material, vorzugsweise Schaummaterial, 14 aufnimmt, zunächst breiter gefertigt wird, als die Endbreite H der Dämmleiste 2 ist. Nach Einbringung des Schaummaterials 14 in den mittleren Hohlraum und Aufschäumens werden die Seitenwände abgefräst. Das Schaummaterial 14 übernimmt somit einen wesentlichen Teil der mechanischen Belastung, die auf die Dämmleiste 2 wirkt.
Zur zusätzlichen Sicherung der Verbindung zwischen Rahmenstruktur 7 und wärmedämmendem Material 14 ist es neben der erwähnten Formgebung im Bereich der Verbindung zwischen Rahmenstruktur und wärmedämmendem Material möglich, durch Aufbringung von Klebematerial die Verbindung zusätzlich zu festigen. Die Formgebung, die die Verbindung zusätzlich sichert, im Verbindungsbereich zwischen Rahmenstruktur 7 und Schaummaterial 14 kann wie in Fig. 7 gezeigt, auch aus einer Verzahnung an der Rahmenstruktur und einer korrespondierenden Verzahnung am wärmedämmenden Material bestehen. Dies erhöht die Haftung zwischen wärmedämmendem Material und Rahmenstruktur 7 und sorgt somit für eine formschlüssige Verbindung.
Das in den Fig. 5, 6 und 7 gezeigte Anschlussprofil 12 an die Haltekontur eines Metallprofils (nicht gezeigt) ist auf beiden Seiten der Dämmleiste 2 jeweils als einteiliger Schwalbenschwanz ausgebildet, der in eine entsprechende Aussparung an einer Haltekontur eines Metallprofils eingreift. Selbstverständlich sind hier wiederum andere Formgebungen entsprechend der Haltekontur des Metallprofils denkbar.
Die in den Figuren 5, 6 und 7 gezeigten Ausführungsformen der Dämmleiste besitzen eine unterbrochene Rahmenstruktur 7. Dadurch, dass keine direkte Verbindung durch die Rahmenstruktur besteht, und der Wärmefluss nur über das wärmedämmende Material erfolgt, wird der Wärmefluss in der Dämmleiste stark begrenzt. Somit werden gute Wärmedämmeigenschaften erzielt.
Eine weitere Ausführungsform, die derjenigen aus Fig. 5 ähnelt, ist in Fig. 8 gezeigt. Das Dämmmaterial 14 ist hier zwischen zwei Teile der Rahmenstruktur 7 eingeklebt. Im Gegensatz zu den bisher gezeigten Ausführungsformen schließt das Wärmedämmmaterial, das zwischen die Rahmenstruktur 7 geklebt ist, jedoch nicht bündig mit der Rahmenstruktur 7 und insbesondere deren Längswänden 4 ab, sondern ist seitlich ausgedehnt. Je nach Ausbildung des Verbundprofils, für das die Dämmleiste 2 gedacht ist, kann dies vorteilhaft sein, da eine höhere Wärmedämmung erzielt wird. Außerdem wird der Wärmeaustausch durch Strahlung behindert, was ebenfalls zum Erzielen guter Dämmeigenschaften ausgenützt wird. Eine Verringerung des Konvektionsraums sorgt dabei ebenfalls für verbesserte Dämmeigenschaften.
Fig. 9, 10 und 11 zeigen verschiedene Aspekte einer Ausführungsform der vorliegenden Erfindung. Bei dieser Ausführungsform ist die Rahmenstruktur 7 aus einer im wesentlichen durchgängigen Längswand 4 und zwei an deren Enden angeordneten Querstegen 6 ausgebildet. Diese Querstege dienen der Aufnahme des Dämmmaterials und bewirken die gewünschte und erforderliche Stabilisierung der Dämmleiste.
Das Dämmmaterial 14 ist seitlich von der Längswand an beiden Seiten angeordnet, im Fall der Figur 9 symmetrisch, im Fall der Figuren 10 und 11 asymmetrisch. Die in Fig. 9 gezeigte Längswand 4 weist Unterbrechungen 13 auf, die in Fig. 10 und 11 gezeigten Längswände 4 nicht. Eine Unterbrechung der Längswand bzw. Aussparungen in der Längswand hemmen den Wärmefluss, der über das Dämmmaterial aufgrund eines geringeren Wärmeleitkoeffizienten reduziert wird. Als Anschlussprofil 12 an die Haltekontur eines Metallprofils (nicht gezeigt) dient jeweils ein Schwalbenschwanz, der mittig an der Außenseite der Querprofile 6 angebracht ist. Weiterhin besitzen die Unterbrechungen in der Längswand den Vorteil, dass beim Aufschäumen des Dämmmaterials dieses sich durch die Aussparungen in der Längswand erstreckt und somit die beiden Bereiche des Dämmmaterials auf beiden Seiten der Längswände aus einem einzigen Stück gebildet sind. Dies erhöht die mechanische Stabilität des Dämmmaterials.
Seitlich von der Längswand 4 ist das Dämmmaterial angebracht. Dieses wärmedämmende Material 14, z. B. Schaummaterial, kann entweder an die Rahmenstruktur 7 geklebt sein, wobei die in den Fig. 9, 10 und 11 gezeigten Querprofile eine bogenförmige Form aufweisen und somit die Schaummasse 14 zusätzlich halten und gegen Lösen gegenüber der Rahmenstruktur sichern. Das Dämmmaterial kann aber auch ähnlich wie bei Fig. 5 beschrieben, dadurch eingebracht werden, dass zunächst ein geschlossenes Hohlprofil ausgebildet wird, in das das Schaummaterial 14 gegossen wird, und anschließend die äußeren Längswände weggefräst werden, um so zur endgültigen Form zu kommen, die in Fig. 9 gezeigt ist. Fig. 10 und Fig. 11 zeigen ähnlich wie Fig. 8 eine Dämmleiste 2, bei der zumindest ein Teil des wärmedämmenden Materials 14, das in Verbindung mit der Rahmenstruktur 7 steht, aus dieser vorsteht. Dieser Vorsprung des Dämmmaterials 14 kann über die gesamte Länge der Dämmleiste vorhanden sein, oder aber nur über Teilbereiche. Wie oben erwähnt, dient er, soweit es die Platzverhältnisse in der Gesamtanordnung zulassen, der zusätzlichen Dämmung durch Verringerung des Konvektionsraumes und als Strahlungsbarriere.
Die Dämmleiste 2 in einer der in Fig. 9, 10 und 11 gezeigten Ausführungsformen bietet wiederum gute Isolations- und Wärmedämmeigenschaften, da die Rahmenstruktur dünn ausgebildet sein kann, da das wärmedämmende Material 14 einen Teil der mechanischen Belastung aufnimmt. Dünne Profile sorgen für eine geringe Wärmeleitung und somit gute Wärmedämmeigenschaften.
In den Fig. 13 bis 17 sind weitere Ausführungsformen der vorliegenden Erfindung gezeigt. Diesen Ausführungsformen ist gemeinsam, dass, wie aus den Seitenansichten (Fig. 12, 15, 16 und 17) zu ersehen ist, die Dämmleiste entlang ihrer Längsrichtung wechselnde Querschnitte aufweist. Insbesondere ist zu sehen, dass mindestens eine der Längswände 4 der Dämmleiste 2 mit Aussparungen 15 versehen ist, was zu den Querschnittsänderungen führt. Diese Aussparungen im ansonsten geschlossenen Hohlprofil dieser Ausführungsform verringern zusätzlich den Wärmefluss. Die Längswand kann nur in einem begrenzten Bereich als Wärmebrücke dienen. Der Verlauf des Wärmestroms ist durch einen Pfeil Q in den Fig. 12, 15, 16 und 17 angedeutet. Die Aussparungen 15 in der Längswand 4 der Dämmleiste können unterschiedliche Formen (Kreis, Rechteck, Dreieck etc.) annehmen. Einige davon sind durch die Abbildungen 12, 15, 16 und 17 gezeigt, jedoch sind andere Geometrien ebenso denkbar. Bei einer versetzten Anordnung der Aussparungen in mehreren Reihen, wie in Fig. 16 und 17 gezeigt ist, wird der Wärmestrom weiter eingeschränkt und die Wärmedämmung somit besser, da keine geradlinige Verbindung zwischen dem wärmeren und kälteren Teil der Dämmleiste besteht. Da in dieser Ausführungsform wiederum das wärmedämmende Material 14 einen Teil der mechanischen Belastung auf die Dämmleiste 2 aufnimmt, können verhältnismäßig große Aussparungsbereiche vorgesehen sein, ohne die Gesamtstabilität der Dämmleiste zu gefährden.
Schnitte durch die Dämmleiste nach Fig. 12 sind in den Fig. 13 und 14 gezeigt. Fig. 13 entspricht dabei einem Schnitt an der mit A-A gekennzeichneten Stelle aus Fig. 12, Fig. 14 einem Schnitt an der mit B-B gekennzeichneten Stelle. In der gezeigten Ausführungsform ist zu erkennen, dass die Dämmleiste zusätzlich einen aus dem Hauptprofil vorstehenden Bereich aufweist. Dies ist jedoch nicht unbedingt erforderlich, sondern ein bündiges Ausbilden der Schaumfüllung 14 in der Dämmleiste 2, die Aussparungen in mindestens einer ihrer Längswände 4 aufweist, ist denkbar und in Fig. 18 dargestellt.
Ein weiteres Merkmal ist in den Fig. 19 und 20 gezeigt. Die dargestellte Ausführungsform basiert auf der in Fig. 2 gezeigten Ausführungsform. Zur zusätzlichen Wärmedämmung ist jedoch ein weiterer Bereich wärmedämmenden Materials 18 an der Dämmleiste 2 befestigt. In der Regel wird dieser zusätzliche Dämmstoff 18 aufgeklebt. Wie in Fig. 19 gezeigt, kann eine Halterung 19 für diese Zusatzdämmung in der Rahmenstruktur integriert sein in Form von Vorsprüngen, die zusätzlich die Strahlungsfläche erhöhen, wie in Fig. 20 gezeigt, kann der zusätzliche Dämmbereich ohne weitere Führung aufgeklebt sein. Ein Anbringen einer Haltestruktur 19 bietet neben einer zusätzlichen Sicherung gegen Verrutschen des Dämmmaterials den Vorteil, dass das Dämmmaterial in diesen Haltebereich auch eingeklemmt werden kann, oder der Haltebereich mit dem Dämmmaterial eine formschlüssige Verbindung eingehen kann.
Der wesentliche Aspekt der erfindungsgemäßen Dämmleiste liegt darin, dass, da erkannt wurde, dass das wärmedämmende Material einen Teil der mechanischen Belastung aufnimmt, die Rahmenstruktur der Dämmleiste dünnwandig ausgebildet sein kann bzw. an manchen Bereichen Aussparungen oder Unterbrechungen aufweisen kann. Dies führt dazu, dass die Wärmedämmeigenschaften der Dämmleiste verbessert werden, ohne auf mechanische Festigkeitseigenschaften verzichten zu müssen.
In jedem Fall sind gegenüber herkömmlichen Dämmleisten weitere konstruktive Möglichkeiten zur Wärmedämmung durchführbar, da die Festigkeit des Dämmmaterials ausgenützt wird, um die Dämmleiste gegenüber mechanischer Beanspruchung ausreichend stabil zu machen.

Claims (16)

  1. Dämmleiste aus Kunststoff für ein Verbundprofil, umfassend:
    eine Rahmenstruktur (4, 6);
    Anschlussprofile (12), über welche die Dämmleiste (10) in einer Haltekontur eines Metallprofils verankerbar ist; wobei
    die Rahmenstruktur eine Längswand umfasst, die dünnwandig ist, wobei eine Wanddicke (S1, S3) des dünnwandigen Bereichs in einem Bereich zwischen 0,3 mm und 1,2 mm und vorzugsweise zwischen 0,5 mm und 1,0 mm liegt; sowie
    wärmedämmendes Material (14) auf beiden Seiten der Längswand mit zumindest einem Teil der Längswand in Verbindung steht.
  2. Dämmleiste nach Anspruch 1, dadurch gekennzeichnet, dass das wärmedämmende Material (14) mit zumindest einem Teil der Längswand so zusammenwirkt, dass es einen Teil der mechanischen Belastung auf die Dämmleiste (2) aufnimmt.
  3. Dämmleiste nach Anspruch 1 oder 2, dadurch gekennzeichnet, dass die Rahmenstruktur weiterhin mindestens zwei Querstege (6) umfasst.
  4. Dämmleiste nach Anspruch 3, dadurch gekennzeichnet, dass jeweils ein Quersteg (6) an jeweils einem Ende der Längswand (4) angeordnet ist und mit ihr verbunden ist.
  5. Dämmleiste nach einem der vorhergehenden Ansprüche, dadurch gekennzeichnet, dass die Rahmenstruktur (4, 6) einstückig gefertigt ist.
  6. Dämmleiste nach einem der Ansprüche 1 bis 5, dadurch gekennzeichnet, dass eine Dicke S3 des Bereichs der Rahmenstruktur (4), der an den Bereich mit wärmedämmendem Material (14) angrenzt, im Vergleich zur Dicke der übrigen Bereiche der Rahmenstruktur (4, 6), die nicht an wärmedämmendes Material angrenzen, reduziert ausgebildet ist.
  7. Dämmleiste nach einem der vorhergehenden Ansprüche, dadurch gekennzeichnet, dass die Dämmleiste (2) eine Länge D von 30 mm bis 100 mm, insbesondere von 40 mm bis 70 mm, und eine Breite H von 10 mm bis 100 mm, insbesondere von 15 mm bis 80 mm, oder von 20 mm bis 40 mm, aufweist.
  8. Dämmleiste nach einem der vorhergehenden Ansprüche, dadurch gekennzeichnet, dass das wärmedämmende Material (14) an die Längswand geklebt (4, 6; 7)oder geklemmt ist oder durch eine formschlüssige Verbindung mit ihr verbunden ist.
  9. Dämmleiste nach einem der vorhergehenden Ansprüche, dadurch gekennzeichnet, dass das wärmedämmende Material (14) ein schaumartiges Material vorzugsweise Polyurethan oder Polystyrol ist.
  10. Dämmleiste nach einem der vorhergehenden Ansprüche, dadurch gekennzeichnet, dass das wärmedämmende Material (14) streifenförmig ist.
  11. Dämmleiste nach einem der vorhergehenden Ansprüche, dadurch gekennzeichnet, dass die Dämmleiste aus Polypropylen, Polyethylen, Polyamid, Acrylnitril - Butadien-Styrol oder Polyethylenterephthalat ausgebildet ist.
  12. Dämmleiste nach einem der Ansprüche 1 bis 5, dadurch gekennzeichnet, dass die Dämmleiste in mindestens einer der Längswände (4) Aussparungen (15) aufweist, die in einer oder mehreren Reihen angeordnet sind.
  13. Dämmleiste nach einem der vorhergehenden Ansprüche, dadurch gekennzeichnet, dass das wärmedämmende Material (14) aus dem Rahmenprofil (4, 6) vorsteht.
  14. Dämmleiste nach einem der vorhergehenden Ansprüche, dadurch gekennzeichnet, dass die Rahmenstruktur (4,6) Vorsprünge (19) umfasst.
  15. Dämmleiste nach Anspruch 26, dadurch gekennzeichnet, dass zwischen den Vorsprüngen (19) zusätzliches wärmedämmendes Material. (18) angebracht ist.
  16. Dämmleiste nach einem der vorhergehenden Ansprüche, dadurch gekennzeichnet, dass zusätzliches wärmedämmendes Material (18) an der Außenseite der Dämmleiste angebracht ist.
EP03005354A 1998-08-05 1999-08-04 Dämmleiste Expired - Lifetime EP1318262B1 (de)

Applications Claiming Priority (3)

Application Number Priority Date Filing Date Title
DE19835439A DE19835439A1 (de) 1998-08-05 1998-08-05 Hohldämmleiste
DE19835439 1998-08-05
EP99115054A EP0978619B9 (de) 1998-08-05 1999-08-04 Dämmleiste

Related Parent Applications (2)

Application Number Title Priority Date Filing Date
EP99115054A Division EP0978619B9 (de) 1998-08-05 1999-08-04 Dämmleiste
EP99115054.1 Division 1999-08-04

Publications (2)

Publication Number Publication Date
EP1318262A1 true EP1318262A1 (de) 2003-06-11
EP1318262B1 EP1318262B1 (de) 2010-10-06

Family

ID=7876590

Family Applications (2)

Application Number Title Priority Date Filing Date
EP03005354A Expired - Lifetime EP1318262B1 (de) 1998-08-05 1999-08-04 Dämmleiste
EP99115054A Expired - Lifetime EP0978619B9 (de) 1998-08-05 1999-08-04 Dämmleiste

Family Applications After (1)

Application Number Title Priority Date Filing Date
EP99115054A Expired - Lifetime EP0978619B9 (de) 1998-08-05 1999-08-04 Dämmleiste

Country Status (3)

Country Link
EP (2) EP1318262B1 (de)
AT (2) ATE483887T1 (de)
DE (3) DE19835439A1 (de)

Cited By (2)

* Cited by examiner, † Cited by third party
Publication number Priority date Publication date Assignee Title
EP1510643A1 (de) * 2003-09-01 2005-03-02 Forster Rohr- &amp; Profiltechnik AG Profil und Verfahren zum Herstellen eines Profils
EP1531228A1 (de) 2003-11-11 2005-05-18 Technoform Caprano und Brunnhofer GmbH &amp; Co. KG Verbundprofil

Families Citing this family (13)

* Cited by examiner, † Cited by third party
Publication number Priority date Publication date Assignee Title
DE10033388A1 (de) 2000-07-08 2002-01-24 Wicona Bausysteme Gmbh Wärmegedämmtes Verbundprofil, insbesondere für Fenster, Türen, Fassaden und dergleichen
DE10039980A1 (de) 2000-08-16 2002-02-28 Harald Schulz Hohldämmleiste mit geschäumtem Kunststoff
DE10212452A1 (de) * 2002-03-20 2003-10-02 Schueco Int Kg Verfahren zur Herstellung eines wärmedämmenden Isolier- und Verbindungssteges und nach diesem Verfahren hergestellter Isolier- und Verbindungssteg
DE102004038868A1 (de) * 2004-08-10 2006-02-23 Hydro Building Systems Gmbh Wärmegedämmtes Profil für Fenster, Türen, Fassadenelemente und dergleichen
DE202007000004U1 (de) * 2007-02-27 2008-04-10 Henkenjohann, Johann Fensterprofil
DE202007016649U1 (de) * 2007-04-02 2008-04-30 Technoform Caprano Und Brunnhofer Gmbh & Co. Kg Leiterförmiger Isoliersteg für ein Verbundprofil für Fenster-, Türen- und Fassadenelemente und Verbundprofil für Fenster-, Türen- und Fassadenelemente
GB2464558A (en) * 2008-10-25 2010-04-28 Bowater Building Products Ltd Window frame with thermal break
FR2940345B1 (fr) * 2008-12-19 2015-07-17 Ouest Alu Menuiserie pour baie de batiment, et profils pour la confection d'une telle menuiserie
DE102009037851A1 (de) * 2009-08-18 2011-02-24 Technoform Caprano Und Brunnhofer Gmbh & Co. Kg Mehrteiliger Isolierkörper zur thermischen Trennung in Profilen für Fenster-, Türen- und Fassadenelemente, Profil für Fenster-, Türen- und Fassadenelemente sowie Herstellungsverfahren für den Isolierkörper und das Profil
WO2013189604A1 (de) 2012-06-20 2013-12-27 Technoform Bautec Holding Gmbh Isoliersteg für ein verbundprofil für fenster-, türen- oder fassadenelemente und verfahren zum herstellen eines solchen isolierstegs und verbundprofil mit einem solchen isoliersteg
DE102014103950A1 (de) 2014-03-21 2015-09-24 Heroal - Johann Henkenjohann Gmbh & Co. Kg Isolierelement für Fassaden- oder Lichtdachkonstruktionen
EP3162531A1 (de) 2015-10-30 2017-05-03 Technoform Tailored Solutions Holding GmbH Verfahren zur herstellung geschäumter profile und durch das verfahren erhaltene geschäumte profile
CN110094137B (zh) * 2019-03-15 2020-08-28 山西鑫铭格节能科技股份有限公司 一种复合材料节能门窗型材

Citations (4)

* Cited by examiner, † Cited by third party
Publication number Priority date Publication date Assignee Title
DE3227509A1 (de) * 1982-07-23 1984-01-26 Wilfried Dipl.-Ing. 7031 Nufringen Ensinger Verbundprofil, insbesondere fuer rahmen von fenstern, tueren und fassadenelementen
EP0636760A2 (de) * 1993-06-30 1995-02-01 EDUARD HUECK GmbH &amp; CO. KG Rahmen füe ein Fenster, einer Tür oder Fassade
DE29507046U1 (de) * 1995-04-26 1996-08-22 Hörmann KG Eckelhausen, 66625 Nohfelden Gebäudeabschluß
US5727356A (en) * 1994-08-04 1998-03-17 Ensinger Gmbh & Co. Composite section for frames of windows, doors, facade elements and the like

Family Cites Families (7)

* Cited by examiner, † Cited by third party
Publication number Priority date Publication date Assignee Title
DE2930689C2 (de) * 1979-07-28 1984-10-18 Friedl, Ekkehard, 5272 Wipperfürth Verfahren zum Herstellen eines Verbundfensters
DE3342700A1 (de) * 1983-07-06 1985-01-17 Helmar Dr.Dr. 8530 Neustadt Nahr Verfahren zur herstellung eines waermeisolierenden profilkoerpers
DE4238750C2 (de) * 1992-11-17 1995-09-14 Wicona Bausysteme Gmbh Wärmegedämmtes Verbundprofil
DE19513836A1 (de) * 1995-04-12 1996-10-17 Ekonal Bausysteme Gmbh & Co Kg Fenster, Tür o. dgl. mit einem Blendrahmen und einem zugehörigen Flügelrahmen
DE59610159D1 (de) * 1995-09-05 2003-03-27 Norsk Hydro As Wärmegedämmtes Verbundprofil
DE29704201U1 (de) * 1996-03-13 1997-06-26 W. Hartmann & Co (Gmbh & Co), 20459 Hamburg Wärmegedämmtes Verbundprofil
EP0906999B2 (de) * 1997-10-04 2008-05-28 Albert Krämer Isoliersteg für Verbundprofile von Fenster- oder Türrahmen

Patent Citations (4)

* Cited by examiner, † Cited by third party
Publication number Priority date Publication date Assignee Title
DE3227509A1 (de) * 1982-07-23 1984-01-26 Wilfried Dipl.-Ing. 7031 Nufringen Ensinger Verbundprofil, insbesondere fuer rahmen von fenstern, tueren und fassadenelementen
EP0636760A2 (de) * 1993-06-30 1995-02-01 EDUARD HUECK GmbH &amp; CO. KG Rahmen füe ein Fenster, einer Tür oder Fassade
US5727356A (en) * 1994-08-04 1998-03-17 Ensinger Gmbh & Co. Composite section for frames of windows, doors, facade elements and the like
DE29507046U1 (de) * 1995-04-26 1996-08-22 Hörmann KG Eckelhausen, 66625 Nohfelden Gebäudeabschluß

Cited By (5)

* Cited by examiner, † Cited by third party
Publication number Priority date Publication date Assignee Title
EP1510643A1 (de) * 2003-09-01 2005-03-02 Forster Rohr- &amp; Profiltechnik AG Profil und Verfahren zum Herstellen eines Profils
WO2005028797A1 (de) * 2003-09-01 2005-03-31 Forster Rohr- & Profiltechnik Ag Profil und verfahren zum herstellen eines profils
RU2351727C2 (ru) * 2003-09-01 2009-04-10 Форстер Рор- Унд Профильтехник Аг Профиль и способ его изготовления
EP1531228A1 (de) 2003-11-11 2005-05-18 Technoform Caprano und Brunnhofer GmbH &amp; Co. KG Verbundprofil
US7104019B2 (en) 2003-11-11 2006-09-12 Technoform Caprano Und Brunnhofer Gmbh & Co. Kg Composite insulating profile

Also Published As

Publication number Publication date
ATE483887T1 (de) 2010-10-15
EP0978619A2 (de) 2000-02-09
DE59915206D1 (de) 2010-11-18
DE59905978D1 (de) 2003-07-24
EP0978619B9 (de) 2004-08-11
EP0978619A3 (de) 2000-09-20
DE19835439A1 (de) 2000-02-17
ATE243294T1 (de) 2003-07-15
EP1318262B1 (de) 2010-10-06
EP0978619B1 (de) 2003-06-18

Similar Documents

Publication Publication Date Title
EP1196677B1 (de) Kunststoffhohlprofil
EP0978619B1 (de) Dämmleiste
EP0636760B1 (de) Rahmen füe ein Fenster, einer Tür oder Fassade
DE3407639A1 (de) Verbundstab, insbesondere fuer fensterrahmen, tuerrahmen und rollaeden
EP0569986B1 (de) Verbindung für winklig aneinanderstossende Hohlprofilstäbe
EP2010031B1 (de) Tür für ein kältegerät
EP3514310B1 (de) Verbinderset zur verbindung einer bodenschwelle mit einem blendrahmen eines fensters oder einer tür
EP1180574A2 (de) Hohldämmleiste mit geschäumten Kunststoff
EP4102022A1 (de) Fenster- oder tür-hohlkammerprofil, system mit einem solchen hohlkammerprofil und daraus hergestellter rahmen
AT411378B (de) Rahmenverbreiterung für ein fenster oder eine tür
AT390473B (de) Profilrahmen fuer schiebetueren oder -fenster
DE19712278A1 (de) Bodenelement
DE10028802A1 (de) Bauelement und Verwendung eines Trägers sowie Verfahren zur Herstellung eines Fassadenelementes
EP3783184B1 (de) Profilverbinder zur verbindung von zargenprofilen und anordnung damit
DE29912375U1 (de) Kunststoffhohlprofil mit eingelagerten Bändern oder Streifen aus faserverstärktem Kunststoff, vorzugsweise Rahmenprofil für Fenster oder Türen
DE29617862U1 (de) Wand- und/oder Türelement sowie Rahmenteil und Deckplatte zu dessen Herstellung
DE4220178A1 (de) Tragstrukturelement für Traggestelle von Tischmöbeln und dergleichen Möbelstücken sowie Verfahren zur Herstellung eines solchen Tragstrukturelements
DE29821183U1 (de) Isolierverbund für Aluminium-Profile
DE10115970B4 (de) Zarge, insbesondere für eine Brandschutztür
DE3335137C2 (de) Rolladenstab
DE202008012945U1 (de) Isoliersteg für Metall-Verbundprofile
AT330418B (de) Wandkonstruktion
DE19651376C2 (de) Brandgeschütztes Mehrkammer-Hohlprofil aus Aluminium oder dergleichen
EP2031170A2 (de) Fenster- oder Tuerprofil
EP4325017A1 (de) Isoliersteg zum verbinden zweier profilelemente zur herstellung eines wärmegedämmten profils und ein solches profil

Legal Events

Date Code Title Description
PUAI Public reference made under article 153(3) epc to a published international application that has entered the european phase

Free format text: ORIGINAL CODE: 0009012

17P Request for examination filed

Effective date: 20030312

AC Divisional application: reference to earlier application

Ref document number: 0978619

Country of ref document: EP

Kind code of ref document: P

AK Designated contracting states

Designated state(s): AT BE CH CY DE DK ES FI FR GB GR IE IT LI LU MC NL PT SE

AKX Designation fees paid

Designated state(s): AT BE CH CY DE DK ES FI FR GB GR IE IT LI LU MC NL PT SE

17Q First examination report despatched

Effective date: 20080213

GRAP Despatch of communication of intention to grant a patent

Free format text: ORIGINAL CODE: EPIDOSNIGR1

GRAS Grant fee paid

Free format text: ORIGINAL CODE: EPIDOSNIGR3

GRAA (expected) grant

Free format text: ORIGINAL CODE: 0009210

AC Divisional application: reference to earlier application

Ref document number: 0978619

Country of ref document: EP

Kind code of ref document: P

AK Designated contracting states

Kind code of ref document: B1

Designated state(s): AT BE CH CY DE DK ES FI FR GB GR IE IT LI LU MC NL PT SE

REG Reference to a national code

Ref country code: GB

Ref legal event code: FG4D

Free format text: NOT ENGLISH

REG Reference to a national code

Ref country code: CH

Ref legal event code: EP

REG Reference to a national code

Ref country code: IE

Ref legal event code: FG4D

Free format text: LANGUAGE OF EP DOCUMENT: GERMAN

REF Corresponds to:

Ref document number: 59915206

Country of ref document: DE

Date of ref document: 20101118

Kind code of ref document: P

REG Reference to a national code

Ref country code: CH

Ref legal event code: NV

Representative=s name: E. BLUM & CO. AG PATENT- UND MARKENANWAELTE VSP

REG Reference to a national code

Ref country code: NL

Ref legal event code: VDEP

Effective date: 20101006

REG Reference to a national code

Ref country code: IE

Ref legal event code: FD4D

PG25 Lapsed in a contracting state [announced via postgrant information from national office to epo]

Ref country code: SE

Free format text: LAPSE BECAUSE OF FAILURE TO SUBMIT A TRANSLATION OF THE DESCRIPTION OR TO PAY THE FEE WITHIN THE PRESCRIBED TIME-LIMIT

Effective date: 20101006

Ref country code: FI

Free format text: LAPSE BECAUSE OF FAILURE TO SUBMIT A TRANSLATION OF THE DESCRIPTION OR TO PAY THE FEE WITHIN THE PRESCRIBED TIME-LIMIT

Effective date: 20101006

Ref country code: NL

Free format text: LAPSE BECAUSE OF FAILURE TO SUBMIT A TRANSLATION OF THE DESCRIPTION OR TO PAY THE FEE WITHIN THE PRESCRIBED TIME-LIMIT

Effective date: 20101006

Ref country code: PT

Free format text: LAPSE BECAUSE OF FAILURE TO SUBMIT A TRANSLATION OF THE DESCRIPTION OR TO PAY THE FEE WITHIN THE PRESCRIBED TIME-LIMIT

Effective date: 20110207

PG25 Lapsed in a contracting state [announced via postgrant information from national office to epo]

Ref country code: GR

Free format text: LAPSE BECAUSE OF FAILURE TO SUBMIT A TRANSLATION OF THE DESCRIPTION OR TO PAY THE FEE WITHIN THE PRESCRIBED TIME-LIMIT

Effective date: 20110107

PG25 Lapsed in a contracting state [announced via postgrant information from national office to epo]

Ref country code: IE

Free format text: LAPSE BECAUSE OF FAILURE TO SUBMIT A TRANSLATION OF THE DESCRIPTION OR TO PAY THE FEE WITHIN THE PRESCRIBED TIME-LIMIT

Effective date: 20101006

Ref country code: ES

Free format text: LAPSE BECAUSE OF FAILURE TO SUBMIT A TRANSLATION OF THE DESCRIPTION OR TO PAY THE FEE WITHIN THE PRESCRIBED TIME-LIMIT

Effective date: 20110117

PLBE No opposition filed within time limit

Free format text: ORIGINAL CODE: 0009261

STAA Information on the status of an ep patent application or granted ep patent

Free format text: STATUS: NO OPPOSITION FILED WITHIN TIME LIMIT

PG25 Lapsed in a contracting state [announced via postgrant information from national office to epo]

Ref country code: DK

Free format text: LAPSE BECAUSE OF FAILURE TO SUBMIT A TRANSLATION OF THE DESCRIPTION OR TO PAY THE FEE WITHIN THE PRESCRIBED TIME-LIMIT

Effective date: 20101006

26N No opposition filed

Effective date: 20110707

PGFP Annual fee paid to national office [announced via postgrant information from national office to epo]

Ref country code: CH

Payment date: 20110831

Year of fee payment: 13

REG Reference to a national code

Ref country code: DE

Ref legal event code: R097

Ref document number: 59915206

Country of ref document: DE

Effective date: 20110707

PGFP Annual fee paid to national office [announced via postgrant information from national office to epo]

Ref country code: AT

Payment date: 20110831

Year of fee payment: 13

PG25 Lapsed in a contracting state [announced via postgrant information from national office to epo]

Ref country code: IT

Free format text: LAPSE BECAUSE OF FAILURE TO SUBMIT A TRANSLATION OF THE DESCRIPTION OR TO PAY THE FEE WITHIN THE PRESCRIBED TIME-LIMIT

Effective date: 20101006

BERE Be: lapsed

Owner name: SCHULZ, HARALD, DR.-ING.

Effective date: 20110831

PG25 Lapsed in a contracting state [announced via postgrant information from national office to epo]

Ref country code: MC

Free format text: LAPSE BECAUSE OF NON-PAYMENT OF DUE FEES

Effective date: 20110831

GBPC Gb: european patent ceased through non-payment of renewal fee

Effective date: 20110804

REG Reference to a national code

Ref country code: FR

Ref legal event code: ST

Effective date: 20120430

PG25 Lapsed in a contracting state [announced via postgrant information from national office to epo]

Ref country code: BE

Free format text: LAPSE BECAUSE OF NON-PAYMENT OF DUE FEES

Effective date: 20110831

PG25 Lapsed in a contracting state [announced via postgrant information from national office to epo]

Ref country code: FR

Free format text: LAPSE BECAUSE OF NON-PAYMENT OF DUE FEES

Effective date: 20110831

Ref country code: GB

Free format text: LAPSE BECAUSE OF NON-PAYMENT OF DUE FEES

Effective date: 20110804

REG Reference to a national code

Ref country code: CH

Ref legal event code: PL

REG Reference to a national code

Ref country code: AT

Ref legal event code: MM01

Ref document number: 483887

Country of ref document: AT

Kind code of ref document: T

Effective date: 20120804

PG25 Lapsed in a contracting state [announced via postgrant information from national office to epo]

Ref country code: LI

Free format text: LAPSE BECAUSE OF NON-PAYMENT OF DUE FEES

Effective date: 20120831

Ref country code: CH

Free format text: LAPSE BECAUSE OF NON-PAYMENT OF DUE FEES

Effective date: 20120831

REG Reference to a national code

Ref country code: DE

Ref legal event code: R082

Ref document number: 59915206

Country of ref document: DE

Representative=s name: KRAMER - BARSKE - SCHMIDTCHEN, DE

PG25 Lapsed in a contracting state [announced via postgrant information from national office to epo]

Ref country code: LU

Free format text: LAPSE BECAUSE OF NON-PAYMENT OF DUE FEES

Effective date: 20110804

Ref country code: CY

Free format text: LAPSE BECAUSE OF EXPIRATION OF PROTECTION

Effective date: 20101006

PG25 Lapsed in a contracting state [announced via postgrant information from national office to epo]

Ref country code: AT

Free format text: LAPSE BECAUSE OF NON-PAYMENT OF DUE FEES

Effective date: 20120804

REG Reference to a national code

Ref country code: DE

Ref legal event code: R082

Ref document number: 59915206

Country of ref document: DE

Representative=s name: KRAMER - BARSKE - SCHMIDTCHEN, DE

Effective date: 20130521

Ref country code: DE

Ref legal event code: R081

Ref document number: 59915206

Country of ref document: DE

Owner name: TECHNOFORM BAUTEC HOLDING GMBH, DE

Free format text: FORMER OWNER: SCHULZ, HARALD, DR.-ING., 86381 KRUMBACH, DE

Effective date: 20130521

Ref country code: DE

Ref legal event code: R082

Ref document number: 59915206

Country of ref document: DE

Representative=s name: KRAMER BARSKE SCHMIDTCHEN PATENTANWAELTE PARTG, DE

Effective date: 20130521

PGFP Annual fee paid to national office [announced via postgrant information from national office to epo]

Ref country code: DE

Payment date: 20180803

Year of fee payment: 20

REG Reference to a national code

Ref country code: DE

Ref legal event code: R071

Ref document number: 59915206

Country of ref document: DE