EP1270833A2 - Bauelement zur Wärmedämmung - Google Patents

Bauelement zur Wärmedämmung Download PDF

Info

Publication number
EP1270833A2
EP1270833A2 EP02008611A EP02008611A EP1270833A2 EP 1270833 A2 EP1270833 A2 EP 1270833A2 EP 02008611 A EP02008611 A EP 02008611A EP 02008611 A EP02008611 A EP 02008611A EP 1270833 A2 EP1270833 A2 EP 1270833A2
Authority
EP
European Patent Office
Prior art keywords
fastening devices
plate
component
component according
building
Prior art date
Legal status (The legal status is an assumption and is not a legal conclusion. Google has not performed a legal analysis and makes no representation as to the accuracy of the status listed.)
Granted
Application number
EP02008611A
Other languages
English (en)
French (fr)
Other versions
EP1270833A3 (de
EP1270833B1 (de
Current Assignee (The listed assignees may be inaccurate. Google has not performed a legal analysis and makes no representation or warranty as to the accuracy of the list.)
Schoeck Bauteile GmbH
Original Assignee
SCHOECK ENTWICKLUNGSGESELLSCHAFT MBH
Schock Entwicklungsgesellschaft Mbh
SCHOECK ENTWICKLUNGSGMBH
Priority date (The priority date is an assumption and is not a legal conclusion. Google has not performed a legal analysis and makes no representation as to the accuracy of the date listed.)
Filing date
Publication date
Application filed by SCHOECK ENTWICKLUNGSGESELLSCHAFT MBH, Schock Entwicklungsgesellschaft Mbh, SCHOECK ENTWICKLUNGSGMBH filed Critical SCHOECK ENTWICKLUNGSGESELLSCHAFT MBH
Publication of EP1270833A2 publication Critical patent/EP1270833A2/de
Publication of EP1270833A3 publication Critical patent/EP1270833A3/de
Application granted granted Critical
Publication of EP1270833B1 publication Critical patent/EP1270833B1/de
Anticipated expiration legal-status Critical
Expired - Lifetime legal-status Critical Current

Links

Images

Classifications

    • EFIXED CONSTRUCTIONS
    • E04BUILDING
    • E04BGENERAL BUILDING CONSTRUCTIONS; WALLS, e.g. PARTITIONS; ROOFS; FLOORS; CEILINGS; INSULATION OR OTHER PROTECTION OF BUILDINGS
    • E04B1/00Constructions in general; Structures which are not restricted either to walls, e.g. partitions, or floors or ceilings or roofs
    • E04B1/003Balconies; Decks
    • E04B1/0038Anchoring devices specially adapted therefor with means for preventing cold bridging
    • EFIXED CONSTRUCTIONS
    • E04BUILDING
    • E04BGENERAL BUILDING CONSTRUCTIONS; WALLS, e.g. PARTITIONS; ROOFS; FLOORS; CEILINGS; INSULATION OR OTHER PROTECTION OF BUILDINGS
    • E04B1/00Constructions in general; Structures which are not restricted either to walls, e.g. partitions, or floors or ceilings or roofs
    • E04B1/18Structures comprising elongated load-supporting parts, e.g. columns, girders, skeletons
    • E04B1/24Structures comprising elongated load-supporting parts, e.g. columns, girders, skeletons the supporting parts consisting of metal
    • E04B1/2403Connection details of the elongated load-supporting parts
    • E04B2001/2448Connections between open section profiles

Definitions

  • the invention relates to a device for thermal insulation between a building and a projecting outer part, in particular in steel construction, consisting from an insulator to be laid between them with integrated tension, pressure and optionally also transverse force elements, wherein at least some of these elements on the side facing away from the building of the insulating body and on the Building facing side of the insulating plate-like fastening devices to connect the outdoor unit with the building.
  • the plate-like fastening devices arranged in the form of plates, extending throughout the whole height extend the insulating body.
  • the plate-like design of the fastening device There are several advantages: First, a large area Connection base created at the connection parts particularly safe and good can be anchored. Second, the insulator is in the area between the Panels protected against damage. Third, the plates provide defined connection points, where the steel profiles with their precisely worked and easily attach inflexible connection flanges. The plates are through intersecting, transverse in a vertical plane transverse force rods with each other connected, so that a unit of insulating body and fasteners arises. In the upper area, this unit has one or more through holes for tension rods, in the lower area corresponding holes for pressure rods.
  • the invention is based on the realization that in steel - unlike in Concrete construction - connecting parts with very different geometrical dimensions must be connected to the heat-insulating component. Therefore the components of the invention in a large variety of types for Available, according to the different standard dimensions of the to be connected Components that are usually 1-carrier.
  • the insulator are in the range between two equal fixing devices designed in several parts, so that they the integrated reinforcing elements as possible enclose without gap.
  • the separation of the insulating body is preferably carried out in a horizontal plane.
  • transverse force bars form a stiffening in the vertical direction. It is in contrast to the tension and compression bars not necessary that the transverse force bars after passing through the insulating body on the other Side of the plate-shaped fastening devices emerge again. expedient this stiffening takes place in the vertical direction by two inclined, intersecting, mirror-image arranged rods or by a between the plate-shaped fastening devices inserted one-piece sheet metal.
  • a stiffener is installed in the horizontal direction.
  • This stiffening in the horizontal direction for example, also by two obliquely intersecting, mirror-image arranged rods done. It is, however conceivable that they are formed by two parallel bars or a plate becomes.
  • the horizontal bracing is preferably in the upper region of the lower part arranged.
  • stiffener between facing fasteners both in the horizontal direction as well as in the vertical direction it is recommended itself to use a one-piece profiled intermediate element, such as a T-profile or a U-profile. As a result, with one element both stiffening directions be covered.
  • the plate-like fasteners in side by side and / or superimposed elements too divide.
  • the fastening device of the upper part consist of two adjacent elements, so that, for example, each tie rod each associated with a plate-like fastening device at its end can be, which then reduces to the size of a screw washer can be.
  • the upper part of the fastening device is normally used to hold Tensile forces, the lower part for absorbing compressive forces.
  • the upper part optionally also for the transmission of compressive forces
  • the lower part optionally also be used for the transmission of tensile forces.
  • the vertical and / or horizontal stiffeners are depending on the load case arranged in the lower part and / or upper part of the component.
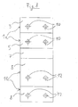
  • Figure 1 can be seen a component 1 for thermal insulation between a building-side vertical steel girder 2 and a horizontally projecting outer part 3 in the form of an I-profile beam.
  • the device can also be two horizontal or vertical Connecting beams together.
  • the component 1 consists of an upper part 1a (see also FIGS. 3 and 4) and a lower part 1b (see also FIGS. 5 and 6).
  • the upper part 1a consists of an insulating body 4, which at its the building side facing a plate-like fastening device 5 and at its the Building facing away from a similar plate-like fastening device 6 carries.
  • These fastening devices consist in the present case rectangular steel plates that cover the insulating body 4 over the entire surface and flush.
  • the lower part 1b consists of an insulating body 4 aligned insulating 7, which on its side facing the building one with the plate 5 in alignment Steel plate 8 and on its side facing away from the building one with the plate. 6 aligned steel plate 9 carries.
  • the plates 8 and 9 are in height shorter than the insulating body, so that it protrudes upward and on Insulating body 4 abuts, while the plates 5 and 8 on the one hand and 6 and 9 on the other vertically distanced from each other.
  • the upper part 1a is traversed by tension rods 10 in the horizontal direction.
  • the Tension rods 10 are fixed with welds 11 to the plates 5 and 6. Instead of the welds could also be done through lock nuts or one waives an attachment and the plates 5 and 6 have only Through holes for subsequent insertion of the tension rods 10 in the Assembly of the outer part 3.
  • the lower part 1 b is crossed horizontally by pressure bars 12.
  • the printing bars 12 are connected by welded joints 11 with the plates 8 and 9. additionally to the pressure bars 12 are in the lower part 1b stiffeners 13 in the vertical direction and stiffeners 14 integrated in the horizontal direction. Both stiffeners are formed by two intersecting, mirror-image arranged rods. They serve to absorb shear forces.
  • one of the insulating body in the embodiment the insulating body 7 of the lower part, in its the plates 8 and 9 projecting area several horizontal parting lines or predetermined separation points (see also Figures 5 and 6).
  • the insulating body 7 in its height be trimmed so that upper part 1a and lower part 1b to be connected to the one Components 2 and 3 obtained appropriate height.
  • Figure 2 can be seen the two adjacent tension rods 10; Furthermore the horizontal brace 14 in the lower fastening device in Form of two oblique, intersecting, mirror images in a horizontal plane arranged bars.
  • the horizontal stiffener to accommodate horizontal Transverse forces can also be caused by two parallel bars or one Plate are formed.
  • the upper part 1a and the lower part 1b each have horizontal through holes for the tension rods 10 and the pressure rods 12. These rods show after Traversing the plates a supernatant for attachment of the invention Component on the one hand on the building, ie on the vertical steel beam 2, on the other for mounting the projecting outer part, so the profile carrier 3.
  • This Overhang preferably has a thread, so that the individual parts releasably fastened over nuts.
  • FIGS. 3 and 4 only the upper part 1a of the component is shown, while FIG Figures 5 and 6 show the lower part 1b of the device.
  • FIGS. 5 and 6 again recognizes the predetermined horizontal separation areas 15 in Area between the upper and lower attachment devices. Of course These separation areas could also be added to the upper insulating body 4 be.
  • FIG. 8 shows a component in which a plurality of upper parts 1a and a plurality of lower parts 1b are combined. Depending on the static load can be through this modular Construction matching connections also made for special applications become.
  • the Isolier Economicsmaschine can with each other and with their both sides plate-like fasteners to be firmly connected, such as by gluing. Usually, however, it is sufficient if they simply between the fastening devices are stuck. Also a subsequent foaming of the gap between the fastening devices may be appropriate, if necessary only after installation on site.
  • the device according to the invention for thermal insulation in steel construction characterized by steel beams of different heights and Width can be connected to one and the same standardized component.

Landscapes

  • Engineering & Computer Science (AREA)
  • Architecture (AREA)
  • Physics & Mathematics (AREA)
  • Electromagnetism (AREA)
  • Civil Engineering (AREA)
  • Structural Engineering (AREA)
  • Building Environments (AREA)
  • Joining Of Building Structures In Genera (AREA)
  • Insulated Conductors (AREA)
  • Macromolecular Compounds Obtained By Forming Nitrogen-Containing Linkages In General (AREA)
  • Cooling Or The Like Of Electrical Apparatus (AREA)
  • Removal Of Water From Condensation And Defrosting (AREA)
  • Connector Housings Or Holding Contact Members (AREA)

Abstract

Die Erfindung betrifft ein Bauelement (1) zur Wärmedämmung zwischen einem Gebäude (2) und einem vorkragenden Außenteil (3), insbesondere im Stahlbau, bestehend aus einem dazwischen zu verlegenden Isolierkörper (4) mit integrierten Zug-, Druck- und gegebenenfalls Querkraftelementen (10,12,13,14), wobei der Isolierkörper (4) beidseits plattenartige Befestigungsvorrichtungen (5,6,8,9) zur Verbindung des Außenteils (3) mit dem Gebäude (2) trägt. Wesentlich dabei ist, dass der Isolierkörper (4) mitsamt seinen plattenartigen Befestigungsvorrichtungen in ein Oberteil (1a) und ein Unterteil (1b) geteilt ist, dass die plattenartigen Befestigungsvorrichtungen des Oberteils (1a) mit den Zugelementen (10) die des Unterteils mit den Druckelementen (12) verbunden sind und dass die plattenartigen Befestigungsvorrichtungen (8,9) von Oberteil und Unterteil vertikal voneinander distanziert sind, wogegen die Isolierkörperteile ohne derartige Distanzierung aufeinanderfolgen. <IMAGE>

Description

Die Erfindung betrifft ein Bauelement zur Wärmedämmung zwischen einem Gebäude und einem vorkragenden Außenteil, insbesondere im Stahlbau, bestehend aus einem dazwischen zu verlegenden Isolierkörper mit integrierten Zug-, Druckund gegebenenfalls auch Querkraftelementen, wobei zumindest einige dieser Elemente an der dem Gebäude abgewandten Seite des Isolierkörpers und an der dem Gebäude zugewandten Seite des Isolierkörpers plattenartige Befestigungsvorrichtungen zur Verbindung des Außenteiles mit dem Gebäude tragen.
Ein solches Bauelement ist aus der DE 199 08 388 bekannt. In Figur 10 dieser Schrift ist dieses Bauelement zum Anschluss eines vorkragenden Stahlbauteils an ein Gebäude, das seinerseits im Stahlbau ausgeführt ist, dargestellt.
Dabei sind beidseits des Isolierkörpers die plattenartigen Befestigungsvorrichtungen in Form von Platten angeordnet, die sich durchgehend über die ganze Höhe des Isolierkörpers erstrecken. Durch die plattenartige Ausbildung der Befestigungsvorrichtung ergeben sich mehrere Vorteile: Erstens wird eine großflächige Anschlussbasis geschaffen, an der die Anschlussteile besonders sicher und gut verankert werden können. Zweitens wird der Isolierkörper im Bereich zwischen den Platten gegen Beschädigung geschützt. Drittens bieten die Platten definierte Anschlusspunkte, an denen sich die Stahlprofile mit ihren genau gearbeiteten und unflexiblen Anschlussflanschen mühelos befestigen lassen. Die Platten sind durch sich kreuzende, in einer Vertikalebene verlaufende Querkraftstäbe miteinander verbunden, so dass eine Einheit aus Isolierkörper und Befestigungsvorrichtungen entsteht. Im oberen Bereich hat diese Einheit eine oder mehrere Durchgangsbohrungen für Zugstäbe, im unteren Bereich entsprechende Bohrungen für Druckstäbe.
Diese Bauelemente haben sich inzwischen in der Praxis gut bewährt. Sie sollen durch die vorliegenden Erfindung hinsichtlich ihrer Einbaumöglichkeiten optimiert werden, insbesondere für den Einsatz im Stahlbau.
Die Erfindung geht dabei von der Erkenntnis aus, dass im Stahlbau - anders als im Betonbau - Anschlussteile mit stark unterschiedlichen geometrischen Abmessungen mit dem wärmedämmenden Bauelement verbunden werden müssen. Daher müssen die erfindungsgemäßen Bauelemente in einer großen Typenvielfalt zur Verfügung stehen, entsprechend den unterschiedlichen Normmaßen der anzuschließenden Bauteile, bei denen es sich meist um 1-Träger handelt.
Dies führt zu einem großen Typen-Aufwand bei der Produktion und Lagerhaltung dieser Bauelemente.
Diese Problematik wird erfindungsgemäß dadurch gelöst, dass der Isolierkörper mitsamt seinen plattenartigen Befestigungsvorrichtungen in zumindest ein Oberteil und ein Unterteil geteilt ist, dass die plattenartigen Befestigungsvorrichtungen des Oberteils den Zugstäben zugeordnet, die des Unterteils mit den Druckelementen verbunden sind und dass die plattenartigen Befestigungsvorrichtungen von Oberteil und Unterteil vertikal voneinander distanziert sind, wogegen die Isolierkörperteile ohne derartige Distanzierung aufeinander folgen.
Mit diesem Bauelement können aufgrund der höhenmäßig getrennten und dadurch beliebig anpassbaren Befestigungsvorrichtungen beliebig hohe Stahlträger unter thermischer Trennung verbunden werden, ohne dass das Bauelement für jeden Stahlträger speziell angefertigt werden muss. Dadurch vereinfachen sich Produktion und Lagerhaltung ganz erheblich. Außerdem verringern sich die Materialkosten, weil sich die plattenartigen Befestigungsvorrichtungen nicht mehr über die ganze Bauteilhöhe erstrecken. Zusätzlich besteht die Möglichkeit, die unteren und oberen Befestigungsvorrichtungen in unterschiedlicher Wandstärke und horizontaler Abmessung (Breite) auszuführen und sie somit individuell zu optimieren bezüglich ihrer statischen Belastung und ihres Materialaufwands. Schließlich wird die Montage der beidseits anzuschließenden Träger erleichtert, weil Zug- und Druckstäbe getrennt angeschlossen werden.
Bei der Ausgestaltung der Isolierkörper empfiehlt es sich, dass Leerraumvolumina und freie Zwischenräume vermieden werden, da diese aufgrund von Konvektion zu einer schlechteren Wärmedämmung führen. Daher sind die Isolierkörper im Bereich zwischen zwei auf gleicher Höhe liegenden Befestigungsvorrichtungen mehrteilig ausgebildet, so dass sie die integrierten Bewehrungselemente möglichst ohne Zwischenraum umschließen. Die Trennung der Isolierkörper erfolgt vorzugsweise in horizontaler Ebene.
Zur Höhenanpassung des Isolierkörpers ist es günstig, im Bereich zwischen der oberen und unteren Befestigungsvorrichtung horizontale Trennbereiche in abgestufter Höhe vorzusehen. Dadurch kann der Isolierkörper durch Abschneiden entlang der horizontalen Trennbereiche verkürzt werden, ohne lose Isolierkörperteile zwischen den Platten anzuordnen.
Damit auch im Zwischenraum zwischen den oberen und unteren plattenartigen Befestigungsvorrichtungen kein Hohlraum entsteht ist es günstig, dass der Isolierkörper in diesen Bereich in Horizontalrichtung vorspringt und mit den Außenseiten der Befestigungsvorrichtung bündig abschließt.
Es ist weiterhin sinnvoll, zumindest in das Unterteil des Bauelements Querkraftstäbe einzubauen. Diese Querkraftstäbe bilden eine Aussteifung in Vertikalrichtung. Dabei ist es im Gegensatz zu den Zug- und Druckstäben nicht notwendig, dass die Querkraftstäbe nach Durchqueren des Isolierkörpers auf den anderen Seiten der plattenförmigen Befestigungsvorrichtungen wieder austreten. Zweckmäßig erfolgt diese Aussteifung in Vertikalrichtung durch zwei schräg verlaufende, sich kreuzende, spiegelbildlich angeordnete Stäbe oder durch ein zwischen den plattenförmigen Befestigungsvorrichtungen eingesetztes einstückiges Blech.
Weiterhin ist es zweckmäßig, dass zumindest in der Befestigungsvorrichtung des Unterteils eine Aussteifung in Horizontalrichtung eingebaut ist. Diese Aussteifung in Horizontalrichtung kann beispielsweise ebenfalls durch zwei schräg verlaufende sich kreuzende, spiegelbildlich angeordnete Stäbe erfolgen. Es ist jedoch auch denkbar, dass sie von zwei parallel verlaufenden Stäben oder einer Platte gebildet wird. Die horizontale Aussteifung wird vorzugsweise im oberen Bereich des Unterteils angeordnet.
Wenn die Aussteifung zwischen gegenüberstehenden Befestigungsvorrichtungen sowohl in Horizontalrichtung wie auch in Vertikalrichtung wirken soll, empfiehlt es sich, ein einstückiges profiliertes Zwischenelement einzusetzen, etwa ein T-Profil oder ein U-Profil. Dadurch können mit einem Element beide Aussteifungsrichtungen abgedeckt werden.
Eine andere zweckmäßige Alternative besteht darin, die plattenartigen Befestigungselemente in nebeneinander und/oder übereinander angeordnete Elemente zu unterteilen. So kann beispielsweise die Befestigungsvorrichtung des Oberteiles aus zwei benachbarten Elementen bestehen, so dass beispielsweise jedem Zugstab an seinem Ende jeweils eine plattenartige Befestigungsvorrichtung zugeordnet sein kann, die dann bis zur Größe einer Schrauben-Unterlagsscheibe reduziert werden kann.
Das Oberteil der Befestigungsvorrichtung dient normalerweise zur Aufnahme von Zugkräften, das Unterteil zur Aufnahme von Druckkräften. Je nach statischer Belastung kann jedoch das Oberteil wahlweise auch zur Übertragung von Druckkräften, das Unterteil wahlweise auch zur Übertragung von Zugkräften eingesetzt werden. Die vertikalen und/oder horizontalen Aussteifungen sind je nach Belastungsfall im Unterteil und/oder Oberteil des Bauelementes angeordnet.
Weitere erfindungswesentliche Merkmale und Einzelheiten ergeben sich aus der Beschreibung der Zeichnungen; dabei zeigt:
Figur 1
einen Vertikalschnitt durch ein bereits montiertes Bauelement zum Anschluss eines vorkragenden Stahl-Profilträgers an ein Gebäude;
Figur 2
eine Ansicht des eingebauten Bauelementes nach Figur 1 von oben;
Figur 3
eine Seitenansicht eines Oberteils der Befestigungsvorrichtung (quer zu einer gedachten Verbindungsachse vom Gebäude zum Außenteil);
Figur 4
eine Ansicht der Befestigungsvorrichtung nach Figur 3 in Richtung der gedachten Verbindungsachse vom vorkragenden Außenteil und Gebäude;
Figur 5
eine Seitenansicht des Unterteils der Befestigungsvorrichtung zu Figur 3;
Figur 6
eine Ansicht der Befestigungsvorrichtung nach Figur 5 in Richtung der gedachten Verbindungsachse von vorkragendem Außenteil und Gebäude;
Figur 7
eine Ansicht von 2 seitlich nebeneinander angeordneten Bauelementen in Richtung der gedachten Verbindungsachse von vorkragendem Außenteil und Gebäude;
Figur 8
eine Ansicht von mehreren übereinander angeordneten Befestigungsvorrichtungen im Oberteil und mehreren übereinander angeordneten Befestigungsvorrichtungen im Unterteil in Richtung der gedachten Verbindungsachse von auskragendem Außenteil und Gebäude.
In Figur 1 erkennt man ein Bauelement 1 zur Wärmedämmung zwischen einem gebäudeseitigen vertikalen Stahlträger 2 und einem horizontal vorkragenden Außenteil 3 in Form eines I-Profilträger. Anstelle einer Verbindung des Gebäudes mit einem horizontalen Träger, kann das Bauelement auch zwei horizontale oder vertikale Träger miteinander verbinden. Das Bauelement 1 besteht aus einem Oberteil 1a (siehe auch Figur 3 und 4) und einem Unterteil 1b (siehe auch Figur 5 und 6).
Das Oberteil 1a besteht aus einem Isolierkörper 4, der an seiner dem Gebäude zugewandten Seite eine plattenartige Befestigungsvorrichtung 5 und an seiner dem Gebäude abgewandten Seite eine gleichartige plattenartige Befestigungsvorrichtung 6 trägt. Diese Befestigungsvorrichtungen bestehen im vorliegenden Fall aus rechteckigen Stahlplatten, die den Isolierkörper 4 vollflächig und bündig abdecken.
Das Unterteil 1b besteht aus einem zum Isolierkörper 4 fluchtenden Isolierkörper 7, der an seiner dem Gebäude zugewandten Seite eine mit der Platte 5 fluchtende Stahlplatte 8 und an seiner dem Gebäude abgewandten Seite eine mit der Platte 6 fluchtende Stahlplatte 9 trägt. Dabei sind die Platten 8 und 9 in ihrer Höhe jedoch kürzer bemessen als der Isolierkörper, so dass dieser nach oben vorsteht und am Isolierkörper 4 anstößt, während die Platten 5 und 8 einerseits und 6 und 9 andererseits vertikal voneinander distanziert sind.
Im Bereich des vertikalen Zwischenraums zwischen den Platten springt der Isolierkörper 7 in Horizontalrichtung vor und schließt mit den Außenseiten der Befestigungsvorrichtungen bündig ab.
Das Oberteil 1a wird von Zugstäben 10 in horizontaler Richtung durchquert. Die Zugstäbe 10 sind mit Schweißnähten 11 an den Platten 5 und 6 festgelegt. Anstelle der Schweißnähte könnte die Festlegung auch durch Kontermuttern erfolgen oder man verzichtet auf eine Befestigung und die Platten 5 und 6 haben nur Durchgangsbohrungen zum nachträglichen Durchstecken der Zugstäbe 10 bei der Montage des Außenteils 3.
Das Unterteil 1b wird von Druckstäben 12 horizontal durchquert. Die Druckstäbe 12 sind durch Schweißverbindungen 11 mit den Platten 8 und 9 verbunden. Zusätzlich zu den Druckstäben 12 sind im Unterteil 1b Aussteifungen 13 in Vertikalrichtung und Aussteifungen 14 in Horizontalrichtung integriert. Beide Aussteifungen werden von zwei sich kreuzenden, spiegelbildlich angeordneten Stäben gebildet. Sie dienen zur Aufnahme von Querkräften.
Außerdem erkennt man in der Zeichnung, dass einer der Isolierkörper, im Ausführungsbeispiel der Isolierkörper 7 des unteren Teils, in seinem die Platten 8 und 9 überragenden Bereich mehrere horizontale Trennebenen bzw. Solltrennstellen (vgl. auch Figur 5 und 6) aufweist. Dadurch kann der Isolierkörper 7 in seiner Höhe so gestutzt werden, dass Oberteil 1a und Unterteil 1b eine zu den anzuschließenden Bauteilen 2 und 3 passende Höhe erhalten. Es liegt statt dessen auch im Rahmen der Erfindung, die vertikale Distanzierung der Platten 5, 6 gegenüber den Platten 8, 9 dadurch einzustellen, dass man zwischen die Isolierkörper 4 und 7 zusätzliche Zwischenlagen aus Isoliermaterial einschiebt.
In Figur 2 erkennt man die beiden nebeneinander angeordneten Zugstäbe 10; außerdem die horizontale Aussteifung 14 in der unteren Befestigungsvorrichtung in Form von zwei schräg verlaufenden, sich kreuzenden, spiegelbildlich in einer Horizontalebene angeordneten Stäbe. Die horizontale Aussteifung zur Aufnahme horizontaler Querkräfte kann auch durch zwei parallel verlaufende Stäbe oder eine Platte gebildet werden.
Das Oberteil 1a und das Unterteil 1b haben jeweils horizontale Durchgangsbohrungen für die Zugstäbe 10 und die Druckstäbe 12. Diese Stäbe weisen nach Durchquerung der Platten einen Überstand zur Befestigung des erfindungsgemäßen Bauteils einerseits am Gebäude, also am vertikalen Stahlträger 2, andererseits zur Montage des vorkragenden Außenteils, also des Profilträgers 3 auf. Dieser Überstand hat vorzugsweise ein Gewinde, so dass sich die einzelnen Teile lösbar über Muttern befestigen lassen.
In den Figuren 3 und 4 ist nur das Oberteil 1a des Bauelements dargestellt, während die Figuren 5 und 6 das Unterteil 1b des Bauelements zeigen. In den Figuren 5 und 6 erkennt man wieder die vorgegebenen horizontalen Trennbereiche 15 im Bereich zwischen den oberen und unteren Befestigungsvorrichtungen. Selbstverständlich könnten diese Trennbereiche auch dem oberen Isolierkörper 4 zugeschlagen sein.
In Figur 7 sind zwei Bauteile seitlich nebeneinander angeordnet. Dadurch wird ermöglicht, dass mit einem Standardbauelement Stahlbauverbindungen auch für in der Breite variierende Stahlträger hergestellt werden können.
Figur 8 zeigt ein Bauelement, bei dem mehrere Oberteile 1a und mehrere Unterteile 1b kombiniert sind. Je nach statischer Belastung können durch diese modulare Bauweise passende Verbindungen auch für Spezialanwendungen hergestellt werden.
Die Isolierkörperteile können untereinander und mit ihren beidseits anliegenden plattenartigen Befestigungsvorrichtungen fest verbunden sein, etwa durch Kleben. Meist genügt es aber, wenn sie einfach zwischen den Befestigungsvorrichtungen verklemmt sind. Auch ein nachträgliches Ausschäumen des Zwischenraumes zwischen den Befestigungsvorrichtungen kann zweckmäßig sein, gegebenenfalls erst nach der Montage vor Ort.
Zusammenfassend zeichnet sich das erfindungsgemäße Bauelement zur Wärmedämmung im Stahlbau dadurch aus, dass Stahlträger unterschiedlicher Höhe und Breite mit ein und demselben standardisierten Bauelement verbunden werden können.

Claims (14)

  1. Bauelement zur Wärmedämmung (1) zwischen einem Gebäude (2) und einem vorkragenden Außenteil (3), insbesondere im Stahlbau, bestehend aus einem dazwischen zu verlegenden Isolierkörper mit darin geführten Zug-, Druck- und gegebenenfalls Querkraftelementen, wobei zumindest einige dieser Elemente an der dem Gebäude abgewandten Seite des Isolierkörpers und an der dem Gebäude zugewandten Seite des Isolierkörpers plattenartige Befestigungsvorrichtungen zur Verbindung des Außenteils mit dem Gebäude tragen,
    dadurch gekennzeichnet, dass der Isolierkörper mitsamt seinen plattenartigen Befestigungsvorrichtungen in zumindest ein Oberteil (1a) und ein Unterteil (1b) geteilt ist, dass die plattenartigen Befestigungsvorrichtungen (5, 6) des Oberteils (1a) den Zugelementen (10) zugeordnet, die Befestigungsvorrichtungen (8, 9) des Unterteils (1b) mit den Druckelementen (12) verbunden sind und dass die plattenartigen Befestigungsvorrichtungen (5, 6; 8, 9) von Oberteil und Unterteil vertikal voneinander distanziert sind, wogegen die Isolierkörperteile (4, 7) ohne derartige Distanzierung aufeinander folgen.
  2. Bauelement nach Anspruch 1,
    dadurch gekennzeichnet, dass die Isolierkörperteile (4, 7) im Bereich zwischen zwei auf gleicher Höhe liegenden Befestigungsvorrichtungen (5, 6; 8, 9) mehrteilig ausgebildet sind.
  3. Bauelement nach Anspruch 1,
    dadurch gekennzeichnet, dass der Isolierkörperteil (7) im Bereich zwischen den oberen und unteren Befestigungsvorrichtungen mehrere vorgegebene horizontale Trennbereiche (15) in abgestufter Höhe aufweist.
  4. Bauelement nach Anspruch 1,
    dadurch gekennzeichnet, dass der Isolierkörperteil (7) im Zwischenraum zwischen den oberen und unteren plattenartigen Befestigungsvorrichtungen und gegebenenfalls seitlich neben den Befestigungsvorrichtungen in Horizontalrichtung vorspringt und mit den Außenseiten der Befestigungsvorrichtungen bündig abschließt.
  5. Bauelement nach Anspruch 1,
    dadurch gekennzeichnet, dass zwischen den Befestigungsvorrichtungen des Oberteils (5, 6) und/oder des Unterteils (8, 9) eine Aussteifung in Vertikalrichtung (13) eingebaut ist.
  6. Bauelement zumindest nach Anspruch 5,
    dadurch gekennzeichnet, dass die Aussteifung in Vertikalrichtung (13) durch zwei schräg verlaufende, sich kreuzende, spiegelbildlich angeordnete Stäbe oder durch eine Platte erfolgt.
  7. Bauelement nach Anspruch 1,
    dadurch gekennzeichnet, dass zwischen den Befestigungsvorrichtungen des Oberteils (1a) und/oder des Unterteils (1b) eine Aussteifung in Horizontalrichtung (14) eingebaut ist.
  8. Bauelement zumindest nach Anspruch 7,
    dadurch gekennzeichnet, dass die Aussteifung in Horizontalrichtung (14) durch zwei schräg verlaufende sich kreuzende, spiegelbildlich angeordnete Stäbe oder durch zumindest zwei parallel verlaufende Stäbe oder eine Platte erfolgt.
  9. Bauelement zumindest nach den Ansprüchen 5 und 7,
    dadurch gekennzeichnet, dass die vertikale und/oder horizontale Aussteifung im Unterteil (1b) des Bauelementes angeordnet ist.
  10. Bauelement zumindest nach Anspruch 9,
    dadurch gekennzeichnet, dass die horizontale Aussteifung (14) im oberen Bereich des Unterteils (1b) angeordnet ist.
  11. Bauelement nach Anspruch 5 und 7,
    dadurch gekennzeichnet, dass die vertikale und horizontale Aussteifung durch ein einstückiges Profil, insbesondere ein T-Profil gebildet wird.
  12. Bauelement nach Anspruch 1,
    dadurch gekennzeichnet, dass die plattenartigen Befestigungselemente (5, 6, 8, 9) von Oberteil und Unterteil unterschiedlich dimensioniert sind.
  13. Bauelement nach Anspruch 1
    dadurch gekennzeichnet, dass die plattenartigen Befestigungselemente in nebeneinander und/oder übereinander angeordnete Elemente unterteilt sind.
  14. Bauelement nach zumindest einem der vorstehenden Ansprüche,
    dadurch gekennzeichnet, dass das Oberteil (1a) wahlweise auch zur Übertragung von Druckkräften, das Unterteil (1b) wahlweise auch zur Übertragung von Zugkräften einsetzbar ist.
EP02008611A 2001-06-22 2002-04-17 Bauelement zur Wärmedämmung Expired - Lifetime EP1270833B1 (de)

Applications Claiming Priority (2)

Application Number Priority Date Filing Date Title
DE10130866 2001-06-22
DE10130866A DE10130866A1 (de) 2001-06-22 2001-06-22 Bauelement zur Wärmedämmung

Publications (3)

Publication Number Publication Date
EP1270833A2 true EP1270833A2 (de) 2003-01-02
EP1270833A3 EP1270833A3 (de) 2003-12-03
EP1270833B1 EP1270833B1 (de) 2005-12-28

Family

ID=7689554

Family Applications (1)

Application Number Title Priority Date Filing Date
EP02008611A Expired - Lifetime EP1270833B1 (de) 2001-06-22 2002-04-17 Bauelement zur Wärmedämmung

Country Status (4)

Country Link
EP (1) EP1270833B1 (de)
AT (1) ATE314535T1 (de)
DE (2) DE10130866A1 (de)
PL (1) PL206390B1 (de)

Cited By (3)

* Cited by examiner, † Cited by third party
Publication number Priority date Publication date Assignee Title
AT513322A1 (de) * 2012-09-06 2014-03-15 Hans Hoellwart Forschungszentrum Fuer Integrales Bauwesen Ag Thermisch isolierendes Tragelement
EP2072700A3 (de) * 2007-12-18 2014-04-16 fischerwerke GmbH & Co. KG Befestigungselement
GB2583314B (en) * 2020-07-23 2022-11-02 Laing Orourke Plc Façade construction using through wall thermal stud

Families Citing this family (5)

* Cited by examiner, † Cited by third party
Publication number Priority date Publication date Assignee Title
DE102006011335A1 (de) * 2006-03-09 2007-09-13 Schöck Bauteile GmbH Bauelement zur Wärmedämmung
DE102011056967A1 (de) * 2011-12-23 2013-06-27 Max Frank Gmbh & Co. Kg Plattenanschlusselement
DE102014113662A1 (de) 2014-09-22 2016-03-24 Max Frank Gmbh & Co. Kg Anschlusselement
DE102019118363B4 (de) 2019-07-08 2021-07-15 Max Frank Gmbh & Co. Kg Anordnung zum Verbinden eines Bauwerkteils mit einem dem Bauwerkteil vorgelagerten Stahl-Außenteil
DE102019133997A1 (de) 2019-12-11 2021-06-17 Max Frank Gmbh & Co. Kg Anordnung zum Verbinden eines Bauwerkteils mit einem dem Bauwerkteil vorgelagerten Außenteil

Citations (1)

* Cited by examiner, † Cited by third party
Publication number Priority date Publication date Assignee Title
DE19908388A1 (de) 1999-02-26 2000-08-31 Schoeck Bauteile Gmbh Bauelement zur Wärmedämmung

Family Cites Families (2)

* Cited by examiner, † Cited by third party
Publication number Priority date Publication date Assignee Title
DE3403537A1 (de) * 1984-02-02 1985-08-08 Veit Dennert KG Baustoffbetriebe, 8602 Schlüsselfeld Balkonfertig-bauelement fuer gebaeude
CH690966A5 (de) * 1996-03-12 2001-03-15 Clement Gutzwiller Isolierendes Anschlusselement für Kragplatten.

Patent Citations (1)

* Cited by examiner, † Cited by third party
Publication number Priority date Publication date Assignee Title
DE19908388A1 (de) 1999-02-26 2000-08-31 Schoeck Bauteile Gmbh Bauelement zur Wärmedämmung

Cited By (4)

* Cited by examiner, † Cited by third party
Publication number Priority date Publication date Assignee Title
EP2072700A3 (de) * 2007-12-18 2014-04-16 fischerwerke GmbH & Co. KG Befestigungselement
AT513322A1 (de) * 2012-09-06 2014-03-15 Hans Hoellwart Forschungszentrum Fuer Integrales Bauwesen Ag Thermisch isolierendes Tragelement
AT513322B1 (de) * 2012-09-06 2014-10-15 Hans Höllwart Forschungszentrum Für Integrales Bauwesen Ag Thermisch isolierendes Tragelement
GB2583314B (en) * 2020-07-23 2022-11-02 Laing Orourke Plc Façade construction using through wall thermal stud

Also Published As

Publication number Publication date
EP1270833A3 (de) 2003-12-03
EP1270833B1 (de) 2005-12-28
DE50205404D1 (de) 2006-02-02
PL354429A1 (en) 2002-12-30
DE10130866A1 (de) 2003-01-02
PL206390B1 (pl) 2010-08-31
ATE314535T1 (de) 2006-01-15

Similar Documents

Publication Publication Date Title
DE69406930T2 (de) Leichte leitschranken für brücken
DE1903129B2 (de) Vorrichtung zum Anschließen eines Trägers an eine Betonstütze
DE1684795B2 (de) Raumkasten mit Betonwandungen, die von Metall-Profilbalken eingefaßt sind
DE3128165C2 (de) Schalldämmendes Wandbausystem für Industriebauten, sowie Kassettenprofil hierfür
DE1810434C3 (de) Hochbauwerk
EP1270833B1 (de) Bauelement zur Wärmedämmung
DE102019125318A1 (de) Spielfeldbegrenzung für ein Kleinspielfeld
EP2281959B1 (de) Kragplattenanschlusselement
EP1031668B1 (de) Bauelement zur Wärmedämmung
EP2055845A2 (de) Kragplattenanschlusselement
EP0133875B1 (de) Bauelement zur Wärmedämmung bei Gebäuden
CH651095A5 (de) Bewehrungselement zur uebertragung von querkraeften in plattenartigen traggliedern, z.b. flachdecken.
EP1860246B1 (de) Bauelement zur Wärmedämmung
DE102019133999A1 (de) Anordnung zum Verbinden eines Bauwerkteils mit einem dem Bauwerkteil vorgelagerten Außenteil
DE9409626U1 (de) Balkonkonstruktion
DE8336223U1 (de) Schallisolierende wand
EP1630315A1 (de) Bauelement zur Schub- und Durchstanzbewehrung
EP2607560B1 (de) Plattenanschlusselement
DE2336482A1 (de) Raumzelle fuer gebaeude
DE102016118014A1 (de) Binder, insbesondere Dachbinder für eine Halle
DE69001688T2 (de) Verfahren zur befestigung von horizontalen balken an stahlsaeulen eines gebaeudes und ein nach diesem verfahren errichtetes gebaeude.
EP3070225B1 (de) Durchstanzbewehrungselement und bauwerk mit einer platte mit einem durchstanzbewehrungselement
DE9305802U1 (de) Konsole zur Halterung von flächigen Bauteilen, insbesondere Glasscheiben
DE1784253A1 (de) Wandbauelement,insbesondere fuer Blockhaeuser
EP3569783B1 (de) Bauelement zur thermischen isolierung

Legal Events

Date Code Title Description
PUAI Public reference made under article 153(3) epc to a published international application that has entered the european phase

Free format text: ORIGINAL CODE: 0009012

AK Designated contracting states

Kind code of ref document: A2

Designated state(s): AT BE CH CY DE DK ES FI FR GB GR IE IT LI LU MC NL PT SE TR

AX Request for extension of the european patent

Free format text: AL;LT;LV;MK;RO;SI

PUAL Search report despatched

Free format text: ORIGINAL CODE: 0009013

AK Designated contracting states

Kind code of ref document: A3

Designated state(s): AT BE CH CY DE DK ES FI FR GB GR IE IT LI LU MC NL PT SE TR

AX Request for extension of the european patent

Extension state: AL LT LV MK RO SI

17P Request for examination filed

Effective date: 20040206

AKX Designation fees paid

Designated state(s): AT BE CH CY DE DK ES FI FR GB GR IE IT LI LU MC NL PT SE TR

RAP1 Party data changed (applicant data changed or rights of an application transferred)

Owner name: SCHOECK BAUTEILE GMBH

GRAP Despatch of communication of intention to grant a patent

Free format text: ORIGINAL CODE: EPIDOSNIGR1

GRAP Despatch of communication of intention to grant a patent

Free format text: ORIGINAL CODE: EPIDOSNIGR1

GRAS Grant fee paid

Free format text: ORIGINAL CODE: EPIDOSNIGR3

GRAA (expected) grant

Free format text: ORIGINAL CODE: 0009210

AK Designated contracting states

Kind code of ref document: B1

Designated state(s): AT BE CH CY DE DK ES FI FR GB GR IE IT LI LU MC NL PT SE TR

PG25 Lapsed in a contracting state [announced via postgrant information from national office to epo]

Ref country code: FI

Free format text: LAPSE BECAUSE OF FAILURE TO SUBMIT A TRANSLATION OF THE DESCRIPTION OR TO PAY THE FEE WITHIN THE PRESCRIBED TIME-LIMIT

Effective date: 20051228

Ref country code: IT

Free format text: LAPSE BECAUSE OF FAILURE TO SUBMIT A TRANSLATION OF THE DESCRIPTION OR TO PAY THE FEE WITHIN THE PRESCRIBED TIME-LIMIT;WARNING: LAPSES OF ITALIAN PATENTS WITH EFFECTIVE DATE BEFORE 2007 MAY HAVE OCCURRED AT ANY TIME BEFORE 2007. THE CORRECT EFFECTIVE DATE MAY BE DIFFERENT FROM THE ONE RECORDED.

Effective date: 20051228

REG Reference to a national code

Ref country code: GB

Ref legal event code: FG4D

Free format text: NOT ENGLISH

REG Reference to a national code

Ref country code: CH

Ref legal event code: EP

REG Reference to a national code

Ref country code: IE

Ref legal event code: FG4D

Free format text: LANGUAGE OF EP DOCUMENT: GERMAN

REF Corresponds to:

Ref document number: 50205404

Country of ref document: DE

Date of ref document: 20060202

Kind code of ref document: P

REG Reference to a national code

Ref country code: CH

Ref legal event code: NV

Representative=s name: R. A. EGLI & CO. PATENTANWAELTE

PG25 Lapsed in a contracting state [announced via postgrant information from national office to epo]

Ref country code: SE

Free format text: LAPSE BECAUSE OF FAILURE TO SUBMIT A TRANSLATION OF THE DESCRIPTION OR TO PAY THE FEE WITHIN THE PRESCRIBED TIME-LIMIT

Effective date: 20060328

Ref country code: GR

Free format text: LAPSE BECAUSE OF FAILURE TO SUBMIT A TRANSLATION OF THE DESCRIPTION OR TO PAY THE FEE WITHIN THE PRESCRIBED TIME-LIMIT

Effective date: 20060328

Ref country code: DK

Free format text: LAPSE BECAUSE OF FAILURE TO SUBMIT A TRANSLATION OF THE DESCRIPTION OR TO PAY THE FEE WITHIN THE PRESCRIBED TIME-LIMIT

Effective date: 20060328

PG25 Lapsed in a contracting state [announced via postgrant information from national office to epo]

Ref country code: ES

Free format text: LAPSE BECAUSE OF FAILURE TO SUBMIT A TRANSLATION OF THE DESCRIPTION OR TO PAY THE FEE WITHIN THE PRESCRIBED TIME-LIMIT

Effective date: 20060408

GBT Gb: translation of ep patent filed (gb section 77(6)(a)/1977)

Effective date: 20060329

PG25 Lapsed in a contracting state [announced via postgrant information from national office to epo]

Ref country code: MC

Free format text: LAPSE BECAUSE OF NON-PAYMENT OF DUE FEES

Effective date: 20060430

Ref country code: BE

Free format text: LAPSE BECAUSE OF NON-PAYMENT OF DUE FEES

Effective date: 20060430

PG25 Lapsed in a contracting state [announced via postgrant information from national office to epo]

Ref country code: PT

Free format text: LAPSE BECAUSE OF FAILURE TO SUBMIT A TRANSLATION OF THE DESCRIPTION OR TO PAY THE FEE WITHIN THE PRESCRIBED TIME-LIMIT

Effective date: 20060529

ET Fr: translation filed
PLBE No opposition filed within time limit

Free format text: ORIGINAL CODE: 0009261

STAA Information on the status of an ep patent application or granted ep patent

Free format text: STATUS: NO OPPOSITION FILED WITHIN TIME LIMIT

26N No opposition filed

Effective date: 20060929

BERE Be: lapsed

Owner name: SCHOCK BAUTEILE G.M.B.H.

Effective date: 20060430

PG25 Lapsed in a contracting state [announced via postgrant information from national office to epo]

Ref country code: LU

Free format text: LAPSE BECAUSE OF NON-PAYMENT OF DUE FEES

Effective date: 20060417

Ref country code: TR

Free format text: LAPSE BECAUSE OF FAILURE TO SUBMIT A TRANSLATION OF THE DESCRIPTION OR TO PAY THE FEE WITHIN THE PRESCRIBED TIME-LIMIT

Effective date: 20051228

PG25 Lapsed in a contracting state [announced via postgrant information from national office to epo]

Ref country code: CY

Free format text: LAPSE BECAUSE OF FAILURE TO SUBMIT A TRANSLATION OF THE DESCRIPTION OR TO PAY THE FEE WITHIN THE PRESCRIBED TIME-LIMIT

Effective date: 20051228

REG Reference to a national code

Ref country code: FR

Ref legal event code: PLFP

Year of fee payment: 15

REG Reference to a national code

Ref country code: FR

Ref legal event code: PLFP

Year of fee payment: 16

REG Reference to a national code

Ref country code: FR

Ref legal event code: PLFP

Year of fee payment: 17

PGFP Annual fee paid to national office [announced via postgrant information from national office to epo]

Ref country code: IE

Payment date: 20180418

Year of fee payment: 17

PGFP Annual fee paid to national office [announced via postgrant information from national office to epo]

Ref country code: FR

Payment date: 20190423

Year of fee payment: 18

PG25 Lapsed in a contracting state [announced via postgrant information from national office to epo]

Ref country code: IE

Free format text: LAPSE BECAUSE OF NON-PAYMENT OF DUE FEES

Effective date: 20190417

PG25 Lapsed in a contracting state [announced via postgrant information from national office to epo]

Ref country code: FR

Free format text: LAPSE BECAUSE OF NON-PAYMENT OF DUE FEES

Effective date: 20200430

PGFP Annual fee paid to national office [announced via postgrant information from national office to epo]

Ref country code: DE

Payment date: 20210423

Year of fee payment: 20

PGFP Annual fee paid to national office [announced via postgrant information from national office to epo]

Ref country code: AT

Payment date: 20210420

Year of fee payment: 20

Ref country code: GB

Payment date: 20210422

Year of fee payment: 20

Ref country code: CH

Payment date: 20210422

Year of fee payment: 20

PGFP Annual fee paid to national office [announced via postgrant information from national office to epo]

Ref country code: NL

Payment date: 20210421

Year of fee payment: 20

REG Reference to a national code

Ref country code: DE

Ref legal event code: R071

Ref document number: 50205404

Country of ref document: DE

REG Reference to a national code

Ref country code: NL

Ref legal event code: MK

Effective date: 20220416

REG Reference to a national code

Ref country code: CH

Ref legal event code: PL

REG Reference to a national code

Ref country code: GB

Ref legal event code: PE20

Expiry date: 20220416

REG Reference to a national code

Ref country code: AT

Ref legal event code: MK07

Ref document number: 314535

Country of ref document: AT

Kind code of ref document: T

Effective date: 20220417

PG25 Lapsed in a contracting state [announced via postgrant information from national office to epo]

Ref country code: GB

Free format text: LAPSE BECAUSE OF EXPIRATION OF PROTECTION

Effective date: 20220416