EP1262316A1 - Verfahren und Vorrichtund zur Herstellung einer Druckform - Google Patents

Verfahren und Vorrichtund zur Herstellung einer Druckform Download PDF

Info

Publication number
EP1262316A1
EP1262316A1 EP01112706A EP01112706A EP1262316A1 EP 1262316 A1 EP1262316 A1 EP 1262316A1 EP 01112706 A EP01112706 A EP 01112706A EP 01112706 A EP01112706 A EP 01112706A EP 1262316 A1 EP1262316 A1 EP 1262316A1
Authority
EP
European Patent Office
Prior art keywords
printing form
track
form blank
beams
blank
Prior art date
Legal status (The legal status is an assumption and is not a legal conclusion. Google has not performed a legal analysis and makes no representation as to the accuracy of the status listed.)
Granted
Application number
EP01112706A
Other languages
English (en)
French (fr)
Other versions
EP1262316B1 (de
Inventor
Erfindernennung liegt noch nicht vor Die
Current Assignee (The listed assignees may be inaccurate. Google has not performed a legal analysis and makes no representation or warranty as to the accuracy of the list.)
SPGPrints Austria GMBH
Original Assignee
Schablonentechnik Kufstein GmbH
Priority date (The priority date is an assumption and is not a legal conclusion. Google has not performed a legal analysis and makes no representation as to the accuracy of the date listed.)
Filing date
Publication date
Priority to EP01112706A priority Critical patent/EP1262316B1/de
Application filed by Schablonentechnik Kufstein GmbH filed Critical Schablonentechnik Kufstein GmbH
Priority to DE50104542T priority patent/DE50104542D1/de
Priority to ES01112706T priority patent/ES2233523T3/es
Priority to AT01112706T priority patent/ATE282527T1/de
Priority to CNB021206309A priority patent/CN1212929C/zh
Priority to JP2002148853A priority patent/JP3556205B2/ja
Priority to US10/154,827 priority patent/US6698354B2/en
Publication of EP1262316A1 publication Critical patent/EP1262316A1/de
Priority to HK03104679.7A priority patent/HK1052321B/zh
Application granted granted Critical
Publication of EP1262316B1 publication Critical patent/EP1262316B1/de
Anticipated expiration legal-status Critical
Expired - Lifetime legal-status Critical Current

Links

Images

Classifications

    • BPERFORMING OPERATIONS; TRANSPORTING
    • B41PRINTING; LINING MACHINES; TYPEWRITERS; STAMPS
    • B41CPROCESSES FOR THE MANUFACTURE OR REPRODUCTION OF PRINTING SURFACES
    • B41C1/00Forme preparation
    • B41C1/02Engraving; Heads therefor
    • B41C1/04Engraving; Heads therefor using heads controlled by an electric information signal
    • B41C1/05Heat-generating engraving heads, e.g. laser beam, electron beam
    • BPERFORMING OPERATIONS; TRANSPORTING
    • B41PRINTING; LINING MACHINES; TYPEWRITERS; STAMPS
    • B41BMACHINES OR ACCESSORIES FOR MAKING, SETTING, OR DISTRIBUTING TYPE; TYPE; PHOTOGRAPHIC OR PHOTOELECTRIC COMPOSING DEVICES
    • B41B19/00Photoelectronic composing machines

Definitions

  • the invention relates to a method and an apparatus for producing a Printing form according to claims 1 and 21.
  • the printing form it can z. B. act as a flexible or flexographic printing plate, the high pressure or Gravure form can work.
  • a conventional CO 2 laser to burn material directly out of a printing plate, which can be a polymer plate, for example, in order to produce a relief in this way in the printing plate in order to produce a flexographic printing plate.
  • the CO 2 laser is permanently power-modulated in order to obtain recesses in the surface of the printing plate that limit the relief.
  • the prior art also includes methods for inserting small halftone dots to lower a relief. This happens because of focused rays striking each other in corresponding areas and that Remove material in accordance with the focused course of the rays.
  • the result is a kind of cone, the cone tip of which is more or less is deep in relief. Will later be printed below the printing form an offer arranged, so a kind of pad, so can through this pad the cone tip can be raised again in the area of the pressure surface. Printing material adheres poorly to this cone tip, so that an unclean print image results.
  • Cone tips representing halftone dots this type z. B. provided in the area of solid areas to the To be able to better emphasize solid areas in later printing.
  • the invention has for its object a method for producing a Specify printing form, in particular a flexographic printing form with which have fine relief structures to be produced during subsequent printing be made in such a way that they lead to a perfect printed image. Beyond that created a corresponding device for producing such printing forms become.
  • One method of making a printing form is in the surface of a printing blank, a relief is introduced in that material of Printing form blanks removed along traces by radiation to form recesses between which plateaus come to rest. According to the invention, there is now also between the recesses lying surface of the printing form blank by radiation so ablated that lower plateaus are obtained.
  • the depth of the lower lying plateaus the surface lying between the recesses of the printing form blank in accordance with its intensity or performance adapted radiation are removed. So should those between the Recesses lying plateaus are burned away over a greater depth, the intensity or power of the beam must be increased, and vice versa.
  • the Depth of the lower plateaus is the one between the recesses Surface of the printing form blank also removed by repeated irradiation become.
  • This repeated irradiation of the printing form blank in the area the plateaus for generating the lower lying plateaus thus take place staggered in time or one after the other, so that a lower lying plateau virtually is obtained by repeatedly peeling off the printing plate material.
  • the beam power be relatively small, which means that even very fast modulators can be used to switch the beam power on and off, when using the beam power must be limited, to prevent the modulators from being destroyed, such as acousto-optic modulators.
  • the printing plate material after each removal process cools down again before it is removed again, which leads to that the printing form material does not heat up so much in the plateau region and thus the relief is extremely precise and true to form can be.
  • the material can be removed between the individual burning processes also be dissipated, e.g. B. be sucked off, which is a more accurate Working at the next removal process enables and better quality Structures leads.
  • Irradiation of the plateaus along a respective track can also occur and the same beam that is repeatedly guided along a track becomes. But it is also possible that the irradiation along a track with several Rays are carried out, which are guided in succession along the same track.
  • several beams can be juxtaposed in one direction be arranged horizontally, which runs transversely to the longitudinal direction of the track, if there is a corresponding relative shift between trace and rays he follows.
  • several beams can also be juxtaposed in one direction be used lying, which runs in the longitudinal direction of the track.
  • the depth of the lower one Plateaus can be set differently depending on their location in relief. So z. B. the depth of the lower plateaus towards one full area lying in the surface of the printing form blank to ensure that when printing later the near the full area existing deeper plateaus only raised into the printing area if there is an offer or underlay under the full surface located.
  • the printing blank is irradiated with laser radiation, because in this way the required radiation energy can be easily provided.
  • laser radiation In this regard focused laser radiation are used.
  • the Beams or laser beams are moved relative to the printing form blank, or the procedure is such that the printing form blank is relatively stationary Blasting is moved.
  • the jets and blank can also be used both and are moved relative to each other.
  • a printing form blank is used that has a printing surface has forming elastic material, such as polymer material, silicone or rubber.
  • a plate-shaped printing form blank made of polymer material or other suitable elastic material on the surface of a rotatably mounted cylinder placed and fixed there, for example by clamping, by vacuum suction, by magnets, etc.
  • Elastic or polymer material can also be used to form a printing form blank mounted on the surface of a rotatably mounted cylinder or applied.
  • it can be z. B. are hoses that be drawn onto the cylinder, or liquid material or Polymer material can be applied by knife coating, spraying and dipping, etc.
  • the irradiation takes place of the printing form blank along a respective track depending a data file that covers the plateaus between the recesses assigned.
  • the removal of the material layers of the printing form blank in the area of the plateaus is therefore purely digital, so that changes in the Radiation power or switching on / off very quickly can be.
  • It can form between plateaus Recesses also use data files that start with the first mentioned data file can also be combined to form an overall file, such that the data files z. B. processed as links in a chain become.
  • the respective data files are used for modulation or for switching on / off of rays.
  • these data files be used to control acousto-optical modulators, with their Help the beams or laser beams are switched on and off, and their Operation is generally known.
  • the controlled acousto-optic modulators with different control voltages become.
  • the respective data files can be different Control voltages for modulating the beams can be assigned to when in use of a respective data file one of the respective control voltages to control a modulator.
  • the respective control voltage is then switched in accordance with the data file. This switched Control voltage then reaches the modulator.
  • the z. B. an 8 bit converter can be used.
  • a digital value equal to zero would supply the control voltage 0, while a digital value between 1 and 255 is a control voltage would be added to the modulator with the height set accordingly. Is possible but it also has a preset control voltage with an analog switch to switch, at the control input or switching input of the analog switch a data file is created that only has the values 0 and 1.
  • An inventive device for producing a printing form in particular for producing a flexographic printing form contains a holder for Holding a molded blank, an optical device for irradiation a surface of the printing form blank along a track by means of at least of a jet, thereby forming areas of the printing form blank of recesses, and a control device using of a data file containing beam switch-on and switch-off commands intensity changes of at least one ray on its way the track controls.
  • This device is characterized in that the control device is designed so that it has at least one beam and one - Data file containing switch-off commands available to the surface of the printing form blank lying between the recesses ablated by radiation in order to thereby obtain lower lying plateaus.
  • the optical device is like this trained to output at least one beam
  • the control device is designed so that a beam is one and the same track runs through several times and with each track run a data file or new one Data file can be read out. Is z. B. there is only one beam and should be the original Plateaus successively peeled off or burned down a respective track would have to be removed from the beam accordingly be run through.
  • the optical device it is also possible for the optical device to emit several beams, which can be controlled by only one separate data file. In this case, all rays would have to run through the same track one after the other.
  • the beams can be arranged side by side in one direction be transverse to the longitudinal direction of the track, so that by appropriate Shifting the beams in the transverse direction one after the other Cover with the track can be brought.
  • the rays can also be arranged side by side in one direction, in the longitudinal direction of the track runs. In this case, the rays are through the data files controlled at a time interval that corresponds to the distance of the Corresponds to rays in the longitudinal direction of the track.
  • Focused rays such as focused rays, can be used as rays Laser beams.
  • the printing form blank can be a plate-shaped blank or be a cylindrical blank. At least it is on its surface elastic and preferably consists of polymer material or contains at least one. But it can also be made of silicone, rubber or other material, such as metal.
  • this can be done in the form of a plate for example, in a flat state, can be processed when blasting guided along tracks and kept parallel to it at a distance. Radiation sources and printing blank could then be in parallel planes be shifted relative to each other.
  • the printing form blank formed as a cylinder rotatably mounted about its longitudinal axis, the on its surface an elastic material, for example polymer material, wearing.
  • This can be plate-shaped and placed around its surface his. If it is attached to the cylinder surface in the form of a plate, the plate can also be removed from it after processing to be used as a flat pressure plate.
  • the elastic or Polymer material can also be firmly on the surface of the cylindrical Carrier remain after being mounted on it or in some other form has been applied, for example by dipping, knife coating or spraying, and the same. In this case, the entire cylinder later becomes the impression cylinder used.
  • Each of the modulators is equipped with at least one analog switch connected via which one of the pattern information corresponding to the modulator Control voltage can be supplied, the analog switch through the Data file is switchable. This enables a very precise digital control of the processing beam or laser beam possible.
  • a modulator be connected to the outputs of several analog switches, each by one of the several data files required for engraving along a track (Pattern information) can be switched, the analog switches in each case switch different control voltages.
  • the analog switches in each case switch different control voltages.
  • the analog switch selected therewith thus receives another of the pattern information appropriate control voltage to the modulator, so that this accordingly the selected control voltage a beam with a larger or outputs less intensity or power.
  • modulators each of which is assigned an analog switch, each by one of the several required for engraving along a track Data files are switchable, with the analog switches being different Switch control voltages.
  • Figure 1 is the reference number 1 denotes a printing blank, which is made of polymer material is.
  • a flexographic printing plate is a relief in a Surface 2 of the printing plate blank 1 engraved by using z. B.
  • three focused laser beams 3, 4 and 5 polymer material of the printing form blank 1 is burned away in certain areas. It could also be more or less can be used as three laser beams.
  • the Laser beams 3, 4 and 5 follow one another in time along one on the surface 2 running track moves, which runs in the direction of arrow 6.
  • the laser beam 3 is the leading laser beam and strikes the surface 2 of the blank 1 first.
  • the laser beam 4 It follows along the same track and temporally offset the laser beam 4, which in turn along the same track and again the laser beam 5 follows at different times.
  • the Recess V be relatively flat, only the laser beam 3 is switched on, through which only a section A below the surface 2 of the printing form blank 1 is burned away. The laser beams 4 and 5 are then not switched on. If, on the other hand, deeper recesses are desired, come laser beams 4 and 5 are also used.
  • Another advantage of the above principle is that in the formation of a Recess V by repeatedly removing the bottom of the same Area with only one or more laser beams the beam power can be kept relatively low, with the result that optical switching elements are used for switching the laser beams on and off can, which have a relatively fast switching behavior, but not may be burdened with too high performance. So you can simultaneously produce fine and very deep structures, which leads to a considerable improvement in quality in the production of printing forms (printing plates, printing rollers, etc.) leads.
  • switching elements of the type mentioned for example acousto-optical modulators, deflectors or Beam deflectors, such as mirrors, etc.
  • the printing form blank according to FIG. 1 can be, for example, one act as a plate-shaped blank that is processed in a flat state, or around a cylindrical printing form blank, for example on the Surface of a rotatably mounted cylinder lies and from this again is removable.
  • the cylinder itself could also be used as a blank be referred to when it is on its surface, for example with polymer material would be coated.
  • the laser beams 3, 4 and 5 could according to an embodiment of the invention have different performances.
  • the leading laser beam 3 for example, might have a lower performance than the two lagging Laser beams 4 and 5, first with the laser beam 3 the edges of the relief better at relatively low performance or the To be able to generate plateaus P2. Lower-lying areas of recesses could then be burned away with the more powerful laser beams 4 and 5 become.
  • a CO2 laser beam could be used as laser beam 3 100 watts are used, while the laser beams 4 and 5 CO2 laser beams of 200 watts each.
  • the laser beams themselves are focused with the help of lenses 7, 8 and 9, which is why these lenses can be in the same plane, but different Have focal lengths, depending on the depth of the laser beam area to be burned.
  • the lens 7 has the shortest Focal length and the lens 9 the longest focal length.
  • lenses could be approximate same focal length also at the same distance from the printing form blank 1. It would also be possible to have different beam diameters for the individual Use laser beams 3, 4 and 5 if desired.
  • FIG. 2 shows a variant of the principle shown in FIG. 1.
  • an upper region 10 of the printing form blank 1 and the laser beam 3 for processing this upper region 10 or for generating the plateau P2 are spectrally matched to one another.
  • the surface of the printing form blank 1 is coated in the upper region 10 with a corresponding material which is particularly sensitive to the wavelength of the laser beam 3.
  • the laser beam 3 can z. B. generated by a YAG laser whose wavelength is 1.060 microns.
  • the beam itself can have an output of 50 to 100 watts.
  • the material in area 10 must be selected so that it can be easily burned away by laser beam 3.
  • the remaining laser beams 4 and 5 can in turn be generated by CO 2 lasers of 200 watts each in order to be able to burn away deeper regions at a distance from the relief edges. Not so high accuracy is required here, so that beam waists of 30 to 35 ⁇ m in the focus area can be accepted.
  • Figures 1 and 2 show how the relief structures socketed become.
  • the laser beams 3, 4 and 5 are different at track 6 Turn off in track direction 6. It then turns out a staircase-shaped base course, the inclination of the flanks approximately that Corresponds to the course of the focused laser radiation.
  • the base flanks are in 1 and 2 with the numbers 11, 12 and 13.
  • FIG. 3 shows a basic relief pattern 14 in the form of a uniformly blackened pattern Range.
  • This basic relief pattern 14 represents the printing surface is supposed to be lowered on the right for certain reasons and must surrounded on the circumferential side by regions 15, 16 and 17 lying even lower his.
  • the material of the printing form blank 1 must therefore be in the right part of the area 14 and burned away in areas 15, 16 and 17.
  • Figure 4. This is one Cross section along the line A-A in Figure 3.
  • the basic relief pattern shown in FIG. 3 is used to switch the laser beams on and off 14 used.
  • the basic relief pattern 14 can first be shown and in an electronic one Memory can be cached. Then tracks are set on which the laser beams are guided when the relief is engraved becomes. It is assumed that line A-A in Figure 3 is a such trace is concerned.
  • the basic relief pattern 14 can be used before or after Edges 18, 19 are provided, namely inside and outside to the Determine areas 15, 16, 17 in which the material of the printing form blank 1 should be burned away. It is also determined in which part 14a the Relief basic pattern 14 itself should be removed. At the intersections track A-A in FIG. 3 with the basic relief pattern or the borders 18, 19 are then on-off points for the laser beams that are sorted according to the areas to be combined into data files.
  • the data files D1, D2, D3, D4 and D5 each have values "1" and "0" and serve to control acousto-optical modulators, which in turn are used for Switching the laser beams 3, 4 and 5 can be used.
  • the beginning of a Track in Figure 5 at X 0, so that the first time through the track using the Laser beam 3 burned the areas 17, 16 and 15 over the section A. until the laser beam 3 is switched off at X3 or switched on via ⁇ X3 remains.
  • the switch-on and switch-off points or data files can be created after the Borders 18 and 19 and setting the track A-A and the track direction generated automatically with the help of suitable computer programs.
  • FIG. 5 shows the structure of a device for production according to the invention a printing form, such as a flexographic printing form.
  • the device includes a laser engraver with a machine bed 20 the machine bed 20 is the one to be engraved and here is hollow cylindrical trained printing blank 1 rotatably mounted.
  • the printing form blank 1 a central shaft 20a provided by the machine bed 20 Bearings 20b is added.
  • Printing form blank 1 can be rotated about its central axis.
  • An encoder 22 or rotary pulse generator is used to generate pulses which of the respective Correspond to the rotational position of the printing form blank 1.
  • a carriage 23 will on guides 24 moved parallel to the axis of the printing form blank 1.
  • a Screw 25 is used to drive this carriage 23 along the guides 24, the screw 25 via a drive 26 in one or other direction is rotated to take the carriage 23 accordingly.
  • a laser 27 is mounted on the carriage 23, which laser beam 28 emitted.
  • the laser beam 28 is sealed off with the aid of a shutter 29, when it is not needed.
  • the laser beam 28 passes through on and Turn off a modulator 30 and is turned around by a deflecting mirror 31 z.
  • the upper areas of the printing form blank 1 become areas burned away to a relief in the surface of the printing form blank 1 to engrave.
  • the cylindrical printing form blank carries on its surface a polymer coating, so that a flexographic printing plate after the introduction of a relief is obtained.
  • a machine control 33 is provided to control the operation of the system, the control lines with the laser 27, the modulator 30, the Rotary drive 26, the motor 21 and the rotary pulse generator 22 is connected.
  • CAD system 34 which is connected to a control computer 35, which in turn is used for control the machine control 33 is used.
  • a designer can view the associated screen design a pattern, such as the basic relief pattern 14 shown in FIG. 3.
  • the designer can then use 34 appropriate commands on the CAD system 34 borders 18 and 19 define the areas relative to the basic relief pattern 14 define in which the surface of the printing form blank 1 outside of the basic relief pattern is to be removed, and areas to be removed 14a within the basic relief pattern 14.
  • the designer can also trace Determine A-A in FIG. 3, later engraving the printing blank 1 shall be.
  • the CAD system 34 then calculates those shown in FIG. 5 Sample information or data files, the number of data files being the number corresponds to the areas to be removed. This can be how already executed, using only one or more successive laser beams are used.
  • the sample information or data files D1 to D5 are then generated by the CAD system 34 transferred to the control computer 35 and stored there, finally to be fed to the machine control system during machining.
  • This ensures the rotation of the printing form blank 1 about its central axis, for the corresponding displacement of the carriage 23 by the laser beam 28 along the predetermined track on the surface of the printing form blank 1 to guide, and for switching the laser beam 28 on and off in accordance with the data files D3 to D5 using the modulator 30, which is designed here as an acousto-optical modulator.
  • FIG. 6 The internal structure of the machine control system is shown in more detail in FIG. Identical elements as in FIG. 6 are provided with the same reference symbols and will not be described again.
  • the machine control 33 contains a central control 36 as well as several Analog switches, in this case five analog switches 37, 38 and 39 and 51 and 52. On the output side there is each of the analog switches with the control input of the modulator 30 in connection. In contrast, the analog switches 37 receive to 39 and 51, 52 each have a different control voltage on the input side via lines 41, 42 and 43 or 47, 48 from the central control 36. Depending on commissioning, one of the analog switches 37 to 39 and 51, 52 a control voltage of different sizes thus reaches the modulator 30, so that in accordance with the selection of one of the analog switches 37 to 39 and 51, 52 the intensity or power control of the laser beam 28 can be done by the modulator 30.
  • Selecting or switching one each of the analog switches 37 to 39 and 51, 52 takes place via control lines 44, 45 and 46 and 49, 50, via which the central control 36 one each the data files D3, D4 and D5 as well as D1, D2 to one of the analog switches 37, 38 and 39 as well as 51, 52.
  • the pattern according to FIG. 4 is along a circumferential line of the printing form blank 1 is to be engraved, namely using only the single laser 27.
  • e.g. B. four Circulations of the printing form blank 1 required or four track passes.
  • the radiation intensity should be relatively low the surface area can be engraved over section A in FIG.
  • the data file D3 succeeded in the control input of the analog switch 37, which is then a relative in accordance with the data file D3 low voltage switches and this switched low voltage to Control input of the modulator 30 transmits.
  • the data file D4 arrives at the control input of the analog switch 38, which is now a higher one, for example for removing region B in FIG Voltage switches in accordance with the data file D4 and this transmits higher voltage to the control input of the modulator 30, so that now the laser beam 28 with higher intensity on the surface of the Printing form blank 1 arrives.
  • the control takes place during the third lane run using the data file D5 at the control input of the third Analog switch 39, which also has a higher voltage to control the Modulator can switch.
  • the data file D1 to the analog switch 51, so that this the laser radiation switches where the voltage reaching the modulator is the one that the analog switch 51 receives via line 47. If a different tension to be switched, the data file D2 can be used now the analog switch 52 switches to the areas 14a with a different intensity or to remove radiation power.
  • the above process can be repeated for a next track lying in parallel etc.
  • the above system can be provided several times, to shorten the engraving time. Then with each lane pass the sled 23 silent. There is also an engraving along helical paths possible, although you can also work in interlace mode to block boundaries to avoid.
  • FIG. 8 shows a second embodiment of a laser processing system according to the invention.
  • the same elements as in Figures 6 and 7 are again with the same reference numerals and will not be repeated described.
  • each of these lasers has its own shutter, modulator and assigned its own lens system.
  • Each of the modulators 30a to 30c that are designed as acousto-optic modulators Analog switches in the machine control 33 assigned to the analog switches Correspond to 37 to 39 in FIG. They will also be the same or different input voltages supplied to focused laser radiation to be able to provide different performance.
  • the focused laser beams 28a to 28c run on helical ones Traces across the surface of the printing form blank 1.
  • the focused one Laser beam 28a goes ahead and initially engraves surface areas, which correspond to the areas A in FIG. 4. Should be a lower one Plateau 14a or P2 are generated, the same laser beam 28a below Use of data file D1 or D2 at time X3 over the period ⁇ X3 be turned on so that it is now z. B. as a low-power jet strikes the blank 1.
  • the modulator could 30a connected to one or both of the analog switches 51, 52 shown in FIG his.
  • the focused laser beam 28b travels along it helical track and thereby engraved areas that the Areas B in FIG. 4 correspond. Then the same track from the focused Laser beam 28c swept to cover the areas along the track engrave that correspond to areas C in Figure 4.
  • the power of the focused laser beams in accordance with the Control embodiment of Figure 7 by about different heights Voltages applied to the control input of the acousto-optic modulators and switched in accordance with the corresponding data files become.
  • a block operation would also be possible here, in which only cylindrical Tracks are traced.
  • FIG 9 A third exemplary embodiment of the device according to the invention is shown in FIG 9 shown.
  • Carriage 23 is fixed, so it is no longer in the longitudinal direction of the cylinder trained printing form blank slidably. Rather is now the printing form blank 1 is mounted displaceably in its cylinder longitudinal direction, to which he is now arranged on the guides 24 and z. B. with Help of the screw 25 is driven, which in turn from the rotary drive 26 is rotated in one direction or the other.
  • This is an advantage Arrangement when very many lasers for simultaneous processing of the Printing form blanks 1 are used because this variety of Lasers are then no longer stable and low in vibrations on a movable one Carriage can be transported.
  • FIG 10 A fourth exemplary embodiment of the system according to the invention is shown in FIG 10 shown.
  • three focused laser beams 28a, 28b, 28c arrive at the same time to a circumferential direction of the cylindrical printing form blank 1 running track.
  • the focused laser beams 28a to 28c are in offset in this circumferential direction. They are created with the help three lasers 27a, 27b and 27c, which are arranged on the carriage 23, for example one above the other are arranged horizontally and by three acousto-optical modulators 30a to 30c are switchable or modulatable.
  • the focus is with Using three lenses 32a to 32c, with the top and bottom Beam deflecting mirrors 31a and 31c are provided.
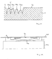
  • FIG. 11 shows a cross section through a flexographic printing forme, which is a larger one Has full surface U, which is surrounded by a grid of points, the through several small mountain-like structures with plateaus P2a, P2b, P2c and P2d is formed, which are separated from one another by recesses V.
  • the full surface U lies in the surface 2 of the printing form blank 1, while plateaus P2a, P2b, P2c and P2c lie below surface 2, and the closer they are to the full surface U, the deeper.
  • the printing form shown in Figure 11 for the purpose of printing on the Surface of a roller 53 is placed, and is between the full surface U and Roller 53 a pad 54 (addition) arranged, the printing form in Area of the full surface U is relatively strongly compressed when this against a Printing surface 55 is pressed.
  • the pad 54 is limited to the area of the full surface U, the pressing force against the pressure surface 55 being so is chosen that the surface 2 lying outside the full surface U of the Printing form just comes into contact with printing surface 55 and is practical is not pressed or only slightly. Due to the existence of the document 54 of course, the lower lying plateaus during the pressing process P2a, P2b, P2c and P2d increased, the latter more than the former.

Landscapes

  • Engineering & Computer Science (AREA)
  • Optics & Photonics (AREA)
  • Plasma & Fusion (AREA)
  • Manufacturing & Machinery (AREA)
  • Physics & Mathematics (AREA)
  • Manufacture Or Reproduction Of Printing Formes (AREA)
  • Photosensitive Polymer And Photoresist Processing (AREA)
  • Manufacturing Of Printed Wiring (AREA)
  • Printing Methods (AREA)
  • Inks, Pencil-Leads, Or Crayons (AREA)
  • Laser Beam Processing (AREA)
  • Exposure And Positioning Against Photoresist Photosensitive Materials (AREA)
  • Moulds For Moulding Plastics Or The Like (AREA)

Abstract

Bei einer Druckform wird in die Oberfläche eines Druckformrohlings (1) ein Relief dadurch eingebracht, daß Material des Druckformrohlings (1) entlang von Spuren bereichsweise durch Strahlung abgetragen wird, um dadurch Ausnehmungen (V) zu bilden, zwischen denen Plateaus zu liegen kommen. Erfindungsgemäß wird auch die zwischen den Ausnehmungen (V) liegende Oberfläche des Druckformrohlings (1) durch Strahlung abgetragen, um dadurch tiefer liegende Plateaus (P2) zu erhalten. <IMAGE>

Description

Die Erfindung betrifft ein Verfahren und eine Vorrichtung zur Herstellung einer Druckform gemäß den Ansprüchen 1 und 21. Bei der Druckform kann es sich z. B. um eine flexible bzw. Flexodruckform handeln, die als Hochdruckoder Tiefdruckform arbeiten kann.
Es ist bereits allgemein bekannt, zur Herstellung einer Flexodruckform mit Hilfe eines herkömmlichen CO2-Lasers Material direkt aus einer Druckplatte herauszubrennen, die etwa eine Polymerplatte sein kann, um auf diese Weise in der Druckplatte ein Relief zu erzeugen. Bei diesem Verfahren wird der CO2-Laser permanent leistungsmoduliert, um auf diese Weise das Relief begrenzende Ausnehmungen in der Oberfläche der Druckplatte zu erhalten.
Ferner ist es aus der PCT/EP96/05277 bereits bekannt, zur Herstellung einer Flexodruckform zwei Laserstrahlenquellen zu verwenden, um mit der ersten Laserstrahlenquelle feine Strukturen eines gewünschten Profils herzustellen, während mit der zweiten Laserstrahlenquelle tiefer liegende Bereiche im Profil erzeugt werden.
Zum Stand der Technik gehören ferner Verfahren, um kleine Rasterpunkte in einem Relief tiefer zu legen. Dies geschieht dadurch, daß fokussierte Strahlen eng nebeneinander versetzt auf entsprechende Bereiche auftreffen und das Material in Übereinstimmung mit dem fokussierten Verlauf der Strahlen abtragen. Es ergibt sich dann eine Art Kegel, dessen Kegelspitze mehr oder weniger tief im Relief liegt. Wird beim späteren Druck unterhalb der Druckform eine Zugabe angeordnet, also eine Art Unterlage, so kann durch diese Unterlage die Kegelspitze wieder in den Bereich der Druckfläche angehoben werden. Druckmaterial haftet an dieser Kegelspitze aber nur schlecht, so daß sich ein unsauberes Druckbild ergibt. Rasterpunkte darstellende Kegelspitzen dieser Art werden z. B. in der Umgebung von Vollflächen vorgesehen, um die Vollflächen im späteren Druck besser hervorheben zu können. Unterhalb einer Vollfläche kommt beim späteren Druck die genannte Unterlage zu liegen, um beim Drucken einen hohen Anpreßdruck zu erhalten. Würde man die Tiefe der die Vollfläche umgebenden Rasterpunkte nicht zuvor verringern, würden sich diese zu stark gegen die spätere Druckfläche drücken und verbiegen, was ebenfalls das Druckbild verschlechtern würde.
Der Erfindung liegt die Aufgabe zugrunde, ein Verfahren zur Herstellung einer Druckform, insbesondere einer Flexodruckform anzugeben, mit dem sich beim späteren Druck anzuhebende feine Reliefstrukturen so herstellen lassen, daß sie zu einem einwandfreien Druckbild führen. Darüber hinaus soll eine entsprechende Vorrichtung zur Herstellung solcher Druckformen geschaffen werden.
Eine verfahrensseitige Lösung der gestellten Aufgabe findet sich im Anspruch 1. Dagegen findet sich eine vorrichtungsseitige Lösung der gestellten Aufgabe im Anspruch 21. Vorteilhafte Ausgestaltungen der Erfindung sind den jeweils nachgeordneten Unteransprüchen zu entnehmen.
Bei einem Verfahren zur Herstellung einer Druckform wird in die Oberfläche eines Druckformrohlings ein Relief dadurch eingebracht, daß Material des Druckformrohlings entlang von Spuren bereichsweise durch Strahlung abgetragen wird, um dadurch Ausnehmungen zu bilden, zwischen denen Plateaus zu liegen kommen. Erfindungsgemäß wird nun auch die zwischen den Ausnehmungen liegende Oberfläche des Druckformrohlings durch Strahlung so abgetragen, daß dadurch tiefer liegende Plateaus erhalten werden.
Anders als beim zuletzt beschriebenen Stand der Technik werden also feine und später anzuhebende Rasterpunkte im Relief nicht dadurch erzeugt, daß durch kegelförmige und eng benachbarte Strahlen mehr oder weniger tief liegende Kegelspitzen im Relief gebildet werden, sondern daß zwischen den jeweiligen Ausnehmungen vorhandene und zunächst in der Oberfläche des Druckformrohlings liegende Ausgangsplateaus mehr oder weniger gleichmäßig in ihrer Tiefe verringert werden, um tiefer liegende Plateaus zu erhalten, deren Plateaufläche nach wie vor mehr oder weniger parallel zur Oberfläche des Druckformrohlings zu liegen kommt. Werden beim späteren Druck diese Plateaus angehoben, und zwar in die Druckfläche, so bleibt an ihnen genügend Druckmaterial haften, um ein sauberes Druckbild zu erhalten. In dieser Weise wird verfahren, wenn z. B. eine relativ große Vollfläche von einem feinen Raster umgeben wird, um die Vollfläche besser hervorzuheben.
Nach einer Ausgestaltung der Erfindung kann zur Einstellung der Tiefe der tiefer liegenden Plateaus die zwischen den Ausnehmungen liegende Oberfläche des Druckformrohlings durch in ihrer Intensität bzw. Leistung entsprechend angepaßte Strahlung abgetragen werden. Sollen also die zwischen den Ausnehmungen liegenden Plateaus über eine größere Tiefe weggebrannt werden, muß die Intensität bzw. Leistung des Strahls erhöht werden, und umgekehrt.
Nach einer anderen Ausgestaltung der Erfindung kann zur Einstellung der Tiefe der tiefer liegenden Plateaus die zwischen den Ausnehmungen liegende Oberfläche des Druckformrohlings auch durch mehrmaliges Bestrahlen abgetragen werden. Dieses mehrmalige Bestrahlen des Druckformrohlings im Bereich der Plateaus zur Erzeugung der tiefer liegenden Plateaus erfolgt also zeitlich versetzt bzw. nacheinander, so daß ein tiefer liegendes Plateau quasi durch wiederholtes Abschälen des Druckformmaterials erhalten wird.
Da die tiefer liegenden Plateaus der Reliefstruktur durch wiederholtes Bestrahlen bzw. Wegbrennen herausgearbeitet werden, kann die Strahlleistung relativ gering sein, was es mit sich bringt, daß auch sehr schnelle Modulatoren zum Ein- und Ausschalten der Strahlleistung zum Einsatz kommen können, bei deren Verwendung die Strahlleistung gerade begrenzt werden muß, um die Modulatoren vor Zerstörung zu bewahren, etwa akustooptische Modulatoren. Durch wiederholtes und damit relativ sanftes Abtragen der Plateaus wird auch erreicht, daß sich das Druckformmaterial nach jeden Abtragungsvorgang wieder abkühlt, bevor es erneut abgetragen wird, was dazu führt, daß sich das Druckformmaterial in dem Plateaubereich nicht so stark aufheizt und damit das Relief ausgesprochen exakt bzw. formgetreu ausgebildet werden kann. Zwischen den einzelnen Abbrennvorgängen kann der Materialabtrag auch abgeführt werden, z. B. abgesaugt werden, was ein genaueres Arbeiten beim nächsten Abtragvorgang ermöglicht und zu qualitativ besseren Strukturen führt.
Dabei kann das Bestrahlen der Plateaus entlang einer jeweiligen Spur mit ein und demselben Strahl erfolgen, der wiederholt entlang einer Spur geführt wird. Möglich ist aber auch, daß das Bestrahlen entlang einer Spur mit mehreren Strahlen erfolgt, die nacheinander entlang derselben Spur geführt werden. Hierzu können prinzipiell mehrere Strahlen in einer Richtung nebeneinander liegend angeordnet sein, die quer zur Längsrichtung der Spur verläuft, wenn eine entsprechende Relativverschiebung zwischen Spur und Strahlen erfolgt. Es können aber auch mehrere Strahlen in einer Richtung nebeneinander liegend verwendet werden, die in Längsrichtung der Spur verläuft.
Nach einer Ausgestaltung der Erfindung kann die Tiefe der tieferliegenden Plateaus in Abhängigkeit ihrer Lage im Relief unterschiedlich eingestellt werden. So kann z. B. die Tiefe der tiefer liegenden Plateaus in Richtung auf eine in der Oberfläche des Druckformrohlings liegende Vollfläche zunehmen, um sicherzustellen, daß beim späteren Drucken die in der Nähe der Vollfläche vorhandenen tiefer liegenden Plateaus nur bis in die Druckfläche hinein angehoben werden, wenn sich unter der Vollfläche eine Zugabe bzw. Unterlage befindet.
Es sei darauf hingewiesen, daß sich die zwischen den Plateaus vorhandenen Ausnehmungen in der Oberfläche des Druckformrohlings auch durch mehrmaliges Bestrahlen der Oberfläche des Druckformrohlings ausbilden lassen. Dieses mehrmalige Bestrahlen des Druckformrohlings zur Erzeugung der tiefen Ausnehmungen erfolgt dann zeitlich versetzt, bzw. nacheinander, so daß eine tiefer liegende Ausnehmung quasi durch wiederholtes Ausschälen erhalten wird. Die Ausnehmungen könnten aber auch durch entsprechende Leistungssteuerung des Strahls über den Bereich einer Ausnehmung erhalten werden.
In weiterer Ausgestaltung der Erfindung erfolgt die Bestrahlung des Druckformrohlings mit Laserstrahlung, da auf diese Weise die erforderliche Strahlungsgenergie leicht zur Verfügung gestellt werden kann. Diesbezüglich kann fokussierte Laserstrahlung zum Einsatz kommen.
Zur Bearbeitung des Druckformrohlings entlang der Spuren können die Strahlen bzw. Laserstrahlen relativ zum Druckformrohling bewegt werden, oder es wird so verfahren, daß der Druckformrohling relativ zu ortsfesten Strahlen bewegt wird. Auch können die Strahlen und der Druckformrohling beide und relativ zueinander bewegt werden.
Dabei wird zum Beispiel ein Druckformrohling verwendet, der eine Druckoberfläche bildendes elastisches Material aufweist, etwa Polymermaterial, Silicon oder Gummi.
So kann zum Beispiel ein plattenförmiger Druckformrohling aus Polymermaterial oder anderem geeigneten elastischen Material auf die Oberfläche eines drehbar gelagerten Zylinders aufgelegt und dort fest angebracht werden, etwa durch Anklemmen, durch Ansaugen mittels Vakuum, durch Magnete, usw. Zur Bildung eines Druckformrohlings kann aber auch elastisches oder Polymermaterial auf die Oberfläche eines drehbar gelagerten Zylinders aufgezogen bzw. aufgetragen werden. Hier kann es sich z. B. um Schläuche handeln, die auf den Zylinder aufgezogen werden, oder es kann flüssiges Material, bzw. Polymermaterial durch Rakeln, Spritzen und Tauchen, usw. aufgebracht werden.
Nach einer sehr vorteilhaften Weiterbildung der Erfindung erfolgt das Bestrahlen des Druckformrohlings entlang einer jeweiligen Spur in Abhängigkeit eines Datenfiles, das den zwischen den Ausnehmungen liegenden Plateaus zugeordnet ist. Das Abtragen der Materialschichten des Druckformrohlings im Bereich der Plateaus erfolgt somit rein digital, so daß Änderungen der Strahlungsleistung bzw. Ein-/Ausschaltvorgänge sehr schnell ausgeführt werden können. Dabei können zur Bildung der zwischen Plateaus liegenden Ausnehmungen ebenfalls Datenfiles herangezogen werden, die mit dem zuerst genannten Datenfile auch zu einem Gesamtfile zusammengefaßt sein können, derart, daß die Datenfiles z. B. als Glieder einer Kette nacheinander abgearbeitet werden.
Dabei werden die jeweiligen Datenfiles zur Modulation bzw. zum Ein-/Ausschalten der Strahlen herangezogen. Beispielsweise könnten diese Datenfiles zur Steuerung akustooptischer Modulatoren verwendet werden, mit deren Hilfe die Strahlen bzw. Laserstrahlen ein- und ausgeschaltet werden, und deren Funktionsweise allgemein bekannt ist.
Um Strahlen mit unterschiedlicher Intensität hindurchzulassen, können die akustooptischen Modulatoren mit unterschiedlichen Steuerspannungen angesteuert werden. Insofern können den jeweiligen Datenfiles unterschiedliche Steuerspannungen zur Modulation der Strahlen zugeordnet sein, um bei Verwendung eines jeweiligen Datenfiles eine der jeweiligen Steuerspannungen zum Ansteuern eines Modulators zu benutzen. Die jeweilige Steuerspannung wird dann in Übereinstimmung mit dem Datenfile geschaltet. Diese geschaltete Steuerspannung gelangt dann zum Modulator.
Zum Erzeugen der zum Modulator geführten Steuerspannung kann z. B. ein schneller Digital-/Analogwandler verwendet werden, der z. B. ein 8 Bit-Wandler sein kann. Ein Digitalwert gleich null würde die Steuerspannung 0 liefern, während ein zwischen 1 und 255 liegender Digitalwert eine Steuerspannung mit entsprechend eingestellter Höhe zum Modulator geben würde. Möglich ist es aber auch, eine voreingestellte Steuerspannung mit einem Analogschalter zu schalten, wobei am Steuereingang bzw. Schalteingang des Analogschalters ein Datenfile angelegt wird, das lediglich die Werte 0 und 1 aufweist.
Eine erfindungsgemäße Vorrichtung zur Herstellung einer Druckform, insbesondere zum Herstellen einer Flexodruckform enthält eine Halterung zum Halten eines Durckformrohlings, eine optische Einrichtung zum Bestrahlen einer Oberfläche des Druckformrohlings entlang einer Spur mittels wenigstens eines Strahls, um dadurch Bereiche des Druckformrohlings zur Bildung von Ausnehmungen abzutragen, und eine Steuereinrichtung, die unter Verwendung eines Strahlein- und -ausschaltbefehle enthaltende Datenfiles Intensitätsänderungen des wenigstens einen Strahls auf seinem Weg entlang der Spur steuert. Diese Vorrichtung zeichnet sich dadurch aus, daß die Steuereinrichtung so ausgebildet ist, daß sie wenigstens ein jeweils Strahleinund -ausschaltbefehle enthaltendes Datenfile zur Verfügung stellt, um auch die zwischen den Ausnehmungen liegende Oberfläche des Druckformrohlings durch Strahlung abzutragen, um dadurch tiefer liegende Plateaus zu erhalten.
Mit Hilfe der Vorrichtung ist es somit möglich, relativ kleine und bezogen auf die ursprüngliche Oberfläche des Druckformrohlings tiefer liegende Plateaus zu erhalten, deren Plateaufläche praktisch nach wie vor parallel zur ursprünglichen Druckformoberfläche liegt oder konzentrisch zu dieser, falls diese gewölbt sein sollte. Die tiefer liegenden Plateaus sind also nicht mehr auf kegelspitzenförmige Bereiche beschränkt, sondern haben eine flächige Ausdehnung, so daß Druckmaterial (Farbe, Paste und dergleichen) besser daran haftet, was zu einem hochwertigen Druckergebnis führt.
Dabei ist nach einer Ausgestaltung der Erfindung die optische Einrichtung so ausgebildet, daß sie wenigstens einen Strahl ausgibt, wobei die Steuereinrichtung so ausgebildet ist, daß jeweils ein Strahl ein und dieselbe Spur mehrmals durchläuft und mit jedem Spurdurchlauf ein Datenfile bzw. neues Datenfile auslesbar ist. Ist z. B. nur ein Strahl vorhanden und sollen die ursprünglichen Plateaus in mehreren Stufen nacheinander abgeschält bzw. abgebrannt werden, so müßte eine jeweilige Spur entsprechend oft vom Strahl durchlaufen werden.
Möglich ist es aber auch, daß die optische Einrichtung mehrere Strahlen ausgibt, die durch jeweils nur ein separates Datenfile steuerbar sind. In diesem Fall müßten alle Strahlen ein und dieselbe Spur nacheinander durchlaufen.
Hierzu können die Strahlen in einer Richtung nebeneinander liegend angeordnet sein, die quer zur Spurlängsrichtung verläuft, so daß durch entsprechende Verschiebung in Querrichtung die Strahlen nacheinander zur Deckung mit der Spur gebracht werden können. Die Strahlen können aber auch in einer Richtung nebeneinander liegend angeordnet sein, die in Spurlängsrichtung verläuft. In diesem Fall werden die Strahlen durch die Datenfiles in einem zeitlichen Abstand versetzt angesteuert, der dem Abstand der Strahlen in Spurlängsrichtung entspricht.
Als Strahlen können fokussierte Strahlen verwendet werden, etwa fokussierte Laserstrahlen.
Grundsätzlich kann der Druckformrohling ein plattenförmiger Rohling oder ein zylindrischer Druckformrohling sein. Er ist wenigstens an seiner Oberfläche elastisch ausgebildet und besteht vorzugsweise aus Polymermaterial oder enthält zumindest ein solches. Er kann aber auch aus Silicon, Gummi oder anderem Material, etwa aus Metall, bestehen.
Zur Bearbeitung des Druckformrohlings kann dieser bei plattenförmiger Ausbildung zum Beispiel in ebenem Zustand bearbeitet werden, wenn Strahlen entlang von Spuren geführt und im Abstand parallel zu ihm gehalten werden. Strahlenquellen und Druckformrohling könnten dann in parallelen Ebenen relativ zueinander verschoben werden.
Nach einer vorteilhaften Ausgestaltung der Erfindung ist der Druckformrohling als ein um seine Längsachse drehbar gelagerter Zylinder ausgebildet, der auf seiner Oberfläche ein elastisches Material, zum Beispiel Polymermaterial, trägt. Dies kann plattenförmig ausgebildet und um seine Oberfläche herumgelegt sein. Ist es in Form einer Platte auf der Zylinderoberfläche befestigt, kann die Platte von diesem nach der Bearbeitung auch wieder abgenommen werden, um als ebene Druckplatte verwendet zu werden. Das elastische bzw. Polymermaterial kann aber auch fest auf der Oberfläche des zylindrischen Trägers verbleiben, nachdem es auf diesen aufgezogen oder in anderer Form aufgebracht worden ist, etwa durch einen Tauch-, Rakel- oder Spritzvorgang, und dergleichen. In diesem Fall wird später der gesamte Zylinder als Druckzylinder verwendet.
Bei der Bearbeitung bzw. Bestrahlung des Druckzylinders zur Erzeugung des Oberflächenreliefs kann dieser gedreht werden, während gleichzeitig ein in Richtung der Längsachse des Zylinders verschiebbar angeordneter Schlitten bewegt wird, der wenigstens Teile der optischen Einrichtung trägt. Auf diesem Schlitten können etwa Umlenkspiegel zum Umlenken von Laserstrahlen vorhanden sein, oder es können auf ihm direkt Laserstrahlenquellen montiert sein. Möglich ist es auch, bei Drehung des Zylinders um seine Längsachse diesen gleichzeitig auch in Richtung seiner Längsachse zu verschieben, um die Oberfläche des Druckformrohlings bei fest positionierter optischer Einrichtung bearbeiten zu können. Diese Variante wäre von Vorteil, wenn die optische Einrichtung selbst aus einer Vielzahl von Strahlenquellen zur Erzeugung einer Vielzahl von Strahlen besteht und daher eine Dejustierung durch Vibrationen relativ groß ist.
Es wurde bereits erwähnt, dass zur Intensitätssteuerung bzw. Leistungssteuerung, also zum Ein- und Ausschalten der Strahlen Modulatoren vorgesehen sind, die über die Datenfiles ansteuerbar sind. Hierbei kann es sich vorzugsweise um akustooptische Modulatoren handeln, die sehr schnell ansteuerbar sind.
Ein jeweiliger der Modulatoren ist dabei mit wenigstens einem Analogschalter verbunden, über den dem Modulator eine der Musterinformation entsprechende Steuerspannung zuführbar ist, wobei der Analogschalter durch das Datenfile schaltbar ist. Dadurch wird eine sehr präzise digitale Steuerung des bearbeitenden Strahls bzw. Laserstrahls möglich.
So kann zum Beispiel nach einer Ausgestaltung der Erfindung ein Modulator mit den Ausgängen mehrerer Analogschalter verbunden sein, die jeweils durch eines der zum Gravieren entlang einer Spur benötigten mehreren Datenfiles (Musterinformationen) schaltbar sind, wobei die Analogschalter jeweils unterschiedliche Steuerspannungen schalten. Je nach Datenfile und damit ausgewähltem Analogschalter gelangt somit eine andere der Musterinformation entsprechende Steuerspannung zum Modulator, so daß dieser entsprechend der ausgewählten Steuerspannung einen Strahl mit größerer oder kleinerer Intensität bzw. Leistung ausgibt.
Nach einer anderen Ausgestaltung der Erfindung können aber auch mehrere Modulatoren vorhanden sein, denen jeweils ein Analogschalter zugeordnet ist, die jeweils durch eines der zum Gravieren entlang einer Spur benötigten mehreren Datenfiles schaltbar sind, wobei die Analogschalter jeweils unterschiedliche Steuerspannungen schalten.
Die Erfindung und Ausführungsbeispiele werden nachfolgend unter Bezugnahme auf die Zeichnungen im einzelnen beschrieben. Es zeigen:
  • Figur 1 die Bearbeitung eines Druckformrohlings zur Erzeugung eines Reliefs in seiner Oberfläche;
  • Figur 2 die Bearbeitung bei spektral angepasster Oberfläche des Druckformrohlings;
  • Figur 3 ein Relief-Grundmuster mit Umrandungen zur Kennzeichnung von Reliefbereichen, wobei Teile des Reliefgrundmusters und die Reliefbereiche gegenüber dem Grundmuster verschieden tief liegen;
  • Figur 4 einen Schnitt entlang der Linie A-A von Figur 3 zur Erläuterung der Struktur eines fertigen Reliefs in der Oberfläche des Druckformrohlings;
  • Figur 5 vier aus dem Relief-Grundmuster gemäß Figur 3 entlang der Linie A-A erzeugte Datenfiles;
  • Figur 6 eine Vorrichtung nach einem ersten Ausführungsbeispiel der Erfindung zur Herstellung einer Druckform;
  • Figur 7 den genauen Aufbau der Vorrichtung nach Figur 6;
  • Figur 8 eine Vorrichtung nach einem zweiten Ausführungsbeispiel der Erfindung zur Herstellung einer Druckform;
  • Figur 9 eine Vorrichtung nach einem dritten Ausführungsbeispiel der Erfindung zur Herstellung einer Druckform;
  • Figur 10 eine Vorrichtung nach einem vierten Ausführungsbeispiel der Erfindung zur Herstellung einer Druckform.
  • Figur 11 einen Querschnitt durch eine Flexodruckform, hergestellt nach der
    Erfindung; und
  • Figur 12 die Flexodruckform nach Figur 11 beim Druckprozeß.
  • Das der Erfindung zugrundeliegende Arbeitsprinzip wird nachfolgend unter Bezugnahme auf Figur 1 näher beschrieben. In der Figur 1 ist mit dem Bezugszeichen 1 ein Druckformrohling bezeichnet, der aus Polymermaterial hergestellt ist. Zur Herstellung z. B. einer Flexodruckform wird ein Relief in eine Oberfläche 2 des Druckformrohlings 1 eingraviert, indem mit Hilfe von z. B. drei fokussierten Laserstrahlen 3, 4 und 5 Polymermaterial des Druckformrohlings 1 bereichsweise weggebrannt wird. Es könnten auch mehr oder weniger als drei Laserstrahlen verwendet werden. Zu diesem Zweck werden die Laserstrahlen 3, 4 und 5 zeitlich nacheinander entlang einer auf der Oberfläche 2 verlaufenden Spur bewegt, die in Richtung des Pfeils 6 verläuft. Der Laserstrahl 3 ist der voraneilende Laserstrahl und beaufschlagt die Oberfläche 2 des Druckformrohlings 1 zuerst. Ihm folgt entlang der selben Spur und zeitlich versetzt der Laserstrahl 4, dem seinerseits entlang derselben Spur und wiederum zeitlich versetzt der Laserstrahl 5 folgt. Je nach Tiefe einer in die Oberfläche 2 des Druckformrohlings 1 einzubringenden Ausnehmung V bzw. je nach dem, wie tief die zwischen zwei Ausnehmungen V liegende Oberfläche 2 zur Bildung eines tiefer liegenden Plateaus P2 abgetragen werden soll, um ein Relief zu erhalten, werden entweder nur der Laserstrahl 3, die Laserstrahlen 3 und 4 oder alle Laserstrahlen 3, 4 und 5 verwendet. Soll die Ausnehmung V relativ flach sein, wird nur der Laserstrahl 3 eingeschaltet, durch den lediglich ein Abschnitt A unterhalb der Oberfläche 2 des Druckformrohlings 1 weggebrannt wird. Die Laserstrahlen 4 und 5 werden dann nicht eingeschaltet. Sind dagegen tiefere Ausnehmungen erwünscht, kommen auch die Laserstrahlen 4 und 5 zum Einsatz. Hierbei wird wiederum zunächst mit Hilfe des Laserstrahls 3 der obere Abschnitt A des Druckformrohlings 1 weggebrannt, während kurze Zeit später der unterhalb des Bodens des Abschnitts A liegende Abschnitt B mit Hilfe des Laserstrahls 4 weggebrannt wird. Bei noch tieferer Ausnehmung wird nach Einsatz des Laserstrahls 4 der unterhalb des Bodens des Abschnitts B liegende Abschnitt C mit Hilfe des Laserstrahls 5 weggebrannt, usw. Durch die Laserstrahlen 3, 4 und 5 werden also Reliefbereiche, in denen verhältnismäßig tiefe Ausnehmungen erzeugt werden sollen, zeitlich nacheinander mehrmals bestrahlt, um in zeitlich aufeinander folgenden Schritten den Boden der jeweils zuerst erhaltenen Ausnehmung weiter wegzubrennen bzw. auszuheben.
    Mit Hilfe des oben beschriebenen Prinzips werden erfindungsgemäß ebenfalls zwischen den jeweiligen Ausnehmungen V liegende Oberflächenbereiche des Druckformrohlings 1 abgetragen. Bezeichnet man den in Spurlängsrichtung 6 zwischen aufeinanderfolgenden Ausnehmungen V liegenden Bereich der Oberfläche 2 als ein Plateau P1, so kann in diesem Bereich ein tiefer liegendes Plateau P2 dadurch erzeugt werden, daß der Laserstrahl 3 im Bereich des Plateaus P1 eingeschaltet bleibt oder ein nicht dargestellter weiterer Laserstrahl eingeschaltet wird, und zwar bis zum Beginn der nächsten Ausnehmung V. Bei diesem anderen Laserstrahl könnte es sich auch um einen solchen mit niedrigerer Intensität bzw. Leistung handeln, durch den das Plateau P2 nicht so tief gelegt wird wie in Figur 1. Entscheidend für die Ausbildung des Plateaus P2 ist, daß das zunächst in der Oberfläche 2 liegende Plateau P1 zwischen aufeinanderfolgenden Ausnehmungen V mittels eines in Spurlängsrichtung 6 bewegten Strahls gleichmäßig abgetragen bzw. abgeschält oder abgebrannt wird, so daß das Plateau P2 nach wie vor mit seiner Oberfläche parallel zur eigentlichen Oberfläche 2 des Druckformrohlings 1 liegt. Wird für einen späteren Druckvorgang durch eine unterhalb der Druckform anzubringende Unterlage das Plateau P2 in die Druckfläche angehoben, so kann sich auf dem Plateau P2 Druckmaterial (Paste, Farbe und dergleichen) gut ablagern, so daß ein einwandfreier Druck sichergestellt ist. Es ist klar, daß nicht zwischen allen aufeinanderfolgenden Ausnehmungen V die Oberfläche 2 des Druckformrohlings 1 auf das Plateau P2 abgetragen werden muss, sondern nur für den Fall, daß dies gewünscht bzw. aus drucktechnischen Gründen erforderlich ist. Dies ist beispielsweise der Fall, wenn größere Vollflächen zu deren stärken Hervorhebung im Druck durch einen Raster umgeben werden sollen und die Rasterberge abgesenkt werden müssen, und zwar um so weiter, je näher sie an der Vollfläche liegen. Das Absenken dieser Rasterberge kann dann durch wiederholtes Bestrahlen gemäß dem in Figur 1 gezeigten Prinzip erfolgen, oder durch jeweils einmaliges Bestrahlen mit einem Strahl einer solchen Stärke, die einen Materialabtrag über die gewünschte Tiefe ermöglicht.
    Ein weiterer Vorteil des obigen Prinzips liegt darin, daß bei der Bildung einer Ausnehmung V durch das wiederholte Abtragen des Bodens ein und desselben Bereichs mit nur einem oder mehreren Laserstrahlen die Strahlleistung relativ gering gehalten werden kann, was zur Folge hat, daß optische Schaltelemente für das Ein- und Ausschalten der Laserstrahlen zum Einsatz kommen können, die ein relativ schnelles Schaltverhalten aufweisen, aber nicht mit zu hoher Leistung belastet werden dürfen. Somit lassen sich gleichzeitig feine und sehr tiefe Strukturen erzeugen, was zu einer erheblichen Qualitätsverbesserung bei der Herstellung von Druckformen (Druckplatten, Druckwalzen, etc.) führt. Als Schaltelemente der genannten Art könnten zum Beispiel akustooptische Modulatoren zum Einsatz kommen, Deflektoren oder Strahlablenker, wie Spiegel, etc.
    Beim Druckformrohling nach Figur 1 kann es sich zum Beispiel um einen plattenförmigen Rohling handeln, der in ebenem Zustand bearbeitet wird, oder um einen zylindrischen Druckformrohling, der beispielsweise auf der Oberfläche eines drehbar gelagerten Zylinders liegt und von diesem wieder abnehmbar ist. Der Zylinder selbst könnte aber auch als Druckformrohling bezeichnet werden, wenn er auf seiner Oberfläche zum Beispiel mit Polymermaterial beschichtet wäre.
    Die Laserstrahlen 3, 4 und 5 könnten nach einer Ausgestaltung der Erfindung unterschiedliche Leistungen aufweisen. Der voraneilende Laserstrahl 3 könnte zum Beispiel eine niedrigere Leistung haben als die beiden nacheilenden Laserstrahlen 4 und 5, um mit dem Laserstrahl 3 zunächst die Ränder des Reliefs bei verhältnismäßig geringer Leistung besser festlegen oder die Plateaus P2 erzeugen zu können. Tiefer liegende Bereiche von Ausnehmungen könnten dann mit den leistungsstärkeren Laserstrahlen 4 und 5 weggebrannt werden. So könnte zum Beispiel als Laserstrahl 3 ein CO2-Laserstrahl mit 100 Watt zum Einsatz kommen, während die Laserstrahlen 4 und 5 CO2-Laserstrahlen von jeweils 200 Watt sind.
    Die Laserstrahlen selbst werden mit Hilfe von Linsen 7, 8 und 9 fokussiert, wozu diese Linsen zum Beispiel in derselben Ebene liegen können, jedoch unterschiedliche Brennweiten aufweisen, je nach Tiefe des von den Laserstrahlen wegzubrennenden Bereichs. In Figur 1 weist die Linse 7 die kürzeste Brennweite auf und die Linse 9 die längste Brennweite. Natürlich könnte man auch Linsen mit gleicher Brennweite in unterschiedlichen Ebenen verwenden, falls gewünscht. Bei weniger genauen Reliefs könnten Linsen mit annähernd gleicher Brennweite auch im gleichen Abstand zum Druckformrohling 1 liegen. Möglich wäre es auch, unterschiedliche Strahldurchmesser für die einzelnen Laserstrahlen 3, 4 und 5 zu verwenden, falls erwünscht.
    Die Figur 2 zeigt eine Variante des in Figur 1 gezeigten Prinzips. Hier sind ein oberer Bereich 10 des Druckformrohlings 1 und der Laserstrahl 3 zur Bearbeitung dieses oberen Bereichs 10 bzw. zur Erzeugung des Plateaus P2 spektral aneinander angepasst. Dazu ist die Oberfläche des Druckformrohlings 1 im oberen Bereich 10 mit entsprechendem Material beschichtet, das auf die Wellenlänge des Laserstrahls 3 besonders empfindlich ist. Der Laserstrahl 3 kann hier z. B. durch einen YAG-Laser erzeugt werden, dessen Wellenlänge bei 1,060 µm liegt. Der Strahl selbst kann eine Leistung von 50 bis 100 Watt aufweisen. Mittels eines derartigen Lasers wird eine Strahltaille im Fokus von etwa 10 µm erhalten, so daß sich im Oberflächenbereich des Druckformrohlings 1 ausgesprochen feine Strukturen herstellen lassen. Hierzu muss das Material im Bereich 10 aber so gewählt sein, daß es sich durch den Laserstrahl 3 leicht wegbrennen lässt. Die restlichen Laserstrahlen 4 und 5 können wiederum durch CO2-Laser von jeweils 200 Watt erzeugt werden, um tiefer liegende Bereiche im Abstand zur den Reliefkanten wegbrennen zu können. Hier ist keine so hohe Genauigkeit gefordert, so daß im Fokusbereich liegende Strahltaillen von 30 bis 35 µm akzeptiert werden können.
    Die Figuren 1 und 2 lassen erkennen, wie die Reliefstrukturen versockelt werden. Hierzu werden die Laserstrahlen 3, 4 und 5 in Spurrichtung 6 an unterschiedlichen Stellen in Spurrichtung 6 ausgeschaltet. Es ergibt sich dann ein treppenförmiger Sockelverlauf, wobei die Neigung der Flanken etwa dem Verlauf der fokussierten Laserstrahlung entspricht. Die Sockelflanken sind in den Figuren 1 und 2 mit 11, 12 und 13 bezeichnet.
    Die Figur 3 zeigt ein Relief-Grundmuster 14 in Form eines gleichmäßig geschwärzten Bereichs. Dieses Relief-Grundmuster 14 stellt die druckende Fläche dar, soll rechts aus bestimmten Gründen tiefer gelegt werden und muß umfangsseitig von noch tiefer liegenden Bereichen 15, 16 und 17 umgeben sein. Das Material des Druckformrohlings 1 muß also im rechten Teil des Bereichs 14 und in den Bereichen 15, 16 und 17 weggebrannt werden. Die resultierende Struktur ist in Figur 4 zu erkennen. Es handelt sich hier um einen Querschnitt entlang der Linie A-A in Figur 3.
    Zum Ein- und Ausschalten der Laserstrahlen wird das in Figur 3 gezeigte Relief-Grundmuster 14 herangezogen. Auf dem Bildschirm eines Computers kann das Relief-Grundmuster 14 zunächst dargestellt und in einem elektronischen Speicher zwischengespeichert werden. Sodann werden Spuren festgelegt, auf denen die Laserstrahlen geführt werden, wenn das Relief graviert wird. Es sei angenommen, daß es sich bei der Linie A-A in Figur 3 um eine solche Spur handelt. Das Relief-Grundmuster 14 kann zuvor oder danach mit Umrandungen 18, 19 versehen werden, und zwar innen und außen, um die Bereiche 15, 16, 17 festzulegen, in denen das Material des Druckformrohlings 1 weggebrannt werden soll. Ferner wird festgelegt, in welchem Teil 14a das Relief-Grundmuster 14 selbst abgetragen werden soll. An den Schnittpunkten der Spur A-A in Figur 3 mit dem Relief-Grundmuster bzw. den Umrandungen 18, 19 liegen dann Ein-Ausschaltpunkte für die Laserstrahlen vor, die, sortiert nach den Bereichen, zu Datenfiles zusammengefasst werden.
    Bewegt man sich zum Beispiel entlang der Linie A-A in Figur 3 in Richtung des Pfeils 6, und zwar mit den Laserstrahlen 3, 4 und 5 in Figur 1, so ergibt der erste Schnittpunkt der Spur A-A mit dem Relief-Grundmuster 14 einen Ausschaltpunkt X3 für den Laserstrahl 3, der in Figur 5 gezeigt ist. Der Schnittpunkt der Umrandung 18 mit der Spur A-A ergibt dann einen Ausschaltpunkt X4 für den Laserstrahl 4, während der Schnittpunkt der Umrandung 19 mit der Spur A-A einen Ausschaltpunkt X5 für den Laserstrahl 5 ergibt. Auch die Punkte X4 und X5 sind in Figur 5 eingezeichnet. Bei weiterer Bewegung entlang der Spur A-A in Figur 3 in Richtung des Pfeils 6 ergeben sich wiederum für die Laserstrahlen 3, 4 und 5 Einschaltpunkte, wiederum Ausschaltpunkte usw., so daß schließlich die drei in Figur 5 gezeigten Datenfiles D3, D4 und D5 zum Aus- und Einschalten der Laserstrahlen 3, 4 und 5 erhalten werden. Zur Absenkung des Bereichs 14a könnte man den Laserstrahl 3 an der Stelle X3 auch wieder einschalten (oder eingeschaltet lassen), oder einen nicht dargestellten weiteren Laserstrahl einschalten. Dies könnte unter Steuerung des Datenfiles D1 erfolgen. Im Falle des weiteren Laserstrahls könnte dieser auch mit einem Datenfile D2 gesteuert werden, welches über einen Analogschalter eine niedrigere oder höhere Spannung steuert und dafür sorgt, daß jetzt der weitere Laserstrahl mit geringerer oder größerer Intensität bzw. Leistung geschaltet wird.
    Die Datenfiles D1, D2, D3, D4 und D5 weisen jeweils Werte "1" und "0" auf und dienen zur Ansteuerung akustooptischer Modulatoren, die ihrerseits zum Schalten der Laserstrahlen 3, 4 und 5 verwendet werden. Der Beginn einer Spur sei in Figur 5 bei X=0, so daß beim ersten Spurdurchlauf mit Hilfe des Laserstrahls 3 die Bereiche 17, 16 und 15 über den Abschnitt A weggebrannt werden, bis der Laserstrahl 3 bei X3 ausgeschaltet wird oder über ΔX3 eingeschaltet bleibt. Beim zweiten Spurdurchlauf wird der Laserstrahl 4 bei X=0 eingeschaltet und bei X4 ausgeschaltet, so daß durch den zweiten Laserstrahl 4 der Abschnitt B über die Bereiche 17 und 16 gebrannt wird. Beim dritten Spurdurchlauf wird bei X=0 der Laserstrahl 5 eingeschaltet und bei X5 ausgeschaltet, so daß jetzt über den Abschnitt C nur der Bereich 17 weggebrannt wird. Gesehen vom Ort X=0 wird also der Laserstrahl 3 am spätesten ausgeschaltet, und der Laserstrahl 5 am frühesten. Nach Durchlaufen des rechten Zweigs des Relief-Grundmusters in Figur 3 erfolgt dann wiederum das Einschalten der Laserstrahlen 3, 4 und 5 in dieser Reihenfolge, usw. Statt den Laserstrahl 3 bei X3 über ΔX3 eingeschaltet zu lassen könnte auch bei einem vierten Spurdurchlauf zum Zeitpunkt X3 über ΔX3 ein weiterer Strahl eingeschaltet werden, um das Relief im Bereich 14a abzutragen, wie die Figur 4 und Figur 5 zeigen.
    Die Ein- und Ausschaltpunkte bzw. Datenfiles können nach Herstellung der Umrandungen 18 und 19 und Festlegen der Spur A-A sowie der Spurrichtung mit Hilfe geeigneter Computerprogramme automatisch erzeugt werden.
    Die Figur 5 zeigt den Aufbau einer erfindungsgemäßen Vorrichtung zur Herstellung einer Druckform, etwa einer Flexodruckform.
    Zur Vorrichtung gehört ein Laserengraver mit einem Maschinenbett 20. Auf dem Maschinenbett 20 ist der zu gravierende und hier hohlzylinderförmig ausgebildete Druckformrohling 1 drehbar gelagert. Hierzu weist der Druckformrohling 1 eine zentrale Welle 20a auf, die von am Maschinenbett 20 vorgesehenen Lagern 20b aufgenommen wird. Mittels eines Motors 21 kann der Druckformrohling 1 um seine Zentralachse gedreht werden. Ein Encoder 22 bzw. Drehimpulsgeber dient zur Erzeugung von Impulsen, welche der jeweiligen Drehstellung des Druckformrohlings 1 entsprechen. Ein Schlitten 23 wird auf Führungen 24 parallel zur Achse des Druckformrohlings 1 bewegt. Eine Schraubspindel 25 dient zum Antreiben dieses Schlittens 23 entlang der Führungen 24, wobei die Schraubspindel 25 über einen Antrieb 26 in der einen oder anderen Richtung gedreht wird, um den Schlitten 23 entsprechend mitzunehmen.
    Auf dem Schlitten 23 ist ein Laser 27 montiert, der einen Laserstrahl 28 emittiert. Der Laserstrahl 28 wird mit Hilfe eines Shutters 29 abgeschottet, wenn er nicht benötigt wird. Der Laserstrahl 28 durchläuft zum Ein- und Ausschalten einen Modulator 30 und wird durch einen Umlenkspiegel 31 um z. B. 90° umgelenkt und durch ein Linsensystem 32 auf die Oberfläche des zylindrischen Druckformrohlings 1 fokussiert. Mit Hilfe des fokussierten Laserstrahls 28 werden die oberen Bereiche des Druckformrohlings 1 bereichsweise weggebrannt, um in die Oberfläche des Druckformrohlings 1 ein Relief zu gravieren. Dazu trägt der zylindrische Druckformrohling an seiner Oberfläche eine Polymerbeschichtung, so daß nach Einbringen eines Reliefs eine Flexodruckform erhalten wird.
    Zur Betriebssteuerung der Anlage ist eine Maschinensteuerung 33 vorhanden, die über Steuerleitungen mit dem Laser 27, dem Modulator 30, dem Drehantrieb 26, dem Motor 21 und dem Drehimpulsgeber 22 verbunden ist.
    Ferner gehören zur Vorrichtung nach Figur 6 ein CAD-System 34, welches mit einem Steuerungscomputer 35 verbunden ist, der seinerseits zur Ansteuerung der Maschinensteuerung 33 dient.
    Mit Hilfe des CAD-Systems 34 kann ein Designer am zugehörigen Bildschirm ein Muster entwerfen, etwa das in Figur 3 gezeigte Relief-Grundmuster 14. Der Designer kann dann über entsprechende Befehle am CAD-System 34 Umrandungen 18 und 19 relativ zum Relief-Grundmuster 14 definieren, die Bereiche festlegen, in denen die Oberfläche des Druckformrohlings 1 außerhalb des Relief-Grundmusters abgetragen werden soll, und abzutragende Bereiche 14a innerhalb des Relief-Grundmusters 14. Auch kann der Designer die Spur A-A in Figur 3 bestimmen, entlang später der Druckformrohling 1 graviert werden soll. Das CAD-System 34 errechnet danach die in Figur 5 gezeigten Musterinformationen bzw. Datenfiles, wobei die Anzahl der Datenfiles der Anzahl der Bereiche entspricht, die abgetragen werden sollen. Dies kann, wie bereits ausgeführt, unter Verwendung nur eines einzigen oder mehrerer nacheinander zur Anwendung gelangender Laserstrahlen erfolgen. Die Musterinformationen bzw. Datenfiles D1 bis D5 werden dann vom CAD-System 34 zum Steuerungscomputer 35 übertragen und dort gespeichert, um schließlich im Bearbeitungsfall der Maschinensteuerung zugeführt zu werden. Diese sorgt für die Drehung des Druckformrohlings 1 um seine Zentralachse, für die entsprechende Verschiebung des Schlittens 23, um den Laserstrahl 28 entlang der vorbestimmten Spur auf der Oberfläche des Druckformrohlings 1 zu führen, und für das Ein- und Ausschalten des Laserstrahls 28 in Übereinstimmung mit den Datenfiles D3 bis D5 unter Verwendung des Modulators 30, der hier als akustooptischer Modulator ausgebildet ist.
    Der interne Aufbau der Maschinensteuerung ist in Figur 7 genauer dargestellt. Gleiche Elemente wie in Figur 6 mit den gleichen Bezugszeichen versehen und werden nicht nochmals beschrieben.
    Die Maschinensteuerung 33 enthält eine zentrale Steuerung 36 sowie mehrere Analogschalter, in diesem Fall fünf Analogschalter 37, 38 und 39 sowie 51 und 52. Ausgangsseitig steht jeder der Analogschalter mit dem Steuereingang des Modulators 30 in Verbindung. Dagegen empfangen die Analogschalter 37 bis 39 und 51, 52 eingangsseitig jeweils eine verschiedene Steuerspannung über die Leitungen 41, 42 und 43 bzw. 47, 48 von der zentralen Steuerung 36. Je nach Inbetriebnahme eines der Analogschalter 37 bis 39 und 51, 52 gelangt somit eine Steuerspannung unterschiedlicher Größe zum Modulator 30, so daß in Übereinstimmung mit der Auswahl eines der Analogschalter 37 bis 39 und 51, 52 die Intensitäts- bzw. Leistungssteuerung des Laserstrahls 28 durch den Modulator 30 erfolgen kann. Das Auswählen bzw. Schalten eines jeden des Analogschalter 37 bis 39 und 51, 52 erfolgt über Steuerleitungen 44, 45 und 46 sowie 49, 50, über die die zentrale Steuerung 36 jeweils eines der Datenfiles D3, D4 und D5 sowie D1, D2 zu einem der Analogschalter 37, 38 und 39 sowie 51, 52 schickt.
    Im nachfolgenden sei angenommen, daß das Muster gemäß Figur 4 entlang einer Umfangslinie des Druckformrohlings 1 graviert werden soll, und zwar unter Verwendung nur des einzigen Lasers 27. In diesem Fall sind z. B. vier Umläufe des Druckformrohlings 1 erforderlich bzw. vier Spurdurchläufe. Beim ersten Spurdurchlauf soll mit verhältnismäßig geringer Strahlungsintensität der Oberflächenbereich über den Abschnitt A in Figur 4 graviert werden. Hierzu gelang das Datenfile D3 an den Steuerungseingang des Analogschalters 37, der dann in Übereinstimmung mit dem Datenfile D3 eine relativ geringe Spannung schaltet und diese geschaltete geringe Spannung zum Steuerungseingang des Modulators 30 überträgt. Beim nächsten Spurdurchlauf gelangt das Datenfile D4 an den Steuerungseingang des Analogschalters 38, der jetzt zum Beispiel zum Abtragen des Bereichs B in Figur 4 eine höhere Spannung in Übereinstimmung mit dem Datenfile D4 schaltet und diese höhere Spannung an den Steuerungseingang des Modulators 30 überträgt, so daß jetzt der Laserstrahl 28 mit höherer Intensität auf die Oberfläche des Druckformrohlings 1 gelangt. Beim dritten Spurdurchlauf erfolgt die Steuerung unter Verwendung des Datenfiles D5 am Steuerungseingang des dritten Analogschalters 39, der ebenfalls eine höhere Spannung zur Steuerung des Modulators schalten kann. Beim vierten Spurdurchlauf gelang schließlich das Datenfile D1 zum Analogschalter 51, so daß dieser die Laserstrahlung schaltet, woher die zum Modulator gelangende Spannung diejenige ist, die der Analogschalter 51 über die Leitung 47 empfängt. Wenn eine andere Spannung geschaltet werden soll, kann das Datenfile D2 verwendet werden, das jetzt den Analogschalter 52 schaltet, um die Bereiche 14a mit anderer Intensität bzw. Strahlungsleistung abzutragen.
    Der oben genannte Vorgang kann für eine parallel liegende nächste Spur wiederholt werden, usw. Natürlich lässt sich das obige System mehrfach vorsehen, um die Gravurzeit zu verkürzen. Bei jedem Spurdurchlauf steht dann der Schlitten 23 still. Auch eine Gravur entlang wendelförmiger Bahnen ist möglich, wobei auch im Interlace-Betrieb gearbeitet werden kann, um Blockgrenzen zu vermeiden.
    Die Figur 8 zeigt eine zweite Ausführungsform einer erfindungsgemäßen Laserbearbeitungsanlage. Gleiche Elemente wie in den Figuren 6 und 7 sind wiederum mit dem gleichen Bezugszeichen versehen und werden nicht nochmals beschrieben.
    In Abweichung zum Ausführungsbeispiel nach den Figuren 6 und 7 sind hier auf dem Schlitten 23 drei nebeneinander liegende Laser 27a bis 27c vorhanden. Jedem dieser Laser ist ein eigener Shutter, ein eigener Modulator und ein eigenes Linsensystem zugeordnet. Jeder der Modulatoren 30a bis 30c, die wiederum als akustooptische Modulatoren ausgebildet sind, ist ein eigener Analogschalter in der Maschinensteuerung 33 zugeordnet, die den Analogschaltern 37 bis 39 in Figur 7 entsprechen. Sie werden ebenfalls mit gleichen oder unterschiedlichen Eingangsspannungen versorgt, um fokussierte Laserstrahlung unterschiedlicher Leistung bereitstellen zu können.
    Wird bei Drehung des zylinderförmigen Druckformrohlings 1 um seine Längsachse der Schlitten 23 gleichzeitig von rechts nach links in Figur 8 verschoben, so laufen die fokussierten Laserstrahlen 28a bis 28c auf schraubenlinienförmigen Spuren über die Oberfläche des Druckformrohlings 1. Der fokussierte Laserstrahl 28a geht dabei voran und graviert zunächst Oberflächenbereiche, die den Bereichen A in Figur 4 entsprechen. Soll ein tiefer liegendes Plateau 14a bzw. P2 erzeugt werden, kann derselbe Laserstrahl 28a unter Verwendung des Datenfiles D1 oder D2 zum Zeitpunkt X3 über den Zeitraum ΔX3 eingeschaltet werden, so daß er jetzt z. B. als leistungsärmerer Strahl auf den Druckformrohling 1 auftrifft. Zu diesem Zweck könnte der Modulator 30a mit einem oder beiden der in Figur 7 gezeigten Analogschalter 51, 52 verbunden sein. Als nächstes läuft der fokussierte Laserstrahl 28b entlang derselben schraubenlinienförmigen Spur und graviert dabei Bereiche, die den Bereichen B in Figur 4 entsprechen. Sodann wird dieselbe Spur vom fokussierten Laserstrahl 28c überstrichen, um die Bereiche entlang der Spur zu gravieren, die den Bereichen C in Figur 4 entsprechen. Auch hier lässt sich die Leistung der fokussierten Laserstrahlen in Übereinstimmung mit dem Ausführungsbeispiel nach Figur 7 steuern, indem etwa unterschiedlich hohe Spannungen an den Steuerungseingang der akustooptischen Modulatoren angelegt und in Übereinstimmung mit den entsprechenden Datenfiles geschaltet werden. Auch wäre hier ein Blockbetrieb möglich, bei dem nur zylindrische Spuren abgefahren werden.
    Ein drittes Ausführungsbeispiel der erfindungsgemäßen Vorrichtung ist in Figur 9 dargestellt. Gleiche Elemente wie in den Figuren 6 bis 8 sind wiederum mit dem gleichen Bezugszeichen versehen und werden nicht nochmals beschrieben. Im Unterschied zum Ausführungsbeispiel nach Figur 8 ist hier der Schlitten 23 fest angeordnet, ist also nicht mehr in Längsrichtung des zylinderförmig ausgebildeten Druckformrohlings verschiebbar. Vielmehr ist jetzt der Druckformrohling 1 in seiner Zylinderlängsrichtung verschiebbar gelagert, wozu er nunmehr auf den Führungen 24 angeordnet ist und z. B. mit Hilfe der Schraubenspindel 25 angetrieben wird, die ihrerseits vom Drehantrieb 26 in der einen oder anderen Richtung gedreht wird. Von Vorteil ist diese Anordnung, wenn sehr viele Laser zur gleichzeitigen Bearbeitung des Druckformrohlings 1 zum Einsatz kommen, da sich hier diese Vielzahl von Lasern dann nicht mehr stabil und schwingungsarm genug auf einem bewegbaren Schlitten transportieren lässt.
    Ein viertes Ausführungsbeispiel der erfindungsgemäßen Anlage ist in Figur 10 gezeigt. Hier gelangen drei fokussierte Laserstrahlen 28a, 28b, 28c gleichzeitig auf eine in Umfangsrichtung des zylindrischen Druckformrohlings 1 verlaufende Spur. Dabei sind die fokussierten Laserstrahlen 28a bis 28c in dieser Umfangsrichtung gegeneinander versetzt. Erzeugt werden sie mit Hilfe dreier Laser 27a, 27b und 27c, die auf dem Schlitten 23 zum Beispiel übereinander liegend angeordnet sind und durch drei akustooptische Modulatoren 30a bis 30c schaltbar bzw. modulierbar sind. Die Fokussierung erfolgt mit Hilfe dreier Linsen 32a bis 32c, wobei für den obersten und für den untersten Strahl Umlenkspiegel 31a und 31c vorgesehen sind. Auch hier könnte die Steuerung der drei Laserstrahlen mit Hilfe der akustooptischen Modulatoren 30a bis 30c in Übereinstimmung mit dem in Figur 5 gezeigten Schema erfolgen, wenn z. B. der Modulator 30a auch mit den Analogschaltern 51, 52 verbunden wäre.
    Die Figur 11 zeigt einen Querschnitt durch eine Flexodruckform, die eine größere Vollfläche U aufweist, welche von einem Punktraster umgeben ist, der durch mehrere kleine bergartige Strukturen mit Plateaus P2a, P2b, P2c und P2d gebildet ist, welche durch Ausnehmungen V von einander getrennt sind. Die Vollfläche U liegt in der Oberfläche 2 des Druckformrohlings 1, während die Plateaus P2a, P2b, P2c und P2c unterhalb der Oberfläche 2 liegen, und zwar um so tiefer, je näher sie sich an der Vollfläche U befinden.
    Wird die in Figur 11 gezeigte Druckform zum Zwecke des Druckens auf die Oberfläche einer Walze 53 gelegt, und wird zwischen der Vollfläche U und der Walze 53 eine Unterlage 54 (Zugabe) angeordnet, so wird die Druckform im Bereich der Vollfläche U relativ stark komprimiert, wenn diese gegen eine Druckfläche 55 gepresst wird. Die Unterlage 54 beschränkt sich auf den Bereich der Vollfläche U, wobei die Andruckkraft gegen die Druckfläche 55 so gewählt wird, daß die außerhalb der Vollfläche U liegende Oberfläche 2 der Druckform gerade mit der Druckfläche 55 in Kontakt kommt und praktisch nicht oder nur wenig gepresst wird. Infolge des Vorhandenseins der Unterlage 54 werden beim Preßvorgang dann natürlich auch die tiefer liegenden Plateaus P2a, P2b, P2c und P2d angehoben, letzteres aber mehr als das erstere. Sämtliche Plateaus gelangen soweit nach oben, bis sie wieder mit der Oberfläche 2 fluchten und praktisch nicht in Preßkontakt mit der Druckfläche 55 stehen. Dies ist nur bei der Vollfläche U der Fall. Ein starker Anpreßdruck zwischen der Druckfläche 55 und den Plateaus P2a-P2d wird somit vermieden, so daß sie nicht deformiert werden. Dadurch wird eine bessere Druckqualität sichergestellt. Außerdem wird die Druckqualität dadurch verbessert, daß sich auf den ebenen Plateaus P2a-P2d Druckmaterial (Farbe, Paste, etc.) besser anlagern kann.

    Claims (36)

    1. Verfahren zur Herstellung einer Druckform, bei dem in die Oberfläche eines Druckformrohlings (1) ein Relief dadurch eingebracht wird, daß Material des Druckformrohlings (1) entlang von Spuren bereichsweise durch Strahlung abgetragen wird, um dadurch Ausnehmungen (V) zu bilden, zwischen denen Plateaus zu liegen kommen, dadurch gekennzeichnet, daß auch die zwischen den Ausnehmungen (V) liegende Oberfläche des Druckformrohlings (1) durch Strahlung abgetragen wird, um dadurch tiefer liegende Plateaus (P2) zu erhalten.
    2. Verfahren nach Anspruch 1, dadurch gekennzeichnet, daß zur Einstellung der Tiefe der tiefer liegenden Plateaus (P2) die zwischen den Ausnehmungen (V) liegende Oberfläche des Druckformrohlings (1) durch in ihrer Intensität bzw. Leistung entsprechend angepasste Strahlung abgetragen wird.
    3. Verfahren nach Anspruch 1, dadurch gekennzeichnet, daß zur Einstellung der Tiefe der tiefer liegenden Plateaus (P2) die zwischen den Ausnehmungen (V) liegende Oberfläche des Druckformrohlings (1) durch mehrmaliges Bestrahlen abgetragen wird.
    4. Verfahren nach Anspruch 3, dadurch gekennzeichnet, daß das Bestrahlen mit ein und demselben Strahl (3) erfolgt, der wiederholt entlang einer Spur geführt wird.
    5. Verfahren nach Anspruch 3, dadurch gekennzeichnet, daß das Bestrahlen mit mehreren Strahlen (3, 4, 5) erfolgt, die nacheinander entlang derselben Spur geführt werden.
    6. Verfahren nach Anspruch 5, dadurch gekennzeichnet, daß die mehreren Strahlen in einer Richtung nebeneinander liegend angeordnet sind, die quer zur Längsrichtung der Spur verläuft.
    7. Verfahren nach Anspruch 5, dadurch gekennzeichnet, daß die mehreren Strahlen in einer Richtung nebeneinander liegend angeordnet sind, die in Längsrichtung der Spur verläuft.
    8. Verfahren nach einem der Ansprüche 1 bis 7, dadurch gekennzeichnet, daß die Tiefe der tiefer liegenden Plateaus (P2) in Abhängigkeit ihrer Lage im Relief unterschiedlich eingestellt wird.
    9. Verfahren nach Anspruch 8, dadurch gekennzeichnet, daß die Tiefe der tiefer liegenden Plateaus (P2) in Richtung auf eine in der Oberfläche des Druckformrohlings (1) liegende Vollfläche (U) zunimmt.
    10. Verfahren nach einem der Ansprüche 1 bis 9, dadurch gekennzeichnet, daß die Ausnehmungen (V) durch mehrmaliges Bestrahlen der Oberfläche des Druckformrohlings (1) gebildet werden.
    11. Verfahren nach einem der Ansprüche 1 bis 10, dadurch gekennzeichnet, daß die Bestrahlung des Druckformrohlings (1) mit Laserstrahlung, z. B. fokussierter Laserstrahlung erfolgt.
    12. Verfahren nach einem der Ansprüche 1 bis 11, dadurch gekennzeichnet, daß die Strahlen relativ zum Druckformrohling (1) bewegt werden.
    13. Verfahren nach einem der Ansprüche 1 bis 11, dadurch gekennzeichnet, daß der Druckformrohling (1) relativ zu ortsfesten Strahlen bewegt wird.
    14. Verfahren nach einem der Ansprüche 1 bis 13, dadurch gekennzeichnet, daß ein Polymermaterial aufweisender Druckformrohling bestrahlt wird.
    15. Verfahren nach Anspruch 14, dadurch gekennzeichnet, daß ein plattenförmiger Druckformrohling aus Polymermaterial auf die Oberfläche eines drehbar lagerbaren Zylinders gelegt wird.
    16. Verfahren nach Anspruch 14, dadurch gekennzeichnet, daß zur Bildung eines Druckformrohlings (1) Polymermaterial auf die Oberfläche eines drehbar lagerbaren Zylinders aufgezogen bzw. aufgetragen wird.
    17. Verfahren nach einem der Ansprüche 1 bis 16, dadurch gekennzeichnet, daß das Bestrahlen des Druckformrohlings (1) entlang einer jeweiligen Spur in Abhängigkeit eines Datenfiles (D1, D2) erfolgt, das den zwischen den Ausnehmungen (V) liegenden Plateaus (P2) zugeordnet ist.
    18. Verfahren nach einem der Ansprüche 1 bis 17, dadurch gekennzeichnet, daß das Bestrahlen des Druckformrohlings (1) entlang einer jeweiligen Spur in Abhängigkeit von Datenfiles (D3, D4, D5) erfolgt, von denen jeweils eines einem der in unterschiedlicher Tiefe liegenden, abzutragenden Reliefbereiche (A, B, C) einer Ausnehmung (V) zugeordnet ist.
    19. Verfahren nach Anspruch 17 oder 18, dadurch gekennzeichnet, daß die jeweiligen Datenfiles (D1 bis D5) zur Modulation der Strahlen herangezogen werden.
    20. Verfahren nach Anspruch 19, dadurch gekennzeichnet, daß den jeweiligen Datenfiles (D1 bis D5) jeweils unterschiedliche Steuerspannungen zur Modulation der Strahlen zugeordnet sind.
    21. Vorrichtung zur Herstellung einer Druckform, mit
      einer Halterung zum Halten eines Druckformrohlings (1);
      einer optischen Einrichtung (27) zum Bestrahlen einer Oberfläche (2) des Druckformrohlings (1) entlang einer Spur mittels wenigstens eines Strahls (28), um dadurch Bereiche des Druckformrohlings (1) zur Bildung von Ausnehmungen (V) abzutragen; und
      einer Steuereinrichtung, die unter Verwendung eines Strahlein- und
      ausschaltbefehle enthaltenden Datenfiles Intensitätsänderungen des wenigstens einen Strahls auf seinem Weg entlang der Spur steuert,
      dadurch gekennzeichnet, daß
      die Steuereinrichtung so ausgebildet ist, daß sie wenigstens ein jeweils Strahlein- und -ausschaltbefehle enthaltendes Datenfile (D1, D2) zur Verfügung stellt, um auch die zwischen den Ausnehmungen (V) liegende Oberfläche des Druckformrohlings (1) durch Strahlung abzutragen, um dadurch tiefer liegende Plateaus (P2) zu erhalten.
    22. Vorrichtung nach Anspruch 21, dadurch gekennzeichnet, daß die optische Einrichtung so ausgebildet ist, daß sie wenigstens einen Strahl (28a) ausgibt, und daß die Steuereinrichtung so ausgebildet ist, daß jeweils ein Strahl ein und dieselbe Spur mehrmals durchläuft und mit jedem Spurdurchlauf ein Datenfile bzw. neues Datenfile (D1, D2) auslesbar ist.
    23. Vorrichtung nach Anspruch 21, dadurch gekennzeichnet, daß die optische Einrichtung so ausgebildet ist, daß sie mehrere Strahlen (28a bis 28c) ausgibt, die durch jeweils nur ein separates Datenfile (D1, D2) steuerbar sind.
    24. Vorrichtung nach Anspruch 23, dadurch gekennzeichnet, daß die Strahlen in einer Richtung nebeneinander liegend angeordnet sind, die quer zur Spurlängsrichtung verläuft.
    25. Vorrichtung nach Anspruch 23, dadurch gekennzeichnet, daß die Strahlen in einer Richtung nebeneinander liegend angeordnet sind, die in Spurlängsrichtung verläuft.
    26. Vorrichtung nach einem der Ansprüche 21 bis 25, dadurch gekennzeichnet, daß die Strahlen Laserstrahlen sind.
    27. Vorrichtung nach einem der Ansprüche 21 bis 26, dadurch gekennzeichnet, daß der Druckformrohling (1) als ein um seine Längsachse drehbar gelagerter Zylinder ausgebildet ist, der auf seiner Oberfläche ein elastisches Material, z. B. Polymermaterial, trägt.
    28. Vorrichtung nach Anspruch 27, dadurch gekennzeichnet, daß ein in Richtung der Längsachse des Zylinder verschiebbar angeordneter Schlitten (23) vorhanden ist, der wenigstens Teile der optischen Einrichtung trägt.
    29. Vorrichtung nach Anspruch 27, dadurch gekennzeichnet, daß der Zylinder in Richtung seiner Längsachse verschiebbar und die optische Einrichtung fest positioniert ist.
    30. Vorrichtung nach einem der Ansprüche 21 bis 29, dadurch gekennzeichnet, daß zur Intensitätssteuerung der Strahlen Modulatoren (30) vorgesehen sind, die über die Datenfiles (D1, D2) wenigstens indirekt ansteuerbar sind.
    31. Vorrichtung nach Anspruch 30, dadurch gekennzeichnet, daß ein jeweiliger Modulator (30) mit wenigstens einem Analogschalter verbunden ist, über den dem Modulator eine Steuerspannung zuführbar ist, und daß der Analogschalter durch das Datenfile (D1, D2) schaltbar ist.
    32. Vorrichtung nach Anspruch 31, dadurch gekennzeichnet, daß ein Modulator (30) mit den Ausgängen mehrerer Analogschalter verbunden ist, die jeweils durch eines der zum Gravieren entlang einer Spur benötigten mehreren Datenfiles (D1, D2) schaltbar sind, und daß die Analogschalter jeweils unterschiedliche Steuerspannungen schalten (Figur 7).
    33. Vorrichtung nach Anspruch 31, dadurch gekennzeichnet, daß mehrere Modulatoren vorhanden sind, denen jeweils ein Analogschalter zugeordnet ist, die jeweils durch eines der zum Gravieren entlang einer Spur benötigten mehreren Datenfiles (D1, D2) schaltbar sind, und daß die Analogschalter jeweils unterschiedliche Steuerspannungen schalten (Figuren 8, 9, 10).
    34. Vorrichtung nach einem der Ansprüche 30 bis 33, dadurch gekennzeichnet, daß die Modulatoren (30) akustooptische Modulatoren sind.
    35. Vorrichtung nach einem der Ansprüche 30 bis 33, dadurch gekennzeichnet, daß die Modulatoren Deflektoren oder Strahlablenker sind.
    36. Vorrichtung nach einem der Ansprüche 21 bis 35, dadurch gekennzeichnet, daß die Strahlen fokussierte Strahlen sind.
    EP01112706A 2001-05-25 2001-05-25 Verfahren und Vorrichtund zur Herstellung einer Druckform Expired - Lifetime EP1262316B1 (de)

    Priority Applications (8)

    Application Number Priority Date Filing Date Title
    DE50104542T DE50104542D1 (de) 2001-05-25 2001-05-25 Verfahren und Vorrichtund zur Herstellung einer Druckform
    ES01112706T ES2233523T3 (es) 2001-05-25 2001-05-25 Procedimiento y dispositivo para la fabricacion de un molde de imprenta.
    AT01112706T ATE282527T1 (de) 2001-05-25 2001-05-25 Verfahren und vorrichtund zur herstellung einer druckform
    EP01112706A EP1262316B1 (de) 2001-05-25 2001-05-25 Verfahren und Vorrichtund zur Herstellung einer Druckform
    CNB021206309A CN1212929C (zh) 2001-05-25 2002-05-22 用于生成印刷版的方法和设备
    JP2002148853A JP3556205B2 (ja) 2001-05-25 2002-05-23 印刷ブロックを製造する方法及び装置
    US10/154,827 US6698354B2 (en) 2001-05-25 2002-05-28 Method and device for producing a printing block
    HK03104679.7A HK1052321B (zh) 2001-05-25 2003-07-02 用於生成印刷块的方法和设备

    Applications Claiming Priority (1)

    Application Number Priority Date Filing Date Title
    EP01112706A EP1262316B1 (de) 2001-05-25 2001-05-25 Verfahren und Vorrichtund zur Herstellung einer Druckform

    Publications (2)

    Publication Number Publication Date
    EP1262316A1 true EP1262316A1 (de) 2002-12-04
    EP1262316B1 EP1262316B1 (de) 2004-11-17

    Family

    ID=8177544

    Family Applications (1)

    Application Number Title Priority Date Filing Date
    EP01112706A Expired - Lifetime EP1262316B1 (de) 2001-05-25 2001-05-25 Verfahren und Vorrichtund zur Herstellung einer Druckform

    Country Status (8)

    Country Link
    US (1) US6698354B2 (de)
    EP (1) EP1262316B1 (de)
    JP (1) JP3556205B2 (de)
    CN (1) CN1212929C (de)
    AT (1) ATE282527T1 (de)
    DE (1) DE50104542D1 (de)
    ES (1) ES2233523T3 (de)
    HK (1) HK1052321B (de)

    Cited By (14)

    * Cited by examiner, † Cited by third party
    Publication number Priority date Publication date Assignee Title
    WO2005030425A1 (de) * 2003-09-26 2005-04-07 Peguform Gmbh Verfahren zur mehrschichtigen materialabtragung einer dreidimensionalen oberfläche durch verwendung eines die oberflächenstruktur beschrieben rasterbildes
    EP1857275A1 (de) * 2006-05-18 2007-11-21 Hueck Folien GmbH &amp; Co. KG Verfahren zur Herstellung von hochaufgelösten Flexodruck-Produkten
    WO2009029167A1 (en) * 2007-08-27 2009-03-05 Eastman Kodak Company Engraving of printing plates
    US8066837B2 (en) 2004-10-14 2011-11-29 Flint Group Germany Gmbh Processes and apparatus for producing photopolymerizable, cylindrical, continuous, seamless flexographic printing elements
    WO2011146203A3 (en) * 2010-05-17 2012-01-12 Eastman Kodak Company Direct engraving of flexographic printing plates
    WO2012099806A1 (en) * 2011-01-21 2012-07-26 Eastman Kodak Company Laser leveling highlight control
    EP2583827A3 (de) * 2010-05-11 2013-06-05 Eastman Kodak Company Autofokus-Bildgebungsgerät
    WO2014006517A1 (en) * 2012-07-02 2014-01-09 Rexam Beverage Can South America S.A. A device for printing cans, a process for printing cans, a printed can and a transfer blanket
    US10086602B2 (en) 2014-11-10 2018-10-02 Rexam Beverage Can South America Method and apparatus for printing metallic beverage container bodies
    US10195842B2 (en) 2013-06-11 2019-02-05 Ball Corporation Apparatus for forming high definition lithographic images on containers
    US10549921B2 (en) 2016-05-19 2020-02-04 Rexam Beverage Can Company Beverage container body decorator inspection apparatus
    US10675861B2 (en) 2014-12-04 2020-06-09 Ball Beverage Packaging Europe Limited Method and apparatus for printing cylindrical structures
    US10976263B2 (en) 2016-07-20 2021-04-13 Ball Corporation System and method for aligning an inker of a decorator
    US11034145B2 (en) 2016-07-20 2021-06-15 Ball Corporation System and method for monitoring and adjusting a decorator for containers

    Families Citing this family (19)

    * Cited by examiner, † Cited by third party
    Publication number Priority date Publication date Assignee Title
    US7875321B2 (en) * 2002-12-11 2011-01-25 Agfa Graphics Nv Preparation of flexographic printing plates using ink jet recording
    DE10345081A1 (de) * 2003-09-26 2005-05-19 Peguform Gmbh & Co. Kg Verfahren zur Bearbeitung einer dreidimensionalen Oberfläche
    ATE416917T1 (de) * 2004-09-30 2008-12-15 Dainippon Screen Mfg Verfahren zur herstellung einer druckplatte und druckplattenherstellungsgerät
    JP2006095931A (ja) * 2004-09-30 2006-04-13 Dainippon Screen Mfg Co Ltd 印刷版の製版方法および印刷版の製版装置
    DE102005022696A1 (de) * 2005-05-18 2006-11-23 Benecke-Kaliko Ag Verfahren zur Herstellung von dreidimensional strukturierten Oberflächen
    US20080018943A1 (en) * 2006-06-19 2008-01-24 Eastman Kodak Company Direct engraving of flexographic printing plates
    JP5313453B2 (ja) * 2007-01-31 2013-10-09 昭和アルミニウム缶株式会社 金属シームレス缶のオフセット印刷用凸版
    CA2629661C (en) 2007-12-11 2015-01-06 Sumita Company Ltd. Letterpress printing plate
    US7841277B1 (en) 2007-12-26 2010-11-30 Van Denend Mark E Layered structure of a printing plate for printing solid areas and highlight areas
    JP2009214334A (ja) * 2008-03-07 2009-09-24 Fujifilm Corp 製版装置及び製版方法
    US8987632B2 (en) * 2009-10-09 2015-03-24 The United States Of America As Represented By The Administrator Of The National Aeronautics And Space Administration Modification of surface energy via direct laser ablative surface patterning
    US20110278767A1 (en) * 2010-05-17 2011-11-17 David Aviel Direct engraving of flexographic printing plates
    US8408130B2 (en) * 2010-08-25 2013-04-02 Eastman Kodak Company Method of making flexographic printing members
    US8539881B2 (en) * 2011-01-21 2013-09-24 Eastman Kodak Company Laser leveling highlight control
    JP5318166B2 (ja) * 2011-08-26 2013-10-16 富士フイルム株式会社 マルチビーム露光走査方法及び装置並びに印刷版の製造方法
    US9278374B2 (en) 2012-06-08 2016-03-08 The United States Of America As Represented By The Administrator Of The National Aeronautics And Space Administration Modified surface having low adhesion properties to mitigate insect residue adhesion
    EP3218318B1 (de) * 2014-11-10 2019-10-23 Corning Incorporated Laserbearbeitung von transparenten artikeln mit mehreren foki
    GB2533287B (en) * 2014-12-12 2016-11-02 Applied Laser Eng Ltd Improvements to laser engraving of printing or texturing rolls
    CN113634903B (zh) * 2021-06-30 2023-03-14 中钞印制技术研究院有限公司 激光制版设备和制版系统

    Citations (2)

    * Cited by examiner, † Cited by third party
    Publication number Priority date Publication date Assignee Title
    US5427026A (en) * 1993-02-10 1995-06-27 Sony Corporation Press sheet engraving apparatus
    WO1997019783A1 (de) * 1995-11-29 1997-06-05 Baasel-Scheel Lasergraphics Gmbh Lasergravuranlage

    Family Cites Families (11)

    * Cited by examiner, † Cited by third party
    Publication number Priority date Publication date Assignee Title
    US2854336A (en) * 1955-03-07 1958-09-30 Youngstown Arc Engraving Compa Method of forming a two-level photoengraved embossing plate or mold
    DE2542815C2 (de) * 1974-09-26 1983-07-14 Asahi Kasei Kogyo K.K., Osaka Verfahren zur Herstellung von Druckformen auf fotomechanischem Wege
    US4115123A (en) * 1976-06-14 1978-09-19 Napp Systems (Usa), Inc. Shallow relief photopolymer printing plate and methods
    DE2706947C3 (de) * 1977-02-18 1981-11-19 Standex International Gmbh, 4150 Krefeld Verfahren und Druckwalzeneinrichtung zur Herstellung von Prägegravuren auf großformatigen Preßplatten für Kunststoffplattenpressen durch Auftragen einer Ätzreserve
    JPS59143158A (ja) * 1983-02-07 1984-08-16 W R Gureesu:Kk 印刷版の製造方法
    DE3585753D1 (de) * 1984-07-23 1992-05-07 Asahi Chemical Ind Kunststoffdruckplatte und verfahren zur herstellung.
    JP3533600B2 (ja) * 1999-09-08 2004-05-31 リコーマイクロエレクトロニクス株式会社 凹版並びに凹版の製造方法及びその装置
    WO2001076808A2 (en) * 2000-04-11 2001-10-18 Gsi Lumonics Inc. A method and system for laser drilling
    DE10024456A1 (de) * 2000-05-18 2001-11-29 Heidelberger Druckmasch Ag Integrierte Laser- und UV-Belichtung von Druckplatten
    US6838638B2 (en) * 2000-07-31 2005-01-04 Toyota Jidosha Kabushiki Kaisha Laser beam machining method
    SG108262A1 (en) * 2001-07-06 2005-01-28 Inst Data Storage Method and apparatus for cutting a multi-layer substrate by dual laser irradiation

    Patent Citations (2)

    * Cited by examiner, † Cited by third party
    Publication number Priority date Publication date Assignee Title
    US5427026A (en) * 1993-02-10 1995-06-27 Sony Corporation Press sheet engraving apparatus
    WO1997019783A1 (de) * 1995-11-29 1997-06-05 Baasel-Scheel Lasergraphics Gmbh Lasergravuranlage

    Cited By (22)

    * Cited by examiner, † Cited by third party
    Publication number Priority date Publication date Assignee Title
    WO2005030425A1 (de) * 2003-09-26 2005-04-07 Peguform Gmbh Verfahren zur mehrschichtigen materialabtragung einer dreidimensionalen oberfläche durch verwendung eines die oberflächenstruktur beschrieben rasterbildes
    US8066837B2 (en) 2004-10-14 2011-11-29 Flint Group Germany Gmbh Processes and apparatus for producing photopolymerizable, cylindrical, continuous, seamless flexographic printing elements
    EP1857275A1 (de) * 2006-05-18 2007-11-21 Hueck Folien GmbH &amp; Co. KG Verfahren zur Herstellung von hochaufgelösten Flexodruck-Produkten
    WO2009029167A1 (en) * 2007-08-27 2009-03-05 Eastman Kodak Company Engraving of printing plates
    JP2010537848A (ja) * 2007-08-27 2010-12-09 イーストマン コダック カンパニー 印刷版の彫刻
    US8621996B2 (en) 2007-08-27 2014-01-07 Eastman Kodak Company Engraving of printing plates
    EP2583827A3 (de) * 2010-05-11 2013-06-05 Eastman Kodak Company Autofokus-Bildgebungsgerät
    WO2011146203A3 (en) * 2010-05-17 2012-01-12 Eastman Kodak Company Direct engraving of flexographic printing plates
    US8365662B2 (en) 2010-05-17 2013-02-05 Eastman Kodak Company Direct engraving of flexographic printing plates
    US8561538B2 (en) 2011-01-21 2013-10-22 Eastman Kodak Company Laser leveling highlight control
    WO2012099806A1 (en) * 2011-01-21 2012-07-26 Eastman Kodak Company Laser leveling highlight control
    WO2014006517A1 (en) * 2012-07-02 2014-01-09 Rexam Beverage Can South America S.A. A device for printing cans, a process for printing cans, a printed can and a transfer blanket
    US9573358B2 (en) 2012-07-02 2017-02-21 Rexam Beverage Can South America S.A. Device for printing cans, a process for printing cans, a printed can and a transfer blanket
    RU2636028C2 (ru) * 2012-07-02 2017-11-17 Рексам Беверидж Кэн Саус Америка С.А. Устройство для печати на банках, способ печати на банках, банка с такой печатью и печатное полотно
    US10315411B2 (en) 2012-07-02 2019-06-11 Ball Beverage Can South America S.A. Device for printing cans, a process for printing cans, a printed can and a transfer blanket
    US10850497B2 (en) 2013-06-11 2020-12-01 Ball Corporation Apparatus and method for forming high definition lithographic images on containers
    US10195842B2 (en) 2013-06-11 2019-02-05 Ball Corporation Apparatus for forming high definition lithographic images on containers
    US10086602B2 (en) 2014-11-10 2018-10-02 Rexam Beverage Can South America Method and apparatus for printing metallic beverage container bodies
    US10675861B2 (en) 2014-12-04 2020-06-09 Ball Beverage Packaging Europe Limited Method and apparatus for printing cylindrical structures
    US10549921B2 (en) 2016-05-19 2020-02-04 Rexam Beverage Can Company Beverage container body decorator inspection apparatus
    US10976263B2 (en) 2016-07-20 2021-04-13 Ball Corporation System and method for aligning an inker of a decorator
    US11034145B2 (en) 2016-07-20 2021-06-15 Ball Corporation System and method for monitoring and adjusting a decorator for containers

    Also Published As

    Publication number Publication date
    US20020189471A1 (en) 2002-12-19
    JP2003039626A (ja) 2003-02-13
    JP3556205B2 (ja) 2004-08-18
    DE50104542D1 (de) 2004-12-23
    US6698354B2 (en) 2004-03-02
    ATE282527T1 (de) 2004-12-15
    CN1212929C (zh) 2005-08-03
    ES2233523T3 (es) 2005-06-16
    EP1262316B1 (de) 2004-11-17
    HK1052321B (zh) 2006-03-10
    HK1052321A1 (en) 2003-09-11
    CN1387997A (zh) 2003-01-01

    Similar Documents

    Publication Publication Date Title
    EP1262316B1 (de) Verfahren und Vorrichtund zur Herstellung einer Druckform
    EP1262315B1 (de) Verfahren und Vorrichtung zur Herstellung einer Druckform
    EP0906193B1 (de) Verfahren zur herstellung von prägeplatten
    DE2128729C3 (de) Verfahren zur Herstellung von Schablonen zum Aufdrucken von elektn sehen Schaltkreisen
    EP2144728B1 (de) Verfahren zum einbringen einer struktur in eine oberfläche eines transparenten werkstücks
    DE2420139C3 (de) Verfahren und Vorrichtung zur Herstellung einer Wasserzeichenprageform
    DE2060661B2 (de) Verfahren zum Herstellen einer Fläche in Form eines Reliefs sowie Vorrichtung zur Durchführung des Verfahrens
    DE1960959B2 (de) Verfahren zur Herstellung einer Druckform
    DE3249518T1 (de) Verfahren und Vorrichtung zur Herstellung von Tiefdruckzellen in einem Tiefdruckzylinder
    DE1959853A1 (de) Verfahren zum Eingravieren eines Zeichens,Symbols,dekorativen Musters od.dgl. in die Oberflaeche eines Gegenstandes sowie Vorrichtung zur Durchfuehrung eines solchen Verfahrens
    DE4209933C2 (de) Verfahren für den Formabtrag an einem Werkstück durch Laserstrahlverdampfung des Werkstoffes mit einem cw-Nd:YAG-Laser
    DE4106210A1 (de) Laser-markierungseinrichtung
    DE102012006558B4 (de) Verfahren zur Herstellung einer Flexodruckform
    DE4324970C2 (de) Verfahren zur Herstellung einer Prägewalze zum kontinuierlichen Prägen der Oberfläche einer thermoplastischen Folie mit einem Muster
    DE69025809T2 (de) Laserstrahlbearbeitung und Gerät dazu
    EP0335830B1 (de) Verfahren und Installation zur Herstellung einer Mehrfachform für die Reproduktion von Stichtiefdruckplatten
    DE2111628A1 (de) Verfahren und Vorrichtung zum Herstellen von Druckformen,insbesondere Tiefdruckformen
    DE748274C (de) Verfahren zum Herstellen der Haschuren auf Druckwalzen fuer den Zeug- und Papierdruck mit Hilfe lichtelektrischer UEbertragung
    DE1057877B (de) Elektronische Klischiermaschine mit veraenderbarem Reproduktionsmassstab
    DE4338337C1 (de) Vorrichtung und Verfahren zum Gravieren von Tiefdruckformen
    DE102011017080B4 (de) Verfahren zur Bearbeitung eines Werkstücks mit Laserstrahl
    EP0768795A1 (de) Verfahren zur Herstellung einer Schablone, insbesondere für den Papier- oder Textildruck
    EP0802049A1 (de) Halbton-Druckverfahren und Druckmaschine zu seiner Durchführung
    EP3928982B1 (de) Verfahren zum gravieren einer intaglio-stichtiefdruckplatte, intaglio-stichtiefdruckplatte und druckverfahren
    EP2841230B1 (de) Verfahren und vorrichtung zur bearbeitung eines zylindrischen werkstücks

    Legal Events

    Date Code Title Description
    PUAI Public reference made under article 153(3) epc to a published international application that has entered the european phase

    Free format text: ORIGINAL CODE: 0009012

    17P Request for examination filed

    Effective date: 20020115

    AK Designated contracting states

    Kind code of ref document: A1

    Designated state(s): AT BE CH CY DE DK ES FI FR GB GR IE IT LI LU MC NL PT SE TR

    AX Request for extension of the european patent

    Free format text: AL;LT;LV;MK;RO;SI

    RIN1 Information on inventor provided before grant (corrected)

    Inventor name: JUFFINGER, JOSEF

    Inventor name: THALER, KARL

    AKX Designation fees paid

    Designated state(s): AT BE CH CY DE DK ES FI FR GB GR IE IT LI LU MC NL PT SE TR

    17Q First examination report despatched

    Effective date: 20030925

    GRAP Despatch of communication of intention to grant a patent

    Free format text: ORIGINAL CODE: EPIDOSNIGR1

    GRAS Grant fee paid

    Free format text: ORIGINAL CODE: EPIDOSNIGR3

    GRAA (expected) grant

    Free format text: ORIGINAL CODE: 0009210

    AK Designated contracting states

    Kind code of ref document: B1

    Designated state(s): AT BE CH CY DE DK ES FI FR GB GR IE IT LI LU MC NL PT SE TR

    PG25 Lapsed in a contracting state [announced via postgrant information from national office to epo]

    Ref country code: FI

    Free format text: LAPSE BECAUSE OF FAILURE TO SUBMIT A TRANSLATION OF THE DESCRIPTION OR TO PAY THE FEE WITHIN THE PRESCRIBED TIME-LIMIT

    Effective date: 20041117

    Ref country code: TR

    Free format text: LAPSE BECAUSE OF FAILURE TO SUBMIT A TRANSLATION OF THE DESCRIPTION OR TO PAY THE FEE WITHIN THE PRESCRIBED TIME-LIMIT

    Effective date: 20041117

    Ref country code: IE

    Free format text: LAPSE BECAUSE OF FAILURE TO SUBMIT A TRANSLATION OF THE DESCRIPTION OR TO PAY THE FEE WITHIN THE PRESCRIBED TIME-LIMIT

    Effective date: 20041117

    RAP1 Party data changed (applicant data changed or rights of an application transferred)

    Owner name: STORK PRINTS AUSTRIA GMBH

    REG Reference to a national code

    Ref country code: GB

    Ref legal event code: FG4D

    Free format text: NOT ENGLISH

    RAP2 Party data changed (patent owner data changed or rights of a patent transferred)

    Owner name: STORK PRINTS AUSTRIA GMBH

    REG Reference to a national code

    Ref country code: CH

    Ref legal event code: EP

    RIN2 Information on inventor provided after grant (corrected)

    Inventor name: JUFFINGER, JOSEF

    Inventor name: THALER, KARL

    REG Reference to a national code

    Ref country code: IE

    Ref legal event code: FG4D

    Free format text: GERMAN

    REF Corresponds to:

    Ref document number: 50104542

    Country of ref document: DE

    Date of ref document: 20041223

    Kind code of ref document: P

    REG Reference to a national code

    Ref country code: CH

    Ref legal event code: NV

    Representative=s name: A. BRAUN, BRAUN, HERITIER, ESCHMANN AG PATENTANWAE

    NLT2 Nl: modifications (of names), taken from the european patent patent bulletin

    Owner name: STORK PRINTS AUSTRIA GMBH

    PG25 Lapsed in a contracting state [announced via postgrant information from national office to epo]

    Ref country code: DK

    Free format text: LAPSE BECAUSE OF FAILURE TO SUBMIT A TRANSLATION OF THE DESCRIPTION OR TO PAY THE FEE WITHIN THE PRESCRIBED TIME-LIMIT

    Effective date: 20050217

    Ref country code: GR

    Free format text: LAPSE BECAUSE OF FAILURE TO SUBMIT A TRANSLATION OF THE DESCRIPTION OR TO PAY THE FEE WITHIN THE PRESCRIBED TIME-LIMIT

    Effective date: 20050217

    Ref country code: SE

    Free format text: LAPSE BECAUSE OF FAILURE TO SUBMIT A TRANSLATION OF THE DESCRIPTION OR TO PAY THE FEE WITHIN THE PRESCRIBED TIME-LIMIT

    Effective date: 20050217

    GBT Gb: translation of ep patent filed (gb section 77(6)(a)/1977)

    Effective date: 20050413

    PG25 Lapsed in a contracting state [announced via postgrant information from national office to epo]

    Ref country code: CY

    Free format text: LAPSE BECAUSE OF FAILURE TO SUBMIT A TRANSLATION OF THE DESCRIPTION OR TO PAY THE FEE WITHIN THE PRESCRIBED TIME-LIMIT

    Effective date: 20050525

    Ref country code: LU

    Free format text: LAPSE BECAUSE OF NON-PAYMENT OF DUE FEES

    Effective date: 20050525

    PG25 Lapsed in a contracting state [announced via postgrant information from national office to epo]

    Ref country code: MC

    Free format text: LAPSE BECAUSE OF NON-PAYMENT OF DUE FEES

    Effective date: 20050531

    Ref country code: BE

    Free format text: LAPSE BECAUSE OF NON-PAYMENT OF DUE FEES

    Effective date: 20050531

    REG Reference to a national code

    Ref country code: ES

    Ref legal event code: FG2A

    Ref document number: 2233523

    Country of ref document: ES

    Kind code of ref document: T3

    REG Reference to a national code

    Ref country code: IE

    Ref legal event code: FD4D

    ET Fr: translation filed
    PLBE No opposition filed within time limit

    Free format text: ORIGINAL CODE: 0009261

    STAA Information on the status of an ep patent application or granted ep patent

    Free format text: STATUS: NO OPPOSITION FILED WITHIN TIME LIMIT

    26N No opposition filed

    Effective date: 20050818

    BERE Be: lapsed

    Owner name: STORK PRINTS AUSTRIA GMBH

    Effective date: 20050531

    BERE Be: lapsed

    Owner name: *STORK PRINTS AUSTRIA G.M.B.H.

    Effective date: 20050531

    PG25 Lapsed in a contracting state [announced via postgrant information from national office to epo]

    Ref country code: PT

    Free format text: LAPSE BECAUSE OF NON-PAYMENT OF DUE FEES

    Effective date: 20050417

    REG Reference to a national code

    Ref country code: CH

    Ref legal event code: PFA

    Owner name: STORK PRINTS AUSTRIA GMBH

    Free format text: STORK PRINTS AUSTRIA GMBH#KUFSTEINER STRASSE 4#6336 LANGKAMPFEN (AT) -TRANSFER TO- STORK PRINTS AUSTRIA GMBH#KUFSTEINER STRASSE 4#6336 LANGKAMPFEN (AT)

    PGFP Annual fee paid to national office [announced via postgrant information from national office to epo]

    Ref country code: ES

    Payment date: 20120508

    Year of fee payment: 12

    PGFP Annual fee paid to national office [announced via postgrant information from national office to epo]

    Ref country code: AT

    Payment date: 20120525

    Year of fee payment: 12

    PGFP Annual fee paid to national office [announced via postgrant information from national office to epo]

    Ref country code: DE

    Payment date: 20130531

    Year of fee payment: 13

    Ref country code: CH

    Payment date: 20130523

    Year of fee payment: 13

    Ref country code: GB

    Payment date: 20130416

    Year of fee payment: 13

    PGFP Annual fee paid to national office [announced via postgrant information from national office to epo]

    Ref country code: NL

    Payment date: 20130531

    Year of fee payment: 13

    Ref country code: FR

    Payment date: 20130523

    Year of fee payment: 13

    Ref country code: IT

    Payment date: 20130522

    Year of fee payment: 13

    REG Reference to a national code

    Ref country code: CH

    Ref legal event code: PCAR

    Free format text: NEW ADDRESS: HOLBEINSTRASSE 36-38, 4051 BASEL (CH)

    REG Reference to a national code

    Ref country code: DE

    Ref legal event code: R119

    Ref document number: 50104542

    Country of ref document: DE

    REG Reference to a national code

    Ref country code: NL

    Ref legal event code: V1

    Effective date: 20141201

    REG Reference to a national code

    Ref country code: CH

    Ref legal event code: PL

    REG Reference to a national code

    Ref country code: AT

    Ref legal event code: MM01

    Ref document number: 282527

    Country of ref document: AT

    Kind code of ref document: T

    Effective date: 20140525

    GBPC Gb: european patent ceased through non-payment of renewal fee

    Effective date: 20140525

    PG25 Lapsed in a contracting state [announced via postgrant information from national office to epo]

    Ref country code: CH

    Free format text: LAPSE BECAUSE OF NON-PAYMENT OF DUE FEES

    Effective date: 20140531

    Ref country code: LI

    Free format text: LAPSE BECAUSE OF NON-PAYMENT OF DUE FEES

    Effective date: 20140531

    PG25 Lapsed in a contracting state [announced via postgrant information from national office to epo]

    Ref country code: NL

    Free format text: LAPSE BECAUSE OF NON-PAYMENT OF DUE FEES

    Effective date: 20141201

    Ref country code: AT

    Free format text: LAPSE BECAUSE OF NON-PAYMENT OF DUE FEES

    Effective date: 20140525

    REG Reference to a national code

    Ref country code: FR

    Ref legal event code: ST

    Effective date: 20150130

    REG Reference to a national code

    Ref country code: DE

    Ref legal event code: R119

    Ref document number: 50104542

    Country of ref document: DE

    Effective date: 20141202

    PG25 Lapsed in a contracting state [announced via postgrant information from national office to epo]

    Ref country code: IT

    Free format text: LAPSE BECAUSE OF NON-PAYMENT OF DUE FEES

    Effective date: 20140525

    Ref country code: DE

    Free format text: LAPSE BECAUSE OF NON-PAYMENT OF DUE FEES

    Effective date: 20141202

    PG25 Lapsed in a contracting state [announced via postgrant information from national office to epo]

    Ref country code: FR

    Free format text: LAPSE BECAUSE OF NON-PAYMENT OF DUE FEES

    Effective date: 20140602

    Ref country code: GB

    Free format text: LAPSE BECAUSE OF NON-PAYMENT OF DUE FEES

    Effective date: 20140525

    REG Reference to a national code

    Ref country code: ES

    Ref legal event code: FD2A

    Effective date: 20150626

    PG25 Lapsed in a contracting state [announced via postgrant information from national office to epo]

    Ref country code: ES

    Free format text: LAPSE BECAUSE OF NON-PAYMENT OF DUE FEES

    Effective date: 20140526