EP1209274A2 - Vorhang-Auftragsvorrichtung - Google Patents

Vorhang-Auftragsvorrichtung Download PDF

Info

Publication number
EP1209274A2
EP1209274A2 EP01127739A EP01127739A EP1209274A2 EP 1209274 A2 EP1209274 A2 EP 1209274A2 EP 01127739 A EP01127739 A EP 01127739A EP 01127739 A EP01127739 A EP 01127739A EP 1209274 A2 EP1209274 A2 EP 1209274A2
Authority
EP
European Patent Office
Prior art keywords
guide element
curtain
guide
application device
application
Prior art date
Legal status (The legal status is an assumption and is not a legal conclusion. Google has not performed a legal analysis and makes no representation as to the accuracy of the status listed.)
Granted
Application number
EP01127739A
Other languages
English (en)
French (fr)
Other versions
EP1209274B1 (de
EP1209274A3 (de
Inventor
Benjamin Dr. Méndez-Gallon
Fritz Lauss
Current Assignee (The listed assignees may be inaccurate. Google has not performed a legal analysis and makes no representation or warranty as to the accuracy of the list.)
Voith Patent GmbH
Original Assignee
Voith Paper Patent GmbH
Priority date (The priority date is an assumption and is not a legal conclusion. Google has not performed a legal analysis and makes no representation as to the accuracy of the date listed.)
Filing date
Publication date
Priority claimed from DE2000157732 external-priority patent/DE10057732A1/de
Priority claimed from DE2000157734 external-priority patent/DE10057734A1/de
Application filed by Voith Paper Patent GmbH filed Critical Voith Paper Patent GmbH
Publication of EP1209274A2 publication Critical patent/EP1209274A2/de
Publication of EP1209274A3 publication Critical patent/EP1209274A3/de
Application granted granted Critical
Publication of EP1209274B1 publication Critical patent/EP1209274B1/de
Anticipated expiration legal-status Critical
Expired - Lifetime legal-status Critical Current

Links

Images

Classifications

    • BPERFORMING OPERATIONS; TRANSPORTING
    • B05SPRAYING OR ATOMISING IN GENERAL; APPLYING FLUENT MATERIALS TO SURFACES, IN GENERAL
    • B05CAPPARATUS FOR APPLYING FLUENT MATERIALS TO SURFACES, IN GENERAL
    • B05C5/00Apparatus in which liquid or other fluent material is projected, poured or allowed to flow on to the surface of the work
    • B05C5/005Curtain coaters
    • BPERFORMING OPERATIONS; TRANSPORTING
    • B05SPRAYING OR ATOMISING IN GENERAL; APPLYING FLUENT MATERIALS TO SURFACES, IN GENERAL
    • B05CAPPARATUS FOR APPLYING FLUENT MATERIALS TO SURFACES, IN GENERAL
    • B05C5/00Apparatus in which liquid or other fluent material is projected, poured or allowed to flow on to the surface of the work
    • B05C5/007Slide-hopper coaters, i.e. apparatus in which the liquid or other fluent material flows freely on an inclined surface before contacting the work
    • B05C5/008Slide-hopper curtain coaters

Definitions

  • the invention relates to a device for applying liquid or pasty application medium, especially aqueous pigment suspension, on a running surface, including a curtain commission, which the application medium from a dispensing nozzle as in the Moving curtain or veil due to gravity delivers the surface, whereby the surface with the direct application Surface of a material web, in particular made of paper or cardboard, and with indirect application, the surface of a transfer element, preferably a transfer roller, which is then the application medium to the Surface of the material web transfers.
  • a curtain commission which the application medium from a dispensing nozzle as in the Moving curtain or veil due to gravity delivers the surface, whereby the surface with the direct application Surface of a material web, in particular made of paper or cardboard, and with indirect application, the surface of a transfer element, preferably a transfer roller, which is then the application medium to the Surface of the material web transfers.
  • the application medium is applied to the substrate in the form of a Application medium curtain or curtain (for the sake of simplicity in the following only the term “order medium curtain” or only “Curtain” used), which is essentially due to gravity moved from the commissioned work to the underground. That this Curtain application work itself at a predetermined distance from Among other things, it has the advantage that it is located underground is at a lower risk of damage in the event of a web break.
  • the surface tension tries the curtain a very large one based on its volume or cross-sectional area Surface or circumferential length has to contract, so its Reduce surface area. Gravity opposes this effect, who tries to stretch the curtain. It is therefore easy to see that it the more difficult it is to get one evenly across the entire working width to get thick application medium curtain, the larger this working width is.
  • the coating of material webs by means of a curtain applicator, which feeds the application medium to the material medium as an application medium curtain that moves due to gravity, has long been known from the coating of photographic films, tapes and the like.
  • corresponding devices for applying a liquid film to a textile material web with the aid of an application medium curtain that moves due to gravity are known from the field of the textile industry, for example from DE 33 33 592 A1 and DE 40 15 946 A1.
  • the material webs in these fields of application have a considerably smaller width than is the case with modern systems for the production of paper and cardboard webs, in which material web widths of more than 10 m are required today.
  • the high web speeds also put a further high load on the stability of the application medium curtain, since the application medium curtain is not only stretched due to gravity in free fall (gravity stretching), but also when it comes into contact with the ground due to the difference between the speeds of the freely falling application medium shortly before it hits the surface and the running speed of the moving surface (Contact stretching).
  • No. 10024360 is a curtain applicator published in which an order fluid through two counter-rotating rollers are extracted from a reservoir, the application liquid being stretched into a thin film, and then essentially under the influence of gravity on you Surface is applied.
  • the effects mentioned have a stronger influence on the quality of the application medium curtain, the smaller the flow rate of the application medium delivered by the curtain application unit per meter of working width to the substrate, ie the thinner the application medium curtain.
  • a film thickness range from 2 ml / m 2 to 50 ml / m 2 , as is not uncommon in the case of a thinly applied layer ("1: 1" application) of thin layers of application medium, gravity stretching is limited by the effects mentioned above.
  • the order medium curtain is most likely based on the fact that the application medium when it comes into contact with the guide element is slowed down, which stabilizes the shape of the application medium curtain.
  • the falling speed more precisely the flow speed, takes of the application medium along the guide element, again.
  • This stabilization of the application medium curtain according to the invention can determine the total fall height of the curtain and thus the total achievable gravity stretch compared to a conventional one free-falling application medium curtain without sacrificing the Quality of the application medium layer thus formed can be increased.
  • the words “lead along the fall path” in the Connection with the present invention also mean can that the application medium curtain through the guide element from the the path corresponding to the free fall can be deflected.
  • a directing element directly adjoining the dispensing nozzle Avoid the so-called "teapot effect”.
  • This "teapot effect” a characteristic deformation of that emerging from the dispensing nozzle Application medium curtain occurs in practice when the Flow rate of the application medium when leaving the Dispensing nozzle falls below a limit speed, which on the one hand of the physical properties of the application medium and the other depends on the thickness of the application medium curtain. Thin curtains also tend to the To show "teapot effect”.
  • Exceeds the Outflow velocity the limit mentioned above, a parabolic curve of the application medium curtain usually forms out.
  • the guide element can also be used as a scraper against the ground.
  • the influence of the guide element that stabilizes the application medium curtain added that this is the air boundary layer carried by the subsurface weaken and thus their adverse influence on the order result can mitigate.
  • such Guide scraper localized interruptions of the application medium curtain can be prevented that are not covered with application medium Places of the underground would lead.
  • the local one Introduction of air pockets between the subsurface and Application medium, which is quasi as a preliminary stage of a local tearing of the Order medium curtain can be viewed using the Guide scraper according to the invention can be avoided. Any friction heat generated by the relative movement of the scraper and underground is not a problem in practice as it is easier in Way can be dissipated by the application medium itself.
  • the guide element is used as a guide scraper, there has been one inclined arrangement of this guide scraper proved to be advantageous.
  • the guide element with the free fall of the curtain Direction an angle of between about 20 ° and about Include 80 °, preferably between about 45 ° and about 80 °.
  • the length of guide scraper covered by application medium advantageously at most about 50 mm, preferably at most about 10 mm.
  • the of the application medium curtain covered surface of the guide element to the underground has an adjacently arranged end section which is connected to a imaginary extension of the surface an angle of between about 30 ° and about 50 °.
  • the guide element over the entire distance between the dispensing nozzle and Extends underground, so the benefits of extending to the dispensing nozzle immediately following guide element with one as a guide scraper used to connect the guide element.
  • the guiding element must either have a compromise between found the two arrangement alternatives mentioned or that Guide element are curved, so that it is both in the area the dispensing nozzle as well as in the area of the substrate one each has advantageous inclination angle.
  • a curved design of the guide element also allows over the shape of the curvature, the speed and / or the thickness of the application medium curtain to influence. It can both use of convex as well as concave curved guide elements be, with convex or concave the curvature of the application medium facing surface of the guide element is designated.
  • the guide element made of metal or plastic, for example, carbon fiber or glass fiber reinforced plastic
  • the application medium is in contact with the Guide scraper is braked more than it is for achieving the desired one Stabilization of the application medium curtain is actually required.
  • the braking force applied by the scraper to the application medium exercises are reduced in that the guide element at least hydrophobic on its surface facing the curtain or veil is formed so that the flow rate of the Order medium is retained on the guide element.
  • This hydrophobic formation of the surface of the guide element can be in can be obtained in a technically simple manner in that the Provide the surface of the guide element with a hydrophobic coating is coated, for example with a Teflonized glass fiber film. in the With regard to a favorable detachment behavior of the application medium from the guide element However, at least the end face of the guide element should be free of be hydrophobic coating.
  • the application medium curtain facing away from at least one electrode By means of the the application medium can emanate from this electrode and its interaction with the surface of the guide element to achieve or ensure a uniform layer thickness of the Application medium curtain can be influenced advantageously.
  • a suction box in front of the contact line of the Curtain or veil.
  • This suction box can be used in addition or as an alternative to a scraper Guiding element for combating the air boundary layer carried by the subsurface be used.
  • Material web is sucked into safe contact against the guide scraper, so that this effectively removes the air boundary layer from the web surface can take off.
  • the suction box can be on the inlet side and / or outlet side be assigned a scraper element, which with a scraper edge on the Rests on the ground, with the scraper element on the outlet side of the Guide element can be formed. Also with regard to constructive details of the mentioned suction box is on the above two referred to German patent applications.
  • the guiding element based on its The most distant underground either in or against the direction of the Can be arranged inclined underground, the guide element with the direction corresponding to the free fall of the application medium curtain in include an angle of up to about 70 ° in both orientations can. In terms of tearing off the application medium curtain In critical cases, the orientation of the guide element on the drain side preferable.
  • Guide element is designed as a running surface that the fall of the Curtain or veil in one from the dispensing nozzle to the guide element leading free fall section and one from the guide element to Subdivided underground leading free fall section, and their running speed is greater than the falling speed of the Application medium at the end of the free fall section leading to the guide element.
  • the order medium becomes a first gravity extension through the running surface of a subjected to the first contact stretching, after which the detachment of the application medium of the running surface serving as a guiding element second gravity or acceleration stretch and then the Contact extension through the running surface follows.
  • the current guiding element forming such a guiding element Surface realized, for example, by an endless, circulating belt become.
  • the peripheral speed is greater than that Falling speed of the application medium at the end of the as a guiding element serving roller leading free fall section.
  • such Roll preferably made of metal at least in the area of its peripheral surface be made.
  • the current one serving as the guiding element Surface for example the rotating roller, not just a relatively long one Free fall section divided into two shorter free fall sections what regarding the effects of external influences on the application medium curtain is advantageous, but it will also stretch the total distributed a variety of stretch levels, which the stress of the Application medium curtain reduced in the individual stretching stages. Thus, even a stronger overall can be achieved with the same total fall height Achieve extension of the application medium curtain.
  • the running direction of the Guide surface serving it has proven to be advantageous to change the running direction of the Guide surface serving to choose such that the Section of the running surface serving as a guide element, which with the Application medium of the free fall section leading to the guide element in Contact is made, moving in the same direction as the surface.
  • the Direction of rotation of the roller should preferably be chosen such that the Circumferential section of the roller, with the application medium of the roller leading free-fall section comes into contact in the same direction moves like the underground.
  • a scraper element for example a Piercing scraper is provided, which lifts the application medium from it and to the free fall section leading from the guide element to the subsurface emits.
  • This scraper element can, for example, against the as Guiding element serving running surface, for example the surface of the roller, be employed. If a roller is used as the guide element, it can but also from a wall section of a roller supporting the roller Roll bed be formed.
  • the length of the scraper element can be in Direction of movement of the application medium measured between about 5 mm and be about 50 mm.
  • any of the current surface, e.g. B. the spinning roller, free fall sections formed by additional Guiding elements can be further divided.
  • additional Guiding elements such as rotating rollers, be or also permanently installed, i.e. non-moving guide elements, for example, essentially flat baffles.
  • the additional guiding elements can do the free fall section in which they are arranged, again divide into two free-fall subsections.
  • a guide element it is also possible for such a guide element to be attached directly the discharge nozzle of the curtain applicator connects or as Guide scraper against the surface of the running surface or the or a running surface, e.g. B. a rotating roller is employed.
  • a curtain application device is general designated 10. It comprises a curtain application 12, from the Dispensing nozzle 14 liquid or pasty application medium 16 in the form of a Order medium curtain or veil 18 is delivered.
  • the Curtain 18 moves vertically due to gravity Direction V down to an underground U, which is under the Application unit 12 in the running direction L at a speed at Cardboard web from about 200 m / min and with a paper web of between about 1,000 m / min and about 3,000 m / min.
  • the underground With direct application, the surface of the material web can, in particular the paper or cardboard web, but also a film or textile web, or in the case of indirect application, the surface of a transfer element, for example a transfer roller.
  • the aim of the application device 10 is the application medium 16 is essentially fully metered, i.e. ideally as "1: 1" order to apply to the underground U as an order layer 20, which has a thickness d of between about 2 microns and 100 microns.
  • the reduction is based on such curtain applicators 10 the thickness of the application medium curtain 18 from the width b of the dispensing nozzle 14 to the thickness d of the application layer 20 essentially to two Effects, namely the stretching of the curtain due to gravity 18 during the free fall from the dispensing nozzle 14 to Underground U and on the other hand the contact extension due to the Difference between the falling speed of the curtain 18 just before Reaching the underground U and the running speed of the underground U.
  • the stretch due to gravity is not only due to physical effects (interplay between gravity and surface tension the order medium 16), but also due to external influences (for example, the curtain 18 is carried along by the Underground U, air currents and the like) set limits.
  • the present invention is based on the finding that the drop height H and thus the overall achievable extension of the Order medium 16 can be increased by being in the path of the order medium 16 from the dispensing nozzle 14 to the underground U a guide element 22, for example a guide plate or a guide blade. It It has been shown that the viscous frictional force between the Application medium 16 and the guide element 22 on the application medium curtain 18 a stabilizing, i.e. especially comparative end Has an effect.
  • the application medium 16 can be selected with a suitable choice Inclination angle ⁇ that the surface of the plan essentially Includes guide element 22 with the vertical V, and corresponding Choice of the surface properties of the guide element 22 at its Movement along the guide element 22 can be further accelerated. Consequently the application medium curtain 18 also experiences in the area of the guide element 22 an extension.
  • Fig. 1 divides that Guide element 22 the path of the application medium 16 from the dispensing nozzle 14 to the underground U in a first free fall section 24 and a second Free fall section 26. After a first extension due to gravity in the First free-fall section 24, the application medium 14 strikes the Guide element 22, which stabilizes the curtain 18 and yet its allows further extension due to gravity. Then arrives the application medium 16 in the area of the second free-fall section 26, in which it is stretched again due to gravity before it opens the underground U hits.
  • the end face 22b of the guide element 22 is designed so beveled that it with the Application medium 16 covered surface 22a of the guide element 22 a Include angle ⁇ of between about 20 ° and about 60 °.
  • the angle of inclination ⁇ of the guide element 22 relative to the vertical V can have a value of up to 70 °, the guide element 22 as in FIG. 1, can be arranged on the outlet side with respect to the substrate U. can. Basically, however, an inlet-side arrangement of the Guide element 22 conceivable.
  • the guide element or baffle 22 that from Metal or plastic, for example carbon or glass fiber reinforced Plastic that can be manufactured advantageously has a Thickness D of between about 0.2 mm and about 1.0 mm.
  • the Total fall height H can be up to 400 mm, the distance in which the application medium 16 moves along the guide element 22, a length I of between about 1 mm and about 200 mm, preferably between about 1 mm and about 50 mm.
  • the curtain application device 110 shown in FIG. 2 differentiates differs from the embodiment according to FIG. 1 only in that the Guide element 122 to the discharge nozzle 114 of the curtain applicator 112 is arranged immediately afterwards. Also by this execution lets the mentioned stabilization of the application medium curtain 118 achieve in the area of the guide element 122, so that in this respect to the above description of the embodiment of FIG. 1 referenced can be.
  • the speed of the application medium 116 on The detaching edge 122c of the guide element 122 should ideally also be so be chosen so that the application medium 116 does not have this edge Shoots out 122c and then takes a parabolic course (dash-dotted course P), but essentially at the edge 122c directly in the essentially vertical course shown in FIG. 2 transforms.
  • the guide element can also be used 222 a stabilizing the application medium curtain 218 Effect are exerted on the order medium 216 by the Curtain applicator 212 from its discharge opening 214 to the underground U is delivered. Therefore, in this regard, the above Description of the embodiment shown in FIG. 1.
  • the guide element 322 is on its top 322a and its underside 322d each with a hydrophobic Provide coating 330.
  • This hydrophobic coating can for example in the form of a teflon-coated glass fiber film, which are applied to the surface 322a and 322d of the guide element 322, is glued on, for example.
  • Such a hydrophobic coating has due to their water and therefore also the application medium 316 repellent Properties have the advantage that on the one hand the viscous Frictional forces between the guide element 322 and the application medium 316 are reduced, so that the application medium 316 also along the Surface 322a accelerated more due to gravity and thus can be stretched, and it also has the advantage of less Danger of contamination due to adherence of application medium 316 on Guide 322.
  • the guide element 322 As a result of the coating of the guide element 322 also on its underside 322d with the hydrophobic coating 330, the guide element 322, as shown in Fig. 5, float slightly so that in the area of the tip 322c of the guide scraper 322 a small, highly swirled one Forms amount 316 'of order medium 316.
  • This application medium vortex 316 'prevents air from entering the Area between the underground U and the order view 320.
  • the guide scraper 322 slides on this vortex 316 'with low friction what not only wear on the guide scraper 322, but also direct order also the wear occurring on the material web lowers.
  • the end face 322c of the tip is not one hydrophobic film is provided. The reason for this lies on the one hand in the easier to manufacture. On the other hand, the end face 322c is even supposed to be wettable, while on the hydrophobic coating Application medium rolls off to make a smoother transition to To allow underground U.
  • the application device 410 according to FIG. 6 differs in terms of the construction of the curtain applicator 412 and the guide element 422 not from the embodiment described above according to FIG. 4, i.e. the guide element 422 extends continuously from the dispensing nozzle 414 to the underground U. Therefore, in this regard, the Description of the embodiment shown in FIG. 4.
  • a suction box 432 is provided.
  • This suction box 432 serves the to weaken air boundary layer G carried along by underground U. or vacuum, even before they even hit the ground U employed scraper 422 arrives.
  • To increase the suction efficiency of the Suction device 432 has a sealing lip on the input side or Sealing blade or sealing scraper 434, which together with the guide scraper 422, the suction box 432 and the underground U an absorbent Encloses volume 436.
  • the suction box 532 to assign two sealing elements 534 and 534 'specially assigned to it, one of which with respect to the running direction L of the underground U am inlet side end of the suction box 532 and the other at its discharge end is arranged.
  • the application medium curtain is also on 418 underside 422d of the guide scraper 422 facing away an electrode 440 is arranged, which due to the emanating from it electric field allows the order medium 416 in the sense of a to influence additional stabilization of the application medium curtain 418.
  • an electrode 440 is arranged, which due to the emanating from it electric field allows the order medium 416 in the sense of a to influence additional stabilization of the application medium curtain 418.
  • a plurality of such electrodes can also be used be provided.
  • the arrangement of electrodes and suction boxes furthermore to the post-published ones originating from the applicant's group German patent applications DE 100 12 256.6 and DE 100 12 347.3 referenced.
  • Application medium 16 always on the top 22a of the guide element 22 moved along is to be based on the application device 510 according to FIG. 7 are also shown that it is in principle also possible that the order medium 516 or the order medium curtain 518 due to of adhesive forces between the guide element 522 and the application medium 516 also along the underside 522d of the guide element 522 can move, provided that the guide element 522 directly to the Delivery opening 514 of curtain applicator 512 connects.
  • the guide element 622 or 722 of the application device 610 or 710 also convex (FIG. 8) 'or concave (Fig. 9) can be curved.
  • the thickness or the speed of the Application medium curtain 618 or 718 can be influenced in a targeted manner.
  • a roller 822 is arranged, which the fall height H divided into a first free fall section 824, which is different from the Dispensing nozzle 814 until the curtain 818 hits the Roller surface 822a, and a second free-fall portion 826, which leads from the roller 822 to the underground U.
  • the roller 822 rotates about its axis A running in the transverse direction Q, specifically at a speed selected such that the speed v W of the surface 822a of the roller 822 has a greater value than the falling speed v F1 of the curtain 818 in first free-fall section 824 shortly before hitting roller surface 822a (v W > v F1 ).
  • the application medium 816 when it hits the roller surface 822a after gravity stretching in the free-fall section 824, experiences a contact stretching by the rotating roller 822.
  • the application medium curtain 818 is stabilized by the adhesive forces between the application medium 816 and the roller surface 822a.
  • scraper 828 lifts the application medium 816 from the Surface 822a of the roller 822 and transfers it to the second free-fall section 826.
  • the length I of the piercing scraper 828 is between approximately 5 mm and about 50 mm.
  • the diameter of the roller 822 is between 38 mm and about 500 mm. Its surface 822a is preferred trained hydrophilic.
  • the curtain 818 is again stretched, which means that its falling speed v F2 shortly before it hits the surface U has a greater value than the surface speed v W of the roller 822 (v F2 > v W ) , However, this falling speed v F2 is still lower than the running speed v U of the underground U in the running direction L (v U > v F2 ).
  • the application medium 816 is thus stretched again when it comes into contact with the underground U.
  • the total extension of the application medium curtain 818 from the thickness b when leaving the discharge opening 814 to the layer thickness d is the The application layer 820 applied on the background U thus takes place at the Application device 810 according to FIG. 1 in four stages, namely a first Gravity stretching in the first free fall section 824, a first Contact stretching when it hits the roller surface 822a, one second gravity stretch in the second free fall section 826 and one second contact stretch when hitting the underground U.

Landscapes

  • Coating Apparatus (AREA)
  • Paper (AREA)
  • Application Of Or Painting With Fluid Materials (AREA)
  • Polysaccharides And Polysaccharide Derivatives (AREA)
  • Formation And Processing Of Food Products (AREA)
  • Saccharide Compounds (AREA)

Abstract

Die Erfindung betrifft eine Vorrichtung (10) zum Auftragen von flüssigem oder pastösem Auftragsmedium (16) auf einen laufenden Untergrund (U), umfassend ein Vorhang-Auftragswerk (12), welches das Auftragsmedium aus einer Abgabedüse (14) als sich im Wesentlichen schwerkraftbedingt bewegenden Vorhang (18) an den Untergrund (U) abgibt wobei der Untergrund (U) bei direktem Auftrag die Oberfläche einer Materialbahn, insbesondere aus Papier oder Karton, und bei indirektem Auftrag die Oberfläche eines Übertragselements, vorzugsweise einer Übertragswalze, ist, welches das Auftragsmedium dann an die Oberfläche der Materialbahn überträgt, wobei in dem Fallweg des Vorhangs (18) wenigstens ein Leitelement (22) angeordnet ist, das den Vorhang (18) längs zumindest eines Teils des Fallwegs im Wesentlichen auf seiner gesamten Breite führt.

Description

Die Erfindung betrifft eine Vorrichtung zum Auftragen von flüssigem oder pastösem Auftragsmedium, insbesondere wässriger Pigmentsuspension, auf einen laufenden Untergrund, umfassend ein Vorhang-Auftragswerk, welches das Auftragsmedium aus einer Abgabedüse als sich im Wesentlichen schwerkraftbedingt bewegenden Vorhang oder Schleier an den Untergrund abgibt, wobei der Untergrund bei direktem Auftrag die Oberfläche einer Materialbahn, insbesondere aus Papier oder Karton, und bei indirektem Auftrag die Oberfläche eines Übertragselements, vorzugsweise einer Übertragswalze, ist, welches das Auftragsmedium dann an die Oberfläche der Materialbahn überträgt.
Bei der Beschichtung von Materialbahnen unter Einsatzes eines Vorhang-Auftragswerks (in der Fachwelt auch als "Curtain Coating" bezeichnet) wird das Auftragsmedium an den Untergrund in Form eines Auftragsmedium-Vorhangs bzw. -Schleiers (der Einfachheit halber werden im Folgenden nur noch die Begriffs "Auftragsmedium-Vorhang" bzw. nur "Vorhang" verwendet) abgegeben, der sich im Wesentlichen schwerkraftbedingt vom Auftragswerk zum Untergrund bewegt. Dass das Vorhang-Auftragswerk sich dabei in einem vorbestimmten Abstand vom Untergrund befindet, hat unter anderem den Vorteil, dass es beispielsweise bei einem Bahnabriss einem geringeren Beschädigungsrisiko ausgesetzt ist. Vorhang-Auftragswerke unterscheiden sich von anderen "kontaktlosen" Auftragswerken, beispielsweise Freistrahl-Düsenauftragswerken, bei welchen die Bewegung des Auftragsmediums vom Auftragswerk zum Untergrund hauptsächlich vom Ausstoßimpuls aus der Abgabedüse des Auftragswerks herrührt, grundlegend, da die Gestalt des aus der Abgabedüse austretenden Vorhangs lediglich dem Wechselspiel zwischen der Oberflächenspannung des Auftragsmediums und der Schwerkraft ausgesetzt ist. Die Oberflächenspannung versucht dabei, den Vorhang, der bezogen auf sein Volumen bzw. seine Querschnittsfläche eine sehr große Oberfläche bzw. Umfangslänge aufweist, zusammenzuziehen, um so seine Oberfläche zu verringern. Diesem Effekt widersetzt sich die Schwerkraft, die den Vorhang zu strecken sucht. Es ist daher leicht einzusehen, dass es umso schwieriger ist, einen über die gesamte Arbeitsbreite gleichmäßig dicken Auftragsmedium-Vorhang zu erhalten, je größer diese Arbeitsbreite ist.
Die Beschichtung von Materialbahnen mittels eines Vorhang-Auftragswerks, das der Materialbahn das Auftragsmedium als sich im Wesentlichen schwerkraftbedingt bewegenden Auftragsmedium-Vorhang zuführt, ist von der Beschichtung von fotografischen Filmen, Tonbändern und dergleichen seit langem bekannt. Weiterhin sind aus dem Bereich der Textilindustrie, bspw. aus der DE 33 33 592 A1 und der DE 40 15 946 A1 entsprechende Vorrichtungen zum Aufbringen eines Flüssigkeitsfilms auf eine textile Warenbahn mit Hilfe eines sich im Wesentlichen schwerkraftbedingt bewegenden Auftragsmedium-Vorhangs bekannt. Allerdings weisen die Materialbahnen auf diesen Anwendungsgebieten eine erheblich geringere Breite auf, als dies bei modernen Anlagen zur Herstellung von Papier- und Kartonbahnen der Fall ist, bei denen heutzutage Materialbahnbreiten von mehr als 10 m gefordert werden. Einen über diese Breite gleichmäßigen Auftragsmedium-Vorhang bilden und stabil halten zu können, ist eine Aufgabe, bei der es alles andere als naheliegt, sich von den vergleichsweise einfach zu kontrollierenden, bekannten schmalen Auftragsmedium-Vorhängen Anregungen für eine funktionstaugliche Lösung zu erwarten. Darüber hinaus bewegen sich die Materialbahnen in modernen Anlagen zur Herstellung von Papierbahnen mit Geschwindigkeiten von etwa 1.000 m/min bis zu 3.000 m/min, und in Anlagen zur Herstellung von Kartonbahnen mit Geschwindigkeiten ab etwa 200 m/min, was zumeist ein Vielfaches der Geschwindigkeit ist, mit der sich die bekannten schmalen Materialbahnen bewegen. Die hohen Bahn-Geschwindigkeiten stellen überdies eine weitere hohe Belastung für die Stabilität des Auftragsmedium-Vorhangs dar, da der Auftragsmedium-Vorhang nicht nur im freien Fall schwerkraftbedingt gestreckt wird (Schwerkraftstreckung), sondern auch beim Kontakt mit dem Untergrund aufgrund des Unterschieds zwischen der Geschwindigkeit des frei fallenden Auftragsmediums kurz vor dem Auftreffen auf dem Untergrund und der Laufgeschwindigkeit des sich bewegenden Untergrunds
(Kontaktstreckung).
In "Patent Abstracts of Japan", Nr. 10024360 ist eine Vorhang-Auftragsvorrichtung veröffentlicht, bei der eine Auftragsflüssigkeit durch zwei gegenläufige Walzen aus einem Reservoir heraus extrahiert wird, wobei die Auftragsflüssigkeit zu einem dünnen Film gestreckt wird, und danach im Wesentlichen unter Einfluss der Schwerkraft auf einen Untergrund aufgetragen wird.
Zur Erzielung eines qualitativ hochwertigen Auftragsergebnisses ist es wünschenswert, die Gesamtstreckung (= Schwerkraftstreckung x Kontaktstreckung) möglichst gleichmäßig auf die Schwerkraftstreckung und die Kontaktstreckung zu verteilen. Hierzu ist es insbesondere bei hohen Laufgeschwindigkeiten des Untergrunds erforderlich, dass der Auftragsmedium-Vorhang kurz vor dem Kontakt mit dem Untergrund eine möglichst hohe Fallgeschwindigkeit aufweist, was eine entsprechend hohe Fallhöhe bedingt. Der Fallhöhe sind jedoch physikalische Grenzen gesetzt. Bei einer zu großen Fallhöhe würde nämlich zum einen der Einfluss der Oberflächenspannung des Auftragsmediums und zum anderen der Einfluss von Luftbewegungen in der Nähe des Auftragsmediums-Vorhangs zu groß, um einen stabilen Auftragsmedium-Vorhang zuverlässig und reproduzierbar gewährleisten zu können. Die genannten Effekte erlangen einen umso stärkeren Einfluss auf die Qualität des Auftragsmedium-Vorhangs, je kleiner die Durchflussmenge des vom Vorhang-Auftragswerk pro Meter Arbeitsbreite an den Untergrund abgegebenen Auftragsmediums ist, d.h. je dünner der Auftragsmedium-Vorhang ist. Insbesondere in einem Filmdickenbereich von 2 ml/m2 bis 50 ml/m2, wie sie beim fertigdosierten Auftrag ("1:1"-Auftrag) dünner Auftragsmediumschichten keine Seltenheit sind, wird die Schwerkraftstreckung durch die vorstehend genannten Effekte begrenzt.
Es ist daher Aufgabe der Erfindung, eine Vorrichtung der eingangs genannten Art anzugeben, bei welcher der Einfluss der vorstehend diskutierten Effekte auf die Schwerkraftstreckung reduziert ist.
Diese Aufgabe wird erfindungsgemäß durch eine Vorrichtung der gattungsgemäßen Art gelöst, bei welcher in dem Fallweg des Vorhangs wenigstens ein Leitelement angeordnet ist, das den Vorhang längs zumindest eines Teils des Fallwegs auf seiner gesamten Breite führt.
Der vorteilhafte Effekt des erfindungsgemäß eingesetzten Leitelements auf den Auftragsmedium-Vorhang beruht höchstwahrscheinlich darauf, dass das Auftragsmedium beim Kontakt mit dem Leitelement zunächst etwas abgebremst wird, was die Form des Auftragsmedium-Vorhangs stabilisiert. Mit zunehmender Bewegung des Auftragsmediums längs des Leitelements nimmt dann aber die Fallgeschwindigkeit, genauer gesagt die Fließgeschwindigkeit des Auftragsmediums längs des Leitelements, wieder zu. Durch diese erfindungsgemäße Stabilisierung des Auftragsmedium-Vorhangs kann die Gesamtfallhöhe des Vorhangs und somit die insgesamt erzielbare Schwerkraftstreckung verglichen mit einem herkömmlichen freifallenden Auftragsmedium-Vorhang ohne Einbußen hinsichtlich der Qualität der damit gebildeten Auftragsmediumschicht erhöht werden. Hierdurch ist es möglich, sich der durch die physikalischen Eigenschaften des Auftragsmediums limitierten Filmstreckungsgrenze, bei der sich im dosierten Film, die Gleichmäßigkeit des Strichs negativ beeinflussende Schwingungswellen bilden, stärker anzunähern als dies bislang mit einem frei fallenden Auftragsmedium-Vorhang möglich war.
Anzumerken ist in diesem Zusammenhang, dass unter einer "im Wesentlichen schwerkraftbedingten" Bewegung des Auftragsmedium-Vorhangs hier verstanden wird, dass von allen, das Auftragsmedium zum Untergrund hin treibenden Kräften die Schwerkraft den größten Einfluss auf den Auftragsmedium-Vorhang ausübt. Die schwerkraftbedingte Bewegung kann aber auch von weiteren Kräften unterstützt (beispielsweise von elektrostatischen Kräften) oder in anderer Art und Weise beeinflusst werden (beispielsweise viskose Reibung bei der Bewegung längs des Leitelements).
Anzumerken ist weiterhin, dass die Worte "längs des Fallwegs führen" im Zusammenhang mit der vorliegenden Erfindung durchaus auch bedeuten können, dass der Auftragsmedium-Vorhang durch das Leitelement aus der dem freien Fall entsprechenden Bahn ausgelenkt werden kann.
Anzumerken ist ferner, dass als Materialbahnen neben Papier und Karton auch Folien oder Textilien mittels der erfindungsgemäßen Vorrichtung mit Auftragsmedium beschichtet werden können.
Die vorstehend beschriebenen Vorteile können insbesondere dann erzielt werden, wenn das Leitelement den Fallweg in einen von der Abgabedüse zum Leitelement führenden Freifall-Abschnitt und einem vom Leitelement zum Untergrund führenden Freifall-Abschnitt unterteilt. In diesem Fall kann der gesamte Fallweg des Auftragsmedium-Vorhangs mittels eines einzigen Leitelements in drei Abschnitte unterteilt werden, nämlich zwei Freifall-Abschnitte, die durch einen den Auftragsmedium-Vorhang stabilisierenden Abschnitt längs des Leitelements voneinander getrennt sind. Selbstverständlich kann jeder der Freifall-Abschnitte durch zusätzliche Leitelemente weiter unterteilt sein.
Aber auch dann, wenn das Leitelement den Fallweg des Auftragsmedium-Vorhangs nicht in zwei Freifall-Abschnitte unterteilt, wirkt sich der stabilisierende Einfluss des Leitelements vorteilhaft auf die Qualität des Auftragsergebnisses aus, wobei mittels dieser Leitelemente dann noch weitere, das Auftragsergebnis letzten Endes vorteilhaft beeinflussende Wirkungen erzielt werden können:
So läßt sich beispielsweise gemäß einer ersten Ausführungsvariante mittels eines sich unmittelbar an die Abgabedüse anschließenden Leitelements der sogenannte "Teekannen-Effekt" vermeiden. Dieser "Teekannen-Effekt", eine charakteristische Verformung des aus der Abgabedüse austretenden Auftragsmedium-Vorhangs, tritt in der Praxis dann auf, wenn die Strömungsgeschwindigkeit des Auftragsmediums beim Verlassen der Abgabedüse eine Grenzgeschwindigkeit unterschreitet, die zum einen von den physikalischen Eigenschaften des Auftragsmediums und zum anderen von der Dicke des Auftragsmedium-Vorhangs abhängt. Dünne Vorhänge neigen auch bei größerer Ausströmungsgeschwindigkeit dazu, den "Teekannen-Effekt" zu zeigen. Überschreitet die Ausströmungsgeschwindigkeitden vorstehend angesprochenen Grenzwert, so bildet sich üblicherweise ein parabolischer Verlauf des Auftragsmedium-Vorhangs aus. Ideal wäre es hingegen, den Auftragsmedium-Vorhang exakt mit der Grenzgeschwindigkeit aus der Abgabedüse austreten zu lassen, da der Vorhang in diesem Fall einen nahezu perfekt vertikalen Verlauf nimmt.
Dieser Idealfall läßt sich unter Einsatz eines sich unmittelbar an die Abgabedüse anschließenden Leitelements in einfacher Weise erreichen bzw. zumindest annähern. Wie bereits vorstehend ausgeführt wurde, wird der Auftragsmedium-Vorhang durch den Einfluss des Leitelements zunächst stabilisiert und dann von der Schwerkraft, wenn auch in einem durch den Kosinus des Neigungswinkels geminderten Maße, längs des Leitelements beschleunigt. Bei entsprechender Wahl der Länge des Leitelements in Bewegungsrichtung des Vorhangs kann erreicht werden, dass der Auftragsmedium-Vorhang am Ende des Leitelements sich exakt mit der Grenzgeschwindigkeit oder einer geringfügig größeren Geschwindigkeit bewegt, so dass der "Teekannen-Effekt" sicher vermieden werden kann und der Vorhang das Leitelement nahezu in vertikaler Richtung verläßt.
Um die erfindungsgemäße Auftragsvorrichtung in einfacher Weise an die physikalischen Eigenschaften verschiedener Auftragsmedien, verschiedene Vorhangdicken, und dergleichen Parameter mehr anpassen zu können, wird vorgeschlagen, dass die in Bewegungsrichtung des Vorhangs gemessene, von Auftragsmedium bedeckte Länge des Leitelements veränderbar ist. Ferner hat es sich als vorteilhaft erwiesen, wenn das Leitelement mit der dem freien Fall des Vorhangs entsprechenden Richtung einen Winkel von zwischen etwa 5° und etwa 30° einschließt. Das "Teekannen-Effekt"-freie Ablösen des Vorhangs vom Leitelement kann dadurch erleichtert werden, dass die von dem Auftragsmedium-Vorhang bedeckte Oberfläche des Leitelements mit der Stirnfläche des Leitelements einen Winkel von zwischen etwa 20° und etwa 60° einschließt. Die von Auftragsmedium bedeckte Länge des Leitelements sollte vorteilhafterweise höchstens etwa 200 mm, vorzugsweise höchstens etwa 50 mm, betragen.
Gemäß einer weiteren Ausführungsvariante kann das Leitelement aber auch als Leitschaber gegen den Untergrund angestellt sein. In diesem Fall tritt zu dem den Auftragsmedium-Vorhang stabilisierenden Einfluss des Leitelements hinzu, dass dieser die vom Untergrund mitgeführte Luftgrenzschicht schwächen und somit deren nachteiligen Einfluss auf das Auftragsergebnis mindern kann. Beispielsweise können mittels eines derartigen Leitschabers lokal begrenzte Unterbrechungen des Auftragsmedium-Vorhangs verhindert werden, die zu nicht mit Auftragsmedium bedeckten Stellen des Untergrunds führen würden. Aber auch die lokale Einschleppung von Lufteinschlüssen zwischen Untergrund und Auftragsmedium, die quasi als Vorstadium eines lokalen Reissens des Auftragsmedium-Vorhangs angesehen werden können, können mittels des erfindungsgemäßen Leitschabers vermieden werden. Eine etwaig entstehende Reibungswärme durch die Relativbewegung von Leitschaber und Untergrund stellt in der Praxis kein Problem dar, da sie in einfacher Weise durch das Auftragsmedium selbst abgeführt werden kann.
Auch im Falle des Einsatzes des Leitelements als Leitschaber hat sich eine geneigte Anordnung dieses Leitschabers als vorteilhaft erwiesen. Beispielsweise kann das Leitelement mit der dem freien Fall des Vorhangs entsprechenden Richtung einen Winkel von zwischen etwa 20° und etwa 80°, vorzugsweise zwischen etwa 45° und etwa 80°, einschließen. Die von Auftragsmedium bedeckte Länge des Leitschabers sollte vorteilhafterweise höchstens etwa 50 mm, vorzugsweise höchstens etwa 10 mm, betragen.
Um einerseits einen annähernd linienartigen Kontakt zwischen Leitschaber und Untergrund sicherstellen und andererseits einen annähernd stufenfreien Übergang des Auftragsmediums vom Leitschaber zum Untergrund ermöglichen zu können, wird ferner vorgeschlagen, dass die von dem Auftragsmedium-Vorhang bedeckte Oberfläche des Leitelements einen dem Untergrund benachbart angeordneten Endabschnitt aufweist, der mit einer gedachten Verlängerung der Oberfläche einen Winkel von zwischen etwa 30° und etwa 50° einschließt.
Gemäß einer weiteren Ausführungsvariante ist es ferner möglich, dass sich das Leitelement über die gesamte Strecke zwischen Abgabedüse und Untergrund erstreckt, um so die Vorteile einer sich an die Abgabedüse unmittelbar anschließenden Leitelements mit jenen eines als Leitschaber eingesetzten Leitelements zu verbinden. Hinsichtlich des Neigungswinkels des Leitelements muss in diesem Fall entweder ein Kompromiss zwischen den beiden genannten Anordnungsalternativen gefunden oder das Leitelement gekrümmt ausgebildet werden, so dass es sowohl im Bereich der Abgabedüse als auch im Bereich des Untergrunds einen jeweils vorteilhaften Neigungswinkel aufweist. Selbstverständlich ist es aber auch möglich, zwei voneinander getrennte Leitelemente vorzusehen, von denen eines sich unmittelbar an die Abgabedüse anschließt, während das andere als Leitschaber gegen den Untergrund angestellt ist.
Eine gekrümmte Ausbildung des Leitelements ermöglicht es überdies, über die Form der Krümmung die Geschwindigkeit oder/und die Dicke des Auftragsmedium-Vorhangs zu beeinflussen. Dabei kann sowohl an den Einsatz von konvex als auch von konkav gekrümmten Leitelementen gedacht werden, wobei mit konvex bzw. konkav die Krümmung der dem Auftragsmedium zugewandten Oberfläche des Leitelements bezeichnet ist.
Insbesondere dann, wenn das Leitelement aus Metall oder Kunststoff, beispielsweise kohlefaser- oder glasfaser-verstärkten Kunststoff, gefertigt ist, kann es vorkommen, dass das Auftragsmedium beim Kontakt mit dem Leitschaber stärker abgebremst wird, als es für die Erzielung der gewünschten Stabilisierung des Auftragsmedium-Vorhangs eigentlich erforderlich ist. In diesem Fall kann die Bremskraft, die der Leitschaber auf das Auftragsmedium ausübt, dadurch gemindert werden, dass das Leitelement zumindest auf seiner dem Vorhang bzw. Schleier zugewandten Oberfläche hydrophob ausgebildet ist, so dass die Strömungsgeschwindigkeit des Auftragsmediums auf dem Leitelement erhalten bleibt.
Diese hydrophobe Ausbildung der Oberfläche des Leitelements kann in herstellungstechnisch einfacher Weise dadurch erhalten werden, dass die Oberfläche des Leitelements mit einer hydrophoben Beschichtung versehen ist, beispielsweise mit einer teflonisierten Glasfaserfolie beschichtet ist. Im Hinblick auf ein günstiges Ablöseverhalten des Auftragsmediums vom Leitelement sollte jedoch zumindest die Stirnfläche des Leitelements frei von hydrophober Beschichtung sein.
Bei der vorstehenden Diskussion wurde implizit stets davon ausgegangen, dass sich der Auftragsmedium-Vorhang auf der Oberseite des Leitelements entlangbewegt, also von der Schwerkraft an dieser Oberseite gehalten wird. Grundsätzlich ist es jedoch auch möglich, dass sich der Auftragsmedium-Vorhang auf der Unterseite des Leitelements entlangbewegt, wobei er an dieser Unterseite durch Adhäsionskräfte gehalten wird.
In Weiterbildung der Erfindung kann auf der dem Auftragsmedium-Vorhang abgewandten Seite wenigstens eine Elektrode angeordnet sein. Mittels des von dieser Elektrode ausgehenden elektrischen Felds kann das Auftragsmedium und dessen Wechselwirkung mit der Oberfläche des Leitelements zur Erzielung bzw. Sicherstellung einer gleichmäßigen Schichtdicke des Auftragsmedium-Vorhangs vorteilhaft beeinflusst werden. Dies ist ausführlich in den nachveröffentlichten deutschen Patentanmeldungen DE 100 12 256.6 und DE 100 12 347.3 aus dem Konzern der Anmelderin beschrieben, auf die hiermit Bezug genommen wird.
Ferner kann in Laufrichtung des Untergrunds vor der Kontaktlinie des Vorhangs bzw. Schleiers ein Saugkasten angeordnet sein. Dieser Saugkasten kann zusätzlich oder alternativ zu einem als Leitschaber eingesetzten Leitelement zur Bekämpfung der vom Untergrund mitgeführten Luftgrenzschicht eingesetzt werden. Wird im Falle des direkten Auftrags des Auftragsmediums auf eine Materialbahn ein gegen die Materialbahn angestellter Leitschaber eingesetzt, so kann mittels des Saugkastens die Materialbahn in sicheren Kontakt gegen den Leitschaber angesaugt werden, so dass dieser die Luftgrenzschicht effektiv von der Materialbahnoberfläche abheben kann. Dem Saugkasten kann zulaufseitig oder/und auslaufseitig ein Schaberelement zugeordnet sein, das mit einer Schaberkante auf dem Untergrund aufliegt, wobei das auslaufseitige Schaberelement von dem Leitelement gebildet sein kann. Auch hinsichtlich konstruktiver Details des angesprochenen Saugkastens sei auf die vorstehend genannten beiden deutschen Patentanmeldungen verwiesen.
Nachzutragen ist noch, dass das Leitelement ausgehend von seiner dem Untergrund fernsten Stelle entweder in oder entgegen der Laufrichtung des Untergrunds geneigt angeordnet sein kann, wobei das Leitelement mit der dem freien Fall des Auftragsmedium-Vorhangs entsprechenden Richtung in beiden Orientierungen einen Winkel von bis zu etwa 70° einschließen kann. In hinsichtlich des Abreißens des Auftragsmedium-Vorhangs kritischen Fällen ist dabei die ablaufseitige Orientierung des Leitelements vorzuziehen.
Eine weitere vorteilhafte Weiterbildung der Erfindung sieht vor, dass das Leitelement als laufende Oberfläche ausgebildet ist, die den Fallweg des Vorhangs bzw. Schleiers in einen von der Abgabedüse zum Leitelement führenden Freifall-Abschnitt und einem von dem Leitelement zum Untergrund führenden Freifall-Abschnitt unterteilt, und deren Laufgeschwindigkeit größer ist als die Fallgeschwindigkeit des Auftragsmediums am Ende der zu dem Leitelement führenden Freifall-Abschnitts. Durch den erfindungsgemäßen Einsatz der als Leitelement dienenden laufenden Oberfläche setzt sich die Gesamtstreckung nicht mehr nur aus einer einmaligen Schwerkraftstreckung und einer einmaligen Kontaktstreckung zusammen. Vielmehr wird das Auftragsmedium nach einer ersten Schwerkraftstreckung durch die laufende Oberfläche einer ersten Kontaktstreckung unterworfen, worauf nach dem Ablösen des Auftragsmediums von der als Leitelement dienenden laufenden Oberfläche eine zweite Schwerkraft- bzw. Beschleunigungsstreckung und anschließend die Kontaktstreckung durch den laufenden Untergrund folgt. Hierzu ist es lediglich erforderlich, dass die Laufgeschwindigkeit des Untergrunds größer ist als die Fallgeschwindigkeit des Auftragsmediums am Ende des zum Untergrund führenden Freifall-Abschnitts.
Erfindungsgemäß kann als eine solche das Leitelement bildende laufende Oberfläche beispielsweise durch ein endloses, umlaufendes Band realisiert werden. In einer weiteren, besonders bevorzugten Ausführung dieser Variante der Erfindung ist als Leitelement eine sich drehende Walze vorgesehen, deren Umfangsgeschwindigkeit größer ist als die Fallgeschwindigkeit des Auftragsmediums am Ende des zur als Leitelement dienenden Walze führenden Freifallabschnitts. Hierbei kann eine solche Walze vorzugsweise zumindest im Bereich ihrer Umfangsfläche aus Metall gefertigt sein.
Erfindungsgemäß wird also durch die als Leitelement dienende laufende Oberfläche, bspw. die sich drehende Walze, nicht nur ein relativ langer Freifall-Abschnitt in zwei kürzere Freifall-Abschnitte unterteilt, was hinsichtlich der Auswirkungen äußerer Einflüsse auf den Auftragsmedium-Vorhang vorteilhaft ist, sondern es wird zudem die Gesamtstreckung auf eine Vielzahl von Streckungsstufen verteilt, was die Beanspruchung des Auftragsmedium-Vorhangs in den einzelnen Streckungsstufen reduziert. Somit läßt sich insgesamt bei gleicher Gesamtfallhöhe sogar eine stärkere Streckung des Auftragsmedium-Vorhangs erzielen.
Nachzutragen ist noch, dass der Auftragsmedium-Vorhang durch die Adhäsionskräfte zwischen dem Auftragsmedium und der als Leitelement dienenden laufenden Oberfläche, bspw. der Umfangsfläche der Walze, stabilisiert wird, was für seine Qualität und somit auch die Qualität des letztendlich mit Hilfe dieses Vorhangs erzielten Auftragsergebnisses günstig ist.
Ferner hat es sich als vorteilhaft erwiesen, die Laufrichtung der als Leitelement dienenden Oberfläche derart zu wählen, dass sich der Abschnitt der als Leitelement dienenden laufenden Oberfläche, der mit dem Auftragsmedium des zu dem Leitelement führenden Freifall-Abschnitts in Kontakt gelangt, in der gleichen Richtung bewegt wie der Untergrund. Falls als Leitelement eine Walze eingesetzt wird, heißt dies also, dass der Drehsinn der Walze bevorzugt derart gewählt werden soll, dass sich der Umfangsabschnitt der Walze, der mit dem Auftragsmedium des zur Walze führenden Freifall-Abschnitts in Kontakt gelangt, in gleicher Richtung bewegt wie der Untergrund.
Um das Ablösen des Auftragsmediums von der als Leitelement dienenden laufenden Oberfläche erleichtern zu können bzw. um zuverlässig sicherstellen zu können, dass sich auch nach dem Ablösen des Auftragsmediums von der als Leitelement dienenden laufenden Oberfläche ein gleichmäßiger Auftragsmedium-Vorhang bildet, wird in Weiterbildung der Erfindung vorgeschlagen, dass ein Schaberelement, beispielsweise ein Stechschaber, vorgesehen ist, der das Auftragsmedium von dieser abhebt und an den von dem Leitelement zum Untergrund führenden Freifall-Abschnitt abgibt. Dieses Schaberelement kann beispielsweise gegen die als Leitelement dienende laufende Oberfläche, bspw. die Oberfläche der Walze, angestellt sein. Falls als Leitelement eine Walze eingesetzt wird, kann es jedoch auch von einem Wandungsabschnitt eines die Walze lagernden Walzenbetts gebildet sein. Die Länge des Schaberelements kann dabei in Bewegungsrichtung des Auftragsmediums gemessen zwischen etwa 5 mm und etwa 50 mm betragen.
Selbstverständlich kann jeder der von der laufenden Oberfläche, z. B. der sich drehenden Walze, gebildeten Freifall-Abschnitte durch zusätzliche Leitelemente weiter unterteilt sein. Dabei können diese zusätzlichen Leitelemente weitere laufende Oberflächen, etwa sich drehende Walzen, sein oder aber auch festmontierte, d.h. sich nicht bewegende Leitelemente, beispielsweise im Wesentlichen plane Leitbleche. Die zusätzlichen Leitelemente können dabei den betreffenden Freifall-Abschnitt, in dem sie angeordnet sind, wiederum in zwei Freifall-Unterabschnitte unterteilen. Es ist jedoch auch möglich, dass sich ein derartiges Leitelement unmittelbar an die Abgabedüse des Vorhang-Auftragswerks anschließt bzw. als Leitschaber gegen die Oberfläche des laufenden Untergrunds oder der bzw. einer laufenden Oberfläche, z. B. einer sich drehenden Walze, angestellt ist.
Die Erfindung wird im Folgenden an Ausführungsbeispielen anhand der beigefügten Zeichnung näher erläutert werden. Es stellt dar:
Fig. 1 - 4
schematische Seitenansichten verschiedener Varianten erfindungsgemäßer Auftragsvorrichtungen mit an unterschiedlichen Positionen zwischen dem Auftragswerk und dem Untergrund angeordneten Leitelementen;
Fig. 5
eine vergrößerte Ansicht des Details V gemäß Fig. 4, wobei eine geringfügige Abweichung lediglich hinsichtlich des Auftreffens des Auftragsmedium-Vorhangs besteht;
Fig. 6 und 7
zwei mit Saugkasten ausgestatteten Varianten erfindungsgemäßer Auftragsvorrichtungen;
Fig. 8 und 9
zwei erfindungsgemäße Auftragsvorrichtungen mit konvexem bzw. konkavem Leitelement; und
Fig. 10
eine schematische Seitenansicht einer Weiterbildung einer erfindungsgemäßen Auftragsvorrichtung mit einem als Walze ausgebildeten Leitelement.
In Fig. 1 ist eine erfindungsgemäße Vorhang-Auftragsvorrichtung allgemein mit 10 bezeichnet. Sie umfasst ein Vorhang-Auftragswerk 12, aus dessen Abgabedüse 14 flüssiges oder pastöses Auftragsmedium 16 in Form eines Auftragsmedium-Vorhangs bzw. -Schleiers 18 abgegeben wird. Der Vorhang 18 bewegt sich im Wesentlichen schwerkraftbedingt in vertikaler Richtung V nach unten zu einem Untergrund U, der sich unter dem Auftragswerk 12 in Laufrichtung L mit einer Geschwindigkeit bei einer Kartonbahn ab etwa 200 m/min und bei einer Papierbahn von zwischen etwa 1.000 m/min und etwa 3.000 m/min vorbeibewegt. Der Untergrund U kann bei direktem Auftrag die Oberfläche der Materialbahn, insbesondere der Papier- oder Kartonbahn, aber auch einer Folien- oder Textilbahn, sein, oder bei indirektem Auftrag die Oberfläche eines Übertragselements, beispielsweise einer Übertragswalze. Ziel der Auftragsvorrichtung 10 ist es, das Auftragsmedium 16 im Wesentlichen fertig dosiert, d.h. im Idealfall als " 1:1 "-Auftrag, auf den Untergrund U aufzubringen als eine Auftragsschicht 20, die eine Dicke d von zwischen etwa 2 µm und 100 µm aufweist.
Bei derartigen Vorhang-Auftragsvorrichtungen 10 beruht die Reduzierung der Dicke des Auftragsmedium-Vorhangs 18 von der Breite b der Abgabedüse 14 auf die Dicke d der Auftragsschicht 20 im Wesentlichen auf zwei Effekten, nämlich zum einen der schwerkraftbedingten Streckung des Vorhangs 18 während des freien Falls von der Abgabedüse 14 zum Untergrund U und zum anderen der Kontaktstreckung aufgrund des Unterschieds zwischen der Fallgeschwindigkeit des Vorhangs 18 kurz vor Erreichen des Untergrunds U und der Laufgeschwindigkeit des Untergrunds U. Dabei sind der schwerkraftbedingten Streckung nicht nur aufgrund physikalischer Effekte (Wechselspiel zwischen Schwerkraft und Oberflächenspannung des Auftragsmediums 16), sondern auch aufgrund äußerer Einflüsse (beispielsweise Mitnahme des Vorhangs 18 durch den Untegrund U, Luftströmungen und dergleichen) Grenzen gesetzt.
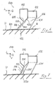
Die vorliegende Erfindung beruht auf der Erkenntnis, dass man die Fallhöhe H und somit die insgesamt erzielbare schwerkraftbedingte Streckung des Auftragsmediums 16 dadurch vergrößern kann, dass man im Weg des Auftragsmediums 16 von der Abgabedüse 14 zum Untergrund U ein Leitelement 22, beispielsweise ein Leitblech oder eine Leitklinge, anordnet. Es hat sich nämlich gezeigt, dass die viskose Reibungskraft zwischen dem Auftragsmedium 16 und dem Leitelement 22 auf den Auftragsmedium-Vorhang 18 eine diesen stabilisierende, d.h. insbesondere vergleichmäßigende Wirkung ausübt.
Gleichwohl kann das Auftragsmedium 16 bei geeigneter Wahl des Neigungswinkels α, den die Oberfläche des im Wesentlichen planen Leitelements 22 mit der Vertikalen V einschließt, sowie entsprechender Wahl der Oberflächeneigenschaften des Leitelements 22 bei seiner Bewegung längs des Leitelements 22 weiter beschleunigt werden. Somit erfährt der Auftragsmedium-Vorhang 18 auch im Bereich des Leitelements 22 eine Streckung.
In dem in Fig. 1 dargestellten Ausführungsbeispiel unterteilt das Leitelement 22 den Weg des Auftragsmediums 16 von der Abgabedüse 14 zum Untergrund U in einen ersten Freifall-Abschnitt 24 und einen zweiten Freifall-Abschnitt 26. Nach einer ersten schwerkraftbedingten Streckung im ersten Freifall-Abschnitt 24 trifft das Auftragsmedium 14 also auf das Leitelement 22, das den Vorhang 18 stabilisiert und dennoch dessen weitere schwerkraftbedingte Streckung ermöglicht. Anschließend gelangt das Auftragsmedium 16 in den Bereich des zweiten Freifall-Abschnitts 26, in welchem es nochmals schwerkraftbedingt gestreckt wird, bevor es auf dem Untergrund U auftrifft. Um eine nachteilige Beeinflussung des Auftragsmedium-Vorhangs 18 beim Übergang vom Leitelement 22 in den zweiten Freifall-Abschnitt 26 verhindern zu können, ist die Stirnfläche 22b des Leitelements 22 derart angeschrägt ausgebildet, dass sie mit der vom Auftragsmedium 16 bedeckten Oberfläche 22a des Leitelements 22 einen Winkel β von zwischen etwa 20° und etwa 60° einschließen.
Der Neigungswinkel α des Leitelements 22 relativ zur Vertikalen V kann einen Wert von bis zu 70° aufweisen, wobei das Leitelement 22 wie in Fig. 1 dargestellt, bezüglich des Untergrunds U ablaufseitig angeordnet sein kann. Grundsätzlich ist jedoch auch eine zulaufseitige Anordnung des Leitelements 22 denkbar. Das Leitelement bzw. Leitblech 22, das aus Metall oder Kunststoff, beispielsweise kohlefaser- oder glasfaser-verstärktem Kunststoff, gefertigt sein kann, weist vorteilhafterweise eine Dicke D von zwischen etwa 0,2 mm und etwa 1,0 mm auf. Die Gesamtfallhöhe H kann bis zu 400 mm betragen, wobei die Strecke, in welcher sich das Auftragsmedium 16 längs des Leitelements 22 bewegt, eine Länge I von zwischen etwa 1 mm und etwa 200 mm, vorzugsweise zwischen etwa 1 mm und etwa 50 mm, aufweist.
Die in Fig. 2 dargestellte Vorhang-Auftragsvorrichtung 110 unterscheidet sich von der Ausführungsform gemäß Fig. 1 lediglich dadurch, dass das Leitelement 122 an die Abgabedüse 114 des Vorhang-Auftragswerks 112 unmittelbar anschließend angeordnet ist. Auch durch diese Ausführung läßt sich die angesprochene Stabilisierung des Auftragsmedium-Vorhangs 118 im Bereich des Leitelements 122 erzielen, so dass diesbezüglich auf die vorstehende Beschreibung der Ausführungsform gemäß Fig. 1 verwiesen werden kann.
Mit der Auftragsvorrichtung 110 gemäß Fig. 2 läßt sich jedoch noch ein weiterer Vorteil erzielen. Und zwar kann durch entsprechende Anpassung der Länge I an die Eigenschaften des Auftragsmediums 116 und weiterer Parameter, wie beispielsweise die Dicke und die Austrittsgeschwindigkeit des Vorhangs 118 aus der Abgabedüse 114, erreichen, dass der Vorhang 118 sich im Anschluss an das Leitelement 122 im Bereich des zum Untergrund U führenden Freifall-Abschnitts 126 nahezu perfekt in vertikaler Richtung V bewegt, und nicht einen Verlauf nimmt wie er von dem sogenannten "Teekannen-Effekt" verursacht wird (in Fig. 2 gestrichelt angedeuteter Verlauf T). Die Geschwindigkeit des Auftragsmediums 116 an der Ablösekante 122c des Leitelements 122 sollte idealerweise ferner so gewählt werden, dass das Auftragsmedium 116 nicht über diese Kante 122c hinausschießt und anschließend einen parabelförmigen Verlauf nimmt (strichpunktierter Verlauf P), sondern an der Kante 122c im Wesentlichen unmittelbar in den in Fig. 2 dargestellten im Wesentlichen vertikalen Verlauf übergeht.
Dies alles kann mit der Vorhang-Auftragsvorrichtung 110 gemäß Fig. 2 in einfacher Weise erreicht werden, da die "aktive" Länge I des Leitelements 122 und somit die Geschwindigkeit des Auftragsmediums 116 im Bereich der Kante 122c durch einfaches mechanisches Verstellen des Leitelements 122 in Richtung des Doppelpfeils X bewerkstelligt werden kann. Es ist also nicht erforderlich, die hydrodynamischen Parameter in dem Auftragswerk 112 zu beeinflussen, was steuerungs- bzw. regelungstechnisch mit erheblichem Aufwand verbunden wäre.
Auch bei der Auftragsvorrichtung 210 gemäß Fig. 3 kann durch das Leitelement 222 eine den Auftragsmedium-Vorhang 218 stabilisierende Wirkung auf das Auftragsmedium 216 ausgeübt werden, das von dem Vorhang-Auftragswerk 212 aus dessen Abgabeöffnung 214 zum Untergrund U hin abgegeben wird. Daher kann diesbezüglich auf die vorstehende Beschreibung der Ausführungsform gemäß Fig. 1 verwiesen werden.
Bei der Auftragsvorrichtung 210 gemäß Fig. 3 ist jedoch das Leitelement 222 als Leitschaber gegen die Oberfläche des Untergrunds U angestellt. Aufgabe dieses Leitschabers ist es, die vom Untergrund U mitgeführte Luftgrenzschicht G vom Untergrund U zu entfernen, um deren nachteiligen Einfluss (lokales Reißen des Auftragsmedium-Vorhangs 218; Lufteinschleppung zwischen Untergrund U und Auftragsschicht 220) auf das Auftragsergebnis zu mindern, wenn nicht gar vollständig zu eliminieren.
Um gleichwohl einen möglichst stufenfreien Übergang des Auftragsmediums 216 vom Leitschaber 222 zum Untergrund U hin sicherstellen zu können, ist die Stirnfläche 222b angeschrägt ausgebildet, wobei sie mit der von Auftragsmedium 216 nicht benetzten Unterseite 222d des Leitschabers einen Winkel γ einschließt, dessen Wert zwischen etwa 30° und etwa 50° beträgt.
Selbstverständlich ist es auch möglich, die Ausführungsformen gemäß Fig. 2 und 3 miteinander zu kombinieren, d.h. sowohl ein dem "Teekannen-Effekt" vorbeugendes, sich an die Abgabeöffnung des Vorhang-Auftragswerks unmittelbar anschließendes Leitelement als auch einen gegen den Untergrund U angestellten Leitschaber vorzusehen. Ja, es ist sogar denkbar, wie dies bei dem Vorhang-Auftragswerk 310 gemäß Fig. 4 dargestellt ist, diese beiden Leitelemente zu einem einzigen Leitelement 322 zu kombinieren, das sich von der Abgabeöffnung 314 des Vorhang-Auftragswerks 312 durchgehend bis zum Untergrund U erstreckt, gegen den es als Leitschaber angestellt ist. In diesem Fall übt das Leitelement 322 über die gesamte Fallhöhe H (s. Fig. 1) die den Vorhang 318 stabilisierende Wirkung auf das Auftragsmedium 316 aus. Ferner besteht keinerlei Gefahr des Auftretens des "Teekannen-Effekts". Und schließlich wird auch jeglicher nachteiliger Einfluss der Luftgrenzschicht G auf die Auftragsschicht 320 unterdrückt.
Anhand der in Fig. 5 dargestellten Detailansicht der Spitze eines als Leitschaber gegen den Untergrund U angestellten Leitelements 322 soll im Folgenden eine Ausführungsvariante des erfindungsgemäßen Leitelements näher erläutert werden. Und zwar ist das Leitelement 322 an seiner Oberseite 322a und seiner Unterseite 322d jeweils mit einer hydrophoben Beschichtung 330 versehen. Diese hydrophobe Beschichtung kann beispielsweise in Form einer teflonisierten Glasfaserfolie ausgebildet sein, die auf die Oberfläche 322a und 322d des Leitelements 322 aufgebracht, beispielsweise aufgeklebt ist. Eine derartige hydrophobe Beschichtung hat aufgrund ihrer Wasser und somit auch das Auftragsmedium 316 abweisenden Eigenschaften den Vorteil, dass zum einen die viskosen Reibungskräfte zwischen dem Leitelement 322 und dem Auftragsmedium 316 reduziert sind, so dass das Auftragsmedium 316 auch längs der Oberfläche 322a stärker schwerkraftbedingt beschleunigt und somit gestreckt werden kann, und sie hat ferner den Vorteil einer geringeren Verschmutzungsgefahr durch Anhaften von Auftragsmedium 316 am Leitelement 322.
In Folge der Beschichtung des Leitelements 322 auch an seiner Unterseite 322d mit der hydrophoben Beschichtung 330 kann das Leitelement 322, wie dies in Fig. 5 dargestellt ist, geringfügig aufschwimmen, so dass sich im Bereich der Spitze 322c des Leitschabers 322 eine geringe stark verwirbelte Menge 316' an Auftragsmedium 316 ausbildet. Dieser Auftragsmediumwirbel 316' verhindert zum einen den Eintritt von Luft in den Bereich zwischen dem Untergrund U und der Auftragssicht 320. Zum anderen gleitet der Leitschaber 322 auf diesem Wirbel 316' reibungsarm dahin, was nicht nur den Verschleiß am Leitschaber 322, sondern bei direktem Auftrag auch den an der Materialbahn auftretenden Verschleiß senkt. Anzumerken ist, dass die Stirnfläche 322c der Spitze nicht mit einer hydrophoben Folie versehen ist. Der Grund hierfür liegt zum einen in der einfacheren Herstellbarkeit. Zum anderen soll die Stirnfläche 322c sogar benetzbar sein, während auf der hydrophoben Beschichtung das Auftragsmedium abperlt, um einen gleichmäßigeren Übergang zum Untergrund U zu ermöglichen.
Die Auftragsvorrichtung 410 gemäß Fig. 6 unterscheidet sich hinsichtlich des Aufbaus des Vorhang-Auftragswerks 412 und des Leitelements 422 nicht von der vorstehend beschriebenen Ausführungsform gemäß Fig. 4, d.h. das Leitelement 422 erstreckt sich von der Abgabedüse 414 durchgehend bis zum Untergrund U. Daher sei diesbezüglich auf die Beschreibung der Ausführungsform gemäß Fig. 4 verwiesen.
Als zusätzliche Maßnahme zur Erzielung einer qualitativ hochwertigen Auftragsschicht 420 ist in Laufrichtung L vor dem Auftragswerk 412 ferner ein Saugkasten 432 vorgesehen. Dieser Saugkasten 432 dient dazu, die vom Untergrund U mitgeführte Luftgrenzschicht G bereits zu schwächen bzw. abzusaugen, noch bevor sie überhaupt zu dem gegen den Untergrund U angestellten Leitschaber 422 gelangt. Zur Erhöhung der Saugeffizienz der Saugvorrichtung 432 weist diese eingangsseitig eine Dichtlippe bzw. Dichtklinge bzw. Dichtschaber 434 auf, die zusammen mit dem Leitschaber 422, dem Saugkasten 432 und dem Untergrund U ein saugaktives Volumen 436 umschließt.
Grundsätzlich ist es jedoch auch möglich, wie dies am Beispiel der Auftragsvorrichtung 510 gemäß Fig. 7 dargestellt ist, dem Saugkasten 532 zwei diesem speziell zugeordnete Dichtelemente 534 und 534' zuzuordnen, von denen das eine bezüglich der Laufrichtung L des Untergrunds U am zulaufseitigen Ende des Saugkastens 532 und das andere an dessen ablaufseitigem Ende angeordnet ist.
Bei der Ausführungsform 410 gemäß Fig. 6 ist ferner an der dem Auftragsmedium-Vorhang 418 abgewandten Unterseite 422d des Leitschabers 422 eine Elektrode 440 angeordnet, welche es aufgrund des von ihr ausgehenden elektrischen Feldes erlaubt, das Auftragsmedium 416 im Sinne einer zusätzlichen Stabilisierung des Auftragsmedium-Vorhangs 418 zu beeinflussen. Selbstverständlich kann auch eine Mehrzahl derartiger Elektroden vorgesehen sein. Bezüglich der Anordnung von Elektroden und Saugkästen sei ferner auf die aus dem Konzern der Anmelderin stammenden, nachveröffentlichten deutsche Patentanmeldungen DE 100 12 256.6 und DE 100 12 347.3 verwiesen.
Obgleich bei den vorstehend beschriebenen Ausführungsformen sich das Auftragsmedium 16 stets auf der Oberseite 22a des Leitelements 22 entlang bewegte, soll anhand der Auftragsvorrichtung 510 gemäß Fig. 7 ferner aufgezeigt werden, dass es grundsätzlich auch möglich ist, dass sich das Auftragsmedium 516 bzw. der Auftragsmedium-Vorhang 518 aufgrund von Adhäsionskräften zwischen dem Leitelement 522 und dem Auftragsmedium 516 auch längs der Unterseite 522d des Leitelements 522 bewegen kann, sofern das Leitelement 522 sich unmittelbar an die Abgabeöffnung 514 des Vorhang-Auftragswerks 512 anschließt.
Anhand der Fig. 8 und 9 soll noch aufgezeigt werden, dass das Leitelement 622 bzw. 722 der Auftragsvorrichtung 610 bzw. 710 auch konvex (Fig. 8) ' oder konkav (Fig. 9) gekrümmt ausgebildet sein kann. Durch gezielte Wahl des gekrümmten Verlaufs kann die Dicke bzw. die Geschwindigkeit des Auftragsmedium-Vorhang 618 bzw. 718 gezielt beeinflusst werden.
Bei der in Fig. 10 gezeigten Ausführung einer erfindungsgemäßen Vorhang-Auftrags-Vorrichtung 810 ist in dem Fallweg des Auftragsmedium-Vorhangs 818 von der Abgabedüse 814 des Vorhang-Auftragswerks 812 zum Untergrund U eine Walze 822 angeordnet, welche die Fallhöhe H unterteilt in einen ersten Freifall-Abschnitt 824, der sich von der Abgabedüse 814 bis zum Auftreffen des Vorhangs 818 auf der Walzenoberfläche 822a erstreckt, und einen zweiten Freifall-Abschnitt 826, der von der Walze 822 bis zum Untergrund U führt.
Erfindungsgemäß dreht sich die Walze 822 um ihre in Querrichtung Q verlaufende Achse A, und zwar mit einer Drehzahl, die derart gewählt ist, dass die Geschwindigkeit vW der Oberfläche 822a der Walze 822 einen größeren Wert aufweist als die Fallgeschwindigkeit vF1 des Vorhangs 818 im ersten Freifall-Abschnitt 824 kurz vor dem Auftreffen auf der Walzenoberfläche 822a (vW > vF1). Hierdurch erfährt das Auftragsmedium 816 beim Auftreffen auf der Walzenoberfläche 822a nach der Schwerkraftstreckung im Freifall-Abschnitt 824 eine Kontaktstreckung durch die sich drehende Walze 822. Ferner wird der Auftragsmedium-Vorhang 818 durch die Adhäsionskräfte zwischen dem Auftragsmedium 816 und der Walzenoberfläche 822a stabilisiert. Zu diesen Adhäsionskräften können selbstverständlich auch weitere auf das Auftragsmedium 816 einwirkende Kräfte hinzutreten, beispielsweise elektrostatische Kräfte, wenn im Inneren der Walze 822 eine auf einem vorbestimmten elektrischen Potential gehaltene Elektrode angeordnet ist, oder die Mantelfläche der Walze 822 selbst als Elektrode ausgebildet ist.
Ein entgegen der Drehrichtung der Walze 822 gegen deren Oberfläche 822a angestellter Stechschaber 828 hebt das Auftragsmedium 816 von der Oberfläche 822a der Walze 822 ab und überführt es in den zweiten Freifall-Abschnitt 826. Die Länge I des Stechschabers 828 beträgt zwischen etwa 5 mm und etwa 50 mm. Der Durchmesser der Walze 822 beträgt zwischen 38 mm und etwa 500 mm. Ihre Oberfläche 822a ist vorzugsweise hydrophil ausgebildet.
In dem zweiten Freifall-Abschnitt 826 erfährt der Vorhang 818 wiederum eine Streckung, die dazu führt, dass seine Fallgeschwindigkeit vF2 kurz vor Auftreffen auf dem Untergrund U einen größeren Wert aufweist als die Oberflächengeschwindigkeit vW der Walze 822 (vF2 > vW). Diese Fallgeschwindigkeit vF2 ist jedoch immer noch kleiner als die Laufgeschwindigkeit vU des Untergrunds U in Laufrichtung L (vU > vF2). Somit wird das Auftragsmedium 816 beim Kontakt mit dem Untergrund U nochmals gestreckt.
Die Gesamtstreckung des Auftragsmedium-Vorhangs 818 von der Dicke b beim Verlassen der Abgabeöffnung 814 ist zur Schichtdicke d der auf den Untergrund U aufgebrachten Auftragsschicht 820 erfolgt somit bei der Auftragsvorrichtung 810 gemäß Fig. 1 in vier Stufen, nämlich einer ersten Schwerkraftstreckung im ersten Freifall-Abschnitt 824, einer ersten Kontaktstreckung beim Auftreffen auf die Walzenoberfläche 822a, einer zweiten Schwerkraftstreckung im zweiten Freifall-Abschnitt 826 und einer zweiten Kontaktstreckung beim Auftreffen auf den Untergrund U.

Claims (39)

  1. Vorrichtung (10) zum Auftragen von flüssigem oder pastösem Auftragsmedium (16), insbesondere wässriger Pigmentsuspension, auf einen laufenden Untergrund (U), umfassend ein Vorhang-Auftragswerk (12), welches das Auftragsmedium aus einer Abgabedüse (14) als sich im Wesentlichen schwerkraftbedingt bewegenden Vorhang oder Schleier (18) an den Untergrund (U) abgibt,
       wobei der Untergrund (U) bei direktem Auftrag die Oberfläche einer Materialbahn, insbesondere aus Papier oder Karton, und bei indirektem Auftrag die Oberfläche eines Übertragselements, vorzugsweise einer Übertragswalze, ist, welches das Auftragsmedium dann an die Oberfläche der Materialbahn überträgt,
    dadurch gekennzeichnet, dass in dem Fallweg des Vorhangs bzw. Schleiers.(18) wenigstens ein Leitelement (22) angeordnet ist, das den Vorhang bzw. Schleier (18) längs zumindest eines Teils des Fallwegs im Wesentlichen auf seiner gesamten Breite führt.
  2. Auftragsvorrichtung nach Anspruch 1,
    dadurch gekennzeichnet, dass das Leitelement (22) den Fallweg in einen von der Abgabedüse (14) zum Leitelement (22) führenden Freifall-Abschnitt (24) und einem vom Leitelement (22) zum Untergrund (U) führenden Freifall-Abschnitt (26) unterteilt.
  3. Auftragsvorrichtung nach Anspruch 1,
    dadurch gekennzeichnet, dass sich das Leitelement (122) unmittelbar an die Abgabedüse (114) anschließt.
  4. Auftragsvorrichtung nach Anspruch 3,
    dadurch gekennzeichnet, dass die in Bewegungsrichtung des Vorhangs bzw. Schleiers (118) gemessene, von Auftragsmedium (116) bedeckte Länge (I) des Leitelements (122) veränderbar ist.
  5. Auftragsvorrichtung nach Anspruch 3 oder 4,
    dadurch gekennzeichnet, dass das Leitelement (122) mit der dem freien Fall des Vorhangs bzw. Schleiers (118) entsprechenden Richtung (V) einen Winkel (α) von zwischen etwa 5° und etwa 30° einschließt.
  6. Auftragsvorrichtung nach einem der Ansprüche 2 bis 5,
    dadurch gekennzeichnet, dass die von dem Auftragsmedium-Vorhang (18; 118) bedeckte Oberfläche (22a) des Leitelements (22; 122) mit der Stirnfläche (22b) des Leitelements einen Winkel (β) von zwischen etwa 20° und etwa 60° einschließt.
  7. Auftragsvorrichtung nach einem der Ansprüche 3 bis 6,
    dadurch gekennzeichnet, dass das Leitelement als Leitschaber (222; 322) gegen den Untergrund (U) angestellt ist.
  8. Auftragsvorrichtung nach Anspruch 7,
    dadurch gekennzeichnet, dass das Leitelement (222; 322) mit der dem freien Fall des Vorhangs bzw. Schleiers (218; 318) entsprechenden Richtung (V) einen Winkel (α) von zwischen etwa 20° und etwa 80°, vorzugsweise zwischen etwa 45° und etwa 80°, einschließt.
  9. Auftragsvorrichtung nach Anspruch 7 oder 8,
    dadurch gekennzeichnet, dass die von dem AuftragsmediumVorhang (218; 318) bedeckte Oberfläche des Leitelements (222; 322) einen dem Untergrund (U) benachbart angeordneten Endabschnitt (222b) aufweist, der mit einer gedachten Verlängerung der Oberfläche einen Winkel (y) von zwischen etwa 30° und etwa 50° einschließt.
  10. Auftragsvorrichtung nach einem der Ansprüche 3 bis 6 und einem der Ansprüche 7 bis 9,
    dadurch gekennzeichnet, dass sich das Leitelement (322) über die gesamte Strecke zwischen Abgabedüse (314) und Untergrund (U) erstreckt.
  11. Auftragsvorrichtung nach einem der Ansprüche 1 bis 10,
    dadurch gekennzeichnet, dass das Leitelement (322) zumindest auf seiner dem Vorhang bzw. Schleier (318) zugewandten Oberfläche (322a) hydrophob ausgebildet ist.
  12. Auftragsvorrichtung nach Anspruch 11,
    dadurch gekennzeichnet, dass die Oberfläche (322a) des Leitelements (322) mit einer hydrophoben Beschichtung (330) versehen ist, beispielsweise mit einer teflonisierten Glasfaserfolie beschichtet ist.
  13. Auftragsvorrichtung nach Anspruch 11 oder 12,
    dadurch gekennzeichnet, dass zumindest die Stirnfläche (322c) des Leitelements (322) frei von hydrophober Beschichtung ist.
  14. Auftragsvorrichtung nach einem der Ansprüche 1 bis 13,
    dadurch gekennzeichnet, dass der Auftragsmedium-Vorhang (18) sich auf der Oberseite (22a) des Leitelements (22) entlangbewegt.
  15. Auftragsvorrichtung nach einem der Ansprüche 1 bis 13,
    dadurch gekennzeichnet, dass der Auftragsmedium-Vorhang (518) sich auf der Unterseite (522d) des Leitelements (522) entlangbewegt.
  16. Auftragsvorrichtung nach einem der Ansprüche 1 bis 15,
    dadurch gekennzeichnet, dass auf der dem Auftragsmedium-Vorhang (418) abgewandten Seite (422d) des Leitelements (422) wenigstens eine Elektrode (440) angeordnet ist.
  17. Auftragsvorrichtung nach einem der Ansprüche 1 bis 16,
    dadurch gekennzeichnet, dass in Laufrichtung (L) des Untergrunds (U) vor der Kontaktlinie des Vorhangs bzw. Schleiers (418; 518) ein Saugkasten (432; 532) angeordnet ist.
  18. Auftragsvorrichtung nach Anspruch 17,
    dadurch gekennzeichnet, dass dem Saugkasten (432; 532) zulaufseitig oder/und auslaufseitig ein Schaberelement (434, 422; 534, 534') zugeordnet ist, das mit einer Schaberkante auf dem Untergrund (U) aufliegt.
  19. Auftragsvorrichtung nach Anspruch 18,
    dadurch gekennzeichnet, dass das auslaufseitige Schaberelement von dem Leitelement (422) gebildet ist.
  20. Auftragsvorrichtung nach einem der vorhergehenden Ansprüche,
    dadurch gekennzeichnet, dass sich der Auftragsmedium-Vorhang (18) über eine Strecke (I) von zwischen etwa 1 mm und etwa 200 mm, vorzugsweise zwischen etwa 1 mm und etwa 50 mm, längs der Oberfläche des Leitelements (22) bewegt.
  21. Auftragsvorrichtung nach einem der vorhergehenden Ansprüche,
    dadurch gekennzeichnet, dass sich der Untergrund (U) im Falle der Beschichtung einer Papierbahn mit einer Geschwindigkeit von zwischen etwa 1000 m/min und etwa 3000 m/min und im Falle der Beschichtung einer Kartonbahn mit einer Geschwindigkeit von zwischen etwa 200 m/min und etwa 1.000 m/min bewegt.
  22. Auftragsvorrichtung nach einem der vorhergehenden Ansprüche,
    dadurch gekennzeichnet, dass das Auftragsmedium (16) fertigdosiert auf den Untergrund (U) aufgebracht wird.
  23. Auftragsvorrichtung nach einem der vorhergehenden Ansprüche,
    dadurch gekennzeichnet, dass die Abgabedüse (14) das Auftragsmedium (16) mit einer Rate von zwischen etwa 2 l/min und etwa 200 l/min je Meter Arbeitsbreite abgibt.
  24. Auftragsvorrichtung nach einem der vorhergehenden Ansprüche
    dadurch gekennzeichnet, dass die Länge (H) des Vorhangs (18) einen Wert von zwischen etwa 5 mm und etwa 400 mm, vorzugsweise von zwischen etwa 40 mm und etwa 200 mm aufweist.
  25. Auftragsvorrichtung nach einem der vorhergehenden Ansprüche
    dadurch gekennzeichnet, dass das Leitelement (22) aus Metall oder Kunststoff, beispielsweise kohlefaser- oder glasfaser-verstärktem Kunststoff, gefertigt ist.
  26. Auftragsvorrichtung nach einem der vorhergehenden Ansprüche
    dadurch gekennzeichnet, dass das Leitelement (22) eine Dicke (D) von zwischen etwa 0,2 mm und etwa 1,0 mm aufweist.
  27. Auftragsvorrichtung nach einem der vorhergehenden Ansprüche
    dadurch gekennzeichnet, dass das Leitelement (22) ausgehend von seiner dem Untergrund (U) fernsten Stelle in oder entgegen der Laufrichtung (L) des Untergrunds (U) geneigt angeordnet sein kann,
    wobei das Leitelement (22) mit der dem freien Fall des Vorhangs bzw. Schleiers (18) entsprechenden Richtung (V) in beiden Orientierungen einen Winkel (α) von bis zu etwa 70° einschließt.
  28. Auftragsvorrichtung nach einem der vorhergehenden Ansprüche,
    dadurch gekennzeichnet, dass das Leitelement (622; 722) konvex oder konkav gekrümmt ausgebildet ist.
  29. Auftragsvorrichtung nach Anspruch 28,
    dadurch gekennzeichnet, eine an die gekrümmte Fläche angelegte Tangente mit der dem freien Fall des Vorhangs bzw. Schleiers (618; 718) entsprechenden Richtung (V) einen Winkel (α) von bis zu etwa 70° einschließt.
  30. Auftragsvorrichtung nach einem der vorhergehenden Ansprüche,
    dadurch gekennzeichnet, dass das Leitelement als laufende Oberfläche ausgebildet ist, die den Fallweg des Vorhangs bzw. Schleiers (818) in einen von der Abgabedüse (814) zum Leitelement führenden Freifall-Abschnitt (824) und einen von dem Leitelement zum Untergrund (U) führenden Freifall-Abschnitt (826) unterteilt, und deren Laufgeschwindigkeit größer ist als die Fallgeschwindigkeit (vF1) des Auftragsmediums (816) am Ende des zu dem Leitelement führenden Freifall-Abschnitts (824).
  31. Auftragsvorrichtung nach Anspruch 30,
    dadurch gekennzeichnet, dass das Leitelement als endloses, umlaufendes Band ausgebildet ist.
  32. Auftragsvorrichtung nach Anspruch 30,
    dadurch gekennzeichnet, dass als Leitelement eine sich drehende Walze (822) vorgesehen ist, deren Umfangsgeschwindigkeit (vW) größer ist als die Fallgeschwindigkeit (vF1) des Auftragsmediums (816) am Ende des zur Walze (822) führenden Freifall-Abschnitts (824).
  33. Auftragsvorrichtung nach einem der Ansprüche 30 bis 32,
    dadurch gekennzeichnet, dass die Laufgeschwindigkeit (vU) des Untergrunds (U) größer ist als die Fallgeschwindigkeit (vF2) des Auftragsmediums (816) am Ende des zum Untergrund (U) führenden Freifall-Abschnitts (826).
  34. Auftragsvorrichtung nach einem der Ansprüche 30 bis 33,
    dadurch gekennzeichnet, dass die Laufrichtung der das Leitelement bildenden laufenden Oberfläche derart gewählt ist, dass sich der Abschnitt (822a) der das Leitelement bildenden laufenden Oberfläche, der mit dem Auftragsmedium (816) des zu dem Leitelement führenden Freifall-Abschnitts (24) in Kontakt gelangt, in der gleichen Richtung bewegt, wie der Untergrund (U).
  35. Auftragsvorrichtung nach einem der Ansprüche 30 bis 34,
    dadurch gekennzeichnet, dass eine Schaberfläche (28), beispielsweise in Form eines Stechschabers, vorgesehen ist, die gegen die das Leitelement bildende laufende Oberfläche angestellt ist, das Auftragsmedium (16) von dieser Oberfläche abhebt und an den von dem Leitelement zum Untergrund (U) führenden Freifall-Abschnitt (26) abgibt.
  36. Auftragsvorrichtung nach Anspruch 35,
    dadurch gekennzeichnet, dass die Schaberfläche (28) in Bewegungsrichtung (L) des Auftragsmediums (16) gemessen eine Länge (I) von zwischen etwa 5 mm und etwa 50 mm aufweist.
  37. Auftragsvorrichtung nach einem der Ansprüche 30 bis 36,
    dadurch gekennzeichnet, dass die das Leitelement bildende laufende Oberfläche zumindest teilweise hydrophil ausgebildet ist.
  38. Auftragsvorrichtung nach einem der Ansprüche 32 bis 37,
    dadurch gekennzeichnet, dass die Walze (822) zumindest im Bereich ihrer Umfangsfläche (822a) aus Metall gefertigt ist.
  39. Auftragsvorrichtung nach einem der Ansprüche 32 bis 38,
    dadurch gekennzeichnet, dass die Walze (822) einen Durchmesser von zwischen etwa 38 mm und etwa 500 mm aufweist.
EP01127739A 2000-11-22 2001-11-21 Vorhang-Auftragsvorrichtung Expired - Lifetime EP1209274B1 (de)

Applications Claiming Priority (4)

Application Number Priority Date Filing Date Title
DE2000157732 DE10057732A1 (de) 2000-11-22 2000-11-22 Vorhang-Auftragsvorrichtung
DE2000157734 DE10057734A1 (de) 2000-11-22 2000-11-22 Vorhang-Auftragsvorrichtung
DE10057734 2000-11-22
DE10057732 2000-11-22

Publications (3)

Publication Number Publication Date
EP1209274A2 true EP1209274A2 (de) 2002-05-29
EP1209274A3 EP1209274A3 (de) 2003-06-11
EP1209274B1 EP1209274B1 (de) 2010-01-27

Family

ID=26007728

Family Applications (1)

Application Number Title Priority Date Filing Date
EP01127739A Expired - Lifetime EP1209274B1 (de) 2000-11-22 2001-11-21 Vorhang-Auftragsvorrichtung

Country Status (3)

Country Link
EP (1) EP1209274B1 (de)
AT (1) ATE456695T1 (de)
DE (1) DE50115328D1 (de)

Cited By (3)

* Cited by examiner, † Cited by third party
Publication number Priority date Publication date Assignee Title
WO2003059528A1 (en) * 2002-01-16 2003-07-24 Metso Paper, Inc. Method and apparatus for feeding a treating agent onto a moving surface
JP2006247611A (ja) * 2005-03-14 2006-09-21 Voith Paper Patent Gmbh 塗工装置
EP1767282A3 (de) * 2005-09-22 2008-04-16 Voith Patent GmbH Streichvorrichtung

Families Citing this family (1)

* Cited by examiner, † Cited by third party
Publication number Priority date Publication date Assignee Title
CN106563608A (zh) * 2016-11-04 2017-04-19 三峡大学 一种制备玻璃上增透自洁薄膜的方法及装置

Citations (3)

* Cited by examiner, † Cited by third party
Publication number Priority date Publication date Assignee Title
EP0421466A2 (de) 1989-10-06 1991-04-10 Fuji Photo Film Co., Ltd. Beschichtungsvorrichtung
US5277041A (en) 1990-05-18 1994-01-11 Eduard Kusters Maschinenfabrik Gmbh & Co. Kg Drain board for a device for applying a liquid film to a web of textile material
JPH06262129A (ja) 1993-03-12 1994-09-20 Sumitomo Metal Ind Ltd カ−テンフロ−塗装方法

Family Cites Families (10)

* Cited by examiner, † Cited by third party
Publication number Priority date Publication date Assignee Title
US2809128A (en) * 1953-07-14 1957-10-08 Ransburg Electro Coating Corp Electrostatic method and apparatus for atomizing and for coating
DE2438673A1 (de) * 1974-08-12 1976-02-26 Riggs & Lombard Inc Verfahren und vorrichtung zur behandlung bahnfoermiger materialien
DE2631559A1 (de) * 1976-07-14 1978-01-19 Helvisol Ag Vorrichtung zum beschichten von ebenen oberflaechen mit fluessigen medien
DE3333592A1 (de) * 1983-09-16 1985-04-18 Brückner-Apparatebau GmbH, 6120 Erbach Vorrichtung zum aufbringen eines fluessigkeitsfilmes auf eine warenbahn
JPH02277570A (ja) * 1989-04-19 1990-11-14 Fuji Photo Film Co Ltd 塗布装置
DE3915844C1 (de) * 1989-05-16 1990-12-06 Eduard Kuesters Maschinenfabrik Gmbh & Co Kg, 4150 Krefeld, De
JP2533812B2 (ja) * 1990-07-13 1996-09-11 富士写真フイルム株式会社 ガラス乾板製造方法及び装置
DE9012108U1 (de) * 1990-08-23 1990-10-25 Fa. Theodor Hymmen, 4800 Bielefeld Gießkopf einer Gießmaschine zum Gießen von Flüssigkeiten
JPH1024260A (ja) * 1996-07-11 1998-01-27 Nippon Steel Corp ローラーカーテンコーター
DE19903559B4 (de) * 1998-01-30 2004-02-26 Mitsubishi Paper Mills Limited Verfahren und Apparatur zur Vorhangbeschichtung

Patent Citations (3)

* Cited by examiner, † Cited by third party
Publication number Priority date Publication date Assignee Title
EP0421466A2 (de) 1989-10-06 1991-04-10 Fuji Photo Film Co., Ltd. Beschichtungsvorrichtung
US5277041A (en) 1990-05-18 1994-01-11 Eduard Kusters Maschinenfabrik Gmbh & Co. Kg Drain board for a device for applying a liquid film to a web of textile material
JPH06262129A (ja) 1993-03-12 1994-09-20 Sumitomo Metal Ind Ltd カ−テンフロ−塗装方法

Cited By (4)

* Cited by examiner, † Cited by third party
Publication number Priority date Publication date Assignee Title
WO2003059528A1 (en) * 2002-01-16 2003-07-24 Metso Paper, Inc. Method and apparatus for feeding a treating agent onto a moving surface
US7303634B2 (en) 2002-01-16 2007-12-04 Metso Paper, Inc. Method and apparatus for feeding a treating agent onto a moving surface
JP2006247611A (ja) * 2005-03-14 2006-09-21 Voith Paper Patent Gmbh 塗工装置
EP1767282A3 (de) * 2005-09-22 2008-04-16 Voith Patent GmbH Streichvorrichtung

Also Published As

Publication number Publication date
DE50115328D1 (de) 2010-03-18
EP1209274B1 (de) 2010-01-27
EP1209274A3 (de) 2003-06-11
ATE456695T1 (de) 2010-02-15

Similar Documents

Publication Publication Date Title
EP1208917B1 (de) Vorhang-Auftragsvorrichtung
EP1367174B1 (de) Auftragsvorrichtung
EP0969147B1 (de) Vorrichtung und Verfahren zum Auftragen eines flüssigen oder pastösen Mediums auf eine laufende Materialbahn
EP0930397B1 (de) Vorrichtung und Verfahren zum Auftragen eines flüssigen oder pastösen Auftragsmediums auf eine laufende Materialbahn, insbesondere aus Papier oder Karton
DE10012344A1 (de) Vorhang-Auftragsverfahren
DE10057734A1 (de) Vorhang-Auftragsvorrichtung
DE10232949A1 (de) Vorhang-Auftragsvorrichtung
EP1209274B1 (de) Vorhang-Auftragsvorrichtung
DE10012345A1 (de) Vorhang-Auftragsvorrichtung
EP1198643B1 (de) Auftragsvorrichtung
DE10057732A1 (de) Vorhang-Auftragsvorrichtung
EP1432525B1 (de) Auftragsvorrichtung
EP1266093B2 (de) Auftragsvorrichtung und verfahren
DE10057731A1 (de) Vorhang-Auftragsvorrichtung
DE10358754B4 (de) Bahnfördervorrichtung
DE4230276A1 (de) Streicheinrichtung für laufende Bahnen, insbesondere Papier oder Karton
DE102005035317A1 (de) Auftragsverfahren
DE10125376A1 (de) Auftragsvorrichtung
WO2008015043A1 (de) Auftragsvorrichtung
DE102008054889A1 (de) Vorhang-Auftragswerk
DE102005036667A1 (de) Auftragsverfahren
EP4635633A1 (de) Auftragsvorrichtung, filmauftragswerk und verfahren
DE3438181A1 (de) Randabdichtung fuer streicheinrichtung zur beschichtung laufender warenbahnen
DE20122838U1 (de) Auftragsvorrichtung
DE102015218673B4 (de) Verfahren zum Betreiben eines Auftragswerks

Legal Events

Date Code Title Description
PUAI Public reference made under article 153(3) epc to a published international application that has entered the european phase

Free format text: ORIGINAL CODE: 0009012

17P Request for examination filed

Effective date: 20011121

AK Designated contracting states

Kind code of ref document: A2

Designated state(s): AT BE CH CY DE DK ES FI FR GB GR IE IT LI LU MC NL PT SE TR

AX Request for extension of the european patent

Free format text: AL;LT;LV;MK;RO;SI

PUAL Search report despatched

Free format text: ORIGINAL CODE: 0009013

AK Designated contracting states

Designated state(s): AT BE CH CY DE DK ES FI FR GB GR IE IT LI LU MC NL PT SE TR

AX Request for extension of the european patent

Extension state: AL LT LV MK RO SI

17Q First examination report despatched

Effective date: 20031222

AKX Designation fees paid

Designated state(s): AT DE FI SE

RAP1 Party data changed (applicant data changed or rights of an application transferred)

Owner name: VOITH PATENT GMBH

GRAP Despatch of communication of intention to grant a patent

Free format text: ORIGINAL CODE: EPIDOSNIGR1

GRAS Grant fee paid

Free format text: ORIGINAL CODE: EPIDOSNIGR3

GRAA (expected) grant

Free format text: ORIGINAL CODE: 0009210

AK Designated contracting states

Kind code of ref document: B1

Designated state(s): AT DE FI SE

REF Corresponds to:

Ref document number: 50115328

Country of ref document: DE

Date of ref document: 20100318

Kind code of ref document: P

REG Reference to a national code

Ref country code: SE

Ref legal event code: TRGR

PLBE No opposition filed within time limit

Free format text: ORIGINAL CODE: 0009261

STAA Information on the status of an ep patent application or granted ep patent

Free format text: STATUS: NO OPPOSITION FILED WITHIN TIME LIMIT

26N No opposition filed

Effective date: 20101028

PGFP Annual fee paid to national office [announced via postgrant information from national office to epo]

Ref country code: AT

Payment date: 20101112

Year of fee payment: 10

PGFP Annual fee paid to national office [announced via postgrant information from national office to epo]

Ref country code: DE

Payment date: 20101119

Year of fee payment: 10

PGFP Annual fee paid to national office [announced via postgrant information from national office to epo]

Ref country code: FI

Payment date: 20111114

Year of fee payment: 11

Ref country code: SE

Payment date: 20111128

Year of fee payment: 11

REG Reference to a national code

Ref country code: AT

Ref legal event code: MM01

Ref document number: 456695

Country of ref document: AT

Kind code of ref document: T

Effective date: 20121121

PG25 Lapsed in a contracting state [announced via postgrant information from national office to epo]

Ref country code: AT

Free format text: LAPSE BECAUSE OF NON-PAYMENT OF DUE FEES

Effective date: 20121121

Ref country code: SE

Free format text: LAPSE BECAUSE OF NON-PAYMENT OF DUE FEES

Effective date: 20121122

PG25 Lapsed in a contracting state [announced via postgrant information from national office to epo]

Ref country code: FI

Free format text: LAPSE BECAUSE OF NON-PAYMENT OF DUE FEES

Effective date: 20121121

REG Reference to a national code

Ref country code: DE

Ref legal event code: R119

Ref document number: 50115328

Country of ref document: DE

Effective date: 20130601

PG25 Lapsed in a contracting state [announced via postgrant information from national office to epo]

Ref country code: DE

Free format text: LAPSE BECAUSE OF NON-PAYMENT OF DUE FEES

Effective date: 20130601