EP1108190B1 - Rohr bzw. rohrsystem für rohrleitungsverteiler, heizkreisverteiler, kesselverteiler und dergleichen - Google Patents

Rohr bzw. rohrsystem für rohrleitungsverteiler, heizkreisverteiler, kesselverteiler und dergleichen Download PDF

Info

Publication number
EP1108190B1
EP1108190B1 EP99950521A EP99950521A EP1108190B1 EP 1108190 B1 EP1108190 B1 EP 1108190B1 EP 99950521 A EP99950521 A EP 99950521A EP 99950521 A EP99950521 A EP 99950521A EP 1108190 B1 EP1108190 B1 EP 1108190B1
Authority
EP
European Patent Office
Prior art keywords
pipe
cross
main
branch
screwed
Prior art date
Legal status (The legal status is an assumption and is not a legal conclusion. Google has not performed a legal analysis and makes no representation as to the accuracy of the status listed.)
Expired - Lifetime
Application number
EP99950521A
Other languages
English (en)
French (fr)
Other versions
EP1108190A1 (de
Inventor
Hans Straub
Current Assignee (The listed assignees may be inaccurate. Google has not performed a legal analysis and makes no representation or warranty as to the accuracy of the list.)
Straub Hans
Original Assignee
Straub Hans
Priority date (The priority date is an assumption and is not a legal conclusion. Google has not performed a legal analysis and makes no representation as to the accuracy of the date listed.)
Filing date
Publication date
Application filed by Straub Hans filed Critical Straub Hans
Priority claimed from DE19937851A external-priority patent/DE19937851B4/de
Publication of EP1108190A1 publication Critical patent/EP1108190A1/de
Application granted granted Critical
Publication of EP1108190B1 publication Critical patent/EP1108190B1/de
Anticipated expiration legal-status Critical
Expired - Lifetime legal-status Critical Current

Links

Images

Classifications

    • FMECHANICAL ENGINEERING; LIGHTING; HEATING; WEAPONS; BLASTING
    • F24HEATING; RANGES; VENTILATING
    • F24DDOMESTIC- OR SPACE-HEATING SYSTEMS, e.g. CENTRAL HEATING SYSTEMS; DOMESTIC HOT-WATER SUPPLY SYSTEMS; ELEMENTS OR COMPONENTS THEREFOR
    • F24D3/00Hot-water central heating systems
    • F24D3/10Feed-line arrangements, e.g. providing for heat-accumulator tanks, expansion tanks ; Hydraulic components of a central heating system
    • F24D3/1058Feed-line arrangements, e.g. providing for heat-accumulator tanks, expansion tanks ; Hydraulic components of a central heating system disposition of pipes and pipe connections
    • F24D3/1066Distributors for heating liquids

Definitions

  • the invention relates to the configuration at least one pipe or pipe system for use in so-called piping, heating circuits or Boiler distributor according to the generic term of Claim 1.
  • German Document DE 27 07 539 C2 is, for example Pipe-in-pipe system shown in which the inner pipe serves the inlet, while the outer tube is accordingly provided for the return. Some the branch lines shown there are either only connected to the outer tube while others only are connected to the inner tube.
  • the pipe-in-pipe system is made of square tubes there. The branch pipes are in the main pipes either soldered or welded.
  • Another pipe connection is from DE 195 12 024 C2 known.
  • the branches are not welded here.
  • There the branches are threaded first U-shaped channel screwed in.
  • On second channel is formed by a partition to the Completion of the first channel is attached and a second U-shaped channel is placed on it. Should one branch with the second channel If this connection is connected, this branch takes hold a longer nozzle through the partition.
  • the tightness between the first and the second To ensure the channel, the extended connector points a ring seal. That way come on the Join the upper channel, the lower channel and the Partition together. These parts become mechanical connected by welding them together. This welding in turn leads to warpage and to further, generally known disadvantages of Welding.
  • the starting point for the invention was the consideration like a connection between a main pipe and a branch pipe that might not look like is welded or soldered. It was known that Welded or soldered connections are therefore carried out be because of a threaded connection between one Tube into the peripheral surface of a larger tube Circular cross section or equivalent cross section not is easily sealed because no level Sealing surfaces are available. Known pipes for such pipe connections are therefore extreme thick-walled, so that sealing surfaces can be machined can be incorporated or worked on; in addition, in usually used as a tube material expensive brass.
  • the invention provides that a thin-walled pipe in the region of a branch, compared to the said pipes, is permanently deformed, flattened, and thus a flat connection point for a branch pipe is created.
  • This flattening can also take place in a special way in that the larger pipe is not flattened, but rather the larger pipe is expanded in the area of the connection point (branch), that is to say partially over its longitudinal extent.
  • the dome-like expansion of the cross section of the relevant area or areas of the pipe intended for a branch is an essential new feature of the subject matter of the invention.
  • a branch pipe which also has a thread, can be screwed into this opening, until its thread runout, which has a collar, for example, lies against the flat mounting surface.
  • a further development of the invention also provides that by attaching an outer bead in the end area of the Branch pipe an expanded contact surface between the branch pipe and the one with an enlarged cross section of the larger pipe created flat mounting surface arises. Can between these contact surfaces for example, a sealing ring can be attached, around this connection if necessary e.g. at high Pressing in the pipe system to seal even better.
  • Another embodiment of the invention is thermal insulation of pipe-in-pipe systems flowing forward and return flows against each other.
  • the so-called flow of a heating system flows through the inner main pipe and therefore the return flows in the space between the inner main pipe and the outer main pipe. It makes sense to insert the flow into the inner pipe because the flow is at a higher temperature and is thermally insulated from the outside air by the return flow flowing around the inner main pipe.
  • these pipe-in-pipe systems there is a temperature difference between the inner main pipe and the outer main pipe.
  • an insulation layer is applied to the inner main pipe, for example by pushing on a hose made of a rubber-like material (soft foam, eg neoprene) which would be damaged by the welding which is necessary in tube-in-tube systems according to the prior art.
  • a rubber-like material soft foam, eg neoprene
  • Another, further embodiment of the invention is concerned with the axial connection of the, with dome-like Extensions provided, new main pipe with continuing pipes.
  • axial connections there are already screwable connections which save or avoid weld seams, but with these known screwable connections a thread is required inside the main pipe and a special, complex adapter (nipple) is required as well as an additional union nut on the adapter, which is connected to the external thread of the further pipe.
  • the further embodiment of the invention is such that the end of the pipe designed according to the invention is adapted, for example reduced, to the connection dimension of the further pipe by non-cutting shaping of the pipe diameter, and after fitting a union nut, also by means of non-cutting shaping, with an outwardly directed collar (flanged edge ) is provided.
  • An optional additional bead between the flanged edge and diameter reduction enables the insertion of a sealing ring.
  • Another extension of the invention consists in its use in parallel main lines (main pipes) which are not plugged into one another.
  • the branch pipes branch off from the main lines by means of the connection according to the invention (dome-like extensions; branch pipe with bead; screw connection with sealing ring).
  • These branch pipes have a flexible section between a fixed point - for example a flange screw connection - and their screw connection to the main pipe, which is, for example, a corrugated pipe.
  • these branch pipes which are generally quite short and matched to the required length, are first screwed apart from the connection points to the respective main pipe, then each main pipe provided with branch pipes is brought into the area of the connection points and then the still free ends of the branch pipes connected to the relevant connection point.
  • a mounting aid known per se can be assigned to the flanges to make assembly and welding easier. If a further pipe distributor with main pipe and branch pipes is to be installed, the flanges of which should be in the same plane as that of the first pipe system, the first installed main pipe together with its branch pipes is bent to the side transversely to the longitudinal axis of the main pipe. The second pipe distributor is now assembled in the same way as the first pipe distributor, as previously described. For design reasons, the main line and its branch pipes can also be bent to the side, but now in the other direction.
  • the two systems consisting of a pipe distributor and branch pipes can be flow and return, but they can also be systems with the same flow directions, which are run separately for reasons of circuit division.
  • FIG. 1 shows three different basic forms of a pipe distributor according to the invention.
  • three different tubes 1 can be seen in their longitudinal extent.
  • the section BB through the unchanged pipe cross sections can be seen on the right edge of FIG.
  • the sections of the section line AA through the dome-like extensions 2a, 2b, 2c can be seen.
  • the upper cross section 2a shows an almost rectangular widened cross section.
  • the figure below shows a U-shaped widened cross section 2b and the lower figure finally shows a barrel widened cross section 2c.
  • Lines 7 are only intended to indicate the light edges of the deformation.
  • the dome-like extensions 2a, 2b, 2c partly have openings 5, the edges of which are preferably directed into the interior of the tube 1.
  • the openings 5 are provided with a fine thread, not shown.
  • the Dome-like extensions 2a, 2b, 2c partly only in the upper tube half 1o and not in the lower Pipe half 1u included, but you can also in be attached to both pipe halves.
  • the latter Variant has the advantage that a possibly arising, one-sided delay with only one-sided non-cutting deformation, is compensated.
  • Dome-like extensions 2a, 2b 2c not their diametrical (i.e. offset by 180 degrees) Alignment absolutely necessary. It can also ever Different types of dome-like depending on the application Extensions 2a, 2b, 2c available on a tube his.
  • a pipe 1 axially to a further pipe to couple, they have in their end region 1b preferably a reduction in cross section.
  • a postponed after the cross-section reduction Union nut 6 is formed by a non-cutting Collar 1c on the end region 1b of the tube 1 held.
  • FIG. 2 A detailed drawing of the tapered end area 1b of a tube 1 is illustrated in FIG. 2.
  • a bead 8 is formed.
  • is the face of the further pipe sufficiently flat, so can also between the right flat surface of the collar 1c and the end face of the further pipe Sealed with the help of a seal 10 (flat seal) become.
  • FIG. 3a 11 The principle of a pipe-in-pipe system is shown in FIG. 3a 11 with the screwable according to the invention Branch pipes 12, 13 shown.
  • the screwable Branch pipes 12 are on the one hand in the outer main pipe 15 screwed in and at the same time in inner main tube 16 inserted. So that can Flow medium only between the inner main pipe 16 and the branch pipes 12 flow. Because the branch pipe 13 is only screwed into the outer main pipe 15 and is at a distance from the inner main tube 16, there is only a flow connection between them both.
  • the screw-in are for sealing Branch pipes 12 both with a seal 9 (for example an O-ring) - the in a bead 4 the neck of the inner main tube 16 is - as also with a seal 9 on the outer main pipe 15 Mistake. So that the sealing ring 9 in the branch pipes 12, 13 has a contact surface, these 12, 13 have one Outer bead 14. Have in this embodiment only the dome-like extensions 2 of the outer Main pipe 15 in its opening 5 a fine thread.
  • a pasty sealant can be used is preferably set curing.
  • FIG. 3b 11 The pipe-in-pipe system is illustrated in FIG. 3b 11 in cross section with only one outer main pipe 15 screwed branch pipe 13th shown.
  • insulation 17 around the inside Main pipe 16 can be seen.
  • This insulation 17 can be made a hose made of soft foam - for example Neoprene - admir.
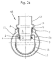
  • FIG. 3c illustrates another important one Cross-section through the pipe-in-pipe system 11.
  • a screw-in branch pipe 12 can be seen, which with both the inner main tube 16, as well is connected to the outer main pipe 15.
  • the dome-like extension 2b has one Bead 4 for receiving a sealing ring 9.
  • the Insulation 17 is around the dome-like extension 2b around for the passage of the screw-in branch 12, spared.
  • FIG. 4 shows a variant of FIG. 3c described branch illustrated.
  • the Branch pipe 12 is not in the inner main pipe 16 inserted in Figure 3c, but also screwed. This liaison is then not absolutely sealed, but is in a small leak between some applications the inner main pipe 16 and the outer main pipe 15 technically justifiable. A possibly mismatch the thread starts in the dome-like Extension 2b and the branch pipe 12 is through Elasticities in the longitudinal axis of the pipe-in-pipe system 1 balanced.
  • This embodiment shown in Figure 4 is kind of a "sparing" version of the Pipe system according to the invention for pipe distributors and the like. Devices.
  • FIG. 5 shows a system of pipeline distributors consisting of two parallel main pipes 1 which are not plugged into one another.
  • the left part of FIG. 5 is a cross section through the system, while the right part of the figure shows a side view.
  • Screw-in branch pipes 13 branch off from two main pipes 1.
  • the branch pipes 13 have flanges 18 at their ends facing away from the main pipes 1.
  • a corrugated pipe-like pipe section 1d is arranged (in the right part of FIG. 5, the corrugated pipe-like pipe section has not been explicitly highlighted; in the left part of FIG. 5, the illustration in the drawing has been greatly simplified).
  • the flanges 18 are all in one plane 22.
  • branch pipes 13 In order to manufacture this system of pipe distributors, only one row with branch pipes 13 and the associated main pipe 1 is initially installed.
  • the branch pipes 13 are worked to the appropriate length and screwed into the pipe 1.
  • the free ends of the branch pipes 13, here the flanges 18, can each be connected to a connection point, which are not shown in FIG. 5, because the branch pipes 13 now no longer undergo rotation and the flange has a defined position its junction.
  • the flanges for example if they are welded to the connection point, can be locked with an assembly aid, not shown.
  • the pipe 1 together with the branch pipes 13 is then pivoted from the starting position 21 of the plane 22 either in the direction 19 or 20 in order to make room for the assembly of the second main pipe 1 with branch pipes 13.
  • the deformation of the branch pipes 13 when swiveling is plastic.
  • the second main pipe 1 is assembled in the same way as for the first main pipe 1. Swiveling is not absolutely necessary for the second main pipe 1, unless one wants to produce a system of pipe distributors with a total of three or even more main pipes 1. If no pivoting is carried out for the second main pipe 1, the main pipes 1 are so close together that they can be provided, for example, with a common thermal insulation.

Landscapes

  • Engineering & Computer Science (AREA)
  • Physics & Mathematics (AREA)
  • Thermal Sciences (AREA)
  • Chemical & Material Sciences (AREA)
  • Combustion & Propulsion (AREA)
  • Mechanical Engineering (AREA)
  • General Engineering & Computer Science (AREA)
  • Branch Pipes, Bends, And The Like (AREA)
  • Quick-Acting Or Multi-Walled Pipe Joints (AREA)
  • Non-Disconnectible Joints And Screw-Threaded Joints (AREA)

Description

Die Erfindung bezieht sich auf die Ausgestaltung mindestens eines Rohres oder eines Rohrsystems für den Einsatz in sogenannten Rohrleitungs-, Heizkreisoder Kesselverteiler nach dem Oberbegriff des Anspruches 1.
Bekannte Bauteile für die obengenannten Baugruppen sind beispielsweise in der DE OS 1 751 893 zu finden. Hier zweigen aus einem Hauptrohr mehrere kleine Einzelrohre ab. Diese Einzelrohre sind an der Mantelfläche des größeren Rohres verschweißt. Dieses Verschweißen bereitet einen hohen technischen Aufwand. Außerdem bergen die Schweißnähte eine Vielzahl von Unwägbarkeiten. Zum einen kann es beim Schweißen zu Schlackeeinschlüssen kommen, zum anderen können diese Schweißnähte eventuell nicht dicht sein. Weitere Nachteile sind der möglicherweise entstehende Verzug an den Bauteilen und auch optische Beeinträchtigungen.
In einem anderen Stand der Technik - der deutschen Schrift DE 27 07 539 C2 - wird beispielsweise ein Rohr-In-Rohr-System gezeigt, bei dem das innere Rohr dem Zulauf dient, während das äußere Rohr dann entsprechend für den Rücklauf vorgesehen ist. Einige der dort gezeigten Abzweigleitungen sind entweder nur mit dem äußeren Rohr verbunden, während andere nur mit dem inneren Rohr verbunden sind. Das Rohr-In-Rohr-System ist dort aus Vierkantrohren ausgebildet. Die Abzweigrohre sind dabei in den Hauptrohren entweder eingelötet oder eingeschweißt.
Ein weiterer Stand der Technik ist in der deutschen Auslegeschrift DE-AS 21 16 982 offenbart. Nach dieser wird das oben schon beschriebene Rohr-In-Rohr-System in anderer Weise realisiert. Auf einem Blechkörper befinden sich Abzweigrohre. Der Blechkörper wird mindestens von einer Seite - von einem im wesentlichen offenen rechteckigen - Querschnitt umschlossen, der wiederum auch Abzweigungen aufweist. Zusätzlich weist dieser letztgenannte Körper auch Bohrungen auf, die ein Durchstecken der Abzweigungen des blechförmigen Körpers erlauben. Die andere Seite des blechförmigen Körpers wird von einem ebenfalls rechteckigen Körper umschlossen, jedoch weist dieser beispielsweise keine Abzweigungen auf. Diese drei Elemente werden derart zusammengeführt, daß sich eine umlaufende, aus drei Blechen bestehende Fügestelle ergibt, die mittels Löten oder Schweißen fixiert wird. Die Abzweigungen des blechförmigen Körpers an der Oberfläche des Körpers mit den Durchsteckbohrungen müssen ebenfalls verlötet oder verschweißt werden.
Eine andere Rohrverbindung ist aus der DE 195 12 024 C2 bekannt. Im Gegensatz zur DE-AS 21 16 982 (siehe oben) werden hier die Abzweigungen nicht verschweißt. Dort werden die Abzweigungen in Gewinde eines ersten u-förmigen Kanales eingeschraubt. Um Leckage zu verhindern, werden zwischen der Oberfläche des ersten Kanales und der Abzweigung Dichtringe verwendet. Ein zweiter Kanal wird gebildet, indem eine Trennwand zum Abschluß des ersten Kanales angebracht wird und ein zweiter u-förmiger Kanal darauf gesetzt ist. Soll eine Abzweigung jedoch mit dem zweiten Kanal Verbindung haben, so greift diese Abzweigung mit einem längeren Stutzen durch die Trennwand hindurch. Um die Dichtheit zwischen dem ersten und dem zweiten Kanal zu gewährleisten, weist der verlängerte Stutzen eine Ringdichtung auf. Auf diese Art kommen an der Fügestelle der obere Kanal, der untere Kanal und die Trennwand zusammen. Mechanisch werden diese Teile miteinander verbunden, indem sie verschweißt werden. Dieses Schweißen führt wiederum zum Verzug und zu den weiteren, allgemein bekannten Nachteilen des Schweißens.
Insgesamt läßt sich feststellen, daß aus dem Stand der Technik Rohrverbindungen bzw. Rohrverteilersysteme bekannt sind, die jedoch eine Vielzahl von Schweiß- und/oder Lötnähten aufweisen.
Es ist deshalb Aufgabe der Erfindung ein Rohr oder Rohrsystem für Rohrleitungsverteiler, vorzugsweise für Heizkreis- oder Kesselverteiler, zu finden, bei dem für das Verbinden einzelner Teile ein Verschweißen oder Verlöten weitestgehend entfällt und mit dem die Herstellung bzw. die Montage kostengünstiger wird.
Diese Aufgabe wird durch ein Rohr bzw. Rohrsystem für den Einsatz in sogenannten Rohrleitungs-, Heizkreisoder Kesselverteiler und dgl. Vorrichtungen mit den Merkmalen des Patentanspruches 1 - insbesondere durch die Merkmale des kennzeichnenden Teiles - gelöst; vorteilhafte Weiterbildungen oder Ausgestaltungen werden durch die folgenden Patentansprüche 2 bis 19 offenbart.
Ausgangspunkt für die Erfindung war die Überlegung, wie eine Verbindungstelle zwischen einem Hauptrohr und einem Abzweigrohr aussehen könnte, die nicht verschweißt oder verlötet wird. Bekannt war, daß Schweiß- bzw. Lötverbindungen deshalb ausgeführt werden, weil eine Gewindeverbindung zwischen einem Rohr in die Umfangsfläche eines größeren Rohres mit Kreisquerschnitt oder äquivalentem Querschnitt nicht ohne weiteres dicht ist, weil keine ebene Dichtflächen vorhanden sind. Bekannte Rohre für derartige Rohrverbindungen sind daher äußerst dickwandig ausgeführt, damit Dichtflächen spanend ein- bzw. angearbeitet werden können; zudem wird in der Regel als Rohrmaterial teures Messing verwendet.
Daher sieht die Erfindung vor, daß ein gegenüber den genannten Rohren dünnwandiges Rohr im Bereich einer Abzweigung, bleibend verformt, abgeflacht wird und damit eine ebene Anschlußstelle für ein Abzweigrohr entsteht.
Diese Abflachung kann in spezieller Art auch dadurch geschehen, daß das größere Rohr nicht abgeflacht wird, sondern das größere Rohr im Bereich der Anschlußstelle (Abzweigung) - also partiell über seine Längserstreckung - erweitert wird.
Die damit erzielte domartige Erweiterung des Querschnittes des bzw. der betreffenden, für eine Abzweigung vorgesehen, Bereiches bzw. Bereiche des Rohres ist ein wesentliches neues Merkmal des Gegenstandes der Erfindung.
Wird diese so geschaffene ebene Montagefläche an einem Rohr nun noch, z.B. mittels spanloser Umformung, durchbrochen und die dabei entstandene, vorzugsweise nach innen gerichtete Aushalsung mit einem Gewinde versehen, kann ein Abzweigrohr, welches ebenfalls ein Gewinde aufweist, in diese Öffnung hinein geschraubt werden, bis dessen Gewindeauslauf, der z.B. ein Bund besitzt, an die ebene Montagefläche anliegt.
Eine Weiterbildung der Erfindung sieht zudem vor, daß durch Anbringung einer Außensicke im Endbereich des Abzweigrohres eine erweiterte Anlagefläche zwischen dem Abzweigrohr und der im erweiterten Querschnitt des größeren Rohres geschaffenen ebenen Montagefläche entsteht. Zwischen diesen Anlageflächen kann beispielsweise noch ein Dichtring angebracht werden, um diese Verbindung, falls notwendig, z.B. bei hohen Drücken im Rohrsystem, noch besser abzudichten.
Mit dem, voranstehend genannten, neuen Prinzip für die Verbindung des Endes eines Rohres über ein Loch in der Mantelfläche eines anderen Rohres, welches in der Regel einen größeren Querschnitt aufweist, der kreis- bis elipsen- oder linsenförmig gehalten ist, ist in Weiterung der Erfindung die Realisierung eines Rohr-In-Rohr-Systemes möglich, welches die in der Beschreibungseinleitung genannten Nachteile vorbekannter Verbindungen nicht aufweist.
Bei dieser Weiterung werden zwei Rohre, die einen oder mehrere erfindungsgemäße Durchbrüche aufweisen, ineinander gesteckt und durch Verwendung von Abzweigrohren, mit unterschiedlich langen Einschraubstücken, eine Verbindung der Abzweigrohre mit dem Inneren des jeweiligen Hauptrohres hergestellt.
Wobei die Verbindung zum Raum, der zwischen dem äußeren Hauptrohr und dem inneren Hauptrohr liegt, mit einem Abzweigrohr mit kurzem Einschraiubstück und die Verbindung mit dem Inneren des innere Hauptrohres mittels einem Abzweigrohr mit langem Einschraubstück erzielt wird.
Eine weitere Ausgestaltung der Erfindung ist die thermische Isolierung der in Rohr-In-Rohr-Systemen fließenden Vor- und Rücklaufströmungen gegeneinander.
Beispielsweise strömt durch das innere Hauptrohr der sogenannte Vorlauf eines Heizungssystemes und deshalb in dem Raum zwischen dem inneren Hauptrohr und dem äußeren Hauptrohr der Rücklauf. Es ist sinnvoll den Vorlauf in das innere Rohr hineinzulegen, weil der Vorlauf die höhere Temperatur aufweist und durch den das innere Hauptrohr umströmenden Rücklauf thermisch gegenüber der Außenluft isoliert ist. Bei diesen Rohr-In-Rohr-Systemen gibt es eine Temperaturdifferenz zwischen dem inneren Hauptrohr und dem äußeren Hauptrohr.
Um den Temperaturfluß zwischen diesen beiden Rohren zu minimieren, ist nach einer anderen Weiterung der Erfindung, die erst durch das neuartige Verbindungsprinzip möglich ist, auf das innere Hauptrohr eine Isolationsschicht aufgebracht, beispielsweise durch Aufschieben eines Schlauches aus einem gummiartigen Material (Weichschaum, z.B. Neopren), die durch das Schweißen, welches bei Rohr-In-Rohr-Systemen nach dem Stand der Technik notwendig ist, Schaden nehmen würde.
Eine andere, weitere Ausführung der Erfindung befaßt sich mit der axialen Verbindung des, mit domartigen Erweiterungen versehenen, neuen Hauptrohres mit weiterführenden Rohren.
Für besagte axiale Verbindungen gibt es zwar schon schraubbare Verbindungen, die Schweißnähten einsparen bzw. vermeiden, jedoch ist bei diesen bekannten schraubbaren Verbindungen im Innern des Hauptrohres ein Gewinde und zusätzlich ein spezieller, aufwendiger Adapter (Nippel) notwendig sowie auf dem Adapter eine zusätzliche Überwurfmutter, welche mit dem Außengewinde des weiterführenden Rohres verbunden wird.
Die weitere Ausführung der Erfindung ist derart, daß das Ende des erfindungsgemäß ausgeführten Rohres durch spanlose Umformung des Rohrdurchmessers auf das Anschlußmaß des weiterführenden Rohres angepaßt, beispielsweise reduziert, und nach Aufstecken einer Überwurfmutter, ebenfalls durch spanlose Umformung, mit einem nach außen gerichteten Kragen (Bördelrand) versehen wird. Eine optional, zusätzlich zwischen Bördelrand und Durchmesserreduzierung angebrachte Sicke, ermöglicht das Einlegen eines Dichtringes.
Eine andere Weiterung der Erfindung besteht in ihrer Anwendung bei parallel verlaufenden - nicht ineinander gesteckten - Hauptleitungen (Hauptrohren). Aus den Hauptleitungen zweigen mittels der erfindungsgemäßen Verbindung (domartige Erweiterungen; Abzweigrohr mit Sicke; Schraubverbindung mit Dichtring) die Abzweigrohre ab.
Diese Abzweigrohre besitzen zwischen einem Fixpunkt - beispielsweise einer Flanschverschraubung - und ihrer Verschraubung mit dem Hauptrohr einen flexiblen Abschnitt, welcher z.B. ein Wellrohr ist.
Bei der Vormontage eines derartigen Verteilersystems werden diese Abzweigrohre, welche im allgemeinen recht kurz und auf die jeweils erforderliche Länge abgestimmt sind, zunächst abseits der Anschlußstellen mit dem jeweiligen Hauptrohr verschraubt, anschließend jedes vorgesehene, mit Abzweigrohren bestückte Hauptrohr in den Bereich der Anschlußstellen gebracht und dann die noch freien Enden der Abzweigrohre mit der betreffenden Anschlußstelle verbunden. Zur Montage- und Schweiß-Erleichterung kann den Flanschen eine an sich bekannte Montagehilfe zugeordnet sein.
Soll ein weiterer Rohrleitungsverteiler mit Hauptrohr und Abzweigrohren montiert werden, deren Flansche in der gleichen Ebene liegen sollen, wie die des ersten Rohrleitungssystemes, so wird die zuerst montierte Hauptleitung mitsamt ihren Abzweigrohren quer zur Längsachse der Hauptleitung zur Seite gebogen. Der zweite Rohrleitungsverteiler wird nun, wie zuvor beschrieben, in gleicher Weise wie der erste Rohrleitungsverteiler montiert. Aus konstruktiven Gründen kann hier die Hauptleitung mitsamt ihren Abzweigrohren auch zur Seite gebogen werden, jedoch nun in die andere Richtung. Bei den beiden Systemen aus Rohrleitungsverteiler und Abzweigrohren kann es sich um Vor- und Rücklauf, aber auch um Systeme mit gleichen Strömungsrichtungen handeln, die aus Gründen einer Kreislaufaufteilung separat geführt werden.
Die Erfindung wird anschließend anhand von in Zeichnungen schematisiert dargestellten, vorteilhaften Ausführungsbeispielen näher erläutert.
Es zeigen:
Figur 1:
einen erfindungsgemäßen Rohrleitungsverteiler mit drei verschiedenen Ausführungsformen einer domartigen Erweiterungen;
Figur 2:
den Endbereich eines verjüngten Hauptrohres mit nach außen gerichtetem Kragen;
Figur 3a:
den erfindungsgemäßen Rohrleitungsverteiler bei Rohr-In-Rohr-Montage;
Figur 3b:
einen Querschnitt durch den Rohrleitungsverteiler bei Rohr-In-Rohr-Montage;
Figur 3c:
einen Rohrleitungsverteiler bei Rohr-In-Rohr-Montage und strömungstechnischer Verbindung eines Abzweigrohres mit einem inneren Hauptrohr;
Figur 4:
eine weitere Variante der bei Figur 3c beschriebenen Verbindung und
Figur 5:
ein System von Rohrleitungsverteiler, mit separaten Hauptrohren für Vor- und Rücklauf, bei dem die geflanschten Enden der Abzweigrohre, sowohl des Vorlaufes als auch des Rücklaufes, in einer Ebene liegen.
Die Figur 1 zeigt drei verschiedene Grundformen eines erfindungsgemäßen Rohrleitungsverteilers. In der Mitte der Figur sind drei verschiedene Rohre 1 in ihrer Längserstreckung zu sehen. Am rechten Rand der Figur 1 ist der Schnitt B-B durch die unveränderten Rohrquerschnitte zu sehen. Am linken Rand sind die Schnitte der Schnittlinie A-A durch die domartigen Erweiterungen 2a, 2b, 2c zu sehen. Dabei zeigt der obere Querschnitt 2a einen nahezu rechteckig erweiterten Querschnitt auf.
Die darunter befindliche Figur zeigt einen U-förmig erweiterten Querschnitt 2b und die untere Figur zeigt schließlich einen tonnenförmig erweiterten Querschnitt 2c.
Die Linien 7 sollen jeweils nur die Lichtkanten der Verformung andeuten. Die domartigen Erweiterungen 2a, 2b, 2c haben zum Teil Öffnungen 5, deren Ränder vorzugsweisein den Innenraum des Rohres 1 gerichtet sind. Die Öffnungen 5 sind mit einem nicht dargestellten Feingewinde versehen.
Wie aus der Figur 1 zu entnehmen ist, sind die domartigen Erweiterungen 2a, 2b, 2c teilweise nur in der oberen Rohrhälfte 1o und nicht in der unteren Rohrhälfte 1u enthalten, sie können aber auch in beiden Rohrhälften angebracht werden. Die letztere Variante hat den Vorteil, daß ein möglicherweise entstehender, einseitiger Verzug bei nur einseitiger spanloser Verformung, kompensiert wird. Im Rahmen der Erfindung ist bei einer zweiseitigen Anordnung der domartigen Erweiterungen 2a, 2b 2c, nicht deren diametrale (also um 180 Winkelgrad versetzte) Ausrichtung zwingend erforderlich. Es können auch je nach Anwendungsfall verschiedene Typen der domartigen Erweiterungen 2a, 2b, 2c auf einem Rohr vorhanden sein.
Um ein Rohr 1 axial an ein weiterführendes Rohr anzukoppeln, weisen diese in ihrem Endbereich 1b vorzugsweise eine Querschnittsreduzierung auf. Eine nach der Querschnittsreduzierung aufgeschobene Überwurfmutter 6 wird durch einen spanlos angeformten Kragen 1c auf dem Endbereich 1b des Rohres 1 gehalten.
Eine Detailzeichnung des verjüngten Endbereiches 1b eines Rohres 1 ist in der Figur 2 veranschaulicht. Eine nicht dargestellte Überwurfmutter 6 liegt linksseitig an einem Kragen 1c (Bördelrand) an. Wenn die Überwurfmutter 6 beispielsweise mittels eines bandförmigen Dichtungsmaterials (Hanffasern, Dichtungsband) gegenüber einem weiterführenden Rohr abgedichtet ist, so ist zwischen dem Bund der Überwurfmutter 6 und dem verjüngten Endbereich ein Dichtungsring 9 erforderlich. Zur Aufnahme dieses Dichtungsringes 9 (beispielsweise ein O-Ring) ist eine Sicke 8 angeformt. Ist jedoch die Stirnfläche des weiterführenden Rohres ausreichend eben, so kann auch zwischen der rechten Planfläche des Kragens 1c und der Stirnfläche des weiterführenden Rohres mit Hilfe einer Dichtung 10 (Flachdichtung) gedichtet werden.
In der Figur 3a wird das Prinzip eines Rohr-In-Rohr-Systemes 11 mit den erfindungsgemäß einschraubbaren Abzweigrohren 12, 13 dargestellt. Die einschraubbaren Abzweigrohre 12 sind zum einen im äußeren Hauptrohr 15 eingeschraubt und zum anderen gleichzeitig im inneren Hauptrohr 16 eingesteckt. Somit kann das Strömungsmedium nur zwischen dem inneren Hauptrohr 16 und den Abzweigrohren 12 fließen. Da das Abzweigrohr 13 nur im äußeren Hauptrohr 15 eingeschraubt ist und einen Abstand zum inneren Hauptrohr 16 aufweist, besteht nur eine Fließverbindung zwischen diesen beiden. Zur Abdichtung sind die einschraubbaren Abzweigrohre 12 sowohl mit einer Dichtung 9 (beispielsweise ein O-Ring) - die in einer Sicke 4 der Aushalsung des inneren Hauptrohres 16 liegt - als auch mit einer Dichtung 9 am äußeren Hauptrohr 15 versehen. Damit der Dichtring 9 bei den Abzweigrohren 12, 13 eine Anlagefläche hat, haben diese 12, 13 eine Außensicke 14. In diesem Ausführungsbeispiel haben nur die domartigen Erweiterungen 2 des äußeren Hauptrohres 15 in ihrer Öffnung 5 ein Feingewinde.
Damit bei unterschiedlichen Temperaturen der Strömungsmedien im inneren Hauptrohr 16 und dem äußeren Hauptrohr 15 und dem damit verbundenen unterschiedlichen Längenausdehnungen dieser Hauptrohre 15, 16, keine nennenswerten Längsspannungen und damit verbundenen Versprödungen des Materiales entstehen, ist beispielsweise am inneren Hauptrohr 16 ein wellrohrartiger Rohrabschnitt 1d vorgesehen.
Im allgemeinen wird dieses Rohr-In-Rohr-System sicherlich für die Realisierung eines Vor- und Rücklaufes verwendet. Jedoch ist auch denkbar, daß zwei gleichgerichtete Strömungen mit unterschiedlichen Durchsatzmengen und/oder unterschiedlichen Temperaturen zum Einsatz kommen.
Anstelle eines O-Ringes als Dichtung 9, kann auch eine pastöse Dichtmasse verwendet werden, die vorzugsweise aushärtend eingestellt ist.
Zur Veranschaulichung wird in Figur 3b das Rohr-In-Rohr-System 11 im Querschnitt mit einer nur im äußeren Hauptrohr 15 eingeschraubten Abzweigrohr 13 gezeigt. Zusätzlich zu den schon beschriebenen Elementen; ist hier eine Isolierung 17 um das innere Hauptrohr 16 zu sehen. Diese Isolierung 17 kann aus einem Schlauch aus Weichschaum - beispielsweise Neopren - bestehen. Ein möglicherweise hinter dieser Schnittebene befindliches, anderes einschraubbare Abzweigrohr 12, wurde aus Gründen der Übersichtlichkeit nicht dargestellt.
Die Figur 3c verdeutlicht einen anderen wichtigen Querschnitt durch das Rohr-In-Rohr-System 11. Hier ist ein einschraubbares Abzweigrohr 12 zu sehen, welches sowohl mit dem inneren Hauptrohr 16, als auch mit dem äußeren Hauptrohr 15 verbunden ist. Gegenüber der Figur 3b ist hier zusätzlich das Einstecken des einschraubbaren Abzweigrohres 12 im inneren Hauptrohr 16 gezeigt. Die domartige Erweiterung 2b weist eine Sicke 4 zur Aufnahme eines Dichtringes 9 auf. Die Isolierung 17 ist, um die domartige Erweiterung 2b herum zum Durchlaß der einschraubbaren Abzweigung 12, ausgespart.
Mit der Figur 4 wird eine Variante der in Figur 3c beschriebenen Abzweigung veranschaulicht. Das Abzweigrohr 12 ist im inneren Hauptrohr 16 nicht wie in Figur 3c eingesteckt, sondern ebenfalls eingeschraubt. Zwar ist diese Verbindungsstelle dann nicht unbedingt absolut abgedichtet, jedoch ist in manchen Einsatzfällen eine geringe Leckage zwischen dem inneren Hauptrohr 16 und dem äußeren Hauptrohr 15 technisch vertretbar. Ein möglicherweise Nicht-Zusammenpassen der Gewindeanfänge in der domartigen Erweiterung 2b und dem Abzweigrohr 12 wird durch Elastizitäten in der Längsachse des Rohr-In-Rohr-Systemes 1 ausgeglichen.
Dieses in Figur 4 dargestellte Ausführungsbeispiel ist gewissermaßen eine "Spar"-Version des erfindungsgemäßen Rohrsystemes für Rohrleitungsverteiler und dgl. Vorrichtungen.
Die Figur 5 zeigt ein System von Rohrleitungsverteilern aus zwei parallelen, nicht ineinander gesteckten Hauptrohren 1. Der linke Teil der Figur 5 ist ein Querschnitt durch das System, während der rechte Teil der Figur eine Seitenansicht zeigt. Aus beiden Hauptrohren 1 zweigen einschraubbare Abzweigrohre 13 ab. Die Abzweigrohre 13 weisen an ihren, den Hauptrohren 1 abgewandten Enden, Flansche 18 auf. Zwischen den Flanschen 18 und ihren einschraubbaren Enden ist jeweils ein wellrohrartiger Rohrabschnitt 1d angeordnet (im rechten Teil der Figur 5 ist der wellrohrartige Rohrabschnitt nicht explizit hervorgehoben worden; im linken Teil der Figur 5 wurde dessen zeichnerische Darstellung stark vereinfacht). Die Flansche 18 liegen alle in einer Ebene 22.
Um dieses System von Rohrleitungsverteiler zu fertigen, wird zunächst nur eine Reihe mit Abzweigrohren 13 und dem dazugehörigen Hauptrohr 1 montiert. Die Abzweigrohre 13 werden auf entsprechende Länge gearbeitet und in das Rohr 1 eingeschraubt. Danach können die freien Enden der Abzweigrohre 13, hier die Flansche 18, jeweils mit einer Anschlußstelle, die in der Fig. 5 nicht weiter dargestellt sind, verbunden werden, denn die Abzweigrohre 13 erfahren jetzt keine Drehung mehr und der Flansch hat eine definierte Lage zu seiner Anschlußstelle. Zudem können die Flansche, z.B. wenn diese mit der Anschlußstelle verschweißt werden, mit einer nicht dargestellten Montagehilfe arretiert werden.
Nachdem die vorgenannten Arbeitsschritte erfolgt sind, wird das Rohr 1 dann mitsamt den Abzweigrohren 13 aus der Ausgangsposition 21 der Ebene 22 entweder in Richtung 19 oder 20 geschwenkt, um Platz zu schaffen für die Montage des zweiten Hauptrohres 1 mit Abzweigrohren 13. Die Verformung der Abzweigrohre 13 beim Schwenken ist plastisch.
Die Montage des zweiten Hauptrohres 1 erfolgt in gleicher Weise, wie beim ersten Hauptrohr 1.
Für das zweite Hauptrohr 1 ist ein Verschwenken nicht zwingend erforderlich, außer man will ein System von Rohrleitungsverteilern mit insgesamt drei oder noch mehr Hauptrohren 1 herstellen.
Wird für das zweite Hauptrohr 1 keine Verschwenkung vorgenommmen, liegen die Hauptrohre 1 derart nah beieinander, daß selbige z.B. mit einer gemeinsamen Wärmeisolierung versehen werden können.
Bezugszeichenliste
1
Hauptrohre (Hauptleitung)
1o
obere Rohrhälfte des Hauptrohres 1
1u
untere Rohrhälfte des Hauptrohres 1
1a
Innenraum des Hauptrohres 1
1b
verjüngter Endbereich des Hauptrohres 1
1c
Kragen, nach außen gerichtet
1d
wellrohrartiger Rohrabschnitt
2
domartige Erweiterung
2a
rechteckiger Querschnitt der domartigen Erweiterung
2b
U-förmiger Querschnitt der domartigen Erweiterung
2c
tonnenförmiger Querschnitt der domartigen Erweiterung
3
Aushalsung
4
Sicke in der Aushalsung
5
Öffnung
6
Überwurfmutter
7
Lichtkante
8
Sicke
9
Dichtung
10
Dichtung (Flachdichtung)
11
Rohr-In-Rohr-System
12
einschraubbare Abzweigrohre
13
einschraubbare Abzweigrohre
14
Außensicke
15
äußeres Hauptrohr beim Rohr-In-Rohr-System
16
inneres Hauptrohr beim Rohr-In-Rohr-System
17
Isolierung
18
Flansch
19
Biegerichtung
20
Biegerichtung
21
Ausgangsposition
22
Ebene

Claims (19)

  1. Rohr oder Rohrsystem für den Einsatz in sogenannten Rohrleitungs-, Heizkreis- oder Kesselverteiler oder dgl. Vorrichtungen unter Verwendung von mindestens einem Hauptrohr mit kreis- bis elipsen- oder linsenförmigem Querschnitt, und mindestens einem vom Hauptrohr an einer Abzweigung abzweigenden Abzweigrohr,
    dadurch gekennzeichnet, daß das Hauptrohr (1) oder die für ein Rohrsystem verwendeten Hauptrohre (1) zumindest in der oberen (1o) oder in der unteren (lu) Rohrhälfte, die durch einen gedachten waagerechten Rohrlängsschnitt entstehen, im Bereich der Abzweigung mindestens eine Querschnittserweiterung (2, 2a, 2b, 2c) aufweist, daß diese Querschnittserweiterung (2, 2a, 2b, 2c) eine radial gerichtete Öffnung (5) besitzt und daß diese Öffnung (5) eine zum Innern (1a) des Rohres (1) hin gerichtete Aushalsung (3) aufweist.
  2. Rohr oder Rohrsystem nach Anspruch 1,
    dadurch gekennzeichnet, daß die Querschnittserweiterung (2) einen im wesentlichen rechteckförmigen Querschnitt (2a) besitzt.
  3. Rohr oder Rohrsystem nach Anspruch 1,
    dadurch gekennzeichnet, daß die Querschnittserweiterung (2) einen im wesentlichen U-förmigen Querschnitt (2b) besitzt.
  4. Rohr oder Rohrsystem nach Anspruch 1,
    dadurch gekennzeichnet, daß die Querschnittserweiterung (2, 2a, 2b, 2c) einen im wesentlichen tonnenförmigen Querschnitt (2c) besitzt.
  5. Rohr oder Rohrsystem nach einem der Ansprüche 1 bis 4,
    dadurch gekennzeichnet, daß verschiedenartige Querschnittserweiterungen (2, 2a, 2b, 2c) in einem Rohr (1) vorgesehen sind.
  6. Rohr oder Rohrsystem nach einem der Ansprüche 1 bis 5,
    dadurch gekennzeichnet, daß die Querschnittserweiterungen (2, 2a, 2b, 2c), bezogen auf die Längsachse des Rohres (1), in verschiedene radiale Richtungen weisen.
  7. Rohr oder Rohrsystem nach einem der Ansprüche 1 bis 6,
    dadurch gekennzeichnet, daß die Querschnittserweiterungen (2, 2a, 2b, 2c) in der Aushalsung (3) ihrer jeweiligen Öffnung (5) ein Feingewinde besitzen.
  8. Rohr oder Rohrsystem nach einem der Ansprüche 1 bis 6,
    dadurch gekennzeichnet, daß die Querschnittserweiterungen (2, 2a, 2b, 2c) in der Aushalsung (3) ihrer jeweiligen Öffnungen (5) eine Sicke (4) besitzen.
  9. Rohr oder Rohrsystem nach einem der Ansprüche 1 bis 8,
    dadurch gekennzeichnet, daß in den Aushalsungen (3) der Querschnittserweiterungen (2, 2a, 2b, 2c) einschraubbare Abzweigrohre (12, 13) eingeschraubt sind.
  10. Rohr oder Rohrsystem nach einem der Ansprüche 1 bis 9,
    dadurch gekennzeichnet, daß zur Realisierung eines aus mindestens zwei zueinander parallelen Hauptrohren (1) bestehenden Rohrsystemes, einschraubbare Abzweigrohre (13) jeweils einen wellrohrartigen Rohrabschnitt (1b) aufweisen und die den Hauptrohren (1) abgewandten Enden der einschraubbaren Abzweigrohre (13) in einer Ebene (22) liegen.
  11. Rohr oder Rohrsystem nach einem der Ansprüche 1 bis 10,
    dadurch gekennzeichnet, daß jeweils zwischen der am Hauptrohr (1) an der Aufnahme (2, 3, 5) ausgebildeten Anlagefläche und dem eingeschraubten Abzweigrohr (12; 13) ein Dichtring (9) angeordnet ist
  12. Rohr oder Rohrsystem nach einem der Ansprüche 1 bis 11,
    dadurch gekennzeichnet, daß jeweils zwischen der am Hauptrohr (1) an der Aufnahme (2, 3, 5) ausgebildeten Anlagefläche und dem eingeschraubten Abzweigrohr (12; 13) eine Dichtmasse vorgesehen ist.
  13. Rohr oder Rohrsystem nach einem der Ansprüche 1 bis 12,
    dadurch gekennzeichnet, daß die einschraubbaren Rohrabzweigungen (12, 13) eine Außensicke (14) aufweisen.
  14. Rohr oder Rohrsystem nach einem der Ansprüche 1 bis 13,
    dadurch gekennzeichnet, daß zur Realisierung eines Rohr-In-Rohr-Systemes (11), in ein äußeres Hauptrohr (15) ein inneres Hauptrohr (16) eingebracht wird und einschraubbare Abzweigrohre (12; 13) zumindest in die Öffnungen (5) des äußeren Hauptrohres (15) eingeschraubt sind und die einschraubbaren Abzweigrohre (12) nur zum inneren Hauptrohr (16) eine Strömungsverbindung besitzen.
  15. Rohr oder Rohrsystem nach Anspruch 14,
    dadurch gekennzeichnet, daß das innere Hauptrohr (16) mindestens einen wellrohrartigen Rohrabschnitt (1d) aufweist.
  16. Rohr oder Rohrsystem nach einem der Ansprüche 14 oder 15,
    dadurch gekennzeichnet, daß das innere Hauptrohr (16), zumindest teilweise, mit einer wärmeisolierenden Schicht überzogen ist.
  17. Rohr oder Rohrsystem für den Einsatz in sogenannten Rohrleitungs-, Heizkreis- oder Kesselverteiler oder dgl. Vorrichtungen unter Verwendung von Rohren mit kreis- bis elipsenoder linsenförmigem Querschnitt,
    dadurch gekennzeichnet, daß zumindest eines der Endbereiche des Rohres (1) mit einem Kragen (1c) versehen ist.
  18. Rohr oder Rohrsystem nach Anspruch 17,
    dadurch gekennzeichnet, daß der Endbereich des Hauptrohres (1) ein verjüngter Endbereich (1b) ist.
  19. Rohr oder Rohrsystem nach einem der Ansprüche 17 oder 18,
    dadurch gekennzeichnet, daß vor dem Kragen (1c) des Endbereiches des Rohres (1), eine Sicke (8) zur Aufnahme einer Dichtung (9) angebracht ist.
EP99950521A 1998-08-14 1999-08-13 Rohr bzw. rohrsystem für rohrleitungsverteiler, heizkreisverteiler, kesselverteiler und dergleichen Expired - Lifetime EP1108190B1 (de)

Applications Claiming Priority (5)

Application Number Priority Date Filing Date Title
DE19837023 1998-08-14
DE19837023 1998-08-14
PCT/EP1999/005966 WO2000009953A1 (de) 1998-08-14 1999-08-13 Rohr bzw. rohrsystem für rohrleitungsverteiler, heizkreisverteiler, kesselverteiler und dergleichen
DE19937851 1999-08-13
DE19937851A DE19937851B4 (de) 1998-08-14 1999-08-13 Verfahren zur Herstellung eines Rohrs oder Rohrsystems für den Einsatz in sogenannten Rohrleitungs-, Heizkreis- oder Kesselverteilern oder dgl. Vorrichtungen

Publications (2)

Publication Number Publication Date
EP1108190A1 EP1108190A1 (de) 2001-06-20
EP1108190B1 true EP1108190B1 (de) 2002-11-20

Family

ID=26048174

Family Applications (1)

Application Number Title Priority Date Filing Date
EP99950521A Expired - Lifetime EP1108190B1 (de) 1998-08-14 1999-08-13 Rohr bzw. rohrsystem für rohrleitungsverteiler, heizkreisverteiler, kesselverteiler und dergleichen

Country Status (4)

Country Link
EP (1) EP1108190B1 (de)
AT (1) ATE228227T1 (de)
DE (1) DE29924006U1 (de)
WO (1) WO2000009953A1 (de)

Cited By (6)

* Cited by examiner, † Cited by third party
Publication number Priority date Publication date Assignee Title
DE10324454B3 (de) * 2003-05-28 2004-11-04 Radisav Drljevic Rohrverteiler und Verfahren zur Herstellung eines Rohrverteilers
DE202007015647U1 (de) 2007-11-08 2009-03-19 Interforge Klee Gmbh Rohrverteiler
ITVI20090176A1 (it) * 2009-07-16 2011-01-17 Mondeo Srl Collettore di distribuzione, particolarmente ma non esclusivamente per impianti idrotermosanitari, nonché processo per la realizzazione di un collettore di distribuzione.
WO2014131380A1 (de) 2013-02-26 2014-09-04 Capricorn Sp. Z O.O. Rohrverteiler
DE202013011468U1 (de) 2013-12-23 2015-03-26 Pipe Systems Gmbh Rohrverteiler
DE102023000519B3 (de) 2023-02-17 2024-07-04 Mahmoud Alshahhoud Verteiler

Families Citing this family (2)

* Cited by examiner, † Cited by third party
Publication number Priority date Publication date Assignee Title
DE102004036868B4 (de) * 2003-11-18 2007-02-15 Frasa Vertriebsgesellschaft Mbh Heizkreisverteiler mit gewindelosen Anschlussstutzen
DE102007016940B4 (de) 2007-04-05 2010-12-23 Waldemar Nemitz Verteilerrohr

Family Cites Families (7)

* Cited by examiner, † Cited by third party
Publication number Priority date Publication date Assignee Title
DE1751893A1 (de) 1968-08-16 1971-05-19 Tsni Telskij I Pk Kotloburbinn Verteiler fuer Gas-Fluessigkeit-Gemische
DE2116982C3 (de) 1971-04-07 1974-08-29 Meinrad 7241 Ergenzingen Grammer RohrleitungsVerteileranlage für Vor- und Rücklaufleitungen, insbesondere für Warmwasser-Heizungsanlagen
DE2637243A1 (de) * 1976-08-19 1978-02-23 Klemens Ing Grad Waterkotte Heizkreisverteiler, insbesondere fuer fussbodenheizungen
DE2707539C2 (de) 1977-02-22 1985-01-17 Klaus 4370 Marl Pohl Rohrleitungsverteiler
DE3006784C2 (de) * 1980-02-22 1982-11-18 Maile + Grammer Gmbh, 7407 Rottenburg Rohrverteiler für Heizungsanlagen und Verfahren zu dessen Herstellung
IT8021903V0 (it) * 1980-05-26 1980-05-26 Giacomini Rubinetterie Collettore per la distribuzione di fluidi, per esempio dell'acqua calda, in impianti di riscaldamento.
DE19512024C2 (de) 1995-03-31 1998-07-02 Hans Straub Verteilervorrichtung für Heizkessel u. dgl.

Cited By (8)

* Cited by examiner, † Cited by third party
Publication number Priority date Publication date Assignee Title
DE10324454B3 (de) * 2003-05-28 2004-11-04 Radisav Drljevic Rohrverteiler und Verfahren zur Herstellung eines Rohrverteilers
EP1482249A1 (de) 2003-05-28 2004-12-01 Radisav Drljevic Rohrverteiler und Verfahren zur Herstellung eines Rohrverteilers
DE10324454C5 (de) * 2003-05-28 2012-07-26 Radisav Drljevic Rohrverteiler und Verfahren zur Herstellung eines Rohrverteilers
DE202007015647U1 (de) 2007-11-08 2009-03-19 Interforge Klee Gmbh Rohrverteiler
ITVI20090176A1 (it) * 2009-07-16 2011-01-17 Mondeo Srl Collettore di distribuzione, particolarmente ma non esclusivamente per impianti idrotermosanitari, nonché processo per la realizzazione di un collettore di distribuzione.
WO2014131380A1 (de) 2013-02-26 2014-09-04 Capricorn Sp. Z O.O. Rohrverteiler
DE202013011468U1 (de) 2013-12-23 2015-03-26 Pipe Systems Gmbh Rohrverteiler
DE102023000519B3 (de) 2023-02-17 2024-07-04 Mahmoud Alshahhoud Verteiler

Also Published As

Publication number Publication date
ATE228227T1 (de) 2002-12-15
WO2000009953A1 (de) 2000-02-24
DE29924006U1 (de) 2001-08-30
EP1108190A1 (de) 2001-06-20

Similar Documents

Publication Publication Date Title
EP1333219A1 (de) Schnellverschlusskupplung
DE2657398A1 (de) Rohrverbindung fuer zwei rohrstuecke
EP1108190B1 (de) Rohr bzw. rohrsystem für rohrleitungsverteiler, heizkreisverteiler, kesselverteiler und dergleichen
DE2744674A1 (de) Flanschverbindung
DE10137078C1 (de) Pressfitting für Rohre
DE19937851A1 (de) Rohr bzw. Rohrsystem für Rohrleitungsverteiler, Heizkreisverteiler, Kesselverteiler und dgl.
DE2614477A1 (de) Loesbare rohrverbindung, insbesondere fuer mehrteilige fahrzeugauspuffrohre
DE102006024122B4 (de) Vorrichtung zur Verbindung zweier Sammelrohre bei Kollektoren für Solaranlagen
DE1525534C2 (de) Vorrichtung zum Abdichten der Verbindungsstellen von flanschlosen Durchflussrohren
EP0080146B1 (de) Rohrverteiler mit Vor- und Rücklaufkammer
DE202014002477U1 (de) Wärmetauscher
DE19927591A1 (de) Verschraubbarer Abzweig für dünnwandige Kanalrohre mit Montageclip
DE3814176C2 (de) Doppelwandige Rohrleitung aus einer Vielzahl endseitig miteinander verbundener Rohrlängen
EP0472056B1 (de) Verbindungselement für Rohre
DE202014003776U1 (de) Kunststoffrohr
DE4319006A1 (de) Heiz/-Kühlkörperabdichtung
WO2011057594A1 (de) Rohr-in-rohr-wärmetauscher
EP0715705B1 (de) Heizkörper für raumheizung
DE3206311A1 (de) Belastungsaufnahme-stroemungsmittelleitungsanordnung und anschluss hierfuer
EP4141308B1 (de) Rohrverbindungsanordnung
AT526935B1 (de) Steckverbinder
EP3587110A2 (de) Metallische rohrleitungsanordnung mit generativ hergestelltem anschlussteil
DE102006004828A1 (de) Kunststoffrohr für die Durchleitung eines Heiz- oder Kühlmediums, unter Verwendung derartiger Rohre hergestellte Matte sowie Verbindung zwischen der Stirnseite eines derartigen Rohres und einem Kunststoffkörper
DE60129780T2 (de) Rohrstruktur, Strömungskanalstruktur und Wärmetauscher
DD288204A5 (de) Verbundrohr

Legal Events

Date Code Title Description
PUAI Public reference made under article 153(3) epc to a published international application that has entered the european phase

Free format text: ORIGINAL CODE: 0009012

17P Request for examination filed

Effective date: 20010312

AK Designated contracting states

Kind code of ref document: A1

Designated state(s): AT BE CH CY DE DK ES FI FR GB GR IE IT LI LU MC NL PT SE

GRAG Despatch of communication of intention to grant

Free format text: ORIGINAL CODE: EPIDOS AGRA

17Q First examination report despatched

Effective date: 20011023

GRAG Despatch of communication of intention to grant

Free format text: ORIGINAL CODE: EPIDOS AGRA

GRAH Despatch of communication of intention to grant a patent

Free format text: ORIGINAL CODE: EPIDOS IGRA

GRAH Despatch of communication of intention to grant a patent

Free format text: ORIGINAL CODE: EPIDOS IGRA

RAP1 Party data changed (applicant data changed or rights of an application transferred)

Owner name: STRAUB, HANS

RIN1 Information on inventor provided before grant (corrected)

Inventor name: STRAUB, HANS

GRAA (expected) grant

Free format text: ORIGINAL CODE: 0009210

AK Designated contracting states

Kind code of ref document: B1

Designated state(s): AT BE CH CY DE DK ES FI FR GB GR IE IT LI LU MC NL PT SE

PG25 Lapsed in a contracting state [announced via postgrant information from national office to epo]

Ref country code: NL

Free format text: LAPSE BECAUSE OF FAILURE TO SUBMIT A TRANSLATION OF THE DESCRIPTION OR TO PAY THE FEE WITHIN THE PRESCRIBED TIME-LIMIT

Effective date: 20021120

Ref country code: IE

Free format text: LAPSE BECAUSE OF FAILURE TO SUBMIT A TRANSLATION OF THE DESCRIPTION OR TO PAY THE FEE WITHIN THE PRESCRIBED TIME-LIMIT

Effective date: 20021120

Ref country code: GR

Free format text: LAPSE BECAUSE OF FAILURE TO SUBMIT A TRANSLATION OF THE DESCRIPTION OR TO PAY THE FEE WITHIN THE PRESCRIBED TIME-LIMIT

Effective date: 20021120

Ref country code: FI

Free format text: LAPSE BECAUSE OF FAILURE TO SUBMIT A TRANSLATION OF THE DESCRIPTION OR TO PAY THE FEE WITHIN THE PRESCRIBED TIME-LIMIT

Effective date: 20021120

REF Corresponds to:

Ref document number: 228227

Country of ref document: AT

Date of ref document: 20021215

Kind code of ref document: T

REG Reference to a national code

Ref country code: GB

Ref legal event code: FG4D

Free format text: NOT ENGLISH

REG Reference to a national code

Ref country code: CH

Ref legal event code: EP

REG Reference to a national code

Ref country code: IE

Ref legal event code: FG4D

Free format text: GERMAN

REF Corresponds to:

Ref document number: 59903483

Country of ref document: DE

Date of ref document: 20030102

REG Reference to a national code

Ref country code: CH

Ref legal event code: NV

Representative=s name: BOVARD AG PATENTANWAELTE

PG25 Lapsed in a contracting state [announced via postgrant information from national office to epo]

Ref country code: PT

Free format text: LAPSE BECAUSE OF FAILURE TO SUBMIT A TRANSLATION OF THE DESCRIPTION OR TO PAY THE FEE WITHIN THE PRESCRIBED TIME-LIMIT

Effective date: 20030220

Ref country code: DK

Free format text: LAPSE BECAUSE OF FAILURE TO SUBMIT A TRANSLATION OF THE DESCRIPTION OR TO PAY THE FEE WITHIN THE PRESCRIBED TIME-LIMIT

Effective date: 20030220

GBT Gb: translation of ep patent filed (gb section 77(6)(a)/1977)

Effective date: 20030329

NLV1 Nl: lapsed or annulled due to failure to fulfill the requirements of art. 29p and 29m of the patents act
PG25 Lapsed in a contracting state [announced via postgrant information from national office to epo]

Ref country code: ES

Free format text: LAPSE BECAUSE OF FAILURE TO SUBMIT A TRANSLATION OF THE DESCRIPTION OR TO PAY THE FEE WITHIN THE PRESCRIBED TIME-LIMIT

Effective date: 20030529

ET Fr: translation filed
PG25 Lapsed in a contracting state [announced via postgrant information from national office to epo]

Ref country code: LU

Free format text: LAPSE BECAUSE OF NON-PAYMENT OF DUE FEES

Effective date: 20030813

Ref country code: CY

Free format text: LAPSE BECAUSE OF FAILURE TO SUBMIT A TRANSLATION OF THE DESCRIPTION OR TO PAY THE FEE WITHIN THE PRESCRIBED TIME-LIMIT

Effective date: 20030813

REG Reference to a national code

Ref country code: IE

Ref legal event code: FD4D

Ref document number: 1108190E

Country of ref document: IE

PG25 Lapsed in a contracting state [announced via postgrant information from national office to epo]

Ref country code: MC

Free format text: LAPSE BECAUSE OF NON-PAYMENT OF DUE FEES

Effective date: 20030831

Ref country code: BE

Free format text: LAPSE BECAUSE OF NON-PAYMENT OF DUE FEES

Effective date: 20030831

PLBE No opposition filed within time limit

Free format text: ORIGINAL CODE: 0009261

STAA Information on the status of an ep patent application or granted ep patent

Free format text: STATUS: NO OPPOSITION FILED WITHIN TIME LIMIT

26N No opposition filed

Effective date: 20030821

BERE Be: lapsed

Owner name: *STRAUB HANS

Effective date: 20030831

REG Reference to a national code

Ref country code: CH

Ref legal event code: PFA

Owner name: STRAUB, HANS

Free format text: STRAUB, HANS#GEISSBUEHL 18#73337 BAD UEBERKINGEN-OBERBOEHRINGEN (DE) -TRANSFER TO- STRAUB, HANS#GEISSBUEHL 18#73337 BAD UEBERKINGEN-OBERBOEHRINGEN (DE)

REG Reference to a national code

Ref country code: DE

Ref legal event code: R082

Ref document number: 59903483

Country of ref document: DE

Representative=s name: FUERST, SIEGFRIED, DIPL.-ING., DE

Ref country code: DE

Ref legal event code: R082

Ref document number: 59903483

Country of ref document: DE

Representative=s name: KANZLEI "REGION GOEPPINGEN" (GBR) PATENTANWALT, DE

REG Reference to a national code

Ref country code: FR

Ref legal event code: PLFP

Year of fee payment: 18

REG Reference to a national code

Ref country code: DE

Ref legal event code: R082

Ref document number: 59903483

Country of ref document: DE

Representative=s name: FUERST, SIEGFRIED, DIPL.-ING., DE

REG Reference to a national code

Ref country code: FR

Ref legal event code: PLFP

Year of fee payment: 19

REG Reference to a national code

Ref country code: FR

Ref legal event code: PLFP

Year of fee payment: 20

PGFP Annual fee paid to national office [announced via postgrant information from national office to epo]

Ref country code: FR

Payment date: 20180830

Year of fee payment: 20

Ref country code: DE

Payment date: 20180824

Year of fee payment: 20

Ref country code: IT

Payment date: 20180731

Year of fee payment: 20

PGFP Annual fee paid to national office [announced via postgrant information from national office to epo]

Ref country code: GB

Payment date: 20180928

Year of fee payment: 20

Ref country code: SE

Payment date: 20180810

Year of fee payment: 20

Ref country code: AT

Payment date: 20180817

Year of fee payment: 20

Ref country code: CH

Payment date: 20180831

Year of fee payment: 20

REG Reference to a national code

Ref country code: DE

Ref legal event code: R071

Ref document number: 59903483

Country of ref document: DE

REG Reference to a national code

Ref country code: CH

Ref legal event code: PL

REG Reference to a national code

Ref country code: GB

Ref legal event code: PE20

Expiry date: 20190812

REG Reference to a national code

Ref country code: SE

Ref legal event code: EUG

REG Reference to a national code

Ref country code: AT

Ref legal event code: MK07

Ref document number: 228227

Country of ref document: AT

Kind code of ref document: T

Effective date: 20190813

PG25 Lapsed in a contracting state [announced via postgrant information from national office to epo]

Ref country code: GB

Free format text: LAPSE BECAUSE OF EXPIRATION OF PROTECTION

Effective date: 20190812