EP1102011B1 - Befestigungssystem zum Befestigen von Gegenständen an einem Heizkörper - Google Patents
Befestigungssystem zum Befestigen von Gegenständen an einem Heizkörper Download PDFInfo
- Publication number
- EP1102011B1 EP1102011B1 EP00121899A EP00121899A EP1102011B1 EP 1102011 B1 EP1102011 B1 EP 1102011B1 EP 00121899 A EP00121899 A EP 00121899A EP 00121899 A EP00121899 A EP 00121899A EP 1102011 B1 EP1102011 B1 EP 1102011B1
- Authority
- EP
- European Patent Office
- Prior art keywords
- radiator
- elements
- fixing system
- support element
- anchoring
- Prior art date
- Legal status (The legal status is an assumption and is not a legal conclusion. Google has not performed a legal analysis and makes no representation as to the accuracy of the status listed.)
- Expired - Lifetime
Links
- 238000004873 anchoring Methods 0.000 claims abstract description 33
- 230000000284 resting effect Effects 0.000 claims 1
- 238000005553 drilling Methods 0.000 description 8
- 238000010438 heat treatment Methods 0.000 description 4
- 238000013016 damping Methods 0.000 description 2
- 238000006073 displacement reaction Methods 0.000 description 2
- 239000000725 suspension Substances 0.000 description 2
- 238000005253 cladding Methods 0.000 description 1
- 238000003780 insertion Methods 0.000 description 1
- 230000037431 insertion Effects 0.000 description 1
- 238000004519 manufacturing process Methods 0.000 description 1
- 230000013011 mating Effects 0.000 description 1
- 230000003287 optical effect Effects 0.000 description 1
Images
Classifications
-
- F—MECHANICAL ENGINEERING; LIGHTING; HEATING; WEAPONS; BLASTING
- F24—HEATING; RANGES; VENTILATING
- F24D—DOMESTIC- OR SPACE-HEATING SYSTEMS, e.g. CENTRAL HEATING SYSTEMS; DOMESTIC HOT-WATER SUPPLY SYSTEMS; ELEMENTS OR COMPONENTS THEREFOR
- F24D19/00—Details
Definitions
- the present invention relates to a fastening system for fastening objects to a radiator, in particular to a radiator having a plurality of tubular radiator elements arranged in parallel.
- radiators It is known in the art to attach articles of both functional and decorative type to radiators. Such items may be, for example, humidifiers, shelves, optical veneers or the like.
- first anchoring elements In order to attach such items to radiators of the common type, first anchoring elements must be firmly connected to the radiator, with which then the objects to be fastened to the radiator in turn are connected. It is known in this case, in particular in radiators with multiple parallel tubular spaced-apart radiator elements to jam anchoring element between these radiator elements and then connect them directly to the objects to be fastened to the radiator.
- DE-A-32 09 459 describes, for example, a suspension device for a radiator panel, which is mounted on the front of a radiator.
- the suspension device comprises two support elements arranged between the heating element and the covering, by means of which the covering can be mounted so as to be variable in distance to the heating element.
- the support elements are telescopically slidable sliding tubes trained and arranged both on the radiator and on the panel to pivotal connecting elements.
- EP-A-0 433 913 discloses a multipurpose rack for supporting a load-bearing structure on at least one coplanar series of equidistantly spaced parallel columns, the rack having an object-holding member and at least one fastener for supporting and securing the object-holding member to the structure ,
- the fastener comprises two bodies, the first body carrying the object-holding member and having at least one first edge along which a surface adapted for this pillar is formed, and the second body having a first portion hinged to a second edge of the first body; and a second portion diametrally opposed to the mating surfaces in use of the shelf so that the pillar mates with its inner edge.
- the fastening system has a cross section smaller than the distance between two adjacent columns so that insertion into said structure between two adjacent columns is possible during assembly of the shelf.
- CH-A-613 766 describes a kit for a radiator panel that can be mounted on any sized radiators.
- the kit consists of fasteners with means for attachment to the radiator, carrier elements with means for connection to the fasteners on the visible side of the radiator, carrier rails for horizontal use in the support elements, wherein the support rails have an upwardly directed stepped edge, and from Cladding elements with a arranged on the back approach for the purpose of reaching behind the remote edge of the carrier rails.
- the object of the present invention is to provide an attachment system which is easy to manufacture, flexibly usable and variably to be designed for fastening objects.
- strip-shaped support member which extends transversely to the radiator elements, it is possible to make an adjustment of the attachment not only in the direction of the radiator elements, but also transversely thereto along the strip-shaped support member.
- the objects to be fastened are fastened and held on the support element via holding elements connected thereto. Accordingly, further holding elements can be arranged on the objects to be fastened, which are brought into engagement with the holding elements arranged on the carrying element, in order thereby to fasten the object to the heating element.
- the fastening system according to the invention is preferably used to arrange objects on the side of the radiator facing the room to be heated. For this it is an advantage, if that too Fixing system is arranged on a side facing the heated space to the radiator.
- a high design freedom is achieved according to the invention in that the supporting element connected to the anchoring elements is displaceable transversely to the radiator elements relative thereto and relative to the anchoring elements. This can be designed so that a continuous displacement or a shift can take place at defined intervals. After the displacement of the support element in a desired position, this can be secured in position.
- a particular stability attains the fastening system according to the invention in that the strip-shaped support member rests with a contact surface on the radiator, wherein the strip-shaped support member along its voltage applied to the radiator contact surface has a contour corresponding to the negative shape of the contour of the radiator surface, and this so controlled contact surface is engaged with the radiator surface.
- the strip-shaped support member on the one hand a particularly large contact surface on the radiator, which contributes to the stability of the fastening system according to the invention, and on the other hand can not be moved across the radiator, transversely to the radiator elements.
- Particularly flexible applications arise when both the surface contour of the radiator and along the contact surface surface contour of the strip-shaped support element are executed periodically. This has the consequence that the strip-shaped support member can be arranged at different positions and transversely to the radiator elements on the radiator.
- the fastening system according to the invention is designed such that are connected using the same anchoring elements and support elements respectively adapted to the objects to be fastened holding elements with the support elements.
- This allows a flexible and modular design in which, starting from matched to the respective type of radiator anchoring and support elements only the holding elements are tuned to the respective object to be fastened to the radiator.
- An increased stability receives the fastening system when the holding element is firmly connected to the support element.
- At least one securing element is provided in the fastening system according to the invention, which secures the connection between the retaining element and the object to be fastened.
- a fuse ensures that following an adjustment made to be secured to the radiator object secured in position and thus can be kept immovable.
- an inventive, transversely extending to the radiator elements, strip-shaped support element makes it possible to arrange holding elements on this so that objects to be attached thereto in the direction of the support element are displaceable.
- a positioning of the object to be fastened not only in the direction of the radiator elements, but also transversely to variably and very easily.
- FIG. 1 a portion of a radiator 1 with a plurality of parallel, vertically extending, tubular radiator elements 2 is shown schematically.
- an inventive fastening system is arranged.
- This fastening system consists of two anchoring elements 3, which have each been introduced into a space between two adjacent radiator elements 2 and attack after rotation by 90 ° respectively to the two adjacent radiator elements 2 and by attaching to a strip-shaped support element 4 were clamped with the radiator elements 2.
- the operation of the anchoring elements will be described later with reference to FIG. 9 in more detail.
- On the strip-shaped support member 4 holding elements 5 are arranged in the form of elbows respectively in the end regions of its horizontal extension. These angle pieces have a substantially parallel to the radiator elements 2 extending portion which is connected to the support member 4.
- Another section extends in each case substantially horizontally, orthogonal to the first-mentioned sections and forms a bearing surface for an object to be connected to the fastening system in the form of a tray table 6.
- the two angle pieces are aligned so that the substantially horizontally extending portions in a are arranged horizontally extending plane. On the so arranged portions of the angle pieces 5 of the tray 6 is placed and secured by screws 7 to the mounting system.
- the strip-shaped support element 4 is connected to the anchoring elements 3 via screws 7, which are guided through bores 8 a, 8 b. Further holes 9a and 9b are provided on the strip-shaped support member such that they are displaced by the holes 8a and 8b respectively by half the distance between two extending in the spaces between the radiator elements perpendicular bisector.
- FIG. 2 is a view of the fastening system shown in Fig. 1 is shown.
- the anchoring elements are not shown, and a connected to the fastening system object is not shown here.
- Fig. 3 is a side view from the right of the strip-shaped support member 4 shown in Fig. 2 with the connected to the support member 4 elbow 5 is shown.
- the strip-shaped support element 4 is a component formed from a profile strip.
- FIG. 4 shows a top view of the strip-type carrier element shown in FIG. 2 with the angle pieces 5 connected to the carrier element 4 It is clear from this figure that in the region of the radiator elements indicated by crosses 10, the contact surface 11 of the strip-shaped supporting element 4, which bears against the radiator elements, follows in its contour the negative of the contour formed by the radiator elements. By this configuration, a particularly good and safe concern of the strip-shaped support member 4 is ensured on the radiator elements of the radiator.
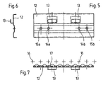
- Fig. 5 the view of a second embodiment of a strip-shaped support member 4 is shown with holding elements arranged thereon.
- the holding elements in the form of hooks 13 are formed.
- the strip-shaped support member 12 is in this case formed analogous to the strip-shaped support member 4 of the previous embodiment.
- the hooks shown here serve to receive an object to be fastened, e.g. a mirror, arranged counterpart, so as to connect the object with the fastening system.
- the strip-shaped support element 12 of the second embodiment has the same configuration as the strip-shaped support element 4 of the first embodiment.
- the two embodiments differ only in the holding elements connected to the support elements 4 and 12, which are in the case of the first embodiment, angle pieces 5 and in the case of the second embodiment, hooks 13.
- any further possible holding elements for example. Eyelets, mounting rails or the like on a strip-shaped support element can be arranged.
- Such a fastening system according to the invention can be constructed simply and modularly from basic elements adapted to the respective radiator, that is to say anchoring elements as well as support elements and support elements to be fastened to the object to be connected to the fastening system, eg hooks 13 or angle pieces 5.
- a radiator 1 is shown with radiator elements 2, on which both a fastening system in the manner of the first embodiment and two fastening systems are arranged in the manner of the second embodiment.
- the anchoring elements 3 and 18 as they are used for the fastening systems according to the first and the second embodiment are identical.
- a mirror 19 provided with hook elements is hooked into the hook 13 arranged on the strip-shaped support elements 12.
- a damping buffer 20 ensures that the mirror is buffered at a pressure load across its vertical extent and can not bend in the direction of the radiator and then break.
- FIG. 9 shows a detail enlargement of the area designated IX in FIG. 8.
- An armature 24 whose dimensions are chosen so that it can be introduced in the intermediate space between two radiator elements in an upright position, ie aligned with its longitudinal axis parallel to the radiator elements and then rotated by 90 °, the two adjacent radiator elements engages behind.
- a screw 21 is guided through an opening located in the fastening element 12, which extends in the further course through an opening arranged in the armature 24.
- a nut 22 is then applied to the screw to generate by tightening the screw 21 relative to the nut 22, a tensile force of the armature 24 in the direction of the strip-shaped support member 12.
- a spiral spring 23 is arranged in the region between the support element 12 and the armature 24, which one of the forces caused by tightening the screw pulling force counteracting pressure force causes, and thus a fuse of the nut 21 applied to the nut 22.
- FIG. 9 also shows that the mirror 19 by means of a hook member 26, which may, for example, be formed like a strip, is hooked into the integrally formed on the strip-shaped support member 12 hook 13.
- a hook member 26 which may, for example, be formed like a strip
Landscapes
- Engineering & Computer Science (AREA)
- Physics & Mathematics (AREA)
- Thermal Sciences (AREA)
- Chemical & Material Sciences (AREA)
- Combustion & Propulsion (AREA)
- Mechanical Engineering (AREA)
- General Engineering & Computer Science (AREA)
- Clamps And Clips (AREA)
- Gripping Jigs, Holding Jigs, And Positioning Jigs (AREA)
- Details Of Heat-Exchange And Heat-Transfer (AREA)
- Connection Of Plates (AREA)
Description
- Die vorliegende Erfindung betrifft ein Befestigungssystem zum Befestigen von Gegenständen an einem Heizkörper, insbesondere an einem Heizkörper mit mehreren parallel angeordneten, rohrförmigen Radiatorelementen.
- Es ist im Stand der Technik bekannt, Gegenstände sowohl funktionaler Art, als auch dekorativer Art an Heizkörpern zu befestigen. Solche Gegenstände können bspw. Raumluftbefeuchter, Ablagen, optische Verblendungen oder ähnliches sein. Um solche Gegenstände an Heizkörpern der gängigen Art befestigen zu können, müssen zunächst Verankerungselemente mit dem Heizkörper fest verbunden werden, mit denen dann die an dem Heizkörper zu befestigenden Gegenstände ihrerseits wiederum verbunden werden. Es ist hierbei bekannt, insbesondere bei Heizkörpern mit mehreren parallelen rohrförmigen voneinander beabstandeten Radiatorelementen Verankerungselement zwischen diesen Radiatorelementen zu verklemmen und diese dann direkt mit den an dem Heizkörper zu befestigenden Gegenständen zu verbinden.
- Die DE-A-32 09 459 beschreibt beispielsweise eine Aufhängevorrichtung für eine Heizkörperverkleidung, die an der Vorderseite eines Heizkörpers montiert wird. Die Aufhängevorrichtung umfaßt zwei zwischen dem Heizkörper und der Verkleidung angeordnete Stützelemente, mittels derer die Verkleidung abstandsveränderbar zum Heizkörper angebracht werden kann. Die Stützelemente sind als teleskopartig ineinanderschiebbare Gleitrohre ausgebildet und sowohl am Heizkörper als auch an der Verkleidung an schwenkbaren Verbindungselementen angeordnet.
- Die EP-A-0 433 913 offenbart ein Mehrzweckregal zum Tragen einer eine Last aufnehmenden Struktur an mindestens einer koplanaren Reihe von in gleichen Abständen angeordneten parallelen Säulen, wobei das Regal ein Objekthalteelement und mindestens ein Befestigungselement zum Tragen und Befestigen des Objekthalteelementes an der Struktur aufweist. Das Befestigungselement umfaßt zwei Körper, wobei der erste Körper das Objekthalteelement trägt und mindestens eine erste Kante aufweist, entlang der eine für diese Säule angepaßte Oberfläche ausgebildet ist, und der zweite Körper einen ersten Abschnitt, der an einer zweiten Kante des ersten Körpers angelenkt ist, und einen zweiten Abschnitt, der bei der Benutzung des Regals zu den zusammenpassenden Flächen diametral gegenüber geordnet ist umfasst, so daß die Säule mit dessen Innenkante zusammenpaßt. Das Befestigungssystem weist einen Querschnitt auf, der kleiner als der Abstand zwischen zwei benachbarten Säulen ist, so daß die Einführung in die besagte Struktur zwischen zwei benachbarten Säulen hindurch während des Zusammenbaus des Regals möglich ist.
- Die CH-A-613 766 beschreibt ein Bausatz für eine Heizkörperverkleidung, der an beliebig bemessenen Heizkörpern montiert werden kann. Der Bausatz besteht aus Befestigungselementen mit Mitteln zur Befestigung am Heizkörper, aus Trägerelementen mit Mitteln zur Verbindung mit den Befestigungselementen an der sichtbaren Seite des Heizkörpers, aus Trägerschienen zum horizontalen Einsatz in die Trägerelemente, wobei die Trägerschienen einen nach oben gerichteten abgesetzten Rand aufweisen, und aus Verkleidungselementen mit einem auf der Rückseite angeordneten Ansatz zwecks Hintergreifung des abgesetzten Randes der Trägerschienen.
- Durch die direkte Verbindung mit dem zwischen den Radiatorelementen verklemmten Verankerungselementen sind die einmal mit dem Heizkörper verbundenen Gegenstände nur noch in Richtung der Radiatorelemente bewegbar und nicht mehr quer dazu. Das bedeutet, daß im Falle von vertikal angeordneten Radiatorelementen eine Bewegung der an dem Heizkörper befestigten Gegenstände nur noch in vertikaler Richtung möglich ist. Eine quer zu den vertikal angeordneten Radiatorelementen gerichtete Bewegung ist damit nicht mehr möglich. Das hat zur Folge, daß der mit dem Heizkörper zu verbindende Gegenstand, wenn die Verankerungselemente erst einmal zwischen den Radiatorelementen angeordnet sind, nur noch in seiner Höhe justiert werden kann, jedoch hinsichtlich seiner Lage quer zu der Höhe bereits festgelegt ist. Damit ist die Positionierung des an dem Heizkörper befestigten Gegenstandes erschwert. Zusätzlich ist bei größeren Gegenständen eine Befestigung an einem Heizkörper mittels punktueller Verbindungen mit Verankerungselementen eine sichere Befestigung des Gegenstandes erschwert. Soll ein größerer Gegenstand möglichst sicher an dem Heizkörper befestigt werden, so müssen entsprechend viele Verankerungselemente angebracht und mit dem zu befestigenden Gegenstand verbunden werden.
- Davon ausgehend liegt der vorliegenden Erfindung die Aufgabe zugrunde, ein einfach zu fertigendes, flexibel einsetzbares, variabel zu gestaltendes Befestigungssystem zum Befestigen von Gegenständen zu schaffen.
- Zur technischen Lösung wird mit der vorliegenden Erfindung ein Befestigungssystem nach Anspruch 1 vorgeschlagen.
- Durch ein zusätzlich in das Befestigungssystem eingebrachtes, mit dem Verankerungselement verbundenes, leistenförmiges Tragelement, welches quer zu den Radiatorelementen verläuft, ist es möglich, eine Justage der Befestigung nicht nur in Richtung der Radiatorelemente vorzunehmen, sondern auch quer dazu entlang des leistenförmigen Tragelementes. Die zu befestigenden Gegenstände werden an dem Tragelement über mit diesem verbundene Halteelemente befestigt und gehalten. An den zu befestigenden Gegenständen können dementsprechend weitere Halteelemente angeordnet sein, die mit dem an dem Tragelement angeordneten Halteelemente in Eingriff gebracht werden, um damit den Gegenstand an dem Heizkörper zu befestigen.
- Das erfindungsgemäße Befestigungssystem wird vorzugsweise dazu verwendet, Gegenstände an der dem zu beheizenden Raum zugewandten Seite des Heizkörpers anzuordnen. Hierzu ist es von Vorteil, wenn auch das Befestigungssystem an einer dem zu beheizenden Raum zugewandten Seite des Heizkörpers angeordnet ist.
- In einer weiteren vorteilhaften Ausgestaltung der Erfindung wird vorgeschlagen, die Verankerungselemente durch Verklemmen zwischen jeweils zwei benachbarten Radiatorelementen mit dem Heizkörper zu verbinden. Ein Verklemmen stellt eine besonders einfache Art und Weise dar, die Verankerungselemente lösbar mit dem Heizkörper zu verbinden, ohne daß an dem Heizkörper zusätzliche Arbeiten zur Bereitstellung einer Aufnahme für das Verankerungselement notwendig sind.
- Eine hohe gestalterische Freiheit wird gemäß der Erfindung dadurch erzielt, daß das mit dem Verankerungselementen verbundene Tragelement quer zu den Radiatorelementen relativ zu diesen und relativ zu den Verankerungselementen verschiebbar ist. Dies kann so gestaltet sein, daß ein kontinuierliches Verschieben oder aber ein Verschieben in definierten Intervallen erfolgen kann. Nach erfolgtem Verschieben des Tragelementes in eine gewünschte Position, kann dieses in der Position gesichert werden.
- Eine besondere Stabilität erlangt das erfindungsgemäße Befestigungssystem dadurch, daß das leistenförmige Tragelement mit einer Berührungsfläche an dem Heizkörper anliegt, wobei das leistenförmige Tragelement entlang seiner an dem Heizkörper anliegenden Berührungsfläche eine Kontur aufweist, die der Negativform der Kontur der Heizkörperoberfläche entspricht, und diese so kontrollierte Berührungsfläche mit der Heizkörperoberfläche in Eingriff steht. Durch eine derartige Ausgestaltung weist das leistenförmige Tragelement einerseits eine besonders große Anlagefläche an dem Heizkörper auf, was zu der Stabilität des erfindungsgemäßen Befestigungssystems beiträgt, und kann andererseits gegenüber dem Heizkörper, quer zu den Radiatorelementen nicht verschoben werden. Besonders flexible Einsatzmöglichkeiten ergeben sich, wenn sowohl die Oberflächenkontur des Heizkörpers als auch die entlang der Berührungsfläche liegende Oberflächenkontur des leistenförmigen Tragelementes periodisch ausgeführt sind. Dies hat zur Folge, daß das leistenförmige Tragelement an verschiedenen Positionen auch quer zu den Radiatorelementen am Heizkörper angeordnet werden kann.
- Ein weiterer Vorteil ergibt sich, wenn das erfindungsgemäße Befestigungssystem derart ausgebildet ist, daß unter Verwendung gleicher Verankerungselemente sowie Tragelemente jeweils an die zu befestigenden Gegenstände angepaßte Halteelemente mit den Tragelementen verbunden werden. Dies erlaubt eine flexible und modulare Bauweise, bei der ausgehend von auf den jeweiligen Heizkörpertyp abgestimmten Verankerungs- sowie Tragelementen nur die Halteelemente auf den jeweils an dem Heizkörper zu befestigenden Gegenstand abgestimmt werden. So können bspw. für die Befestigung einer brettartigen Ablage einfache Winkelstücke vorgesehen sein, die bspw. durch Schrauben mit der Ablage verbunden werden. Es können aber auch Haken an dem leistenförmigen Tragelement angeordnet sein, die zum Einhängen verschiedener anderer Gegenstände geeignet sind.
- Eine erhöhte Stabilität erhält das Befestigungssystem, wenn das Halteelement mit dem Tragelement fest verbunden ist.
- Schließlich ist es von Vorteil, wenn in dem erfindungsgemäßen Befestigungssystem mindestens ein Sicherungselement vorgesehen ist, das die Verbindung zwischen dem Halteelement und dem zu befestigenden Gegenstand sichert. Eine solche Sicherung bewirkt, daß im Anschluß an eine erfolgte Justage der an dem Heizkörper zu befestigenden Gegenstand in seiner Position gesichert und damit unverrückbar gehalten werden kann.
- Die Verwendung eines erfindungsgemäßen, sich quer zu dem Radiatorelementen erstreckenden, leistenförmigen Tragelementes ermöglicht es, Halteelemente an diesem so anzuordnen, daß daran zu befestigende Gegenstände in Richtung des Tragelementes verschiebbar sind. Damit kann eine Positionierung des zu befestigenden Gegenstandes nicht nur in Richtung der Radiatorelemente, sondern auch quer dazu variabel und sehr einfach erfolgen.
- Weitere Merkmale sowie Vorteile der Erfindung werden anhand der im Zusammenhang mit den Zeichnungen beschriebenen Ausführungsbeispielen deutlich. Hierbei zeigen:
- Fig.1
- eine Ansicht eines Ausführungsbeispieles eines erfindungsgemäßen Befestigungssystems mit einer daran angeordneten Ablageplatte, wie es an einem Heizkörper angeordnet ist,
- Fig. 2
- eine Ansicht des in Fig. 1 gezeigten Befestigungssystems ohne Ablageplatte und Heizkörper sowie unter Fortlassung der Verankerungselemente,
- Fig. 3
- eine Seitenansicht des in Fig. 2 gezeigten Befestigungsystems von rechts,
- Fig. 4
- eine Aufsicht von oben auf das in Fig. 2 gezeigte Befestigungsystem,
- Fig. 5
- eine Ansicht eines zweiten Ausführungsbeispieles eines erfindungsgemäßen Befestigungssystems unter Fortlassung der Verankerungselemente,
- Fig. 6
- eine Seitenansicht des in Fig. 5 gezeigten Befestigungssystems von rechts,
- Fig. 7
- eine Aufsicht von oben auf das in Fig. 5 gezeigte Befestigungssystem,
- Fig. 8
- eine Seitenansicht eines Heizkörpers mit daran angeordneten erfindungsgemäßen Befestigungsystemen sowie daran befestigten Gegenständen und
- Fig. 9
- eine Vergrößerung des in Fig. 8 mit IX gekennzeichneten Bereichs.
- In Fig. 1 ist schematisch ein Abschnitt eines Heizkörpers 1 mit mehreren parallelen, vertikal verlaufenden, rohrförmigen Radiatorelementen 2 dargestellt. In diesem Abschnitt ist ein erfindungsgemäßes Befestigungssystem angeordnet. Dieses Befestigungssystem besteht aus zwei Verankerungselementen 3, die jeweils in einen Zwischenraum zwischen zwei benachbarten Radiatorelementen 2 eingebracht worden sind und nach Verdrehen um 90° jeweils an die beiden benachbarten Radiatorelemente 2 angreifen und durch Befestigen an einem leistenförmigen Tragelement 4 mit den Radiatorelementen 2 verklemmt wurden. Die Funktionsweise der Verankerungselemente wird später anhand von Fig. 9 eingehender beschrieben. An dem leistenförmigen Tragelement 4 sind jeweils in den Endbereichen seiner horizontalen Erstreckung Halteelemente 5 in Form von Winkelstücken angeordnet. Diese Winkelstücke weisen einen sich im wesentlichen parallel zu den Radiatorelementen 2 erstreckenden Abschnitt auf, welcher mit dem Tragelement 4 verbunden ist. Ein weiterer Abschnitt erstreckt sich jeweils im wesentlichen horizontal, orthogonal zu den erstgenannten Abschnitten und bildet eine Auflagefläche für einen mit dem Befestigungssystem zu verbindenden Gegenstand in Form eines Ablagetisches 6. Die beiden Winkelstücke sind dabei so ausgerichtet, daß die im wesentlichen horizontal verlaufenden Abschnitte in einer horizontal verlaufenden Ebene angeordnet sind. Auf den so angeordneten Abschnitten der Winkelstücke 5 ist der Ablagetisch 6 aufgelegt und mittels Schrauben 7 an dem Befestigungssystem gesichert.
- Das leistenförmige Tragelement 4 ist über Schrauben 7, die durch Bohrungen 8a, 8b geführt sind, mit den Verankerungselementen 3 verbunden. Weitere Bohrungen 9a und 9b sind derart an dem leistenförmigen Tragelement vorgesehen, daß sie von den Bohrungen 8a und 8b jeweils um den halben Abstand zweier in den Zwischenräumen zwischen den Radiatorelementen verlaufenden Mittelsenkrechten verschoben sind.
- In Fig. 2 ist eine Ansicht des in Fig. 1 gezeigten Befestigungssystems dargestellt. Hierbei sind die Verankerungselemente nicht gezeigt, auch wird ein mit dem Befestigungssystem verbundener Gegenstand hier nicht dargestellt. Es wird hierbei deutlich, wie die beiden jeweils nach außen gerichteten horizontalen Abschnitte der Winkelstücke 5 eine horizontale Auflagefläche für einen mit dem Befestigungssystem zu verbindenden Gegenstand bilden. In Fig. 3 ist eine Seitenansicht von rechts des in Fig. 2 gezeigten leistenförmigen Tragelements 4 mit dem mit dem Tragelement 4 verbundenen Winkelstück 5 gezeigt. Hierbei wird deutlich, daß es sich bei dem leistenförmigen Tragelement 4 um ein aus einer Profilleiste gebildetes Bauteil handelt.
- Fig. 4 zeigt eine Aufsicht von oben auf das in Fig. 2 dargestellt leistenförmige Tragelement mit den mit dem Tragelement 4 verbundenen Winkelstücken 5. Aus dieser Figur wird deutlich, daß im Bereich der durch Kreuze 10 angedeuteten Radiatorelemente die Berührungsfläche 11 des leistenförmigen Tragelements 4, die an den Radiatorelementen anliegt, in ihrer Kontur dem Negativ der durch die Radiatorelemente gebildeten Kontur folgt. Durch diese Ausgestaltung ist ein besonders gutes und sicheres Anliegen des leistenförmigen Tragelements 4 an den Radiatorelementen des Heizkörpers gewährleistet.
- In Fig. 5 ist die Ansicht eines zweiten Ausführungsbeispiels eines leistenförmigen Tragelements 4 mit daran angeordneten Halteelementen gezeigten. In diesem Ausführungsbeispiel sind die Halteelemente in Form von Haken 13 ausgebildet. Das leistenförmige Tragelement 12 ist hierbei analog zu dem leistenförmigen Tragelement 4 des vorherigen Ausbildungsbeispiels geformt. Dies wird auch in der in Fig. 6 dargestellten Seitenansicht von rechts des in Fig. 5 gezeigten leistenförmigen Tragelements deutlich. Die hier gezeigten Haken dienen dabei zur Aufnahme eines an einem zu befestigenden Gegenstand, z.B. einem Spiegel, angeordneten Gegenstücks, um somit den Gegenstand mit dem Befestigungssystem zu verbinden. Mit 14a und 14b sowie 15a und 15b bezeichnete Bohrungen in dem Tragelement 12 sind analog zu den Bohrungen 8a, 8b sowie 9a und 9b des vorherigen Ausführungsbeispieles an dem leistenförmigen Tragelement 12 angeordnet. In der in Fig. 7 gezeigten Aufsicht von oben auf das in Fig. 5 dargestellte Tragelement 4 mit den damit verbundenen Haken 13 wird deutlich, daß analog zu dem vorherigen Beispiel auch in diesem Fall die mit 17 bezeichnete Berührungsfläche zwischen den Radiatorelementen und dem leistenförmigen Tragelement 12 entsprechend der Kontur der mit Kreuzen 16 angedeuteten Radiatorelemente ausgeformt ist.
- Es wird also deutlich, daß das leistenförmige Tragelement 12 des zweiten Ausführungsbeispiels die gleiche Ausgestaltung wie das leistenförmige Tragelement 4 des ersten Ausführungsbeispiels aufweist. Die beiden Ausführungsbeispiele unterscheiden sich lediglich in den mit den Tragelementen 4 bzw. 12 verbundenen Halteelementen, welche im Fall des ersten Ausführungsbeispieles Winkelstücke 5 und im Falle des zweiten Ausführungsbeispieles Haken 13 sind. Es wird weiterhin deutlich, daß im Rahmen eines erfindungsgemäßen Befestigungssystems jegliche weitere mögliche Halteelemente, bspw. Ösen, Befestigungsschienen oder ähnliches an einem leistenförmigen Tragelement angeordnet werden können. Ein solches erfindungsgemäßes Befestigungssystem kann dabei einfach und modular aus an den jeweiligen Heizkörper angepaßten Grundelementen, sprich Verankerungselementen sowie Tragelementen und an den Tragelementen zu befestigenden, auf den mit dem Befestigungssystem zu verbindenden Gegenstand angepaßten Halteelemente, bspw. Haken 13 oder Winkelstücke 5, aufgebaut sein.
- In Fig. 8 ist ein Heizkörper 1 mit Radiatorelementen 2 dargestellt, an dem sowohl ein Befestigungssystem nach Art des ersten Ausführungsbeispiels als auch zwei Befestigungssysteme nach Art des zweiten Ausführungsbeispiels angeordnet sind. Aus dieser Figur ist zu ersehen, daß die Verankerungselemente 3 sowie 18 wie sie für die Befestigungssysteme entsprechend dem ersten und dem zweiten Ausführungsbeispiel verwendet werden, baugleich sind. Mittels zweier Befestigungssysteme gemäß dem zweiten Ausführungsbeispiel wird ein mit Hakenelementen versehener Spiegel 19 in die an dem leistenförmigen Tragelementen 12 angeordneten Haken 13 eingehängt. Ein Dämpfungspuffer 20 stellt sicher, daß der Spiegel bei einer Druckbelastung quer zur seiner vertikalen Erstreckung abgepuffert wird und sich nicht in Richtung des Heizkörpers durchbiegen und dann brechen kann.
- In Fig. 9 ist eine Ausschnittsvergrößerung des in Fig. 8 mit IX bezeichneten Bereichs gezeigt. In dieser Darstellung wird deutlich, wie das Verankerungselement 18, das für beide hier gezeigte Ausführungsformen gleich ausgebildet ist, aufgebaut ist. Ein Anker 24, dessen Abmessungen so gewählt sind, daß er in aufrechter Position, d.h. mit seiner Längsachse parallel zu den Radiatorelementen ausgerichtet, in den Zwischenraum zwischen zwei Radiatorelementen eingebracht werden kann und dann um 90° gedreht die beiden benachbarten Radiatorelemente hintergreift. Zur Befestigung des leistenförmigen Tragelements 12 wird durch eine in dem Befestigungselement 12 befindliche Öffnung eine Schraube 21 geführt, welche sich im weiteren Verlauf durch eine in dem Anker 24 angeordnete Öffnung erstreckt. Eine Mutter 22 wird dann auf die Schraube aufgebracht, um durch Anziehen der Schraube 21 gegenüber der Mutter 22 eine Zugkraft des Ankers 24 in Richtung des leistenförmigen Tragelementes 12 zu erzeugen. Zur Sicherung der Schraubenverbindung ist eine Spiralfeder 23 im Bereich zwischen dem Tragelement 12 und dem Anker 24 angeordnet, welche eine der durch Anziehen der Schraube bewirkten Zugkraft entgegenwirkende Druckkraft bewirkt, und damit eine Sicherung der auf der Schraube 21 aufgebrachten Mutter 22. Durch diese Funktionsweise des Ankerelementes 18, die analog der Funktionsweise des Ankerelementes 3 ist, ist eine Befestigung des Tragelementes 12, bzw. des Tragelementes 4 an dem aus parallel angeordneten Radiatorelementen 2 gebildeten Heizkörper 1 gewährleistet. Aus der in Fig. 9 gezeigten Detailvergrößerung geht weiterhin hervor, daß der Spiegel 19 mittels eines Hakenelementes 26, das bspw. leistenartig ausgeformt sein kann, in den an dem leistenförmigen Tragelement 12 angeformten Haken 13 eingehängt wird. Zur Sicherung dieser Verbindung und zum Halten des Spiegels in seiner justierbaren, gewählten horizontalen Position werden der Haken 13 und das Halteelement 26 mit einem Sicherungselement in Form einer Klammer 25 gegeneinander gesichert.
- Auch aus den anhand der Zeichnungen dargestellten Ausführungsbeispielen wird deutlich, daß aufgrund des leistenförmigen Tragelementes 4 bzw. 12 eine hohe Flexibilität hinsichtlich der Anordnung des am Heizkörper zu befestigenden Gegenstandes auch in einer quer zu den Radiatorelementen 2 verlaufenden Richtung erreicht wird. Das erfindungsgemäße Befestigungssystem ist hierbei vergleichsweise einfach aufgebaut und kann modular auf einen mit diesem System zu verbindenden Gegenstand angepaßt werden.
- Die hier gezeigten Ausführungsformen eines erfindungsgemäßen Befestigungssystems dienen hierbei lediglich der Erläuterung und dem besseren Verständnis und sind keineswegs als beschränkend für die in den Schutzansprüchen beanspruchten Merkmale zu verstehen.
-
- 1
- Heizkörper
- 2
- Radiatorelement
- 3
- Verankerungselement
- 4
- leistenförmiges Tragelement
- 5
- Winkelstück
- 6
- Ablagetisch
- 7
- Schraube
- 8a
- Bohrung
- 8b
- Bohrung
- 9a
- Bohrung
- 9b
- Bohrung
- 10
- Kreuz
- 11
- Berührungsfläche
- 12
- leistenförmiges Tragelement
- 13
- Haken
- 14a
- Bohrung
- 14b
- Bohrung
- 15a
- Bohrung
- 15b
- Bohrung
- 16
- Kreuz
- 17
- Berührungsfläche
- 18
- Verankerungselement
- 19
- Spiegel
- 20
- Dämpfungspuffer
- 21
- Schraube
- 22
- Mutter
- 23
- Spiralfeder
- 24
- Anker
- 25
- Klammer
- 26
- Hakenelement
Claims (8)
- Befestigungssystem zum Befestigen von Gegenständen (17, 19) an einem Heizkörper (1) mit mehreren parallel angeordneten, rohrförmigen Radiatorelementen (2), bestehend aus:- Verankerungselementen (3, 18), die lösbar mit dem Heizkörper (1) verbindbar sind,- mindestens einem, im an den Heizkörper (1) angeordneten Zustand des Befestigungssystems quer zu den Radiatorelementen (2) verlaufenden, leistenförmigen Tragelement (4, 12), welches mit den Verankerungselementen (3, 18) lösbar verbunden ist, und- mit dem Tragelement (4, 12) verbundenden Halteelementen (5, 13) zur Aufnahme des zu befestigenden Gegenstandes (7, 19)dadurch gekennzeichnet, dass das leistenförmige Tragelement (4,12) derart ausgebildet ist, daß es im an den Heizkörper (1) angeordneten Zustand des Befestigungssystems mit einer Berührungsfläche (11, 17) an dem Heizkörper (1) anliegt und entlang seiner an dem Heizkörper (1) anliegenden Berührungsfläche (11, 17) eine Kontur aufweist, die der Negativform der dem Befestigungselement gegenüberliegenden Heizkörperoberfläche entspricht, und daß diese so konturierte Befestigungsfläche (11, 17) mit der dem Tragelement (4, 12) gegenüberliegenden Heizkörperoberfläche in Eingriff steht.
- Befestigungssystem nach Anspruch 1, dadurch gekennzeichnet, daß es derart ausgebildet ist, daß es an einer dem zu beheizenden Raum zugewandten Seite des Heizkörpers (1) positionierbar ist.
- Befestigungssystem nach einem der Ansprüche 1 oder 2, dadurch gekennzeichnet, daß die Verankerungselemente (3, 18) derart ausgebildet sind, daß sie durch Verklemmen zwischen jeweils zwei benachbarten Radiatorelementen (2) mit dem Heizkörper (1) verbindbar sind.
- Befestigungssystem nach einem der Ansprüche 1 bis 3, dadurch gekennzeichnet, daß das mit den Verankerungselementen (3, 18) verbundene Tragelement (4, 12) derart ausgebildet ist, daß es quer zu den Radiatorelementen (2) relativ zu diesen und relativ zu den Verankerungselementen verschiebbar ist.
- Befestigungssystem nach einem der Ansprüche 1-4, dadurch gekennzeichnet, daß sowohl die dem Tragelement (4, 12) gegenüberliegende Oberflächenkontur des Heizkörpers als auch die entlang der Berührungsfläche (11, 17) liegende Oberflächenkontur des leistenförmigen Tragelements (4, 12) periodisch ausgeführt sind.
- Befestigungssystem nach einem der Ansprüche 1 bis 5, dadurch gekennzeichnet, daß unter Verwendung gleicher Verankerungselemente (3, 18) sowie Tragelemente (4, 12) an die zu befestigenden Gegenstände (6, 19) angepaßte Halteelemente (5, 13) an den Tragelementen (4, 12) angeordnet sind.
- Befestigungssystem nach einem der Ansprüche 1 bis 6, dadurch gekennzeichnet, daß die Halteelemente (5, 13) mit den Tragelementen (4, 12) fest verbunden sind.
- Befestigungssystem nach einem der Ansprüche 1 bis 7, gekennzeichnet durch mindestens ein Sicherungselement (7, 25), das die Verbindung zwischen dem Halteelement (5, 13) und dem zu befestigenden Gegenstand (6, 19) sichert.
Applications Claiming Priority (2)
| Application Number | Priority Date | Filing Date | Title |
|---|---|---|---|
| DE29920009U | 1999-11-15 | ||
| DE29920009U DE29920009U1 (de) | 1999-11-15 | 1999-11-15 | Befestigungssystem zum Befestigen von Gegenständen an einem Heizkörper |
Publications (3)
| Publication Number | Publication Date |
|---|---|
| EP1102011A2 EP1102011A2 (de) | 2001-05-23 |
| EP1102011A3 EP1102011A3 (de) | 2002-12-04 |
| EP1102011B1 true EP1102011B1 (de) | 2006-07-26 |
Family
ID=8081598
Family Applications (1)
| Application Number | Title | Priority Date | Filing Date |
|---|---|---|---|
| EP00121899A Expired - Lifetime EP1102011B1 (de) | 1999-11-15 | 2000-10-07 | Befestigungssystem zum Befestigen von Gegenständen an einem Heizkörper |
Country Status (3)
| Country | Link |
|---|---|
| EP (1) | EP1102011B1 (de) |
| AT (1) | ATE334350T1 (de) |
| DE (2) | DE29920009U1 (de) |
Family Cites Families (7)
| Publication number | Priority date | Publication date | Assignee | Title |
|---|---|---|---|---|
| CH613766A5 (en) * | 1975-04-12 | 1979-10-15 | Bottermann Wilhelm Wibo Werk | Set of structural elements for a radiator cladding |
| DE3209459A1 (de) * | 1982-03-16 | 1983-09-29 | Ludwig 4600 Dortmund Kalka | Aufhaengungsvorrichtung zur befestigung einer heizkoerperverkleidung an der vorderseite eines heizkoerpers |
| IT221662Z2 (it) * | 1989-12-21 | 1994-07-25 | Irsap Irsol Srl 29 | Mensola multiuso. |
| IT221142Z2 (it) * | 1990-02-16 | 1994-02-16 | Irsap Irsol Srl 29 | Mensola multiuso. |
| CH682245A5 (de) * | 1991-07-12 | 1993-08-13 | Breitenmoser & Keller Ag Bremo | |
| CH689166A5 (de) * | 1994-12-22 | 1998-11-13 | Walter Steiner | Waeschetrockner sowie Radiator mit einem Waeschetrockner. |
| ATE252172T1 (de) * | 1997-08-07 | 2003-11-15 | Kermi Gmbh | Bewegbarer halteabschnitt für heizkörper bzw. heizkörper mit diesem |
-
1999
- 1999-11-15 DE DE29920009U patent/DE29920009U1/de not_active Expired - Lifetime
-
2000
- 2000-10-07 AT AT00121899T patent/ATE334350T1/de active
- 2000-10-07 EP EP00121899A patent/EP1102011B1/de not_active Expired - Lifetime
- 2000-10-07 DE DE50013225T patent/DE50013225D1/de not_active Expired - Lifetime
Also Published As
| Publication number | Publication date |
|---|---|
| EP1102011A3 (de) | 2002-12-04 |
| EP1102011A2 (de) | 2001-05-23 |
| ATE334350T1 (de) | 2006-08-15 |
| DE29920009U1 (de) | 2000-01-05 |
| DE50013225D1 (de) | 2006-09-07 |
Similar Documents
| Publication | Publication Date | Title |
|---|---|---|
| DE69111489T2 (de) | Starres transversales Bindeglied zwischen zwei Wirbelsäulenstützstäben. | |
| EP1317631B1 (de) | Verbindungsteil für montageschienen | |
| DE69934733T2 (de) | Vorrichtung und Verfahren zum Befestigen einer Gewindestange an einer Profilschiene | |
| EP0403427B1 (de) | Einspannvorrichtung für auf einer Werkzeugmaschine zu bearbeitende Werkstücke | |
| DE3590456C2 (de) | Klemmvorrichtung | |
| DE112010000441T5 (de) | Bolzenhalteranordnung | |
| DE9007599U1 (de) | Geräteträger | |
| EP2416042A2 (de) | Justierbare Aufhängevorrichtung | |
| EP1312852B1 (de) | System zur Bildung einer Standwand für Flachbildschirmgeräte | |
| DE69210796T3 (de) | Klammer, insbesondere zur Befestigung von Heizkörpern | |
| EP1102011B1 (de) | Befestigungssystem zum Befestigen von Gegenständen an einem Heizkörper | |
| EP0417177B1 (de) | Regalsystem | |
| EP3991921B1 (de) | Halteranordnung für eine montagestruktur sowie ordnungssystem mit der halteranordnung | |
| DE69406496T2 (de) | Lösbare Verbindung für Büromöbel | |
| EP1624198A2 (de) | Verbindungsbeschlag für Platten, insbesondere für Tablare | |
| DE202020107618U1 (de) | Verbindungssystem für Stellwände bzw. bewegliche Trennwände | |
| DE202017107484U1 (de) | Tragvorrichtung mit einem Tragarm zum Tragen eines Gegenstandes | |
| DE8913563U1 (de) | Vorrichtung mit Drahthaltern zum Verspannen eines Haltedrahtes | |
| DE19527280A1 (de) | Zugentlastung für Leitungen | |
| CH368599A (de) | Versetzbare Glaszwischenwand | |
| DE202017101918U1 (de) | Haltevorrichtung, insbesondere für Tablet-PCs | |
| DE102021006385A1 (de) | Wandbefestigungssystem mit Schiene und Trägerelement | |
| EP1851448A1 (de) | Befestigungssystem für wenigstens eine fluidische komponente einer chromatographieeinrichtung | |
| EP4528190A1 (de) | Tragvorrichtung für eine ausziehbare lade in einem kühlschrank | |
| EP0187175A1 (de) | Befestigungsvorrichtung für Regalelemente |
Legal Events
| Date | Code | Title | Description |
|---|---|---|---|
| PUAI | Public reference made under article 153(3) epc to a published international application that has entered the european phase |
Free format text: ORIGINAL CODE: 0009012 |
|
| AK | Designated contracting states |
Kind code of ref document: A2 Designated state(s): AT BE CH CY DE DK ES FI FR GB GR IE IT LI LU MC NL PT SE |
|
| AX | Request for extension of the european patent |
Free format text: AL;LT;LV;MK;RO;SI |
|
| PUAL | Search report despatched |
Free format text: ORIGINAL CODE: 0009013 |
|
| AK | Designated contracting states |
Kind code of ref document: A3 Designated state(s): AT BE CH CY DE DK ES FI FR GB GR IE IT LI LU MC NL PT SE |
|
| AX | Request for extension of the european patent |
Free format text: AL;LT;LV;MK;RO;SI |
|
| 17P | Request for examination filed |
Effective date: 20030603 |
|
| AKX | Designation fees paid |
Designated state(s): AT BE CH CY DE DK ES FI FR GB GR IE IT LI LU MC NL PT SE |
|
| GRAP | Despatch of communication of intention to grant a patent |
Free format text: ORIGINAL CODE: EPIDOSNIGR1 |
|
| GRAS | Grant fee paid |
Free format text: ORIGINAL CODE: EPIDOSNIGR3 |
|
| GRAA | (expected) grant |
Free format text: ORIGINAL CODE: 0009210 |
|
| AK | Designated contracting states |
Kind code of ref document: B1 Designated state(s): AT BE CH CY DE DK ES FI FR GB GR IE IT LI LU MC NL PT SE |
|
| PG25 | Lapsed in a contracting state [announced via postgrant information from national office to epo] |
Ref country code: IT Free format text: LAPSE BECAUSE OF FAILURE TO SUBMIT A TRANSLATION OF THE DESCRIPTION OR TO PAY THE FEE WITHIN THE PRE;WARNING: LAPSES OF ITALIAN PATENTS WITH EFFECTIVE DATE BEFORE 2007 MAY HAVE OCCURRED AT ANY TIME BEFORE 2007. THE CORRECT EFFECTIVE DATE MAY BE DIFFERENT FROM THE ONE RECORDED.SCRIBED TIME-LIMIT Effective date: 20060726 Ref country code: IE Free format text: LAPSE BECAUSE OF FAILURE TO SUBMIT A TRANSLATION OF THE DESCRIPTION OR TO PAY THE FEE WITHIN THE PRESCRIBED TIME-LIMIT Effective date: 20060726 Ref country code: FI Free format text: LAPSE BECAUSE OF FAILURE TO SUBMIT A TRANSLATION OF THE DESCRIPTION OR TO PAY THE FEE WITHIN THE PRESCRIBED TIME-LIMIT Effective date: 20060726 Ref country code: NL Free format text: LAPSE BECAUSE OF FAILURE TO SUBMIT A TRANSLATION OF THE DESCRIPTION OR TO PAY THE FEE WITHIN THE PRESCRIBED TIME-LIMIT Effective date: 20060726 |
|
| REG | Reference to a national code |
Ref country code: GB Ref legal event code: FG4D Free format text: NOT ENGLISH |
|
| REG | Reference to a national code |
Ref country code: CH Ref legal event code: EP |
|
| REG | Reference to a national code |
Ref country code: IE Ref legal event code: FG4D Free format text: LANGUAGE OF EP DOCUMENT: GERMAN |
|
| REF | Corresponds to: |
Ref document number: 50013225 Country of ref document: DE Date of ref document: 20060907 Kind code of ref document: P |
|
| REG | Reference to a national code |
Ref country code: CH Ref legal event code: NV Representative=s name: E. BLUM & CO. PATENTANWAELTE |
|
| PG25 | Lapsed in a contracting state [announced via postgrant information from national office to epo] |
Ref country code: DK Free format text: LAPSE BECAUSE OF FAILURE TO SUBMIT A TRANSLATION OF THE DESCRIPTION OR TO PAY THE FEE WITHIN THE PRESCRIBED TIME-LIMIT Effective date: 20061026 Ref country code: SE Free format text: LAPSE BECAUSE OF FAILURE TO SUBMIT A TRANSLATION OF THE DESCRIPTION OR TO PAY THE FEE WITHIN THE PRESCRIBED TIME-LIMIT Effective date: 20061026 |
|
| PG25 | Lapsed in a contracting state [announced via postgrant information from national office to epo] |
Ref country code: MC Free format text: LAPSE BECAUSE OF NON-PAYMENT OF DUE FEES Effective date: 20061031 |
|
| PG25 | Lapsed in a contracting state [announced via postgrant information from national office to epo] |
Ref country code: ES Free format text: LAPSE BECAUSE OF FAILURE TO SUBMIT A TRANSLATION OF THE DESCRIPTION OR TO PAY THE FEE WITHIN THE PRESCRIBED TIME-LIMIT Effective date: 20061106 |
|
| GBT | Gb: translation of ep patent filed (gb section 77(6)(a)/1977) |
Effective date: 20061020 |
|
| PG25 | Lapsed in a contracting state [announced via postgrant information from national office to epo] |
Ref country code: PT Free format text: LAPSE BECAUSE OF FAILURE TO SUBMIT A TRANSLATION OF THE DESCRIPTION OR TO PAY THE FEE WITHIN THE PRESCRIBED TIME-LIMIT Effective date: 20061226 |
|
| NLV1 | Nl: lapsed or annulled due to failure to fulfill the requirements of art. 29p and 29m of the patents act | ||
| ET | Fr: translation filed | ||
| REG | Reference to a national code |
Ref country code: IE Ref legal event code: FD4D |
|
| PLBE | No opposition filed within time limit |
Free format text: ORIGINAL CODE: 0009261 |
|
| STAA | Information on the status of an ep patent application or granted ep patent |
Free format text: STATUS: NO OPPOSITION FILED WITHIN TIME LIMIT |
|
| 26N | No opposition filed |
Effective date: 20070427 |
|
| REG | Reference to a national code |
Ref country code: CH Ref legal event code: PFA Owner name: ZEHNDER VERKAUFS- UND VERWALTUNGS AG Free format text: ZEHNDER VERKAUFS- UND VERWALTUNGS AG#MOORTALSTRASSE 1#5722 GRAENICHEN (CH) -TRANSFER TO- ZEHNDER VERKAUFS- UND VERWALTUNGS AG#MOORTALSTRASSE 1#5722 GRAENICHEN (CH) |
|
| PG25 | Lapsed in a contracting state [announced via postgrant information from national office to epo] |
Ref country code: GR Free format text: LAPSE BECAUSE OF FAILURE TO SUBMIT A TRANSLATION OF THE DESCRIPTION OR TO PAY THE FEE WITHIN THE PRESCRIBED TIME-LIMIT Effective date: 20061027 |
|
| PG25 | Lapsed in a contracting state [announced via postgrant information from national office to epo] |
Ref country code: LU Free format text: LAPSE BECAUSE OF NON-PAYMENT OF DUE FEES Effective date: 20061007 |
|
| PG25 | Lapsed in a contracting state [announced via postgrant information from national office to epo] |
Ref country code: CY Free format text: LAPSE BECAUSE OF FAILURE TO SUBMIT A TRANSLATION OF THE DESCRIPTION OR TO PAY THE FEE WITHIN THE PRESCRIBED TIME-LIMIT Effective date: 20060726 |
|
| PGFP | Annual fee paid to national office [announced via postgrant information from national office to epo] |
Ref country code: AT Payment date: 20101014 Year of fee payment: 11 |
|
| PGFP | Annual fee paid to national office [announced via postgrant information from national office to epo] |
Ref country code: GB Payment date: 20101021 Year of fee payment: 11 Ref country code: IT Payment date: 20101025 Year of fee payment: 11 |
|
| PGFP | Annual fee paid to national office [announced via postgrant information from national office to epo] |
Ref country code: FR Payment date: 20111103 Year of fee payment: 12 Ref country code: BE Payment date: 20111013 Year of fee payment: 12 Ref country code: CH Payment date: 20111024 Year of fee payment: 12 |
|
| REG | Reference to a national code |
Ref country code: AT Ref legal event code: MM01 Ref document number: 334350 Country of ref document: AT Kind code of ref document: T Effective date: 20111007 |
|
| PG25 | Lapsed in a contracting state [announced via postgrant information from national office to epo] |
Ref country code: AT Free format text: LAPSE BECAUSE OF NON-PAYMENT OF DUE FEES Effective date: 20111007 |
|
| BERE | Be: lapsed |
Owner name: *ZEHNDER VERKAUFS- UND VERWALTUNGS A.G. Effective date: 20121031 |
|
| REG | Reference to a national code |
Ref country code: CH Ref legal event code: PL |
|
| GBPC | Gb: european patent ceased through non-payment of renewal fee |
Effective date: 20121007 |
|
| REG | Reference to a national code |
Ref country code: FR Ref legal event code: ST Effective date: 20130628 |
|
| PG25 | Lapsed in a contracting state [announced via postgrant information from national office to epo] |
Ref country code: BE Free format text: LAPSE BECAUSE OF NON-PAYMENT OF DUE FEES Effective date: 20121031 Ref country code: LI Free format text: LAPSE BECAUSE OF NON-PAYMENT OF DUE FEES Effective date: 20121031 Ref country code: CH Free format text: LAPSE BECAUSE OF NON-PAYMENT OF DUE FEES Effective date: 20121031 Ref country code: GB Free format text: LAPSE BECAUSE OF NON-PAYMENT OF DUE FEES Effective date: 20121007 |
|
| PG25 | Lapsed in a contracting state [announced via postgrant information from national office to epo] |
Ref country code: IT Free format text: LAPSE BECAUSE OF NON-PAYMENT OF DUE FEES Effective date: 20121007 Ref country code: FR Free format text: LAPSE BECAUSE OF NON-PAYMENT OF DUE FEES Effective date: 20121031 |
|
| REG | Reference to a national code |
Ref country code: DE Ref legal event code: R082 Ref document number: 50013225 Country of ref document: DE Representative=s name: STENGER WATZKE RING INTELLECTUAL PROPERTY, DE Ref country code: DE Ref legal event code: R081 Ref document number: 50013225 Country of ref document: DE Owner name: ZEHNDER GROUP INTERNATIONAL AG, CH Free format text: FORMER OWNER: ZEHNDER VERKAUFS- UND VERWALTUNGS-AG, GRAENICHEN, CH Ref country code: DE Ref legal event code: R082 Ref document number: 50013225 Country of ref document: DE Representative=s name: RAUSCH WANISCHECK-BERGMANN BRINKMANN PARTNERSC, DE |
|
| REG | Reference to a national code |
Ref country code: DE Ref legal event code: R082 Ref document number: 50013225 Country of ref document: DE Representative=s name: RAUSCH WANISCHECK-BERGMANN BRINKMANN PARTNERSC, DE |
|
| PGFP | Annual fee paid to national office [announced via postgrant information from national office to epo] |
Ref country code: DE Payment date: 20181019 Year of fee payment: 19 |
|
| REG | Reference to a national code |
Ref country code: DE Ref legal event code: R119 Ref document number: 50013225 Country of ref document: DE |
|
| PG25 | Lapsed in a contracting state [announced via postgrant information from national office to epo] |
Ref country code: DE Free format text: LAPSE BECAUSE OF NON-PAYMENT OF DUE FEES Effective date: 20200501 |