EP1078552B1 - Vorrichtung zur dynamischen anregung von plattenlautsprechern - Google Patents

Vorrichtung zur dynamischen anregung von plattenlautsprechern Download PDF

Info

Publication number
EP1078552B1
EP1078552B1 EP99926308A EP99926308A EP1078552B1 EP 1078552 B1 EP1078552 B1 EP 1078552B1 EP 99926308 A EP99926308 A EP 99926308A EP 99926308 A EP99926308 A EP 99926308A EP 1078552 B1 EP1078552 B1 EP 1078552B1
Authority
EP
European Patent Office
Prior art keywords
sound panel
driver
sound
panel
core layer
Prior art date
Legal status (The legal status is an assumption and is not a legal conclusion. Google has not performed a legal analysis and makes no representation as to the accuracy of the status listed.)
Expired - Lifetime
Application number
EP99926308A
Other languages
English (en)
French (fr)
Other versions
EP1078552A1 (de
Inventor
Wolfgang Bachmann
Gerhard Krump
Hans-Jürgen Regl
Current Assignee (The listed assignees may be inaccurate. Google has not performed a legal analysis and makes no representation or warranty as to the accuracy of the list.)
Harman Audio Electronic Systems GmbH
Original Assignee
Harman Audio Electronic Systems GmbH
Priority date (The priority date is an assumption and is not a legal conclusion. Google has not performed a legal analysis and makes no representation as to the accuracy of the date listed.)
Filing date
Publication date
Application filed by Harman Audio Electronic Systems GmbH filed Critical Harman Audio Electronic Systems GmbH
Publication of EP1078552A1 publication Critical patent/EP1078552A1/de
Application granted granted Critical
Publication of EP1078552B1 publication Critical patent/EP1078552B1/de
Anticipated expiration legal-status Critical
Expired - Lifetime legal-status Critical Current

Links

Images

Classifications

    • HELECTRICITY
    • H04ELECTRIC COMMUNICATION TECHNIQUE
    • H04RLOUDSPEAKERS, MICROPHONES, GRAMOPHONE PICK-UPS OR LIKE ACOUSTIC ELECTROMECHANICAL TRANSDUCERS; ELECTRIC HEARING AIDS; PUBLIC ADDRESS SYSTEMS
    • H04R7/00Diaphragms for electromechanical transducers; Cones
    • H04R7/02Diaphragms for electromechanical transducers; Cones characterised by the construction
    • H04R7/04Plane diaphragms
    • H04R7/06Plane diaphragms comprising a plurality of sections or layers
    • HELECTRICITY
    • H04ELECTRIC COMMUNICATION TECHNIQUE
    • H04RLOUDSPEAKERS, MICROPHONES, GRAMOPHONE PICK-UPS OR LIKE ACOUSTIC ELECTROMECHANICAL TRANSDUCERS; ELECTRIC HEARING AIDS; PUBLIC ADDRESS SYSTEMS
    • H04R7/00Diaphragms for electromechanical transducers; Cones
    • H04R7/02Diaphragms for electromechanical transducers; Cones characterised by the construction
    • H04R7/04Plane diaphragms
    • H04R7/045Plane diaphragms using the distributed mode principle, i.e. whereby the acoustic radiation is emanated from uniformly distributed free bending wave vibration induced in a stiff panel and not from pistonic motion
    • HELECTRICITY
    • H04ELECTRIC COMMUNICATION TECHNIQUE
    • H04RLOUDSPEAKERS, MICROPHONES, GRAMOPHONE PICK-UPS OR LIKE ACOUSTIC ELECTROMECHANICAL TRANSDUCERS; ELECTRIC HEARING AIDS; PUBLIC ADDRESS SYSTEMS
    • H04R9/00Transducers of moving-coil, moving-strip, or moving-wire type
    • H04R9/06Loudspeakers
    • HELECTRICITY
    • H04ELECTRIC COMMUNICATION TECHNIQUE
    • H04RLOUDSPEAKERS, MICROPHONES, GRAMOPHONE PICK-UPS OR LIKE ACOUSTIC ELECTROMECHANICAL TRANSDUCERS; ELECTRIC HEARING AIDS; PUBLIC ADDRESS SYSTEMS
    • H04R9/00Transducers of moving-coil, moving-strip, or moving-wire type
    • H04R9/06Loudspeakers
    • H04R9/066Loudspeakers using the principle of inertia

Definitions

  • the invention relates to a device for dynamic excitation of Record speakers according to the preamble of claim 1.
  • Such devices are for example from US-A-4 514 599, WO-A-97 09859 and WO-A-98 52383 (prior art under Article 54 (3) EPC).
  • Multi-resonance plates are significantly more complex because of the strong edge reflections.
  • This complexity in multi-resonance plates arises from the fact that the Main lobe with frequency-dependent direction from a plurality of other such Main lobes is superimposed, so that a highly diversified directional diagram arises, which is also very frequency dependent.
  • multi-resonance plates have in common that their directional diagrams tend to be on average point away from the perpendicular. This behavior causes the room is more closely involved in the projection of the sound waves.
  • the sound panel is built on the sandwich principle, by two each other opposite surfaces of a very light core layer each with a thin cover layer are connected for example by gluing. So that Sound panel has good sound reproduction properties, the material for the top layer have a particularly high expansion shaft speed.
  • Suitable cover layer materials are, for example, thin metal foils or also fiber-reinforced plastic films.
  • the core layer There are also special requirements for the core layer. That's the way it is necessary that the usable materials have a low mass density and have low damping.
  • the materials for the Core layer as high a shear modulus perpendicular to the surfaces have, which are connected to the cover layers.
  • the materials usable for core layers in the direction in which later the core layer formed from this material is its largest Has a very low modulus of elasticity. This in relation at first glance contradicting the last two requirements Requirements are most likely to be met by a core layer, the one Hole structure with between the two for coating with the Breakthroughs provided with surface layers preferably has a small cross section.
  • hard foams can also be used as core layer materials because despite their isotropic material properties, these are still suitable shear and have moduli of elasticity. Not to be left unmentioned in this The connection remains that when using rigid foams as material for the core layer, the cover layers have the task of doing the required produce anisotropic behavior of the sound panel.
  • the invention has for its object a plate speaker or better a holder for drivers of multi-resonance plate speakers specify which are connected to the sound panel, but despite the connection with the sound panel do not or only insignificantly hinder its deformation.
  • the Sound panel 11 is a section AA according to FIG. 2 through a plate loudspeaker 10 shown.
  • This plate speaker 10 is essentially one Sound panel 11 and an electromagnetic driver 12 formed.
  • the Sound panel 11 consists of a hard foam Core layer 11 ', which is connected to two cover layers 11 ".
  • the core layer 11 can also be a Have a honeycomb structure.
  • a recess 13 is milled into the sound panel 11, which houses the driver 12.
  • the driver 12 is essentially one Pot-shaped yoke arrangement 14, a permanent magnet 15 and one with a voice coil 16 provided voice coil support 17 is formed.
  • the Voice coil former 17 is also pot-shaped and with its Bottom 17 'connected to the core layer 11' via a plate 18.
  • the Voice coil former 17 by means of a centering membrane 20 with the Inference arrangement 14 connected.
  • page 21 is provided with a bracket 22.
  • This bracket 22nd is provided with three tabs 23 (Fig. 2), which the lateral distance A span between the yoke arrangement 14 and the core layer 11 '.
  • the holder 22 with the tabs 23 made of plastic. Unless a good one If heat dissipation from the driver 12 is desired, the holder 22 can also be used Metal be formed or be reduced to only the tabs 23.
  • Fig. 3 shows a plate speaker, in which the driver 12 is not in the Sound panel 11 is integrated, but is attached to the outside of the sound panel 11.
  • a holder 22 is provided to accommodate the weight of the driver 12, which has an elastic member 25 in the form of a corrugated contour.
  • the holder 22 is formed all the way around and continuously connected to the sound panel 11. Which is through this continuous connection resulting stiffening of the sound panel 11 thereby diminished that the elastic member 25 in the shape of the corrugated Contour can yield to the embossed bending shafts.
  • the driver 12 is also on the outside Sound panel 11 attached and connected to this by means of a bracket 22. Similar to the plate loudspeaker according to FIG. 1, the holder 22 4 also only three tabs 23, which extend from the driver 12 to the sound panel 11 guided and connected to it at points 24 (Fig. 5). As a result of that the tabs 23 have a curved contour (Fig. 4), they act at the same time as elastic members 25 and thus support the free Mobility of the sound panel 11 during operation.
  • the plate loudspeaker according to FIGS. 1 and 2 is still added that the flat tabs 23 used there also with a elastic member 25 can be provided.
  • This elastic member 25 can be provided, for example, in that the tabs 23 are very thin are formed and / or the distance A between the core layer 11 'and the yoke arrangement 14 is enlarged.
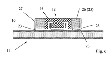
  • FIG. 6 shows a section along the center line through a plate loudspeaker 10 according to the invention shown with driver 12 attached to the side.
  • the bracket 22 between the Driver 12 and the sound panel 11 is solved so that the inference arrangement 14 is connected to a ring 26 made of elastic material.
  • This ring 26, which acts as an elastic member 25, was in the present case made of a foam formed and is inserted into a tube 27.
  • the facing the sound panel 11 The end face 28 of the tube 27 is provided with three tabs 23 (only two of which are visible in FIG. 6) are provided, which establish the connection to the sound panel 11. at In this embodiment, the decoupled connection between the driver 12 and the sound panel 11 by a combination of an elastic member 25 and an attachment reduced to three (connection) points 24.
  • modifications of the shown Brackets 22 are possible. For example, it is possible to mount the bracket 22 4 and 6 so that they change one in the sound panel 11 according to FIGS Fig 1 integrated driver 12 attached.

Landscapes

  • Engineering & Computer Science (AREA)
  • Physics & Mathematics (AREA)
  • Acoustics & Sound (AREA)
  • Signal Processing (AREA)
  • Multimedia (AREA)
  • Diaphragms For Electromechanical Transducers (AREA)
  • Audible-Bandwidth Dynamoelectric Transducers Other Than Pickups (AREA)

Description

Technisches Gebiet
Die Erfindung betrifft eine Vorrichtung zur dynamischen Anregung von Plattenlautsprechern gemäß dem Oberbegriff des Anspruchs 1.
Stand der Technik
Derartige Vorrichtungen sind beispielsweise aus der US-A-4 514 599, WO-A-97 09859 und der WO-A-98 52383 (Stand der Technik gemäß Artikel 54(3) EPÜ) bekannt.
Gemäß dem Stand der Technik sind Schallwiedergabeanordnungen bekannt, die nach dem Biegewellenprinzip arbeiten. Derartige Anordnungen, welche auch als Multiresonanzplattenlautsprecher bezeichnet werden, werden im wesentlichen von einem Klangpaneel und wenigstens einem Antriebssystem in der Form eines Treibers gebildet, wobei das Klangpaneel in Schwingungen versetzt wird, wenn den Treibern elektrische Tonsignale zugeführt werden. Charakteristisch für solche Schallwiedergabeanordnungen ist, daß ab einer kritischen unteren Grenzfrequenz eine "Biegewellenabstrahlung" möglich wird, wobei die Biegewellen in der Ebene des jeweiligen Paneels zu einer Schallabstrahlung mit frequenzabhängiger Richtung führen. Mit anderen Worten, ein Schnitt durch ein erstelltes Richtdiagramm zeigt eine Hauptkeule, deren Richtung frequenzabhängig ist. Diese Verhältnisse sind für unendlich ausgedehnte Platten vollständig gültig, während die Verhältnisse für die in dieser Anmeldung behandelten Multiresonanzplatten wegen der starken Randreflexe deutlich komplexer sind. Diese Komplexität bei Multiresonanzplatten rührt daher, daß die genannte Hauptkeule mit frequenzabhängiger Richtung von einer Mehrzahl weiterer solcher Hauptkeulen überlagert wird, so daß ein stark aufgefächertes Richtdiagramm entsteht, welches außerdem sehr frequenzabhängig ist. Den hier behandelten Multiresonanzplatten ist aber gemein, daß ihre Richtdiagramme im Mittel eher von der Mittelsenkrechten wegweisen. Dieses Verhalten bewirkt, daß der Raum stärker in die Projektion der Schallwellen einbezogen wird.
Das Klangpaneel ist nach dem Sandwich-Prinzip aufgebaut, indem zwei einander gegenüberliegende Oberflächen einer sehr leichten Kernschicht jeweils mit einer dünnen Deckschicht beispielsweise durch Verklebung verbunden sind. Damit das Klangpaneel gute Schallwiedergabeeigenschaften aufweist, muß das Material für die Deckschicht eine besonders hohe Dehnwellengeschwindigkeit haben.
Geeignete Deckschichtmaterialien sind beispielsweise dünne Metallfolien oder auch faserverstärkte Kunststoffolien.
Auch an die Kernschicht werden besondere Anforderungen gestellt. So ist es notwendig, daß die einsetzbaren Materialien eine geringe Massendichte und eine geringe Dämpfung aufweisen. Außerdem müssen die Materialien für die Kernschicht einen möglichst hohen Schermodul senkrecht zu den Oberflächen haben, die mit den Deckschichten verbunden werden. Schließlich ist notwendig, daß die für Kernschichten verwendbaren Materialien in der Richtung, in welcher später die jeweils aus diesem Material gebildete Kernschicht ihre größte Ausdehnung hat, einem sehr geringen Elastizitätsmodul besitzen. Diese in bezug auf die beiden letzten Anforderungen auf den ersten Blick widersprüchlichen Voraussetzungen werden am ehesten von einer Kernschicht erfüllt, die eine Lochstruktur mit zwischen den beiden für die Beschichtung mit den Deckschichten vorgesehenen Oberflächen verlaufenden Durchbrüchen mit vorzugsweise geringem Querschnitt aufweist. Neben den Kernschichten mit der Lochstruktur sind auch Hartschäume als Kernschichtmaterialien einsetzbar, weil diese trotz ihrer isotropen Materialeigenschaften immer noch geeignete Scher- und Elastizitätsmodule aufweisen. Nicht unerwähnt soll in diesem Zusammenhang bleiben, daß bei der Verwendung von Hartschäumen als Material für die Kernschicht die Deckschichten die Aufgabe haben, das geforderte anisotrope Verhalten des Klangpaneels herzustellen.
Um mittels eines oben beschriebenen Klangpaneels Schallwellen abzustrahlen ist es notwendig, das Klangpaneel mit mindestens einem Treiber zu verbinden, welcher dann das Klangpaneel senkrecht zur Ebene der Deckschichten durch zeitvariable Krafteinwirkung zu Schwingungen anregt. Um dies zu realisieren werden nach dem Stand der Technik allgemein elektrodynamische Antriebssysteme verwendet, wie sie im Prinzip auch zum Antrieb von herkömmlichen Lautsprechern verwendet werden. Damit diese Antriebssysteme auch die zur Anregung von Biegewellen notwendige Verformung des Klangpaneels herbeiführen, werden die Treiber überlicherweise mit entsprechenden Gegenlagern versehen. Diese Gegenlager können beispielsweise von einer Stützstruktur gebildet werden, die im Abstand zu einer der beiden Deckfolien angeordnet ist und die Antriebssysteme aufnimmt. Abgesehen davon, daß eine solche Stützstruktur nicht nur die Bautiefe und das Gewicht solcher Anordnungen erhöht, bedingen solche Stützstrukturen auch einen nicht unerheblichen Herstellungsaufwand. Deshalb könnt man sich vorstellen, die als Gegenlager für die Antriebssysteme wirkenden Stützstrukturen direkt mit dem Klangpaneel zu verbinden. Nachteilig ist dabei jedoch, daß die mit dem Klangpaneel verbundenen Stützstrukturen die Generierung von Biegewellen im Klangpaneel durch ungünstige Veränderungen der Punktimpedanzen erschweren.
Daher liegt der Erfindung die Aufgabe zugrunde, einen Plattenlautsprecher oder besser eine Halterung für Treiber von Multiresonanzplattenlautsprecher anzugeben, die mit dem Klangpaneel verbunden sind, aber trotz der Verbindung mit dem Klangpaneel dessen Verformung nicht oder nur unwesentlich behindern.
Darstellung der Erfindung
Diese Aufgabe wird mit den Merkmalen gemäß Anspruch 1 gelöst. Vorteilhafte Weiterbildungen der Erfindung sind den Ansprüchen 2-4 entnehmbar.
Ist gemäß Anspruch 1 die Halterung (Ring mit Rohr) des jeweiligen Treibers an drei Stellen mit dem Klangpaneel verbunden, wird zum einen der Treiber am Klangpaneel befestigt and zum weiteren die freie Beweglichkeit des Klangpaneels im Gegensatz zu den sonst üblichen oder denkbaren Verbindungen erheblich verbessert. Vier oder mehr Stellen, mit denen ein Treiber mit dem Klangpaneel verbunden ist, würden zu einer stärkeren Dämpfungführen.
Da der Treiber mittels einer ein elastisches Glied aufweisenden Halterung mit dem Klangpaneel verbunden ist, ist sichergestellt, daß die in das Klangpaneel vom Treiber eingeprägten Biegewellen sich weitgehend frei im Klangpaneel ausbreiten können.
Die nur an drei Punkten mit dem Klangpaneel verbundene Halterung ist erfindungsgemäß mit elastischen Gliedern versehen. Diese elastischen Glieder verstärken die entkoppelte Verbindung zwischen dem Treiber und dem Klangpaneel, da es in allen Fällen auf eine Tieftonabstimmung ankommt, d.h die unterste Eigenresonanz des Systems, Treiber plus Halter, muß deutlich tiefer als die tiefsten interesierenden (Wiedergabe-) Frequenzen liegen.
Kurze Darstellung der Figuren
Es zeigen:
Fig. 1
einen Schnitt durch einen Plattenlautsprecher;
Fig. 2
eine Draufsicht auf einen Plattenlautsprecher ;
Fig. 3
einen Schnitt durch einen Plattenlautsprecher;
Fig. 4
einen Schnitt durch einen weiteren Plattenlautsprecher;
Fig. 5
eine Draufsicht auf einen Plattenlautsprecher gemäß Fig. 4; und
Fig. 6
eine erfindungsgemäße Ausführungsform im Schnitt.
Wege zu Ausführen der Erfindung
Die Erfindung wird nun anhand der Figur 6 in Verbindung mit der diese erläuternden Figuren 1-5 dargestellt.
In Fig. 1 ist ein Schnitt AA gemäß Fig. 2 durch einen Plattenlautsprecher 10 gezeigt. Dieser Plattenlautsprecher 10 wird im wesentlichen von einem Klangpaneel 11 und einem elektromagnetischen Treiber 12 gebildet. Das Klangpaneel 11 besteht aus einer aus einem Hartschaum hergestellten Kernschicht 11', welche mit zwei Deckschichten 11" verbunden ist. Die Kernschicht 11 kann auch eine Wabenstruktur haben. In das Klangpaneel 11 ist eine Ausnehmung 13 eingefräst, welche den Treiber 12 aufnimmt. Der Treiber 12 wird im wesentlichen von einer topfförmigen Rückschlußanordnung 14, einem Dauermagneten 15 und einem mit einer Schwingspule 16 versehen Schwingspulenträger 17 gebildet. Der Schwingspulenträger 17 ist gleichfalls topfförmig ausgebildet und mit seinem Boden 17' mit der Kernschicht 11' über eine Platte 18 verbunden. Der Rand 17'' des Schwingspulenträgers 17, welcher mit der Schwingspule 16 versehen ist, taucht in einen im Treiber 12 belassenen Luftspalt 19 ein. Außerdem ist der Schwingspulenträger 17 mittels einer Zentriermembran 20 mit der Rückschlußanordnung 14 verbunden.
Um den Treiber 12 oder besser die schwere Einheit aus der Rückschlußanordnung 14 und Dauermagnet 15 mit dem Plattenlautsprecher 10 zu verbinden, ist die Seite 21 mit einer Halterung 22 versehen. Diese Halterung 22 ist mit drei Laschen 23 (Fig. 2) versehen, welche den seitlichen Abstand A zwischen der Rückschlußanordnung 14 und der Kernschicht 11' überspannen.
Diese nur an drei Stellen 24 erfolgende Befestigung zwischen dem Treiber 12 und dem Klangpaneel 11 bewirkt, daß die vom Schwingspulenträger 17 während des Betriebs des Plattenlautsprechers 10 in das Klangpaneel 11 eingeprägten Biegewellen weitgehend unbeeinflußt von der Halterung 22 übertragen werden.
Dies ist darauf zurückzuführen, daß die Bereiche B zwischen den einzelnen Laschen 23 (in Fig. 2 nur für einen Bereich zwischen zwei Laschen durch eine Doppelpfeil angedeutet) nicht durch diese versteift werden.
Bei dem in den Fig. 1 und 2 gezeigten Plattenlautsprecher wurde die Halterung 22 mit samt den Laschen 23 aus Kunststoff hergestellt. Sofern eine gute Wärmeableitung vom Treiber 12 gewünscht ist, kann die Halterung 22 auch aus Metall gebildet sein oder auch nur auf die Laschen 23 reduziert sein.
Fig. 3 zeigt einen Plattenlautsprecher, bei welchem der Treiber 12 nicht im Klangpaneel 11 integriert ist, sondern außen am Klangpaneel 11 angesetzt ist. Um das Gewicht des Treibers 12 aufzunehmen ist eine Halterung 22 vorgesehen, welche ein elastisches Glied 25 in der Form einer gewellten Kontur aufweist. Außerdem ist die Halterung 22 gemäß Fig. 3 umlaufend ausgebildet und durchgängig mit dem Klangpaneel 11 verbunden. Die sich durch diese durchgängige Verbindung ergebene Versteifung des Klangpaneels 11 wird dadurch vermindert, daß das elastische Glied 25 in der Form der gewellten Kontur den eingeprägten Biegewellen nachgeben kann.
Auch beim Plattenlautsprecher gemäß der Fig. 4 ist der Treiber 12 außen am Klangpaneel 11 angesetzt und mittels einer Halterung 22 mit diesem verbunden. Ähnlich wie beim Plattenlautsprecher gemäß Fig. 1 umfaßt die Halterung 22 gemäß Fig. 4 auch nur drei Laschen 23, die vom Treiber 12 zum Klangpaneel 11 geführt und an den Stellen 24 mit diesem verbunden sind (Fig. 5). Dadurch, daß die Laschen 23 eine geschwungene Kontur haben (Fig. 4), wirken sie gleichzeitig als elastische Glieder 25 und unterstützen damit die freie Beweglichkeit des Klangpaneels 11 während des Betriebs.
In diesem Zusammenhang sei zu dem Plattenlautsprecher gemäß Fig. 1 und 2 noch nachgetragen, daß die dort verwendeten -flachen- Laschen 23 auch mit einem elastischen Glied 25 versehen sein können. Dieses elastische Glied 25 kann beispielsweise dadurch bereitgestellt werden, daß die Laschen 23 sehr dünn ausgebildet werden und/ oder der Abstand A zwischen der Kernschicht 11' und der Rückschlußanordnung 14 vergrößert wird.
In Fig. 6 ist ein Schnitt entlang der Mittellinie durch einen erfindungsgemäßen Plattenlautsprecher 10 mit seitlich angesetztem Treiber 12 gezeigt. Die Halterung 22 zwischen dem Treiber 12 und dem Klangpaneel 11 ist so gelöst, daß die Rückschlußanordnung 14 mit einen Ring 26 aus elastischem Material verbunden ist. Dieser Ring 26, welcher als elastisches Glied 25 wirkt, wurde vorliegend aus einem Schaumstoff gebildet und ist in ein Rohr 27 eingesetzt. Die dem Klangpaneel 11 zugewandte Stirnseite 28 des Rohrs 27 ist mit drei Laschen 23 (von denen in Fig. 6 aber nur zwei sichtbar sind) versehen, die die Verbindung zum Klangpaneel 11 herstellen. Bei dieser Ausführungsform wird die entkoppelte Verbindung zwischen dem Treiber 12 und dem Klangpaneel 11 durch eine Kombination aus einem elastischen Glied 25 und einer auf drei (Verbindungs-) Stellen 24 reduzierten Befestigung realisiert. Abschließend sei darauf hingewiesen, daß Modifikationen der gezeigten Halterungen 22 möglich sind. So ist es beispielsweise möglich, die Halterung 22 gemäß den Fig. 4 und 6 so zu verändern, daß sie einen im Klangpaneel 11 gemäß Fig 1 integrierten Treiber 12 befestigt.

Claims (4)

  1. Vorrichtung zur dynamischen Anregung von Plattenlautsprechern mit
       einem Klangpaneel (11), das eine Kernschicht (11') und mindestens eine Deckschicht (11'') umfaßt,
       mindestens einem elektromagnetischen Treiber (12), der ein Magnetsystem aufweist, und
       einer Halterung (22), die den Treiber (12) mit dem Klangpaneel (11) verbindet,
       wobei als Halterung (22) des jeweiligen Treibers (12) ein Ring (26) aus elastischem Material vorgesehen ist, der konzentrisch das Magnetsystem umgibt und mit diesem verbunden ist, dadurch gekennzeichnet, daß
       der Ring (26) in einem Rohr (27) angeordnet und mit diesem verbunden ist, wobei die dem Klangpaneel (11) zugewandte Stirnseite (28) des Rohrs (27) anhand von drei Laschen (23) mit dem Klangpaneel (11) verbunden ist.
  2. Vorrichtung nach Anspruch 1, dadurch gekennzeichnet, daß
       der Treiber (12) an das Klangpaneel (11) angesetzt ist.
  3. Vorrichtung nach einem der Ansprüche 1 oder 2, dadurch gekennzeichnet, daß
       als elastisches Material Schaumstoff vorgesehen ist.
  4. Vorrichtung nach einem der Ansprüche 1 bis 3, dadurch gekennzeichnet, daß
       der Ring (26) über seine ganze Innenseite mit dem Magnetsystem und über seine ganze Außenseite mit dem Rohr (27) verbunden ist.
EP99926308A 1998-05-15 1999-05-14 Vorrichtung zur dynamischen anregung von plattenlautsprechern Expired - Lifetime EP1078552B1 (de)

Applications Claiming Priority (3)

Application Number Priority Date Filing Date Title
DE19821861A DE19821861A1 (de) 1998-05-15 1998-05-15 Vorrichtung zur dynamischen Anregung von Plattenlautsprechern
DE19821861 1998-05-15
PCT/EP1999/003309 WO1999060817A1 (de) 1998-05-15 1999-05-14 Vorrichtung zur dynamischen anregung von plattenlautsprechern

Publications (2)

Publication Number Publication Date
EP1078552A1 EP1078552A1 (de) 2001-02-28
EP1078552B1 true EP1078552B1 (de) 2003-03-05

Family

ID=7867904

Family Applications (1)

Application Number Title Priority Date Filing Date
EP99926308A Expired - Lifetime EP1078552B1 (de) 1998-05-15 1999-05-14 Vorrichtung zur dynamischen anregung von plattenlautsprechern

Country Status (4)

Country Link
US (1) US6494289B1 (de)
EP (1) EP1078552B1 (de)
DE (2) DE19821861A1 (de)
WO (1) WO1999060817A1 (de)

Families Citing this family (17)

* Cited by examiner, † Cited by third party
Publication number Priority date Publication date Assignee Title
DE19821855A1 (de) 1998-05-15 1999-11-18 Nokia Deutschland Gmbh Plattenlautsprecher
DE19821862A1 (de) 1998-05-15 1999-11-18 Nokia Deutschland Gmbh Schallwiedergabeanordnung
DE19825866A1 (de) 1998-06-10 1999-12-16 Nokia Deutschland Gmbh Plattenlautsprecher
GB2360665B (en) * 1998-06-22 2003-01-15 Slab Technology Ltd Loudspeakers
DE19843079A1 (de) 1998-09-19 2000-03-23 Nokia Deutschland Gmbh Multiresonanzplatte
DE10001410C2 (de) * 2000-01-14 2001-12-06 Harman Audio Electronic Sys Flachlautsprecheranordnung
GB0314007D0 (en) * 2003-06-17 2003-07-23 Harris Hynd Ltd Audio transducer
WO2005002926A1 (de) * 2003-07-01 2005-01-13 Johnson Controls Gmbh Ausstattungsteil für ein fahrzeug, insbesondere ein kraftfahrzeug und verwendung eines ausstattungsteils als lautsprecher
EP1757161B1 (de) * 2004-05-14 2016-11-30 Sonion Nederland B.V. Elektroakustischer wandler mit doppelter membran
KR101219041B1 (ko) * 2005-07-07 2013-01-07 삼성디스플레이 주식회사 박막 트랜지스터 표시판 및 그 제조 방법
KR101386708B1 (ko) * 2005-10-21 2014-04-18 에스에프엑스 테크놀로지스 리미티드 음향을 방사시키도록 구성된 전자 디바이스 및 그 방법
US7530425B2 (en) * 2006-06-08 2009-05-12 Whitaker Scott R Speaker enclosure for a ceiling or wall mounted speaker method and apparatus
US20150304745A1 (en) * 2012-03-16 2015-10-22 Nokia Corporation A sound producing vibrating surface
US9154862B2 (en) * 2013-06-27 2015-10-06 The Boeing Company Flat panel loudspeaker system
US9014413B2 (en) 2013-08-21 2015-04-21 The Boeing Company Dual coil loudspeaker system
US10848874B2 (en) * 2018-02-20 2020-11-24 Google Llc Panel audio loudspeaker electromagnetic actuator
US10841704B2 (en) 2018-04-06 2020-11-17 Google Llc Distributed mode loudspeaker electromagnetic actuator with axially and radially magnetized circuit

Family Cites Families (12)

* Cited by examiner, † Cited by third party
Publication number Priority date Publication date Assignee Title
US3720285A (en) * 1970-06-30 1973-03-13 Rand Org Ltd Loudspeakers
JPS603277B2 (ja) * 1978-06-15 1985-01-26 ソニー株式会社 スピーカ装置
JPS5568795A (en) * 1978-11-20 1980-05-23 Sony Corp Speaker
DE3172790D1 (en) * 1980-12-19 1985-12-05 Nissan Motor Speaker for automotive vehicle audio system
US4506759A (en) * 1983-06-20 1985-03-26 Northern Telecom Limited Loudspeaker enclosure arrangement for voice communication terminals
US4899390A (en) * 1986-09-19 1990-02-06 Matsushita Electric Industrial Co., Ltd. Thin speaker having an enclosure within an open portion and a closed portion
DE3811052C1 (de) * 1988-03-31 1989-08-24 Messerschmitt-Boelkow-Blohm Gmbh, 8012 Ottobrunn, De
TR199800369T1 (xx) * 1995-09-02 1998-05-21 New Transducers Limited Titre�im d�n��t�r�c�leri.
US6192136B1 (en) * 1995-09-02 2001-02-20 New Transducers Limited Inertial vibration transducers
BR9610436A (pt) * 1995-09-02 1999-02-17 New Transducers Ltd Transdutors de vibração inerciais
GB9709438D0 (en) * 1997-05-10 1997-07-02 New Transducers Ltd Loudspeaker transducer
US6229903B1 (en) * 1999-06-14 2001-05-08 Citizen Electronics Co., Ltd. Mounting structure for electromagnetic sound generator

Also Published As

Publication number Publication date
EP1078552A1 (de) 2001-02-28
DE19821861A1 (de) 1999-11-18
DE59904458D1 (de) 2003-04-10
US6494289B1 (en) 2002-12-17
WO1999060817A1 (de) 1999-11-25

Similar Documents

Publication Publication Date Title
EP1078552B1 (de) Vorrichtung zur dynamischen anregung von plattenlautsprechern
DE19757098C2 (de) Aufhängung für Schallwiedergabeanordnungen nach dem Biegewellenprinzip
DE69602203T2 (de) Paneelförmige lautsprecher
DE69602101T2 (de) Inertial-schwingungswandler
EP0924959B1 (de) Schallwiedergabeanordnung
DE69601725T2 (de) Lautsprecher mit paneelförmigen akustischen abstrahlelementen
DE69602102T2 (de) Inertial schwingungswandler
DE69601734T2 (de) Schwingungswandler
DE69919974T2 (de) Gerät mit zwei relativ zueinander beweglichen koaxialen körpern in richtung einer translationsachse
EP1077014B1 (de) FLACHES KLANGPANEEL mit Treiber
DE69602204T2 (de) PANEELFöRMIGE MIKROFONE
DE69602279T2 (de) Lautsprecher mit paneelförmigen akustischen abstrahlelementen
DE2924204A1 (de) Lautsprecher und verfahren zu dessen herstellung
EP1078551B1 (de) Plattenlautsprecher
EP1078553B1 (de) Schallwiedergabeanordnung nach dem biegewellenprinzip
DE69637460T2 (de) Lautsprecher mit Mehrpunktantrieb
EP1086606B1 (de) Plattenlautsprecher
DE19840375C2 (de) Schallwand
DE10025460B4 (de) Hochtonlautsprecher
DE60004678T2 (de) Biegewellen-plattenlautsprecher und verfahren zum betreiben desselben
DE4335087B4 (de) Verfahren und Wandler zum Wandeln der mechanischen Schwingung eines Treibers in ein akustisches Signal
DE19747955C2 (de) Lautsprecher
DE19806509B4 (de) Gerät zur Informationswiedergabe
WO2000002415A1 (de) Lautsprecher

Legal Events

Date Code Title Description
PUAI Public reference made under article 153(3) epc to a published international application that has entered the european phase

Free format text: ORIGINAL CODE: 0009012

17P Request for examination filed

Effective date: 20001114

AK Designated contracting states

Kind code of ref document: A1

Designated state(s): DE FR GB IT NL SE

RIN1 Information on inventor provided before grant (corrected)

Inventor name: REGL, HANS-JUERGEN

Inventor name: KRUMP, GERHARD

Inventor name: BACHMANN, WOLFGANG

17Q First examination report despatched

Effective date: 20010702

GRAH Despatch of communication of intention to grant a patent

Free format text: ORIGINAL CODE: EPIDOS IGRA

GRAH Despatch of communication of intention to grant a patent

Free format text: ORIGINAL CODE: EPIDOS IGRA

GRAA (expected) grant

Free format text: ORIGINAL CODE: 0009210

AK Designated contracting states

Designated state(s): DE FR GB IT NL SE

PG25 Lapsed in a contracting state [announced via postgrant information from national office to epo]

Ref country code: NL

Free format text: LAPSE BECAUSE OF FAILURE TO SUBMIT A TRANSLATION OF THE DESCRIPTION OR TO PAY THE FEE WITHIN THE PRESCRIBED TIME-LIMIT

Effective date: 20030305

Ref country code: IT

Free format text: LAPSE BECAUSE OF FAILURE TO SUBMIT A TRANSLATION OF THE DESCRIPTION OR TO PAY THE FEE WITHIN THE PRE;WARNING: LAPSES OF ITALIAN PATENTS WITH EFFECTIVE DATE BEFORE 2007 MAY HAVE OCCURRED AT ANY TIME BEFORE 2007. THE CORRECT EFFECTIVE DATE MAY BE DIFFERENT FROM THE ONE RECORDED.SCRIBED TIME-LIMIT

Effective date: 20030305

REG Reference to a national code

Ref country code: GB

Ref legal event code: FG4D

Free format text: NOT ENGLISH

REF Corresponds to:

Ref document number: 59904458

Country of ref document: DE

Date of ref document: 20030410

Kind code of ref document: P

PGFP Annual fee paid to national office [announced via postgrant information from national office to epo]

Ref country code: NL

Payment date: 20030423

Year of fee payment: 5

PG25 Lapsed in a contracting state [announced via postgrant information from national office to epo]

Ref country code: SE

Free format text: LAPSE BECAUSE OF FAILURE TO SUBMIT A TRANSLATION OF THE DESCRIPTION OR TO PAY THE FEE WITHIN THE PRESCRIBED TIME-LIMIT

Effective date: 20030605

GBT Gb: translation of ep patent filed (gb section 77(6)(a)/1977)
NLV1 Nl: lapsed or annulled due to failure to fulfill the requirements of art. 29p and 29m of the patents act
ET Fr: translation filed
PLBE No opposition filed within time limit

Free format text: ORIGINAL CODE: 0009261

STAA Information on the status of an ep patent application or granted ep patent

Free format text: STATUS: NO OPPOSITION FILED WITHIN TIME LIMIT

26N No opposition filed

Effective date: 20031208

REG Reference to a national code

Ref country code: FR

Ref legal event code: PLFP

Year of fee payment: 17

PGFP Annual fee paid to national office [announced via postgrant information from national office to epo]

Ref country code: GB

Payment date: 20150527

Year of fee payment: 17

Ref country code: DE

Payment date: 20150528

Year of fee payment: 17

PGFP Annual fee paid to national office [announced via postgrant information from national office to epo]

Ref country code: FR

Payment date: 20150519

Year of fee payment: 17

REG Reference to a national code

Ref country code: DE

Ref legal event code: R119

Ref document number: 59904458

Country of ref document: DE

GBPC Gb: european patent ceased through non-payment of renewal fee

Effective date: 20160514

REG Reference to a national code

Ref country code: FR

Ref legal event code: ST

Effective date: 20170131

PG25 Lapsed in a contracting state [announced via postgrant information from national office to epo]

Ref country code: FR

Free format text: LAPSE BECAUSE OF NON-PAYMENT OF DUE FEES

Effective date: 20160531

Ref country code: DE

Free format text: LAPSE BECAUSE OF NON-PAYMENT OF DUE FEES

Effective date: 20161201

PG25 Lapsed in a contracting state [announced via postgrant information from national office to epo]

Ref country code: GB

Free format text: LAPSE BECAUSE OF NON-PAYMENT OF DUE FEES

Effective date: 20160514