EP1069191A1 - Abstichvorrichtung sowie Abstichverfahren - Google Patents

Abstichvorrichtung sowie Abstichverfahren Download PDF

Info

Publication number
EP1069191A1
EP1069191A1 EP00113436A EP00113436A EP1069191A1 EP 1069191 A1 EP1069191 A1 EP 1069191A1 EP 00113436 A EP00113436 A EP 00113436A EP 00113436 A EP00113436 A EP 00113436A EP 1069191 A1 EP1069191 A1 EP 1069191A1
Authority
EP
European Patent Office
Prior art keywords
lance
tap
stuffing
opening
hole
Prior art date
Legal status (The legal status is an assumption and is not a legal conclusion. Google has not performed a legal analysis and makes no representation as to the accuracy of the status listed.)
Granted
Application number
EP00113436A
Other languages
English (en)
French (fr)
Other versions
EP1069191B1 (de
Inventor
Bruno Andreoli
Werner Brennwald
Erwin Wachter
Current Assignee (The listed assignees may be inaccurate. Google has not performed a legal analysis and makes no representation or warranty as to the accuracy of the list.)
Kanadevia Inova AG
Original Assignee
Von Roll Umwelttechnik AG
Priority date (The priority date is an assumption and is not a legal conclusion. Google has not performed a legal analysis and makes no representation as to the accuracy of the date listed.)
Filing date
Publication date
Application filed by Von Roll Umwelttechnik AG filed Critical Von Roll Umwelttechnik AG
Publication of EP1069191A1 publication Critical patent/EP1069191A1/de
Application granted granted Critical
Publication of EP1069191B1 publication Critical patent/EP1069191B1/de
Anticipated expiration legal-status Critical
Expired - Lifetime legal-status Critical Current

Links

Images

Classifications

    • CCHEMISTRY; METALLURGY
    • C21METALLURGY OF IRON
    • C21BMANUFACTURE OF IRON OR STEEL
    • C21B7/00Blast furnaces
    • C21B7/12Opening or sealing the tap holes
    • FMECHANICAL ENGINEERING; LIGHTING; HEATING; WEAPONS; BLASTING
    • F27FURNACES; KILNS; OVENS; RETORTS
    • F27DDETAILS OR ACCESSORIES OF FURNACES, KILNS, OVENS OR RETORTS, IN SO FAR AS THEY ARE OF KINDS OCCURRING IN MORE THAN ONE KIND OF FURNACE
    • F27D3/00Charging; Discharging; Manipulation of charge
    • F27D3/15Tapping equipment; Equipment for removing or retaining slag
    • F27D3/1509Tapping equipment
    • F27D3/1536Devices for plugging tap holes, e.g. plugs stoppers

Definitions

  • the invention relates to a tapping device for a Melting furnace according to the preamble of claim 1 and a lance to close and open the tap hole a melting furnace.
  • the invention further relates to a Tapping process for a melting furnace according to the Preamble of claim 14.
  • GB 2 285 675 is a generic tapping device with a filling device for filling the open tap hole with a stuffing and one movable tamping device for inserting a lance into the tap opening is known.
  • the lance a simple one elongated rod, is under impact and Vibrations introduced into the tap hole after the stuffing has been filled in, e.g. with help of a Hammer, and remains there until reopened the tap opening by pulling out the lance.
  • DE 3 803 132 A1 describes a tapping device known in which a to close the tap hole Pressed in stuffing and at the same time one to Tapping the furnace into the lance remaining in the tap hole Stuffing is introduced.
  • the tapping device a stuffing head with a through hole through which both the stuffing and the lance is inserted into the tap hole.
  • Minimum wall thickness necessary which is usually above the Wall thickness in the remaining areas of the melting furnace lies. This wall thickness is usually in the range of about 600-800 mm. It requires a minimum size of the Melting furnace and a minimum space requirement, in particular in waste incineration plants often over the available space.
  • the task is solved with a tapping device the features of claim 1, by a tapping process with the features of claim 13 and by a coolable Lance with the features of claim 10.
  • the open tap hole is first opened using the Filling device filled with the stuffing. As soon as the Stuffing was pressed in, but at the latest after a few seconds, the tamping device guides the lance in the tap hole. Alternatively, the lance be introduced simultaneously with the stuffing. In Both cases will be part of the tap opening from the lance into the Tap hole pressed. By acting in the furnace Heat hardens the stuffing. The in the tap hole The inserted lance is mechanically secured from the outside. The lance is pulled to open the tap hole. This is done by the one in the furnace Melt caused hydrostatic pressure to still build in the tamping material from the tap opening pressed so that the melt unhindered from the Can flow through the tap opening.
  • the tap hole is closed again by the Filling device again filled with stuffing and the Use the tamping device to lance into the tap hole introduced.
  • a chilled lance the material in the vicinity of the tap opening also chilled. The risk of heat damage decreases, and that Lifespan and operational safety of the melting furnace elevated.
  • the cooling also prevents the lance from turning on its front end melts, that of the largest Is exposed to heat. The cooling thus allows the construction of melting furnaces with a smaller wall thickness.
  • the wall thickness can be from the conventional 600-800 mm to approximately that Half to a third can be reduced. So are smaller and therefore cheaper melting furnaces constructible, in particular for melting the Combustion residues in waste incineration plants are suitable.
  • the lance is preferably made of copper or made of a copper alloy and with at least one Cooling channel provided that connects to a cooling water supply can be connected.
  • the plate in a further preferred embodiment is before Tapping opening of the melting furnace one preferably Copper or similar thermally conductive material manufactured front panel with an outlet opening arranged, which leaves the tap opening.
  • the stuffing head of the stuffing device is when inserting the Lance into the tap hole preferably with a positive fit the plate can be used as a sealing element between the tamping device and the tap opening.
  • this plate can also be cooled, e.g. by means of water cooling.
  • the stuffing head is also cooled, which creates the cooling effect reinforced and the heat dissipation of the lance is improved.
  • the Darning head additionally on a supply channel, which in the through hole of the stuffing head opens.
  • the Supply channel is connected to the filling device, which is required to close the tap hole Stuffing mass through the supply channel and Through hole in the tap hole promotes. The then inserted through the through hole Lance pushes them in the through hole and in the Tap hole contained in its final filling Position in the tap hole, creating an even Distribution of the stuffing mass around the lance in the Tap opening is guaranteed.
  • the lance has a sleeve on which the Tapping hole facing end is placed.
  • the sleeve consists of a material that is the same or one has a lower melting point than that in the melting furnace contained melt, preferably made of copper or a Copper alloy.
  • the sleeve remains when the lance is pulled in the tap hole and is through the melt melted off so that the melt jet flow out can.
  • the sleeve has the advantage of pulling the lance is simplified because its contact surface with the stuffing is reduced. The lance is therefore less damaged and can be reused.
  • the sleeve is a Wear part.
  • the stuffing head To insert the lance through the through hole of the A feed unit is used for the stuffing head. Through the Using the stuffing head will open the tap hole during the insertion of the lance to the outside at least partially sealed. At the same time ensures that in the stuffing head trained through hole that the lance in a defined direction of insertion into the tap hole is introduced so that any damage to the refractory material in the tap hole area be avoided.
  • a suitable feed unit for the tamping device especially a rotary hammer mill or a hydraulic one Drive.
  • a hammer mill can be used in addition to the Feed movement of the lance simultaneously a rotary Movement of the lance about its longitudinal axis and one Vibrating movement generated in the direction of its longitudinal axis become. Due to the combined rotation and The shaking movement is distributed in the tap opening contained stuffing particularly evenly around the lance moving into the tap hole while at the same time against the advancing movement of the lance acting forces are less than with a lance, the exclusively with an axial movement in the Tapping hole is introduced. However, on the Rotation can also be dispensed with.
  • An extracting device can also be attached to the tapping device be provided for pulling out the in inserted the tap hole, closing it Lance serves.
  • the tapping device is a fully automatic opening and closing the tap opening so that the Tap hole and the trough of the melting furnace together with the functional units of the tapping device in a housing closed to the outside Can be accommodated in which the melt rising gases and suspended matter and one Cleaning and filter system can be supplied.
  • a suitable pull-out device is, for example a movable in the longitudinal direction of the tap opening Bracket that can be coupled to the lance.
  • FIGS. 1 to 4 show partially cut Side views of a tapping device 10 in different Operating positions when opening and closing a tap opening 12 of a furnace 14 of a waste incineration plant. With appropriate dimensioning can the tapping device 10 also in foundries and Steelworks for opening and closing of similar designed tap openings on blast furnaces become.
  • the tapping device 10 has two approximately parallel to the longitudinal direction of the tap opening 12, in Cross-section U-shaped carrier 16, which are at a distance run to each other and from which in FIGS. 1 to 4 For reasons of clarity, only those in the background arranged carrier 16 is shown.
  • the carriers 16 are on a hopper 18 provided on the furnace 14 attached, which is arranged under the tap opening 12 and through which emerges from the tap opening 12 Melt, for example, in a mold 20 (see FIG. 2) can be directed.
  • the two supports 16 rest on opposite end sections a transverse to this first I-beam 22, to which they are attached.
  • Towards the hopper 18 a second I-beam 24 is arranged offset between the two beams 16 extends transversely to these and is firmly connected to them.
  • a carriage 28 is guided through two pairs of rollers 30 and 32 on top of the horizontally extending legs of the two supports 16 rolls off. Close to that shown on the right in FIGS. 1 to 4 A pair of connecting elements 34 is provided for the roller pair 32 firmly connected to the piston of a hydraulic cylinder 36 is.
  • the hydraulic cylinder 36 is with its in FIG. 1 to 4 end shown on the left on a swivel mount 38 pivoted, the middle between the carriers 16 am second I-beam 24 is attached.
  • a stuffing head 40 in which several Cooling channels (not shown) are formed, which a cooling water supply is connected.
  • the stuffing head 40 is one in the longitudinal direction of the carriage 28 extending through bore 42 formed into the extending at an angle to the through bore 42
  • Supply channel 44 opens.
  • a feed cylinder 46 is inserted in the a piston 48 slidably mounted and with the help of a hydraulic cylinder 50 is movable.
  • the stuffing head 40 is divided along the through hole 42, is with Using two interlocks (not shown) held together and can be added later explanatory purpose.
  • a support element 52 In the middle of the carriage 28 is a support element 52 provided on which the rear pair of rollers 32 is rotatable is stored.
  • the carrier element 52 has a slide bearing 54, whose axis of symmetry with the axis of symmetry Through hole 42 of the stuffing head 40 coincides.
  • a linkage 56 In the slide bearing 54 is a linkage 56 one Rotary hammer mill 58 of a feed unit 60 rotatable and slidably mounted.
  • the hammer mill 58 of the Feed unit 60 is attached to a slide 62 which with the help of two on the side of the hammer mill 58 arranged, pneumatic feed cylinder 64 in the longitudinal direction the carriage 28 between a starting position near the end of FIGS. 1 to 4 shown on the right Wagens 28, and an end position in which the Slider 62 is arranged near the slide bearing 54.
  • the im Feed cylinder 64 shown in the background is shown.
  • a coupling head 66 is attached at the free end of the linkage 56, left in Figs. 1 to 4 shown. With the Coupling head 66 is a coupling end 68 of a first Lance 70 coupled, the other end partially in the Through bore 42 of the stuffing head 40 protrudes.
  • the first Lance 70 has a cooling channel through it Connections 72 near the coupling end 68 to one Cooling water supply can be connected. Further is on the carriage 28 an extending in the longitudinal direction Coupling hook 74 pivotally mounted, the purpose of which later will be explained later.
  • the tapping device has a further functional unit 10 near the filling funnel 18 an extractor 76 on.
  • the pull-out device 76 comprises a on the carrier 16 attached frame 78 with an approximately parallel to the Direction of movement of the carriage 28 along the beams 16 extending guide bar 80.
  • On the guide bar 80 is a bracket 82 slidably held around the Guide bar 80 between a stop position in which the Bracket 82 is aligned with the tap hole 12, and a release position in which the Bracket 82 is pivoted backwards from the carrier 16. In the operating state shown in Fig.
  • bracket 82 in which the Bracket 82 is pivoted into its holding position is on the bracket 82 is identical to the first lance 70 trained second lance 84 coupled into the Tap hole 12 of the furnace 14 is inserted and the Tap hole 12 closes.
  • the second lance 84 to the cooling water supply (not shown) connected.
  • bracket 82 On the bracket 82 is also a parallel Driver hook 86 protruding from the guide bar 80 provided to the coupling hook 74 of the carriage 28th is aligned when the holder 82 in its in Fig. 1st shown stop position is pivoted.
  • the beam deflecting plate 88 has at its near the Tap opening 12 arranged approximately vertically extending End an opening 90, the diameter of which is so dimensioned is that the stuffing head 40 is frustoconical in shape designed area through the opening 90 can protrude through.
  • a round plate 94 attached, which expanded with a cone Exit opening 96 is provided, which is concentric with Tap hole 12 of the furnace 14 is arranged.
  • the plate 94 is also with both lances 70 and 84 Cooling channels (not shown) provided to the Cooling water supply are connected.
  • the stuffing head 40 can also be turned 180 ° around the horizontal be turned, with all machine parts above the Darning head are arranged and the stuffing mass from above 5A-D as shown. This has the Advantage that the emerging melt stream has no parts damage the tamping device and onto the jet deflection plate can be dispensed with.
  • FIG. 1 Operating state is the carriage 28 in its Starting position in which the piston of the hydraulic cylinder 36 is retracted while the rear pair of rollers 32 is close the swivel mount 38 is arranged. At the same time closes the one inserted into the tap opening 12 Lance 84 the tap opening 12 and prevents this Melt escapes from the furnace 14.
  • the extractor 76 coupled to the second lance 84 as fixation for lance 84.
  • the tapping device is opened before the tap opening 12 10 for closing the tap opening 12 prepared.
  • the hopper is first 18 with a quick hardening stuffing compound filled.
  • the cooling water supply to those coupled to the feed unit 60 first lance 70 connected and the first lance 70 chilled.
  • the tap opening 12 of the furnace 14 should be opened first, with the help of the hydraulic cylinder 36 the carriage 28 in the direction of the tap hole 12 so far moved until the coupling hook 74 with the catch hook 86 of the puller 76 comes into engagement.
  • the carriage 28 is then driven by the hydraulic cylinder 36 moved back to its starting position, the one engaging with the catch hook 86 Coupling hook 74 the bracket 82 along the Pulls guide bar 80.
  • This will bring the to the Bracket 82 coupled second lance 84 from the Tapping opening 12 drawn, as shown in Fig. 2.
  • the Actuator the beam deflector plate 88 from the tap hole 12 away and releases the hopper 18. Under the In the meantime, the filling mold 18 became the mold 20 positioned into which the tap opening 12 escaping melt flows.
  • the carriage 28 together with the beam deflection plate 88 the tap opening 12 moves too.
  • the Hydraulic cylinder 36 is extended until the Darning head 40 with its frustoconical head portion at least partially in the conical outlet opening 96 of the plate 94 is received, as in FIG. 3 shown.
  • the hydraulic cylinder 50 of the feed cylinder 46 is switched on by the Piston 48 in the direction of the through bore 42 emotional.
  • the one contained in the feed cylinder 46 Darning mass through the supply channel 44 and you Through hole 42 pressed into tap hole 12, as shown in Fig. 3.
  • the second lance 84 was released from the bracket 82 of the pull-out device 76 and the holder 82 coupled to the coupling end 86 of the first lance 70.
  • the second lance 84 can, if it is still reusable is in the meantime cleaned stuffing head 40 inserted and with the coupling head 66 of the hammer drill 58 can be coupled.
  • the carriage 28 is again in its starting position retracted so that the tapping device 10 again in their starting position shown in FIG. 1 located.
  • a Stuffing head 40 is used, on which the feed cylinder 86th is attached.
  • a supply line connect for example with the help a volumetric pump the stuffing head 40 Darning can be fed.
  • 5A-D is the sequence of the tamping process after The method according to the invention is shown schematically.
  • Melting furnace 108 contains in it through a wall 111 and 112 delimited interior a melt 110.
  • the melt 110 flows through a tap opening 113 in the wall 112 as a melt stream 109 from the melting furnace 108
  • the melting furnace 108 has in the region of the tap opening 113 a preferably cooled front panel 114.
  • FIG. 5A To close the tap opening 113 retracts Darning head 101 against the melt jet 109, FIG. 5A.
  • a wooden plug 115 is arranged, the first to prevent premature Solidification of the melt into the tap opening 113 5B. Then the by the Stuffing head 101 fed stuffing compound 107 into the tap opening 113 pressed.
  • a lance 102 is replaced by a continuous longitudinal bore in the housing 105 of the stuffing head 101 in the tap opening 1113, Fig. 5C.
  • the Lance 102 preferably consists of an elongated one cooled lance body 103, on the front end 103 'one closed at its end facing the furnace Sleeve 104 is attached.
  • the lance 103 Darning 107 and the wooden plug 115 partially up to the melt 110 pressed in.
  • the wooden plug 115 then burns in the melt 110.
  • the lance 103 extends over the entire length when inserted Length of tap opening 113, preferably protrudes front tip of the sleeve 104 into the melt 110. Um to keep the furnace closed, the lance 103 mechanically secured.
  • Figure 6 shows a partially sectioned side view a lance 116 with an elongated lance main body 137.
  • the lance main body 137 has a cooling channel 119 on, essentially along the longitudinal axis of the lance 116 runs and extends over about 2/3 of the total length of the Lance extends.
  • To implement a cooling circuit are two connections 117, 118 for the supply and discharge provided by cooling water.
  • the length of the lance is preferably 180-250 cm. Its diameter is preferably 30-50 mm.
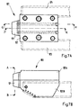
  • Figures 7A-E are different views of a Darning head 120 shown.
  • Figures 7A and 7B show the Top view from above or from the side.
  • characters 7C, 7D and 7E show sections along the lines J-K (Fig. 7C), G-H (Fig. 7D) and A-B (Fig. 7E).
  • the stuffing head 120 is on two rails 123, 124 to one Tap opening of a melting furnace, not shown here can be moved up so that its front plate 121 is form-fitting closes with the wall of the furnace.
  • the housing of the Darning head 120 has a continuous longitudinal bore 128, 129 for pushing a lance in and out.
  • On Supply channel 127 for stuffing material opens into the furnace Area of the longitudinal bore 128 into the through bore 129 the front plate 121.
  • Cooling channels 125, 125 ' arranged to cool the Stuffing head 120, in particular its the melt stream exposed front plate 121, to a cooling circuit can be connected (connection 126).
  • FIGS. 8A and 8B show the front plate 130 of a melting furnace in a partially sectioned view from the front (Fig. 8A) or in cross section along the line C-D.
  • the front plate 130 has a round central bore 131 on, concentric with the tap hole of a furnace is arranged. A runs around the center bore 131 Cooling channel 133, which via connections 134, 135 to one Cooling circuit can be connected.
  • the cooling channel 133 is by notches in the flat body 132 of the Front plate 130 formed with an annular Disc 136 are covered.

Landscapes

  • Engineering & Computer Science (AREA)
  • Chemical & Material Sciences (AREA)
  • Metallurgy (AREA)
  • Manufacturing & Machinery (AREA)
  • General Engineering & Computer Science (AREA)
  • Materials Engineering (AREA)
  • Mechanical Engineering (AREA)
  • Organic Chemistry (AREA)
  • Furnace Charging Or Discharging (AREA)
  • Carbon Steel Or Casting Steel Manufacturing (AREA)
  • Gasification And Melting Of Waste (AREA)
  • Processing Of Solid Wastes (AREA)
  • Vertical, Hearth, Or Arc Furnaces (AREA)

Abstract

Die Erfindung betrifft eine Abstichvorrichtung für einen Schmelzofen (108) mit einer verfahrbaren Fülleinrichtung zum Füllen einer offenen Abstichöffnung (113) an dem Schmelzofen (108) mit einer Stopfmasse (107) und mit einer verfahrbaren Stopfeinrichtung zum Einführen einer Lanze (102) in die Abstichöffnung (113). Indem die Lanze (102) und vorzugsweise weitere Elemente der Füll- bzw. Stopfeinrichtung kühlbar sind, kann die Stärke der Wandung (111, 112) des Schmelzofens (108) reduziert werden. <IMAGE>

Description

Die Erfindung betrifft eine Abstichvorrichtung für einen Schmelzofen gemäss dem Oberbegriff von Anspruch 1 sowie eine Lanze zum Verschliessen und Öffnen der Abstichöffnung eines Schmelzofens. Ferner betrifft die Erfindung ein Abstichverfahren für einen Schmelzofen gemäss dem Oberbegriff von Anspruch 14.
Aus der GB 2 285 675 ist eine gattungsgemässe Abstichvorrichtung mit einer Fülleinrichtung zum Füllen der offenen Abstichöffnung mit einer Stopfmasse und mit einer verfahrbaren Stopfeinrichtung zum Einführen einer Lanze in die Abstichöffnung bekannt. Die Lanze, ein einfacher länglicher Stab, wird dabei unter Stoss- und Rüttelbewegungen in die Abstichöffnung eingeführt, nachdem die Stopfmasse eingefüllt wurde, z.B. mit Hilfe eines Bohrhammers, und verbleibt dort bis zum erneuten Öffnen der Abstichöffnung durch Herausziehen der Lanze.
Aus der DE 3 803 132 A1 ist eine Abstichvorrichtung bekannt, bei der zum Schliessen der Abstichöffnung eine Stopfmasse eingepresst und gleichzeitig eine bis zum Abstich des Ofens im Stichloch verbleibende Lanze in die Stopfmasse eingebracht wird. Dazu weist die Abstichvorrichtung einen Stopfkopf mit einer Durchgangsbohrung auf, durch welche sowohl die Stopfmasse als auch die Lanze in die Abstichöffnung eingeführt wird.
Problematisch hieran sind die hohen Temperaturen im Inneren des Schmelzofens, die zu Beschädigungen des Materials der Abstichöffnung und der darin enthaltenen ausgehärteten Stopfmasse führen können. Des Weiteren werden beim Einführen der Lanze in die angehärtete Stopfmasse hohe Kräfte auf die Ofenwandung im Bereich der Abstichöffnung ausgeübt. Zum Ausschluss von Ofendurchbrüchen ist daher im Bereich der Abstichöffnung eine Mindestwandstärke notwendig, die in der Regel über der Wandstärke in den übrigen Bereichen des Schmelzofens liegt. Diese Wandstärke liegt üblicherweise im Bereich von etwa 600-800 mm. Sie bedingt eine Mindestgrösse des Schmelzofens und einen Mindestplatzbedarf, der insbesondere bei Müllverbrennungsanlagen oft über den verfügbaren Platz hinausgeht.
Es ist Aufgabe der Erfindung, eine Abstichvorrichtung bzw. ein Abstichverfahren anzugeben, mit der bzw. durch das die Abstichöffnung wiederholt schnell und sicher verschlossen und geöffnet werden kann und die eine reduzierte Wandstärke des Schmelzofens erlaubt. Dazu sollen bekannte Lanzen weiterentwickelt werden.
Die Aufgabe wird gelöst durch eine Abstichvorrichtung mit den Merkmalen von Anspruch 1, durch ein Abstichverfahren mit den Merkmalen von Anspruch 13 und durch eine kühlbare Lanze mit den Merkmalen von Anspruch 10.
Die offene Abstichöffnung wird zunächst mit Hilfe der Fülleinrichtung mit der Stopfmasse gefüllt. Sobald die Stopfmasse hineingedrückt wurde, spätestens aber nach einigen Sekunden, führt die Stopfeinrichtung die Lanze in die Abstichöffnung ein. Alternativ kann die Lanze gleichzeitig mit der Stopfmasse eingeführt werden. In beiden Fällen wird ein Teil der in der Abstichöffnung befindlichen Stopfmasse von der Lanze weiter in die Abstichöffnung gedrückt. Durch die im Schmelzofen wirkende Hitze härtet die Stopfmasse aus. Die in die Abstichöffnung eingeführte Lanze wird von aussen mechanisch gesichert. Zum Öffnen der Abstichöffnung wird die Lanze gezogen. Dabei wird durch den von der im Schmelzofen befindlichen Schmelze verursachten hydrostatischen Druck die noch in der Abstichöffnung befindliche Stopfmasse aus der Abstichöffnung gedrückt, so dass die Schmelze ungehindert aus dem Schmelzofen durch die Abstichöffnung abfliessen kann. Zum erneuten Verschliessen wird die Abstichöffnung von der Fülleinrichtung wieder mit Stopfmasse gefüllt und die Lanze mit Hilfe der Stopfeinrichtung in die Abstichöffnung eingeführt. Durch Verwendung einer gekühlten Lanze wird das Material in der Umgebung der Abstichöffnung ebenfalls gekühlt. Die Gefahr von Hitzeschäden sinkt, und die Lebensdauer und Betriebssicherheit des Schmelzofens wird erhöht. Die Kühlung verhindert zudem, dass die Lanze an ihrem vorderen Ende schmilzt, das der grössten Hitzebelastung ausgesetzt ist. Die Kühlung erlaubt somit die Konstruktion von Schmelzöfen mit geringerer Wanddicke.
Die Wanddicke kann von herkömmlich 600-800 mm auf etwa die Hälfte bis ein Drittel reduziert werden. Somit sind kleinere und damit auch billigere Schmelzöfen konstruierbar, die insbesondere zum Aufschmelzen der Verbrennungsrückstände bei Müllverbrennungsanlagen geeignet sind.
Vorteilhafte Weiterbildungen der Erfindung ergeben sich aus der nachfolgenden Beschreibung, der Zeichnung sowie den anhängigen Ansprüchen.
Insbesondere ist die Lanze vorzugsweise aus Kupfer oder einer Kupferlegierung gefertigt und mit mindestens einem Kühlkanal versehen, der an eine Kühlwasserversorgung angeschlossen werden kann.
Vorzugsweise sind bei einer Abstichvorrichtung auch der Stopfkopf und/oder der Bereich um die Abstichöffnung gekühlt. Dadurch wird der Kühleffekt weiter verbessert.
Bei einer weiteren bevorzugten Ausführungsform ist vor der Abstichöffnung des Schmelzofens eine vorzugsweise aus Kupfer oder einem ähnlichen wärmeleitfähigen Material gefertigte Frontplatte mit einer Austrittsöffnung angeordnet, die die Abstichöffnung freilässt. Der Stopfkopf der Stopfeinrichtung ist beim Einführen der Lanze in die Abstichöffnung vorzugsweise formschlüssig an die Platte ansetzbar, die als Dichtungselement zwischen der Stopfeinrichtung und der Abstichöffnung wirkt. Zur Erhöhung des Kühleffektes der Lanze und zur Vermeidung einer Beschädigung der Platte durch übermässige Hitzeeinwirkung ist in einer besonders bevorzugten Weiterbildung der Erfindung auch diese Platte kühlbar, z.B. mittels Wasserkühlung.
In einer weiteren bevorzugten Weiterbildung der Erfindung ist auch der Stopfkopf gekühlt, wodurch der Kühleffekt verstärkt und die Wärmeabfuhr der Lanze verbessert wird.
Bei einer weiteren bevorzugten Ausführungsform weist der Stopfkopf zusätzlich einen Versorgungskanal auf, der in die Durchgangsbohrung des Stopfkopfes mündet. Der Versorgungskanal ist mit der Fülleinrichtung verbunden, die die zum Schliessen der Abstichöffnung erforderliche Stopfmasse durch den Versorgungskanal und die Durchgangsbohrung in die Abstichöffnung fördert. Die anschliessend durch die Durchgangsbohrung eingeführte Lanze schiebt die noch in der Durchgangsbohrung und in der Abstichöffnung enthaltene Stopfmasse in ihre endgültige Lage in der Abstichöffnung, wodurch eine gleichmässige Verteilung der Stopfmasse um die Lanze in der Abstichöffnung gewährleistet ist. Gleichzeitig wird durch die Integration der Füllfunktion in den Stopfkopf ein sehr schnelles, sicheres und schonendes Schliessen der Abstichöffnung ermöglicht, da das Beiseitefahren der sonst separat ausgebildeten Fülleinrichtung und das nachfolgende Ansetzen der Stopfeinrichtung sowie eine erhöhte Krafteinwirkung beim Eintreiben der Lanze entfallen kann.
Vorteilhaft ist weiterhin, wenn vor dem Füllen der Abstichöffnung mit Stopfmasse ein Holzstopfen in die Abstichöffnung eingebracht wird. Dieser ist beispielsweise in der Durchgangsbohrung des Stopfkopfes angeordnet ist und wird durch den Druck der Stopfmasse, gegebenenfalls unterstützt durch den Druck der Lanze, in die Abstichöffnung befördert, durch diese hindurchgeschoben, in die Schmelze gestossen und verbrannt. Auf diese Weise wird verhindert, dass durch die Kühlung der Lanze und des Stopfkopfes oder der Frontplatte die Schmelze örtlich so weit abgekühlt wird, dass sich Metallplatten in der Abstichöffnung bilden.
In einer weiteren vorteilhaften Weiterbildung der Erfindung weist die Lanze eine Hülse auf, die an ihrem der Abstichöffnung zugewandten Ende aufgesetzt ist. Die Hülse besteht aus einem Material, das den gleichen oder einen geringeren Schmelzpunkt hat wie die im Schmelzofen enthaltenen Schmelze, vorzugsweise aus Kupfer oder einer Kupferlegierung. Beim Ziehen der Lanze verbleibt die Hülse in der Abstichöffnung und wird durch die Schmelze abgeschmolzen, so dass der Schmelzenstrahl ausfliessen kann. Die Hülse hat den Vorteil, dass das Ziehen der Lanze vereinfacht wird, da ihre Kontaktfläche mit der Stopfmasse verringert wird. Die Lanze wird demnach weniger beschädigt und kann wiederverwendet werden. Die Hülse ist ein Verschleissteil.
Zum Einführen der Lanze durch die Durchgangsbohrung des Stopfkopfes dient eine Vorschubeinheit. Durch die Verwendung des Stopfkopfes wird die Abstichöffnung während des Einführens der Lanze nach aussen zumindest teilweise abgedichtet. Gleichzeitig gewährleistet die im Stopfkopf ausgebildete Durchgangsbohrung, dass die Lanze in einer definierten Einführrichtung in die Abstichöffnung eingeführt wird, so dass eventuelle Beschädigungen des feuerfesten Materials im Bereich der Abstichöffnung vermieden werden.
Als Vorschubeinheit für die Stopfeinrichtung eignet sich insbesondere ein Bohrhammerwerk oder ein hydraulischer Antrieb. Durch ein Bohrhammerwerk kann neben der Vorschubbewegung der Lanze gleichzeitig eine rotatorische Bewegung der Lanze um ihre Längsachse sowie eine Rüttelbewegung in Richtung ihrer Längsachse erzeugt werden. Durch die kombinierte Rotations- und Rüttelbewegung verteilt sich die in der Abstichöffnung enthaltene Stopfmasse besonders gleichmässig um die sich in die Abstichöffnung bewegende Lanze, während gleichzeitig der Vorschubbewegung der Lanze entgegen wirkende Kräfte geringer sind als bei einer Lanze, die ausschliesslich mit einer Axialbewegung in die Abstichöffnung eingeführt wird. Jedoch kann auf die Rotation auch verzichtet werden.
An der Abstichvorrichtung kann zusätzlich eine Auszieheinrichtung vorgesehen sein, die zum Herausziehen der in die Abstichöffnung eingeführten, diese verschliessenden Lanze dient. Durch diese zusätzliche Funktionseinheit an der Abstichvorrichtung wird ein vollautomatisches Öffnen und Schliessen der Abstichöffnung ermöglicht, so dass die Abstichöffnung und die Giessrinne des Schmelzofens gemeinsam mit den Funktionseinheiten der Abstichvorrichtung in einem nach aussen abgeschlossenen Gehäuse untergebracht sein können, in dem die aus der Schmelze aufsteigenden Gase und Schwebstoffe aufgefangen und einer Reinigungs- und Filteranlage zugeführt werden können. Dies ist insbesondere bei Verwendung der Abstichvorrichtung für einen Schmelzofen einer Mühlverbrennungsanlage von Vorteil, bei der die entstehenden Gase und aufsteigenden Schwebstoffe aus Umweltschutzgründen möglichst vollständig aufgefangen und neutralisiert bzw. ausgefiltert werden müssen. Als Auszieheinrichtung eignet sich beispielsweise eine in Längsrichtung der Abstichöffnung verfahrbare Halterung, die an die Lanze ankoppelbar ist.
Nachfolgend wird die Erfindung anhand von Ausführungsbeispielen unter Bezugnahme auf die Zeichnung näher erläutert. Darin zeigen:
Fig. 1
eine teilweise geschnittene Seitenansicht einer erfindungsgemässen Abstichvorrichtung bei geschlossener Abstichöffnung eines Schmelzofens,
Fig. 2
eine teilweise geschnittene Seitenansicht der Abstichvorrichtung nach Fig. 1 unmittelbar nach dem Öffnen der Abstichöffnung,
Fig. 3
eine teilweise geschnittene Seitenansicht der Abstichvorrichtung nach Fig. 1 beim Befüllen der Abstichöffnung mit einer Stopfmasse, und
Fig. 4
eine teilweise geschnittene Seitenansicht der Abstichvorrichtung nach Fig. 1 nach dem Einführen einer die Abstichöffnung verschliessenden Lanze;
Fig. 5A-D
eine geschnittene Seitenansicht eines Stopfkopfes mit Stopfmasse und Lanze sowie eines Schmelzofens zur Darstellung verschiedener Stadien des erfindungsgemässen Verfahrens;
Fig. 6
eine teilweise geschnittene Seitenansicht einer Lanze;
Fig. 7A-E
verschiedene Ansichten eines Stopfkopfes mit Kühlung;
Fig. 8A,B
verschiedene Ansichten einer Frontplatte mit Kühlung.
Die Fig. 1 bis 4 zeigen teilweise geschnittene Seitenansichten einer Abstichvorrichtung 10 in unterschiedlichen Betriebspositionen beim Öffnen und Schliessen einer Abstichöffnung 12 eines Ofens 14 einer Müllverbrennungsanlage. Bei entsprechender Dimensionierung kann die Abstichvorrichtung 10 auch in Giessereien und Stahlwerken zum Öffnen und Schliessen von ähnlich gestalteten Abstichöffnungen an Hochöfen eingesetzt werden.
Die Abstichvorrichtung 10 weist zwei sich etwa parallel zur Längsrichtung der Abstichöffnung 12 erstreckende, im Querschnitt U-förmige Träger 16 auf, die mit Abstand zueinander verlaufen und von denen in den Fig. 1 bis 4 aus Gründen der Übersichtlichkeit nur der im Hintergrund angeordnete Träger 16 dargestellt ist. Die Träger 16 sind an einem an dem Ofen 14 vorgesehenen Fülltrichter 18 befestigt, der unter der Abstichöffnung 12 angeordnet ist und durch den die aus der Abstichöffnung 12 austretende Schmelze beispielsweise in eine Kokille 20 (vgl. Fig. 2) gelenkt werden kann. Mit ihren dem Fülltrichter 18 abgewandten Endabschnitten liegen die beiden Träger 16 auf einem quer zu diesen verlaufenden ersten I-Träger 22 auf, an dem sie befestigt sind. In Richtung des Fülltrichters 18 versetzt ist ein zweiter I-Träger 24 angeordnet, der zwischen den beiden Trägern 16 quer zu diesen verläuft und mit diesen fest verbunden ist. Des weiteren ist an jedem Träger 16 ein Längsträger 26 befestigt, der im Querschnitt L-förmig ist. Auch hier ist aus Gründen der Übersichtlichkeit in den Fig. 1 bis 4 nur der im Hintergrund angeordnete Längsträger 26 zu sehen. Die Längsträger 26 sind so an den Trägern 16 befestigt, dass ihre horizontal verlaufenden Schenkel einander zugewandt sind und mit den oben angeordneten, gleichfalls horizontal verlaufenden Schenkeln der U-förmigen Träger 16, die voneinander abgewandt sind, eine im Querschnitt U-förmige Führung bilden.
In der Führung ist ein Wagen 28 geführt, der sich durch zwei Rollenpaare 30 und 32 auf der Oberseite der horizontal verlaufenden Schenkel der beiden Träger 16 abrollt. Nahe dem in den Fig. 1 bis 4 rechts dargestellten Rollenpaar 32 ist ein Anschlusselement 34 vorgesehen, das mit dem Kolben eines Hydraulikzylinders 36 fest verbunden ist. Der Hydraulikzylinder 36 ist mit seinem in den Fig. 1 bis 4 links dargestellten Ende an einer Schwenkaufnahme 38 schwenkbar gelagert, die mittig zwischen den Trägern 16 am zweiten I-Träger 24 befestigt ist.
An seinem in den Fig. 1 bis 4 links dargestellten Ende ist am Wagen 28 ein Stopfkopf 40 befestigt, in dem mehrere Kühlkanäle (nicht dargestellt) ausgebildet sind, die an eine Kühlwasserversorgung angeschlossen sind. In dem Stopfkopf 40 ist eine in Längsrichtung des Wagens 28 verlaufende Durchgangsbohrung 42 ausgebildet, in die ein unter einem Winkel zur Durchgangsbohrung 42 verlaufender Versorgungskanal 44 mündet. In den Versorgungskanal 44 ist das freie Ende eines Förderzylinders 46 eingesetzt, in dem ein Kolben 48 verschieblich gelagert und mit Hilfe eines hydraulischen Zylinders 50 bewegbar ist. Der Stopfkopf 40 ist entlang der Durchgangsbohrung 42 geteilt, wird mit Hilfe zweier Verriegelungen (nicht dargestellt) zusammengehalten und kann zu einem später noch zu erläuternden Zweck geöffnet werden.
In der Mitte des Wagens 28 ist ein Trägerelement 52 vorgesehen, an dem das hintere Rollenpaar 32 drehbar gelagert ist. Das Trägerelement 52 hat ein Gleitlager 54, dessen Symmetrieachse mit der Symmetrieachse der Durchgangsbohrung 42 des Stopfkopfes 40 zusammenfällt. In dem Gleitlager 54 ist ein Gestänge 56 eines Bohrhammerwerkes 58 einer Vorschubeinheit 60 drehbar und verschieblich gelagert. Das Bohrhammerwerk 58 der Vorschubeinheit 60 ist an einem Schieber 62 befestigt, der mit Hilfe zweier seitlich des Bohrhammerwerkes 58 angeordneter, pneumatischer Vorschubzylinder 64 in Längsrichtung des Wagens 28 zwischen einer Ausgangsstellung nahe dem in den Fig. 1 bis 4 rechts dargestellten Ende des Wagens 28, und einer Endstellung bewegbar ist, in der der Schieber 62 nahe dem Gleitlager 54 angeordnet ist. Auch hier ist aus Gründen der Übersichtlichkeit nur der im Hintergrund dargestellte Vorschubzylinder 64 gezeigt.
Am freien Ende des Gestänge 56, in den Fig. 1 bis 4 links dargestellt, ist ein Kupplungskopf 66 befestigt. Mit dem Kupplungskopf 66 ist ein Kupplungsende 68 einer ersten Lanze 70 gekoppelt, deren anderes Ende teilweise in die Durchgangsbohrung 42 des Stopfkopfes 40 ragt. Die erste Lanze 70 verfügt über einen Kühlkanal, der durch Anschlüsse 72 nahe dem Kupplungsende 68 an eine Kühlwasserversorgung angeschlossen werden kann. Ferner ist am Wagen 28 ein sich in dessen Längsrichtung erstreckender Kopplungshaken 74 schwenkbar gelagert, dessen Zweck später noch erläutert wird.
Als weitere Funktionseinheit weist die Abstichvorrichtung 10 nahe dem Fülltrichter 18 eine Auszieheinrichtung 76 auf. Die Auszieheinrichtung 76 umfasst ein am Träger 16 befestigtes Gestell 78 mit einer in etwa parallel zur Bewegungsrichtung des Wagens 28 entlang den Trägern 16 verlaufenden Führungsleiste 80. An der Führungsleiste 80 ist eine Halterung 82 verschieblich gehalten, die um die Führungsleiste 80 zwischen einer Halteposition, in der die Halterung 82 zur Abstichöffnung 12 ausgerichtet ist, und einer Freigabeposition geschwenkt werden, in der die Halterung 82 nach hinten vom Träger 16 weggeschwenkt ist. Im in Fig. 1 gezeigten Betriebszustand, in der die Halterung 82 in ihre Halteposition geschwenkt ist, ist an die Halterung 82 eine zur ersten Lanze 70 identisch ausgebildete zweite Lanze 84 gekoppelt, die in die Abstichöffnung 12 des Ofens 14 eingeführt ist und die Abstichöffnung 12 verschliesst. Dabei ist die zweite Lanze 84 an die Kühlwasserversorgung (nicht dargestellt) angeschlossen. An der Halterung 82 ist ferner ein parallel zur Führungsleiste 80 abstehender Mitnehmerhaken 86 vorgesehen, der zum Kopplungshaken 74 des Wagens 28 ausgerichtet ist, wenn die Halterung 82 in ihre in Fig. 1 dargestellte Halteposition geschwenkt ist.
Unter der Auszieheinrichtung 76 ist ferner eine abgewinkelte Strahlumlenkplatte 88 angeordnet, die durch zwei Rollenpaare (nicht dargestellt) an den Trägern 16 verschieblich gelagert und mit Hilfe eines Aktuators (nicht dargestellt) entlang der Träger 16 bewegt werden kann. Die Strahlumlenkplatte 88 weist an ihrem nahe der Abstichöffnung 12 angeordneten etwa vertikal verlaufenden Ende eine Öffnung 90 auf, deren Durchmesser so bemessen ist, dass der Stopfkopf 40 mit seinem kegelstumpfförmig gestalteten Anlagebereich durch die Öffnung 90 hindurchragen kann.
Um die Abstichöffnung 12 ist ferner an dem äusseren der Lochsteine 92 der Abstichöffnung 12 eine runde Platte 94 befestigt, die mit einer kegelförmig erweiterten Austrittsöffnung 96 versehen ist, welche konzentrisch zur Abstichöffnung 12 des Ofens 14 angeordnet ist. Wie die beiden Lanzen 70 und 84 ist auch die Platte 94 mit Kühlungskanälen (nicht dargestellt) versehen, die an die Kühlwasserversorgung angeschlossen sind.
Der Stopfkopf 40 kann auch um 180° um die Horizontale gedreht sein, wobei alle Maschinenteile oberhalb des Stopfkopfes angeordnet sind und die Stopfmasse von oben zugeführt wird, wie in Fig. 5A-D gezeigt. Dies hat den Vorteil, dass der austretende Schmelzenstrahl keine Teile der Stopfvorrichtung beschädigen und auf die Strahlumlenkplatte verzichtet werden kann.
Nachfolgend wird die Funktionsweise der Abstichvorrichtung 10 näher erläutert. Bei dem in Fig. 1 dargestellten Betriebszustand befindet sich der Wagen 28 in seiner Ausgangsposition, in der der Kolben des Hydraulikzylinders 36 eingefahren ist, während das hintere Rollenpaar 32 nahe der Schwenkaufnahme 38 angeordnet ist. Gleichzeitig verschliesst die in die Abstichöffnung 12 eingeführte Lanze 84 die Abstichöffnung 12 und verhindert das Austreten von Schmelze aus dem Ofen 14. Dabei dient die mit der zweiten Lanze 84 verkoppelte Auszieheinrichtung 76 als Fixierung für die Lanze 84.
Vor Öffnen der Abstichöffnung 12 wird die Abstichvorrichtung 10 für das Schliessen der Abstichöffnung 12 vorbereitet. Zu diesem Zweck wird zunächst der Fülltrichter 18 mit einer schnell aushärtenden Stopfmasse gefüllt. Ferner wird die Halterung 82 mit der daran befestigten zweiten Lanze 84 aus der Öffnung 90 der Strahlumlenkplatte 88 nach oben aus dem Bewegungsbereich des Wagens 28 weg in ihre Freigabeposition geschwenkt, wobei der Mitnehmerhaken 86 ausser Eingriff mit dem Kopplungshaken 74 gerät. Des weiteren wird die Kühlwasserversorgung an die an der Vorschubeinheit 60 angekoppelten ersten Lanze 70 angeschlossen und die erste Lanze 70 gekühlt.
Soll nun die Abstichöffnung 12 des Ofens 14 geöffnet werden, wird zunächst mit Hilfe des Hydraulikzylinders 36 der Wagen 28 in Richtung der Abstichöffnung 12 so weit bewegt, bis der Kopplungshaken 74 mit dem Mitnehmerhaken 86 der Ausziehvorrichtung 76 in Eingriff kommt. Anschliessend wird der Wagen 28 durch den Hydraulikzylinder 36 wieder in seine Ausgangsstellung zurückbewegt, wobei der mit dem Mitnehmerhaken 86 in Eingriff stehende Kopplungshaken 74 die Halterung 82 entlang der Führungsleiste 80 mitzieht. Dadurch wird die an die Halterung 82 angekoppelte zweite Lanze 84 aus der Abstichöffnung 12 gezogen, wie in Fig. 2 dargestellt. Gleichzeitig mit der Bewegung des Wagens 28 bewegt der Aktuator die Strahlumlenkplatte 88 von der Abstichöffnung 12 weg und gibt den Fülltrichter 18 frei. Unter dem Fülltrichter 18 wurde zwischenzeitlich die Kokille 20 positioniert, in die die aus der Abstichöffnung 12 austretende Schmelze fliesst.
Soll nun die Abstichöffnung 12 verschlossen werden, wird der Wagen 28 gemeinsam mit der Strahlumlenkplatte 88 auf die Abstichöffnung 12 zu bewegt. Dabei ragt der kegelstumpfförmige Kopfabschnitt des Stopfkopfes 40 durch die Öffnung 90 der Strahlumlenkplatte 88. Der Hydraulikzylinder 36 wird soweit ausgefahren, bis der Stopfkopf 40 mit seinem kegelstumpfförmigen Kopfabschnitt zumindest teilweise in der kegelförmigen Austrittsöftnung 96 der Platte 94 aufgenommen ist, wie in Fig. 3 dargestellt. Anschliessend wird der hydraulische Zylinder 50 des Förderzylinders 46 angeschaltet, durch den der Kolben 48 sich in Richtung der Durchgangsbohrung 42 bewegt. Dabei wird die im Förderzylinder 46 enthaltende Stopfmasse durch den Versorgungskanal 44 und dich Durchgangsbohrung 42 in die Abstichöffnung 12 gedrückt, wie in Fig. 3 gezeigt ist.
Sobald eine ausreichende Menge Stopfmasse in die Abstichöffnung 12 gefüllt wurde, wird das Bohrhammerwerk 58 der Vorschubeinheit 60 angeschaltet und die Vorschubzylinder 64 der Vorschubeinheit 60 unter Druck gesetzt. Durch die Vorschubzylinder 64 wird das Bohrhammerwerk 58 von dem Schieber 52 in Richtung der Abstichöffnung 12 bewegt, wobei die erste Lanze 70 kontinuierlich unter gleichmässiger Drehung und rüttelnden Bewegungen in die Abstichöffnung 12 eingeführt wird. Dabei wird die in der Abstichöffnung 12 enthaltene Stopfmasse gleichmässig an der Innenwand der Abstichöffnung 12 verteilt, so dass die erste Lanze 70 gleichmässig in die in der Abstichöffnung 12 enthaltene Stopfmasse eingebettet ist. In diesem in Fig. 4 dargestellten Betriebszustand wird der Wagen 28 über einen vorgegebenen Zeitraum von beispielsweise 15 Minuten gehalten, bis die schnell härtende Stopfmasse in der Abstichöffnung 12 ausgehärtet ist. Sobald die Stopfmasse ausgehärtet ist, wird der Kupplungskopf 66 am Gestänge 56 des Bohrhammerwerkes 58 von der ersten Lanze 70 gelöst, die Verriegelungen am Stopfkopf 40 entriegelt und der geteilt ausgebildete Stopfkopf 40 geöffnet. Der Wagen wird durch einen Senkzylinder 97 gesenkt. Anschliessend wird der Wagen 28 wieder in seine Ausgangsposition zurückbewegt.
Während dessen wurde die zweite Lanze 84 von der Halterung 82 der Auszieheinrichtung 76 gelöst und die Halterung 82 an das Kupplungsende 86 der ersten Lanze 70 angekuppelt. Die zweite Lanze 84 kann, sofern sie noch wiederverwendbar ist, in den zwischenzeitlich gereinigten Stopfkopf 40 eingelegt und mit dem Kupplungskopf 66 des Bohrhammerwerkes 58 verkuppelt werden. Nachdem die zweite Lanze 84 eingesetzt und der Stopfkopf 40 wieder verriegelt worden ist, wird der Wagen 28 wieder in seine Ausgangsstellung zurückgefahren, so dass sich die Abstichvorrichtung 10 wieder in ihrer in Fig. 1 dargestellten Ausgangsposition befindet.
Bei dem dargestellten Ausführungsbeispiel wurde ein Stopfkopf 40 verwendet, an dem der Förderzylinder 86 befestigt ist. Alternativ ist es auch möglich, an den Versorgungskanal 44 des Stopfkopfes 40 eine Versorgungsleitung anzuschliessen, durch die beispielsweise mit Hilfe einer volumetrisch wirksamen Pumpe dem Stopfkopf 40 Stopfmasse zugeführt werden kann.
In den Fig. 5A-D ist der Ablauf des Stopfvorgangs nach dem erfindungsgemässen Verfahren schematisch dargestellt. Ein Schmelzofen 108 enthält in seinem durch eine Wandung 111 und 112 begrenzten Inneren eine Schmelze 110. Die Schmelze 110 fliesst durch eine Abstichöffnung 113 in der Wandung 112 als Schmelzenstrahl 109 aus dem Schmelzofen 108. Der Schmelzofen 108 weist im Bereich der Abstichöffnung 113 eine vorzugsweise gekühlte Frontplatte 114 auf.
Zum Verschliessen der Abstichöffnung 113 fährt ein Stopfkopf 101 gegen den Schmelzenstrahl 109, Fig. 5A. In einer Öffnung in einer vorzugsweise gekühlten Vorderplatte 106 des Stopfkopfes 101 ist ein Holzstopfen 115 angeordnet, der zuerst zur Verhinderung des vorzeitigen Erstarrens der Schmelze in die Abstichöffnung 113 eingeführt wird, Fig. 5B. Sodann wird die durch den Stopfkopf 101 zugeführte Stopfmasse 107 in die Abstichöffnung 113 eingepresst. Eine Lanze 102 wird durch eine durchgehende Längsbohrung im Gehäuse 105 des Stopfkopfes 101 in die Abstichöffnung 1113 nachgeführt, Fig. 5C. Die Lanze 102 besteht aus einem länglichen vorzugsweise gekühlten Lanzengrundkörper 103, auf dessen vorderes Ende 103' eine an ihrem dem Ofen zugewandten Ende geschlossene Hülse 104 aufgesteckt ist. Durch die Lanze 103 wird die Stopfmasse 107 und der Holzstopfen 115 teilweise bis in die Schmelze 110 hineingedrückt. Der Holzstopfen 115 verbrennt dann in der Schmelze 110. Die Lanze 103 erstreckt sich im eingeschobenen Zustand über die gesamte Länge der Abstichöffnung 113, vorzugsweise ragt die vordere Spitze der Hülse 104 bis in die Schmelze 110. Um den Ofen verschlossen zu halten, wird die Lanze 103 mechanisch gesichert.
Beim Ofenabstich wird zunächst der dazu vorzugsweise zweiteilig ausgebildete Stopfkopf 101 entfernt. Sodann wird die Lanze 102 bzw. der Lanzengrundkörper 103 gezogen, Fig. 5D. Die Hülse 104 verbleibt in der Abstichöffnung 113 und schmilzt, so dass die Schmelze 110 als Schmelzenstrahl austreten kann.
Figur 6 zeigt eine teilweise geschnittene Seitenansicht einer Lanze 116 mit einem länglichen Lanzengrundkörper 137. Der Lanzengrundkörper 137 weist einen Kühlkanal 119 auf, der im wesentlichen entlang der Längsachse der Lanze 116 verläuft und sich über etwa 2/3 der Gesamtlänge der Lanze erstreckt. Zur Realisierung eines Kühlkreislaufs sind zwei Anschlüsse 117, 118 für die Zufuhr und Abfuhr von Kühlwasser vorgesehen. Die Länge der Lanze beträgt vorzugsweise 180-250 cm. Ihr Durchmesser beträgt vorzugsweise 30-50 mm.
In den Figuren 7A-E sind verschiedene Ansichten eines Stopfkopfes 120 dargestellt. Figur 7A und 7B zeigen den Stopfkopf in Aufsicht von oben bzw. von der Seite. Figuren 7C, 7D und 7E zeigen Schnitte entlang der Linien J-K (Fig. 7C), G-H (Fig. 7D) und A-B (Fig. 7E).
Der Stopfkopf 120 ist auf zwei Schienen 123, 124 an eine hier nicht gezeigte Abstichöffnung eines Schmelzofens heranfahrbar, so dass seine Vorderplatte 121 formschlüssig mit der Wandung des Ofens abschliesst. Das Gehäuse des Stopfkopfes 120 weist eine durchgehende Längsbohrung 128, 129 zum Ein- und Durchschieben einer Lanze auf. Ein Versorgungskanal 127 für Stopfmasse mündet im ofenseitigen Bereich der Längsbohrung 128 in die Durchgangsbohrung 129 der Vorderplatte 121. Um den Stopfkopf 120 bei eingeschobener Lanze entfernen zu können, besteht sein Gehäuse aus zwei Gehäuseteilen 122A, 122B, die formschlüssig zusammengesetzt sind.
In der Vorderplatte 121 und im Gehäuse 122A, 122B sind Kühlkanäle 125, 125' angeordnet, die zur Kühlung des Stopfkopfes 120, insbesondere seiner dem Schmelzenstrahl ausgesetzten Vorderplatte 121, an einen Kühlkreislauf anschliessbar sind (Anschluss 126).
Figur 8A und 8B zeigen die Frontplatte 130 eines Schmelzofens in teilweise geschnittener Ansicht von vorne (Fig. 8A) bzw. im Querschnitt entlang der Linie C-D.
Die Frontplatte 130 weist eine runde Mittenbohrung 131 auf, die konzentrisch zur Abstichöffnung eines Ofens angeordnet wird. Um die Mittenbohrung 131 verläuft ein Kühlkanal 133, der über Anschlüsse 134, 135 an einen Kühlkreislauf angeschlossen werden kann. Der Kühlkanal 133 ist durch Einkerbungen im flachen Grundkörper 132 der Frontplatte 130 gebildet, die mit einer ringförmigen Scheibe 136 abgedeckt werden.

Claims (16)

  1. Abstichvorrichtung für einen Schmelzofen, mit einer verfahrbaren Fülleinrichtung (46) zum Füllen einer offenen Abstichöffnung (12, 113) an dem Schmelzofen (14, 108) mit einer Stopfmasse (107) und mit einer verfahrbaren Stopfeinrichtung (40) zum Einführen einer Lanze (70, 84, 102, 116) in die Abstichöffnung (12, 113), wobei die Stopfeinrichtung einen Stopfkopf (40, 101, 120) aufweist, in dem eine Durchgangsbohrung (42, 129) zum Einführen der Lanze (70, 84, 102, 116) in die Abstichöffnung (12, 113) ausgebildet ist, dadurch gekennzeichnet, dass die Lanze (70, 84, 102, 116) kühlbar ist.
  2. Abstichvorrichtung nach Anspruch 1, dadurch gekennzeichnet, dass die Lanze (70, 84, 102, 116) eine vorzugsweise aus Kupfer oder einer Kupferlegierung gefertigte Lanze (70, 84, 102, 137) mit mindestens einem Kühlkanal (119) ist, der an eine Kühlwasserversorgung anschliessbar ist.
  3. Abstichvorrichtung nach einem der vorhergehenden Ansprüche, dadurch gekennzeichnet, dass eine vorzugsweise aus Kupfer gefertigte Frontplatte (94, 114, 130) mit einer Austrittsöffnung (96, 131), die mit ihrer Austrittsöffnung (96, 131) konzentrisch zur Abstichöffnung (12, 113) am Schmelzofen (14, 108) befestigbar ist und an der die Stopfeinrichtung (40) beim Einführen der Lanze (70, 84, 102, 116) in die Abstichöffnung (12, 113) ansetzbar ist.
  4. Abstichvorrichtung nach Anspruch 3, dadurch gekennzeichnet, dass die Frontplatte (94, 114, 130) kühlbar ist, vorzugsweise indem sie mindestens einen Kühlkanal (133) aufweist, der an eine Kühlwasserversorgung anschliessbar ist.
  5. Abstichvorrichtung nach einem der vorhergehenden Ansprüche, dadurch gekennzeichnet, dass der Stopfkopf (49, 101, 120) kühlbar ist, vorzugsweise indem er mindestens einen Kühlkanal (125, 125') aufweist, der an eine Kühlwasserversorgung anschliessbar ist.
  6. Abstichvorrichtung nach einem der vorhergehenden Ansprüche, dadurch gekennzeichnet, dass in dem Stopfkopf (40, 101, 120) ein in die Durchgangsbohrung (42, 129) mündender Versorgungskanal (44, 127) ausgebildet ist, der zum Einleiten der Stopfmasse (107) in die Durchgangsbohrung (42, 129) mit der Fülleinrichtung (46) derart verbunden ist, dass die Stopfmasse (107) zum Füllen der Abstichöffnung (12, 113) durch den Versorgungskanal (44, 127) und die Durchgangsbohrung (42, 129) in die Abstichöffnung (12, 113) gelangt.
  7. Abstichvorrichtung nach Anspruch 6, dadurch gekennzeichnet, dass die Durchgangsbohrung (42, 129) vor dem Füllen der Abstichöffnung (12, 113) mit einem Holzstopfen (115) verschlossen ist, welcher beim Füllen von der Stopfmasse (107) in die Abstichöffnung (12, 113) hineingeschoben wird.
  8. Abstichvorrichtung nach einem der vorhergehenden Ansprüche, dadurch gekennzeichnet, dass die Lanze (70, 84, 102, 116) eine Hülse (104) aufweist, die an ihrem der Abstichöffnung (12, 113) zugewandten Ende (103') aufgesetzt ist und die aus einem Material mit geringerem Schmelzpunkt als dem der im Schmelzofen (14, 108) enthaltenen Schmelze (110) besteht, vorzugsweise aus Kupfer oder einer Kupferlegierung.
  9. Abstichvorrichtung nach Anspruch 7, dadurch gekennzeichnet, dass die Reibung zwischen der Lanze (70, 84, 102, 116) und der Hülse (104) derart ist, dass die Hülse (104) beim Herausziehen der Lanze (70, 84, 102, 116) in der Abstichöffnung (12, 113) verbleibt.
  10. Lanze (70, 84, 102, 116) zum Verschliessen und Öffnen der Abstichöffnung (12, 113) eines Schmelzofens (14, 108), dadurch gekennzeichnet, dass die Lanze (70, 84, 102, 116) wenigstens einen Kühlkanal (119) aufweist, der an eine Kühlwasserversorgung anschliessbar ist.
  11. Lanze (70, 84, 102, 116) nach Anspruch 10, dadurch gekennzeichnet, dass die Lanze (70, 84, 102, 116) eine Hülse (104) aufweist, die an ihrem der Abstichöffnung (12, 113) zugewandten Ende (103') aufgesetzt ist und die aus einem Material mit geringerem Schmelzpunkt als dem der im Schmelzofen (14, 108) enthaltenen Schmelze (110) besteht, vorzugsweise aus Kupfer oder einer Kupferlegierung.
  12. Lanze (70, 84, 102, 116) nach Anspruch 11, dadurch gekennzeichnet, dass die Reibung zwischen der Lanze (70, 84, 102, 116) und der Hülse (104) derart ist, dass die Hülse (104) beim Herausziehen der Lanze (70, 84, 102, 116) in der Abstichöffnung (12, 113) verbleibt.
  13. Abstichverfahren für einen Schmelzofen (14, 108), bei dem zum Verschliessen einer offenen Abstichöffnung (12, 113) an dem Schmelzofen (14, 108) eine Stopfmasse (107) und eine Lanze (70, 84, 102, 116) bereitgestellt, die offene Abstichöffnung (12, 113) mit der Stopfmasse (107) zumindest teilweise gefüllt und gleichzeitig oder anschliessend die Lanze (70, 84, 102, 116) in die Abstichöffnung (12, 113) eingeführt wird, dadurch gekennzeichnet, dass die Lanze (70, 84, 102, 116) gekühlt wird.
  14. Abstichverfahren nach Anspruch 13, bei dem die Lanze (70, 84, 102, 116), während sie in die Abstichöffnung (12, 113) eingeführt wird, die Stopfmasse (107) zumindest teilweise in die Abstichöffnung (12, 113) schiebt.
  15. Abstichverfahren nach Anspruch 13 oder 14, bei dem ein Holzstopfen (115) bereitgestellt wird, welcher vor der Stopfmasse (107) in die Abstichöffnung (12, 113) eingeführt und durch diese hindurchgeschoben wird, vorzugsweise indem er von der Stopfmasse (107) geschoben wird.
  16. Verfahren nach Anspruch 13, 14 oder 15, bei welchem auf das der Abstichöffnung (12, 113) zugewandte Ende (103') der Lanze (70, 84, 102, 116) eine Hülse (104) aufgesetzt wird, die aus einem Material mit geringerem Schmelzpunkt als dem der im Schmelzofen (14, 108) enthaltenen Schmelze besteht, vorzugsweise aus Kupfer oder einer Kupferlegierung, wobei die Lanze (70, 84, 102, 116) mit der Hülse (104) in die Abstichöffnung (12, 113) eingeführt wird und die Hülse (104) beim Herausziehen der Lanze (70, 84, 102, 116) in der Abstichöffnung (12, 113) verbleibt.
EP20000113436 1999-07-07 2000-06-24 Abstichvorrichtung sowie Abstichverfahren Expired - Lifetime EP1069191B1 (de)

Applications Claiming Priority (2)

Application Number Priority Date Filing Date Title
CH124599 1999-07-07
CH124599 1999-07-07

Publications (2)

Publication Number Publication Date
EP1069191A1 true EP1069191A1 (de) 2001-01-17
EP1069191B1 EP1069191B1 (de) 2005-09-28

Family

ID=4205878

Family Applications (1)

Application Number Title Priority Date Filing Date
EP20000113436 Expired - Lifetime EP1069191B1 (de) 1999-07-07 2000-06-24 Abstichvorrichtung sowie Abstichverfahren

Country Status (3)

Country Link
EP (1) EP1069191B1 (de)
JP (1) JP2001056185A (de)
DE (1) DE50011237D1 (de)

Cited By (5)

* Cited by examiner, † Cited by third party
Publication number Priority date Publication date Assignee Title
EP1233077A1 (de) * 2001-02-15 2002-08-21 Productos Refractarios Asturianos Para La Siderurgia, S.A. Reparatursystem der Auskleidung einer Hochofenabstichöffnung
US10844466B2 (en) 2015-10-19 2020-11-24 Nippon Steel Corporation Hot forging steel and hot forged product
CN112857052A (zh) * 2021-02-01 2021-05-28 琪玥环保设备(唐山)有限公司 一种堵孔装置及具有其的等离子体炉
WO2022233414A1 (de) * 2021-05-06 2022-11-10 Tmt Tapping Measuring Technology Sàrl Sauerstofflanzenführungsanordnung
US12595964B2 (en) 2021-05-06 2026-04-07 Tmt Tapping Measuring Technology Sarl Oxygen lance guiding assembly

Families Citing this family (1)

* Cited by examiner, † Cited by third party
Publication number Priority date Publication date Assignee Title
CN105698541B (zh) * 2015-12-31 2018-05-18 遵义伟明铝业有限公司 一种熔铝炉出料口的封口装置

Citations (9)

* Cited by examiner, † Cited by third party
Publication number Priority date Publication date Assignee Title
US2294162A (en) * 1942-08-25 Blast furnace cinder notch stopper
JPS52150703A (en) * 1976-06-11 1977-12-14 Nippon Steel Corp Tap hole opening in blast furnace
JPS5585609A (en) * 1978-12-21 1980-06-27 Nippon Steel Corp Boring method for tap hole of blast furnace
JPS5690906A (en) * 1979-12-24 1981-07-23 Kawasaki Steel Corp Temperature controlling method of mud for closing iron notch
DD258721A3 (de) * 1986-03-26 1988-08-03 Funk A Bergbau Huettenkombinat Verfahren und vorrichtung zum schliessen einer abstichoeffnung
DD259760A3 (de) * 1988-06-18 1988-09-07 Funk A Bergbau Huettenkombinat Einrichtung zum schliessen einer abstichoeffnung
US4909487A (en) * 1988-02-03 1990-03-20 Dango & Dienenthal Maschinenbau Gmbh Process and notch gun for closing the tapholes of furnaces
FR2680179A1 (fr) * 1991-08-07 1993-02-12 Boulonnais Terres Refractaires Perfectionnements apportes aux dispositifs de bouchage de trous de coulee de hauts-fourneaux.
US5511768A (en) * 1994-01-17 1996-04-30 Paul Wurth S.A. Tap hole plugging device

Patent Citations (9)

* Cited by examiner, † Cited by third party
Publication number Priority date Publication date Assignee Title
US2294162A (en) * 1942-08-25 Blast furnace cinder notch stopper
JPS52150703A (en) * 1976-06-11 1977-12-14 Nippon Steel Corp Tap hole opening in blast furnace
JPS5585609A (en) * 1978-12-21 1980-06-27 Nippon Steel Corp Boring method for tap hole of blast furnace
JPS5690906A (en) * 1979-12-24 1981-07-23 Kawasaki Steel Corp Temperature controlling method of mud for closing iron notch
DD258721A3 (de) * 1986-03-26 1988-08-03 Funk A Bergbau Huettenkombinat Verfahren und vorrichtung zum schliessen einer abstichoeffnung
US4909487A (en) * 1988-02-03 1990-03-20 Dango & Dienenthal Maschinenbau Gmbh Process and notch gun for closing the tapholes of furnaces
DD259760A3 (de) * 1988-06-18 1988-09-07 Funk A Bergbau Huettenkombinat Einrichtung zum schliessen einer abstichoeffnung
FR2680179A1 (fr) * 1991-08-07 1993-02-12 Boulonnais Terres Refractaires Perfectionnements apportes aux dispositifs de bouchage de trous de coulee de hauts-fourneaux.
US5511768A (en) * 1994-01-17 1996-04-30 Paul Wurth S.A. Tap hole plugging device

Non-Patent Citations (3)

* Cited by examiner, † Cited by third party
Title
PATENT ABSTRACTS OF JAPAN vol. 002, no. 043 (C - 008) 23 March 1978 (1978-03-23) *
PATENT ABSTRACTS OF JAPAN vol. 004, no. 135 (C - 025) 20 September 1980 (1980-09-20) *
PATENT ABSTRACTS OF JAPAN vol. 005, no. 160 (C - 075) 15 October 1981 (1981-10-15) *

Cited By (5)

* Cited by examiner, † Cited by third party
Publication number Priority date Publication date Assignee Title
EP1233077A1 (de) * 2001-02-15 2002-08-21 Productos Refractarios Asturianos Para La Siderurgia, S.A. Reparatursystem der Auskleidung einer Hochofenabstichöffnung
US10844466B2 (en) 2015-10-19 2020-11-24 Nippon Steel Corporation Hot forging steel and hot forged product
CN112857052A (zh) * 2021-02-01 2021-05-28 琪玥环保设备(唐山)有限公司 一种堵孔装置及具有其的等离子体炉
WO2022233414A1 (de) * 2021-05-06 2022-11-10 Tmt Tapping Measuring Technology Sàrl Sauerstofflanzenführungsanordnung
US12595964B2 (en) 2021-05-06 2026-04-07 Tmt Tapping Measuring Technology Sarl Oxygen lance guiding assembly

Also Published As

Publication number Publication date
DE50011237D1 (de) 2005-11-03
JP2001056185A (ja) 2001-02-27
EP1069191B1 (de) 2005-09-28

Similar Documents

Publication Publication Date Title
DE3145100A1 (de) &#34;fuehrungs- und supportkopf fuer abstichlochschlagstangen bei schachtoefen, sowie mit einem solchen kopf versehene bohrmaschine&#34;
DE2630232C2 (de) Automatische Abstichmaschine für den Abstich bei elektrischen Hochöfen und Öfen für die Herstellung von Legierungen o.dgl.
EP2663413B1 (de) Giessrohrwechsler mit blindplatte für eine giessvorrichtung zum erzeugen metallurgischer produkte
DE2912295C2 (de) Verfahren zur Reparatur des Abstichlochs eines Konverters
EP2226176B1 (de) Verfahren und Vorrichtung zur Herstellung eines Kunststoffteils
EP0727268A2 (de) Schiebeverschluss für einen Metallschmelze enthaltenden Behälter
EP0428661B1 (de) Einrichtung zum entfernen von verschlissenen lochsteinen oder lochauskleidungen metallurgischer gefässe
EP1069191B1 (de) Abstichvorrichtung sowie Abstichverfahren
DE2317663A1 (de) Vorrichtung zur steuerung des ausflusses der metallschmelze aus einem schmelzgutbehaelter
DE1903475A1 (de) Verfahren und Vorrichtung zum Vorbohren und Abschaelen von Barren zum nachfolgenden Extrudieren
DE10025341B4 (de) Sickersystem für eine Spritzgiessvorrichtung
DE3443143A1 (de) Verfahren und vorrichtung zum oeffnen und schliessen eines stichloches an oefen
EP0974801A1 (de) Verfahren und Einrichtung zum schlackefreien Abstechen
DE4492636C2 (de) Abstichloch und Verfahren zur Bildung eines Abflusskanals eines Abstichlochs
DE2919945A1 (de) Verfahren und vorrichtung zur ausbesserung von schienenwegen
EP3851225A1 (de) Schiebeverschluss für ein metallurgisches gefäss
DE2120670A1 (de) Verfahren und Vorrichtung zum Ausstoßen des Walzstopfens für Walzwerke
EP1172162A1 (de) Verfahren und Verschliessen oder Öffnen des Abstichloches eines metallurgischen Gefässes, insbesondere eines Elektrolichtbogenofens und zugehöriger Bodenabstich
DE3444513A1 (de) Einblasstein mit einem den einblaskanal des einblassteins abdeckenden verschlussstein fuer metallurgische gefaesse, insbesondere stahlpfannen, zum einblasen von gasen bzw. feststoff/gas-gemischen in in den metallurgischen gefaessen befindliche metallische schmelzen
AT408964B (de) Verfahren und vorrichtung zur erneuerung der auskleidung einer abstichöffnung von metallurgischen gefässen
DE3201633A1 (de) Anlage zum horizontalen stranggiessen von metallen, insbesondere von stahl
WO2005024069A2 (de) Abstichvorrichtung für ein schmelzgefäss, insbesondere für einen konverter
EP1577036B1 (de) Dosiervorrichtung für eine Schmelze
DE10200852B4 (de) Vorrichtung zum Vorsehen einer Reihe nebeneinander angeordneter Einbauelemente in einer nicht ausgehärteten Betonlage
AT249095B (de) Einrichtung zur Erneuerung und Ausbesserung von Abstichlöchern an Tiegeln, Konvertern oder andern metallurgischen Gefäßen

Legal Events

Date Code Title Description
PUAI Public reference made under article 153(3) epc to a published international application that has entered the european phase

Free format text: ORIGINAL CODE: 0009012

AK Designated contracting states

Kind code of ref document: A1

Designated state(s): CH DE FR LI NL

AX Request for extension of the european patent

Free format text: AL;LT;LV;MK;RO;SI

17P Request for examination filed

Effective date: 20010210

AKX Designation fees paid

Free format text: CH DE FR LI NL

17Q First examination report despatched

Effective date: 20031125

GRAP Despatch of communication of intention to grant a patent

Free format text: ORIGINAL CODE: EPIDOSNIGR1

GRAS Grant fee paid

Free format text: ORIGINAL CODE: EPIDOSNIGR3

GRAA (expected) grant

Free format text: ORIGINAL CODE: 0009210

AK Designated contracting states

Kind code of ref document: B1

Designated state(s): CH DE FR LI NL

PG25 Lapsed in a contracting state [announced via postgrant information from national office to epo]

Ref country code: NL

Free format text: LAPSE BECAUSE OF FAILURE TO SUBMIT A TRANSLATION OF THE DESCRIPTION OR TO PAY THE FEE WITHIN THE PRESCRIBED TIME-LIMIT

Effective date: 20050928

REG Reference to a national code

Ref country code: CH

Ref legal event code: EP

Ref country code: CH

Ref legal event code: NV

Representative=s name: PATENTANWAELTE SCHAAD, BALASS, MENZL & PARTNER AG

REF Corresponds to:

Ref document number: 50011237

Country of ref document: DE

Date of ref document: 20051103

Kind code of ref document: P

NLV1 Nl: lapsed or annulled due to failure to fulfill the requirements of art. 29p and 29m of the patents act
ET Fr: translation filed
PG25 Lapsed in a contracting state [announced via postgrant information from national office to epo]

Ref country code: LI

Free format text: LAPSE BECAUSE OF NON-PAYMENT OF DUE FEES

Effective date: 20060630

Ref country code: CH

Free format text: LAPSE BECAUSE OF NON-PAYMENT OF DUE FEES

Effective date: 20060630

PLBE No opposition filed within time limit

Free format text: ORIGINAL CODE: 0009261

STAA Information on the status of an ep patent application or granted ep patent

Free format text: STATUS: NO OPPOSITION FILED WITHIN TIME LIMIT

26N No opposition filed

Effective date: 20060629

PG25 Lapsed in a contracting state [announced via postgrant information from national office to epo]

Ref country code: DE

Free format text: LAPSE BECAUSE OF NON-PAYMENT OF DUE FEES

Effective date: 20070103

REG Reference to a national code

Ref country code: CH

Ref legal event code: PL

REG Reference to a national code

Ref country code: FR

Ref legal event code: ST

Effective date: 20070228

PG25 Lapsed in a contracting state [announced via postgrant information from national office to epo]

Ref country code: FR

Free format text: LAPSE BECAUSE OF NON-PAYMENT OF DUE FEES

Effective date: 20060630