EP1043805B1 - Elektrische Verbindungs- oder Anschlussklemme - Google Patents

Elektrische Verbindungs- oder Anschlussklemme Download PDF

Info

Publication number
EP1043805B1
EP1043805B1 EP00104111A EP00104111A EP1043805B1 EP 1043805 B1 EP1043805 B1 EP 1043805B1 EP 00104111 A EP00104111 A EP 00104111A EP 00104111 A EP00104111 A EP 00104111A EP 1043805 B1 EP1043805 B1 EP 1043805B1
Authority
EP
European Patent Office
Prior art keywords
temperature
clamp
housing
sensitive element
heat
Prior art date
Legal status (The legal status is an assumption and is not a legal conclusion. Google has not performed a legal analysis and makes no representation as to the accuracy of the status listed.)
Expired - Lifetime
Application number
EP00104111A
Other languages
English (en)
French (fr)
Other versions
EP1043805A3 (de
EP1043805A2 (de
Inventor
Siegfried Goedicke
Manfred Sterzik
Current Assignee (The listed assignees may be inaccurate. Google has not performed a legal analysis and makes no representation or warranty as to the accuracy of the list.)
Vossloh Schwabe Deutschland GmbH
Original Assignee
Vossloh Schwabe Deutschland GmbH
Vossloh Schwabe GmbH
Priority date (The priority date is an assumption and is not a legal conclusion. Google has not performed a legal analysis and makes no representation as to the accuracy of the date listed.)
Filing date
Publication date
Application filed by Vossloh Schwabe Deutschland GmbH, Vossloh Schwabe GmbH filed Critical Vossloh Schwabe Deutschland GmbH
Publication of EP1043805A2 publication Critical patent/EP1043805A2/de
Publication of EP1043805A3 publication Critical patent/EP1043805A3/de
Application granted granted Critical
Publication of EP1043805B1 publication Critical patent/EP1043805B1/de
Anticipated expiration legal-status Critical
Expired - Lifetime legal-status Critical Current

Links

Images

Classifications

    • HELECTRICITY
    • H01ELECTRIC ELEMENTS
    • H01FMAGNETS; INDUCTANCES; TRANSFORMERS; SELECTION OF MATERIALS FOR THEIR MAGNETIC PROPERTIES
    • H01F27/00Details of transformers or inductances, in general
    • H01F27/40Structural association with built-in electric component, e.g. fuse
    • H01F27/402Association of measuring or protective means
    • HELECTRICITY
    • H01ELECTRIC ELEMENTS
    • H01RELECTRICALLY-CONDUCTIVE CONNECTIONS; STRUCTURAL ASSOCIATIONS OF A PLURALITY OF MUTUALLY-INSULATED ELECTRICAL CONNECTING ELEMENTS; COUPLING DEVICES; CURRENT COLLECTORS
    • H01R9/00Structural associations of a plurality of mutually-insulated electrical connecting elements, e.g. terminal strips or terminal blocks; Terminals or binding posts mounted upon a base or in a case; Bases therefor
    • H01R9/22Bases, e.g. strip, block, panel
    • H01R9/24Terminal blocks
    • H01R9/2425Structural association with built-in components
    • HELECTRICITY
    • H01ELECTRIC ELEMENTS
    • H01FMAGNETS; INDUCTANCES; TRANSFORMERS; SELECTION OF MATERIALS FOR THEIR MAGNETIC PROPERTIES
    • H01F27/00Details of transformers or inductances, in general
    • H01F27/40Structural association with built-in electric component, e.g. fuse
    • H01F27/402Association of measuring or protective means
    • H01F2027/406Temperature sensor or protection

Definitions

  • the invention relates to an electrical connection or Terminal with one of electrically insulating Material existing housing and with arranged in the housing electrically conductive connection or Connection means which line insertion openings in the Housing and clamping means for introduced into it electrical Lines are assigned.
  • connection or terminals are known in practice in various embodiments.
  • Your electrically conductive connection or connection means are often essentially pod, tube, Laschen- or rail-shaped metal parts Brass or bronze while as clamping means clamping screws, Clamping springs, insulation displacement contacts and the like are provided.
  • the connection or connection means are safely stored in the insulating housing, the housing itself being fasteners in Shape of screw holes, cutouts for sliding on fastening straps, etc. may have.
  • terminals are also typically used for Electrical equipment used, in which they usually are directly attached.
  • the terminals themselves can be formed one or more poles, and also several terminals combined to form so-called terminal strips could be.
  • terminal strips Under the term “clamp” are in Within the scope of the present invention also such terminal strips and corresponding terminal arrangement understood.
  • ballasts for gas discharge lamps, Transformers, chokes and the like must depending on their use with a thermal fuse or monitoring to ensure that when a predetermined excess temperature is exceeded the device is switched off. The same applies also for lights, where for safety reasons a predetermined excess temperature should not be exceeded may.
  • the temperature sensitive Element is doing in a space between the actual the clamping inserts for the lines receiving Body and the winding head in larger Distance from the support surface of the clamp arranged.
  • a receiving space of the main body can Kal tleitersay a cal be arranged, which is above the support surface adjacent clamping inserts is located.
  • An exchange is against other protective elements not possible, because this a differently sized recording room require.
  • the thermal fuse in a particularly large distance above the support surface.
  • connection or Terminal based on the original consideration, the connection or Use terminal itself as a temperature sensor, i.e. the temperature monitoring in the connection or Lay the connection terminal.
  • the required Limit temperature monitoring is completed by that at the Device attached, new connection or Terminal causes and is independent of any Impregnation or hardening processes during the manufacture of the device.
  • the invention also allows optimal adaptation of the Temperature response of the in the connection or terminal accommodated, heat-sensitive element to the thermal conditions and properties of the assigned device or the material used for this. By appropriate choice of connection or Connection terminal can also only in the final assembly be decided whether a device according to the respective Requirements with or without thermal protection device is delivered.
  • the invention is not limited to the application for ballasts and transformers of different power, Types and uses limited. It can be everywhere applied where it matters, one Limit temperature monitoring.
  • the selection of the each in the new connection or terminal used temperature-sensitive element depends on the conditions of use and the purpose.
  • temperature-sensitive Elements can be heat protection switches, PCT resistors, thermal fuse elements and the like be, just to name a few examples. It are generally speaking, electrical switching elements that temperature dependent their electrical state value between change their electrical connections. These include also non-contact temperature sensors, the optionally in signal evaluation circuits, etc. included are.
  • the at least one temperature-sensitive element can be embedded in the material of the terminal housing, For example, be poured, but it is usually appropriate if the housing means for receiving the having used temperature-sensitive element, in turn, for example, at least one bag, channel or groove-like depression or recess have, in which the temperature-sensitive element is used. Electrical Connections of the temperature-sensitive element are with Advantage with the connection or connection means of Clamp connected, so with the insertion and the contacting the line feeds the temperature sensitive Element automatically switched in an appropriate manner is.
  • the temperature-sensitive element can at a Side of the housing of the terminal at least partially exposed can be arranged, but the arrangement can also be made such that the temperature-sensitive Element near the bearing surface of the Terminal housing arranged and at least partially Covered by a heat-permeable wall to the outside is.
  • the heat-permeable wall can be made of an electrical insulating material of low wall thickness exist and integrally formed on the housing or by a cover part connected to the housing be formed. To a particularly good heat conduction too cases are also conceivable in which the heat-permeable Wall made of metal.
  • the location of the temperature-sensitive element in the terminal housing depends on the structure and mounting position of the terminal their intended use.
  • the temperature sensitive Element in heat transferring assignment to a support surface and / or to a cable entry openings containing side surface of the housing be arranged.
  • the heat-sensitive element in im substantially axial alignment with connecting or connecting means is arranged.
  • heat transfer mapping to an outer surface of the housing is understood that the heat transfer from this outer surface on the heat-sensitive Element as unobstructed as possible, but at least defined is possible.
  • the heat transfer itself can be dependent on the type of heat-sensitive used Element and the application of the connection or connection terminal by heat conduction, heat radiation (infrared radiation) u. Like. happen.
  • the invention is also the use of in the above-described connection according to the invention or terminal as temperature monitor or temperature fuse for a device to be thermally monitored, For example, a lamp, a built on a board Circuit, a ballast for gas discharge devices, a choke, a transformer and the like. These include non-electrical devices in which It only matters that they have a certain limit temperature do not exceed.
  • the new connection or terminal as a temperature sensor.
  • the invention is finally also a electrical device, in particular a ballast or Transformer or the like, with an inventive Terminal in which the arranged in the terminal housing temperature-sensitive element through the with the device connected terminal in heat transfer assignment to a heat-emitting, monitored area of the device is held.
  • the area to be monitored may e.g. at a current-carrying winding or one with this formed in thermally conductive connection standing part be.
  • the device can also be a light.
  • the schematically illustrated in Figs. 1 to 4 three-pin connection or connection terminal 1 is as erklemme formed and has one of an electrical housing made of insulating plastic material 2 on.
  • the housing 2 consists of three identically designed elongated housing parts or units 3, the by integrally formed webs 4, 5 are interconnected, in whose area is one from top to bottom, one Fastening device forming screw hole 6 is arranged is (Fig. 5).
  • Each of the rectangular in cross-section Housing units 3 has one of the front 7 to Back 8 through, channel-like recess 9, in the one forming a connecting or connecting means, metallic clamping sleeve 10 is inserted.
  • Each of the clamping sleeves 10 is not in a conventional manner with two further provided threaded holes provided in the Clamping screws 11 are screwed.
  • the clamping sleeves 10 and the clamping screws 11 are in the housing units. 3 or in this molded insulating material sleeves 12th safe to touch.
  • a temperature-sensitive one Element 15 is inserted, which is a substantially rectangular Has cross-sectional shape and two electrical Connecting wires 16 carries, which bent approximately L-shaped in the manner shown in Fig. 2 manner in the adjacent two clamping sleeves 10 are inserted, one of which Central clamping sleeve 10 of the three-terminal screw 1 is.
  • the temperature-sensitive element 15 is symmetrical to the two, the connecting wires 16 associated clamping sleeves 10, 10 a arranged and in the axial direction a housing shoulder 17 ( Figure 1) on the lead wires Fixed 16 opposite end face.
  • the heat-sensitive Element 15 On the the footprint 14 facing side is the heat-sensitive Element 15 through a thin, heat-permeable Covered wall 18, which is integrally formed on the two webs 13a is and consists of the material of the terminal housing 2.
  • the heat-permeable wall 18 also as be formed separate part, with the terminal housing glued, locked or otherwise connected.
  • the temperature-sensitive element 15 in the of the webs 13 a of the heat-permeable Wall 18 and the overlying parts of the terminal housing 2 limited, pocket-shaped recess 19 is inserted and therein by the jammed in the collars 10, 10a Connecting wires 16 is held.
  • the temperature-sensitive element 15 also glued or otherwise be anchored as well as possible is, the pocket-like recess 19, at least on one Front side to close by a closure means or to shed.
  • the temperature-sensitive element 15 also in the production of the terminal housing 2 directly have been embedded in its material.
  • the clamping sleeve 10a receiving channel-like recess 9 of the middle housing part 3 is on the Lead wires 16 of the temperature-sensitive element 15 facing away from the front 7, the line connection side the clamp, by a wall 20 (Fig. 3) closed, so that the lead wire inserted into the ferrule 10a 16 is not accidentally jammed with a power cord can be.
  • the heat-sensitive Element 15 over the heat-permeable wall 18 in heat transfer assignment to the footprint 14 of the terminal arranged.
  • the temperature sensitive Element 15 may be a thermal circuit breaker PCT resistor, a thermal fuse element or generally a heat sensor element connected to its connecting wires 16 outputs a temperature-dependent signal or the temperature dependent one between the leads 16 occurring electrical state variable, eg. changed a resistance or a switching state.
  • the temperature-sensitive element 15 in simply plugged into the terminal housing 2, i. interchangeable be arranged so that the clamp 1 flexible to the Conditions of the respective purpose are adapted can.
  • the pad 22 for example, a part of a lamp housing be on which the screw 1 is attached is and the temperature of the temperature sensitive Element 15 is monitored when reaching a limit temperature
  • the lamp circuit interrupts.
  • each of the ballasts 23 has a laminated core 24, that on a marginally with him crimped, metallic Attachment rail 25 is attached.
  • the frontal side over the laminated core 24 protruding end windings not further illustrated winding are by Isoliermaterialkappen 26 covered, as in principle, for example.
  • Isoliermaterialkappen 26 covered, as in principle, for example.
  • Each of the insulating material caps 26 carries molded, one-sided slotted tubes 27, on the connection side of the ballast Connecting sleeves 28 are clamped, which are connected to the winding connection wires are stuck.
  • the ferrules 28 are with the clamping sleeves 10, 10 a subsequent to the associated Isoliermaterialkappe 26 on the mounting rail 25 attached screw terminal 1 jammed, as Connection terminal for the ballast is used.
  • the screw clamp 1 is on the mounting rail 25 by means of a unlatched, substantially L-shaped flap 29 attached, in one of the below one of the two bridges 4 lying through openings 30 (Fig. 2) of the terminal housing 2 sticks out.
  • the arrangement can be made in this way be that the resilient flap 29 directly on the temperature sensitive element 15 presses, so this over the heat-permeable wall 18 against the mounting rail 25 is pressed.
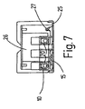
  • FIGS. 5 to 7 is the temperature-sensitive member 15 in the reference to FIG. 1 to 4 described manner in heat transfer assignment arranged to the footprint 14, wherein it is laterally offset from the plane of symmetry of the terminal housing 2, in the of four adjacent clamping screws 16 bounded area sits.
  • the temperature sensitive Element 15 therefore feels the temperature of the mounting rail 25, in thermally conductive connection with the Laminated core 24 and the lamp housing is. In operation it is, as seen in Fig. 5, in series between the in the two outer glovesssein technological Anlagen réelleen 30, 31 inserted and with the clamping sleeves 10 on the line connection side 7 connected ladders.
  • the clamping sleeve 10a of the middle clamping screw pair 11 is only used for connection of the insertion wire 16 inserted in it with the winding connection sleeve 28, as shown by the Fig. 2, 3 has already been explained.
  • the temperature-sensitive element 15 in a pocket or channel-shaped recess 36 of the central Housing part 3 upright inserted from below with its shortened clamp sleeve 10b. It feels Therefore - if necessary, a heat-permeable thin wall 18 - the temperature of the mounting rail 25.
  • the arrangement is made such that the temperature-sensitive Element 15 on the cable entry openings 30 and 31 associated side 7 of the terminal housing 2 is exposed. This can be the temperature-sensitive Element 15 also act on page 7 as a temperature sensor, what it possibly with not shown additional equipment parts may be in contact.
  • the application of the new connection and terminal is, as already mentioned, not on ballasts, Chokes. Transformers and the like with windings limited equipment limited.
  • the clamp can also as a temperature sensor for non-electrical devices and equipment be used.

Landscapes

  • Engineering & Computer Science (AREA)
  • Power Engineering (AREA)
  • Connections Arranged To Contact A Plurality Of Conductors (AREA)
  • Fuses (AREA)
  • Thermistors And Varistors (AREA)
  • Coupling Device And Connection With Printed Circuit (AREA)
  • Connection Of Batteries Or Terminals (AREA)
  • Connections Effected By Soldering, Adhesion, Or Permanent Deformation (AREA)
  • Conductive Materials (AREA)

Description

Die Erfindung betrifft eine elektrische Verbindungs-oder Anschlußklemme mit einem aus elektrisch isolierendem Material bestehenden Gehäuse und mit in dem Gehäuse angeordneten elektrisch leitenden Verbindungs- oder Anschlußmitteln, denen Leitungseinführöffnungen in dem Gehäuse und Klemmmittel für in sie eingeführte elektrische Leitungen zugeordnet sind.
Solche elektrische Verbindungs- oder Anschlußklemmen sind in der Praxis in vielfältigen Ausführungsformen bekannt. Ihre elektrisch leitenden Verbindungs- oder Anschlußmittel sind häufig im Wesentlichen hülsen-, röhrchen-, laschen- oder schienenförmige Metallteile aus Messing oder Bronze während als Klemmmittel Klemmschrauben, Klemmfedern, Schneidklemmkontakte und dergleichen vorgesehen sind. Die Verbindungs- oder Anschlußmittel sind in dem Isolierstoffgehäuse berührungssicher verwahrt, wobei das Gehäuse selbst Befestigungseinrichtungen in Gestalt von Schraubenlöchern, Aussparungen zum Aufschieben auf Befestigungslaschen, etc. aufweisen kann.
Solche Anschlußklemmen werden typischerweise auch für elektrische Geräte verwendet, an denen sie in der Regel unmittelbar befestigt sind. Die Klemmen selbst können dabei ein- oder mehrpolig ausgebildet sein, wobei auch mehrere Klemmen zu sogenannten Klemmleisten zusammengefasst sein können. Unter der Bezeichnung "Klemme" sind im Rahmen der vorliegenden Erfindung auch solche Klemmleisten und entsprechende Klemmenanordnung verstanden.
Beispielsweise Vorschaltgeräte für Gasentladungslampen, Transformatoren, Drosseln und dergleichen müssen abhängig von ihrer Verwendung mit einer Temperatursicherung- oder Überwachung ausgerüstet werden, um sicherzustellen, dass bei Überschreiten einer vorbestimmten Übertemperatur das Gerät abgeschaltet wird. Ähnliches gilt auch für Leuchten, bei denen aus Sicherheitsgründen eine vorbestimmte Übertemperatur nicht überschritten werden darf.
Aus der DE 33 09 110 C2 ist es bekannt in einem die Wickelköpfe einer Drossel oder eines Transformators kappenartig abdeckenden Isolierstoffformteil ein temperaturempfindliches Element unterzubringen, das in wärmeleitender Zuordnung zu den Wickelköpfen in einer die Wickelköpfe hintergreifenden Zunge des Isolierstoffformteils untergebracht ist und dessen elektrische Anschlüsse mit den Anschlußmitteln einer zugeordneten Anschlußklemme verbunden sind. Dabei müssen besondere Vorkehrungen getroffen werden, um zu verhüten, dass das temperaturempfindliche Element beim Tränken und bei der mit erhöhter Temperatur stattfindenden Aushärtung der Tränkmasse beeinträchtigt wird. Außerdem muss das temperaturempfindliche Element in seiner Ansprechcharakteristik auf die jeweilige Verlustleistung des Transformators bzw. der Drossel abgestimmt werden, was bei der Serienfertigung unterschiedlicher Typen und Größen solcher Transformatoren oder Drosseln Fertigungsnachteile mit sich bringt. Einen den zugeordneten Wickelkopf einer Drossel oder eines Transformators kappenartig abdeckenden Isolierstoffformteil, der an einem Klemmengrundkörper angeformt ist, weist auch eine aus der DE 88 01 789 U bekannte Anschlussklemme auf. Das temperaturempfindliche Element ist dabei in einem Raum zwischen dem die Klemmeinsätze für die Leitungen aufnehmenden eigentlichen Grundkörper und dem Wickelkopf in größerem Abstand von der Auflagefläche der Klemme angeordnet. In einem Aufnahmeraum des Grundkörpers kann eine Kal tleiterscheibe angeordnet sein, die oberhalb der der Auflagefläche benachbarten Klemmeinsätze liegt. Bei einer aus der DE 33 42 395 A1 bekannten Anschlussvorrichtung mit einer einen Klemmkörper aus Isoliermaterial aufweisenden Verbindungsklemme ist die die Thermosicherung abseits des sich ggfs. erwärmenden Teils, hier der Transformatorspule, angeordnet. Ein Austausch gegen andere Schutzelemente ist nicht möglich, da diese einen anders dimensionierten Aufnahmeraum erfordern. Auch befindet sich die Thermosicherung in besonders großem Abstand oberhalb der Auflagefläche.
Grundsätzlich Ähnliches, wie bei der DE 33 09 111 C2, gilt auch für einen aus der DE 29 16 639 C2 bekannten Vorschlag, ein temperaturempfindliches Element in Gestalt eines Bimetall-Wärmeschutzschalters in einer entsprechenden gehäuseartigen Ausnehmung des Spulenkörpers einer Spulenwicklung unterzubringen. Diese Ausnehmung kann zwar nach außen zu verschlossen sein, doch ist auch diese Ausführung wenig flexibel und außerdem kostenaufwendig. Daneben ist es aus der GB 1540685 C2 bekannt, bei einem Vorschaltgerät für Gasentladungslampen einen PCT-Widerstand, der in Reihe mit dem Glimmstarter der Gasentladungslampe geschaltet ist, in einem eigenen kleinen Gehäuse unterzubringen, das auf die Anschlussklemme des Vorschaltgerätes aufgeklipst ist.
Ausgehend von diesem Stand der Technik liegt der Erfindung die Aufgabe zugrunde, einen Weg zu weisen, der es erlaubt, einen wirksamen Übertemperaturschutz thermisch beanspruchter Einrichtungen oder Geräte zu ermöglichen, ohne dass dadurch die Herstellung der Einrichtungen oder Geräte selbst oder deren Aufbau erschwert werden.
Zur Lösung dieser Aufgabe wurde die eingangs genannte elektrische Verbindungs- oder Anschlussklemme geschaffen, die erfindungsgemäß dadurch die Merkmale des Anspruchs 1 gekennzeichnet ist.
Diese Ausbildung der Verbindung- oder Anschlußklemme beruht auf der originellen Überlegung, die Verbindungs-oder Anschlußklemme selbst als Temperatursensor zu benutzen, d.h. die Temperaturüberwachung in die Verbindungs-oder Anschlußklemme zu verlegen. Damit ergibt sich der Vorteil, dass das zu schützende Gerät selbst ohne Rücksicht auf gegebenenfalls erforderliche Wärmeschutzeinrichtungen hergestellt werden kann. Die erforderliche Grenztemperaturüberwachung wird durch die an dem fertiggestellten Gerät angebrachte, neue Verbindungs- oder Anschlußklemme bewirkt und ist unabhängig von etwaigen Tränk- oder Härteprozessen bei der Fertigung des Gerätes. Die Erfindung erlaubt außerdem eine optimale Anpassung des Temperaturansprechwertes des in der Verbindung-oder Anschlußklemme untergebrachten, wärmeempfindlichen Elementes an die thermischen Gegebenheiten und Eigenschaften des zugeordneten Gerätes oder des für dieses verwendeten Materials. Durch entsprechende Wahl der Anschluß- oder Verbindungsklemme kann außerdem erst in der Endmontage entschieden werden, ob ein Gerät entsprechend den jeweiligen Anforderungen mit oder ohne Wärmeschutzeinrichtung ausgeliefert wird. Schliesslich bietet sich die Möglichkeit durch einfachen Austausch der Verbindungs- oder Anschlußklemme an dem fertigen Gerät eine optimale Anpassung bspw. an die thermischen Verhältnisse des Einsatzortes des Gerätes vorzunehmen. Dies ist bei Leuchten oder bei in Leuchten eingesetzten Vorschaltgeräten oder Transformatoren von erheblicher Bedeutung, weil damit der Wärmeschutz an die thermischen Verhältnisse in der Leuchte und an die definierte Umgebungstemperatur der Leuchte angepasst werden kann. Bei Transformatoren, Drosseln, Vorschaltgeräte, etc. deren Wicklungen einer Tränkung bedürfen, ist eine Beeinträchtigung des temperaturempfindlichen Elementes ausgeschlossen.
Die Erfindung ist nicht auf die Anwendung für Vorschaltgeräte und Transformatoren unterschiedlicher Leistung, Typen und Einsatzzwecke beschränkt. Sie kann überall dort angewandt werden, wo es darauf ankommt, eine Grenztemperatur-Überwachung vorzunehmen. Die Auswahl des jeweiligen in die neue Verbindungs- oder Anschlußklemme eingesetzten temperaturempfindlichen Elementes hängt von den Einsatzbedingungen und der Zweckbestimmung ab. Temperaturempfindliche Elemente können Wärmeschutzschalter, PCT-Widerstände, thermische Sicherungselemente und dergleichen sein, um nur einige Beispiele zu benennen. Es sind allgemein gesprochen, elektrische Schaltelemente, die temperaturabhängig ihren elektrischen Zustandswert zwischen ihren elektrischen Anschlüssen verändern. Dazu zählen auch berührungslos messende Temperatursensoren, die gegebenenfalls in Signalauswertungsschaltungen, etc. enthalten sind.
Das wenigstens eine temperaturempfindliche Element kann in das Material des Klemmengehäuses eingebettet, bspw. eingegossen sein, doch ist es in der Regel zweckmäßig, wenn das Gehäuse Einrichtungen zur Aufnahme des eingesetzten temperaturempfindlichen Elementes aufweist, die ihrerseits bspw. zumindest eine taschen-, kanal- oder rinnenartige Vertiefung oder Aussparung haben, in die das temperaturempfindliche Element eingesetzt ist. Elektrische Anschlüsse des temperaturempfindlichen Elementes sind mit Vorteil mit den Verbindungs- oder Anschlußmitteln der Klemme verbunden, so dass mit dem Einführen und dem Kontaktieren der Leitungszuführungen das temperaturempfindliche Element automatisch in zweckentsprechender Weise geschaltet ist.
Das temperaturempfindliche Element kann an einer Seite des Gehäuses der Klemme wenigstens teilweise freiliegend angeordnet sein, doch kann die Anordnung auch derart getroffen sein, dass das temperaturempfindliche Element in der Nähe der Auflagefläche des Klemmengehäuses angeordnet und zumindest bereichsweise durch eine wärmedurchlässige Wand nach außen hin abgedeckt ist. Das bringt den Vorteil mit sich, dass das temperaturempfindliche Element in der Klemme gegen Umwelteinflüsse geschützt untergebracht ist. Die wärmedurchlässige Wand kann aus einem elektrischen Isoliermaterial geringer Wandstärke bestehen und einstückig an dem Gehäuse ausgebildet oder durch ein mit dem Gehäuse verbundenes Abdeckteil gebildet sein. Um eine besonders gute Wärmeleitung zu erzielen, sind auch Fälle denkbar, bei denen die wärmedurchlässige Wand aus Metall besteht. Die Lage des temperaturempfindlichen Elementes in dem Klemmengehäuse hängt von dem Aufbau und der Einbaulage der Klemme bei deren bestimmungsgemäßer Verwendung ab. So kann das temperaturempfindliche Element in wärmeübertragender Zuordnung zu einer Auflagefläche und/oder zu einer Leitungseinführungsöffnungen enthaltenden Seitenfläche des Gehäuses angeordnet sein. Insbesondere bei schmalen Klemmen ist es vorteilhaft, wenn das wärmeempfindliche Element in im wesentlich axialer Ausrichtung zu Verbindungs- oder Anschlußmitteln angeordnet ist.
Unter "wärmeübertragender Zuordnung" zu einer Außenfläche des Gehäuses ist verstanden, dass die Wärmeübertragung von dieser Außenfläche her auf das wärmeempfindliche Element möglichst unbehindert, zumindest aber definiert möglich ist. Die Wärmeübertragung selbst kann abhängig von der Art des verwendeten wärmeempfindlichen Elementes und dem Einsatzgebiet der Anschluß- oder Verbindungsklemme durch Wärmeleitung, Wärmestrahlung (Infrarotstrahlung) u. dgl. geschehen.
Gegenstand der Erfindung ist auch die Verwendung der im Vorstehenden geschilderten erfindungsgemäßen Verbindungs- oder Anschlußklemme als Temperaturwächter oder Temperatursicherung für eine thermisch zu überwachende Einrichtung, bspw. eine Leuchte, eine auf einer Platine aufgebaute Schaltung, ein Vorschaltgerät für Gasentladungsgeräte, eine Drosssel, ein Transformator und dergleichen. Dazu zählen auch nichtelektrische Einrichtungen, bei denen es nur darauf ankommt, dass sie eine bestimmte Grenztemperatur nicht überschreiten. Dabei wirkt die neue Verbindungs- oder Anschlußklemme als Temperatursensor.
Gegenstand der Erfindung ist schliesslich auch ein elektrisches Gerät, insbesondere ein Vorschaltgerät oder Transformator oder dergleichen, mit einer erfindungsgemäßen Klemme, bei dem das in dem Klemmengehäuse angeordnete temperaturempfindliche Element durch die mit dem Gerät verbundene Klemme in wärmeübertragender Zuordnung zu einem wärmeabgebenden, zu überwachenden Bereich des Gerätes gehalten ist. Der zur überwachende Bereich kann z.B. an einer stromdurchflossenenen Wicklung oder einem mit dieser in wärmeleitender Verbindung stehendem Teil ausgebildet sein. Das Gerät kann auch eine Leuchte sein.
In der Zeichnung sind Ausführungsbeispiele des Gegenstandes der Erfindung dargestellt. Es zeigen jeweils in schematischer Darstellung:
Fig. 1
eine Verbindungs- oder Anschlußklemme gemäß der Erfindung, im axialen Schnitt in einer Seitenansicht;
Fig. 2
die Klemme nach Fig. 1 in einer Ansicht der Geräte-Anschlußseite;
Fig. 3
die Klemme nach Fig. 2 in einer Ansicht der Leitungs-Anschlußseite;
Fig. 4
die Klemme nach Fig. 1 unter Veranschaulichung einer Geräte-Befestigungseinrichtung und eines Geräte-Anschlußes;
Fig. 5
ein Vorschaltgerät mit einer Anschlußklemme nach Fig. 1 in der Draufsicht;
Fig. 6
das Vorschaltgerät nach Fig. 5 in einer Seitenansicht, unter Veranschaulichung der Anschlußklemme im Längsschnitt entsprechend Fig. 4;
Fig. 7
das Vorschaltgerät nach Fig. 6 in einer Ansicht der Leitungs-Einführseite;
Fig. 8
ein Vorschaltgerät mit einer Anschlußklemme gemäß der Erfindung in einer weiteren abgewandelten Ausführungsform und in einer Draufsicht;
Fig. 9
das Vorschaltgerät nach Fig. 8 in einer Seitenansicht unter Veranschaulichung der Anschlußklemme im Längsschnitt und
Fig. 10
das Vorschaltgerät nach Fig. 8 in einer Ansicht der Leitungs-Einführseite.
Die in den Fig. 1 bis 4 schematisch veranschaulichte dreipolige Anschluß- oder Verbindungsklemme 1 ist als Schraubklemme ausgebildet und weist ein aus einem elektrisch isolierenden Kunststoffmaterial hergestelltes Gehäuse 2 auf. Das Gehäuse 2 besteht aus drei gleichgestalteten länglichen Gehäuseteilen oder -einheiten 3, die durch angeformte Stege 4, 5 miteinander verbunden sind, in deren Bereich ein von oben nach unten durchgehendes, eine Befestigungseinrichtung bildendes Schraubenloch 6 angeordnet ist (Fig. 5). Jede der im Querschnitt rechteckigen Gehäuseeinheiten 3 weist eine von der Vorderseite 7 zur Rückseite 8 durchgehende, kanalartige Aussparung 9 auf, in die eine ein Anschluß- oder Verbindungsmittel bildende, metallische Klemmhülse 10 eingesetzt ist. Jede der Klemmhülsen 10 ist in an sich bekannter Weise mit zwei nicht weiter dargestellten Gewindebohrungen versehen, in die Klemmschrauben 11 eingeschraubt sind. Die Klemmhülsen 10 und die Klemmschrauben 11 sind in den Gehäuseeinheiten 3 bzw. in an diesen angeformten Isoliermaterialhülsen 12 berührungssicher verwahrt.
In dem Bereich unterhalb der Klemmhülsen 10 sind an den Gehäuseeinheiten 3 jeweils paarweise einander zugeordnete, parallele Leisten 13 angeformt, die eine gemeinsame Aufstellfläche 14 für das Klemmengehäuse 2 bilden. Zwischen zwei Leisten 13a ist ein temperaturemfpindliches Element 15 eingesetzt, das eine im Wesentlichen rechteckige Querschnittgestalt aufweist und zwei elektrische Anschlußdrähte 16 trägt, die etwa L-förmig abgebogen, in der aus Fig. 2 ersichtlichen Weise in die benachbarten beiden Klemmhülsen 10 eingesteckt sind, von denen eine die mittige Klemmhülse 10 der dreipoligen Schraubklemme 1 ist. Das temperaturempfindliche Element 15 ist symmetrisch zu den beiden, den Anschlußdrähten 16 zugeordneten Klemmhülsen 10, 10a angeordnet und in axialer Richtung durch eine Gehäuseschulter 17 (Fig. 1) auf der den Anschlußdrähten 16 gegenüberliegenden Stirnseite fixiert. Auf der der Aufstellfläche 14 zugewandten Seite ist das wärmeempfindliche Element 15 durch eine dünne, wärmedurchlässige Wand 18 abgedeckt, die an die beiden Stege 13a angeformt ist und aus dem Material des Klemmengehäuses 2 besteht. Alternativ kann die wärmedurchlässige Wand 18 auch als getrenntes Teil ausgebildet sein, das mit dem Klemmengehäuse verklebt, verrastet oder sonstwie verbunden ist. In der Regel genügt es, wenn das temperaturempfindliche Element 15 in die von den Stegen 13a der wärmedurchlässigen Wand 18 und den darüberliegenden Teilen des Klemmengehäuses 2 begrenzte, taschenförmige Aussparung 19 eingeschoben und darin durch die in den Klemmhülsen 10, 10a verklemmten Anschlußdrähte 16 gehalten ist. Falls erforderlich kann das temperaturempfindliche Element 15 auch eingeklebt oder sonstwie zusätzlich verankert sein, wie es auch denkbar ist, die taschenartige Aussparung 19, zumindest auf einer Stirnseite, durch ein Verschlußmittel zu verschließen oder zu vergießen.
Alternativ kann das temperaturempfindliche Element 15 auch bei der Herstellung des Klemmengehäuses 2 unmittelbar in dessen Material eingebettet worden sein.
Die die Klemmhülse 10a aufnehmende kanalartige Aussparung 9 des mittleren Gehäuseteils 3 ist auf der den Anschlußdrähten 16 des temperaturempfindlichen Elementes 15 abgewandten Vorderseite 7, der Leitungs-Anschlußseite der Klemme, durch eine Wand 20 (Fig. 3) verschlossen, so dass der in die Klemmhülse 10a eingeführte Anschlußdraht 16 nicht versehentlich mit einem Netzleiter verklemmt werden kann.
Bei der beschriebenen Schraubklemme 1 ist das wärmeempfindliche Element 15 über die wärmedurchlässige Wand 18 in wärmeübertragender Zuordnung zu der Aufstellfläche 14 der Klemme angeordnet. Bei mit seiner Aufstellfläche 14 auf eine Unterlage 22 aufgesetztem Klemmengehäuse 2 wirkt die Schraubklemme somit als Temperatursensor für die in der Unterlage 22 herrschende Temperatur. Das temperaturempfindliche Element 15 kann ein Wärmeschutzschalter, ein PCT-Widerstand, ein thermisches Sicherungselement oder allgemein ein Wärmesensorelemt sein, das an seinen Anschlußdrähten 16 ein temperaturabhängiges Signal abgibt oder das temperaturabhängig eine zwischen den Anschlußdrähten 16 auftretende elektrische Zustandsgröße, bspw. einen Widerstand oder einen Schaltzustand verändert. Wie erläutert, kann das temperaturempfindliche Element 15 in dem Klemmengehäuse 2 einfach eingesteckt, d.h. austauschbar angeordnet sein, so dass die Klemme 1 flexibel an die Bedingungen des jeweiligen Einsatzzweckes angepasst werden kann.
So kann die Unterlage 22 bspw. ein Teil eines Leuchtengehäuses sein, auf dem die Schraubklemme 1 befestigt ist und dessen Temperatur von dem temperaturempfindlichen Element 15 überwacht wird, das bei Erreichen einer Grenztemperatur bspw. den Lampenstromkreis unterbricht.
Lediglich als Beispiel für andere Einsatzmöglichkeiten sind in den Fig. 5 bis 15 einige Verwendungsmöglichkeiten der neuen Schraubklemme als Anschlußklemme für Vorschaltgeräte von Gassentladungslampen dargestellt. Jedes der Vorschaltgeräte 23 weist ein Blechpaket 24 auf, das auf eine randseitig mit ihm verbördelte, metallische Befestigungsschiene 25 aufgesetzt ist. Die stirnseitig über das Blechpaket 24 vorragenden Wickelköpfe der nicht weiter dargestellten Wicklung sind durch Isoliermaterialkappen 26 abgedeckt, wie sie im Prinzip, bspw. in der DE 33 09 110 C2 beschrieben sind. Jede der Isoliermaterialkappen 26 trägt angeformte, einseitig geschlitzte Röhrchen 27, auf die auf der Anschlußseite des Vorschaltgerätes Anschlußhülsen 28 aufgeklemmt sind, die mit den Wicklungsanschlußdrähten verklemmt sind. Die Anschlußhülsen 28 sind mit den Klemmhülsen 10, 10a einer anschließend an die zugeordnete Isoliermaterialkappe 26 auf die Befestigungsschiene 25 aufgesetzten Schraubklemme 1 verklemmt, die als Anschlußklemme für das Vorschaltgerät dient. Die Schraubklemme 1 ist an der Befestigungsschiene 25 mittels eines ausgeklinkten, im Wesentlichen L-förmigen Lappens 29 befestigt, der in eine der unterhalb eines der beiden Stege 4 liegende durchgehende Öffnungen 30 (Fig. 2) des Klemmengehäuses 2 ragt. Die Anordnung kann dabei derart getroffen werden, dass der federnde Lappen 29 unmittelbar auf das temperaturempfindliche Element 15 drückt, so dass dieses über die wärmedurchlässige Wand 18 gegen die Befestigungsschiene 25 angepresst ist.
Bei der Ausführungsform nach den Fig. 5 bis 7 ist das temperaturempfindliche Glied 15 in der anhand der Fig. 1 bis 4 beschriebenen Weise in wärmeübertragender Zuordnung zu der Aufstellfläche 14 angeordnet, wobei es seitlich gegenüber der Symmetrieebene des Klemmengehäuses 2 versetzt, in dem von vier einander benachbarten Klemmschrauben 16 umgrenzten Bereich sitzt. Das temperaturempfindliche Element 15 fühlt deshalb die Temperatur der Befestigungsschiene 25, die in wärmeleitender Verbindung mit dem Blechpaket 24 und dem Lampengehäuse steht. In Betrieb liegt es, wie aus Fig. 5 zu ersehen, in Reihe zwischen den in die beiden außenliegenden Leitungseinführöffnungen 30, 31 eingeführten und mit den Klemmhülsen 10 auf der Leitungs-Anschlußseite 7 verbundenen Leitern. Die Klemmhülse 10a des mittleren Klemmschraubenpaares 11 dient lediglich zur Verbindung des in sie eingeführten Anschußdrahtes 16 mit der Wicklungsanschlußhülse 28, wie dies anhand der Fig. 2, 3 bereits erklärt wurde.
Bei der Ausführungsform nach den Fig. 8 bis 10 schliesslich ist das temperaturempfindliche Element 15 in eine taschen- oder rinnenförmige Vertiefung 36 des mittigen Gehäuseteils 3 hochkant stehend von unten her eingefügt mit dessen verkürzter Klemmenhülse 10b. Es fühlt deshalb - gegebenenfalls über eine wärmedurchlässige dünne Wand 18 - die Temperatur der Befestigungsschiene 25. Die Anordnung ist aber derart getroffen, dass das temperaturempfindliche Element 15 auf der den Leitungseinführöffnungen 30 bzw. 31 zugeordneten Seite 7 des Klemmengehäuses 2 freiliegt. Damit kann das temperaturempfindliche Element 15 auch auf der Seite 7 als Temperatursensor wirken, wozu es gegebenenfalls mit nicht weiter dargestellten zusätzlichen Geräteteilen in Berührung stehen kann.
Die Anwendung der neuen Verbindungs- und Anschlußklemme ist, wie bereits erwähnt, nicht auf Vorschaltgeräte, Drosseln. Transformatoren und dergleichen mit Wicklungen versehenen Geräte beschränkt. Die Klemme kann auch als Temperatursensor für nichtelektrische Geräte und Einrichtungen eingesetzt werden.

Claims (16)

  1. Elektrische Verbindungs- oder Anschlussklemme, mit einem aus elektrisch isolierendem Material bestehenden, eine Auflagefläche aufweisenden Gehäuse (2) und mit in dem Gehäuse angeordneten, elektrisch leitenden Verbindungs- oder Anschlussmitteln (10), denen Leitungseinführöffnungen in dem Gehäuse und Klemmmittel (11) für in sie eingeführte elektrische Leitungen zugeordnet sind, wobei das Gehäuse (2) wenigstens ein elektrische Anschlüsse (16) aufweisendes, temperaturempfindliches Element (15) enthält, dadurch gekennzeichnet, dass das temperaturempfindliche Element in wärmeübertragender Zuordnung zu der Auflagefläche des Gehäuses angeordnet ist.
  2. Klemme nach Anspruch 1, dadurch gekennzeichnet, dass das Gehäuse (2) Einrichtungen (19) zur Aufnahme des eingesetzten temperaturempfindlichen Elementes (15) aufweist.
  3. Klemme nach Anspruch 2, dadurch gekennzeichnet, dass die Einrichtungen zur Aufnahme des temperaturempfindlichen Elementes zumindest eine taschen-, kanal- oder rinnenartige Vertiefung oder Aussparung (19) aufweisen, in die das temperaturempfindliche Element (15) eingesetzt ist.
  4. Klemme nach einem der vorhergehenden Ansprüche, dadurch gekennzeichnet, dass elektrische Anschlüsse (16) des temperaturempfindlichen Elementes mit den Verbindungs- oder Anschlussmitteln (10) verbunden sind.
  5. Klemme nach einem der vorhergehenden Ansprüche, dadurch gekennzeichnet, dass das temperaturempfindliche Element (15) an einer Seite des Gehäuses (2) wenigstens teilweise freiliegend angeordnet ist.
  6. Klemme nach einem der Ansprüche 1 bis 4, dadurch gekennzeichnet, dass das temperaturempfindliche Element (15) zumindest bereichsweise durch eine wärmedurchlässige Wand (18) nach außen hin abgedeckt ist.
  7. Klemme nach Anspruch 6, dadurch gekennzeichnet, dass die wärmedurchlässige Wand (18) aus einem dünnen, elektrisch isolierenden Material besteht.
  8. Klemme nach Anspruch 6 oder 7, dadurch gekennzeichnet, dass die wärmedurchlässige Wand (18) einstückig an dem Gehäuse ausgebildet ist.
  9. Klemme nach einem der Ansprüche 6 bis 8, dadurch gekennzeichnet, dass die wärmedurchlässige Wand (18) durch ein mit dem Gehäuse verbundenes Abdeckteil gebildet ist.
  10. Klemme nach einem der Ansprüche 1 bis 9, dadurch gekennzeichnet, dass das temperaturempfindliche Element (15) in wärmeübertragender Zuordnung zu einer Leitungseinführungsöffnungen enthaltenden Seitenfläche des Gehäuses (2) angeordnet ist.
  11. Klemme nach einem der Ansprüche 3 bis 9, dadurch gekennzeichnet, dass das wärmeempfindliche Element (15) in im Wesentlichen axialer Ausrichtung zu Verbindungs- oder Anschlußmitteln (10) angeordnet ist.
  12. Verwendung der Verbindungs- oder Anschlußklemme nach einem der Ansprüche 1 bis 11 als Temperaturwächter oder Temperatursicherung für eine thermisch zu überwachende Einrichtung.
  13. Elektrisches Gerät, insbesondere Vorschaltgerät, Transformator oder dergleichen mit einer Klemme nach einem der Ansprüche 1 bis 11, dadurch gekennzeichnet, dass das in dem Klemmengehäuse (2) angeordnete temperaturempfindliche Element (15) durch die mit dem Gerät verbundene Klemme in wärmeübertragender Zuordnung zu einem wärmeabgebenden, zu überwachenden Bereich des Gerätes gehalten ist.
  14. Gerät nach Anspruch 13, dadurch gekennzeichnet, dass der zu überwachende Bereich an einer stromdurchflossenen Wicklung oder einem mit dieser in wärmeleitender Verbindung stehenden Teil ausgebildet ist.
  15. Gerät nach Anspruch 13 oder 14, dadurch gekennzeichnet, dass die Klemme (1) auf eine aus wärmeleitendem Material bestehende Unterlage (26) aufgesetzt ist und das temperaturempfindliche Element (15) durch die Klemme (1) in wärmeübertragender Zuordnung zu dieser Unterlage gehalten ist.
  16. Gerät nach Anspruch 13 oder 14 , dadurch gekennzeichnet, dass es eine Leuchte (22) ist.
EP00104111A 1999-04-06 2000-02-29 Elektrische Verbindungs- oder Anschlussklemme Expired - Lifetime EP1043805B1 (de)

Applications Claiming Priority (2)

Application Number Priority Date Filing Date Title
DE19915355A DE19915355A1 (de) 1999-04-06 1999-04-06 Elektrische Verbindungs- oder Anschlußklemme
DE19915355 1999-04-06

Publications (3)

Publication Number Publication Date
EP1043805A2 EP1043805A2 (de) 2000-10-11
EP1043805A3 EP1043805A3 (de) 2001-12-12
EP1043805B1 true EP1043805B1 (de) 2005-08-24

Family

ID=7903576

Family Applications (1)

Application Number Title Priority Date Filing Date
EP00104111A Expired - Lifetime EP1043805B1 (de) 1999-04-06 2000-02-29 Elektrische Verbindungs- oder Anschlussklemme

Country Status (4)

Country Link
EP (1) EP1043805B1 (de)
AT (1) ATE303005T1 (de)
DE (2) DE19915355A1 (de)
ES (1) ES2244370T3 (de)

Families Citing this family (5)

* Cited by examiner, † Cited by third party
Publication number Priority date Publication date Assignee Title
DE20201632U1 (de) 2002-02-01 2002-05-23 Manfred Fladung GmbH, 63776 Mömbris Steckverbinder
DE10258281B4 (de) * 2002-12-13 2007-02-08 Vossloh-Schwabe Deutschland Gmbh Anschlusseinrichtung, insbesondere für elektrische Betriebsmittel
CN107607215B (zh) * 2016-07-11 2024-07-12 泰科电子(上海)有限公司 温度测量组件、温度测量装置及电器组件
DE102017121937B4 (de) * 2017-09-21 2024-07-25 Phoenix Contact Gmbh & Co. Kg Steckverbinder
CN115000733B (zh) * 2022-08-04 2022-10-25 珠海市中力电力设备有限公司 一体式新型电缆终端转接线夹

Family Cites Families (9)

* Cited by examiner, † Cited by third party
Publication number Priority date Publication date Assignee Title
NL7611328A (nl) * 1976-10-14 1978-04-18 Philips Nv Induktieve stabilisatieballast voor een ont- ladingslamp.
DE2916639C2 (de) * 1979-04-25 1983-01-20 Peter 7530 Pforzheim Hofsäss Spulenkörper mit einem Wärmeschutzschalter
DE3006311A1 (de) * 1980-02-20 1981-08-27 Fa. Hermann Schwabe, 7067 Urbach Vorschaltgeraet, z.b. drossel, fuer gasentladungslampen
DE3247318A1 (de) * 1982-12-21 1984-06-28 Ceag Licht- Und Stromversorgungstechnik Gmbh, 4770 Soest Vorschaltgeraet mit temperatursicherung fuer leuchten mit leuchtstofflampen
DE3309110C2 (de) * 1983-03-15 1985-03-21 Schwabe GmbH & Co KG Elektrotechnische Fabrik, 7067 Urbach Drossel oder Transformator, insbesondere als Vorschaltgerät für Gasentladungslampen
DE3342395A1 (de) * 1983-11-24 1985-06-05 Adels-Contact Elektrotechnische Fabrik GmbH & Co KG, 5060 Bergisch Gladbach Anschlussvorrichtung mit einer, eine mehrzahl von buchsenklemmen aus metall und einen klemmenkoerper aus isoliermaterial aufweisenden verbindungsklemme
DE8801789U1 (de) * 1988-02-11 1988-03-24 Zumtobel Ag, Dornbirn Elektrische Anschlußklemme
DE3911758A1 (de) * 1988-09-06 1990-03-15 Stefan Tupi Vorschaltgeraet
DE29619953U1 (de) * 1996-11-16 1997-01-23 A. Grothe & Söhne GmbH & Co. KG, 50969 Köln Kleintransformator

Also Published As

Publication number Publication date
ES2244370T3 (es) 2005-12-16
DE19915355A1 (de) 2000-10-26
EP1043805A3 (de) 2001-12-12
DE50011004D1 (de) 2005-09-29
EP1043805A2 (de) 2000-10-11
ATE303005T1 (de) 2005-09-15

Similar Documents

Publication Publication Date Title
DE69507848T2 (de) Kompakte Schutzeinrichtung
DE69323126T2 (de) Schutzsensor für Elektromotor
EP0088390A1 (de) Schutzeinrichtung in elektrisch betriebenen Geräten
DE10017816A1 (de) Heizungsvorrichtung mit elektrischen Heizelementen für Wasserbetten
DE4336564C2 (de) Temperaturwächter
DE202017106035U1 (de) Elektrischer Netzstecker
EP1043805B1 (de) Elektrische Verbindungs- oder Anschlussklemme
DE19950694C2 (de) Schalter
DE2809471A1 (de) Fassung mit uebertemperatur-schutzschalter fuer eine gluehlampe mit schraubsockel
DE29906950U1 (de) Beheizter Schaltschrank und zugehörige Heizvorrichtung
DE10308724C5 (de) Schmiegsame Wärmevorrichtung
EP1224714A2 (de) Anschlussklemme
WO2004066676A1 (de) Schmiegsame wärmevorrichtung
DE10258281B4 (de) Anschlusseinrichtung, insbesondere für elektrische Betriebsmittel
EP2233353A1 (de) Zigarettenanzünder, insbesondere für Kraftfahrzeuge
DE102004015394A1 (de) Schalter mit isolierter Positioniertasche für Heizwiderstand
DE69129468T2 (de) Elektrischer rohrheizkörper mit einer temperaturkontrolleinrichtung
DE4205699A1 (de) Vorrichtung zum Schützen eines Geräts
EP0777239B1 (de) Gehäuseanordnung zur vergossenen Aufnahme eines Transformators
DE2652495B2 (de) Elektrische Schmelzsicherung
DE1219579B (de) Thermoschutzschalter
EP0162940A1 (de) Überlastsicherungsschalter
DE20302568U1 (de) Elektrisch beheizbare Wärmevorrichtung mit einem schmiegsamen Heizkörper
DE2513494A1 (de) Temperaturschutzschalter fuer rohrheizkoerper
DE19953954A1 (de) Anschlußklemme

Legal Events

Date Code Title Description
PUAI Public reference made under article 153(3) epc to a published international application that has entered the european phase

Free format text: ORIGINAL CODE: 0009012

AK Designated contracting states

Kind code of ref document: A2

Designated state(s): AT DE ES FI FR IT

Kind code of ref document: A2

Designated state(s): AT BE CH CY DE DK ES FI FR GB GR IE IT LI LU MC NL PT SE

AX Request for extension of the european patent

Free format text: AL;LT;LV;MK;RO;SI

PUAL Search report despatched

Free format text: ORIGINAL CODE: 0009013

AK Designated contracting states

Kind code of ref document: A3

Designated state(s): AT BE CH CY DE DK ES FI FR GB GR IE IT LI LU MC NL PT SE

AX Request for extension of the european patent

Free format text: AL;LT;LV;MK;RO;SI

RIC1 Information provided on ipc code assigned before grant

Free format text: 7H 01R 9/24 A, 7H 01R 13/713 B, 7H 01F 27/40 B

17P Request for examination filed

Effective date: 20020517

AKX Designation fees paid

Free format text: AT DE ES FI FR IT

17Q First examination report despatched

Effective date: 20040810

RAP1 Party data changed (applicant data changed or rights of an application transferred)

Owner name: VOSSLOH-SCHWABE DEUTSCHLAND GMBH

GRAP Despatch of communication of intention to grant a patent

Free format text: ORIGINAL CODE: EPIDOSNIGR1

GRAS Grant fee paid

Free format text: ORIGINAL CODE: EPIDOSNIGR3

GRAA (expected) grant

Free format text: ORIGINAL CODE: 0009210

AK Designated contracting states

Kind code of ref document: B1

Designated state(s): AT DE ES FI FR IT

REF Corresponds to:

Ref document number: 50011004

Country of ref document: DE

Date of ref document: 20050929

Kind code of ref document: P

REG Reference to a national code

Ref country code: ES

Ref legal event code: FG2A

Ref document number: 2244370

Country of ref document: ES

Kind code of ref document: T3

ET Fr: translation filed
PLBE No opposition filed within time limit

Free format text: ORIGINAL CODE: 0009261

STAA Information on the status of an ep patent application or granted ep patent

Free format text: STATUS: NO OPPOSITION FILED WITHIN TIME LIMIT

26N No opposition filed

Effective date: 20060526

PGFP Annual fee paid to national office [announced via postgrant information from national office to epo]

Ref country code: AT

Payment date: 20110214

Year of fee payment: 12

Ref country code: FI

Payment date: 20110214

Year of fee payment: 12

PG25 Lapsed in a contracting state [announced via postgrant information from national office to epo]

Ref country code: FI

Free format text: LAPSE BECAUSE OF NON-PAYMENT OF DUE FEES

Effective date: 20120229

REG Reference to a national code

Ref country code: AT

Ref legal event code: MM01

Ref document number: 303005

Country of ref document: AT

Kind code of ref document: T

Effective date: 20120229

PG25 Lapsed in a contracting state [announced via postgrant information from national office to epo]

Ref country code: AT

Free format text: LAPSE BECAUSE OF NON-PAYMENT OF DUE FEES

Effective date: 20120229

PGFP Annual fee paid to national office [announced via postgrant information from national office to epo]

Ref country code: IT

Payment date: 20140225

Year of fee payment: 15

Ref country code: FR

Payment date: 20140219

Year of fee payment: 15

REG Reference to a national code

Ref country code: FR

Ref legal event code: ST

Effective date: 20151030

PG25 Lapsed in a contracting state [announced via postgrant information from national office to epo]

Ref country code: IT

Free format text: LAPSE BECAUSE OF NON-PAYMENT OF DUE FEES

Effective date: 20150228

PG25 Lapsed in a contracting state [announced via postgrant information from national office to epo]

Ref country code: FR

Free format text: LAPSE BECAUSE OF NON-PAYMENT OF DUE FEES

Effective date: 20150302

PGFP Annual fee paid to national office [announced via postgrant information from national office to epo]

Ref country code: DE

Payment date: 20151228

Year of fee payment: 17

Ref country code: ES

Payment date: 20160210

Year of fee payment: 17

REG Reference to a national code

Ref country code: DE

Ref legal event code: R119

Ref document number: 50011004

Country of ref document: DE

PG25 Lapsed in a contracting state [announced via postgrant information from national office to epo]

Ref country code: DE

Free format text: LAPSE BECAUSE OF NON-PAYMENT OF DUE FEES

Effective date: 20170901

REG Reference to a national code

Ref country code: ES

Ref legal event code: FD2A

Effective date: 20180629

PG25 Lapsed in a contracting state [announced via postgrant information from national office to epo]

Ref country code: ES

Free format text: LAPSE BECAUSE OF NON-PAYMENT OF DUE FEES

Effective date: 20170301