EP0949598B1 - Element für die elektronische Artikelsicherung - Google Patents

Element für die elektronische Artikelsicherung Download PDF

Info

Publication number
EP0949598B1
EP0949598B1 EP99104717A EP99104717A EP0949598B1 EP 0949598 B1 EP0949598 B1 EP 0949598B1 EP 99104717 A EP99104717 A EP 99104717A EP 99104717 A EP99104717 A EP 99104717A EP 0949598 B1 EP0949598 B1 EP 0949598B1
Authority
EP
European Patent Office
Prior art keywords
barkhausen
soft magnetic
magnetic material
portions
length
Prior art date
Legal status (The legal status is an assumption and is not a legal conclusion. Google has not performed a legal analysis and makes no representation as to the accuracy of the status listed.)
Expired - Lifetime
Application number
EP99104717A
Other languages
English (en)
French (fr)
Other versions
EP0949598A3 (de
EP0949598A2 (de
Inventor
Manfred Dr. Rührig
Current Assignee (The listed assignees may be inaccurate. Google has not performed a legal analysis and makes no representation or warranty as to the accuracy of the list.)
Meto International GmbH
Original Assignee
Meto International GmbH
Priority date (The priority date is an assumption and is not a legal conclusion. Google has not performed a legal analysis and makes no representation as to the accuracy of the date listed.)
Filing date
Publication date
Application filed by Meto International GmbH filed Critical Meto International GmbH
Publication of EP0949598A2 publication Critical patent/EP0949598A2/de
Publication of EP0949598A3 publication Critical patent/EP0949598A3/de
Application granted granted Critical
Publication of EP0949598B1 publication Critical patent/EP0949598B1/de
Anticipated expiration legal-status Critical
Expired - Lifetime legal-status Critical Current

Links

Images

Classifications

    • GPHYSICS
    • G08SIGNALLING
    • G08BSIGNALLING OR CALLING SYSTEMS; ORDER TELEGRAPHS; ALARM SYSTEMS
    • G08B13/00Burglar, theft or intruder alarms
    • G08B13/22Electrical actuation
    • G08B13/24Electrical actuation by interference with electromagnetic field distribution
    • G08B13/2402Electronic Article Surveillance [EAS], i.e. systems using tags for detecting removal of a tagged item from a secure area, e.g. tags for detecting shoplifting
    • G08B13/2405Electronic Article Surveillance [EAS], i.e. systems using tags for detecting removal of a tagged item from a secure area, e.g. tags for detecting shoplifting characterised by the tag technology used
    • G08B13/2408Electronic Article Surveillance [EAS], i.e. systems using tags for detecting removal of a tagged item from a secure area, e.g. tags for detecting shoplifting characterised by the tag technology used using ferromagnetic tags
    • GPHYSICS
    • G08SIGNALLING
    • G08BSIGNALLING OR CALLING SYSTEMS; ORDER TELEGRAPHS; ALARM SYSTEMS
    • G08B13/00Burglar, theft or intruder alarms
    • G08B13/22Electrical actuation
    • G08B13/24Electrical actuation by interference with electromagnetic field distribution
    • G08B13/2402Electronic Article Surveillance [EAS], i.e. systems using tags for detecting removal of a tagged item from a secure area, e.g. tags for detecting shoplifting
    • G08B13/2428Tag details
    • G08B13/2437Tag layered structure, processes for making layered tags

Landscapes

  • Physics & Mathematics (AREA)
  • Engineering & Computer Science (AREA)
  • Automation & Control Theory (AREA)
  • Computer Security & Cryptography (AREA)
  • Electromagnetism (AREA)
  • General Physics & Mathematics (AREA)
  • Burglar Alarm Systems (AREA)

Description

Die Erfindung betrifft ein Element für die elektronische Artikelsicherung oder für die Sensortechnik, bestehend aus einem streifenförmigen oder drahtförmigen Barkhausenmaterial der Länge L, das in einem externen magnetischen Wechselfeld zur Aussendung eines charakteristischen Signals angeregt wird, und einem weichmagnetischen Material, das dem Barkhausenmaterial zugeordnet ist, wobei das weichmagnetische Material aus einzelnen Abschnitten einer vorgegebenen Länge besteht, und die Abschnitte des weichmagnetischen Materials bezüglich des Barkhausenmaterials derart positioniert sind, daß die von ihnen erzeugten magnetischen Streufelder mit der Magnetisierung des Barkhausenmaterials koppeln.
Elemente aus Barkhausenmaterial - auch Pulsdrähte genannt - werden sowohl für die elektronische Artikelsicherung als auch für sog. Impulsdrahtsensoren in der Sensortechnik eingesetzt. Sie zeichnen sich durch eine nahezu rechteckige Hysteresekurve aus, d.h. die Ummagnetisierung in einem äußeren magnetischen Wechselfeld erfolgt quasi schlagartig, sobald das Erregerfeld einen vorgegebenen Schwellenwert erreicht hat. Für die elektronische Artikelsicherung geeignete Elemente sind beispielsweise in der US-A-4 247 601, der US-A-4 660 025, der EP-8-0 309 679 und der EP-A-0 762 354 beschrieben.
Das schlagartige Ummagnetisieren von drahtförmigen oder streifenförmigen Barkhausenmaterialien in einem äußeren Wechselfeld ist die Folge einer ausgeprägten einachsigen Anisotropie entlang der Längsachse des Drahtes oder des Streifens. Diese Anisotropie unterdrückt sowohl störende Drehprozesse während des Ummagnetisierungsvorgangs als auch die Bildung von Abschlußdomänenstrukturen vor Erreichen der Schaltfeldstärke. Dagegen würde die Bildung entsprechender Strukturen zu einer Abrundung der Hysteresekurve und damit zu einer Verschlechterung der Schaltcharakteristik führen.
Die zur Bildung einer ausgeprägt rechteckigen Hysteresekurve erforderliche Anisotropie kann verschiedene Ursachen haben. Aus der Patentliteratur sind Methoden bekannt geworden, die spannungsinduzierte (US-A-4660025) oder magnetfeldinduzierte Anisotropien (EP-A-0 762 354) verwenden. Allen Methoden ist allerdings gemeinsam, daß zur Unterstützung der induzierten Anisotropien eine ausgeprägte Form-Anisotropie notwendig ist, um das ausgeprägte Schaltverhalten zu erzielen. Eine Verkürzung der in der Regel langgestreckten Streifen oder Drähte bewirkt eine Abnahme der Form-Anisotropie und eine Zunahme des Entmagnetisierungseffekts, wodurch die Reckteckform der Hysteresekurve reduziert wird.
Eine Erhöhung der intrinsischen Anisotropie, wie beispielsweise in der EP-A-0 762 354 für kurze Etiketten vorgeschlagen, würde zwar die Abnahme der Form-Anisotropie bzw. die Zunahme des Entmagnetisierungsfaktors zumindest teilweise kompensieren, gleichzeitig würde sie jedoch zu einer Erhöhung der Schaltfeldstärke führen, was für die Anwendung in Systemen zur elektronischen Artikelsicherung unerwünscht ist.
Aus der Patentliteratur sind bereits alternative Lösungen bekannt, wie das entmagnetisierende Feld in den Endbereichen des Barkhausenmaterials, das ja die unerwünschten Ummagnetisierungsprozesse bewirkt, unterdrückt werden kann. So wird in der EP-A-0 710 923, von der der Anspruch 1 im Oberbegriff ausgeht, ein magnetisches Markierungselement beschrieben, das aus einem dünnen magnetischen Draht aus Barkhausenmaterial besteht, in dessen beiden Endbereichen zwei weichmagnetische Plättchen angeordnet sind, die eine kleinere Koerzitivkraft haben als der Draht aus Barkhausenmaterial. Zwecks Erhöhung der Pulshöhe bedecken die Plättchen die Streifenenden und ragen vorzugsweise nach allen Seiten hin über die Enden hinaus.
Aus der EP-A-0 762 354 ist bekannt, ein amorphes Band oder einen amorphen Draht aus Barkhausenmaterial als Sicherungselement für die elektronische Artikelsicherung zu verwenden. Zur Erhöhung der Pulshöhe ist dem amorphen Material zumindest ein weiterer Streifen aus weichmagnetischem Material zugeordnet, der vorzugsweise die Enden des amorphen Materials überragt.
Beide Lösungen des Standes der Technik haben den Nachteil, daß sie sich nicht für eine kontinuierliche Fertigung von Bändern eignen, aus denen später Etiketten unterschiedlicher Länge gestanzt werden. Der Grund liegt darin, daß die weichmagnetischen Streifen an den Enden der Etiketten positioniert sein müssen, wobei jedoch die Position während der Fertigung in der Regel nicht bestimmbar ist.
Der Erfindung liegt die Aufgabe zugrunde, ein kostengünstiges Element für die elektronische Artikelsicherung oder für die Sensortechnik vorzuschlagen, das die zuvorgenannten Nachteile nicht aufweist.
Die Aufgabe wird dadurch gelöst, daß die Abschnitte des weichmagnetischen Materials in einem vorgegebenen Abstand voneinander im wesentlichen gleichmäßig über die Länge des Barkhausenmaterials verteilt sind.
Durch die Streufeldkopplung wird eine Stabilisierung des vorgespannten drahtförmigen oder streifenförmigen Barkhausenmaterials bewirkt. Durch die Anordnung der weichmagnetischen Abschnitte längs des streifenförmigen bzw. drahtförmigen Barkhausenmaterials wird das innere Feld des Elements reduziert, und zwar nicht nur -wie im Stand der Technik beschrieben- in den Endbereichen. Hierdurch wird -wie nachfolgend noch näher erläutert- der eigentliche Schaltbereich gezielt stabilisiert, bis die intrinsische Schaltfeldstärke erreicht ist, welche letztlich durch induzierte Anisotropien und damit durch die Domänenwand-Beweglichkeit bestimmt ist.
Da bei der erfindungsgemäßen Lösung eine Bedeckung der Enden des drahtförmigen oder streifenförmigen Barkhausenmaterials nicht erforderlich ist, lassen sich die entsprechenden Sicherungselemente als kontinuierliche Bänder fertigen. Aus den Bändern können dann Etiketten einer für den jeweiligen Anwendungsfall benötigten Länge ausgestanzt werden.
Ein besonders günstiges Verfahren zur Herstellung der erfindungsgemäßen Sicherungselemente ist in der DE-A-196 31 852 beschrieben. Zwar bezieht sich das aus diesem Stand der Technik bekannt gewordenen Verfahren auf die Fertigung von deaktivierbaren weichmagnetischen Streifenelementen, ersetzt man jedoch das aktivierbare weichmagnetische Material der deutschen Offenlegungsschrift durch streifenförmiges oder drahtförmiges Barkhausenmaterial und das halbhart- oder hartmagnetische Deaktivatormaterial durch weichmagnetisches Material, so ist das bekannt gewordene Verfahren analog auf die Herstellung der erfindungsgemäßen Sicherungselemente übertragbar.
Selbstverständlich kann das erfindungsgemäße Element für die Artikelsicherung oder die Sensortechnik auch nach allen weiteren bekannt gewordenen Verfahren zur Herstellung von deaktivierbaren Streifenelementen gefertigt werden. Erwähnt sei hier insbesondere noch das Herstellungsverfahren, das in der EP-A-0 680 011 beschrieben ist.
Um die Kopplung der Abschnitte des weichmagnetischen Materials mit dem Barkhausenmaterial zu optimieren, wird vorgeschlagen, die Abschnitte des weichmagnetischen Materials auf dem Barkhausenmaterial anzuordnen.
Gemäß einer bevorzugten Ausgestaltung des erfindungsgemäßen Elements ist vorgesehen, daß die Abschnitte des weichmagnetischen Materials und das Barkhausenmaterial im wesentlichen die gleiche Breite haben.
Für die Anwendung als Impulsdrähte in Sensoren hat das erfindungsgemäße Element den Vorteil, daß die Enden nicht bedeckt sind. Hierdurch wird es möglich, den Abstand zwischen dem eigentlichen Sensor und der Feldquelle gering zu halten. Gerade bei derartigen Sensoren, aber in zunehmendem Maße auch bei Elementen für die elektronische Artikelsicherung (insbesondere bei kleinen Artikeln), ist eine Ausgestaltung des erfindungsgemäßen Schaltelements als besonders günstig anzusehen, bei der - wie bereits erwähnt - die Länge des streifenförmigen oder drahtförmigen Barkhausenmaterials relativ gering gewählt ist. Durch Abstimmung der Länge, des Abstandes und der Permeabilität der Abschnitte des weichmagnetischen Materials läßt sich das charakteristische Signal des Elements für die jeweilige Länge des Barkhausenmaterials optimieren. So ermöglicht es die erfindungsgemäße Lösung, die Länge von aus dem Stand der Technik bekannt gewordenen Barkhausenelementen um ca. die Hälfte zu verkürzen, ohne die Schaltfeldstärke drastisch zu erhöhen. Dies führt zwangsläufig zu erheblichen Materialeinsparungen weshalb das erfindungsgemäße Element relativ kostengünstig ist. Unterstützt wird dies auch durch die zuvor beschriebenen einfachen und kostengünstigen Methoden der Fertigung.
Um die erfindungsgemäßen Sicherungs- oder Sensorelemente deaktivierbar auszugestalten, schlägt eine vorteilhafte Weiterbildung vor, daß Abschnitte eines halbhart- oder hartmagnetischen Materials vorgesehen sind, die in unmittelbarer Nähe des Barkhausenmaterials und der Abschnitte des weichmagnetischen Materials angeordnet sind.
Eine Ausgestaltung eines deaktivierbaren erfindungsgemäßen Elements sieht vor, daß die Abschnitte des weichmagnetischen Materials und die Abschnitte des halbhart- oder hartmagnetischen Materials entlang der Länge des Barkhausenmaterials abwechselnd aufeinander folgend angeordnet sind.
Gemäß einer vorteilhaften Weiterbildung des erfindungsgemäßen Elements für die elektronische Artikelsicherung oder für die Sensortechnik ist vorgesehen, daß die Abschnitte des weichmagnetischen Materials und die Abschnitte des halbhart- oder hartmagnetischen Materials und das Barkhausenmaterial im wesentlichen dieselbe Breite haben.
Die Erfindung wird anhand der nachfolgenden Figuren näher erläutert. Es zeigt:
  • Fig. 1: eine schematische Darstellung des Schaltverhaltens von bekannten Barkhausenelementen verschiedener Länge,
  • Fig. 2: eine perspektivische Ansicht einer Ausführungsform des erfindungsgemäßen Elements für die elektronische Artikelsicherung oder für die Sensortechnik,
  • Fig. 3: eine Draufsicht auf die in Fig. 2 dargestellte Ausführungsform,
  • Fig. 4: einen Querschnitt durch eine zweite deaktivierbare Ausführungsform des erfindungsgemäßen Elements und
  • Fig. 5: eine schematische Darstellung des Schaltverhaltens des erfindungsgemäßen Elements für die elektronische Artikelsicherung oder für die Sensortechnik.
  • Fig. 1 zeigt eine schematische Darstellung des Schaltverhaltens von bekannten Barkhausenelementen verschiedener Länge im M-H-Diagramm. Während die Hysteresekurve des längeren Barkhausenelements - gekennzeichnet durch (I) - nahezu rechteckförmig verläuft und damit bei Erreichen der jeweiligen Schaltfeldstärken schlagartig ummagnetisiert, weist das kürzere Barkhausenelement - gekennzeichnet durch (II) - eine Hysteresekurve auf, die von der gewünschten Rechteckform erheblich abweicht. Die Ummagnetisierung erfolgt hier nicht mehr schlagartig bei einer vorgegebenen Feldstärke des äußeren Magnetfeldes H, sondem kontinuierlich, während das äußere Magnetfeld einen gewissen Bereich durchläuft.
    Die Magnetisierung in den Barkhausenelementen ist, aus dem gesättigten Zustand des Felds H1 kommend, bei Erreichen der Feldstärke H2 im unteren Bereich der Zeichnung dargestellt. Während im Falle des längeren Barkhausenelements die Ummagnetisierung der Randbereiche vemachlässigbar gering ist, tritt sie bei dem kürzeren Barkhausenelement aufgrund des erhöhten Entmagnetisierungseffekts bereits deutlich vor dem Erreichen der eigentlichen Schaltfeldstärke Hs auf. Die Folge davon ist, daß der Ummagnetisierungsprozeß des kürzeren Elements weit weniger schlagartig verläuft als der des längeren Elements. Hierdurch wird die Detektionswahrscheinlichkeit in elektronischen Artikelüberwachungssystemen, die auf der Erzeugung höherer Harmonischer der Grundfrequenz des Abfragefeldes basiert, drastisch verringert.
    In Fig. 2 ist in perspektivischer Ansicht eine Ausführungsform des erfindungsgemäßen Elements 1 für die elektronische Artikelsicherung oder für die Sensortechnik dargestellt. Fig. 3 zeigt die Ausführungsform in Draufsicht.
    Auf einem streifenförmigen Barkhausenmaterials 2 sind im Abstand b voneinander Abschnitte 3 eines weichmagnetischen Materials der Länge a angeordnet. Durch die erfindungsgemäße Lösung wird infolge von Streufeldkopplungen eine Stabilisierung des vorgespannten Barkhausenmaterials 2 erreicht. Durch gezielte Optimierung der Permeabilität P, der Länge a und des Abstandes b der Abschnitte 3 des weichmagnetischen Materials kann das Schaltverhalten auch relativ kurzer Barkhausenelemente entschieden verbessert werden, ohne daß dazu eine unerwünschte Erhöhung der intrinsischen Schaltfeldstärke notwendig wäre. Als intrinsische Schaltfeldstärke wird hierbei die Schaltfeldstärke eines "unendlich" langen Barkhausenelements bezeichnet.
    Eine deaktivierbare Ausführungsform des erfindungsgemäßen Elements 1 ist in Fig. 4 im Querschnitt zu sehen. Auf dem streifenförmigen Barkhausenmaterial 2 sind im Abstand b voneinander Abschnitte 3 der Länge a aus weichmagnetischem Material angeordnet. Unter dem streifenförmigen Barkhausenmaterial 2 sind Abschnitte 4 eines halbhart- oder hartmagnetischen Materials angeordnet. Die Abschnitte 4 dienen in bekannter Weise der Deaktivierung des Sicherungselements 1. Wird an das Sicherungelement 1 ein so hohes Magnetfeld angelegt, daß die Abschnitte 4 des halbhart- oder hartmagnetischen Materials in die Sättigung getrieben werden, so unterbinden sie nachfolgend eine Reaktion des Barkhausenmaterials 2 auf das äußere magnetische Abfragefeld H.
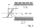
    Fig. 5 zeigt eine schematische Darstellung des Schaltverhaltens des erfindungsgemäßen Elements 1 für die elektronische Artikelsicherung bzw. für die Sensortechnik. Während das streifenförmige bzw. drahtförmige Barkhausenmaterial 2 für sich genommen die bereits mehrfach erwähnte rechteckförmige Hysteresekurve aufweist, hat die Hysteresekurve der Abschnitte 3 des weichmagnetischen Materials eine typisch gescherte Form. Die erfindungsgemäße Lösung zeichnet sich nun gerade dadurch aus, daß ein streifenförmiges oder drahtförmiges Barkhausenmaterial 2 geringer Länge L verwendet wird. Ohne die auf dem Barkhausenmaterial 2 angeordneten Abschnitte 3 des weichmagnetischen Materials würde die Hystereskurve die in Fig. 1 gezeigte abgerundete Form (Hysteresekurve II) haben. Durch die regelmäßige Anordnung der Abschnitte 3 des weichmagnetischen Materials auf dem Barkhausenmaterial 2 wird das vorgespannte Barkhausenmaterial 2 infolge der Streufeldkopplung stabilisiert. Damit hat auch das kurze Barkhausenelement eine rechteckförmige Hysteresekurve und zeigt folglich das gewünschte Schaltverhalten bei Anlegen eines äußeren magnetischen Wechselfeldes H.

    Claims (7)

    1. Element für die elektronische Artikelsicherung oder für die Sensortechnik, bestehend aus einem streifenförmigen oder drahtförmigen Barkhausenmaterial (2) der Länge L, das in einem externen magnetischen Wechselfeld zur Aussendung eines charakteristischen Signals angeregt wird, und einem weichmagnetischen Material, das dem Barkhausenmaterial (2) zugeordnet ist,
      wobei
      das weichmagnetische Material aus einzelnen Abschnitten (3) einer vorgegebenen Länge (a) besteht und
      die Abschnitte (3) des weichmagnetischen Materials bezüglich des Barkhausenmaterials (2) derart positioniert sind, daß die von ihnen erzeugten magnetischen Streufelder mit der Magnetisierung (M) des Barkhausenmaterials (2) koppeln,
      dadurch gekennzeichnet, daß die Abschnitte (3) des weichmagnetischen Materials in einem vorgegebenen Abstand (b) voneinander im wesentlichen gleichmäßig über die Länge (L) des Barkhausenmaterials (2) verteilt sind.
    2. Vorrichtung nach Anspruch 1,
      dadurch gekennzeichnet, daß die Abschnitte (3) des weichmagnetischen Materials auf dem Barkhausenmaterial (2) angeordnet sind.
    3. Vorrichtung nach Anspruch 1 oder 2,
      dadurch gekennzeichnet, daß die Abschnitte (3) des weichmagnetischen Materials und das Barkhausenmaterial (2) im wesentlichen die gleiche Breite haben.
    4. Vorrichtung nach Anspruch 1, 2 oder 3,
      dadurch gekennzeichnet, daß die Länge L des Barkhausenmaterials (2) so gering wie möglich gewählt ist und
      daß durch Abstimmung der Länge (a), des Abstandes (b) und der Permeabilität (P) der Abschnitte (3) des weichmagnetischen Materials das charakteristische Signal des Elements (1) für die jeweilige Länge (L) des Barkhausenmaterials (2) optimiert ist.
    5. Vorrichtung nach einem der Ansprüche 1 bis 4,
      dadurch gekennzeichnet, daß Abschnitte (4) eines halbhart- oder hartmagnetischen Materials vorgesehen sind, die in unmittelbarer Nähe des Barkhausenmaterials (2) und der Abschnitte (3) des weichmagnetischen Materials angeordnet sind.
    6. Vorrichtung nach Anspruch 5,
      dadurch gekennzeichnet, daß die Abschnitte (3) des weichmagnetischen Materials und die Abschnitte (4) des halbhart- oder hartmagnetischen Materials entlang der Länge (L) des Barkhausenmaterials (2) abwechselnd aufeinander folgend angeordnet sind.
    7. Vorrichtung nach Anspruch 5 oder 6,
      dadurch gekennzeichnet, daß die Abschnitte (3) des weichmagnetischen Materials und die Abschnitte (4) des halbhart- oder hartmagnetischen Materials und das Barkhausenmaterial (2) im wesentlichen dieselbe Breite haben.
    EP99104717A 1998-04-08 1999-03-10 Element für die elektronische Artikelsicherung Expired - Lifetime EP0949598B1 (de)

    Applications Claiming Priority (2)

    Application Number Priority Date Filing Date Title
    DE19815583 1998-04-08
    DE19815583A DE19815583A1 (de) 1998-04-08 1998-04-08 Element für die elektronische Artikelsicherung oder für die Sensortechnik

    Publications (3)

    Publication Number Publication Date
    EP0949598A2 EP0949598A2 (de) 1999-10-13
    EP0949598A3 EP0949598A3 (de) 2000-11-22
    EP0949598B1 true EP0949598B1 (de) 2003-12-03

    Family

    ID=7863889

    Family Applications (1)

    Application Number Title Priority Date Filing Date
    EP99104717A Expired - Lifetime EP0949598B1 (de) 1998-04-08 1999-03-10 Element für die elektronische Artikelsicherung

    Country Status (6)

    Country Link
    US (1) US6259368B1 (de)
    EP (1) EP0949598B1 (de)
    JP (1) JP4159697B2 (de)
    DE (2) DE19815583A1 (de)
    DK (1) DK0949598T3 (de)
    ES (1) ES2212404T3 (de)

    Families Citing this family (10)

    * Cited by examiner, † Cited by third party
    Publication number Priority date Publication date Assignee Title
    US6690279B1 (en) * 1998-07-22 2004-02-10 Meto International Gmbh Security element for the electronic surveillance of articles
    DE19958466A1 (de) * 1999-12-04 2001-06-07 Meto International Gmbh Vorrichtung und Verfahren zum Anzeigen des Zustands von EM- oder AM-Sicherungsetiketten
    EP1258538B1 (de) * 2000-07-17 2006-10-11 NHK Spring Co., Ltd. Magnetischer markierer und seine herstellung
    US8244632B2 (en) 2001-10-26 2012-08-14 First Data Corporation Automated transfer with stored value
    ES2268964B1 (es) * 2005-04-21 2008-04-16 Micromag 2000, S.L. "etiqueta magnetica activable/desactivable basada en microhilo magnetico y metodo de obtencion de la misma".
    RU2292588C1 (ru) * 2005-07-12 2007-01-27 Бетелин Владимир Борисович Устройство для идентификации и способ его опроса
    KR101419263B1 (ko) * 2008-04-18 2014-07-16 메트글라스, 인코포레이티드 원격 온도 센싱 장치와 그에 따른 원격 온도 센싱 방법
    EP2269017A4 (de) * 2008-04-18 2013-09-25 Metglas Inc Temperatursensor und diesbezügliches ferntemperaturerfassungsverfahren
    DE102009043462A1 (de) * 2009-09-30 2011-03-31 Vacuumschmelze Gmbh & Co. Kg Magnetischer Streifen, Sensor aufweisend einen magnetischen Streifen und Verfahren zur Herstellung eines magnetischen Streifens
    JP2014171044A (ja) * 2013-03-01 2014-09-18 Yokohama National Univ 電気パルス発生装置、及び電気パルス発生装方法

    Family Cites Families (12)

    * Cited by examiner, † Cited by third party
    Publication number Priority date Publication date Assignee Title
    CA1234891A (en) * 1983-10-20 1988-04-05 746278 Ontario Limited D/B/A I.D. Systems Canada Security system label
    GB8713353D0 (en) * 1987-06-08 1987-07-15 Scient Generics Ltd Magnetic article surveillance systems
    US4829288A (en) * 1987-11-30 1989-05-09 Minnesota Mining And Manufacturing Company Economic, multi-directionally responsive marker for use in electronic article surveillance systems
    US4882569A (en) * 1988-07-26 1989-11-21 Security Tag Systems, Inc. Deactivatable fequency-dividing-transponder tag
    JPH08186019A (ja) * 1994-11-02 1996-07-16 Unitika Ltd 磁気マーカ
    US5554974A (en) * 1994-11-23 1996-09-10 International Business Machines Corporation Encodable tag with radio frequency readout
    US5519379A (en) * 1995-04-10 1996-05-21 Sensormatic Electronics Corporation Multi-thread re-entrant marker with simultaneous switching
    DE19533362A1 (de) * 1995-09-09 1997-03-13 Vacuumschmelze Gmbh Längsgestreckter Körper als Sicherungsetikett für elektromagnetische Diebstahlsicherungssysteme
    CA2189827A1 (en) * 1995-11-08 1997-05-09 Tatsuya Matsumoto Antitheft label
    DE19604746A1 (de) * 1996-02-09 1997-08-14 Esselte Meto Int Gmbh Sicherungselement für die elektronische Artikelsicherung
    US5835016A (en) * 1997-12-15 1998-11-10 Sensormatic Electronics Corporation Multi-thread re-entrant marker with transverse anisotropy flux concentrators
    US6023226A (en) * 1998-01-29 2000-02-08 Sensormatic Electronics Corporation EAS marker with flux concentrators having magnetic anisotropy oriented transversely to length of active element

    Also Published As

    Publication number Publication date
    EP0949598A3 (de) 2000-11-22
    ES2212404T3 (es) 2004-07-16
    US6259368B1 (en) 2001-07-10
    JPH11328549A (ja) 1999-11-30
    EP0949598A2 (de) 1999-10-13
    DE59907905D1 (de) 2004-01-15
    DE19815583A1 (de) 1999-10-14
    JP4159697B2 (ja) 2008-10-01
    DK0949598T3 (da) 2004-03-29

    Similar Documents

    Publication Publication Date Title
    DE3837129C2 (de)
    DE69427641T2 (de) Mehrfrequenz-etikett
    DE69506737T2 (de) Verfahren zur anregung und detektion magnetischer elemente
    DE3505052C2 (de)
    DE69724426T2 (de) Magnetische lesevorrichtungen
    DE69731896T2 (de) Sicherungsetikett mit hoher barkhausen-diskontinuität
    EP0616304A1 (de) Artikelsicherungselement
    EP0949598B1 (de) Element für die elektronische Artikelsicherung
    DE19733849A1 (de) Diebstahlsicherungsschild
    DE69303913T2 (de) Detektierungsetikett
    DE69614296T2 (de) Durchgangs-Markierungsetikett mit Mehrfachdrähten und gleichzeitigem Schalten
    DE1960972A1 (de) Speicheranordnung zum magnetischen Speichern einer Vielzahl von Datenbits und Verfahren zum Schreiben bzw. Lesen in bzw. aus solchen Speicheranordnungen bzw. Mehrfachbit-Mehrfachmagnetschicht-Speicherelementen solcher Speicheranordnungen
    EP0762354A1 (de) Längsgestreckter Körper als Sicherungsetikett für elektromagnetische Diebstahlsicherungssysteme
    EP0836163B1 (de) Sicherungselement für die elektronische Artikelsicherung und Verfahren zur Herstellung eines Sicherungselementes
    EP1057148B1 (de) Warensicherungselement
    DE102008005348A1 (de) Elektromagnetischer Impedanzsensor und Passagierschutzsystem
    EP0789340B1 (de) Sicherungselement für die elektronische Artikelsicherung
    DE3026482A1 (de) Magnetischer markierstreifen
    EP0901100B1 (de) Magnetisches Identifizierungselement
    DE3312680A1 (de) Spulenanordnung
    DE69728667T2 (de) Glühen magnetischer elemente für stabile magnetische eigenschaften
    EP0756255A1 (de) Deaktivierbarer Sicherungsstreifen und Verfahren und Vorrichtung zur Herstellung eines deaktivierbaren Sicherungsstreifens
    DE602005003990T2 (de) RF Transponder und Verfahren zur Frequenzabstimmung
    EP1944568A2 (de) Anordnung zur Messung der Position eines Magneten relativ zu einem Magnetkern
    DE3019366A1 (de) Magnetkopf und verfahren zu dessen herstellung

    Legal Events

    Date Code Title Description
    PUAI Public reference made under article 153(3) epc to a published international application that has entered the european phase

    Free format text: ORIGINAL CODE: 0009012

    AK Designated contracting states

    Kind code of ref document: A2

    Designated state(s): BE DE DK ES FR GB IT NL PT SE

    AX Request for extension of the european patent

    Free format text: AL;LT;LV;MK;RO;SI

    PUAL Search report despatched

    Free format text: ORIGINAL CODE: 0009013

    AK Designated contracting states

    Kind code of ref document: A3

    Designated state(s): AT BE CH CY DE DK ES FI FR GB GR IE IT LI LU MC NL PT SE

    AX Request for extension of the european patent

    Free format text: AL;LT;LV;MK;RO;SI

    17P Request for examination filed

    Effective date: 20010124

    AKX Designation fees paid

    Free format text: BE DE DK ES FR GB IT NL PT SE

    17Q First examination report despatched

    Effective date: 20030129

    GRAH Despatch of communication of intention to grant a patent

    Free format text: ORIGINAL CODE: EPIDOS IGRA

    GRAS Grant fee paid

    Free format text: ORIGINAL CODE: EPIDOSNIGR3

    GRAA (expected) grant

    Free format text: ORIGINAL CODE: 0009210

    AK Designated contracting states

    Kind code of ref document: B1

    Designated state(s): BE DE DK ES FR GB IT NL PT SE

    REG Reference to a national code

    Ref country code: GB

    Ref legal event code: FG4D

    Free format text: NOT ENGLISH

    REF Corresponds to:

    Ref document number: 59907905

    Country of ref document: DE

    Date of ref document: 20040115

    Kind code of ref document: P

    PGFP Annual fee paid to national office [announced via postgrant information from national office to epo]

    Ref country code: DK

    Payment date: 20040120

    Year of fee payment: 6

    REG Reference to a national code

    Ref country code: SE

    Ref legal event code: TRGR

    GBT Gb: translation of ep patent filed (gb section 77(6)(a)/1977)

    Effective date: 20040216

    REG Reference to a national code

    Ref country code: DK

    Ref legal event code: T3

    REG Reference to a national code

    Ref country code: ES

    Ref legal event code: FG2A

    Ref document number: 2212404

    Country of ref document: ES

    Kind code of ref document: T3

    ET Fr: translation filed
    PLBE No opposition filed within time limit

    Free format text: ORIGINAL CODE: 0009261

    STAA Information on the status of an ep patent application or granted ep patent

    Free format text: STATUS: NO OPPOSITION FILED WITHIN TIME LIMIT

    26N No opposition filed

    Effective date: 20040906

    PG25 Lapsed in a contracting state [announced via postgrant information from national office to epo]

    Ref country code: DK

    Free format text: LAPSE BECAUSE OF NON-PAYMENT OF DUE FEES

    Effective date: 20050331

    REG Reference to a national code

    Ref country code: DK

    Ref legal event code: EBP

    PGFP Annual fee paid to national office [announced via postgrant information from national office to epo]

    Ref country code: SE

    Payment date: 20070328

    Year of fee payment: 9

    PG25 Lapsed in a contracting state [announced via postgrant information from national office to epo]

    Ref country code: PT

    Free format text: LAPSE BECAUSE OF NON-PAYMENT OF DUE FEES

    Effective date: 20040503

    EUG Se: european patent has lapsed
    PGFP Annual fee paid to national office [announced via postgrant information from national office to epo]

    Ref country code: IT

    Payment date: 20080328

    Year of fee payment: 9

    PG25 Lapsed in a contracting state [announced via postgrant information from national office to epo]

    Ref country code: SE

    Free format text: LAPSE BECAUSE OF NON-PAYMENT OF DUE FEES

    Effective date: 20080311

    PGFP Annual fee paid to national office [announced via postgrant information from national office to epo]

    Ref country code: ES

    Payment date: 20090326

    Year of fee payment: 11

    PGFP Annual fee paid to national office [announced via postgrant information from national office to epo]

    Ref country code: NL

    Payment date: 20090324

    Year of fee payment: 11

    PG25 Lapsed in a contracting state [announced via postgrant information from national office to epo]

    Ref country code: IT

    Free format text: LAPSE BECAUSE OF NON-PAYMENT OF DUE FEES

    Effective date: 20080310

    PGFP Annual fee paid to national office [announced via postgrant information from national office to epo]

    Ref country code: DE

    Payment date: 20090327

    Year of fee payment: 11

    PGFP Annual fee paid to national office [announced via postgrant information from national office to epo]

    Ref country code: BE

    Payment date: 20090430

    Year of fee payment: 11

    PGFP Annual fee paid to national office [announced via postgrant information from national office to epo]

    Ref country code: FR

    Payment date: 20090317

    Year of fee payment: 11

    PGFP Annual fee paid to national office [announced via postgrant information from national office to epo]

    Ref country code: GB

    Payment date: 20090403

    Year of fee payment: 11

    BERE Be: lapsed

    Owner name: *METO INTERNATIONAL G.M.B.H.

    Effective date: 20100331

    REG Reference to a national code

    Ref country code: NL

    Ref legal event code: V1

    Effective date: 20101001

    GBPC Gb: european patent ceased through non-payment of renewal fee

    Effective date: 20100310

    REG Reference to a national code

    Ref country code: FR

    Ref legal event code: ST

    Effective date: 20101130

    PG25 Lapsed in a contracting state [announced via postgrant information from national office to epo]

    Ref country code: NL

    Free format text: LAPSE BECAUSE OF NON-PAYMENT OF DUE FEES

    Effective date: 20101001

    Ref country code: FR

    Free format text: LAPSE BECAUSE OF NON-PAYMENT OF DUE FEES

    Effective date: 20100331

    PG25 Lapsed in a contracting state [announced via postgrant information from national office to epo]

    Ref country code: DE

    Free format text: LAPSE BECAUSE OF NON-PAYMENT OF DUE FEES

    Effective date: 20101001

    Ref country code: BE

    Free format text: LAPSE BECAUSE OF NON-PAYMENT OF DUE FEES

    Effective date: 20100331

    PG25 Lapsed in a contracting state [announced via postgrant information from national office to epo]

    Ref country code: GB

    Free format text: LAPSE BECAUSE OF NON-PAYMENT OF DUE FEES

    Effective date: 20100310

    REG Reference to a national code

    Ref country code: ES

    Ref legal event code: FD2A

    Effective date: 20110419

    PG25 Lapsed in a contracting state [announced via postgrant information from national office to epo]

    Ref country code: ES

    Free format text: LAPSE BECAUSE OF NON-PAYMENT OF DUE FEES

    Effective date: 20110404

    PG25 Lapsed in a contracting state [announced via postgrant information from national office to epo]

    Ref country code: ES

    Free format text: LAPSE BECAUSE OF NON-PAYMENT OF DUE FEES

    Effective date: 20100311