EP0944544B2 - Verfahren und anordnung zum fördern von individuell gehaltenen produkten - Google Patents

Verfahren und anordnung zum fördern von individuell gehaltenen produkten Download PDF

Info

Publication number
EP0944544B2
EP0944544B2 EP97913069A EP97913069A EP0944544B2 EP 0944544 B2 EP0944544 B2 EP 0944544B2 EP 97913069 A EP97913069 A EP 97913069A EP 97913069 A EP97913069 A EP 97913069A EP 0944544 B2 EP0944544 B2 EP 0944544B2
Authority
EP
European Patent Office
Prior art keywords
conveying
elements
path
paths
holding
Prior art date
Legal status (The legal status is an assumption and is not a legal conclusion. Google has not performed a legal analysis and makes no representation as to the accuracy of the status listed.)
Expired - Lifetime
Application number
EP97913069A
Other languages
English (en)
French (fr)
Other versions
EP0944544B1 (de
EP0944544A1 (de
Inventor
Carl Conrad Maeder
Current Assignee (The listed assignees may be inaccurate. Google has not performed a legal analysis and makes no representation or warranty as to the accuracy of the list.)
Ferag AG
Original Assignee
Ferag AG
Priority date (The priority date is an assumption and is not a legal conclusion. Google has not performed a legal analysis and makes no representation as to the accuracy of the date listed.)
Filing date
Publication date
Family has litigation
First worldwide family litigation filed litigation Critical https://patents.darts-ip.com/?family=4247940&utm_source=google_patent&utm_medium=platform_link&utm_campaign=public_patent_search&patent=EP0944544(B2) "Global patent litigation dataset” by Darts-ip is licensed under a Creative Commons Attribution 4.0 International License.
Application filed by Ferag AG filed Critical Ferag AG
Priority to DK97913069T priority Critical patent/DK0944544T4/da
Publication of EP0944544A1 publication Critical patent/EP0944544A1/de
Publication of EP0944544B1 publication Critical patent/EP0944544B1/de
Application granted granted Critical
Publication of EP0944544B2 publication Critical patent/EP0944544B2/de
Anticipated expiration legal-status Critical
Expired - Lifetime legal-status Critical Current

Links

Images

Classifications

    • BPERFORMING OPERATIONS; TRANSPORTING
    • B65CONVEYING; PACKING; STORING; HANDLING THIN OR FILAMENTARY MATERIAL
    • B65HHANDLING THIN OR FILAMENTARY MATERIAL, e.g. SHEETS, WEBS, CABLES
    • B65H29/00Delivering or advancing articles from machines; Advancing articles to or into piles
    • B65H29/58Article switches or diverters
    • B65H29/60Article switches or diverters diverting the stream into alternative paths
    • BPERFORMING OPERATIONS; TRANSPORTING
    • B65CONVEYING; PACKING; STORING; HANDLING THIN OR FILAMENTARY MATERIAL
    • B65HHANDLING THIN OR FILAMENTARY MATERIAL, e.g. SHEETS, WEBS, CABLES
    • B65H29/00Delivering or advancing articles from machines; Advancing articles to or into piles
    • B65H29/003Delivering or advancing articles from machines; Advancing articles to or into piles by grippers
    • BPERFORMING OPERATIONS; TRANSPORTING
    • B65CONVEYING; PACKING; STORING; HANDLING THIN OR FILAMENTARY MATERIAL
    • B65HHANDLING THIN OR FILAMENTARY MATERIAL, e.g. SHEETS, WEBS, CABLES
    • B65H2301/00Handling processes for sheets or webs
    • B65H2301/30Orientation, displacement, position of the handled material
    • B65H2301/32Orientation of handled material
    • B65H2301/323Hanging
    • BPERFORMING OPERATIONS; TRANSPORTING
    • B65CONVEYING; PACKING; STORING; HANDLING THIN OR FILAMENTARY MATERIAL
    • B65HHANDLING THIN OR FILAMENTARY MATERIAL, e.g. SHEETS, WEBS, CABLES
    • B65H2301/00Handling processes for sheets or webs
    • B65H2301/40Type of handling process
    • B65H2301/44Moving, forwarding, guiding material
    • B65H2301/447Moving, forwarding, guiding material transferring material between transport devices
    • B65H2301/4471Grippers, e.g. moved in paths enclosing an area
    • BPERFORMING OPERATIONS; TRANSPORTING
    • B65CONVEYING; PACKING; STORING; HANDLING THIN OR FILAMENTARY MATERIAL
    • B65HHANDLING THIN OR FILAMENTARY MATERIAL, e.g. SHEETS, WEBS, CABLES
    • B65H2405/00Parts for holding the handled material
    • B65H2405/50Gripping means
    • B65H2405/56Gripping means releasably connected to transporting means

Definitions

  • the invention is in the field of conveyor technology and relates to a method for conveying individually held products according to the preamble of the first independent claim, and an arrangement for Implementation of the method according to the preamble of the corresponding independent claim.
  • the products to be considered below are considered to be individual and may be individual Because of essentially continuously conveyed through a network of conveyor lines. Through this promotion will be For example, the products are taken from a manufacturing process to stations where they are processed individually be transferred from one processing station to another processing station or through processing stations, in which they are processed during continuous support.
  • An example for products to be handled in this way are printed products which, starting from the printing press, are replaced by a wide variety of different types Processing stations are further processed and made ready for shipment.
  • the arrangements for conveying piece goods described above are particularly suitable for product streams, which are conveyed with substantially unchanged product sequence over longer conveyor lines.
  • the Arrangements are robust and easy to operate even at very high flow rates and the return of the holding means is realizable without specific control on a simple backward run.
  • the invention is now the task of a method for promoting individually held products show that combines the advantages of the systems described above, but largely eliminates their disadvantages.
  • the method should be largely independent of variations in form with respect to the promotional Products, it should also be applicable for very high flow rates and it should be better than known such Procedures in various areas, through which the products are to be promoted, to a variety of conveying tasks be customizable. Furthermore, it is the object of the invention to provide an arrangement for carrying out the method create which arrangement can be easily adapted to a variety of local transport tasks and also easily expandable is.
  • the method according to the invention is based on assigning a holding element to each product to be conveyed, which holding element holds the product in a defined manner and which holding element together with the product travels the entire predetermined for the product conveying path, which conveyor from a series consists of conveyor lines.
  • the holding elements are coupled to the conveyor for parts that are along a specific conveyor line are movable, or on guides that extend along a specific conveyor line.
  • the holding elements each have at least one first coupling part, with the aid of which they are connected to second coupling parts can be coupled, each second coupling part assigned to a specific conveyor line substantially and is movable along this.
  • the holding elements with Help the first coupling parts and on guides that extend along a conveyor line, coupled become.
  • a product to be conveyed is held by a holding element and the holding element is by means of the first coupling part to a movable along the conveying path second Coupling part or coupled to a along the conveying path extending guide, wherein the coupling part or, a conveying element on which it is arranged, or the holding element is driven by suitable means.
  • the holding element In Transfer areas, ie in places where the product from one conveyor line to another conveyor line is guided, the holding element, from the movable on the one conveyor line second coupling part or corresponding guide decoupled and to a movable on the other conveyor section second coupling part or coupled to a corresponding leadership, this transfer can affect all products of a stream or only individual.
  • the advantage of the method is, on the one hand, that the products to be conveyed are taken only once which significantly reduces the risk of damage and makes the process largely independent will depend on the exact shape of the products.
  • the movable on conveyor lines second coupling parts can, for example, in equidistant manner Be arranged conveyor chains. If holding elements are coupled to such a conveyor chain, it corresponds in their function of a known conveyor chain, as described above.
  • the second coupling parts can also be arranged on links of chains with variable link distances or they can be completely independent be arranged from each other movable conveyor elements. Depending on the way the second coupling parts along a certain conveyor line are movable, and appropriate drive means are interpreted and arranged.
  • conveyor lines with second coupling parts movable thereon in addition to the conveyor lines with second coupling parts movable thereon, in an inventive Arrangement also be provided conveyor lines on which the holding elements without coupling movable are, for example, the fact that their first coupling parts slide in appropriately designed guides, for example, powered by gravity. Such additional conveyor lines are particularly suitable for a non-continuous promotion, so for example for buffer lines and for return routes.
  • Another advantage of the inventive method and the inventive arrangement is in that in processes in which it is advantageous to individually identify the products, the means of identification not on the products themselves but on the holding elements can be arranged and thereby the conveyor system Do not leave with the products, but with the circulating in the holding elements in the system.
  • Denieri Mittelzur Identification are, for example, contactlessly writable and readable electronic units.
  • FIG. 1 schematically shows a first exemplary variant of the method according to the invention with reference to a very limited network with only two conveyor lines A and B in a transfer area U and its immediate surroundings.
  • the two conveyor lines are shown schematically by lines with arrow (conveying direction).
  • second coupling parts 2 are movable, which are shown schematically as white squares.
  • first coupling parts 1 are shown schematically as black circles.
  • a holding element which holding element holds a product 3.
  • the product (seen from the back in FIG. 1) is, for example, a printed product, ie a newspaper, a magazine or a brochure or an intermediate product for one of the products mentioned.
  • FIG. 1 can be understood, for example, as a bird's eye view, that is to say the conveying paths A and B, coupling parts 1 and 2 and the holding elements are above the suspended conveyed products 3rd arranged.
  • the representation can just as well be understood as a side view, that is, the products 3 are held laterally, the conveyor line A comes from above and the conveyor line B goes down. Also Mixed forms are readily conceivable.
  • the second coupling parts 2 with constant distances from each other for example moved on articulated chain links arranged moves.
  • the second coupling parts 2 no constant distances from each other, that is, they are for example loose interconnected conveyor elements or arranged on individual conveyor elements.
  • the transfer area U synchronization means (not shown), with the help of the second Coupling 2 on the conveyor line A at least in the transfer area U with the second coupling parts 2 on the conveyor line B synchronized or clocked into the transfer area.
  • the holding elements with the first coupling parts 1 are on the supply side (in the figure on the left) to Transfer area U coupled to the movable on the conveyor section A second coupling parts 2.
  • On the conveying side (in the figure on the right) of the transfer area U are the holding elements or first coupling parts 1 are coupled to second coupling parts 2 on the conveyor line B and are on this further promoted.
  • the transfer area U are in addition to synchronization means for the synchronization of the second coupling parts 2 of the two conveyor lines A and B to provide means by which the movement of the holding elements or the first coupling parts 1 transversely to the conveying direction (arrow Q) are moved, for example, correspondingatsungskulissen, as indicated by the dot-dash lines a and b.
  • the Means for the transverse movement designed to be controlled accordingly. In appropriate arrangements can as Means for transverse movement also be exploited gravity.
  • locking means are also provided, with the help of which two are coupled together Clutch parts 1 and 2 are locked together.
  • Clutch parts 1 and 2 are locked together.
  • FIGs 2 and 3 show an exemplary embodiment of a holding element 4 with a first coupling part 1 and a conveying element 5, which in a guide 6 (defined conveying path) is movable and on which a second coupling part 2 is arranged.
  • Holding element 4 and conveying element 5 are shown in FIG. 2 with a viewing direction transverse to the conveying direction, in FIG. 3 with a viewing direction parallel to the conveying direction.
  • FIG. 2 and 3 equipped holding elements 4 and conveying elements 5 are applicable in a process variant according to Figure 1.
  • the pair shown in Figures 2 and 3 of mutually cooperating coupling parts (1/2) consists from a part with an outwardly narrowing groove 11 and a comb 12 with a narrowed neck area 13, wherein groove 11 and comb 12 have matched cross sections and at least in a transfer area extend substantially transversely to the conveying direction, such that the comb 12 transversely to the conveying direction can be pushed out of the groove 11.
  • the holding element 4 has, for example, a gripper 41, with which a printed product 3 gripped and is held.
  • grippers are well known, for example by the publication CH-569197 and US-3948551 (F62).
  • the conveyor element 5 has, for example, two groups of three balls 51, with the help of it in a corresponding guide channel 61 is movable in rolling.
  • Such conveying elements 5 are in the publication EP-0387318 and US-5074678 described.
  • two guide channels 61 are guided parallel to each other and become the conveying elements 5 synchronized such that always a pair of conveying elements with aligned combs 12 promoted by the transfer area.
  • the distance between the guide channels 61 is in the transfer area chosen such that the distance between two moving synchronously through the transfer area Combing 12 of two synchronously moving conveyor elements 5 is smaller than the length of a groove 11 of a Hatleetementes 4.
  • the holding element 4 from the comb 12 of a conveyor element 5 slidable on the comb 12 of the other conveying element 5 these means all through the transfer area subsidized holding element can push or are controlled so that they only specific the Slide holding means.
  • These means are for examplesecuritysungskulissen or magnet systems, in particular are suitable as controllable funds. .
  • FIG. 4 shows another embodiment of holding elements 4 and conveying elements 5, which can be coupled to one another by a pair of coupling parts (FIGS. 1 and 2) as a representation of a further transfer region through which three conveying paths A, B and C lead (view parallel to the conveying direction).
  • the holding element 4 in turn has a gripper 41, which holds a product 3 and which can be activated or deactivated to grasp a product or to release it by means of control rollers 42.
  • the conveying element 5 is a link of a link chain which is movable on rollers 52 in a guide channel 61.
  • the groove 11 On the holding element 4 is a comb 12 as the first coupling part 1, on the conveying element 5 as a second coupling part 2 a groove 11 arranged (coupling parts with respect to the embodiment according to Figures 2 and 3 reversed).
  • the groove 11 consists of a pipe segment and the Head portion of the comb 12 of a tube whose outer diameter to the inner diameter of the pipe segment is tuned.
  • the holding element 4 further comprises control rollers 43 which are for pushing the comb 12 of the groove 11 of a Conveying element 5 in the groove of another conveyor element on corresponding scenes (not shown) roll.
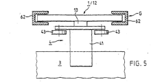
  • FIG. 5 shows how a holding element 4 can be moved along an additional conveying path G, which additional conveying path has no second coupling parts.
  • the retaining element 4 substantially corresponds to the retaining element of Figure 4 and is equipped with control rollers 43 and a comb 12 as the first coupling part 1.
  • the comb 12, which serves for coupling to a second coupling part, has a neck region 13 which extends only over a central part of the comb length, so that the lateral regions of the comb 12 are free tube ends. With these free tube ends, the holding element 4 can slide on both sides in corresponding, for example, U-shaped guide rails 62, which can represent a further conveying variant for a specific area (eg buffer path) of an inventive conveyor arrangement.
  • a return path for empty holding elements can be realized in such a manner, wherein the holding elements are advantageously driven by gravity or by other, for example, pushing drive means.
  • FIG. 6 schematically shows a further transfer region U with two conveying paths A and B.
  • retaining elements of which only the first coupling parts in the form of combs 12 are shown, are provided in corresponding grooves 11 of conveying elements 5.1 of the conveying path A in grooves 11 of FIG Sliding elements 5.2 of the conveying path B, wherein the grooves 11 and combs 12 extend at least in the transfer area U substantially transverse to the conveying direction.
  • the conveying elements 5.1 which are movable on the conveying path A, are connected to one another in a chain, such that their distances are invariable.
  • the conveying elements 5.2 are free, that is not with each other connected elements.
  • the conveying elements 5.1 and 5.2 are designed for automatic synchronization.
  • the Chain of the conveying elements 5.1 has for this purpose between the conveying elements concave docking sites 53, in the convex Docking 54 of the conveyor elements 5.2 fit.
  • the free conveying elements 5.2 are now so against the chain led by conveying elements 5.1 that ever a convex docking 54 of a free conveyor element 5.2 in a concave docking point 53 between two connected conveying elements 5.1 is docked in a kind of positive locking.
  • the free conveyor elements 5.2 are docked via the connected and driven conveyor elements 5.1 promoted at least over the transfer area U, while retaining elements, for example, from the connected 5.1 conveying elements are pushed onto the free conveying elements 52, as shown in the figure 6.
  • FIG. 8 shows a further variant of a transfer area, which is operated essentially according to the same method variant as the transfer area of FIG. 1.
  • two conveyor lines A and B are shown, on which second coupling parts 2 (white squares) are movable.
  • a plurality of transverse conveyor elements 7 are arranged, which are synchronized with the conveying elements of the conveyor lines A and B along a third conveyor line D movable.
  • a first transfer U.1 the holding elements (only first coupling parts 1 shown as black circles) with the products 3 each passed to a cross conveyor element 7 by the first coupling part 1 of the holding element from the coupling part 2 of the conveyor line A decoupled and on the cross conveyor element is pushed.
  • the transverse conveying element 7 differs from the conveying element in that, instead of a second coupling part 2, it has a guide on which the first coupling part 1 of the holding element is displaceable essentially transversely to the general conveying direction.
  • a control link (shown schematically are provided by the dot-dash line a), which control block also the two handovers U.1 and U.2 can control.
  • the cross conveyor elements 7 for the transverse promotion of the holding elements are specially equipped with appropriate drive means.
  • FIG. 9 shows a three-dimensional representation of the same transfer area as FIG. 8. Only first coupling parts 1, second coupling parts 2 of the conveying paths A and B and a transverse guide 71 of a transverse conveying element are shown.
  • the coupling parts 1 and 2 correspond to the coupling parts shown in Figures 2 and 3.
  • the transverse guide 71 of the transverse conveyor element is essentially a comb 12 with a narrowed neck portion 13 having the same cross-section as the comb 12, the second coupling part 2, but it is usually longer than this.
  • FIG. 10 schematically shows an application of the transfer region with transverse conveying, as has already been described in connection with FIGS. 8 and 9.
  • the cross conveyor elements 7 are in this case axially extending compartments 72 of a processing drum 73.
  • the product-conveying conveyor line A, the drum 73 and the products weganinde conveyor line B are arranged vertically staggered one behind the other to the paper plane of Figure 10, such that the transverse conveying substantially runs perpendicular to the plane of the paper and the first transfer U.1 in a front axial region of the drum 73, the second transfer U.2 is performed in a rear axial portion of the drum.
  • the products 3 are held by grippers 41 by means of first coupling parts 1 to second coupling parts 2 coupled fed along the conveyor line A.
  • first coupling parts 1 are decoupled from the second coupling parts 2 and the products together Retaining elements (gripper 41 and first coupling part 1) pushed into a respective compartment 72 of the drum 73, or each first Clutch member 1 is slid onto a transverse guide 71 provided on the bottom of each compartment 72.
  • the drum rotates (arrow D)
  • the holding elements for example, further along the transverse guides 71 in the axial Moved towards the drum 73 and the products 3, for example, by a processing station 74th promoted and edited in it.
  • second transfer U.2 on the other end of the drum 73, the processed products held by the grippers 41 by means of the first coupling parts 1 on second coupling parts coupled to the conveyor line B and conveyed away.
  • FIG. 11 shows a further exemplary variant of the method according to the invention on the basis of a transfer area U, through which two conveyor lines A and B are guided.
  • This variant of the method differs from the method variant according to FIGS. 1 and 8 in that the holding elements 4 each have at least two first coupling parts 1, being coupled to a second coupling part for delivery with one of the first coupling parts.
  • the transverse movement Q of the holding elements 4 during transfer is unnecessary with such a variant of the method.
  • FIG. 12 shows, viewed in the direction parallel to the conveying direction, a transfer region in which holding elements 4 with products 3 can be transferred from a conveying path A to a conveying path B (or vice versa) according to the second variant of the method (FIG. 11).
  • the first coupling parts 1, of which each holding element 4 has two, have the form of connecting pieces 14, which are arranged aligned in opposite directions on the holding element 4.
  • the on along the originallystrekken movable conveyor elements 5 arranged second coupling parts 2 are coupling gripper 15, the Gripping nozzles 14 are designed.
  • the coupling gripper 15 can be activated or deactivated are.
  • the person skilled in grippers and control means for their activation or deactivation are known from Conveyor systems according to the prior art, with which grippers products are taken and held. such Grippers have to be adapted accordingly for a function as second coupling parts 2 (coupling gripper).
  • nozzle 14 and grippers 15 can as the first coupling parts 1 and second coupling parts 2 in the process variant according to Figure 11 a variety of known coupling parts are used, which in one Transfer area are controlled accordingly.
  • FIG. 13 shows a further variant of first and second coupling parts for the process variant according to FIG. 11.
  • a transfer region with two conveying sections A and B is shown (viewing direction parallel to the conveying direction), which defines conveying paths through a respective guide 63 extending along the conveying path are.
  • the first coupling parts 1 of the holding elements 4 are designed as runners, which can be coupled to the guide rail and slide or roll on it.
  • the guide 63 thus not only defines the conveying path but is simultaneously a second coupling part 2 for each support element 4 to be conveyed along the conveying path, wherein at each location of the conveying path a different area of the guide serves as a second coupling part and thereby the coupling can be moved along the conveying path ,
  • Each holding element 4 has two first coupling parts 1 in the form of couplers which can be coupled to the guide 63 16 on.
  • the runners 16 consist of two rotor parts 16.1 and 16.2, with suitable control means and optionally with return means in a closed state around the guide 63 and in a open state can be brought.
  • the travelers 16 roll on rollers 20 on the guide 63 or they glide on her.
  • Embodiments are also conceivable in which the guide 63 is simultaneously drive means, i. along the conveying path is moved, and the first coupling parts 1 not as a rotor but as clamping parts are, with the help of the retaining elements 4 are clamped to the guide.
  • FIG. 14 again shows a third variant of the method according to the invention on the basis of a representation of a transfer area.
  • two conveyor lines A and B with guide channels 61, wherein in the guide channels 61, as shown in more detail in Figure 4, conveying elements 5 are movable.
  • Second coupling parts 2, which have an opening 17 oriented transversely to the conveying direction, are arranged on the conveying elements.
  • the holding element 4 has a continuous same opening 17.
  • the first coupling part 1 is a bolt 18 which has a cross-section matched to the openings 17 and which is displaceable transversely to the conveying direction (arrow Q) in these openings.
  • the holding element is coupled to a conveying element 5 which is movable on the conveying path A or to a conveying element 5 which is movable on the conveying path B.
  • openings 17 could also correspondingly extending, outwardly narrowing grooves be provided.
  • drive means for the transverse movement Q of the bolt 18 in this case at least partially a magnetic material, for example, according to controllable electromagnet 19 for Application come.
  • the method variant according to FIG. 14, in which a first coupling part which can be displaced transversely to the conveying direction is used, is a variant that lies between the variants according to Figures 1 and 11 according to FIG.
  • the retaining element 4 has only a first coupling part 1 or bolt 18 (variant of Figure 1), but that is Retaining element 4 is not transversely displaced to the conveying direction during the transfer (variant Figure 11).

Landscapes

  • Engineering & Computer Science (AREA)
  • Mechanical Engineering (AREA)
  • Specific Conveyance Elements (AREA)
  • Supplying Of Containers To The Packaging Station (AREA)
  • Discharge By Other Means (AREA)
  • Intermediate Stations On Conveyors (AREA)
  • Separation, Sorting, Adjustment, Or Bending Of Sheets To Be Conveyed (AREA)
  • Branching, Merging, And Special Transfer Between Conveyors (AREA)
  • Lining Or Joining Of Plastics Or The Like (AREA)
  • Slide Fasteners (AREA)
  • Lining And Supports For Tunnels (AREA)

Description

Die Erfindung liegt auf dem Gebiete der Fördertechnik und betrifft ein Verfahren zum Fördern von individuell gehaltenen Produkten nach dem Oberbegriff des ersten unabhängigen Patentanspruchs, sowie eine Anordnung zur Durchführung des Verfahrens nach dem Oberbegriff des entsprechenden unabhängigen Patentanspruchs.
Die im folgenden zu betrachtenden Produkte werden individuell gehalten auf gegebenenfalls individuellen Wegen im wesentlichen kontinuierlich durch ein Netz von Förderstrecken gefördert. Durch diese Förderung werden die Produkte beispielsweise aus einem Herstellungsprozess zu Stationen gebracht, in denen sie individuell bearbeitet werden, oder sie werden von einer Bearbeitungsstation zu einer weiteren Bearbeitungsstation oder durch Bearbeitungsstationen, in denen sie während der kontinuierlichen Förderung bearbeitet werden, gefördert. Ein Beispiel für derartig zu handhabende Produkte sind Druckprodukte, die von der Druckmaschine ausgehend durch verschiedenste Bearbeitungsstationen weiterverarbeitet und versandbereit gemacht werden.
Es ist bekannt, Druckprodukte individuell zu fördern, indem jedes der Produkte von einem Greifer oder einem anderen geeigneten Haltemittel gehalten wird. Zu diesem Zwecke wird beispielsweise eine Vielzahl von Greifern oder Haltemitteln an einer Zugkette befestigt und die Zugkette wird derart angetrieben und geführt, dass die von den Greifern oder Haltemitteln gehaltenen Produkte in einer vorbestimmten Art über eine vorbestimmte Förderstrecke gefördert werden. An Stellen, an denen alle oder einzelne Produkte eines derartigen Förderstromes von einer ersten auf eine zweite Förderstrecke geleitet werden sollen, sind die beiden Förderstrecken relativ zueinander derart angeordnet, dass die Produkte, üblicherweise ohne Unterbruch der kontinuierlichen Förderung von den Haltemitteln der zweiten Förderstrecke übernommen und von den Haltemitteln der ersten Förderstrecke abgegeben werden können. Es sind also auf beiden beteiligten Förderstrecken an einer Übergabestelle Steuermittel vorgesehen, mit denen alle oder einzelne der Haltemittel aktiviert (in eine haltende Konfiguration gebracht) bzw. desaktiviert (aus der haltenden Konfiguration in eine nicht-haltende Konfiguration gebracht) werden.
Es sind auch Anordnungen bekannt, in denen die entlang einer Förderstrecke bewegbaren Haltemittel derart miteinander verbunden sind, dass die Abstände zwischen den Haltemitteln variabel sind. In derartigen Anordnungen sind Übergabestellen wie oben beschrieben ebenfalls mit Steuermitteln zur Aktivierung bzw. Desaktivierung der Haltemittel ausgerüstet und weisen zusätzlich Mittel zur Synchronisierung der übergebenden und der übernehmenden Haltemittel auf.
Die oben beschriebenen Anordnungen zur Förderung von Stückgut sind insbesondere geeignet für Produkteströme, die mit im wesentlichen unveränderter Produktefolge über längere Förderstrecken gefördert werden. Die Anordnungen sind robust und auch bei sehr hohen Förderleistungen einfach betreibbar und die Rückführung der Haltemittel ist ohne spezifische Steuerung auf einem einfachen Rückwärts-Trum realisierbar.
Insbesondere für zu fördernde Produkte, die leicht mechanisch beschädigbar sind und eine nur geringe Eigensteifigkeit aufweisen, sind aber an Übergabestellen aufwendige Führungsmittel vorzusehen, damit die Produkte bei der Übergabe nicht beschädigt werden, und es ist dafür zu sorgen, dass an den Übergabestellen die Bewegungen von übergebenden und übernehmenden Haltemitteln sehr genau miteinander synchronisiert sind, wobei Führungsmittel und Synchronisation an jeden zu fördernden Produktetyp (Produkteformat) angepasst werden muss. Fördersysteme dieser Art werden also vorteilhafterweise mit möglichst wenig Übergabestellen ausgelegt.
Es sind auch Fördersysteme bekannt, die voneinander unabhängige, entlang von Förderstrecken bewegbare Haltemittel aufweisen, das heisst nicht miteinander verbundene Haltemittel. Derartige Anordnungen eignen sich insbesondere für Förderverfahren mit produktespezifischen Förderwegen, wobei zur Führung der Bewegung der Haltemittel Führungssysteme mit produktespezifisch ansteuerbaren Verzweigungs- und Zusammenführstellen vorgesehen werden. Derartige Fördersysteme sind sehr flexibel betreibbar, sind aber in Bezug auf Steuerung und Antriebsmittel eher aufwendig. Für die Rückführung der Haltemittel müssen ebenfalls entsprechend steuerbare Führungssysteme vorgesehen werden.
Die Erfindung stellt sich nun die Aufgabe, ein Verfahren zur Förderung von individuell gehaltenen Produkten aufzuzeigen, das die Vorteile der oben beschriebenen Systeme vereinigt, ihre Nachteile aber weitgehend ausschaltet.
Insbesondere soll das Verfahren weitestgehend unabhängig sein von Formvariationen bezüglich der zu fördernden Produkte, es soll auch für sehr hohe Förderleistungen anwendbar sein und es soll besser als bekannte derartige Verfahren in verschiedenen Bereichen, durch die die Produkte zu fördern sind, an verschiedenste Förderaufgaben anpassbar sein. Ferner ist es die Aufgabe der Erfindung, eine Anordnung zur Durchführung des Verfahrens zu schaffen, welche Anordnung einfach an verschiedenste, lokale Förderaufgaben anpassbar und auch einfach erweiterbar ist.
Diese Aufgabe wird gelöst durch das Verfahren und die Anordnung, wie sie durch die Patentansprüche definiert sind.
Das erfindungsgemässe Verfahren basiert darauf, jedem zu fördernden Produkt ein Halteelement zuzuordnen, welches Halteelement das Produkt in einer definierten Art und Weise hält und welches Halteelement zusammen mit dem Produkt den ganzen für das Produkt vorbestimmten Förderweg zurücklegt, welcher Förderweg aus einer Serie von Förderstrecken besteht. Die Halteelemente werden für die Förderung an Teilen angekoppelt, die entlang einer spezifischen Förderstrecke bewegbar sind, oder an Führungen, die sich entlang einer spezifischen Förderstrecke erstrecken.
Es wird also ein Netz von definierten Förderstrecken vorgesehen und eine Vielzahl von Halteelementen. Dabei weisen die Halteelemente je mindestens einen ersten Kupplungsteil auf, mit dessen Hilfe sie an zweiten Kupplungsteilen ankoppelbar sind, wobei jeder zweite Kupplungsteil im wesentlichen einer bestimmten Förderstrecke zugeordnet und entlang dieser bewegbar ist. Gemäss einer weiteren Verfahrensvariante können die Halteelemente mit Hilfe der ersten Kupplungsteile auch an Führungen, die sich entlang einer Förderstrecke erstrecken, angekoppelt werden.
Zur Förderung entlang einer Förderstrecke ist ein zu förderndes Produkt von einem Halteelement gehalten und das Halteelement ist mit Hilfe des ersten Kupplungsteils an einen entlang der Förderstrecke bewegbaren zweiten Kupplungsteil oder an eine sich entlang der Förderstrecke erstreckende Führung gekoppelt, wobei der Kupplungsteil bzw, ein Förderelement, an dem er angeordnet ist, oder das Halteelement mit geeigneten Mitteln angetrieben wird. In Übergabebereichen, das heisst an Stellen, wo das Produkt von einer Förderstrecke auf eine andere Förderstrecke geleitet wird, wird das Halteelement, vom auf der einen Förderstrecke bewegbaren zweiten Kupplungsteil oder der entsprechenden Führung entkoppelt und an einen auf der anderen Förderstrecke bewegbaren zweiten Kupplungsteil bzw. an eine entsprechende Führung angekoppelt, wobei diese Übergabe alle Produkte eines Stromes betreffen kann oder nur einzelne.
Der Vorteil des Verfahrens liegt einerseits darin, dass die zu fördernden Produkte nur einmal ergriffen werden müssen, wodurch die Beschädigungsgefahr markant reduziert wird und wodurch das Verfahren weitgehend unabhängig wird von der genauen Form der Produkte. Andererseits können die auf Förderstrecken bewegbaren zweiten Kupplungsteile je nach Förderaufgabe einer spezifischen Förderstrecke eines vorgesehenen Netzes von Förderstrecken in sehr verschiedener Art bewegbar sein. Die zweiten Kupplungsteile können beispielsweise in äquidistanter Weise an Förderketten angeordnet sein. Wenn an einer derartigen Förderkette Halteelemente angekoppelt sind, entspricht sie in ihrer Funktion einer bekannten Förderkette, wie sie eingangs beschrieben wurde. Die zweiten Kupplungsteile können auch an Gliedern von Ketten mit variablen Gliederabständen angeordnet sein oder sie können an völlig unabhängig voneinander bewegbaren Förderelementen angeordnet sein. Je nach Art, wie die zweiten Kupplungsteile entlang einer bestimmten Förderstrecke bewegbar sind, sind auch entsprechende Antriebsmittel auszulegen und anzuordnen.
Zusätzlich zu den Förderstrecken mit darauf bewegbaren zweiten Kupplungsteilen können in einer erfindungsgemässen Anordnung auch Förderstrecken vorgesehen sein, auf denen die Halteelemente ohne Ankopplung bewegbar sind beispielsweise dadurch, dass ihre ersten Kupplungsteile in entsprechend ausgestalteten Führungen gleiten, beispielsweise durch die Schwerkraft angetrieben. Derartige zusätzliche Förderstrecken eignen sich insbesondere für eine nicht kontinuierliche Förderung, also beispielsweise für Pufferstrecken und für Rückführstrecken.
Ein weiterer Vorteil des erfindungsgemässen Verfahrens und der erfindungsgemässen Anordnung besteht darin, dass in Prozessen, in denen es vorteilhaft ist, die Produkte einzeln zu identifizieren, die Mittel zur Identifikation nicht auf den Produkten selbst sondern auf den Halteelementen angeordnet werden können und dadurch das Fördersystem nicht mit den Produkten verlassen, sondern mit den im Halteelementen im System zirkulieren. Denartige Mittelzur Identifikation sind beispielsweise berührunglos beschreib- und auslesbare elektronische Einheiten.
Verschiedene, beispielhafte Varianten des erfindungsgemässen Verfahrens und verschiedene, beispielhafte Ausführungen der erfindungsgemässen Anordnung und Ausführungsformen von Details davon werden im Zusammenhang mit den folgenden Figuren mehr im Detail beschrieben. Dabei zeigen:
Figur 1
ein Übergabebereich als Illustration einer ersten, beispielhaften Verfahrensvariante;
Figuren 2 bis 4
beispielhafte Halteelemente mit ersten Kupplungsteilen und entsprechende zweite Kupplungsteile zur Durchführung der Verfahrensvariante gemäss Figur 1;
Figur 5
ein Beispiel einer zusätzlichen Förderstrecke für Halteelemente gemäss Figur 4;
Figur 6
ein Beispiel für die Synchronisation von Fördermitteln in einem Übergabebereich;
figur 7
gestrichen
Figuren 8 bis 10
weitere Übergabebereiche für die Verfahrensvariante gemäss Figur 1;
Figur 11
ein Übergabebereich zur Illustration einer zweiten, beispielhaften Verfahrensvariante;
Figuren 12 und 13
beispielhafte Halteelemente mit ersten Kupplungsteilen und entsprechende zweite Kupplungsteile zur Durchführung der Verfahrensvariante gemäss Figur 11;
Figur 14
ein Übergabebereich zur Illustration einer dritten, beispielhaften Verfahrensvariante.
Figur 1 zeigt schematisch eine erste beispielhafte Variante des erfindungsgemässen Verfahrens anhand eines sehr beschränkten Netzes mit nur zwei Förderstrecken A und B in einem Übergabebereich U und dessen unmittelbarer Umgebung. Die beiden Förderstrecken sind schematisch durch Linien mit Pfeil (Förderrichtung) dargestellt. Auf den beiden Förderstrecken sind zweite Kupplungsteile 2 bewegbar, die schematisch als weisse Quadrate dargestellt sind. Ferner sind erste Kupplungsteile 1 schematisch als schwarze Kreise dargestellt. Je ein erster Kupplungsteil 1 ist an einem Halteelement (nicht dargestellt) angeordnet, welches Halteelement ein Produkt 3 hält. Das Produkt (in der Figur 1 vom Rücken her gesehen) ist beispielsweise ein Druckprodukt, also eine Zeitung, eine Zeitschrift oder eine Broschüre oder ein Zwischenprodukt für eines der genannten Produkte.
Die Darstellung der Figur 1 kann beispielsweise als Vogelschau verstanden werden, das heisst die Förderstrecken A und B, Kupplungsteile 1 und 2 und die Halteelemente sind über den hängend geförderten Produkten 3 angeordnet. Die Darstellung kann aber ebensogut als Seitenansicht verstanden werden, das heisst, die Produkte 3 sind seitlich gehalten, die Förderstrecke A kommt von oben und die Förderstrecke B geht nach unten weg. Auch Mischformen sind ohne weiteres vorstellbar.
Auf der Förderstrecke B werden die zweiten Kupplungsteile 2 mit konstanten Abständen voneinander, beispielsweise auf gelenkig miteinander verbundenen Kettengliedern angeordnet bewegt. Auf der Förderstrecke A haben die zweiten Kupplungsteile 2 keine konstanten Abstände voneinander, das heisst, sie sind beispielsweise auf lose miteinander verbundenen Förderelementen oder auf individuellen Förderelementen angeordnet. Aus diesem Grunde sind für den Übergabebereich U Synchronisationsmittel (nicht dargestellt) vorzusehen, mit deren Hilfe die zweiten Kupplungsteile 2 auf der Förderstrecke A mindestens im Übergabebereich U mit den zweiten Kupplungsteilen 2 auf der Förderstrecke B synchronisiert, bzw. in den Übergabebereich eingetaktet werden. Für eine Übergabe von äquidistanten Gliedern einer Kette auf Glieder mit gleichen Abständen einer weiteren Kette sind die Kettenantriebe entsprechend zu synchronisieren.
Die Halteelemente mit den ersten Kupplungsteilen 1 sind auf der Zuführungsseite (in der Figur links) zum Übergabebereich U an die auf der Förderstrecke A bewegbaren zweiten Kupplungsteile 2 angekoppelt. Im Übergabebereich, in dem die zweiten Kupplungsteile 2 der beiden Förderstrecken A und B parallel zueinander und miteinander synchronisiert bewegt werden, wird jeder erste Kupplungsteil 1 vom entsprechenden zweiten Kupplungsteil 2 der Förderstrecke A entkoppelt, quer zur Förderrichtung bewegt (Pfeil Q) und an einen zweiten Kupplungsteil 2 der Förderstrecke B angekoppelt. Auf der Wegförderseite (in der Figur rechts) vom Übergabebereich U sind die Halteelemente bzw. ersten Kupplungsteile 1 an zweite Kupplungsteile 2 auf der Förderstrecke B angekoppelt und werden auf dieser weitergefördert.
Im Übergabebereich U sind neben Synchronisationsmitteln für die Synchronisation der zweiten Kupplungsteile 2 der beiden Förderstrecken A und B Mittel vorzusehen, durch die die Bewegung der Halteelemente bzw. der ersten Kupplungsteile 1 quer zur Förderrichtung (Pfeil Q) bewegt werden, beispielsweise entsprechende Bewegungskulissen, wie sie durch die strichpunktierten Linien a und b angedeutet sind. Für eine spezifische Übergabe, in der also nicht alle Halteelemente mit Produkten sondern nur spezifische davon übergeben werden sollen, müssen die Mittel für die Querbewegung entsprechend steuerbar ausgestaltet sein. In entsprechenden Anordnungen kann als Mittel zur Querbewegung auch die Schwerkraft ausgenützt werden.
Vorteilhafterweise sind auch Verriegelungsmittel vorgesehen, mit deren Hilfe je zwei zusammengekoppelte Kupplungsteile 1 und 2 miteinander verriegelt werden. Für die Aktivierung bzw. Desaktivierung der Verriegelungsmittel sind im Übergabebereich U ebenfalls entsprechende Steuermittel vorzusehen.
Figuren 2 und 3 zeigen eine beispielhafte Ausführungsform eines Halteelementes 4 mit einem ersten Kupplungsteil 1 und eines Förderelementes 5, das in einer Führung 6 (definierte Förderstrecke) bewegbar ist und an dem ein zweiter Kupplungsteil 2 angeordnet ist. Halteelement 4 und Förderelement 5 sind in der Figur 2 mit Blickrichtung quer zur Förderrichtung dargestellt, in Figur 3 mit Blickrichtung parallel zur Förderrichtung. Gemäss Figur 2 und 3 ausgerüstete Halteelemente 4 und Förderelemente 5 sind in einer Verfahrensvariante gemäss Figur 1 anwendbar.
Das in den Figuren 2 und 3 dargestellte Paar von miteinander kooperierenden Kupplungsteilen (1/2) besteht aus einem Teil mit einer sich gegen aussen verengenden Nut 11 und aus einem Kamm 12 mit einem verengten Halsbereich 13, wobei Nut 11 und Kamm 12 aufeinander abgestimmte Querschnitte haben und mindestens in einem Übernahmebereich im wesentlichen quer zur Förderrichtung verlaufen, derart, dass der Kamm 12 quer zur Förderrichtung aus der Nut 11 geschoben werden kann. Im dargestellten Beispiel ist die Nut 11 am Halteelement 4 und der Kamm 12 am Förderelement 5 angeordnet. Es könnte auch umgekehrt sein.
Das Halteelement 4 weist beispielsweise einen Greifer 41 auf, mit dem ein Druckprodukt 3 ergriffen und gehalten wird. Derartige Greifer sind allgemein bekannt, beispielsweise durch die Publikation CH-569197 bzw. US-3948551 (F62). Das Förderelement 5 weist beispielsweise zwei Gruppen von je drei Kugeln 51 auf, mit deren Hilfe es in einem entsprechenden Führungskanal 61 rollend bewegbar ist. Derartige Förderelemente 5 sind in der Publikation EP-0387318 bzw. US-5074678 beschrieben.
In einem Übergabebereich werden zwei Führungskanäle 61 parallel zueinander geführt und werden die Förderelemente 5 derart synchronisiert, dass immer ein Paar von Förderelementen mit aufeinander ausgerichteten Kämmen 12 durch den Übergabebereich gefördert werden. Der Abstand zwischen den Führungskanälen 61 ist im Übergabebereich derart gewählt, dass der Abstand zwischen zwei sich synchron durch den Übergabebereich bewegenden Kämmen 12 von zwei synchron bewegten Förderelementen 5 kleiner ist als die Länge eines Nut 11 eines Hatleetementes 4. Mit entsprechenden Mitteln ist in diesem Übergabebereich das Halteelement 4 vom Kamm 12 des einen Förderelementes 5 auf den Kamm 12 des anderen Förderelementes 5 schiebbar, wobei diese Mittel alle durch den Übergabebereich geförderten Halteelement schieben können oder derart ansteuerbar sind, dass sie nur spezifische der Haltemittel schieben. Diese Mittel sind beispielsweise Bewegungskulissen oder Magnetsysteme, die sich insbesondere als ansteuerbare Mittel eignen. ,
Figur 4 zeigt als Darstellung eines weiteren Übergabebereiches, durch den drei Förderstrecken A, B und C führen, eine weitere Ausführungsform von Halteelementen 4 und Förderelementen 5, die durch ein Paar von Kupplungsteilen (1 und 2) aneinander koppelbar sind (Ansicht parallel zur Förderrichtung). Das Halteelement 4 weist wiederum einen Greifer 41 auf, der ein Produkt 3 hält und der zum Ergreifen eines Produktes bzw. zum Loslassen mittels Steuerrollen 42 aktivierbar bzw. desaktivierbar ist. Das Förderelement 5 ist ein Glied einer Gliederkette, die auf Rollen 52 in einem Führungskanal 61 bewegbar ist.
Am Halteelement 4 ist als erster Kupplungsteil 1 ein Kamm 12, am Förderelement 5 als zweiter Kupplungsteil 2 eine Nut 11 angeordnet (Kupplungsteile gegenüber der Ausführungsform gemäss Figuren 2 und 3 vertauscht). Wie aus der Detailansicht F quer zur Förderrichtung ersichtlich ist, besteht die Nut 11 aus einem Rohrsegment und der Kopfteil des Kammes 12 aus einem Rohr, dessen Aussendurchmesser auf den Innendurchmesser des Rohrsegments abgestimmt ist.
Das Halteelement 4 weist ferner Steuerrollen 43 auf, die zum Schieben des Kammes 12 von der Nut 11 eines Förderelementes 5 in die Nut eines anderen Förderelementes auf entsprechend angeordneten Kulissen (nicht dargestellt) abrollen.
Figur 5 zeigt, wie ein Halteelement 4 entlang einer zusätzlichen Förderstrecke G bewegbar ist, welche zusätzliche Förderstrecke keine zweiten Kupplungsteile aufweist. Das Halteelement 4 entspricht im wesentlichen dem Halteelement der Figur 4 und ist mit Steuerrollen 43 und mit einem Kamm 12 als erstem Kupplungsteil 1 ausgerüstet. Der für eine Ankopplung an einen zweiten Kupplungsteil dienende Kamm 12 weist einen Halsbereich 13 auf, der sich nur über einen mittleren Teil der Kammlänge erstreckt, sodass die seitlichen Bereiche das Kammes 12 freie Rohrenden sind. Mit diesen freien Rohrenden kann das Halteelement 4 beidseitig in entsprechenden, beispielsweise U-förmigen Führungsschienen 62 geführt gleiten, was eine weitere Fördervariante für einen spezifischen Bereich (z.B. Pufferstrekke) einer erfinderischen Förderanordnung darstellen kann. Auch eine Rückführstrecke für leere Halteelemente kann in einer derartigen Art realisiert werden, wobei die Halteelemente vorteilhafterweise durch die Schwerkraft oder durch andere beispielsweise stossende Antriebsmittel angetrieben werden.
Figur 6 zeigt schematisch einen weiteren Übergabebereich U mit zwei Förderstrecken A und B. In diesem Übergabebereich sind wiederum Halteelemente, von denen lediglich die ersten Kupplungsteile in Form von Kämmen 12 dargestellt sind, in entsprechenden Nuten 11 von Förderelementen 5.1 der Förderstrecke A in Nuten 11 von Förderelementen 5.2 der Förderstrecke B verschiebbar, wobei die Nuten 11 und Kämme 12 mindestens im Übergabebereich U im wesentlichen quer zur Förderrichtung verlaufen.
Die Förderelemente 5.1, die auf der Förderstrecke A bewegbar sind, sind zu einer Kette miteinanderverbunden, derart, dass ihre Abstände unveränderlich sind. Die Förderelemente 5.2 sind freie, das heisst nicht miteinander verbundene Elemente. Die Förderelemente 5.1 und 5.2 sind für eine selbsttätige Synchronisation ausgestaltet. Die Kette der Förderelemente 5.1 weist dazu zwischen den Förderelementen konkave Andockstellen 53 auf, in die konvexe Andockstellen 54 der Förderelemente 5.2 passen. Die freien Förderelemente 5.2 werden nun derart gegen die Kette von Förderelementen 5.1 geführt, dass je eine konvexe Andockstelle 54 eines freien Förderelementes 5.2 in einer konkaven Andockstelle 53 zwischen zwei verbundenen Förderelementen 5.1 in einer Art Formschluss angedockt wird. Derart angedockt werden die freien Förderelemente 5.2 via die verbundenen und angetriebenen Förderelemente 5.1 mindestens über den Übergabebereich U gefördert, während Halteelemente beispielsweise von den verbundenen Förderelementen 5.1 auf die freien Förderelemente 52 geschoben werden, wie dies in der Figur 6 dargestellt ist.
Figur 8 zeigt eine weitere Variante eines Übergabebereiches, der im wesentlichen nach derselben Verfahrensvariante betrieben wird wie der Übergabebereich der Figur 1. Es sind wieder zwei Förderstrecken A und B dargestellt, auf denen zweite Kupplungsteile 2 (weisse Quadrate) bewegbar sind. Zwischen den beiden Förderstrecken A und B sind eine Mehrzahl von Querförderelementen 7 (schematisch dargestellt durch weisse Rechtecke) angeordnet, die synchronisiert mit den Förderelementen der Förderstrecken A und B entlang einer dritten Förderstrecke D bewegbar sind. In einer ersten Übergabe U.1 werden die Halteelemente (nur erste Kupplungsteile 1 als schwarze Kreise dargestellt) mit den Produkten 3 an je ein Querförderelement 7 übergeben, indem der erste Kupplungsteil 1 des Halteelementes vom Kupplungsteil 2 der Förderstrecke A entkoppelt und auf das Querförderelement 7 geschoben wird. Das Querförderelement 7 unterscheidet sich vom Förderelement dadurch, dass es anstelle eines zweiten Kupplungsteils 2 eine Führung aufweist, auf der der erste Kupplungsteil 1 des Halteelementes im wesentlichen quer zur allgemeinen Förderrichtung verschiebbar ist.
Auf der anderen Seite des Querförderelementes 7 wird der erste Kupplungsteil 1 des Halteelements in einer zweiten Übergabe U.2 an einen zweiten Kupplungsteil 2 der Förderstrecke B angekoppelt und entlang der Förderstrecke B weggefördert.
Als Antrieb für die Querförderung in den Querförderelementen 7 kann eine Steuerkulisse (schematisch dargestellt durch die strichpunktierte Linie a) vorgesehen werden, welche Steuerkulisse auch die beiden Übergaben U.1 und U.2 steuern kann. Es ist aber auch denkbar, dass die Querförderelemente 7 für die Querförderung der Halteelemente eigens mit entsprechenden Antriebsmitteln ausgestattet sind. Die Förderung von Haltemitteln und Produkten in den Querförderelementen 7 kann, wie in der Figur 8 dargestellt, eine kontinuierliche sein oder es kann auch ein Stillstand vorgesehen sein.
Figur 9 zeigt als dreidimensionale Darstellung denselben Übergabebereich wie die Figur 8. Es sind lediglich erste Kupplungsteile 1, zweite Kupplungsteile 2 der Förderstrecken A und B und eine Querführung 71 eines Querförderelements dargestellt. Die Kupplungsteile 1 und 2 entsprechen den in den Figuren 2 und 3 gezeigten Kupplungsteilen. Die Querführung 71 des Querförderelements ist im wesentlichen ein Kamm 12 mit einem verengten Halsbereich 13 mit demselben Querschnitt wie der Kamm 12 das zweiten Kupplungsteils 2, er ist aber üblicherweise länger als dieser.
Figur 10 zeigt schematisch eine Anwendung des Übergabebereiches mit Querförderung, wie er im Zusammenhang mit den Figuren 8 und 9 bereits beschrieben wurde. Die Querförderelemente 7 sind in diesem Falle axial verlaufende Abteile 72 einer Bearbeitungstrommel 73. Die Produkte-zufördernde Förderstrecke A, die Trommel 73 und die Produkte-wegfördernde Förderstrecke B sind senkrecht zur Papierebene der Figur 10 hintereinander gestaffelt angeordnet, derart, dass die Querförderung im wesentlichen senkrecht zur Papierebene verläuft und die erste Übergabe U.1 in einem vorderen axialen Bereich der Trommel 73, die zweite Übergabe U.2 in einem hinteren axialen Teil der Trommel durchgeführt wird.
Die Produkte 3 werden von Greifern 41 gehalten mittels erster Kupplungsteile 1 an zweite Kupplungsteile 2 angekoppelt entlang der Förderstrecke A zugefördert. In einer ersten Übergabe U.1 auf der einen Stirnseite der Trommel 73 werden die ersten Kupplungsteile 1 von den zweiten Kupplungsteilen 2 entkoppelt und die Produkte samt Halteelementen (Greifer 41 und erster Kupplungsteil 1) in je ein Abteil 72 der Trommel 73 geschoben, bzw. jeder erste Kupplungsteil 1 wird auf eine Querführung 71, die auf dem Grund jedes Abteils 72 vorgesehen ist, geschoben. Während die Trommel rotiert (Pfeil D), werden die Halteelemente beispielsweise weiter entlang der Querführungen 71 in axialer Richtung der Trommel 73 verschoben und werden die Produkte 3 beispielsweise durch eine Bearbeitungsstation 74 gefördert und darin bearbeitet. Danach werden in einer zweiten Übergabe U.2 auf der anderen Stirnseite der Trommel 73 die bearbeiteten Produkte gehalten durch die Greifer 41 mittels der ersten Kupplungsteile 1 an zweiten Kupplungsteilen der Förderstrecke B angekoppelt und weggefördert.
Anordnungen, in denen, wie in der Figur 10 dargestellt, die Produkte während der Querförderung bearbeitet werden, sind auch denkbar mit Umlaufsystemen oder anderen ähnlichen Vorrichtungen anstelle der Trommel 73.
Figur 11 zeigt anhand eines Übergabebereiches U, durch den zwei Förderstrecken A und B geführt sind, eine weitere, beispielhafte Variante des erfindungsgemässen Verfahrens. Diese Verfahrenvariante unterscheidet sich von der Verfahrensvariante gemäss Figuren 1 und 8 dadurch, dass die Halteelemente 4 je mindestens zwei erste Kupplungsteile 1 aufweisen, wobei sie zur Förderung mit einem der ersten Kupplungsteile an einem zweiten Kupplungsteil angekoppelt sind. Wie aus der Figur 11 ersichtlich ist, erübrigt sich mit einer derartigen Verfahrensvariante die Querbewegung Q der Halteelemente 4 beim Übergeben.
Soll aber eine Querförderung, beispielsweise zum Zwecke einer Bearbeitung im Sinne der Figuren 8 bis 10 vorgesehen werden, sind die Halteelemente zusätzlich mit entsprechenden für die Querförderung notwendigen Kupplungsteilen auszurüsten, es sind also im wesentlichen Halteelemente zu konstruieren, die sowohl gemäss der ersten Verfahrensvariante (Figur 1) als auch gemäss der zweiten Verfahrensvariante (Figur 11) benützt werden können.
Figur 12 zeigt mit Blickrichtung parallel zur Förderrichtung einen Übergabebereich, in dem gemäss der zweiten Verfahrensvariante (Figur 11) Halteelemente 4 mit Produkten 3 von einer Förderstrecke A auf eine Förderstrecke B (oder umgekehrt) übergebbar sind.
Die ersten Kupplungsteile 1, von denen jedes Halteelement 4 zwei aufweist, haben die Form von Stutzen 14, die in entgegengesetzten Richtungen ausgerichtet am Halteelement 4 angeordnet sind. Die an entlang der Förderstrekken bewegbaren Förderelementen 5 angeordneten zweiten Kupplungsteile 2 sind Kupplungsgreifer 15, die zum Ergreifen von Stutzen 14 ausgelegt sind.
Im Übergabebereich sind Steuermittel vorzusehen, mit denen die Kupplungsgreifer 15 aktivierbar bzw. desaktivierbar sind. Dem Fachmann sind Greifer und Steuermittel zu deren Aktivierung bzw. Desaktivierung bekannt von Fördersystemen gemäss dem Stande der Technik, mit welchen Greifern Produkte ergriffen und gehalten werden. Derartige Greifer sind für eine Funktion als zweite Kupplungsteile 2 (Kupplungsgreifer) entsprechend anzupassen.
Anstelle von Stutzen 14 und Greifern 15 können als erste Kupplungsteile 1 und zweite Kupplungsteile 2 in der Verfahrensvariante gemäss Figur 11 verschiedenste bekannte Kupplungsteile angewendet werden, die in einem Übergabebereich entsprechend steuerbar sind.
Figur 13 zeigt eine weitere Variante von ersten und zweiten Kupplungsteilen für die Verfahrensvariante gemäss Figur 11. Es ist wiederum ein Übergabebereich mit zwei Förderstrecken A und B dargestellt (Blickrichtung parallel zur Förderrichtung), welche Förderstrecken durch je eine sich entlang der Förderstrecke erstreckenden Führung 63 definiert sind. Die ersten Kupplungsteile 1 der Halteelemente4 sind als Läufer, die an die Führungsschiene ankoppelbar sind und auf ihr gleiten oder rollen. Die Führung 63 definiert also nicht nur die Förderstrecke sondern ist gleichzeitig für jedes entlang der Förderstrecke zu förderndes Halteelement 4 ein zweiter Kupplungsteil 2, wobei an jedem Ort der Förderstrecke ein anderer Bereich der Führung als zweiter Kupplungsteil dient und dadurch die Kupplung entlang der Förderstrecke bewegbar ist.
Jedes Halteelement 4 weist zwei erste Kupplungsteile 1 in Form von an die Führung 63 ankoppelbaren Läufern 16 auf. Im dargestellten Fall bestehen die Läufer 16 aus zwei Läuferteilen 16.1 und 16.2, die mit geeigneten Steuermitteln und gegebenenfalls mit Rückstellmitteln in einen um die Führung 63 geschlossenen Zustand und in einen offenen Zustand bringbar sind. Die Läufer 16 rollen beispielsweise wie dargestellt auf Rollen 20 auf der Führung 63 ab oder sie gleiten auf ihr.
Es sind auch Ausführungsformen denkbar, in denen die Führung 63 gleichzeitig Antriebsmittel ist, d.h. entlang der Förderstrecke bewegt wird, und die ersten Kupplungsteile 1 nicht als Läufer sondern als Klemmteile ausgebildet sind, mit deren Hilfe die Halteelemente 4 an die Führung anklemmbar sind.
Figur 14 zeigt wiederum anhand einer Darstellung eines Übergabebereichs eine dritte Variante des erfindungsgemässen Verfahrens. Es sind sehr schematisch zwei Förderstrecken A und B mit Führungskanälen 61 dargestellt, wobei in den Führungskanälen 61, wie in der Figur 4 mehr im Detail dargestellt, Förderelemente 5 bewegbar sind. An den Förderelementen sind zweite Kupplungsteile 2 angeordnet, die eine querzur Förderrichtung ausgerichtete Öffnung 17 aufweisen. Das Halteelement 4 weist eine durchgehende gleiche Öffnung 17 auf. Als erster Kupplungsteil 1 dient ein Bolzen 18, der einen auf die Öffnungen 17 abgestimmten Querschnitt aufweist und der in diesen Öffnungen quer zur Förderrichtung (Pfeil Q) verschiebbar ist. Je nach Schiebeposition des Bolzens 18 ist das Halteelement an ein auf der Förderstrecke A bewegbares Förderelement 5 gekoppelt oder an ein auf der Förderstrecke B bewegbares Förderelement 5.
Anstelle von Öffnungen 17 könnten auch entsprechend verlaufende, sich gegen aussen verengende Nuten vorgesehen werden.
Als Antriebsmittel für die Querbewegung Q des Bolzens 18, der in diesem Falle mindestens teilweise aus einem magnetischen Material besteht, können beispielsweise entsprechend ansteuerbare Elektromagneten 19 zur Anwendung kommen.
Die Verfahrensvariante gemäss Figur 14, in der ein quer zur Förderrichtung verschiebbarer erster Kupplungsteil zur Anwendung kommt, ist eine Variante, die zwischen den Varianten gemäss Figuren 1 und gemäss Figur 11 liegt. Zwar weist das Halteelement 4 nur einen ersten Kupplungsteil 1 bzw. Bolzen 18 auf (Variante Figur 1), wird aber das Halteelement 4 bei der Übergabe nicht quer zur Förderrichtung verschoben (Variante Figur 11).
In der vorliegenden Beschreibung des erfindungsgemässen Verfahrens und dererfindungsgemässen Anordnung wurde auf detaillierte Beschreibungen von Antriebsmitteln und Steuermitteln verzichtet. Derartige Mittel sind dem Fachmann bekannt von Fördersystemen, in denen Produkte ohne ihnen zugeordnete Halteelemente gefördert werden. Es ist für einen Fachmann problemlos möglich, diese Mittel für das vorliegend beschriebene Verfahren und die entsprechende Anordnung anzupassen.

Claims (23)

  1. Verfahren zum Fördern einer grossen Zahl von mindestens ähnlichen Produkten (3) in einem Netz von Förderstrecken (A, B, C, D), wobei die Produkte (3) für die Förderung in einer Förderrichtung entlang einer der Förderstrecken (A, B, C, D) von je einem Halteelement (4) individuell gehalten werden und das Halteelement (4) mittels eines ersten Kupplungsteils (1) an einem entlang dieser einen Förderstrecke (A, B, C, D) bewegbaren Förderelement (5) mit einem zweiten Kupplungsteil (2) angekoppelt ist und wobei zum Übergeben der Produkte (3) von der einen Förderstrecke auf eine andere Förderstrecke (B) das Haltelement (4) in einem Übergabebereich (U) vom Förderelement (5) der einen Förderstrecke entkoppelt und an dem Förderelement (5) der anderen Förderstrecke angekoppelt wird, dadurch gekennzeichnet, dass im Übergabebereich (U) die eine und die andere Förderstrecke parallel verlaufen und je zwei Förderelemente (5) derart synchron gefördert werden, dass ihre zweiten Kupplungsteile (2) die als Kamme oder Nuten ausgebildet sind, quer zur Förderrichtung aufeinander ausgerichtet sind, und dass zur Entkoppelung und Ankoppelung das Halteelement (4) auf den zwei aufeinander ausgerichteten, zweiten Kupplungsteilen (2) und quer zur Förderrichtung verschoben wird.
  2. Verfahren nach Anspruch 1, dadurch gekennzeichnet, dass die Förderelemente (5) einer der Förderstrecken (D) als Querförderelemente (7) ausgebildet sind und je einen als Querführungen (71) ausgestalteten, ersten Kupplungsteil (1) aufweisen und dass in einem ersten Übergabebereich (U.1) das Halteelement (4) quer zur Förderrichtung auf die Querführung (71) verschoben und in einem zweiten Übergabebereich (U.2) wiederum quer zur Förderrichtung von der Querführungen weg verschoben wird.
  3. Verfahren nach Anspruch 2, dadurch gekennzeichnet, dass das Halteelement (4), während es an das Querförderelement (7) gekoppelt ist, von der Querführung (71) geführt im wesentlichen quer zur Förderrichtung verschoben oder das vom Halteelement (4) geförderte Produkt (3) bearbeitet wird.
  4. Verfahren zum Fördern einer grossen Zahl von mindestens ähnlichen Produkten (3) in einem Netz von Förderstrecken (A, B, C), wobei die Produkte (3) für die Förderung in einer Förderrichtung entlang einer der Förderstrecken (A, B, C) von je einem Halteelement (4) individuell gehalten werden und das Halteelement (4) mittels eines ersten Kupplungsteils (1) an einem entlang dieser einen Förderstrecke (A, B, C) bewegbaren Förderelement (5) mit einem zweiten Kupplungsteil (2) angekoppelt ist und wobei zum Übergeben der Produkte (3) von der einen Förderstrecke auf eine andere Förderstrecke (B) das Haltelement (4) in einem Übergabebereich (U) vom Förderelement (5) der einen Förderstrecke entkoppelt und an dem Förderelement (5) der anderen Förderstrecke angekoppelt wird, dadurch gekennzeichnet, dass im Übergabebereich (U) die eine und die andere Förderstrecke parallel verlaufen und je zwei Förderelemente (5) derart synchron gefördert werden, dass ihre zweiten Kupplungsteile (2), die als Offnung oder Nut ausgebildet sind, quer zur Förderrichtung aufeinander ausgerichtet sind, und dass zur Entkoppelung und Ankoppelung der erste Kupplungsteil (1) auf den zwei aufeinander ausgerichteten, zweiten Kupplungsteilen (2) und quer zur Förderrichtung verschoben wird.
  5. Verfahren zum Fördern einer grossen Zahl von mindestens ähnlichen Produkten (3) in einem Netz von Förderstrecken (A, B, C), wobei die Produkte (3) für die Förderung in einer Förderrichtung entlang einer der Förderstrecken (A, B, C) von je einem Halteelement (4) individuell gehalten werden und das Halteelement (4) mittels eines ersten Kupplungsteils (1) an einem entlang dieser einen Förderstrecke (A, B, C) bewegbaren Förderelement (5) mit zweiten Kupplungsteilen (2) angekoppelt ist und wobei zum Übergeben der Produkte (3) von der einen Förderstrecke auf eine andere Förderstrecke das Haltelement (4) in einem Übergabebereich (U) vom Förderelement (5) der einen Förderstrecke entkoppelt und an das Förderelement (5) der anderen Förderstrecke angekoppelt wird, dadurch gekennzeichnet, dass im Übergabebereich (U) die eine und die andere Förderstrecke parallel verlaufen und die Förderelemente (5) derart synchron gefördert werden, dass sie quer zur Förderrichtung aufeinander ausgerichtet sind, dass die Halteelemente mindestens zwei erste Kupplungsteile aufweisen und dass zur Entkoppelung und Ankoppelung von den zwei aufeinander ausgerichteten, zweiten Kupplungsteilen der eine in einen offenen Zustand und der andere in einen geschlossenen Zustand gebracht wird.
  6. Verfahren nach Anspruch 5, dadurch gekennzeichnet, dass die Halteelemente (4) an ein Förderelement (5) der einen Förderstrecke angekoppelt in den Übergabebereich (U) bewegt, im Übergabebereich an einem Förderelement (5) der anderen Förderstrecke angekoppelt und dann vom Förderelement (5) der einen Förderstrecke entkoppelt werden.
  7. Verfahren nach einem der Ansprüche 1 bis 6, dadurch gekennzeichnet, dass die Halteelemente (4) auf zusätzlichen Förderstrecken (G) gefördert werden, wobei sie in entsprechenden Führungen (62) gleiten.
  8. Verfahren zum Fördern einer grossen Zahl von mindestens ähnlichen Produkten (3) in einem Netz von Förderstrecken (A, B, C, D), wobei die Produkte (3) für die Förderung in einer Förderrichtung entlang einer der Förderstrecken (A, B, C) von je einem Halteelement (4) individuell gehalten werden und das Halteelement (4) mittels eines ersten Kupplungsteils (1) an einer sich entlang dieser einen Förderstrecke (A, B, C) erstreckenden Führung (63) angekoppelt ist und wobei zum Übergeben der Produkte (3) von der einen Förderstrecke auf eine andere Förderstrecke das Haltelement (4) in einem Übergabebereich (U) von der Führung (63) der einen Förderstrecke entkoppelt und an der Führung (63) der anderen Förderstrecke angekoppelt wird, dadurch gekennzeichnet, dass im Übergabebereich (U) die eine und die andere Förderstrecke parallel verlaufen, dass die Haltemittel (4) je zwei erste Kupplungsteile (1) aufweisen und dass zur Entkoppelung und Ankoppelung von den zwei ersten Kupplungsteilen der eine in einen offenen Zustand und der andere in einen geschlossenen Zustand gebracht wird.
  9. Verfahren nach Anspruch 8, dadurch gekennzeichnet, dass die Halteelemente (4) an die Führung (63) der einen Förderstrecke angekoppelt in den Übergabebereich (U) gefördert werden, dass sie dann an die Führung (63) der anderen Förderstrecke angekoppelt und dann von der Führung (63) der einen Förderstrecke entkoppelt werden.
  10. Verfahren nach einem der Ansprüche 1 bis 9, dadurch gekennzeichnet, dass von entlang der einen Förderstrecke (A) in den Übergabebereich (U) geförderten Halteelementen (4) alle oder spezifische einzelne auf die andere Förderstrecke (B) übergeben werden.
  11. Verfahren nach einem der Ansprüche 1 bis 10, dadurch gekennzeichnet, dass die Halteelemente (4) auf den Förderstrecken (A, B, C, D) mit konstanten oder mit variierbaren Abständen gefördert werden.
  12. Anordnung zur Durchführung des Verfahrens nach Anspruch 1, welche Anordnung ein Netz von definierten Förderstrecken (A, B, C, D) und entlang der Förderstrecken in einer Förderrichtung bewegbare Halteelemente (4) zum gehaltenen Fördern der Produkte (3) entlang der Förderstrecken (A, B, C, D) aufweist, wobei die Halteelemente zur Förderung entlang einer der Förderstrecken (A, B, C, D) je einen ersten Kupplungsteil (1) aufweisen, mit dem sie an einem zweiten Kupplungsteil (2) je eines entlang dieser einen Förderstrecke bewegbaren Förderelementes (5) angekoppelbar sind und wobei die Haltelemente (4) in Übergabebereichen (U) von den Förderelementen (5) der einen Förderstrecke abkoppelbar und an die Förderelemente (5) einer anderen Förderstrecke ankoppelbar sind, dadurch gekennzeichnet, dass in den Übergabebereichen (U) die eine und die andere Förderstrecke parallel verlaufen und je zwei Förderelemente (5) derart synchron, antreibbar sind, dass ihre Kupplungsteile (2), die als Kamm oder Nut ausgebildet sind quer zu den Förderrichtungen aufeinander ausgerichtet sind, und dass in den Übergabebereichen (U) Steuermittel (a, b, 43) vorgesehen sind, die für eine Verschiebung der Halteelemente (4) auf den zwei aufeinander ausgerichtete Kupplungsteilen (2) und quer zur Förderrichtung ausgerüstet sind.
  13. Anordnung nach Anspruch 12, dadurch gekennzeichnet, dass die ersten Kupplungsteile (1) und die zweiten Kupplungsteile (2) sich gegen aussen verengende Nuten (11) und auf die Nuten abgestimmte Kämme (12) mit einem verengten Halsbereich (13) sind.
  14. Anordnung nach Anspruch 13, dadurch gekennzeichnet, dass die Förderelemente (5) einer der Förderstrecken (D) als Querförderelemente (7) ausgebildet sind, wobei die Querförderelemente je eine Querführung (71) zur Führung der ersten Kupplungsteile (1) im wesentlichen quer zur Förderrichtung aufweisen, und dass die Steuermittel in einem ersten Übergabebereich (U.1) für eine Verschiebung der an den Halteelementen (4) angeordneten Nuten (11) oder Kämme (12) in die Querführungen (71) und in einem zweiten Übergabebereich (U.2) für eine Verschiebung von Querführungen (71) weg ausgerüstet sind.
  15. Anordnung zur Durchführung des Verfahrens nach Anspruch 4, welche Anordnung ein Netz von definierten Förderstrecken (A, B, C) und entlang der Förderstrecken in einer Förderrichtung bewegbare Halteelemente (4) zum gehaltenen Fördern der Produkte (3) entlang der Förderstrecken (A, B, C) aufweist, wobei die Halteelemente zur Förderung entlang einer der Förderstrecken (A, B, C) je einen ersten Kupplungsteil (1) aufweisen, mit dem sie an einem zweiten Kupplungsteil (2) je eines entlang dieser einen Förderstrecke bewegbaren Förderelementes (5) angekoppelbar sind und wobei die Haltelemente (4) in Übergabebereichen (U) von den Förderelementen (5) der einen Förderstrecke abkoppelbar und an die Förderelemente (5) einer anderen Förderstrecke ankoppelbar sind, dadurch gekennzeichnet, dass in den Übergabebereichen (U) die eine und die andere Förderstrecke parallel verlaufen und je zwei Förderelemente (5) derart synchron antreibbar sind, dass ihre Kupplungsteile (2), die als Offnung oder Nut ausgebildet sind quer zu den Förderrichtungen aufeinander ausgerichtet sind, und dass in den Übergabebereichen (U) Steuermittel (19) vorgesehen sind, die für eine Verschiebung der ersten Kupplungsteile (1) in je zwei aufeinander ausgerichteten Kupplungsteilen (2) und quer zur Förderrichtung ausgerüstet sind.
  16. Anordnung nach Anspruch 15, dadurch gekennzeichnet, dass der verschiebbare, erste Kupplungsteil (1) ein in einer entsprechenden Öffnung (17) des Halteelementes (4) verschiebbarer Bolzen (18) ist und dass die Förderelemente (5) zweite Kupplungsteile (2) aufweisen, die als entsprechende Öffnung (17) oder Nut ausgebildet sind.
  17. Anordnung zur Durchführung des Verfahrens nach Anspruch 5, welche Anordnung ein Netz von definierten Förderstrecken (A, B, C) und entlang der Förderstrecken in einer Förderrichtung bewegbare Halteelemente (4) zum gehaltenen Fördern der Produkte (3) entlang der Förderstrecken (A, B, C) aufweist, wobei die Halteelemente zur Förderung entlang einer der Förderstrecken (A, B, C) je einen ersten Kupplungsteil (1) aufweisen, mit dem sie an einem zweiten Kupplungsteil je eines entlang dieser einen Förderstrecke bewegbaren Förderelementes (5) angekoppelbar sind und wobei die Haltelemente (4) in Übergabebereichen (U) von den Förderelementen (5) der einen Förderstrecke abkoppelbar und an die Förderelemente (5) einer anderen Förderstrecke ankoppelbar sind, dadurch gekennzeichnet, dass in den Übergabebereichen (U) die eine und die andere Förderstrecke parallel verlaufen und je zwei Förderelemente (5) derart synchron antreibbar sind, dass ihre zweiten Kupplungsteile quer zur Förderrichtung aufeinander ausgerichtet sind, dass die Halteelemente einen weiteren ersten Kupplungsteil aufweisen und dass in den Übergabebereichen (U) Steuermittel vorgesehen sind, die für die Steuerung von zweiten Kupplungsteilen in einen offenen und in einen geschlossenen Zustand ausgerüstet sind.
  18. Anordnung nach Anspruch 17, dadurch gekennzeichnet, dass die Steuermittel ausgerüstet sind, um den einen der ersten Kupplungsteile (1) von einem zweiten Kupplungsteil (2) eines Förderelementes (5) der einen Förderstrecke abzukoppeln und vor der Abkoppelung den anderen der ersten Kupplungsteile an einen zweiten Kupplungsteil (2) eines Förderelementes (5) der anderen Förderstrecke anzukoppeln.
  19. Anordnung nach Anspruch 18, dadurch gekennzeichnet, dass die ersten Kupplungsteile (1) Stutzen (14) und die zweiten Kupplungsteile (2) in einen offenen und einen geschlossenen Zustand bringbare Kupplungsgreifer (15) sind.
  20. Anordnung nach einem der Ansprüche 12 bis 19, dadurch gekennzeichnet, dass die Förderelemente (5) gelenkig miteinander verbundene Kettenglieder mit unveränderlichen, gleichen Abständen sind, dass die Förderelemente (5) flexibel miteinander verbundene Kettenglieder mit variierbaren Abständen sind und/oder dass die Förderelemente (5) nicht miteinander verbunden und individuell entlang von Förderstrecken bewegbar sind.
  21. Anordnung nach einem der Ansprüche 12 bis 20, dadurch gekennzeichnet, dass zusätzliche Förderstrecken (G) vorgesehen sind, entlang deren sich Führungen (62) erstrecken, in denen Halteelemente (4) gleitend oder rollend bewegbar sind.
  22. Anordnung zur Durchführung des Verfahrens nach Anspruch 8, welche Anordnung ein Netz von definierten Förderstrecken (A, B, C) und entlang der Förderstrecken in einer Förderrichtung bewegbare Halteelemente (4) zum gehaltenen Fördern der Produkte (3) entlang der Förderstrecken (A, B, C) aufweist, wobei die Halteelemente zur Förderung entlang einer der Förderstrecken (A, B, C) je einen ersten Kupplungsteil (1) aufweisen, mit dem sie an einer sich entlang dieser einen Förderstrecke erstreckenden Führung (63) angekoppelbar sind und wobei die Haltelemente (4) in Übergabebereichen (U) von der Führung (63) der einen Förderstrecke abkoppelbar und an die Führung (63) einer anderen Förderstrecke ankoppelbar sind, dadurch gekennzeichnet, dass in den Übergabebereichen (U) die eine und die andere Förderstrecke parallel verlaufen, dass die Halteelemente (4) je einen weiteren ersten Kupplungsteil aufweisen und dass in den Übergabebereichen (U) Steuermittel vorgesehen sind, die für die Steuerung der ersten Kupplungsteile (1) in einen offenen und in einen geschlossenen Zustand ausgerüstet sind.
  23. Anordnung nach Anspruch 22, dadurch gekennzeichnet, dass die ersten Kupplungsteile (1) zweiteilige Läufer (16) sind, wobei die beiden Läuferteile (16.1 und 16.2) um die Führung (63) schliessbar sind.
EP97913069A 1996-12-13 1997-11-26 Verfahren und anordnung zum fördern von individuell gehaltenen produkten Expired - Lifetime EP0944544B2 (de)

Priority Applications (1)

Application Number Priority Date Filing Date Title
DK97913069T DK0944544T4 (da) 1996-12-13 1997-11-26 Fremgangsmåde og anordning til transport af individuelt holdte produkter

Applications Claiming Priority (3)

Application Number Priority Date Filing Date Title
CH306996 1996-12-13
CH306996 1996-12-13
PCT/CH1997/000444 WO1998025845A1 (de) 1996-12-13 1997-11-26 Verfahren und anordnung zum fördern von individuell gehaltenen produkten

Publications (3)

Publication Number Publication Date
EP0944544A1 EP0944544A1 (de) 1999-09-29
EP0944544B1 EP0944544B1 (de) 2001-10-24
EP0944544B2 true EP0944544B2 (de) 2005-03-16

Family

ID=4247940

Family Applications (1)

Application Number Title Priority Date Filing Date
EP97913069A Expired - Lifetime EP0944544B2 (de) 1996-12-13 1997-11-26 Verfahren und anordnung zum fördern von individuell gehaltenen produkten

Country Status (13)

Country Link
US (2) US6302262B1 (de)
EP (1) EP0944544B2 (de)
JP (1) JP4030071B2 (de)
CN (1) CN1093832C (de)
AT (1) ATE207446T1 (de)
AU (1) AU740456B2 (de)
BR (1) BR9713578A (de)
CA (1) CA2274808C (de)
DE (1) DE59705111D1 (de)
ES (1) ES2167724T5 (de)
NO (1) NO312952B1 (de)
RU (1) RU2188150C2 (de)
WO (1) WO1998025845A1 (de)

Families Citing this family (15)

* Cited by examiner, † Cited by third party
Publication number Priority date Publication date Assignee Title
US6007064A (en) * 1997-10-08 1999-12-28 Heidelberg Web Press, Inc. Singularizer with magnetically diverted gripper conveyor and method of singularizing
DK0990535T3 (da) 1998-09-28 2004-03-22 Grapha Holding Ag Fremgangsmåde til fremstilling af trykte produkter ved indstikning af i det mindste et delprodukt i et hovedprodukt og indretning til gennemførelse af fremgangsmåden
EP1044907A3 (de) * 1999-04-14 2002-05-29 Heidelberger Druckmaschinen Aktiengesellschaft Transportsystem für Bedruckstoffbogen
US6321897B1 (en) * 1999-11-24 2001-11-27 Heidelberger Druckmaschinen, Ag Recyclable pocket system for printed products
EP1274640B1 (de) * 2000-04-20 2005-11-09 Ferag AG Einrichtung zum transportieren von gegenständen
TWI348450B (en) * 2003-11-13 2011-09-11 Applied Materials Inc Break-away positioning conveyor mount for accommodating conveyor belt bends
EP1693322A1 (de) * 2005-02-21 2006-08-23 Ferag AG Fördersystem mit auf Laufrollen entlang einer Führung rollenden Förderelementen und Verfahren zur Herstellung der Laufrollen
US20080072548A1 (en) * 2006-09-05 2008-03-27 Peter Guttinger Continuous loading system
EP1914033B1 (de) * 2006-10-16 2011-04-20 Soudronic AG Fördervorrichtungen für Gegenstände mit verschiedenen Grössen ; Schweisseinrichtung mit einer solchen Fördervorrichtung ; Verfahren zum Schweissen von Dosenzargen mit verschiedenen Grössen
JP2010516586A (ja) * 2007-01-22 2010-05-20 フェラーク・アクチェンゲゼルシャフト 重なりフローを統合するための方法および装置
TW201021940A (en) * 2008-12-05 2010-06-16 Leader Extrusion Machinery Ind Co Ltd Pull chain clamp mechanism featuring transverse stretching for plastic plate forming sheet
US8459625B1 (en) * 2009-03-31 2013-06-11 Honda Motor Co., Ltd. Device for securing vehicle body to conveyor carrier
CH704134A1 (de) 2010-11-26 2012-05-31 Ferag Ag Fördersystem, förderelement und führungskanal.
CH705451A1 (de) 2011-08-30 2013-03-15 Ferag Ag Verfahren, Anlage und Fördereinheit zum Bereitstellen von Gruppen von Produkten.
TWI817118B (zh) * 2020-06-09 2023-10-01 瑞士商巴柏斯特麥克斯合資公司 片材加工單元和片材加工機

Citations (4)

* Cited by examiner, † Cited by third party
Publication number Priority date Publication date Assignee Title
US3006453A (en) 1957-05-20 1961-10-31 Radio Steel & Mfg Co Conveyer transfer mechanism
DE2340827A1 (de) 1973-08-11 1975-03-06 Eisenmann Kg Maschinenbaugesel Vorrichtung zum transportieren mit gehaengen
GB2273288A (en) 1992-12-11 1994-06-15 Heidelberger Druckmasch Ag Retarding sheets delivered to stack
EP0827929A1 (de) 1996-09-09 1998-03-11 Heidelberger Druckmaschinen Aktiengesellschaft Vorrichtung zum Transportieren flacher Produkte zu Weiterverarbeitungseinrichtungen oder Auslagestationen

Family Cites Families (17)

* Cited by examiner, † Cited by third party
Publication number Priority date Publication date Assignee Title
NL259417A (de) * 1959-12-23
US3204756A (en) * 1962-12-11 1965-09-07 Otto Hansel G M B H Apparatus for the intermittent transport of workpieces, especially for the feeding of wrappers, labels, or the like in wrapping machines
FR2424864A1 (fr) * 1978-05-03 1979-11-30 Bedin Jean Dispositif de transfert de bouteilles ou flacons, sur les machines de conditionnement
AT366328B (de) * 1980-11-07 1982-04-13 Voest Alpine Ag Anlage zum abstellen der fahrbetriebsmittel einer umlaufseilbahn
US4638906A (en) * 1985-11-19 1987-01-27 Harris Graphics Corporation Conveyor assembly
US4917227A (en) * 1986-09-11 1990-04-17 Kabushiki Kaisha Toshiba Conveyance system for article container case
NL8900870A (nl) 1989-04-07 1990-11-01 Meyn Maschf Inrichting voor het vanaf een eerste transporteur naar een tweede transporteur overbrengen van voorwerpen.
US5007624A (en) * 1989-05-25 1991-04-16 Am International Incorporated Sheet material handling apparatus and method
WO1994000372A1 (en) 1992-06-22 1994-01-06 Nilas A/S Method and system for successive transferring of objects between hanging conveyors
DE4344941A1 (de) 1993-12-27 1995-06-29 Mannesmann Ag Verfahren und Einrichtung zum Übergeben, Fördern und Wiederabgeben von Stückgut, insbesondere zum Kommissionieren von Kartonagen unterschiedlicher Größen
IT1279951B1 (it) * 1995-06-15 1997-12-23 Oam Spa Unita' di trasferimento di prodotti
DE19532281A1 (de) 1995-09-01 1997-03-06 Guehring Egon Transfersystem
US5769949A (en) * 1996-05-02 1998-06-23 Chs Acquisition Corp. Automated coating process
US5927471A (en) 1997-09-22 1999-07-27 Heffner; Samuel J. Glide for freezer transport
US6007064A (en) * 1997-10-08 1999-12-28 Heidelberg Web Press, Inc. Singularizer with magnetically diverted gripper conveyor and method of singularizing
US5927472A (en) 1997-10-15 1999-07-27 Eisenmann Corporation Conveyor transfer unit
DE19800630A1 (de) * 1998-01-09 1999-07-15 Wf Logistik Gmbh Fördereinrichtung mit einem Übernahmeförderer zur Übernahme von Fördergutträgern von einem Hängeförderer

Patent Citations (4)

* Cited by examiner, † Cited by third party
Publication number Priority date Publication date Assignee Title
US3006453A (en) 1957-05-20 1961-10-31 Radio Steel & Mfg Co Conveyer transfer mechanism
DE2340827A1 (de) 1973-08-11 1975-03-06 Eisenmann Kg Maschinenbaugesel Vorrichtung zum transportieren mit gehaengen
GB2273288A (en) 1992-12-11 1994-06-15 Heidelberger Druckmasch Ag Retarding sheets delivered to stack
EP0827929A1 (de) 1996-09-09 1998-03-11 Heidelberger Druckmaschinen Aktiengesellschaft Vorrichtung zum Transportieren flacher Produkte zu Weiterverarbeitungseinrichtungen oder Auslagestationen

Also Published As

Publication number Publication date
CN1246100A (zh) 2000-03-01
BR9713578A (pt) 2000-03-14
NO992792L (no) 1999-08-09
JP4030071B2 (ja) 2008-01-09
EP0944544B1 (de) 2001-10-24
RU2188150C2 (ru) 2002-08-27
EP0944544A1 (de) 1999-09-29
AU5045998A (en) 1998-07-03
AU740456B2 (en) 2001-11-01
ATE207446T1 (de) 2001-11-15
CN1093832C (zh) 2002-11-06
CA2274808C (en) 2007-04-03
US20010030105A1 (en) 2001-10-18
WO1998025845A1 (de) 1998-06-18
NO312952B1 (no) 2002-07-22
NO992792D0 (no) 1999-06-09
US6382397B2 (en) 2002-05-07
US6302262B1 (en) 2001-10-16
JP2001505859A (ja) 2001-05-08
ES2167724T3 (es) 2002-05-16
DE59705111D1 (de) 2001-11-29
CA2274808A1 (en) 1998-06-18
ES2167724T5 (es) 2005-10-16

Similar Documents

Publication Publication Date Title
EP0944544B2 (de) Verfahren und anordnung zum fördern von individuell gehaltenen produkten
EP2792626B1 (de) Gruppierverfahren und -vorrichtung
DE19854629B4 (de) Automatisiertes Lager
EP0574851B1 (de) Raumtrennwand aus verfahrbaren Wandelementen
EP1118564B1 (de) Fördervorrichtung
EP0491902B1 (de) Vorrichtung zum aus- u. einschleusen von kleingut aus einem transportband
DE102007059611A1 (de) Verfahren und Vorrichtung zum Transportieren von Objekten
EP2035283A1 (de) Vorrichtung zur behandlung von flexiblen schlauchartigen gebilden mit wenigstens einer öffnung
EP1169249B1 (de) Verfahren und vorrichtung zur stückgutförderung
DE102020207680A1 (de) Verfahren und Vorrichtung zum Puffern von Behältern
CH705451A1 (de) Verfahren, Anlage und Fördereinheit zum Bereitstellen von Gruppen von Produkten.
EP3398886A1 (de) Objekttransportvorrichtung
EP2210841A2 (de) Fördervorrichtung aufweisend Richtnocken
EP1163175B1 (de) Verfahren zur förderung von stückgut und fördersystem zur durchführung des verfahrens
WO1997015513A1 (de) Vorrichtung zum ausziehen von rollpaletten in der kompakt-lagertechnik, sowie rollpalette hierfür
DE1237020B (de) Haengefoerderanlage
EP1042205A1 (de) Verfahren sowie eine vorrichtung zur speicherung von transportelementen
DE102020117827B3 (de) Förderanlage mit linearen Achsvorrichtungen
EP0737642A2 (de) Kräuselmaschine
EP0611256A1 (de) Transportsystem mit Transportketten
DE102014000865B4 (de) Fördereinrichtung
CH655916A5 (de) Vorrichtung zum herstellen einer verbindung zwischen jeweils zwei stationen einer mindestens drei stationen aufweisenden anlage.
EP3693299B1 (de) Vorrichtung zum kontinuierlichen fördern von fördergut und verfahren zum kontinuierlichen fördern von fördergut
EP0949176A2 (de) Bogenfördereinrichtung mit Aufteilsystem für Greifermodule
DE102022105189A1 (de) Transferzugmittel sowie System und Fördervorrichtung mit einem solchen Transferzugmittel

Legal Events

Date Code Title Description
PUAI Public reference made under article 153(3) epc to a published international application that has entered the european phase

Free format text: ORIGINAL CODE: 0009012

17P Request for examination filed

Effective date: 19990701

AK Designated contracting states

Kind code of ref document: A1

Designated state(s): AT BE CH DE DK ES FI FR GB IT LI NL SE

GRAG Despatch of communication of intention to grant

Free format text: ORIGINAL CODE: EPIDOS AGRA

GRAG Despatch of communication of intention to grant

Free format text: ORIGINAL CODE: EPIDOS AGRA

GRAH Despatch of communication of intention to grant a patent

Free format text: ORIGINAL CODE: EPIDOS IGRA

17Q First examination report despatched

Effective date: 20010313

GRAH Despatch of communication of intention to grant a patent

Free format text: ORIGINAL CODE: EPIDOS IGRA

GRAA (expected) grant

Free format text: ORIGINAL CODE: 0009210

AK Designated contracting states

Kind code of ref document: B1

Designated state(s): AT BE CH DE DK ES FI FR GB IT LI NL SE

REF Corresponds to:

Ref document number: 207446

Country of ref document: AT

Date of ref document: 20011115

Kind code of ref document: T

REG Reference to a national code

Ref country code: CH

Ref legal event code: EP

REF Corresponds to:

Ref document number: 59705111

Country of ref document: DE

Date of ref document: 20011129

REG Reference to a national code

Ref country code: CH

Ref legal event code: NV

Representative=s name: FREI PATENTANWALTSBUERO

REG Reference to a national code

Ref country code: GB

Ref legal event code: IF02

REG Reference to a national code

Ref country code: DK

Ref legal event code: T3

GBT Gb: translation of ep patent filed (gb section 77(6)(a)/1977)

Effective date: 20020204

ET Fr: translation filed
REG Reference to a national code

Ref country code: ES

Ref legal event code: FG2A

Ref document number: 2167724

Country of ref document: ES

Kind code of ref document: T3

PLBI Opposition filed

Free format text: ORIGINAL CODE: 0009260

PLBF Reply of patent proprietor to notice(s) of opposition

Free format text: ORIGINAL CODE: EPIDOS OBSO

26 Opposition filed

Opponent name: HEIDELBERGER DRUCKMASCHINEN AG

Effective date: 20020717

NLR1 Nl: opposition has been filed with the epo

Opponent name: HEIDELBERGER DRUCKMASCHINEN AG

PLBF Reply of patent proprietor to notice(s) of opposition

Free format text: ORIGINAL CODE: EPIDOS OBSO

RDAE Information deleted related to despatch of communication that patent is revoked

Free format text: ORIGINAL CODE: EPIDOSDREV1

RDAF Communication despatched that patent is revoked

Free format text: ORIGINAL CODE: EPIDOSNREV1

PUAH Patent maintained in amended form

Free format text: ORIGINAL CODE: 0009272

STAA Information on the status of an ep patent application or granted ep patent

Free format text: STATUS: PATENT MAINTAINED AS AMENDED

27A Patent maintained in amended form

Effective date: 20050316

AK Designated contracting states

Kind code of ref document: B2

Designated state(s): AT BE CH DE DK ES FI FR GB IT LI NL SE

REG Reference to a national code

Ref country code: CH

Ref legal event code: AEN

Free format text: AUFRECHTERHALTUNG DES PATENTES IN GEAENDERTER FORM

NLR2 Nl: decision of opposition

Effective date: 20050316

REG Reference to a national code

Ref country code: DK

Ref legal event code: T4

REG Reference to a national code

Ref country code: SE

Ref legal event code: RPEO

NLR3 Nl: receipt of modified translations in the netherlands language after an opposition procedure
GBTA Gb: translation of amended ep patent filed (gb section 77(6)(b)/1977)
REG Reference to a national code

Ref country code: ES

Ref legal event code: DC2A

Date of ref document: 20050616

Kind code of ref document: T5

ET3 Fr: translation filed ** decision concerning opposition
PGFP Annual fee paid to national office [announced via postgrant information from national office to epo]

Ref country code: NL

Payment date: 20081113

Year of fee payment: 12

PGFP Annual fee paid to national office [announced via postgrant information from national office to epo]

Ref country code: AT

Payment date: 20081114

Year of fee payment: 12

PGFP Annual fee paid to national office [announced via postgrant information from national office to epo]

Ref country code: BE

Payment date: 20090126

Year of fee payment: 12

BERE Be: lapsed

Owner name: *FERAG A.G.

Effective date: 20091130

REG Reference to a national code

Ref country code: NL

Ref legal event code: V1

Effective date: 20100601

PG25 Lapsed in a contracting state [announced via postgrant information from national office to epo]

Ref country code: AT

Free format text: LAPSE BECAUSE OF NON-PAYMENT OF DUE FEES

Effective date: 20091126

PG25 Lapsed in a contracting state [announced via postgrant information from national office to epo]

Ref country code: NL

Free format text: LAPSE BECAUSE OF NON-PAYMENT OF DUE FEES

Effective date: 20100601

Ref country code: BE

Free format text: LAPSE BECAUSE OF NON-PAYMENT OF DUE FEES

Effective date: 20091130

PGFP Annual fee paid to national office [announced via postgrant information from national office to epo]

Ref country code: DK

Payment date: 20121120

Year of fee payment: 16

PGFP Annual fee paid to national office [announced via postgrant information from national office to epo]

Ref country code: FI

Payment date: 20121113

Year of fee payment: 16

PGFP Annual fee paid to national office [announced via postgrant information from national office to epo]

Ref country code: SE

Payment date: 20121120

Year of fee payment: 16

REG Reference to a national code

Ref country code: DK

Ref legal event code: EBP

Effective date: 20131130

REG Reference to a national code

Ref country code: SE

Ref legal event code: EUG

PG25 Lapsed in a contracting state [announced via postgrant information from national office to epo]

Ref country code: SE

Free format text: LAPSE BECAUSE OF NON-PAYMENT OF DUE FEES

Effective date: 20131127

Ref country code: FI

Free format text: LAPSE BECAUSE OF NON-PAYMENT OF DUE FEES

Effective date: 20131126

PG25 Lapsed in a contracting state [announced via postgrant information from national office to epo]

Ref country code: DK

Free format text: LAPSE BECAUSE OF NON-PAYMENT OF DUE FEES

Effective date: 20131130

REG Reference to a national code

Ref country code: FR

Ref legal event code: PLFP

Year of fee payment: 19

PGFP Annual fee paid to national office [announced via postgrant information from national office to epo]

Ref country code: IT

Payment date: 20151125

Year of fee payment: 19

Ref country code: DE

Payment date: 20151119

Year of fee payment: 19

Ref country code: GB

Payment date: 20151118

Year of fee payment: 19

PGFP Annual fee paid to national office [announced via postgrant information from national office to epo]

Ref country code: FR

Payment date: 20151119

Year of fee payment: 19

Ref country code: ES

Payment date: 20151111

Year of fee payment: 19

PGFP Annual fee paid to national office [announced via postgrant information from national office to epo]

Ref country code: CH

Payment date: 20160203

Year of fee payment: 19

REG Reference to a national code

Ref country code: DE

Ref legal event code: R119

Ref document number: 59705111

Country of ref document: DE

REG Reference to a national code

Ref country code: CH

Ref legal event code: PL

GBPC Gb: european patent ceased through non-payment of renewal fee

Effective date: 20161126

PG25 Lapsed in a contracting state [announced via postgrant information from national office to epo]

Ref country code: LI

Free format text: LAPSE BECAUSE OF NON-PAYMENT OF DUE FEES

Effective date: 20161130

Ref country code: CH

Free format text: LAPSE BECAUSE OF NON-PAYMENT OF DUE FEES

Effective date: 20161130

REG Reference to a national code

Ref country code: FR

Ref legal event code: ST

Effective date: 20170731

PG25 Lapsed in a contracting state [announced via postgrant information from national office to epo]

Ref country code: FR

Free format text: LAPSE BECAUSE OF NON-PAYMENT OF DUE FEES

Effective date: 20161130

Ref country code: IT

Free format text: LAPSE BECAUSE OF NON-PAYMENT OF DUE FEES

Effective date: 20161126

PG25 Lapsed in a contracting state [announced via postgrant information from national office to epo]

Ref country code: GB

Free format text: LAPSE BECAUSE OF NON-PAYMENT OF DUE FEES

Effective date: 20161126

Ref country code: DE

Free format text: LAPSE BECAUSE OF NON-PAYMENT OF DUE FEES

Effective date: 20170601

REG Reference to a national code

Ref country code: ES

Ref legal event code: FD2A

Effective date: 20180507

PG25 Lapsed in a contracting state [announced via postgrant information from national office to epo]

Ref country code: ES

Free format text: LAPSE BECAUSE OF FAILURE TO SUBMIT A TRANSLATION OF THE DESCRIPTION OR TO PAY THE FEE WITHIN THE PRESCRIBED TIME-LIMIT

Effective date: 20011024

PG25 Lapsed in a contracting state [announced via postgrant information from national office to epo]

Ref country code: ES

Free format text: LAPSE BECAUSE OF FAILURE TO SUBMIT A TRANSLATION OF THE DESCRIPTION OR TO PAY THE FEE WITHIN THE PRESCRIBED TIME-LIMIT

Effective date: 20161127

RIC2 Information provided on ipc code assigned after grant

Ipc: B65H 29/04 20060101AFI19980925BHEP

Ipc: B65H 29/60 20060101ALI19980925BHEP