EP0920992A2 - Druckmaschine - Google Patents

Druckmaschine Download PDF

Info

Publication number
EP0920992A2
EP0920992A2 EP98119980A EP98119980A EP0920992A2 EP 0920992 A2 EP0920992 A2 EP 0920992A2 EP 98119980 A EP98119980 A EP 98119980A EP 98119980 A EP98119980 A EP 98119980A EP 0920992 A2 EP0920992 A2 EP 0920992A2
Authority
EP
European Patent Office
Prior art keywords
impression cylinder
cylinder
motor
drives
gear
Prior art date
Legal status (The legal status is an assumption and is not a legal conclusion. Google has not performed a legal analysis and makes no representation as to the accuracy of the status listed.)
Withdrawn
Application number
EP98119980A
Other languages
English (en)
French (fr)
Other versions
EP0920992A3 (de
Inventor
Manfred Terstegen
Bodo Steinmeier
Wilfried Dr. Ing. Kolbe
Klaus Schirrich
Current Assignee (The listed assignees may be inaccurate. Google has not performed a legal analysis and makes no representation or warranty as to the accuracy of the list.)
Fischer and Krecke GmbH and Co KG
Original Assignee
Fischer and Krecke GmbH and Co KG
Priority date (The priority date is an assumption and is not a legal conclusion. Google has not performed a legal analysis and makes no representation as to the accuracy of the date listed.)
Filing date
Publication date
Application filed by Fischer and Krecke GmbH and Co KG filed Critical Fischer and Krecke GmbH and Co KG
Publication of EP0920992A2 publication Critical patent/EP0920992A2/de
Publication of EP0920992A3 publication Critical patent/EP0920992A3/de
Withdrawn legal-status Critical Current

Links

Images

Classifications

    • BPERFORMING OPERATIONS; TRANSPORTING
    • B41PRINTING; LINING MACHINES; TYPEWRITERS; STAMPS
    • B41FPRINTING MACHINES OR PRESSES
    • B41F13/00Common details of rotary presses or machines
    • B41F13/08Cylinders
    • B41F13/10Forme cylinders
    • B41F13/12Registering devices
    • B41F13/14Registering devices with means for displacing the cylinders
    • BPERFORMING OPERATIONS; TRANSPORTING
    • B41PRINTING; LINING MACHINES; TYPEWRITERS; STAMPS
    • B41PINDEXING SCHEME RELATING TO PRINTING, LINING MACHINES, TYPEWRITERS, AND TO STAMPS
    • B41P2213/00Arrangements for actuating or driving printing presses; Auxiliary devices or processes
    • B41P2213/70Driving devices associated with particular installations or situations
    • B41P2213/73Driving devices for multicolour presses
    • B41P2213/734Driving devices for multicolour presses each printing unit being driven by its own electric motor, i.e. electric shaft

Definitions

  • the invention relates to a printing press with an impression cylinder and at least one inking unit that can be set on the impression cylinder
  • Printing cylinder and an applicator roller that can be adjusted to the printing cylinder has, as well as with a motor that transmits the impression cylinder drives one additional motor for direct drive of the printing cylinder and the application roller, displacement sensors, which are the drives for assigned the impression cylinder, the impression cylinder and the application roller are, and a control device for controlling these drives.
  • the print quality that can be achieved with a printing machine largely depends from that between the impression cylinder and the impression cylinders and inking rollers of the inking units a precise synchronous operation is maintained. In conventional printing machines, this is mostly done mechanically Paths achieved by the inking units via a on the shaft of the impression cylinder arranged gear are driven. In some use cases it proves to be a disadvantage that between the impression cylinder and the pressure cylinder only discrete speed ratios possible are. Printing machines with individual drives are therefore proposed been in those for the impression cylinder, the impression cylinder and the applicator roller each have separate electric motors which are provided by an electronic control system can be synchronized.
  • the impression cylinder has a relative large diameter, and therefore it has a correspondingly large Moment of inertia while its speed is relatively low. If the motor for the impression cylinder directly on the shaft of this cylinder is therefore a low-revving motor with high torque needed.
  • Such engines are relatively bulky and expensive.
  • the object of the invention is to synchronize in a printing press of this type of the impression cylinder and the synchronous operation of the various cylinders and improve rollers.
  • impression cylinder drive assigned displacement sensor is arranged on the shaft of the impression cylinder.
  • This disadvantage is avoided according to the invention in that the displacement sensor for the impression cylinder drive directly on the shaft of the impression cylinder is arranged.
  • This encoder therefore always delivers a reliable one Measure of the actual angular velocity of the impression cylinder, see above that a greater tolerance to transmission errors in the transmission is achieved becomes. Due to the comparatively large moment of inertia of the impression cylinder at most, its angular velocity changes very much slowly. Therefore, when measuring this angular velocity there is none high angular resolution required. Because the moment of inertia of the gear and the motor is significantly smaller, the transmission errors of the transmission result primarily to engine speed changes. These speed changes However, according to the invention, they are not reported back to the control system, so that unnecessary control interventions are avoided.
  • the angular velocity of the Back pressure cylinder regulates to a target value, so result from the high moment of inertia of the impression cylinder only small target / actual deviations.
  • the motor is controlled so that its angular velocity varies and thereby compensates for the transmission errors of the transmission become.
  • the very constant and precisely recorded actual angular velocity of the impression cylinder is suitable as a reference variable for the control of the inking unit drives according to the master / slave principle.
  • the transmission errors in the transmission result relative changes in the angular velocities of the motor and the impression cylinder, which follow a periodic pattern. If for example, the transmission from a drive pinion seated on the shaft of the motor and one sitting on the shaft of the impression cylinder Gear with a large diameter, the period corresponds to relative changes in angular velocities caused by gear errors the smallest common multiple of the number of teeth the drive pinion and the gear.
  • the control system for the impression cylinder drive can then be designed to accommodate these periodic changes "foresighted" considered.
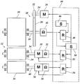
  • the only drawing figure shows a drive diagram for an impression cylinder and an inking unit of a flexographic printing machine and a block diagram an associated control device.
  • an impression cylinder 10 of a flexographic printing machine On the circumference of an impression cylinder 10 of a flexographic printing machine arranged several inking units 12, each having a printing cylinder 14 and an application roller 16, for example an anilox roller.
  • a gear 20 On the shaft 18 of the impression cylinder 10, a gear 20 is seated a much smaller drive pinion 22 meshes.
  • the drive pinion 22 sits on the output shaft 24 of a motor 26, for example an asynchronous motor.
  • the drive pinion 22 and the gear 20 thus form a gear 28, via which the impression cylinder 10 with a greatly reduced speed is driven by the motor 26.
  • the motor 26 therefore only needs to have a low drive torque and accordingly has small Dimensions.
  • a motor 30 for the pressure cylinder 14 and an associated displacement sensor 32 are seated directly on the shaft 34 of the impression cylinder.
  • a motor is accordingly 36 for the application roller 16 and an associated displacement sensor 38 directly on the Shaft 40 of the applicator roller arranged.
  • a displacement sensor 42 for the impression cylinder 10 is separate from the motor 26 arranged on the shaft 18 of the impression cylinder and thus detected immediately the angular velocity of the impression cylinder 10 without Adulteration due to possible gearing errors between the drive pinion 22 and the gear 20.
  • the position sensors 32, 38 and 42 provide digital angular velocity or Increment signals to a control device 44.
  • This control device has a setpoint generator 46, which has a setpoint for the angular velocity or the respective angle of rotation of the impression cylinder 10 to one Controller 48 delivers.
  • the controller 48 compares this setpoint with that of Position sensor 42 supplied actual value and delivers a corresponding control signal to the engine 26.
  • the ratio the angular velocity of the impression cylinder 10 to the angular velocity of the motor 26 temporarily increases, this is due to of the large moment of inertia of the impression cylinder 10 in the first Line in a decrease in the angular velocity of the motor 26 while the increase in the angular velocity of the impression cylinder 10 is minimal.
  • this increase in angular velocity is so small is that it is not detected by the travel sensor 42, there is no control intervention through the controller 48, that is, the decrease in angular velocity the motor 26 is not compensated, so that the impression cylinder 10 continues at a substantially constant speed.
  • the actual speed reported by the travel sensor 42 therefore forms one suitable reference variable for the drive control of the pressure cylinder 14 and the pressure roller 16.
  • the signal from the displacement sensor 42 is therefore also a Setpoint generator 50 supplied, based on this signal, if necessary Taking into account the control intervention initiated by the controller 48, a setpoint for the angular speeds or angular increments of the impression cylinder 14 and the application roller 16 generated.
  • the signals from the displacement sensors 32 and 38 are a precise measure of the angular velocity or the angular increment of the printing cylinder 14 or the pressure roller 16 represent a controller 52 and 54 are supplied and compared there with the signal of the setpoint generator 50. From this The target / actual comparison is made through control interventions on the motors 30 and 36 the actual angular velocities of the impression cylinder and the pressure roller regulated to the setpoint. Since this setpoint is directly from the actual value of the Angular velocity of the impression cylinder 10 is derived, a precise synchronous operation of the printing cylinder 14 and the pressure roller 16 with the impression cylinder 10 reached.

Landscapes

  • Engineering & Computer Science (AREA)
  • Mechanical Engineering (AREA)
  • Inking, Control Or Cleaning Of Printing Machines (AREA)
  • Rotary Presses (AREA)

Abstract

Druckmaschine mit einem Gegendruckzylinder (10) und mindestens einem Farbwerk (12), das einen an den Gegendruckzylinder (10) anstellbaren Druckzylinder (14) und eine an den Druckzylinder anstellbare Auftragwalze (16) aufweist, sowie mit einem Motor (26), der über ein Getriebe (28) den Gegendruckzylinder (10) antreibt, je einem weiteren Motor (30, 36) für den direkten Antrieb des Druckzylinders (14) und der Auftragwalze (16), Weggebern (32, 38, 42), die den Antrieben für den Gegendruckzylinder, den Druckzylinder und die Auftragwalze zugeordnet sind, und einer Regeleinrichtung (44) zur Regelung dieser Antriebe, dadurch gekennzeichnet, daß der dem Gegendruckzylinder zugeordnete Weggeber (42) an der Welle (18) des Gegendruckzylinders (10) angeordnet ist.

Description

Die Erfindung betrifft eine Druckmaschine mit einem Gegendruckzylinder und mindestens einem Farbwerk, das einen an den Gegendruckzylinder anstellbaren Druckzylinder und eine an den Druckzylinder anstellbare Auftragwalze aufweist, sowie mit einem Motor, der über ein Getriebe den Gegendruckzylinder antreibt, je einem weiteren Motor für den direkten Antrieb des Druckzylinders und der Auftragwalze, Weggebern, die den Antrieben für den Gegendruckzylinder, den Druckzylinder und die Auftragwalze zugeordnet sind, und einer Regeleinrichtung zur Regelung dieser Antriebe.
Die mit einer Druckmaschine erreichbare Druckqualität hängt maßgeblich davon ab, daß zwischen dem Gegendruckzylinder und den Druckzylindern und Auftragwalzen der Farbwerke ein präziser Synchronlauf eingehalten wird. Dies wird bei herkömmlichen Druckmaschinen zumeist auf mechanischem Wege erreicht, indem die Farbwerke über ein auf der Welle des Gegendruckzylinders angeordnetes Zahnrad angetrieben werden. Bei einigen Anwendungsfällen erweist es sich dabei als Nachteil, daß zwischen dem Gegendruckzylinder und dem Druckzylinder nur diskrete Drehzahlverhältnisse möglich sind. Es sind deshalb Druckmaschinen mit Einzelantrieb vorgeschlagen worden, bei denen für den Gegendruckzylinder, den Druckzylinder und die Auftragwalze jeweils separate Elektromotoren vorgesehen sind, die durch ein elektronisches Regelsystem synchronisiert werden.
Insbesondere in den Fällen, in denen mehrere Farbwerke an demselben Gegendruckzylinder angeordnet sind, weist der Gegendruckzylinder einen relativ großen Durchmesser auf, und er besitzt deshalb ein entsprechend großes Trägheitsmoment, während seine Drehzahl verhältnismäßig niedrig ist. Wenn der Motor für den Gegendruckzylinder direkt auf der Welle dieses Zylinders sitzt, wird deshalb ein niedrig drehender Motor mit hohem Drehmoment benötigt. Solche Motoren sind verhältnismäßig sperrig und teuer.
Aus DE 34 32 572 A1 ist eine Druckmaschine nach dem Oberbegriff des Anspruchs 1 bekannt, bei der zwischen dem Gegendruckzylinder und dem zugehörigen Motor ein Getriebe vorgesehen ist. Dies hat den Vorteil, daß ein kleinerer, hochdrehender Motor verwendet werden kann. Der diesem Motor zugeordnete Weggeber ist wie üblich unmittelbar an dem Motor angebracht.
Dies hat an sich den Vorteil, daß aufgrund der hohen Drehzahl des Motors eine hohe Winkelauflösung erreicht wird.
Aufgabe der Erfindung ist es, bei einer Druckmaschine dieser Art den Gleichlauf des Gegendruckzylinders und den Synchronlauf der verschiedenen Zylinder und Walzen zu verbessern.
Diese Aufgabe wird dadurch gelöst, daß der dem Gegendruckzylinderantrieb zugeordnete Weggeber an der Welle des Gegendruckzylinders angeordnet ist.
Wenn zwischen dem Gegendruckzylinder und dem Motor ein Getriebe vorgesehen ist, können unvermeidliche Fertigungstoleranzen wie Verzahnungsfehler und dergleichen in dem Getriebe dazu führen, daß das Verhältnis zwischen den Winkelgeschwindigkeiten des Gegendruckzylinders und des Motors nicht konstant ist. Wenn der Weggeber für den Gegendruckzylinderantrieb in üblicher Weise an der Welle des Motors angeordnet ist, so liefert dieser Weggeber aufgrund der Übertragungsfehler des Getriebes keinen verläßlichen Istwert für die Winkelgeschwindigkeit des Gegendruckzylinders. Hierdurch kommt es zu unnötigen oder falschen Regeleingriffen des Regelsystems und zu einer Destabilisierung des Regelsystems, mit dem Ergebnis, daß kein präziser Gleichlauf des Gegendruckzylinders erhalten werden kann und eine präzise Synchronisation der Antriebe der Farbwerke mit dem Gegendruckzylinderantn.eb nicht möglich ist.
Dieser Nachteil wird erfindungsgemäß dadurch vermieden, daß der Weggeber für den Gegendruckzylinderantrieb direkt an der Welle des Gegendruckzylinders angeordnet ist. Dieser Weggeber liefert daher stets ein verläßliches Maß für die tatsächliche Winkelgeschwindigkeit des Gegendruckzylinders, so daß eine größere Toleranz gegenüber Übertragungsfehlern des Getriebes erreicht wird. Aufgrund des vergleichsweise großen Trägheitsmoments des Gegendruckzylinders ändert sich dessen Winkelgeschwindigkeit allenfalls sehr langsam. Bei der Messung dieser Winkelgeschwindigkeit ist deshalb keine hohe Winkelauflösung erforderlich. Da das Trägheitsmoment des Getriebes und des Motors wesentlich kleiner ist, führen die Übertragungsfehler des Getriebes in erster Linie zu Drehzahländerungen des Motors. Diese Drehzahländerungen werden jedoch erfindungsgemäß nicht an das Regelsystem zurückgemeldet, so daß unnötige Regeleingriffe vermieden werden. Wenn das Regelsystem die direkt an der Welle abgegriffene Winkelgeschwindigkeit des Gegendruckzylinders auf einen Sollwert regelt, so ergeben sich aufgrund des hohen Trägheitsmoments des Gegendruckzylinders nur geringe Soll/Ist-Abweichungen. Andererseits wird der Motor so geregelt, daß seine Winkelgeschwindigkeit variiert und dadurch die Übertragungsfehler des Getriebes ausgeglichen werden.
Auf diese Weise läßt sich ein präziser Gleichlauf des Gegendruckzylinders erreichen, und die Drehzahlen der Druckzylinder und Auftragwalzen, deren Motoren jeweils direkt auf der betreffenden Welle sitzen, können auf einen entsprechenden Sollwert geregelt werden, so daß ein präziser Synchronlauf erreicht wird.
Vorteilhafte Weiterbildungen ergeben sich aus den Unteransprüchen.
Die sehr konstante und präzise erfaßte Ist-Winkelgeschwindigkeit des Gegendruckzylinders eignet sich als Führungsgröße für die Regelung der Farbwerksantriebe nach dem Master/Slave-Prinzip.
Bei dem Gegendruckzylinderantrieb führen die Übertragungsfehler des Getriebes zu relativen Änderungen der Winkelgeschwindigkeiten des Motors und des Gegendruckzylinders, die einem periodischen Muster folgen. Wenn beispielsweise das Getriebe aus einem auf der Welle des Motors sitzenden Antriebsritzel und einem auf der Welle des Gegendruckzylinders sitzenden Zahnrad mit großem Durchmesser besteht, so entspricht die Periode der durch Verzahnungsfehler verursachten relativen Änderungen der Winkelgeschwindigkeiten dem kleinsten gemeinsamen Vielfachen der Zähnezahlen des Antriebsritzels und des Zahnrads. Das Regelsystem für den Gegendruckzylinderantrieb kann dann so ausgelegt sein, daß es diese periodischen Änderungen "vorausschauend" berücksichtigt.
Im folgenden wird ein Ausführungsbeispiel der Erfindung anhand der Zeichnung näher erläutert.
Die einzige Zeichnungsfigur zeigt ein Antriebsschema für einen Gegendruckzylinder und ein Farbwerk einer Flexodruckmaschine sowie ein Blockdiagramm einer zugehörigen Regeleinrichtung.
Am Umfang eines Gegendruckzylinders 10 einer Flexodruckmaschine sind mehrere Farbwerke 12 angeordnet, die jeweils einen Druckzylinder 14 und eine Auftragwalze 16, beispielsweise eine Rasterwalze, aufweisen.
Auf der Welle 18 des Gegendruckzylinders 10 sitzt ein Zahnrad 20, das mit einem wesentlich kleineren Antriebsritzel 22 kämmt. Das Antriebsritzel 22 sitzt auf der Ausgangswelle 24 eines Motors 26, beispielsweise eines Asynchronmotors. Das Antriebsritzel 22 und das Zahnrad 20 bilden somit ein Getriebe 28, über das der Gegendruckzylinder 10 mit stark verminderter Drehzahl durch den Motor 26 angetrieben wird. Der Motor 26 braucht deshalb nur ein geringes Antriebsdrehmoment aufzuweisen und hat entsprechend kleine Abmessungen.
Ein Motor 30 für den Druckzylinder 14 und ein zugehöriger Weggeber 32 sitzen direkt auf der Welle 34 des Druckzylinders. Entsprechend sind ein Motor 36 für die Auftragwalze 16 und ein zugehöriger Weggeber 38 direkt auf der Welle 40 der Auftragwalze angeordnet.
Ein Weggeber 42 für den Gegendruckzylinder 10 ist getrennt von dem Motor 26 auf der Welle 18 des Gegendruckzylinders angeordnet und erfaßt somit unmittelbar die Winkelgeschwindigkeit des Gegendruckzylinders 10, ohne Verfälschung durch etwaige Verzahnungsfehler zwischen dem Antriebsritzel 22 und dem Zahnrad 20.
Die Weggeber 32, 38 und 42 liefern digitale Winkelgeschwindigkeits- oder Inkrementsignale an eine Regeleinrichtung 44. Diese Regeleinrichtung weist einen Sollwertgeber 46 auf, der einen Sollwert für die Winkelgeschwindigkeit oder den jeweiligen Drehwinkel des Gegendruckzylinders 10 an einen Regler 48 liefert. Der Regler 48 vergleicht diesen Sollwert mit dem vom Weggeber 42 gelieferten Istwert und liefert ein entsprechendes Regelsignal an den Motor 26.
Wenn aufgrund eines Verzahnungsfehlers in dem Getriebe 28 das Verhältnis der Winkelgeschwindigkeit des Gegendruckzylinders 10 zu der Winkelgeschwindigkeit des Motors 26 vorübergehend zunimmt, so wirkt sich dies aufgrund des großen Trägheitsmoments des Gegendruckzylinders 10 in erster Linie in einer Abnahme der Winkelgeschwindigkeit des Motors 26 aus, während die Zunahme der Winkelgeschwindigkeit des Gegendruckzylinders 10 nur minimal ist. Solange diese Zunahme der Winkelgeschwindigkeit so klein ist, daß sie von dem Weggeber 42 nicht erfaßt wird, erfolgt keine Regeleingriff durch den Regler 48, das heißt, die Abnahme der Winkelgeschwindigkeit des Motors 26 wird nicht kompensiert, so daß der Gegendruckzylinder 10 mit im wesentlichen konstanter Geschwindigkeit weiterläuft.
Ist dagegen die Zunahme der Winkelgeschwindigkeit des Gegendruckzylinders 10 so groß, daß sie durch den Weggeber 42 festgestellt wird, so erfolgt ein Regeleingriff in dem Sinne, daß die Antriebsleistung des Motors 26 herabgesetzt wird. Auf diese Weise läßt sich die Istgeschwindigkeit des Gegendruckzylinders 10 stabil regeln.
Die von dem Weggeber 42 gemeldete Istgeschwindigkeit bildet daher eine geeignete Führungsgröße für die Antriebsregelung des Druckzylinders 14 und der Andruckwalze 16. Das Signal des Weggebers 42 wird deshalb auch einem Sollwertgeber 50 zugeführt, der anhand dieses Signals, gegebenenfalls unter Berücksichtigung des vom Regler 48 veranlaßten Regeleingriffs, einen Sollwert für die Winkelgeschwindigkeiten oder Winkelinkremente des Druckzylinders 14 und der Auftragwalze 16 erzeugt.
Die Signale der Weggeber 32 und 38, die ein präzises Maß für die Winkelgeschwindigkeit oder das Winkelinkrement des Druckzylinders 14 bzw. der Andruckwalze 16 darstellen, werden jeweils einem Regler 52 bzw. 54 zugeführt und dort mit dem Signal des Sollwertgebers 50 verglichen. Anhand dieses Soll/Ist-Vergleichs werden durch Regeleingriffe an den Motoren 30 und 36 die Ist-Winkelgeschwindigkeiten des Druckzylinders und der Andruckwalze auf den Sollwert geregelt. Da dieser Sollwert unmittelbar vom Istwert der Winkelgeschwindigkeit der Gegendruckzylinders 10 abgeleitet ist, wird ein präziser Synchronlauf des Druckzylinders 14 und der Andruckwalze 16 mit dem Gegendruckzylinder 10 erreicht.

Claims (3)

  1. Druckmaschine mit einem Gegendruckzylinder (10) und mindestens einem Farbwerk (12), das einen an den Gegendruckzylinder (10) anstellbaren Druckzylinder (14) und eine an den Druckzylinder anstellbare Auftragwalze (16) aufweist, sowie mit einem Motor (26), der über ein Getriebe (28) den Gegendruckzylinder (10) antreibt, je einem weiteren Motor (30, 36) für den direkten Antrieb des Druckzylinders (14) und der Auftragwalze (16), Weggebern (32, 38, 42), die den Antrieben für den Gegendruckzylinder, den Druckzylinder und die Auftragwalze zugeordnet sind, und einer Regeleinrichtung (44) zur Regelung dieser Antriebe, dadurch gekennzeichnet, daß der dem Gegendruckzylinder zugeordnete Weggeber (42) an der Welle (18) des Gegendruckzylinders (10) angeordnet ist.
  2. Druckmaschine nach Anspruch 1, dadurch gekennzeichnet, daß der Gegendruckzylinder (10) einen größeren Durchmesser als der Druckzylinder (14) aufweist und daß die Regeleinrichtung (44) die Motoren (30, 36) für den Antrieb des Druckzylinders (14) und der Andruckwalze (16) nach dem Master/Slave-Prinzip in Abhängigkeit von der Geschwindigkeit des Gegendruckzylinders (10) regelt.
  3. Druckmaschine nach Anspruch 1 oder 2, dadurch gekennzeichnet, daß das Getriebe (28) ein auf der Ausgangswelle (24) des Motors (26) sitzendes Antriebsritzel (22) aufweist, das mit einem auf der Welle (18) des Gegendruckzylinders (10) sitzenden Zahnrad (20) mit größerem Durchmesser kämmt.
EP98119980A 1997-12-08 1998-10-22 Druckmaschine Withdrawn EP0920992A3 (de)

Applications Claiming Priority (2)

Application Number Priority Date Filing Date Title
DE19754323 1997-12-08
DE1997154323 DE19754323A1 (de) 1997-12-08 1997-12-08 Druckmaschine

Publications (2)

Publication Number Publication Date
EP0920992A2 true EP0920992A2 (de) 1999-06-09
EP0920992A3 EP0920992A3 (de) 2000-01-05

Family

ID=7851073

Family Applications (1)

Application Number Title Priority Date Filing Date
EP98119980A Withdrawn EP0920992A3 (de) 1997-12-08 1998-10-22 Druckmaschine

Country Status (3)

Country Link
EP (1) EP0920992A3 (de)
JP (1) JPH11227166A (de)
DE (1) DE19754323A1 (de)

Cited By (2)

* Cited by examiner, † Cited by third party
Publication number Priority date Publication date Assignee Title
EP4360882A1 (de) * 2022-10-27 2024-05-01 Bundesdruckerei GmbH Druckvorrichtung für den irisdruck
EP4360881A1 (de) * 2022-10-27 2024-05-01 Bundesdruckerei GmbH Druckvorrichtung und druckverfahren für eine mehrfarbige nummerierung

Families Citing this family (3)

* Cited by examiner, † Cited by third party
Publication number Priority date Publication date Assignee Title
DE10327218B4 (de) * 2003-06-17 2015-08-06 Schaeffler Technologies AG & Co. KG Direktantrieb für einen Zylinder einer Druckmaschine
CH697884B1 (de) * 2004-07-13 2009-03-13 Manroland Ag Rollenrotationsdruckeinheit.
DE102006013636B4 (de) * 2006-03-22 2012-02-09 Siemens Ag Druckmaschine bzw. elektrische Maschine für eine Druckmaschine

Family Cites Families (9)

* Cited by examiner, † Cited by third party
Publication number Priority date Publication date Assignee Title
DE2943894C3 (de) * 1979-03-19 1982-08-05 Gerhard Ing.(grad.) 4800 Bielefeld Klemm Vorrichtung zum Transport von luftundurchlässigen Warenbahnen, wie Papier- oder Folienbahnen
GB2146291B (en) * 1983-09-14 1987-10-14 Grace W R & Co Rotary printing press
DE3729911A1 (de) * 1987-09-07 1989-03-23 Braun Gmbh Ind Elektronik Gleichlauf-regelung von bearbeitungsstationen
DE4344896C5 (de) * 1993-12-29 2004-07-29 Maschinenfabrik Wifag Antrieb für Zylinder einer Rollenrotationsdruckmaschine
DE19529430C2 (de) * 1995-07-06 2000-07-13 Baumueller Nuernberg Gmbh Elektrisches Antriebssystem zur Verstellung von mehreren dreh- und/oder verschwenkbaren Funktionsteilen
DE19527199C2 (de) * 1995-07-26 2002-10-31 Baumueller Nuernberg Gmbh Flexodruckmaschine und deren Verwendung
US5615609A (en) * 1995-08-21 1997-04-01 The Lawrence Paper Company System and method for controlling AC motor driven multi-unit printing press
DE19537587C2 (de) * 1995-10-09 1998-02-26 Koenig & Bauer Albert Ag Antriebsregeleinrichtung für einen Mehrmotorenantrieb einer Druckmaschine
DE19623223C2 (de) * 1996-06-11 2001-05-17 Roland Man Druckmasch Antrieb für eine Druckmaschine

Cited By (2)

* Cited by examiner, † Cited by third party
Publication number Priority date Publication date Assignee Title
EP4360882A1 (de) * 2022-10-27 2024-05-01 Bundesdruckerei GmbH Druckvorrichtung für den irisdruck
EP4360881A1 (de) * 2022-10-27 2024-05-01 Bundesdruckerei GmbH Druckvorrichtung und druckverfahren für eine mehrfarbige nummerierung

Also Published As

Publication number Publication date
JPH11227166A (ja) 1999-08-24
EP0920992A3 (de) 2000-01-05
DE19754323A1 (de) 1999-06-10

Similar Documents

Publication Publication Date Title
EP0812682B1 (de) Antrieb für eine Druckmaschine
EP0699524B2 (de) Rollenrotationsoffsetdruckmaschine
DE19527199C2 (de) Flexodruckmaschine und deren Verwendung
DE4345570B4 (de) Antrieb für Zylinder einer Rotationsdruckmaschine
EP0930160B1 (de) Rotationsdruckmaschine
EP0812683B1 (de) Antrieb für eine Druckmaschine
DE3828638C1 (de)
EP0846555B1 (de) Antrieb für eine Druckmaschine
EP0081186B1 (de) Verfahren und Vorrichtung zur Verringerung von Registerfehlern bei Mehrfarben-Rotationsdruckmaschinen
EP0709184B1 (de) Vorrichtung zur Vermeidung von Passerdifferenzen
DE10246072B4 (de) Rotationsdruckverfahren für Mehrfarbendruck
DE4344896C5 (de) Antrieb für Zylinder einer Rollenrotationsdruckmaschine
EP0920992A2 (de) Druckmaschine
DE4228506A1 (de) Verfahren und Antrieb für eine Druckmaschine mit mehreren Druckwerken
DE4344912C2 (de) Antrieb eines farbübertragenden Druckzylinders einer Rollenrotationsdruckmaschine
EP0692377B1 (de) Verfahren und Vorrichtung zum synchronen Antreiben von Druckmaschinenkomponenten
DE4316261B4 (de) Mehrmotorenantrieb für eine Bogen-Offset-Rotationsdruckmaschine
DE3644445C2 (de)
DE10212534B4 (de) Verfahren zum Antreiben einer Druckmaschine
DE19826338A1 (de) Antrieb für eine Druckmaschine
EP1156382B1 (de) Verfahren und Vorrichtung zur Einstellung des Registers bei einer Mehrfarbendruckmaschine
DE102005014060B4 (de) Farbwerk einer Druckmaschine
DE29513635U1 (de) Rotationsdruckmaschine mit Zylindern, die zu motorisch einzeln angetriebenen Zylindergruppen zusammengefaßt sind
DE20104946U1 (de) Rotationsdruckmaschine
EP2159050A2 (de) Verfahren zum Betrieb einer Zentralzylinder-Druckmaschine

Legal Events

Date Code Title Description
PUAI Public reference made under article 153(3) epc to a published international application that has entered the european phase

Free format text: ORIGINAL CODE: 0009012

AK Designated contracting states

Kind code of ref document: A2

Designated state(s): AT BE CH CY DE DK ES FI FR GB GR IE IT LI LU MC NL PT SE

AX Request for extension of the european patent

Free format text: AL;LT;LV;MK;RO;SI

PUAL Search report despatched

Free format text: ORIGINAL CODE: 0009013

AK Designated contracting states

Kind code of ref document: A3

Designated state(s): AT BE CH CY DE DK ES FI FR GB GR IE IT LI LU MC NL PT SE

AX Request for extension of the european patent

Free format text: AL;LT;LV;MK;RO;SI

AKX Designation fees paid
REG Reference to a national code

Ref country code: DE

Ref legal event code: 8566

STAA Information on the status of an ep patent application or granted ep patent

Free format text: STATUS: THE APPLICATION IS DEEMED TO BE WITHDRAWN

18D Application deemed to be withdrawn

Effective date: 20000706