EP0900533A3 - Bijou creux - Google Patents
Bijou creux Download PDFInfo
- Publication number
- EP0900533A3 EP0900533A3 EP98112032A EP98112032A EP0900533A3 EP 0900533 A3 EP0900533 A3 EP 0900533A3 EP 98112032 A EP98112032 A EP 98112032A EP 98112032 A EP98112032 A EP 98112032A EP 0900533 A3 EP0900533 A3 EP 0900533A3
- Authority
- EP
- European Patent Office
- Prior art keywords
- bijou
- creux
- stone
- wall
- gem stone
- Prior art date
- Legal status (The legal status is an assumption and is not a legal conclusion. Google has not performed a legal analysis and makes no representation as to the accuracy of the status listed.)
- Granted
Links
- 239000010437 gem Substances 0.000 abstract 3
- 229910001751 gemstone Inorganic materials 0.000 abstract 3
- 239000000463 material Substances 0.000 abstract 1
- 239000002184 metal Substances 0.000 abstract 1
- 239000004575 stone Substances 0.000 abstract 1
Classifications
-
- A—HUMAN NECESSITIES
- A44—HABERDASHERY; JEWELLERY
- A44C—PERSONAL ADORNMENTS, e.g. JEWELLERY; COINS
- A44C17/00—Gems or the like
- A44C17/02—Settings for holding gems or the like, e.g. for ornaments or decorations
-
- A—HUMAN NECESSITIES
- A44—HABERDASHERY; JEWELLERY
- A44C—PERSONAL ADORNMENTS, e.g. JEWELLERY; COINS
- A44C17/00—Gems or the like
- A44C17/04—Setting gems in jewellery; Setting-tools
-
- A—HUMAN NECESSITIES
- A44—HABERDASHERY; JEWELLERY
- A44C—PERSONAL ADORNMENTS, e.g. JEWELLERY; COINS
- A44C27/00—Making jewellery or other personal adornments
-
- Y—GENERAL TAGGING OF NEW TECHNOLOGICAL DEVELOPMENTS; GENERAL TAGGING OF CROSS-SECTIONAL TECHNOLOGIES SPANNING OVER SEVERAL SECTIONS OF THE IPC; TECHNICAL SUBJECTS COVERED BY FORMER USPC CROSS-REFERENCE ART COLLECTIONS [XRACs] AND DIGESTS
- Y10—TECHNICAL SUBJECTS COVERED BY FORMER USPC
- Y10T—TECHNICAL SUBJECTS COVERED BY FORMER US CLASSIFICATION
- Y10T29/00—Metal working
- Y10T29/23—Gem and jewel setting
-
- Y—GENERAL TAGGING OF NEW TECHNOLOGICAL DEVELOPMENTS; GENERAL TAGGING OF CROSS-SECTIONAL TECHNOLOGIES SPANNING OVER SEVERAL SECTIONS OF THE IPC; TECHNICAL SUBJECTS COVERED BY FORMER USPC CROSS-REFERENCE ART COLLECTIONS [XRACs] AND DIGESTS
- Y10—TECHNICAL SUBJECTS COVERED BY FORMER USPC
- Y10T—TECHNICAL SUBJECTS COVERED BY FORMER US CLASSIFICATION
- Y10T29/00—Metal working
- Y10T29/49—Method of mechanical manufacture
- Y10T29/49588—Jewelry or locket making
- Y10T29/4959—Human adornment device making
- Y10T29/49593—Finger ring making
-
- Y—GENERAL TAGGING OF NEW TECHNOLOGICAL DEVELOPMENTS; GENERAL TAGGING OF CROSS-SECTIONAL TECHNOLOGIES SPANNING OVER SEVERAL SECTIONS OF THE IPC; TECHNICAL SUBJECTS COVERED BY FORMER USPC CROSS-REFERENCE ART COLLECTIONS [XRACs] AND DIGESTS
- Y10—TECHNICAL SUBJECTS COVERED BY FORMER USPC
- Y10T—TECHNICAL SUBJECTS COVERED BY FORMER US CLASSIFICATION
- Y10T29/00—Metal working
- Y10T29/49—Method of mechanical manufacture
- Y10T29/49826—Assembling or joining
- Y10T29/49888—Subsequently coating
Landscapes
- Engineering & Computer Science (AREA)
- Manufacturing & Machinery (AREA)
- Adornments (AREA)
Abstract
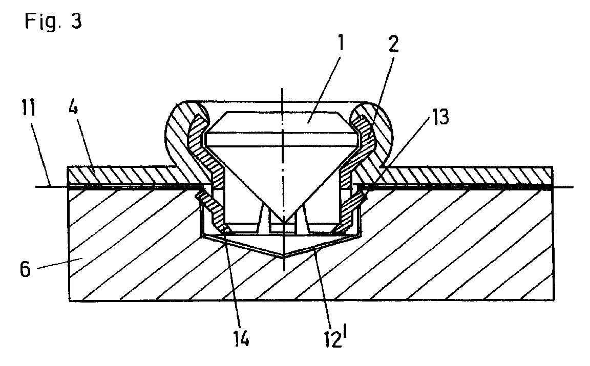
Hohlschmuck mit mindestens einem in dessen galvanisch hergestellter Wand eingesetzten Schmuckstein, welcher durch galvanisch aufgebrachtes Material festgehalten ist, wobei den Schmuckstein (1) umgebende Fassung (2) aus Metallblech zwischen dem Schmuckstein (1) und der Wand (4) angeordnet ist. Hollow jewelry with at least one gem stone inserted in its galvanically produced wall, which is held in place by galvanically applied material, the metal stone socket (2) surrounding the gem stone (1) being arranged between the gem stone (1) and the wall (4).
Applications Claiming Priority (3)
| Application Number | Priority Date | Filing Date | Title |
|---|---|---|---|
| AT442/97U | 1997-07-18 | ||
| AT0044297U AT2273U1 (en) | 1997-07-18 | 1997-07-18 | CAVE JEWELERY |
| AT44297U | 1997-07-18 |
Publications (3)
| Publication Number | Publication Date |
|---|---|
| EP0900533A2 EP0900533A2 (en) | 1999-03-10 |
| EP0900533A3 true EP0900533A3 (en) | 1999-07-21 |
| EP0900533B1 EP0900533B1 (en) | 2002-11-20 |
Family
ID=3490728
Family Applications (1)
| Application Number | Title | Priority Date | Filing Date |
|---|---|---|---|
| EP98112032A Expired - Lifetime EP0900533B1 (en) | 1997-07-18 | 1998-06-30 | Bijou creux |
Country Status (7)
| Country | Link |
|---|---|
| US (1) | US6125516A (en) |
| EP (1) | EP0900533B1 (en) |
| KR (1) | KR19990013972A (en) |
| AT (2) | AT2273U1 (en) |
| CZ (1) | CZ289765B6 (en) |
| DE (1) | DE59806331D1 (en) |
| TW (1) | TW462231U (en) |
Families Citing this family (16)
| Publication number | Priority date | Publication date | Assignee | Title |
|---|---|---|---|---|
| US6149354A (en) * | 1998-12-16 | 2000-11-21 | Walters; Jayce P. | Tool and method for cutting a seat in the setting of stones in jewelry |
| US6260384B1 (en) * | 1999-03-26 | 2001-07-17 | Kenneth L. Mino | Jewelry setting with a faceted cavity |
| KR20010084490A (en) * | 2000-02-26 | 2001-09-06 | 심영보 | Setting method of gem stone in thin walled material ornaments and gem stone setted ornaments thereby |
| US6668584B1 (en) * | 2002-05-07 | 2003-12-30 | Giuliano Tosti | Housing for setting a stone in jewelry |
| US7546749B1 (en) | 2006-05-05 | 2009-06-16 | Richard Warren Biren | Jewelry article utilizing a linear stone setting |
| EP2549340B1 (en) * | 2011-07-20 | 2018-09-19 | The Swatch Group Research and Development Ltd. | Method for attaching a trim to a clock casing element and casing element manufactured according to said method |
| CN102578768B (en) * | 2012-03-09 | 2014-05-07 | 温州市八达光学有限公司 | Diamond-inlaid structure, diamond inlaying method and diamond-inlaid glasses |
| WO2017005286A1 (en) * | 2015-07-05 | 2017-01-12 | D. Swarovski Kg | Antique ruthenium plated gemstone setting |
| ITUB20152292A1 (en) * | 2015-07-21 | 2017-01-21 | Bonoli S R L | REQUIREMENTS TO SET STONES AND SOLITARIES. |
| CZ307800B6 (en) * | 2017-09-14 | 2019-05-15 | Rumares s.r.o. | A method of dynamically faceting gems into jewellery |
| EP3479721B1 (en) * | 2017-11-07 | 2020-05-13 | The Swatch Group Research and Development Ltd | Method for crimping a stone |
| EP3479720B1 (en) * | 2017-11-07 | 2020-03-25 | The Swatch Group Research and Development Ltd | Method for crimping a stone |
| DE102018116907A1 (en) | 2018-07-12 | 2020-01-16 | Konold Härtsfelder Holzindustrie GmbH | Spacers for setting a target distance between two components and method for aligning two components to one another |
| CN111318614B (en) * | 2018-12-16 | 2022-03-29 | 青岛丰和工艺品有限公司 | Metal diamond-inlaid jewel ornament, method and die |
| EP3771359B1 (en) * | 2019-07-29 | 2023-05-10 | The Swatch Group Research and Development Ltd | Method for crimping a stone |
| CN112617368B (en) * | 2020-12-09 | 2021-10-29 | 中国地质大学(武汉) | Inlaying method for non-ideal cut diamond |
Citations (5)
| Publication number | Priority date | Publication date | Assignee | Title |
|---|---|---|---|---|
| US4543803A (en) * | 1983-11-30 | 1985-10-01 | Mark Keyasko | Lightweight, rigid, metal product and process for producing same |
| DE3818967A1 (en) * | 1988-06-03 | 1989-12-14 | Breuning Franz Fa | Metal jewellery |
| EP0346698A1 (en) * | 1988-06-14 | 1989-12-20 | D. Swarovski & Co. | Setting for ornamental stones |
| DE3918920A1 (en) * | 1989-06-09 | 1990-12-13 | Eberle Josef Gmbh & Co Kg | Galvano-plastic process for producing e.g. hollow jewellery parts - involves electrolytic metal coating of a cpd. core incorporating a structural part made of metal of similar fineness to metal coating |
| EP0620987A1 (en) * | 1993-04-22 | 1994-10-26 | Firma Franz Breuning | Setting of a jewellery stone |
Family Cites Families (32)
| Publication number | Priority date | Publication date | Assignee | Title |
|---|---|---|---|---|
| US332183A (en) * | 1885-12-08 | Island | ||
| US728501A (en) * | 1901-03-11 | 1903-05-19 | F H Sadler & Company | Ornamental ring. |
| US802326A (en) * | 1903-04-27 | 1905-10-17 | F H Sadler Company | Ornamental finger-ring. |
| US1030990A (en) * | 1911-12-09 | 1912-07-02 | Frank E Farnham | Gem-setting. |
| US1529606A (en) * | 1923-05-25 | 1925-03-10 | O'donnell John Anthony | Gem setting |
| US1654335A (en) * | 1924-05-28 | 1927-12-27 | Alfred L Lindroth | Gem setting |
| US1941782A (en) * | 1933-03-22 | 1934-01-02 | Milhening Inc J | Reflecting base jewel mounting |
| US2537449A (en) * | 1948-07-06 | 1951-01-09 | Emil E Evenson | Ring |
| US2835117A (en) * | 1954-05-18 | 1958-05-20 | Uncas Mfg Company | Gem setting with gem biased ornamental saddle member |
| GB826492A (en) * | 1956-08-17 | 1960-01-06 | George Harold Gardner | Improvements in or relating to jewellery and the like |
| US3605442A (en) * | 1969-05-26 | 1971-09-20 | Jostens Inc | Jewelry mounting having combined cushion and sealing means |
| JPS51200A (en) * | 1974-06-18 | 1976-01-05 | Nomura Tooi Kk | Hyotekieishato sonoshagekisochitoonaizoseru ganguju |
| DE2623192B2 (en) * | 1976-05-24 | 1980-01-31 | J.E. Hammer & Soehne, 7530 Pforzheim | Method for setting precious stones in jewelry bodies made of precious metal |
| US4089096A (en) * | 1976-08-13 | 1978-05-16 | John Graham Michael | Method of making school ring top |
| US4581088A (en) * | 1984-07-25 | 1986-04-08 | House Robert E | Finger jewels |
| DE3545549A1 (en) * | 1985-03-19 | 1986-09-25 | Juwedor GmbH, 7530 Pforzheim | METHOD FOR PRODUCING JEWELERY PIECES FROM PRECIOUS METALS AND JEWELRY PRODUCED THEREFOR |
| DE3510200A1 (en) * | 1985-03-21 | 1986-09-25 | Anorthe 5407 Boppard Witt | PAVE CHATON VERSION |
| DE3544429A1 (en) * | 1985-12-16 | 1987-06-19 | Juwedor Gmbh | METHOD FOR THE GALVANOPLASTIC PRODUCTION OF JEWELERY |
| US4793156A (en) * | 1987-02-03 | 1988-12-27 | Keystone Findings, Inc. | Gem setting with channel-shaped support |
| US4819453A (en) * | 1987-07-30 | 1989-04-11 | Mcnamara Francis J | Jewelry setting |
| JPH044571Y2 (en) * | 1987-08-25 | 1992-02-10 | ||
| FR2620911B1 (en) * | 1987-09-30 | 1990-01-05 | Favre Diamants Joaillerie Henr | CRIMPING SUPPORT FOR PRECIOUS, FINE, ORNAMENTAL STONE, ESPECIALLY DIAMOND; KITTEN COMPRISING SUCH A STONE AND SUCH A CRIMPING SUPPORT; METHOD AND TOOL FOR SHAPING SUCH A SUPPORT; SHAPING APPARATUS COMPRISING SUCH A TOOL; CRIMPING INSTALLATION COMPRISING SUCH A DEVICE |
| JPH01107185A (en) * | 1987-10-20 | 1989-04-25 | Seiko Instr & Electron Ltd | Method of fixing noble stone and precious stone |
| FR2627512A1 (en) * | 1988-02-23 | 1989-08-25 | Or Est | Precious stone setting process - using metal e.g. gold electroplating to hold stone in mounting |
| IN174705B (en) * | 1988-09-09 | 1995-02-18 | Daya Ranjit Senanayake | |
| JP2734663B2 (en) * | 1989-08-01 | 1998-04-02 | 松下電器産業株式会社 | Exterior method of capacitor |
| JPH0613619A (en) * | 1992-06-26 | 1994-01-21 | Matsushita Electron Corp | Vertical MOS field effect transistor |
| US5218839A (en) * | 1992-08-25 | 1993-06-15 | Unigem International | Jewelry setting |
| KR950024719A (en) * | 1994-02-14 | 1995-09-15 | 김평수 | How to set gemstones on semiprecious stones |
| US5437167A (en) * | 1994-05-12 | 1995-08-01 | Ambar; Betzalel | Invisible setting for round diamond stone |
| DE4429665C2 (en) * | 1994-08-12 | 1998-08-06 | Armin Voswinkel | Method of making a piece of jewelry |
| ITVI940149A1 (en) * | 1994-10-18 | 1995-01-18 | METHOD OF FORMING THE JAWS ON THE SURFACES OF OBJECTS OF COSTUME JEWELERY OR JEWELERY AND OBJECTS OBTAINED WITH THIS METHOD. |
-
1997
- 1997-07-18 AT AT0044297U patent/AT2273U1/en not_active IP Right Cessation
-
1998
- 1998-06-17 TW TW087209656U patent/TW462231U/en not_active IP Right Cessation
- 1998-06-30 AT AT98112032T patent/ATE227948T1/en not_active IP Right Cessation
- 1998-06-30 EP EP98112032A patent/EP0900533B1/en not_active Expired - Lifetime
- 1998-06-30 DE DE59806331T patent/DE59806331D1/en not_active Expired - Fee Related
- 1998-07-08 CZ CZ19982156A patent/CZ289765B6/en not_active IP Right Cessation
- 1998-07-13 US US09/113,228 patent/US6125516A/en not_active Expired - Fee Related
- 1998-07-16 KR KR1019980028968A patent/KR19990013972A/en not_active Ceased
Patent Citations (6)
| Publication number | Priority date | Publication date | Assignee | Title |
|---|---|---|---|---|
| US4543803A (en) * | 1983-11-30 | 1985-10-01 | Mark Keyasko | Lightweight, rigid, metal product and process for producing same |
| DE3818967A1 (en) * | 1988-06-03 | 1989-12-14 | Breuning Franz Fa | Metal jewellery |
| EP0346698A1 (en) * | 1988-06-14 | 1989-12-20 | D. Swarovski & Co. | Setting for ornamental stones |
| US4972685A (en) * | 1988-06-14 | 1990-11-27 | D. Swarovski & Co. | Mount for gems |
| DE3918920A1 (en) * | 1989-06-09 | 1990-12-13 | Eberle Josef Gmbh & Co Kg | Galvano-plastic process for producing e.g. hollow jewellery parts - involves electrolytic metal coating of a cpd. core incorporating a structural part made of metal of similar fineness to metal coating |
| EP0620987A1 (en) * | 1993-04-22 | 1994-10-26 | Firma Franz Breuning | Setting of a jewellery stone |
Also Published As
| Publication number | Publication date |
|---|---|
| EP0900533B1 (en) | 2002-11-20 |
| CZ289765B6 (en) | 2002-04-17 |
| DE59806331D1 (en) | 2003-01-02 |
| TW462231U (en) | 2001-11-01 |
| EP0900533A2 (en) | 1999-03-10 |
| US6125516A (en) | 2000-10-03 |
| ATE227948T1 (en) | 2002-12-15 |
| CZ215698A3 (en) | 1999-02-17 |
| KR19990013972A (en) | 1999-02-25 |
| AT2273U1 (en) | 1998-08-25 |
Similar Documents
| Publication | Publication Date | Title |
|---|---|---|
| EP0900533A3 (en) | Bijou creux | |
| EP1332766A3 (en) | Activation device for the natural heart | |
| EP0843062A3 (en) | Fixing element for window fitting | |
| EP1510180A3 (en) | Steerable loop structure | |
| EP0841687A3 (en) | Ceramic discharge vessel | |
| EP1415764A3 (en) | Fastener for a surface treatment article and quick release system | |
| EP1031731A3 (en) | Multiway seat valve | |
| EP0915275A3 (en) | Solenoid-operated valve assembly | |
| USD396823S (en) | Jewelry stone assembly | |
| EP0897739A3 (en) | Filter and method for its fabrication | |
| DE69817469D1 (en) | Composite metal spring gasket and its manufacturing process | |
| EP0822615A3 (en) | Electrical contact spring | |
| EP0888731A3 (en) | Setting for a jewellery stone | |
| EP0985804A3 (en) | Camshaft alignment means and working method | |
| EP1191269A3 (en) | Tolerance-compensating disconnectable and non-disconnectable pipe connections | |
| EP1128447A3 (en) | Superconducting wire and method of manufacturing the same | |
| EP1166740A3 (en) | Vacuum mattress | |
| EP0856878A3 (en) | Method of manufacturing a semiconductor structure comprising a precious metal | |
| EP1086660A3 (en) | Cartridge and dental applicator | |
| EP1170513A3 (en) | Device and its use for releasably fixing at least two flat elements | |
| EP1411174A3 (en) | Soil compacting device | |
| EP1382881A3 (en) | Attachment element | |
| EP1180421A3 (en) | Manufacturing process for a construction element, the element and its use | |
| EP0927850A3 (en) | Member for the quick mounting of a gum springkler or the like onto a tap | |
| DE69909163D1 (en) | A solid preparation and its manufacturing process |
Legal Events
| Date | Code | Title | Description |
|---|---|---|---|
| PUAI | Public reference made under article 153(3) epc to a published international application that has entered the european phase |
Free format text: ORIGINAL CODE: 0009012 |
|
| AK | Designated contracting states |
Kind code of ref document: A2 Designated state(s): AT BE CH DE DK ES FI FR GB GR IT LI NL PT SE |
|
| AX | Request for extension of the european patent |
Free format text: AL;LT;LV;MK;RO;SI |
|
| PUAL | Search report despatched |
Free format text: ORIGINAL CODE: 0009013 |
|
| AK | Designated contracting states |
Kind code of ref document: A3 Designated state(s): AT BE CH CY DE DK ES FI FR GB GR IE IT LI LU MC NL PT SE |
|
| AX | Request for extension of the european patent |
Free format text: AL;LT;LV;MK;RO;SI |
|
| RIC1 | Information provided on ipc code assigned before grant |
Free format text: 6A 44C 17/02 A, 6A 44C 17/04 B |
|
| 17P | Request for examination filed |
Effective date: 19990628 |
|
| AKX | Designation fees paid |
Free format text: AT BE CH DE DK ES FI FR GB GR IT LI NL PT SE |
|
| GRAG | Despatch of communication of intention to grant |
Free format text: ORIGINAL CODE: EPIDOS AGRA |
|
| GRAG | Despatch of communication of intention to grant |
Free format text: ORIGINAL CODE: EPIDOS AGRA |
|
| GRAH | Despatch of communication of intention to grant a patent |
Free format text: ORIGINAL CODE: EPIDOS IGRA |
|
| 17Q | First examination report despatched |
Effective date: 20020524 |
|
| GRAH | Despatch of communication of intention to grant a patent |
Free format text: ORIGINAL CODE: EPIDOS IGRA |
|
| GRAA | (expected) grant |
Free format text: ORIGINAL CODE: 0009210 |
|
| AK | Designated contracting states |
Kind code of ref document: B1 Designated state(s): AT BE CH DE DK ES FI FR GB GR IT LI NL PT SE |
|
| PG25 | Lapsed in a contracting state [announced via postgrant information from national office to epo] |
Ref country code: NL Free format text: LAPSE BECAUSE OF FAILURE TO SUBMIT A TRANSLATION OF THE DESCRIPTION OR TO PAY THE FEE WITHIN THE PRESCRIBED TIME-LIMIT Effective date: 20021120 Ref country code: IT Free format text: LAPSE BECAUSE OF FAILURE TO SUBMIT A TRANSLATION OF THE DESCRIPTION OR TO PAY THE FEE WITHIN THE PRESCRIBED TIME-LIMIT;WARNING: LAPSES OF ITALIAN PATENTS WITH EFFECTIVE DATE BEFORE 2007 MAY HAVE OCCURRED AT ANY TIME BEFORE 2007. THE CORRECT EFFECTIVE DATE MAY BE DIFFERENT FROM THE ONE RECORDED. Effective date: 20021120 Ref country code: GR Free format text: LAPSE BECAUSE OF FAILURE TO SUBMIT A TRANSLATION OF THE DESCRIPTION OR TO PAY THE FEE WITHIN THE PRESCRIBED TIME-LIMIT Effective date: 20021120 Ref country code: GB Free format text: LAPSE BECAUSE OF FAILURE TO SUBMIT A TRANSLATION OF THE DESCRIPTION OR TO PAY THE FEE WITHIN THE PRESCRIBED TIME-LIMIT Effective date: 20021120 Ref country code: FR Free format text: LAPSE BECAUSE OF FAILURE TO SUBMIT A TRANSLATION OF THE DESCRIPTION OR TO PAY THE FEE WITHIN THE PRESCRIBED TIME-LIMIT Effective date: 20021120 Ref country code: FI Free format text: LAPSE BECAUSE OF FAILURE TO SUBMIT A TRANSLATION OF THE DESCRIPTION OR TO PAY THE FEE WITHIN THE PRESCRIBED TIME-LIMIT Effective date: 20021120 |
|
| REF | Corresponds to: |
Ref document number: 227948 Country of ref document: AT Date of ref document: 20021215 Kind code of ref document: T |
|
| REG | Reference to a national code |
Ref country code: GB Ref legal event code: FG4D Free format text: NOT ENGLISH |
|
| REG | Reference to a national code |
Ref country code: CH Ref legal event code: EP |
|
| REF | Corresponds to: |
Ref document number: 59806331 Country of ref document: DE Date of ref document: 20030102 |
|
| PG25 | Lapsed in a contracting state [announced via postgrant information from national office to epo] |
Ref country code: SE Free format text: LAPSE BECAUSE OF FAILURE TO SUBMIT A TRANSLATION OF THE DESCRIPTION OR TO PAY THE FEE WITHIN THE PRESCRIBED TIME-LIMIT Effective date: 20030220 Ref country code: PT Free format text: LAPSE BECAUSE OF FAILURE TO SUBMIT A TRANSLATION OF THE DESCRIPTION OR TO PAY THE FEE WITHIN THE PRESCRIBED TIME-LIMIT Effective date: 20030220 Ref country code: DK Free format text: LAPSE BECAUSE OF FAILURE TO SUBMIT A TRANSLATION OF THE DESCRIPTION OR TO PAY THE FEE WITHIN THE PRESCRIBED TIME-LIMIT Effective date: 20030220 |
|
| NLV1 | Nl: lapsed or annulled due to failure to fulfill the requirements of art. 29p and 29m of the patents act | ||
| GBV | Gb: ep patent (uk) treated as always having been void in accordance with gb section 77(7)/1977 [no translation filed] |
Effective date: 20021120 |
|
| PG25 | Lapsed in a contracting state [announced via postgrant information from national office to epo] |
Ref country code: ES Free format text: LAPSE BECAUSE OF FAILURE TO SUBMIT A TRANSLATION OF THE DESCRIPTION OR TO PAY THE FEE WITHIN THE PRESCRIBED TIME-LIMIT Effective date: 20030529 |
|
| PG25 | Lapsed in a contracting state [announced via postgrant information from national office to epo] |
Ref country code: LI Free format text: LAPSE BECAUSE OF NON-PAYMENT OF DUE FEES Effective date: 20030630 Ref country code: CH Free format text: LAPSE BECAUSE OF NON-PAYMENT OF DUE FEES Effective date: 20030630 Ref country code: BE Free format text: LAPSE BECAUSE OF NON-PAYMENT OF DUE FEES Effective date: 20030630 Ref country code: AT Free format text: LAPSE BECAUSE OF NON-PAYMENT OF DUE FEES Effective date: 20030630 |
|
| EN | Fr: translation not filed | ||
| PLBE | No opposition filed within time limit |
Free format text: ORIGINAL CODE: 0009261 |
|
| STAA | Information on the status of an ep patent application or granted ep patent |
Free format text: STATUS: NO OPPOSITION FILED WITHIN TIME LIMIT |
|
| 26N | No opposition filed |
Effective date: 20030821 |
|
| BERE | Be: lapsed |
Owner name: D. *SWAROVSKI & CO. Effective date: 20030630 |
|
| PG25 | Lapsed in a contracting state [announced via postgrant information from national office to epo] |
Ref country code: DE Free format text: LAPSE BECAUSE OF NON-PAYMENT OF DUE FEES Effective date: 20040101 |
|
| REG | Reference to a national code |
Ref country code: CH Ref legal event code: PL |
