EP0878237A2 - Bodenteil für einen Brausekopf sowie Brausekopf - Google Patents

Bodenteil für einen Brausekopf sowie Brausekopf Download PDF

Info

Publication number
EP0878237A2
EP0878237A2 EP98110812A EP98110812A EP0878237A2 EP 0878237 A2 EP0878237 A2 EP 0878237A2 EP 98110812 A EP98110812 A EP 98110812A EP 98110812 A EP98110812 A EP 98110812A EP 0878237 A2 EP0878237 A2 EP 0878237A2
Authority
EP
European Patent Office
Prior art keywords
shower head
water passage
passage openings
projection
bottom part
Prior art date
Legal status (The legal status is an assumption and is not a legal conclusion. Google has not performed a legal analysis and makes no representation as to the accuracy of the status listed.)
Granted
Application number
EP98110812A
Other languages
English (en)
French (fr)
Other versions
EP0878237A3 (de
EP0878237B1 (de
Inventor
Konrad Dr.-Ing. Bergmann
Claudio Fait
Klaus-Jürgen LÄLLER
Current Assignee (The listed assignees may be inaccurate. Google has not performed a legal analysis and makes no representation or warranty as to the accuracy of the list.)
Ideal Standard GmbH
Original Assignee
Ideal Standard GmbH
Priority date (The priority date is an assumption and is not a legal conclusion. Google has not performed a legal analysis and makes no representation as to the accuracy of the date listed.)
Filing date
Publication date
Family has litigation
First worldwide family litigation filed litigation Critical https://patents.darts-ip.com/?family=6510417&utm_source=google_patent&utm_medium=platform_link&utm_campaign=public_patent_search&patent=EP0878237(A2) "Global patent litigation dataset” by Darts-ip is licensed under a Creative Commons Attribution 4.0 International License.
Priority claimed from DE4419696A external-priority patent/DE4419696C2/de
Application filed by Ideal Standard GmbH filed Critical Ideal Standard GmbH
Priority claimed from EP95912160A external-priority patent/EP0744997B1/de
Publication of EP0878237A2 publication Critical patent/EP0878237A2/de
Publication of EP0878237A3 publication Critical patent/EP0878237A3/de
Application granted granted Critical
Publication of EP0878237B1 publication Critical patent/EP0878237B1/de
Anticipated expiration legal-status Critical
Revoked legal-status Critical Current

Links

Images

Classifications

    • BPERFORMING OPERATIONS; TRANSPORTING
    • B05SPRAYING OR ATOMISING IN GENERAL; APPLYING FLUENT MATERIALS TO SURFACES, IN GENERAL
    • B05BSPRAYING APPARATUS; ATOMISING APPARATUS; NOZZLES
    • B05B1/00Nozzles, spray heads or other outlets, with or without auxiliary devices such as valves, heating means
    • B05B1/14Nozzles, spray heads or other outlets, with or without auxiliary devices such as valves, heating means with multiple outlet openings; with strainers in or outside the outlet opening
    • B05B1/18Roses; Shower heads
    • B05B1/185Roses; Shower heads characterised by their outlet element; Mounting arrangements therefor
    • BPERFORMING OPERATIONS; TRANSPORTING
    • B05SPRAYING OR ATOMISING IN GENERAL; APPLYING FLUENT MATERIALS TO SURFACES, IN GENERAL
    • B05BSPRAYING APPARATUS; ATOMISING APPARATUS; NOZZLES
    • B05B15/00Details of spraying plant or spraying apparatus not otherwise provided for; Accessories
    • B05B15/50Arrangements for cleaning; Arrangements for preventing deposits, drying-out or blockage; Arrangements for detecting improper discharge caused by the presence of foreign matter
    • B05B15/52Arrangements for cleaning; Arrangements for preventing deposits, drying-out or blockage; Arrangements for detecting improper discharge caused by the presence of foreign matter for removal of clogging particles
    • B05B15/528Arrangements for cleaning; Arrangements for preventing deposits, drying-out or blockage; Arrangements for detecting improper discharge caused by the presence of foreign matter for removal of clogging particles by resilient deformation of the nozzle
    • BPERFORMING OPERATIONS; TRANSPORTING
    • B05SPRAYING OR ATOMISING IN GENERAL; APPLYING FLUENT MATERIALS TO SURFACES, IN GENERAL
    • B05BSPRAYING APPARATUS; ATOMISING APPARATUS; NOZZLES
    • B05B15/00Details of spraying plant or spraying apparatus not otherwise provided for; Accessories
    • B05B15/60Arrangements for mounting, supporting or holding spraying apparatus
    • B05B15/62Arrangements for supporting spraying apparatus, e.g. suction cups

Definitions

  • the invention relates to a shower head with a water passage openings having bottom part made of an elastic material, the water passage openings Exit at the bottom of the shower head and over the bottom survive.
  • shower heads can be found in almost every household as part of a shower head known for decades. Problems arise in particular with shower heads with hard to very hard tap water, from which very quickly and massively Eliminate limescale.
  • the limescale deposits set the water passage openings and significantly impair the function of the shower head.
  • EP-A-0 435 031 The principle known from EP-A-0 435 031 is based on a similar principle Shower head, at the bottom part of which there are hose-like outlet openings Material with a hardness of 20 to 100 shore are provided. By manual “rubbing" on the hose-like outlet openings should be in these deposited lime can be removed.
  • the invention now goes a new way.
  • shower head provided that the bottom part has an approximately ring-shaped Has projection that protrudes beyond the underside of the shower head and that the water passage openings along the length of the projection are distributed.
  • the at least one ring segment but preferably the shape of a projection having a closed ring no longer carries the risk of damage, which is the case with the aforementioned extensions.
  • the water passage openings are reinforced in such a way that the risk of damage to the bottom part when "rubbing" is not more exists.
  • the annular projection can be easily made deform by manual “rubbing", whereby the lime particles in the Water passage openings detached and then fall out of them or be washed out.
  • the bottom part at least one exposed at the bottom of the shower head at least has a water passage opening having a central section, which as Membrane is formed. Due to the elastic properties of the bottom part and the formation of the central section as a membrane, the water passage openings do not necessarily have to protrude over the underside of the shower head, can be a cleaning of the shower head from the lime particles in particular easily achieved by, for example, a finger over the membrane-like exposed, d. H.
  • a shower head 1 according to the invention is shown in cross-sectional view.
  • the shower head 1 the basic structure of which is known per se has a water supply 2.
  • the shower head 1 is included a water passage openings 3 having bottom part 4.
  • the Bottom part 4 consists of elastic material, preferably with a material hardness from 20 to 120 shore.
  • the water passage openings 3 occur at the Bottom 5 of the shower head 1.
  • the water passage openings 3 are, if at all, only very slightly over the bottom 5 of the shower head 1.
  • the bottom part 4 itself is held in the shower head 1 and is in with the water supply 2 Connection.
  • the bottom part 4 has at least one approximately ring-shaped Has projection 6, which over the bottom 5 of the shower head 1st protrudes, the water passage openings 3 over the length of the projection 6 are distributed.
  • the projection 6 itself has at least one ring segment that extends over at least part of the underside 5 of the shower head 1 extends extensively.
  • the projection 6 preferably has the shape of a closed ring on the circumference at the bottom 5 of the shower head 1 is arranged. Otherwise, it is also understood that the projection 6 can have the shape of an open ring.
  • the ring-shaped projection which consists of solid material and only is penetrated by the water passage openings in some places due to the material properties of the bottom part 4 easily manually be deformed by "rubbing", which also changes the water passage openings 3 change in shape, which means that it is deposited Lime dissolves and is discharged.
  • the water passage openings 3 occur in each case at the highest point of the projection 6, are at least in the circumferential direction surrounded by comparatively much elastic material of the bottom part 4, so that a break or damage to the projection when "rubbing" is not to be feared.
  • the shower head 1 offers the water passage openings 3 over the circumference of the projection 6 to distribute evenly. It has been found that it is for good The blasting result is sufficient if the individual water passage openings 3 are spaced apart by an arc angle of 6 °. This way you get 60 Water passage openings 3, due to the function of the invention it is ensured that every 60 water openings after occasional "Rubbing" can be flowed through.
  • the projection 6 is annular trained, but also the bottom part 4. So it's not necessarily required that the bottom part 4 over the entire surface of the bottom 5 of the shower head 1 extends. Because of the annular bottom part 4, it is possible the actual shower function in the area of the outer circumference of the shower head 1, while the central area for possible others Functions of the shower head 1 is available.
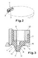
  • the bottom part 4 has an area which is approximately U-shaped in cross section 7 on which in the embodiments of FIG. 1 (right representation) and Fig. 2 and 3 of the projection 6 connects.
  • the bottom part 4 can be particularly simple Hold in a ring channel 8 provided in the housing of the shower head 1, which will be discussed in more detail below.
  • the But bottom part 4 can also be designed as an annular disc to which the projection 6 joins downwards. Instead of a side clamp The bottom part 4 is then corresponding over the U-shaped area To hold or clamp in the housing of the shower head 1.
  • the projection 6 is not only movable back and forth, but also in the shower head 1 can be pushed in.
  • the water passage openings 3 have a narrowing in the flow direction Section 9 on.
  • This narrowing section 9 acts in Art a Venturi nozzle, therefore leads to the acceleration of the water.
  • the advantage this narrowing section 9 is that even at a low Amount of water a quite powerful water jet can be generated.
  • the narrowing section 9 immediately adjoins the U-shaped one Area 7.
  • the narrowing section 9 is in turn connected an outlet section 10.
  • the outlet section is in its end region 11 10 beveled according to the desired water outlet direction.
  • FIGS. 3, 4 and 5 shows that the outlet section 10 in its end region 11 with different water passage openings 3 can also be designed differently.
  • this beam pattern is 10 times in Projection 6 provided so that thirty water passage openings 3 with a Inclination of 8 ° with respect to the vertical, twenty water openings with an inclination of 5 ° and ten water passages with an inclination of 2 ° are provided.
  • the one in FIG shown end region 11 has a bevel 12 with an angle of 16 °, so that there is a water jet direction of 8 °.
  • 4 shows the bevel 12 in the end region 11 at an angle of 10 °, so that there is a Water jet direction of 5 ° results.
  • the water passage openings 3 are designed such that there is an equal flow rate regardless of the water jet direction results. This is realized in that the lower surface of the water passage openings 3 the desired requirements in the area of the outlet accordingly beveled at a small angle ⁇ of 0 to 1 ° is. This results in the area of the bevel 12 subsequent to the End region 11 a protrusion 13 through which the water passage opening narrowed.
  • the inside and / or on the outside of the projection 6 and / or the base part 4 at least one bulge 14 provided.
  • the bulges 14 are not only aesthetic Effect, because they give the impression of "rubbing" when stripping lime, but also serve to move the annular bottom part 4 to avoid within the shower head 1. 8 also shows and 9 that the water passage openings 3 at least on their outlet side End in a rectangular shape.
  • FIGS. 10 to 13 are other embodiments of the shower head according to the invention 1 shown.
  • the bottom part 4 in a lower support element 15 of the shower head 1 inserted and fixed in it.
  • the main thing here is that the bottom part 4 has a central section 16 which is designed as a membrane.
  • Water passage openings 3 can be aligned as described above.
  • the design as a membrane makes it possible, with a correspondingly slight application of pressure to deform the membrane to the central portion 16, which for Removal of the lime deposited there leads.
  • the base part 4 an area 7 of approximately U-shaped cross section.
  • the middle section 16 lies between the two side legs of the U-shaped Area 7.
  • the bottom part 4 is again designed as a ring, which is what the previously mentioned Has advantages.
  • the middle section 16 stands over the bottom 5 of the shower head 1 over.
  • the middle section 16 presses This is particularly easy if the middle section 16 and the bottom 5 merge into each other.
  • the U-shaped region 7 or the bottom part 4 accidentally damaged.
  • the central section of the area is also concave or can just be trained.
  • a movement of the midsection can result from this result in water flowing through the shower head and the flow pressure on the inside of the central section acts so that it extends outwards bulges. If the water pressure changes now, this occurs due to the membrane properties a corresponding movement of the middle section, which also leads to limescale removal.
  • the additional "scratching" to facilitate at least one knob 17 on the outside of the central section 16 may be provided, which over the underside 5 of the shower head 1 survives.
  • FIGS. 14 and 15 While the annular design of the base part 4 from FIGS. 12 and 13 14 and 15, another embodiment is shown, in which basically also the central section 16 as a membrane is trained.
  • FIGS. 14 and 15 applies to what has been said above with the exception that the bottom part 4 is not considered Ring is formed, has a plurality of middle sections that approximately are distributed over the entire underside 5 of the shower head.
  • a plurality of openings 18 are provided in the corresponding Project U-shaped areas 7. Because of the U-shaped design, they are Areas flat and designed so that a user the middle sections 16th (with convex training).
  • FIGS. 14 and 15 Concave formation of the middle section 16 applies to what has been said above.
  • a collar 19 protruding into the interior of the area 7 is an extension the water passage opening 3 is provided.
  • the collar 19 thus represents a reinforcement for the water passage opening 3 towards the inside.
  • a corresponding support device 20 provided to fix the annular base parts 4 in the shower head 1 and in the case of a U-shaped design.
  • the support device 20 preferably has one circumferential support ring with a plurality of passage openings 21st is provided, as can be seen in particular from FIGS. 10 and 11.
  • the Support device 20 clamps the bottom part 4 in the ring channel 8 of the shower head 1 firmly.
  • Steps 22 in the U-shaped area 7 for inserting the support device 20 be provided.

Landscapes

  • Nozzles (AREA)
  • Bathtubs, Showers, And Their Attachments (AREA)

Abstract

Die Erfindung betrifft einen Brausekopf (1) mit einem Wasserdurchtrittsöffnungen (3) aufweisenden Bodenteil (4) aus einem elastischen Material, wobei die Wasserdurchtrittsöffnungen (3) an der Unterseite (5) des Brausekopfes (1) austreten und über die Unterseite (5) überstehen. Um in einfacher Weise ein manuelles Entkalken des Brausekopfes zu realisieren, ohne daß die Gefahr der Beschädigung des Bodenteils besteht, ist erfindungsgemäß vorgesehen, daß der Bodenteil (4) einen etwa ringförmig ausgebildeten Vorsprung (6) aufweist, der über die Unterseite (5) des Brausekopfes (1) übersteht und daß die Wasserdurchtrittsöffnungen (3) über die Länge des Vorsprungs (6) verteilt sind. <IMAGE>

Description

Die Erfindung betrifft einen Brausekopf mit einem Wasserdurchtrittsöffnungen aufweisenden Bodenteil aus einem elastischen Material, wobei die Wasserdurchtrittsöffnungen an der Unterseite des Brausekopfes austreten und über die Unterseite überstehen.
Brauseköpfe sind als Teil einer Brause in fast jedem Haushalt zu finden und seit Jahrzehnten bekannt. Probleme ergeben sich bei Brauseköpfen insbesondere bei hartem bis sehr hartem Leitungswasser, aus dem sich sehr rasch und massiv Kalkablagerungen ausscheiden. Die Kalkablagerungen setzen die Wasserdurchtrittsöffnungen zu und beeinträchtigen wesentlich die Funktion des Brausekopfes.
Um die an sich nicht zu verhindernden Kalkablagerungen zu beseitigen, sind bereits verschiedene Vorschläge gemacht worden. Aus der EP - A- 0 443 538 ist bereits ein Brausekopf der eingangs genannten Art bekannt, wobei am Bodenteil angeformte Zapfen vorgesehen sind, durch die die Wasserdurchtrittsöffnungen hindurchgeführt sind und die über die Unterseite des Brausekopfes überstehen. Durch ein manuelles "Rubbeln" über die elastisch verformbaren Enden der Zapfen soll eine Entfernung der Kalkverkrustungen möglich sein.
Auf einem ähnlichen Prinzip beruht der aus der EP - A - 0 435 031 bekannte Brausekopf, an dessen Bodenteil schlauchartige Austrittsöffnungen aus einem Werkstoff mit einer Materialhärte von 20 bis 100 shore vorgesehen sind. Durch manuelles "Rubbeln" an den schlauchartigen Austrittsöffnungen soll in diesen abgelagerter Kalk abgelöst werden.
Sowohl in der EP - A - 0 443 538, als auch in der EP - A - 0 435 031 stehen also die Wasserdurchtrittsöffnungen über zapfen- oder schlauchartige Verlängerungen über die Unterseite des Brausekopfes über. Das Problem bei den bekannten zapfen- oder schlauchartigen Verlängerungen besteht darin, daß es beim manuellen "Rubbeln", insbesondere aufgrund der Dünnwandigkeit der Verlängerungen zum Abknicken, Einreißen oder gänzlichem Abreißen der Verlängerungen kommen kann. Hierdurch kann nicht nur die Funktion des Brausekopfes, sondern auch die Möglichkeit der Beseitigung der Kalkablagerungen wesentlich beeinträchtigt werden.
Die Erfindung geht nun einen neuen Weg. Erfindungsgemäß ist bei dem eingangs genannten Brausekopf vorgesehen, daß der Bodenteil einen etwa ringförmig ausgebildeten Vorsprung aufweist, der über die Unterseite des Brausekopfes übersteht und daß die Wasserdurchtrittsöffnungen über die Länge des Vorsprungs verteilt sind. Bei der Erfindung wird also nach wie vor die Möglichkeit des manuellen "Rubbelns" ausgenutzt, um Kalkablagerungen in den Wasserdurchtrittsöffnungen zu beseitigen. Allerdings besteht bei dem erfindungsgemäßen Brausekopf mit dem wenigstens ein Ringsegment, vorzugsweise aber die Form eines geschlossenen Ringes aufweisenden Vorsprung nicht mehr die Gefahr der Beschädigung, die bei den zuvor erwähnten Verlängerungen gegeben ist. Durch den umlaufenden Vorsprung sind die Wasserdurchtrittsöffnungen derart verstärkt, daß die Gefahr der Beschädigung des Bodenteils beim "Rubbeln" nicht mehr besteht. Da der Vorsprung aber aus dem gleichen elastischen Material besteht wie der Bodenteil, läßt sich der ringförmige Vorsprung ohne weiteres durch manuelles "Rubbeln" elastisch verformen, wodurch die Kalkpartikel in den Wasserdurchtrittsöffnungen abgelöst und dann aus diesen herausfallen oder herausgespült werden.
Bei einer alternativen Ausführungsform ist vorgesehen, daß der Bodenteil wenigstens einen an der Unterseite des Brausekopfes freiliegenden, zumindest eine Wasserdurchtrittsöffnung aufweisenden Mittelabschnitt aufweist, der als Membran ausgebildet ist. Aufgrund der elastischen Eigenschaften des Bodenteils und der Ausbildung des Mittelabschnitts als Membran, wobei die Wasserdurchtrittsöffnungen nicht unbedingt über die Unterseite des Brausekopfes überstehen müssen, läßt sich eine Reinigung des Brausekopfes von den Kalkpartikeln in besonders einfacher Weise dadurch erreichen, daß man beispielsweise mit einem Finger über den membranartig ausgebildeten freiliegenden, d. h. für den Benutzer von außen frei zugänglichen Mittelabschnitt streicht und auf diesen gleichzeitig einen geringen Druck ausübt, so daß aufgrund der Elastizität des Materials des Bodenteils der Mittelabschnitt in den Brausekopf hineingedrückt wird, was zu einer Verformung des Mittelabschnitts und der darin befindlichen Wasserdurchtrittsöffnungen und damit zu einer Ablösung von Kalkablagerungen führt. Auch bei dieser Ausführungsform ist eine Beschädigung des Bodenteils mit einer damit verbundenen Beeinträchtigung der Brausefunktion des Brausekopfes nicht zu befürchten.
Weitere Merkmale, Vorteile und Anwendungsmöglichkeiten der vorliegenden Erfindung ergeben sich aus den Unteransprüchen, der nachfolgenden Beschreibung von Ausführungsbeispielen anhand der Zeichnung und der Zeichnung selbst. Dabei bilden alle beschriebenen und/oder bildlich dargestellten Merkmale für sich oder in beliebiger Kombination den Gegenstand der vorliegenden Erfindung unabhängig von ihrer Zusammenfassung in den Patentansprüchen oder deren Rückbeziehung.
Es zeigt
Fig. 1
eine Querschnittsansicht eines erfindungsgemäßen Brausekopfes, in dem zwei unterschiedliche Ausführungsformen dargestellt sind,
Fig. 2
eine perspektivische Querschnittsansicht eines nur teilweise dargestellten erfindungsgemäßen Bodenteils,
Fig. 3
eine Querschnittsansicht eines Teils eines erfindungsgemäßen Brausekopfes,
Fig. 4
eine Querschnittsansicht eines Teils des Bodenteils mit einer Wasserdurchtrittsöffnung,
Fig. 5
eine Querschnittsansicht eines anderen Teils des erfindungsgemäßen Bodenteils mit einer anderen Wasserdurchtrittsöffnung,
Fig. 6
eine schematische Darstellung des Strahlbildes des erfindungsgemäßen Brausekopfes,
Fig. 7
eine Querschnittsansicht eines Teils des Bodenteils,
Fig. 8
eine gestreckte Ansicht eines ringförmigen Vorsprungs des erfindungsgemäßen Bodenteils,
Fig. 9
eine weitere gestreckte Ansicht einer anderen Ausführungsform des erfindungsgemäßen Bodenteils,
Fig. 10
eine perspektivische Querschnittsansicht eines Teils einer anderen Ausführungsform des erfindungsgemäßen Brausekopfes,
Fig. 11
eine der Fig. 9 entsprechende Ansicht einer weiteren Ausführungsform des erfindungsgemäßen Brausekopfes,
Fig. 12
eine Unteransicht eines erfindungsgemäßen Brausekopfes,
Fig. 13
eine weitere Unteransicht einer anderen Ausführungsform des erfindungsgemäßen Brausekopfes,
Fig. 14
eine Querschnittsansicht einer weiteren Ausführungsform des erfindungsgemäßen Brausekopfes und
Fig. 15
eine Querschnittsansicht einer weiteren Ausführungsform des erfindungsgemäßen Brausekopfes.
In Fig. 1 ist ein erfindungsgemäßer Brausekopf 1 in Querschnittsansicht dargestellt. Der Brausekopf 1, dessen grundsätzlicher Aufbau an sich bekannt ist, weist eine Wasserzuführung 2 auf. Weiterhin ist der Brausekopf 1 mit einem Wasserdurchtrittsöffnungen 3 aufweisenden Bodenteil 4 versehen. Der Bodenteil 4 besteht aus elastischem Material, vorzugsweise mit einer Materialhärte von 20 bis 120 shore. Die Wasserdurchtrittsöffnungen 3 treten an der Unterseite 5 des Brausekopfes 1 aus. Außerdem stehen die Wasserdurchtrittsöffnungen 3 zumindest bei der rechten Ausführungsform gemäß Fig. 1 über die Unterseite 5 des Brausekopfes 1 über. Bei der in Fig. 1 dargestellten linken Ausführungsform stehen die Wasserdurchtrittsöffnungen 3, wenn überhaupt, nur ganz geringfügig über die Unterseite 5 des Brausekopfes 1 über. Der Bodenteil 4 an sich ist im Brausekopf 1 gehalten und steht mit der Wasserzuführung 2 in Verbindung.
Wesentlich ist nun, daß der Bodenteil 4 wenigstens einen etwa ringförmig ausgebildeten Vorsprung 6 aufweist, der über die Unterseite 5 des Brausekopfes 1 übersteht, wobei die Wasserdurchtrittsöffnungen 3 über die Länge des Vorsprungs 6 verteilt angeordnet sind. Der Vorsprung 6 an sich weist wenigstens ein Ringsegment auf, das sich zumindest über einen Teil der Unterseite 5 des Brausekopfes 1 umfangartig erstreckt. Vorzugsweise weist der Vorsprung 6 aber die Form eines geschlossenen Ringes auf, der umfangsmäßig an der Unterseite 5 des Brausekopfes 1 angeordnet ist. Im übrigen versteht es sich aber auch, daß der Vorsprung 6 die Form eines geöffneten Ringes haben kann.
Der ringförmige Vorsprung, der an sich aus Vollmaterial besteht und lediglich an einigen Stellen von den Wasserdurchtrittsöffnungen durchstoßen ist, kann aufgrund der Materialeigenschaften des Bodenteils 4 ohne weiteres manuell durch "Rubbeln" verformt werden, wobei sich auch die Wasserdurchtrittsöffnungen 3 in ihrer Form verändern, was zur Folge hat, daß sich darin abgelagerter Kalk löst und ausgetragen wird. Die Wasserdurchtrittsöffnungen 3 treten jeweils an der höchsten Stelle des Vorsprungs 6 aus, sind also zumindest in Umfangsrichtung von vergleichsweise viel elastischem Material des Bodenteils 4 umgeben, so daß ein Abbrechen bzw. eine Beschädigung des Vorsprungs beim "Rubbeln" nicht zu befürchten ist.
Um eine gute Wasserverteilung des Brausekopfes 1 zu gewährleisten, bietet es sich an, die Wasserdurchtrittsöffnungen 3 über den Umfang des Vorsprungs 6 gleichmäßig zu verteilen. Dabei ist festgestellt worden, daß es für ein gutes Strahlergebnis ausreichend ist, wenn die einzelnen Wasserdurchtrittsöffnungen 3 um einen Bogenwinkel von 6° beabstandet sind. Auf diese Weise erhält man 60 Wasserdurchtrittsöffnungen 3, wobei aufgrund der erfindungsgemäßen Funktion sichergestellt ist, daß immer alle 60 Wasserdurchtrittsöffnungen nach gelegentlichem "Rubbeln" durchströmt werden.
Wie insbesondere aus Fig. 2 erkennbar ist, ist nicht nur der Vorsprung 6 ringförmig ausgebildet, sondern auch der Bodenteil 4. Es ist also nicht unbedingt erforderlich, daß sich der Bodenteil 4 über die gesamte Fläche der Unterseite 5 des Brausekopfes 1 erstreckt. Durch den ringförmigen Bodenteil 4 ist es also möglich, die eigentliche Brausefunktion in den Bereich des äußeren Umfanges des Brausekopfes 1 zu verlegen, während der mittige Bereich für mögliche andere Funktionen des Brausekopfes 1 zur Verfügung steht.
Wie insbesondere in den Fig. 1 bis 3, 10 und 11 sowie 14 und 15 erkennbar ist, weist der Bodenteil 4 einen im Querschnitt etwa U-förmig ausgebildeten Bereich 7 auf, an den sich bei den Ausführungsformen der Fig. 1 (rechte Darstellung) sowie Fig. 2 und 3 der Vorsprung 6 anschließt. Durch die U-förmige Ausbildung des Bereichs 7 läßt sich der Bodenteil 4 in besonders einfacher Weise in einem im Gehäuse des Brausekopfes 1 vorgesehenen Ringkanal 8 halten, worauf weiter unten noch näher eingegangen wird. Außerdem läßt sich der Vorsprung 6 aufgrund des U-förmigen Bereichs 7 gut in den Brausekopf 1 hineindrücken, was das Ablösen von Kalk erleichtert. Es versteht sich, daß der Bodenteil 4 aber auch an sich als Ringscheibe ausgebildet sein kann, an die sich der Vorsprung 6 nach unten hin anschließt. Statt einer seitlichen Klemmung über den U-förmigen Bereich ist der Bodenteil 4 dann in entsprechender Weise im Gehäuse des Brausekopfes 1 zu halten bzw. zu klemmen. Wichtig ist, daß der Vorsprung 6 nicht nur hin- und herbewegbar, sondern auch in den Brausekopf 1 hineindrückbar ist.
Die Wasserdurchtrittsöffnungen 3 weisen einen sich in Durchflußrichtung verengenden Abschnitt 9 auf. Dieser sich verengende Abschnitt 9 wirkt in Art einer Venturi-Düse, führt also zur Beschleunigung des Wassers. Der Vorteil dieses sich verengenden Abschnitts 9 liegt darin, daß auch bei einer geringen Wassermenge ein recht kräftiger Wasserstrahl erzeugt werden kann. Der sich verengende Abschnitt 9 schließt sich unmittelbar an den U-förmigen Bereich 7 an. An den sich verengenden Abschnitt 9 wiederum schließt sich ein Austrittsabschnitt 10 an. In seinem Endbereich 11 ist der Austrittsabschnitt 10 entsprechend der gewünschten Wasseraustrittsrichtung angeschrägt. Dabei zeigt ein Vergleich der Fig. 3, 4 und 5, daß der Austrittsabschnitt 10 in seinem Endbereich 11 bei unterschiedlichen Wasserdurchtrittsöffnungen 3 auch unterschiedlich ausgebildet sein kann.
Vorzugsweise ist um ein gutes Strahlbild des Brausekopfes 1 zu erhalten, vorgesehen, daß benachbarte Wasserdurchtrittsöffnungen 3 unterschiedliche Wasserstrahlrichtungen aufweisen. Dies wird über entsprechende Anschrägungen 12 im Endbereich 11 der jeweiligen Wasserdurchtrittsöffnungen 3 erreicht. Bei Versuchen ist festgestellt worden, daß gute Strahlergebnisse erreicht werden, wenn die Wasserstrahlrichtung der einzelnen Wasserdurchtrittsöffnungen 3 zwischen 0 und 16° liegt, wobei in einer besonders bevorzugten Ausführungsform ein sich periodisch wiederholendes Strahlbild mit Wasserstrahlrichtungen der einzelnen Wasserdurchtrittsöffnungen 3 von 8°, 5°, 8°, 5°, 8° und 2° vorgesehen ist (vgl. Fig. 6). Bei dem erwähnten Bogenwinkel von 6° ist dieses Strahlbild 10 mal im Vorsprung 6 vorgesehen, so daß dreißig Wasserdurchtrittsöffnungen 3 mit einer Neigung von 8° gegenüber der Senkrechten, zwanzig Wasserdurchtrittsöffnungen mit einer Neigung von 5° und zehn Wasserdurchtrittsöffnungen mit einer Neigung von 2° vorgesehen sind. Im dargestellten Ausführungsbeispiel weist der in Fig. 3 dargestellte Endbereich 11 eine Anschrägung 12 mit einem Winkel von 16° auf, so daß sich eine Wasserstrahlrichtung von 8° ergibt. In Fig. 4 weist die Anschrägung 12 im Endbereich 11 einen Winkel von 10° auf, so daß sich hier eine Wasserstrahlrichtung von 5° ergibt. Schließlich ist bei der in Fig. 5 dargestellten Ausführungsform die Anschrägung 12 unter einem Winkel von 4° gegenüber der Senkrechten geneigt, so daß sich eine Wasserstrahlrichtung von 2° ergibt. Der sich verengende Abschnitt 9 ist bei jeder einzelnen Wasserdurchtrittsöffnung 3 gleich. In Abhängigkeit der gewünschten Wasserstrahlrichtung ist der Austrittsabschnitt 10 bei den einzelnen Wasserdurchtrittsöffnungen unterschiedlich ausgebildet, der Endbereich 11 also länger oder kürzer.
Aufgrund der unterschiedlichen Ausbildung der Austrittsabschnitte 10 bzw. der einzelnen Endbereiche 11 können sich unterschiedliche Strömungswiderstände ergeben. Die Wasserdurchtrittsöffnungen 3 sind jedoch derart ausgebildet, daß sich unabhängig von der Wasserstrahlrichtung eine gleiche Durchflußrate ergibt. Dies ist dadurch realisiert, daß die untere Fläche der Wasserdurchtrittsöffnungen 3 im Bereich des Austritts den gewünschten Erfordernissen entsprechend unter einem kleinen Winkel α von 0 bis 1° angeschrägt ist. Hierdurch ergibt sich im Bereich der Anschrägung 12 anschließend an den Endbereich 11 ein Überstand 13, durch den sich die Wasserdurchtrittsöffnung verengt.
Wie sich insbesondere aus den Fig. 8, 9 und 13 ergibt, ist innenseitig und/oder außenseitig des Vorsprungs 6 und/oder des Bodenteils 4 wenigstens eine Ausbuchtung 14 vorgesehen. Die Ausbuchtungen 14 haben nicht nur einen ästhetischen Effekt, sie vermitteln nämlich beim Abstreifen von Kalk den Eindruck des "Rubbelns", sondern dienen auch dazu, ein Verschieben des ringförmigen Bodenteils 4 innerhalb des Brausekopfes 1 zu vermeiden. Außerdem ergibt sich aus den Fig. 8 und 9, daß die Wasserdurchtrittsöffnungen 3 zumindest an ihrem austrittsseitigen Ende eine Rechteckform aufweisen.
In den Fig. 10 bis 13 sind andere Ausführungsformen des erfindungsgemäßen Brausekopfes 1 dargestellt. Bei der in den Fig. 10 und 11 dargestellten Ausführungsform ist der Bodenteil 4 in ein unteres Trägerelement 15 des Brausekopfes 1 eingelegt und darin fixiert. Wesentlich ist hierbei vor allem, daß der Bodenteil 4 einen Mittelabschnitt 16 aufweist, der als Membran ausgebildet ist. In diesem Mittelabschnitt 16 befinden sich die Wasserdurchtrittsöffnungen 3. Die Wasserdurchtrittsöffnungen 3 können wie zuvor beschrieben ausgerichtet sein. Die Ausbildung als Membran ermöglicht es, bei entsprechend geringfügiger Druck-Druckausübung auf den Mittelabschnitt 16 die Membran zu verformen, was zum Ablösen des sich dort abgelagerten Kalks führt.
Aus den erwähnten Gründen der einfachen Befestigung weist der Bodenteil 4 einen im Querschnitt etwa U-förmig ausgebildeten Bereich 7 auf. Der Mittelabschnitt 16 liegt dabei zwischen den beiden seitlichen Schenkeln des U-förmigen Bereichs 7. Auch in den dargestellten Ausführungsbeispielen der Fig. 10 und 11 ist der Bodenteil 4 wiederum als Ring ausgebildet, was die zuvor erwähnten Vorteile hat. Bei beiden Ausführungsformen steht der Mittelabschnitt 16 über die Unterseite 5 des Brausekopfes 1 über. Bei diesen Ausführungsformen kann das "Rubbeln" in besonders einfacher Weise erfolgen, indem man lediglich über die Unterseite 5 des Brausekopfes 1 streicht und dabei den Mittelabschnitt 16 eindrückt. Dies ist besonders einfach dann möglich, wenn der Mittelabschnitt 16 und die Unterseite 5 stufenlos ineinander übergehen. Hierdurch kann auch vermieden werden, daß der U-förmige Bereich 7 bzw. der Bodenteil 4 unbeabsichtigt beschädigt werden.
Nicht dargestellt ist, daß der Mittelabschnitt des Bereichs auch konkav oder eben ausgebildet sein kann. Bei der konkaven oder ebenen Ausbildung des Mittelabschnitts kann sich eine Bewegung des Mittelabschnitts schon dadurch ergeben, daß Wasser durch den Brausekopf strömt und der Strömungsdruck auf die Innenseite des Mittelabschnitts wirkt, so daß sich dieser nach außen wölbt. Verändert sich der Wasserdruck nun, tritt aufgrund der Membraneigenschaften des Mittelabschnitts eine entsprechende Bewegung auf, die ebenfalls zur Kalkablösung führt. In jedem Fall kann, aber um das zusätzliche "Rubbeln" zu erleichtern, wenigstens ein Noppen 17 auf der Außenseite des Mittelabschnitts 16 vorgesehen sein, der über die Unterseite 5 des Brausekopfes 1 übersteht.
Während aus den Fig. 12 und 13 die ringförmige Ausbildung des Bodenteils 4 gut hervorgeht, ist in den Fig. 14 und 15 eine andere Ausführungsform gezeigt, bei der grundsätzlich ebenfalls der Mittelabschnitt 16 als Membran ausgebildet ist. Für die in den Fig. 14 und 15 dargestellten Ausführungsformen gilt an sich das zuvor Gesagte mit der Ausnahme, daß der Bodenteil 4 nicht als Ring ausgebildet ist, eine Vielzahl von Mittelabschnitten aufweist, die etwa über die gesamte Unterseite 5 des Brausekopfes verteilt sind. Im Trägerelement 15 sind eine Vielzahl von Öffnungen 18 vorgesehen, in die entsprechende U-förmige Bereiche 7 hineinragen. Aufgrund der U-förmigen Ausbildung sind die Bereiche flächig und so ausgelegt, daß ein Benutzer die Mittelabschnitte 16 (bei konvexer Ausbildung) eindrücken kann. Bei der in den Fig. 14 und 15 dargestellten konkaven Ausbildung des Mittelabschnitts 16 gilt das zuvor Gesagte.
Um die in den einzelnen Bereichen 7 vorgesehenen Wasserdurchtrittsöffnungen 3 keiner unbeabsichtigten Beschädigung durch den manuellen Druck von außen und/ oder den Wasserdruck und der damit verbundenen Bewegung des Mittelabschnitts 16 auszusetzen, ist ein in das Innere des Bereichs 7 ragender Kragen 19 in Verlängerung der Wasserdurchtrittsöffnung 3 vorgesehen. Der Kragen 19 stellt also eine Verstärkung für die Wasserdurchtrittsöffnung 3 nach innen hin dar.
Um insbesondere die ringförmigen Bodenteile 4 im Brausekopf 1 zu fixieren und bei U-förmiger Ausbildung offen zu halten, ist eine entsprechende Stützeinrichtung 20 vorgesehen. Die Stützeinrichtung 20 weist vorzugsweise einen umlaufenden Stützring auf, der mit einer Vielzahl von Durchtrittsöffnungen 21 versehen ist, wie dies inbesondere aus den Fig. 10 und 11 hervorgeht. Die Stützeinrichtung 20 klemmt den Bodenteil 4 im Ringkanal 8 des Brausekopfes 1 fest. Hierzu können, wie dies aus den Fig. 10 und 11 hervorgeht, entsprechende Stufen 22 im U-förmigen Bereich 7 zum Einsetzen der Stützeinrichtung 20 vorgesehen sein.

Claims (7)

  1. Brausekopf (101) mit einem Wasserdurchtrittsöffnungen (103) aufweisenden Bodenteil (104) aus einem elastischen Material, wobei die Wasserdurchtrittsöffnungen (103) an der Unterseite (105) des Brausekopfes (101) austreten und über die Unterseite (105) überstehen, dadurch gekennzeichnet, daß der Bodenteil (104) wenigstens einen etwa ringförmig ausgebildeten Vorsprung (106) aufweist, der über die Unterseite (105) des Brausekopfes (101) übersteht und daß die Wasserdurchtrittsöffnungen (103) über die Länge des Vorsprungs (106) verteilt sind.
  2. Brausekopf nach Anspruch 1, dadurch gekennzeichnet, daß der Vorsprung (106) wenigstens ein Ringsegment aufweist, vorzugsweise aber die Form eines geschlossenen Ringes hat.
  3. Brausekopf nach Anspruch 1 oder 2, dadurch gekennzeichnet, daß die Wasserdurchtrittsöffnungen (103) jeweils an der höchsten Stelle des Vorsprungs (106) austreten und daß, vorzugsweise, die Wasserdurchtrittsöffnungen (103) über den Umfang des Vorsprungs (106) gleichmäßig verteilt sind, vorzugsweise um einen Bogenwinkel von 6° beabstandet.
  4. Brausekopf nach einem der Ansprüche 1 bis 3, dadurch gekennzeichnet, daß der Bodenteil (104) als Ring ausgebildet ist oder zumindest einen ringförmigen Abschnitt aufweist und daß, vorzugsweise, der Bodenteil (104) einen im Querschnitt etwa U-förmig ausgebildeten Bereich (107) aufweist, an den sich der Vorsprung (106) anschließt.
  5. Brausekopf nach einem der Ansprüche 1 bis 4, dadurch gekennzeichnet, daß die Wasserdurchtrittsöffnungen (103) einen sich in Durchflußrichtung verengenden Abschnitt (109) aufweisen und daß, vorzugsweise, sich an den verengenden Abschnitt (109) ein Austrittsabschnitt (110) anschließt, der entsprechend der Wasserstrahlrichtung eine Anschrägung (112) aufweist.
  6. Brausekopf nach einem der Ansprüche 1 bis 5, dadurch gekennzeichnet, daß benachbarte Wasserdurchtrittsöffnungen (103) unterschiedliche Wasserstrahlrichtungen aufweisen, daß, vorzugsweise, die Wasserstrahlrichtung der Wasserdurchtrittsöffnungen (103) zwischen 0 und 16° zur Senkrechten liegt, daß, vorzugsweise, benachbarte Wasserdurchtrittsöffnungen (103) ein sich periodisch wiederholendes Strahlbild mit Wasserstrahlrichtungen von 8°, 5°, 8°, 5°, 8° und 2° haben und daß, vorzugsweise, die Wasserdurchtrittsöffnungen (3) derart ausgebildet sind, daß sich unabhängig von der Wasserstrahlrichtung eine gleiche Durchflußrate der einzelnen Wasserdurchtrittsöffnungen (103) ergibt.
  7. Brausekopf nach einem der Ansprüche 1 bis 6, dadurch gekennzeichnet, daß innenseitig und/oder außenseitig des ringförmigen Bodenteils (104) und/oder des Vorsprungs (106) wenigstens eine seitliche Ausbuchtung (114) vorgesehen ist.
EP98110812A 1994-02-17 1995-02-17 Bodenteil für einen Brausekopf sowie Brausekopf Revoked EP0878237B1 (de)

Applications Claiming Priority (5)

Application Number Priority Date Filing Date Title
DE4404966 1994-02-17
DE4404966A DE4404966C2 (de) 1994-02-17 1994-02-17 Bodenteil für einen Brausekopf
DE4419696A DE4419696C2 (de) 1994-06-04 1994-06-04 Brausekopf
DE4419696 1994-06-04
EP95912160A EP0744997B1 (de) 1994-02-17 1995-02-17 Bodenteil für einen brausekopf sowie brausekopf

Related Parent Applications (2)

Application Number Title Priority Date Filing Date
EP95912160A Division-Into EP0744997B1 (de) 1994-02-17 1995-02-17 Bodenteil für einen brausekopf sowie brausekopf
EP95912160.9 Division 1995-08-24

Publications (3)

Publication Number Publication Date
EP0878237A2 true EP0878237A2 (de) 1998-11-18
EP0878237A3 EP0878237A3 (de) 1998-12-30
EP0878237B1 EP0878237B1 (de) 2001-07-11

Family

ID=6510417

Family Applications (1)

Application Number Title Priority Date Filing Date
EP98110812A Revoked EP0878237B1 (de) 1994-02-17 1995-02-17 Bodenteil für einen Brausekopf sowie Brausekopf

Country Status (2)

Country Link
EP (1) EP0878237B1 (de)
DE (3) DE4404966C2 (de)

Cited By (1)

* Cited by examiner, † Cited by third party
Publication number Priority date Publication date Assignee Title
WO2004085753A1 (de) 2003-03-25 2004-10-07 Neoperl Gmbh Sanitäre wasserauslaufeinheit, insbesondere strahlregler oder brause

Families Citing this family (3)

* Cited by examiner, † Cited by third party
Publication number Priority date Publication date Assignee Title
DE19646655A1 (de) * 1996-11-12 1998-05-14 Grohe Kg Hans Brausekopf
DE19901554A1 (de) 1999-01-16 2000-07-20 Hansgrohe Ag Brausekopf
DE102004056070B4 (de) * 2004-11-15 2019-01-31 Hansgrohe Se Sanitärer Brausekopf

Citations (2)

* Cited by examiner, † Cited by third party
Publication number Priority date Publication date Assignee Title
EP0435031A2 (de) 1989-12-28 1991-07-03 Friedrich Grohe Aktiengesellschaft Brausekopf
EP0443538A1 (de) 1990-02-22 1991-08-28 MASCO GmbH Brausekopf

Family Cites Families (9)

* Cited by examiner, † Cited by third party
Publication number Priority date Publication date Assignee Title
US2402741A (en) * 1944-10-03 1946-06-25 Adolphe O Draviner Spray head
US2559894A (en) * 1948-02-25 1951-07-10 Carl H Nordell Shower head
FR1070363A (fr) * 1953-02-06 1954-07-23 Appareil à douche
CH645176A5 (fr) * 1980-11-19 1984-09-14 Kaeser Charles Sa Dispositif melangeur automatique.
DE3044310C2 (de) * 1980-11-25 1984-09-27 Friedrich Grohe Armaturenfabrik Gmbh & Co, 5870 Hemer Brauseeinrichtung
DE3704782A1 (de) * 1986-12-04 1988-09-15 Johannes Neuenschwander Spardusche mit elastischem kopf und sparduese
JPH0499243U (de) * 1991-01-17 1992-08-27
DE4308599A1 (de) * 1992-11-04 1994-05-05 Grohe Armaturen Friedrich Brausekopf
DE9310367U1 (de) * 1993-07-12 1993-09-02 Hamm, Manfred R., Dr., 82544 Egling Massagebrausekopf mit rotierender noppenbeschichteter Oberfläche

Patent Citations (2)

* Cited by examiner, † Cited by third party
Publication number Priority date Publication date Assignee Title
EP0435031A2 (de) 1989-12-28 1991-07-03 Friedrich Grohe Aktiengesellschaft Brausekopf
EP0443538A1 (de) 1990-02-22 1991-08-28 MASCO GmbH Brausekopf

Cited By (1)

* Cited by examiner, † Cited by third party
Publication number Priority date Publication date Assignee Title
WO2004085753A1 (de) 2003-03-25 2004-10-07 Neoperl Gmbh Sanitäre wasserauslaufeinheit, insbesondere strahlregler oder brause

Also Published As

Publication number Publication date
DE4404966A1 (de) 1995-08-31
EP0878237A3 (de) 1998-12-30
EP0878237B1 (de) 2001-07-11
DE59509619D1 (de) 2001-10-25
DE59509412D1 (de) 2001-08-16
DE4404966C2 (de) 1997-02-13

Similar Documents

Publication Publication Date Title
DE4105183C2 (de) Brausekopf
EP0719589A2 (de) Brausekopf
EP0175881B1 (de) Spritzdüse für eine Munddusche mit Einfach- bzw. Mehrfachstrahl
EP0719586A2 (de) Brausekopf
EP0216319A2 (de) Strahlregler für Wasserhahnmundstücke
DE1913713A1 (de) Spritzduese
DE112019004251T5 (de) Wasserauslassdüse und Wasserstrahleinrichtung mit derselben
DE2235217A1 (de) Duschanlage mit vorrichtung zur regulierung der amplitude des wasserstrahles
DE3832426C2 (de)
EP0591877A1 (de) Duscheinrichtung mit selbstreinigendem Duschkopf
EP0878237A2 (de) Bodenteil für einen Brausekopf sowie Brausekopf
DE69108853T2 (de) Vorrichtung zur Schlauchentwässerung eines ausziehbaren Brause-anschlusses.
EP0744997B1 (de) Bodenteil für einen brausekopf sowie brausekopf
DE1927695A1 (de) Ausflussmundstueck fuer spritzerarme Stroemungen
DE4419696C2 (de) Brausekopf
DE19646655A1 (de) Brausekopf
EP0646679A1 (de) Filtersieb für Wasserauslaufarmaturen
DE69302435T2 (de) In einem Halter befestigter Alaunstift
EP0885660B1 (de) Brausekopf
DE10146788B4 (de) Strahlregler
EP0995373A1 (de) Reihenverbindung für Mehrzweckstühle
DE2710184C2 (de) Sperrvorrichtung
DE2111829C3 (de) Selbstreinigender Sprühkopf
DE3425660A1 (de) Duese fuer kunststoffspritzmaschinen
DE20115636U1 (de) Strahlregler

Legal Events

Date Code Title Description
PUAI Public reference made under article 153(3) epc to a published international application that has entered the european phase

Free format text: ORIGINAL CODE: 0009012

PUAL Search report despatched

Free format text: ORIGINAL CODE: 0009013

17P Request for examination filed

Effective date: 19980713

AC Divisional application: reference to earlier application

Ref document number: 744997

Country of ref document: EP

AK Designated contracting states

Kind code of ref document: A2

Designated state(s): DE FR IT

AK Designated contracting states

Kind code of ref document: A3

Designated state(s): DE FR IT

17Q First examination report despatched

Effective date: 19990907

GRAG Despatch of communication of intention to grant

Free format text: ORIGINAL CODE: EPIDOS AGRA

GRAG Despatch of communication of intention to grant

Free format text: ORIGINAL CODE: EPIDOS AGRA

GRAH Despatch of communication of intention to grant a patent

Free format text: ORIGINAL CODE: EPIDOS IGRA

RAP1 Party data changed (applicant data changed or rights of an application transferred)

Owner name: IDEAL-STANDARD GMBH & CO. OHG

GRAH Despatch of communication of intention to grant a patent

Free format text: ORIGINAL CODE: EPIDOS IGRA

GRAA (expected) grant

Free format text: ORIGINAL CODE: 0009210

AC Divisional application: reference to earlier application

Ref document number: 744997

Country of ref document: EP

AK Designated contracting states

Kind code of ref document: B1

Designated state(s): DE FR IT

PG25 Lapsed in a contracting state [announced via postgrant information from national office to epo]

Ref country code: IT

Free format text: LAPSE BECAUSE OF FAILURE TO SUBMIT A TRANSLATION OF THE DESCRIPTION OR TO PAY THE FEE WITHIN THE PRESCRIBED TIME-LIMIT;WARNING: LAPSES OF ITALIAN PATENTS WITH EFFECTIVE DATE BEFORE 2007 MAY HAVE OCCURRED AT ANY TIME BEFORE 2007. THE CORRECT EFFECTIVE DATE MAY BE DIFFERENT FROM THE ONE RECORDED.

Effective date: 20010711

Ref country code: FR

Free format text: LAPSE BECAUSE OF FAILURE TO SUBMIT A TRANSLATION OF THE DESCRIPTION OR TO PAY THE FEE WITHIN THE PRESCRIBED TIME-LIMIT

Effective date: 20010711

REF Corresponds to:

Ref document number: 59509412

Country of ref document: DE

Date of ref document: 20010816

EN Fr: translation not filed
PLBI Opposition filed

Free format text: ORIGINAL CODE: 0009260

PLBF Reply of patent proprietor to notice(s) of opposition

Free format text: ORIGINAL CODE: EPIDOS OBSO

26 Opposition filed

Opponent name: FRIEDRICH GROHE AG & CO. KG

Effective date: 20020330

PLBF Reply of patent proprietor to notice(s) of opposition

Free format text: ORIGINAL CODE: EPIDOS OBSO

PLBF Reply of patent proprietor to notice(s) of opposition

Free format text: ORIGINAL CODE: EPIDOS OBSO

PLBF Reply of patent proprietor to notice(s) of opposition

Free format text: ORIGINAL CODE: EPIDOS OBSO

PLBQ Unpublished change to opponent data

Free format text: ORIGINAL CODE: EPIDOS OPPO

PLAB Opposition data, opponent's data or that of the opponent's representative modified

Free format text: ORIGINAL CODE: 0009299OPPO

PLBI Opposition filed

Free format text: ORIGINAL CODE: 0009260

26 Opposition filed

Opponent name: GROHE WATER TECHNOLOGY AG & CO. KG

Effective date: 20020330

PLAY Examination report in opposition despatched + time limit

Free format text: ORIGINAL CODE: EPIDOSNORE2

PLAY Examination report in opposition despatched + time limit

Free format text: ORIGINAL CODE: EPIDOSNORE2

PLAY Examination report in opposition despatched + time limit

Free format text: ORIGINAL CODE: EPIDOSNORE2

PLAY Examination report in opposition despatched + time limit

Free format text: ORIGINAL CODE: EPIDOSNORE2

PLAY Examination report in opposition despatched + time limit

Free format text: ORIGINAL CODE: EPIDOSNORE2

PGFP Annual fee paid to national office [announced via postgrant information from national office to epo]

Ref country code: DE

Payment date: 20050128

Year of fee payment: 11

PLAY Examination report in opposition despatched + time limit

Free format text: ORIGINAL CODE: EPIDOSNORE2

RDAF Communication despatched that patent is revoked

Free format text: ORIGINAL CODE: EPIDOSNREV1

RDAG Patent revoked

Free format text: ORIGINAL CODE: 0009271

STAA Information on the status of an ep patent application or granted ep patent

Free format text: STATUS: PATENT REVOKED

27W Patent revoked

Effective date: 20050807