EP0809266A2 - Niederspannungsschaltgerät - Google Patents

Niederspannungsschaltgerät Download PDF

Info

Publication number
EP0809266A2
EP0809266A2 EP97108101A EP97108101A EP0809266A2 EP 0809266 A2 EP0809266 A2 EP 0809266A2 EP 97108101 A EP97108101 A EP 97108101A EP 97108101 A EP97108101 A EP 97108101A EP 0809266 A2 EP0809266 A2 EP 0809266A2
Authority
EP
European Patent Office
Prior art keywords
switching
switching device
contacts
contact
rocker
Prior art date
Legal status (The legal status is an assumption and is not a legal conclusion. Google has not performed a legal analysis and makes no representation as to the accuracy of the status listed.)
Withdrawn
Application number
EP97108101A
Other languages
English (en)
French (fr)
Other versions
EP0809266A3 (de
Inventor
Heinz-Dieter Schmitz
Hans-Joachim Figge
Richard Beuter
Current Assignee (The listed assignees may be inaccurate. Google has not performed a legal analysis and makes no representation or warranty as to the accuracy of the list.)
ABB Patent GmbH
Original Assignee
ABB Patent GmbH
Priority date (The priority date is an assumption and is not a legal conclusion. Google has not performed a legal analysis and makes no representation as to the accuracy of the date listed.)
Filing date
Publication date
Application filed by ABB Patent GmbH filed Critical ABB Patent GmbH
Publication of EP0809266A2 publication Critical patent/EP0809266A2/de
Publication of EP0809266A3 publication Critical patent/EP0809266A3/de
Withdrawn legal-status Critical Current

Links

Images

Classifications

    • HELECTRICITY
    • H01ELECTRIC ELEMENTS
    • H01HELECTRIC SWITCHES; RELAYS; SELECTORS; EMERGENCY PROTECTIVE DEVICES
    • H01H23/00Tumbler or rocker switches, i.e. switches characterised by being operated by rocking an operating member in the form of a rocker button
    • H01H23/02Details
    • H01H23/08Bases; Stationary contacts mounted thereon
    • HELECTRICITY
    • H01ELECTRIC ELEMENTS
    • H01HELECTRIC SWITCHES; RELAYS; SELECTORS; EMERGENCY PROTECTIVE DEVICES
    • H01H23/00Tumbler or rocker switches, i.e. switches characterised by being operated by rocking an operating member in the form of a rocker button
    • H01H23/02Details
    • H01H23/025Light-emitting indicators
    • HELECTRICITY
    • H01ELECTRIC ELEMENTS
    • H01HELECTRIC SWITCHES; RELAYS; SELECTORS; EMERGENCY PROTECTIVE DEVICES
    • H01H23/00Tumbler or rocker switches, i.e. switches characterised by being operated by rocking an operating member in the form of a rocker button
    • H01H23/28Tumbler or rocker switches, i.e. switches characterised by being operated by rocking an operating member in the form of a rocker button with three operating positions
    • H01H23/30Tumbler or rocker switches, i.e. switches characterised by being operated by rocking an operating member in the form of a rocker button with three operating positions with stable centre positions and one or both end positions unstable
    • HELECTRICITY
    • H01ELECTRIC ELEMENTS
    • H01HELECTRIC SWITCHES; RELAYS; SELECTORS; EMERGENCY PROTECTIVE DEVICES
    • H01H23/00Tumbler or rocker switches, i.e. switches characterised by being operated by rocking an operating member in the form of a rocker button
    • H01H23/003Tumbler or rocker switches, i.e. switches characterised by being operated by rocking an operating member in the form of a rocker button with more than one electrically distinguishable condition in one or both positions

Definitions

  • the invention relates to a monostable low-voltage switching device with a rest position and at least one working position, with a housing, with a manual actuating element, which cooperates with a rocker switch and is articulated on the housing, which rocker switch acts on at least one switching contact designed as a contact spring, which can be connected to an associated fixed contact is.
  • Monostable electrical switching devices with rocker switches for actuating contact points are generally known as buttons.
  • the rocking movement connects a movable contact to a fixed contact for the duration of the actuation, or disconnects it from it, if it is a quiescent current button.
  • the button After releasing the rocker switch or the assigned actuating element, the button returns to its rest position.
  • a special form of a push button provides the use of contact springs as a switching contact, in which the return spring of the movable contact is integrated in this.
  • contact springs which are also referred to as "crack frogs" usually have a domed surface which are acted upon against the direction of the arch and are automatically reset by self-resilience.
  • buttons in particular rocker buttons, only ever have an electrical switching function in the direction of their rocking or swiveling movement, namely closing or opening a contact point. If several functions are required, several such buttons have hitherto been arranged side by side or one behind the other, on which the different switching functions are divided, for example in the case of sound recording devices, such as tape recorders, playback and fast forwarding.
  • two switching contacts are accordingly provided in each working position, which are arranged offset from one another and can be acted upon in stages by the manual actuation element. This ensures that different command signals are transmitted in each switching stage, with the operations that take place in second place overlaying the first one.
  • the switching device has two working positions, so that a total of four switching contacts can be acted upon alternately, each of which is assigned to one another in pairs.
  • the switch contacts are preferably designed as contact springs, not least for reasons of the compactness to be sought, that is to say of a small size. This enables the contact points to be arranged in a very small space, insulation problems not occurring because of the predetermined low voltage, preferably ⁇ 50 V.
  • control currents are primarily switched by means of the switching device according to the invention, so that the contact load on the switching contacts is likewise comparatively low.
  • the preferred field of application of the switching device according to the invention is vehicle electrics for switching electrical seat adjusters, electrical window regulators, electrical exterior mirrors or electrical sliding / lifting roofs.
  • vehicle electrics for switching electrical seat adjusters, electrical window regulators, electrical exterior mirrors or electrical sliding / lifting roofs.
  • electrical household technology for example electrical armchair or bed adjustments
  • consumer electronics for example in magnetic recording devices, such as video recorders, and the switching functions resulting therefrom with the switching device according to the invention.
  • a preferred embodiment of the invention provides that the switch contacts are arranged on a circuit board which is inserted in the housing. This allows inexpensive and assembly-friendly production.
  • the fixed contacts can be injected into the housing or inserted in a force-fitting and / or form-fitting manner.
  • the fixed contacts are arranged hanging in the circuit board.
  • the printed circuit board can be provided with recesses in which the switch contacts engage with retaining webs for their attachment.
  • the retaining webs of the switch contacts are advantageously provided with beads, which are used for the form-fitting attachment of the switch contacts to the circuit board and engage behind them through the recesses.
  • the recesses can be opposite each other in the housing assigned blind holes can be provided, in which the retaining webs of the switching contacts which protrude from the printed circuit board engage.
  • a signal device can be provided, which optionally serves as a switch position indicator or as an orientation aid.
  • the signal device serving as a switch position indicator is advantageously formed by a light-emitting diode to which a series resistor is assigned if necessary.
  • the light-emitting diode can be formed by a duo light-emitting diode with two different colors, which indicate the respective switching position.
  • the signal device formed by the light-emitting diode and the optionally associated series resistor can be arranged on the printed circuit board. It is advantageous if the signal device is arranged between the switching contacts below the rocker switch, in which case the rocker switch, which is integrated in the actuating element, is designed to be translucent above the signal device, so that the corresponding signal of the signal device can also be perceived visually.
  • the rocker switch has an actuating plunger for each switching contact, the actuating plunger adjacent to the pivot axis being acted upon by a spring.
  • each switch contact has a central indentation for centering the associated actuating plunger, which acts on the switch contact at this point as intended.
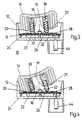
  • FIG. 1 shows a longitudinal section through an inventive low-voltage switching device 10 with a housing 12, with an actuating element 14 in the rest position.
  • the actuating element is designed as a rocker button 14, which can be pivoted about a pivot axis 15 and is used with a total of two first switching plungers 18, 19 and two second switching plungers 20, 21 for the optional actuation of four switching contacts 22, 24, 26, 28.
  • the switch contacts 22, 24, 26, 28 are arranged on a circuit board 16 inserted into the housing 12 and, as can be seen from the plan view shown in FIG. 2, are positioned at an angle to one another.
  • the first two switching plungers 18, 19 are provided with pressure pieces 32 acted upon by compression springs 30, which each rest on the assigned switching contacts 18, 19 in the rest position, but without actuating them.
  • the spring force of the compression spring 30 is set so that it exceeds the restoring force of the switching contacts 22, 24, 26, 28 designed as contact springs, so that when the rocker button 14 is pivoted toward one of the two sides, the first switching contact 22, 24 initially acted on as a result of this the spring loaded Thrust piece 32 reaches its switching position from its rest position, as shown in FIG. 3, and only resets itself automatically when this load is released.
  • the second switching plunger 20, 21 assigned to this side of the rocker button 14 acts on the correspondingly assigned second switching contact 26, 28 while simultaneously acting on the assigned first switching contact 22, 24.
  • the circuit board 16 there are also at least one signal device 34 formed here by an LED and in each case an associated series resistor 36, which can optionally be used to display the respective switching position, for example by different colors, or serve the position of the switching device 10.
  • the switching rocker 14 practically completely overlapping the circuit board is designed to be transparent or translucent in the central region closest to the signaling device, so that the light signal emitted by the signaling device 34 can be clearly recognized from the outside.
  • the switching contacts 22, 24, 26, 28 are designed as automatically resetting contact springs with an approximately circular plan, with contact arms 38 designed as retaining webs at three points arranged in a star shape on the edge of each contact spring 22, 24 are formed at right angles to the plane of the board, which engage in recesses 40 provided for this purpose in the board 16 and are attached to the board 16 by means of beads 42 integrally formed on the contact arms 38.
  • the beads 42 engage behind the recesses and lie against the underside of the circuit board 16.
  • electrical connections 44 in the form of fixed contacts are provided, which engage in the circuit board 16 from below and are soldered to it, via which fixed contacts 44 the individual switching contacts 22, 24, 26, 28 of the switching device 10 with the associated, Consumer not shown here or connected to the power source, also not shown.
  • the mode of operation of the switching device 10 according to the invention is based on the fact that a two-stage switching is hereby possible in that the rocker switch 14 can be actuated in two clearly perceptible switching stages on each side and thereby switches on or off two electrically independent circuits.
  • first switching plungers 18, 19 are designed to be variable in length using the compression spring 30 without falling below the force required for switching actuation, so that both the first switching plunger 18, 19 and the second switching plunger when the rocker switch 14 is pivoted accordingly 20, 21 actuate the associated switch contact 22, 24, 26, 28.

Landscapes

  • Tumbler Switches (AREA)
  • Rotary Switch, Piano Key Switch, And Lever Switch (AREA)

Abstract

Die Erfindung betrifft ein monostabiles Niederspannungsschaltgerät (10) mit einer Ruhestellung und wenigstens einer Arbeitsstellung, mit einem Gehäuse (12), mit einem schwenkbaren als Schaltwippe ausgebildeten Handbetätigungselement (14), das am Gehäuse (12) angelenkt ist, welche Schaltwippe (14) wenigstens einen Schaltkontakt (22, 24, 26, 28) beaufschlagt, der mit einem zugeordneten festen Kontakt verbindbar ist, wobei in jeder Arbeitsstellung wenigstens zwei Schaltkontakte (22, 24, 26, 28) vorgesehen sind, die zueinander versetzt angeordnet sind und von dem Handbetätigungselement (14) stufenweise beaufschlagbar sind.

Description

  • Die Erfindung betrifft ein monostabiles Niederspannungsschaltgerät mit einer Ruhestellung und wenigstens einer Arbeitsstellung, mit einem Gehäuse, mit einem Handbetätigungselement, das mit einer Schaltwippe zusammenarbeitet und am Gehäuse angelenkt ist, welche Schaltwippe wenigstens einen als Kontaktfeder ausgebildeten Schaltkontakt beaufschlagt, der mit einem zugeordneten festen Kontakt verbindbar ist.
  • Monostabile elektrische Schaltgeräte mit Schaltwippen zur Betätigung von Kontaktstellen sind allgemein als Taster bekannt. Hierbei wird durch die Wippbewegung ein beweglicher Kontakt für die Dauer der Betätigung mit einem festen Kontakt verbunden beziehungsweise von diesem getrennt, wenn es sich um einen Ruhestromtaster handelt. Nach Loslassen der Schaltwippe beziehungsweise des zugeordneten Betätigungselements nimmt der Taster wieder seine Ruhestellung ein.
  • Eine besondere Form eines Tasters sieht die Verwendung von Kontaktfedern als Schaltkontakt vor, bei welchen die Rückstellfeder des beweglichen Kontakts in diesen integriert ist. Üblicherweise weisen derartige auch als "Knackfrösche" bezeichneten Kontaktfedern eine Wölbfläche auf, welche entgegen der Wölbrichtung beaufschlagt werden und sich hierbei durch Eigenfederung selbsttätig zurückstellen.
  • Herkömmliche Taster, insbesondere Wipptaster, haben in Richtung ihrer Wipp- oder Schwenkbewegung stets nur eine elektrische Schaltfunktion, nämlich Schließen oder Öffnen einer Kontaktstelle. Sind mehrere Funktionen erforderlich, so werden bislang mehrere derartige Taster neben- oder hintereinander angeordnet, auf welche die unterschiedlichen Schaltfunktionen aufgeteilt werden, zum Beispiel bei Tonaufzeichnungsgeräten, wie Tonbandgeräte, Abspielen und schneller Vorlauf.
  • Bei der heutzutage in Kraftfahrzeugen verwendeten Elektronik werden unterschiedliche Funktionen durch Auswertung der Tastsignale nach der Betätigungsdauer über den Vergleich mit einem vorgegebenen Zeitraster bestimmt, das heißt mit einem Zweiwege-Taster, der normalerweise nur zwei Schaltfunktionen gestattet, können bei Vorhandensein der entsprechenden Elektronik weitere Schaltfunktionen realisiert werden.
  • Steht eine solche Elektronik nicht zur Verfügung oder sprechen andere Gründe dagegen, so kann nur durch Erhöhung der Anzahl der Taster auch eine Erweiterung der Schaltfunktionen erreicht werden.
  • Ferner weisen bekannte, für entsprechende Funktionen vorgesehene Schaltgeräte keinen oder einen nur unzureichend spürbaren Schaltpunkt auf oder aber ihre Montage erfordert einen sehr großen Aufwand.
  • Ausgehend von diesem Stand der Technik ist es Aufgabe der Erfindung, ein Schaltgerät der eingangs genannten Art zu schaffen, welches ohne aufwendige Elektronik eine Erhöhung der Schaltfunktionen gestattet. Dabei soll auf kompakte Bauweise und auf einfache Herstellbarkeit und Montierbarkeit geachtet werden.
  • Diese Aufgabe wird erfindungsgemäß durch die kennzeichnenden Merkmale des Anspruchs 1 gelöst. Weitere vorteilhafte Weiterbildungen und Ausgestaltungen der Erfindung sind in den Unteransprüchen gekennzeichnet.
  • Erfindungsgemäß sind demzufolge in jeder Arbeitsstellung zwei Schaltkontakte vorgesehen, die zueinander versetzt angeordnet sind und von dem Handbetätigungselement stufenweise beaufschlagbar sind. Hierdurch ist gewährleistet, daß in jeder Schaltstufe unterschiedliche Befehlssignale übermittelt werden, wobei die jeweils an zweiter Stelle erfolgenden Betätigungen sich den ersten überlagern.
  • Gemäß einer bevorzugten Ausführungsform der Erfindung weist das Schaltgerät zwei Arbeitsstellungen auf, so daß insgesamt vier Schaltkontakte wechselweise beaufschlagbar sind, die jeweils paarweise einander zugeordnet sind.
  • Vorzugsweise sind hierbei die Schaltkontakte, nicht zuletzt aus Gründen der anzustrebenden Kompaktheit, das heißt einer geringen Baugröße, als Kontaktfedern ausgebildet. Dies ermöglicht die Anordnung der Kontaktstellen auf kleinstem Raum, wobei wegen der vorgegebenen niedrigen Spannung, vorzugsweise < 50 V, Isolierprobleme nicht auftreten. Außerdem werden mittels des erfindungsgemäßen Schaltgerätes vornehmlich Steuerströme geschaltet, so daß die Kontaktbelastung der Schaltkontakte ebenfalls vergleichsweise gering ist.
  • Das bevorzugte Einsatzgebiet des erfindungsgemäßen Schaltgerätes ist die Fahrzeugelektrik zur Beschaltung von elektrische Sitzverstellungen, elektrischen Fensterhebern, elektrischen Außenspiegeln oder von elektrischen Schiebe-/Hubdächern. Doch ist es grundsätzlich auch vorgesehen, Anwendungen in der elektrischen Haushaltstechnik, zum Beispiel elektrische Sessel- oder Bettverstellungen, und in der Unterhaltungselektronik, zum Beispiel bei Magnetaufzeichnungsgeräten, wie Videorecorder, und hieraus resultierende Schaltfunktionen mit dem erfindungsgemäßen Schaltgerät abzudecken.
  • Eine bevorzugte Ausgestaltung der Erfindung sieht vor, daß die Schaltkontakte auf einer Leiterplatte angeordnet sind, welche im Gehäuse eingesetzt ist. Dies erlaubt eine kostengünstige und montagefreundliche Fertigung. Die festen Kontakte können im Gehäuse eingespritzt sein oder kraft- und/oder formschlüssig darin eingesetzt sein. Außerdem kann in Weiterbildung der Erfindung vorgesehen sein, daß die festen Kontakte in der Leiterplatte hängend angeordnet sind.
  • Im Hinblick auf eine leichte und gleichzeitig sichere Montage kann die Leiterplatte mit Ausnehmungen versehen sein, in welche die Schaltkontakte zu ihrer Befestigung mit Haltestegen eingreifen. Dabei sind die Haltestege der Schaltkontakte vorteilhafterweise mit Sicken versehen, welche zur formschlüssigen Befestigung der Schaltkontakte an der Leiterplatte dienen und diese durch die Ausnehmungen hintergreifen. Zusätzlich können im Gehäuse jeweils den Ausnehmungen gegenüberliegend zugeordnete Sacklöcher vorgesehen sein, in welche die aus der Leiterplatte herausragenden Haltestege der Schaltkontakte eingreifen.
  • Gemäß einer weiteren bevorzugten Ausführungsform der Erfindung kann eine Signaleinrichtung vorgesehen sein, welche wahlweise als Schaltstellungsanzeige oder als Orientierungshilfe dient.
  • Dabei ist die als Schaltstellungsanzeige dienende Signaleinrichtung günstigerweise von einer Leuchtdiode gebildet, welcher bedarfsweise ein Vorwiderstand zugeordnet ist. Einer besonderen Weiterbildung zufolge kann die Leuchtdiode von einer Duo-Leuchtdiode mit zwei unterschiedlichen Farben gebildet sein, welche die jeweilige Schaltposition anzeigen.
  • Im Hinblick auf die angestrebte einfache Fertigung kann die von der Leuchtdiode und dem gegebenenfalls zugeordneten Vorwiderstand gebildete Signaleinrichtung auf der Leiterplatte angeordnet sein. Dabei ist es günstig, wenn die Signaleinrichtung zwischen den Schaltkontakten unterhalb der Schaltwippe angeordnet ist, wobei in diesem Fall die Schaltwippe, die in das Betätigungselement integriert ist, oberhalb der Signaleinrichtung transluzent ausgebildet ist, damit das entsprechende Signal der Signaleinrichtung auch visuell wahrgenommen werden kann.
  • Zur Umsetzung der bereits erwähnten stufenweisen Betätigung der Schaltkontakte weist die Schaltwippe für jeden Schaltkontakt einen Betätigungsstößel auf, wobei der der Schwenkachse benachbarte Betätigungsstößel von einer Feder beaufschlagt ist.
  • Um die Störungssicherheit der Schaltfunktion zu gewährleisten, besitzt jeder Schaltkontakt eine zentrale Einformung zur Zentrierung des zugeordneten Betätigungsstößels, der den Schaltkontakt an dieser Stelle jeweils bestimmungsgemäß beaufschlagt.
  • Diese und weitere vorteilhafte Ausgestaltungen und Verbesserungen der Erfindung sind Gegenstand der Unteransprüche.
  • Anhand eines in der schematischen Zeichnung dargestellten Ausführungsbeispiels sollen die Erfindung, vorteilhafte Ausgestaltungen und Verbesserungen sowie besondere Vorteile der Erfindung näher erläutert und beschrieben werden.
  • Es zeigen:
  • Fig. 1
    einen Längsschnitt durch ein erfindungsgemäßes Niederspannungsschaltgerät mit Betätigungselement in Ruhestellung;
    Fig. 2
    eine Draufsicht auf das Schaltgerät gemäß Fig. 1 mit abgenommenem Betätigungselement
    Fig. 3
    einen Längsschnitt durch ein erfindungsgemäßes Niederspannungsschaltgerät mit Betätigungselement in einer ersten Schaltstellung und
    Fig. 4
    einen Längsschnitt durch ein erfindungsgemäßes Niederspannungsschaltgerät mit Betätigungselement in einer zweiten Schaltstellung.
  • In Fig. 1 ist ein Längsschnitt durch ein erfindungsgemäßes Niederspannungsschaltgerät 10 mit einem Gehäuse 12, mit einem Betätigungselement 14 in Ruhestellung gezeigt. Das Betätigungselement ist als Wipptaste 14 ausgebildet, die um eine Schwenkachse 15 schwenkbar ist und mit insgesamt zwei ersten Schaltstößeln 18, 19 und zwei zweiten Schaltstößeln 20, 21 zur wahlweisen Betätigung von vier Schaltkontakten 22, 24, 26, 28 dient. Die Schaltkontakte 22, 24, 26, 28 sind, wie Fig. 1 zeigt, auf einer in das Gehäuse 12 eingesetzten Platine 16 angeordnet und, wie aus der in Fig. 2 gezeigten Draufsicht erkennbar ist, schräg zueinander versetzt positioniert.
  • Die beiden ersten Schaltstößel 18, 19 sind mit von Druckfedern 30 beaufschlagten Druckstücken 32 versehen, welche in Ruhestellung jeweils an den zugeordneten Schaltkontakten 18, 19 anlegen, ohne diese jedoch zu betätigen.
  • Die Federkraft der Druckfeder 30 ist so eingestellt, daß sie die Rückstellkraft der als Kontaktfedern ausgebildeten Schaltkontakte 22, 24, 26, 28 übersteigt, so daß bei Verschwenkung der Wipptaste 14 nach einer der beiden Seiten der hierbei zunächst beaufschlagte erste Schaltkontakt 22, 24 infolgedessen von dem federbeaufschlagten Druckstück 32 aus seiner Ruhestellung in seine Schaltstellung gelangt, wie in Fig. 3 gezeigt, und erst bei Entlastung dieser Beaufschlagung sich selbsttätig wieder zurückstellt.
  • Wird die Wipptaste 14 weiter geschwenkt, so beaufschlagt der dieser Seite der Wipptaste 14 zugeordnete zweite Schaltstößel 20, 21 den entsprechend zugeordneten zweiten Schaltkontakt 26, 28 bei gleichzeitig anhaltender Beaufschlagung des zugeordneten ersten Schaltkontaktes 22, 24.
  • Wie aus der in Fig. 2 gezeigten Draufsicht weiter hervorgeht, sind auf der Platine 16 außerdem wenigstens eine hier von einer LED gebildete Signaleinrichtung 34 und jeweils ein zugehöriger Vorwiderstand 36 angeordnet, welche wahlweise zur Anzeige der jeweiligen Schaltstellung, gegebenenfalls zum Beispiel durch unterschiedlichen Farbton, oder der Position des Schaltgerätes 10 dienen. Die die Platine praktisch komplett übergreifende Schaltwippe 14 ist im mittleren, der Signaleinrichtung nächstbefindlichen Bereich transparent oder transluzent ausgebildet, so daß das von der Signaleinrichtung 34 abgegebene Lichtsignal von außen klar erkennbar ist.
  • Die Schaltkontakte 22, 24, 26, 28 sind, wie bereits erwähnt, als selbsttätig rückstelende Kontaktfedern mit etwa kreisförmigem Grundriß ausgebildet, wobei an je drei sternförmig zueinander angeordneten Stellen am Rand einer jeden Kontaktfeder 22, 24, 26, 28 als Haltestege ausgebildete Kontaktarme 38 rechtwinklig zur Platinenebene angeformt sind, welche in hierfür in der Platine 16 vorgesehene Ausnehmungen 40 eingreifen und mittels an den Kontaktarmen 38 angeformter Sicken 42 kraft- und/oder formschlüssig an der Platine 16 befestigt sind. Hierbei hintergreifen die Sicken 42 jeweils die Ausnehmungen und legen sich an der Unterseite der Platine 16 an.
  • An einer Schmalseite der Platine 16 sind elektrische Anschlüsse 44 in Form von Festkontakten vorgesehen, die von unten in die Platine 16 eingreifen und daran angelötet sind, über welche Festkontakte 44 die einzelnen Schaltkontakte 22, 24, 26, 28 des Schaltgeräts 10 mit dem zugeordneten, hier nicht gezeigten Verbraucher bzw mit der ebenfalls nicht dargestellten Stromquelle verbunden ist.
  • Die Wirkungsweise des erfindungsgemäßen Schaltgeräts 10 beruht darauf, daß hiermit eine 2-Stufen-Schaltung möglich ist, indem die Wipptaste 14 nach jeder Seite in zwei deutlich wahrnehmbaren Schaltstufen betätigbar ist und hierbei zwei elektrisch voneinander unabhängige Stromkreise ein- oder ausschaltet.
  • Dies ist dadurch möglich, daß die ersten Schaltstößel 18, 19 unter Benutzung der Druckfeder 30 längenveränderlich ausgebildet sind, ohne die erforderliche Kraft zur Schaltbetätigung zu unterschreiten, so daß bei entsprechendem Schwenkwinkel der Schaltwippe 14 sowohl der erste Schaltstößel 18, 19 als auch der zweite Schaltstößel 20, 21 den zugeordneten Schaltkontakt 22, 24, 26, 28 betätigen.

Claims (22)

  1. Monostabiles Niederspannungsschaltgerät (10) mit einer Ruhestellung und wenigstens einer Arbeitsstellung, mit einem Gehäuse (12), mit einem schwenkbaren als Schaltwippe ausgebildeten Handbetätigungselement (14), das am Gehäuse (12) angelenkt ist, welche Schaltwippe (14) wenigstens einen Schaltkontakt (22, 24, 26, 28) beaufschlagt, der mit einem zugeordneten festen Kontakt verbindbar ist, dadurch gekennzeichnet, daß in jeder Arbeitsstellung wenigstens zwei Schaltkontakte (22, 24, 26, 28) vorgesehen sind, die zueinander versetzt angeordnet sind und von dem Handbetätigungselement (14) stufenweise beaufschlagbar sind.
  2. Schaltgerät nach Anspruch 1, dadurch gekennzeichnet, daß das Schaltgerät (10) zwei Arbeitsstellungen aufweist und daß insgesamt vier Schaltkontakte (22, 24, 26, 28) wechselweise beaufschlagbar sind, die jeweils paarweise einander zugeordnet sind.
  3. Schaltgerät nach Anspruch 1 oder 2, dadurch gekennzeichnet, daß die Schaltkontakte (22, 24, 26, 28) als Kontaktfedern ausgebildet sind.
  4. Schaltgerät nach einem der vorherigen Ansprüche, dadurch gekennzeichnet, daß die Schaltkontakte (22, 24, 26, 28) auf einer Leiterplatte (16) angeordnet sind, welche im Gehäuse (12) eingesetzt ist.
  5. Schaltgerät nach einem der vorherigen Ansprüche, dadurch gekennzeichnet, daß die festen Kontakte (44) im Gehäuse (12) eingespritzt sind.
  6. Schaltgerät nach einem der Ansprüche 1 bis 4, dadurch gekennzeichnet, daß die festen Kontakte (44) im Gehäuse (12) kraft- und/oder formschlüssig eingesetzt sind.
  7. Schaltgerät nach einem der Ansprüche 1 bis 4, dadurch gekennzeichnet, daß die festen Kontakte (44) in der Leiterplatte (16) hängend angeordnet sind.
  8. Schaltgerät nach einem der Ansprüche 4 bis 7, dadurch gekennzeichnet, daß die Leiterplatte (16) mit Ausnehmungen (40) versehen ist, in welche die Schaltkontakte (22, 24, 26, 28) zu ihrer Befestigung mit als Haltestege dienenden Kontaktarmen (38) eingreifen.
  9. Schaltgerät nach Anspruch 8, dadurch gekennzeichnet, daß die Haltestege (38) der Schaltkontakte (22, 24, 26, 28) mit Sicken (42) versehen sind, welche zur formschlüssigen Befestigung der Schaltkontakte (22, 24, 26, 28) an der Leiterplatte (16) dienen und diese durch die Ausnehmungen (40) hintergreifen.
  10. Schaltgerät nach Anspruch 9, dadurch gekennzeichnet, daß im Gehäuse (12) jeweils den Ausnehmungen (40) gegenüberliegend zugeordnete Sacklöcher vorgesehen sind, in welche die aus der Leiterplatte (16) herausragenden Haltestege (38) der Schaltkontakte (22, 24, 26, 28) eingreifen.
  11. Schaltgerät nach einem der vorherigen Ansprüche, dadurch gekennzeichnet, daß eine Signaleinrichtung (34) vorgesehen ist.
  12. Schaltgerät nach Anspruch 11, dadurch gekennzeichnet, daß die Signaleinrichtung (34) als Schaltstellungsanzeige dient.
  13. Schaltgerät nach Anspruch 11, dadurch gekennzeichnet, daß die Signaleinrichtung (34) als Orientierungshilfe dient.
  14. Schaltgerät nach Anspruch 12, dadurch gekennzeichnet, daß die als Schaltstellungsanzeige dienende Signaleinrichtung (34) von einer Leuchtdiode gebildet ist, welcher bedarfsweise ein Vorwiderstand (36) zugeordnet ist.
  15. Schaltgerät nach Anspruch 14, dadurch gekennzeichnet, daß die Signaleinrichtung (34) von einer Duo-Leuchtdiode mit zwei unterschiedlichen Farben gebildet ist, welche die jeweilige Schaltposition anzeigen.
  16. Schaltgerät nach einem der Ansprüche 4 bis 15, dadurch gekennzeichnet, daß die von der Leuchtdiode und dem gegebenenfalls zugeordneten Vorwiderstand (36) gebildete Signaleinrichtung (34) auf der Leiterplatte (16) angeordnet ist.
  17. Schaltgerät nach Anspruch 16, dadurch gekennzeichnet, daß die Signaleinrichtung (34) zwischen den Schaltkontakten (22, 24, 26, 28) unterhalb der Schaltwippe (14) angeordnet ist.
  18. Schaltgerät nach einem der vorherigen Ansprüche, dadurch gekennzeichnet, daß die Schaltwippe (14) ein Wölbfläche aufweist, in welche ein lichtdurchlässiger Bereich integriert ist.
  19. Schaltgerät nach einem der vorherigen Ansprüche, dadurch gekennzeichnet, daß die Schaltwippe (14) für jeden Schaltkontakt (22, 24, 26, 28) einen Betätigungsstößel (18, 19, 20, 21) aufweist.
  20. Schaltgerät nach Anspruch 19, dadurch gekennzeichnet, daß der der Schwenkachse (15) der Schaltwippe (14) benachbarte Betätigungsstößel (18, 19) längeneinstellbar ist.
  21. Schaltgerät nach Anspruch 20, dadurch gekennzeichnet, daß der der Schwenkachse (15) der Schaltwippe (14) benachbarte Betätigungsstößel (18, 19) ein Druckstück (32) aufweist, das von einer Feder (30) axial beaufschlagt ist und zur Betätigung der Schaltkontakte (22, 24, 26, 28) dient.
  22. Schaltgerät nach einem der vorherigen Ansprüche, dadurch gekennzeichnet, daß jeder Schaltkontakt (22, 24, 26, 28) eine zentrale Einformung (46) zur Zentrierung des zugeordneten Betätigungsstößels (18, 19, 20, 21) aufweist.
EP97108101A 1996-05-25 1997-05-20 Niederspannungsschaltgerät Withdrawn EP0809266A3 (de)

Applications Claiming Priority (2)

Application Number Priority Date Filing Date Title
DE19621192 1996-05-25
DE1996121192 DE19621192A1 (de) 1996-05-25 1996-05-25 Niederspannungsschaltgerät

Publications (2)

Publication Number Publication Date
EP0809266A2 true EP0809266A2 (de) 1997-11-26
EP0809266A3 EP0809266A3 (de) 1998-11-04

Family

ID=7795367

Family Applications (1)

Application Number Title Priority Date Filing Date
EP97108101A Withdrawn EP0809266A3 (de) 1996-05-25 1997-05-20 Niederspannungsschaltgerät

Country Status (2)

Country Link
EP (1) EP0809266A3 (de)
DE (1) DE19621192A1 (de)

Cited By (2)

* Cited by examiner, † Cited by third party
Publication number Priority date Publication date Assignee Title
WO2005041361A1 (en) * 2003-10-15 2005-05-06 Tyco Electronics Amp Gmbh Electrical connector for a flexible flat conductor and a switch device
EP1921644A3 (de) * 2006-11-10 2009-02-11 Gamesman Limited OLED-Kippschalter

Families Citing this family (5)

* Cited by examiner, † Cited by third party
Publication number Priority date Publication date Assignee Title
DE19918578A1 (de) * 1999-04-23 2000-10-26 Abb Patent Gmbh Monostabiler zweiseitiger Wippen-Taster
DE19947965C2 (de) * 1999-10-05 2003-04-24 Bosch Gmbh Robert Kraftfahrzeug-Steuervorrichtung und Verfahren zum Steuern einer Kraftfahrzeug-Funktion
JP3758129B2 (ja) * 1999-10-15 2006-03-22 矢崎総業株式会社 スイッチ装置
DE102004036844B4 (de) * 2004-07-29 2007-11-08 Bj Automotive Gmbh Wippschalter
DE102008051228B4 (de) * 2008-10-10 2016-08-04 Leopold Kostal Gmbh & Co. Kg Wippschalter und Auswertevorrichtung mit einem Wippschalter

Family Cites Families (8)

* Cited by examiner, † Cited by third party
Publication number Priority date Publication date Assignee Title
DE7315639U (de) * 1973-04-25 1973-08-16 Baer Elektrowerke Kg Elektrischer Schalter, insbesondere Wippenschalter
DE2848588C2 (de) * 1978-11-09 1982-09-09 Daut & Rietz KG Fabrik für Elektrofeinmechanik GmbH & Co, 8500 Nürnberg Tipptaste
US4301378A (en) * 1979-11-29 1981-11-17 Motorola, Inc. Dual rate bi-directional switch
DE3818810A1 (de) * 1988-06-03 1989-12-14 Asea Brown Boveri Elektrischer tastschalter
CH677552A5 (de) * 1989-04-10 1991-05-31 Sulzer Ag
DE9212062U1 (de) * 1992-09-08 1992-10-29 Abb Patent Gmbh, 68309 Mannheim Wipptaster
DE4242100B4 (de) * 1992-12-14 2004-02-05 Abb Patent Gmbh Elektrisches Schaltgerät
US5453731A (en) * 1993-11-22 1995-09-26 Chrysler Corporation Automotive switch lighted with integral diodes

Cited By (2)

* Cited by examiner, † Cited by third party
Publication number Priority date Publication date Assignee Title
WO2005041361A1 (en) * 2003-10-15 2005-05-06 Tyco Electronics Amp Gmbh Electrical connector for a flexible flat conductor and a switch device
EP1921644A3 (de) * 2006-11-10 2009-02-11 Gamesman Limited OLED-Kippschalter

Also Published As

Publication number Publication date
DE19621192A1 (de) 1997-11-27
EP0809266A3 (de) 1998-11-04

Similar Documents

Publication Publication Date Title
DE69408418T2 (de) Hebelschaltervorrichtung, Verfahren zur Steuerung von Schaltern in solcher Vorrichtung und Verfahren zum Ausgeben von Datensignalen
DE69209370T2 (de) Elektrischer Schalter, insbesondere zur Steuerung von Kraftfahrzeugeinrichtungen und Zubehören
DE19620235B4 (de) Schalter für insbesondere einen elektrischen Fahrzeug-Fensterheber
DE19722709C2 (de) Schaltvorrichtung
DE4012399A1 (de) Schaltervorrichtung
DE3613702C2 (de)
DE60032045T2 (de) Zusammengesetzter Schalter
DE1920784A1 (de) Schiebeschalter fuer Geraete mit einem von einer Isolierstoffplatte getragenen Leiternetz
EP0809266A2 (de) Niederspannungsschaltgerät
EP0817226A2 (de) Wipptaster
DE60303546T2 (de) Schaltvorrichtung
DE3129210C2 (de) Elektrische Schaltvorrichtung
DE3835073C2 (de) Elektrischer Schalter für eine Kraftfahrzeug-Fensterhebevorrichtung
EP0974718A3 (de) Elektromotorischer Stellantrieb für ein Kraftfahrzeugschloss
DE19544467C1 (de) Elektrische Signalgabeeinrichtung
DE102007009006B4 (de) Tastschalter für ein Kraftfahrzeug
EP0341416A2 (de) Schalteinrichtung
EP0602462B1 (de) Elektrisches Schaltgerät
EP0620577B1 (de) Elektrischer Tastschalter
DE3688027T2 (de) Elektrische ferngesteuerte Anlagen.
DE2224889A1 (de) Schaltsystem zur Anzeige von Warnsignalen bei Kraftfahrzeugen
EP1686600A2 (de) 2-poliger Umschalter
EP1196311B1 (de) Anordnung zur betätigung elektrischer funktionselemente
EP0170958B1 (de) Piezoelektrisches Relais
DE10113031A1 (de) Elektromotorischer Möbelantrieb zur Verstellung von Teilen eines Möbels relativ zueinender

Legal Events

Date Code Title Description
PUAI Public reference made under article 153(3) epc to a published international application that has entered the european phase

Free format text: ORIGINAL CODE: 0009012

AK Designated contracting states

Kind code of ref document: A2

Designated state(s): DE ES FR GB IT PT

PUAL Search report despatched

Free format text: ORIGINAL CODE: 0009013

AK Designated contracting states

Kind code of ref document: A3

Designated state(s): DE ES FR GB IT PT

17P Request for examination filed

Effective date: 19990619

RAP1 Party data changed (applicant data changed or rights of an application transferred)

Owner name: ABB PATENT GMBH

17Q First examination report despatched

Effective date: 20011024

STAA Information on the status of an ep patent application or granted ep patent

Free format text: STATUS: THE APPLICATION HAS BEEN WITHDRAWN

18W Application withdrawn

Withdrawal date: 20020416