EP0803583A2 - Primärkühlverfahren für das kontinuierliche Glühen von Stahlbändern - Google Patents

Primärkühlverfahren für das kontinuierliche Glühen von Stahlbändern Download PDF

Info

Publication number
EP0803583A2
EP0803583A2 EP97105044A EP97105044A EP0803583A2 EP 0803583 A2 EP0803583 A2 EP 0803583A2 EP 97105044 A EP97105044 A EP 97105044A EP 97105044 A EP97105044 A EP 97105044A EP 0803583 A2 EP0803583 A2 EP 0803583A2
Authority
EP
European Patent Office
Prior art keywords
gas
cooling
steel strip
concentration
steel
Prior art date
Legal status (The legal status is an assumption and is not a legal conclusion. Google has not performed a legal analysis and makes no representation as to the accuracy of the status listed.)
Granted
Application number
EP97105044A
Other languages
English (en)
French (fr)
Other versions
EP0803583B2 (de
EP0803583B1 (de
EP0803583A3 (de
Inventor
Tatsunori c/o Nippon Steel Corporation Mine
Koichi c/o Nippon Steel Corporation Sakurai
Kouichi c/o Nippon Steel Corporation Waki
Current Assignee (The listed assignees may be inaccurate. Google has not performed a legal analysis and makes no representation or warranty as to the accuracy of the list.)
Nippon Steel Corp
Original Assignee
Nippon Steel Corp
Priority date (The priority date is an assumption and is not a legal conclusion. Google has not performed a legal analysis and makes no representation as to the accuracy of the date listed.)
Filing date
Publication date
Family has litigation
First worldwide family litigation filed litigation Critical https://patents.darts-ip.com/?family=15044183&utm_source=google_patent&utm_medium=platform_link&utm_campaign=public_patent_search&patent=EP0803583(A2) "Global patent litigation dataset” by Darts-ip is licensed under a Creative Commons Attribution 4.0 International License.
Application filed by Nippon Steel Corp filed Critical Nippon Steel Corp
Publication of EP0803583A2 publication Critical patent/EP0803583A2/de
Publication of EP0803583A3 publication Critical patent/EP0803583A3/de
Application granted granted Critical
Publication of EP0803583B1 publication Critical patent/EP0803583B1/de
Publication of EP0803583B2 publication Critical patent/EP0803583B2/de
Anticipated expiration legal-status Critical
Expired - Lifetime legal-status Critical Current

Links

Images

Classifications

    • CCHEMISTRY; METALLURGY
    • C21METALLURGY OF IRON
    • C21DMODIFYING THE PHYSICAL STRUCTURE OF FERROUS METALS; GENERAL DEVICES FOR HEAT TREATMENT OF FERROUS OR NON-FERROUS METALS OR ALLOYS; MAKING METAL MALLEABLE, e.g. BY DECARBURISATION OR TEMPERING
    • C21D9/00Heat treatment, e.g. annealing, hardening, quenching or tempering, adapted for particular articles; Furnaces therefor
    • C21D9/52Heat treatment, e.g. annealing, hardening, quenching or tempering, adapted for particular articles; Furnaces therefor for wires; for strips ; for rods of unlimited length
    • C21D9/54Furnaces for treating strips or wire
    • C21D9/56Continuous furnaces for strip or wire
    • C21D9/573Continuous furnaces for strip or wire with cooling
    • CCHEMISTRY; METALLURGY
    • C21METALLURGY OF IRON
    • C21DMODIFYING THE PHYSICAL STRUCTURE OF FERROUS METALS; GENERAL DEVICES FOR HEAT TREATMENT OF FERROUS OR NON-FERROUS METALS OR ALLOYS; MAKING METAL MALLEABLE, e.g. BY DECARBURISATION OR TEMPERING
    • C21D1/00General methods or devices for heat treatment, e.g. annealing, hardening, quenching or tempering
    • C21D1/56General methods or devices for heat treatment, e.g. annealing, hardening, quenching or tempering characterised by the quenching agents
    • C21D1/613Gases; Liquefied or solidified normally gaseous material
    • CCHEMISTRY; METALLURGY
    • C21METALLURGY OF IRON
    • C21DMODIFYING THE PHYSICAL STRUCTURE OF FERROUS METALS; GENERAL DEVICES FOR HEAT TREATMENT OF FERROUS OR NON-FERROUS METALS OR ALLOYS; MAKING METAL MALLEABLE, e.g. BY DECARBURISATION OR TEMPERING
    • C21D1/00General methods or devices for heat treatment, e.g. annealing, hardening, quenching or tempering
    • C21D1/62Quenching devices
    • C21D1/667Quenching devices for spray quenching

Definitions

  • the present invention relates to a primary cooling method in continuously annealing steel strips which includes a rapid cooling step before an overaging step, wherein inert atmosphere gas containing H 2 gas is used as a cooling gas for rapid cooling.
  • continuous annealing treatment including heating, soaking, primary cooling, overaging and final cooling is performed. More specifically, a steel strip after cold rolling is heated above the recrystallization temperature and is kept at the soaking temperature of 700 - 850 °C for a certain period of time for growth of crystal grains. During the soaking step, the dissolved carbon is generated in solid-solution state, and it must be settled to be harmless in the succeeding steps. Therefore, in the first half of the primary cooling, the steel strip is slowly cooled down to a certain temperature ( 600 - 700 °C ) so as to increase the amount of solid-solution state carbon in the ferrite matrix, and to prevent deterioration of flatness of the steel strip such as cooling buckle for achieving satisfactory operation.
  • a certain temperature 600 - 700 °C
  • the steel strip is rapidly cooled down to the overaging temperature (about 400 °C ). Then the steel strip is kept at the overaging temperature for a certain period of time so that the solid-solution state carbon is precipitated as cementite for reducing the amount thereof. Lastly the steel strip is subjected to the final cooling.
  • Japanese Patent Publication No. Sho 55-1969 suggests the concentration of H 2 gas being adjusted within the range equal to or more than 50 %
  • Japanese Laid-Open Patent Publication No. Hei 6-346156 suggests the concentration of H 2 gas being adjusted within the range from 70 to 90 %.
  • the present invention has been made in view of these drawbacks of the conventional method, and its object is to provide a primary cooling method in continuously annealing steel strips which can reduce the consumption of expensive H 2 gas thus enhancing the economy of the cooling operation while assuring the safety and efficiency of the cooling operation at low cost.
  • a primary cooling method in continuously annealing steel strips comprising a heating step, a soaking step, a primary cooling step including at least a rapid cooling step in a second half thereof, an overaging step, and a final cooling step, which is characterized in that inert atmosphere gas containing H 2 gas is employed as cooling gas for use in the rapid cooling step and concentration of said H 2 gas is switched between two ranges of 1 to 5 % and 30 to 60 %, depending on the required cooling rate of said rapid cooling step corresponding to product grades of steel strip.
  • the blowoff temperature of the cooling gas should preferably be 30 - 150 °C
  • the blowoff speed of the cooling gas should preferably be 80 - 150 m/sec.
  • inert atmosphere gas containing H 2 gas is employed as cooling gas for use in the rapid cooling and means for changing the concentration of H 2 gas is capable of changing the concentration of H 2 gas in two ranges corresponding to the product grades of steel.
  • concentration of H 2 gas should preferably be 1 to 5 %
  • concentration of H 2 gas should preferably be 30 to 60 %.
  • the blowoff temperature of the cooling gas should preferably be 80 - 150 °C and the blowoff speed of the cooling gas should preferably be 80 - 100 m/sec, while with the concentration of H 2 gas being 30 to 60 %, the blowoff temperature of the cooling gas should preferably be 30 - 150 °C and the blowoff speed of the cooling gas should preferably be 100 - 150 m/sec.
  • the percentage expresssion of the concentration of H 2 gas is by volume.
  • Fig. 1 is an explanatory view of a continuous annealing line for sheet to which is applied a primary cooling method in continuously annealing steel strips according to one embodiment of the present invention.
  • Fig. 2 is a graph showing the relationship between the passing time and the temperature of a steel strip in the furnace section of continuous annealing line.
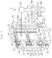
  • Fig. 3 is a perspective view of an apparatus for carrying out rapid cooling step.
  • Fig. 4 is a front view of a blow gas box and nozzles thereon for ejecting cooling gas.
  • Fig. 5 is a cross sectional view of the blow gas box and nozzles taken along the line I-I of Fig. 4.
  • Fig. 6 is a block diagram showing the control unit for controlling the rapid cooling operation.
  • Fig. 7 is a flow chart showing steps for controlling the concentration of H 2 gas by the control unit.
  • Fig. 8 is a graph showing the relationship between the nozzle opening area ratio and the blower power index.
  • Fig. 9 is a graph showing the relationship between the quotient of inner diameter of nozzle aperture to blowoff distance and the blower power index.
  • Fig. 10 is a graph showing the relationship between the upper limit of the cooling gas blowoff speed which can prevent the steel strip fluttering and the H 2 gas concentration in the cooling gas.
  • Fig. 11 is a graph showing the relationship between the H 2 gas concentration and the operation cost index for the rapid cooling zone.
  • Fig. 12 is another graph showing the relationship between the H 2 gas concentration and the operation cost index for the rapid cooling zone.
  • Fig. 13 is a graph showing the relationship between the passing time and the temperature of the steel strip in a rapid cooling zone.
  • Fig. 14 is a graph showing the relationship between the H 2 gas concentration and the heat transfer coefficient.
  • a furnace section (hereinafter referred to as a continuous annealing furnace) 10a of a continuous annealing line 10 to which a primary cooling method in continuously annealing steel strips according to one embodiment of the present invention is applied is shown in Fig. 1.
  • the continuous annealing furnace 10a comprises a heating zone 11, a soaking zone 12, a primary cooling zone 13, an overaging zone 14, and a final cooling zone 15 as a secondary cooling zone.
  • the primary cooling zone 13 consists of a slow cooling zone 13a in the first half and a rapid cooling zone 13b in the second half.
  • a uncoiler 16 for unreeling a material coil
  • a welder 17 for joining preceding and succeeding steel strips 26 together
  • a pretreatment apparatus 18 for performing electrolytic cleaning and the like
  • an entry looper 19 On the delivery side of the continuous annealing furnace 10a, there are a delivery looper 20, a temper rolling mill 21, a finishing apparatus 22 for performing treatment such as side trimming, inspection and oiling of steel strip, a dividing shear 23 for cutting the steel strip in units of product coils, and a coiler 24 for reeling a product coil around the same.
  • Fig. 3 shows a rapid cooling apparatus 13c which constitutes the rapid cooling zone 13b in the second half of the primary cooling zone 13.
  • Blow gas boxes 27 and 28 are provided so as to sandwich a vertically running steel strip 26 supported by a plural pairs of stabilizing rolls 25 arranged vertically.
  • a unified blow duct 30 for supplying cooling gas has a plurality of upper outlets thereof connected to one side of the blow gas boxes 27 and 28 which are located at both sides of the steel strip 26 by way of bifurcated blow ducts 29 having a Y-shaped cross section and a plurality of dampers 27a and 28a which are disposed parallelly on both sides of the steel strip 26.
  • the unified blow duct 30 has a lower inlet thereof connected with an outlet of a blower 34 which is driven by a drive motor 35.
  • a plurality of suction ducts 31 for collecting the cooling gas blown upon the steel strip 26 by blow gas boxes 27 and 28 are provided at the other side of the blow gas boxes 27 and 28.
  • the inlets of the suction ducts 31 for collecting the cooling gas face the other side of the blow gas boxes 27 and 28 while the outlets of these ducts 31 are connected to the upper portion of a unified suction duct 31a.
  • the unified suction duct 31a is provided with a heat exchanger 32 at the lower portion thereof which uses water or the like as a coolant.
  • the heated cooling gas is cooled by the heat exchanger 32 and is introduced to a blower 34 through a lower duct 33. It should be noted that in association with the heat exchanger 32, a refrigerator using fluorocarbon, ammonia or the like as a coolant may also be provided to further cool the cooling gas.
  • an H 2 gas sensor 36 is disposed in the blow gas box 28 so as to measure the concentration of H 2 gas contained in the cooling gas blown off from the blow gas box 28.
  • the concentration values measured by the H 2 gas sensor 36 are transmitted to a control unit 37.
  • An H 2 gas storage tank 38 and an N 2 gas storage tank 39 are disposed in the vicinity of the continuous annealing furnace 10a. These tanks 38, 39 are connected with a mixer 43a by way of an H 2 gas supply line 42 and an N 2 gas supply line 43 respectively so that H 2 gas and N 2 gas are mixed together in the mixer 43a.
  • the mixer 43a is connected with the unified blow duct 30.
  • the H 2 gas supply line 42 and the N 2 gas supply line 43 are provided with an H 2 gas flow valve 40 and an N 2 gas flow valve 41 in the midst thereof respectively which are, in turn, controlled by operation signals transmitted from the control unit 37.
  • an arrow shows a flow direction of the cooling gas.
  • the H 2 gas sensor 36 is disposed in the upper blow gas box 28, a plurality of H 2 gas sensors 36 may be disposed in the upper and lower blow gas boxes 28 respectively.
  • the concentration of H 2 gas in all blow gas boxes 28 may be controlled based on the mean value calculated from the respective detected values or the concentration of H 2 gas in the respective blow gas boxes 28 may be independently controlled based on the respective detected values.
  • blow gas box 27 (or 28) is shown in Figs. 4 and 5.
  • a multiplicity of nozzles 44 each being formed of a short tube are provided on the front surface of the blow gas box 27.
  • Each nozzle 44 is made of a cylindrical tube having a circular hollow cross section and projects toward the steel strip 26.
  • the inner diameter D of the blowoff opening of the nozzle 44 is, for example, 9.2 mm.
  • These nozzles 44 are arrayed on the front surface of the blow gas box 27 in a zigzag or staggered pattern.
  • nozzles 44 are so arranged that a total opening area of the nozzles 44 occupies 2 to 4 % of the front surface area of the blow gas box 27 and the cooling gas is blown through all the nozzles 44 at a uniform flow rate.
  • Fig. 8 shows the relationship between the nozzle opening area ratio (percentage of opening areas of the nozzles 44 to the front surface area of the blow gas box 27) and the blower power index (the motor power ratio of the blower 34). As shown in Fig. 8, the maximum efficiency results at the nozzle opening area ratio of about 2 to 4 %.
  • the distance from the tip ends of the nozzles 44 to the surface of the steel strip 26, namely, the blowoff distance d is determined to be equal to or less than 70 mm, and the projecting length L of each nozzle 44 is determined to be equal to or greater than (100 mm - d).
  • the reason is that if the distance d from the nozzles 44 to the steel strip 26 is increased, the flow speed of the cooling gas blown upon the surface of the steel strip 26 is much attenuated.
  • the reason of setting the projecting length L of each nozzle 44 to be equal to or more than (100 mm - d) is to define an escape space of the cooling gas among the projecting nozzles 44 thereby not only to improve cooling efficiency by preventing the cooling gas having been blown upon and heated by the steel strip 26 from residing on the surface of the steel strip 26 and disturbing the cooling performance, but also to improve cooling uniformity in the direction of width of the steel strip 26.
  • FIG. 9 shows the relationship between (the inner diameter D of the blowoff opening of nozzle 44 / blowoff distance d) and the power index of the blower 34. As seen in the graph, the power of the blower 34 is reduced as the quotient of inner diameter D of blowoff opening to blowoff distance d decreases.
  • the inner diameter D of the blowoff opening should be as small as possible.
  • an excessive reducing of the inner diameter D of the blowoff opening would lead to a disadvantage that the number of nozzles 44 is to be increased and the cost of the facility and maintenance is pushed up.
  • the inner diameter D of the blowoff opening is preferably set to be not larger than one fifth of the distance d, but not less than 3 mm at which the blowoff opening can be machined practically.
  • the steel strip 26 unreeled from the uncoiler 16 is joined to another preceding steel strip 26 by the welder 17, and then sent to the pretreatment apparatus 18 including an electrolytic cleaner and the like.
  • the steel strip 26 is supplied through the entry looper 19 to the heating zone 11 of the continuous annealing furnace 10a where it is heated above the recrystallization temperature (heating step A).
  • the steel strip 26 is supplied to the soaking zone 12 where it is kept at the temperature of 700 - 850 °C for a certain period of time (soaking step B).
  • soaking step A the steel strip 26 is recrystallized and the grain growth proceeds, whereby it is softened and exhibits high workability.
  • the steel strip 26 is subjected to overaging treatment in the overaging zone 14 after the soaking treatment.
  • the steel strip 26 is left to stand for a certain period of time in a certain temperature range (approximately 400 °C) in which the solubility limit of carbon is smaller and the solid-solution state carbon is still capable of diffusing.
  • the solid-solution state carbon is precipitated as cementite (Fe 3 C) and the amount of solid-solution state carbon in the steel strip 26 is reduced greatly (overaging step D).
  • the steel strip 26 is first slowly cooled in the slow cooling zone 13a down to a certain temperature T S not higher than the A 1 transformation temperature (723 °C), and is then rapidly cooled down to the overaging temperature in the rapid cooling zone 13b.
  • This rapid cooling brings about a supersaturated condition in which, at the end point of the rapid cooling (temperature T E in Fig. 2), the solid-solution state carbon exists in the ferrite matrix in an amount exceeding the solubility limit of carbon allowable at the same temperature in the Fe - C equilibrium diagram.
  • This supersaturated condition promotes precipitation of solid-solution state carbon into cementite during the overaging treatment.
  • the steel strip 26 is slowly cooled in the first half of the primary cooling down to a certain temperature T S not higher than the A 1 transformation temperature.
  • the purpose of this slow cooling is to increase the amount of solid-solution state carbon in the ferrite matrix and to prevent deterioration of flatness of the steel strip such as cooling buckle for achieving satisfactory operation.
  • the upper limit of T S is 700 °C.
  • T S is the temperature to start the rapid cooling and would be of no significance if it is too close to the overaging temperature at which the rapid cooling is ended, the lower limit of T S is 600 °C.
  • the upper limit of the rapid cooling end temperature T E is equal to the upper limit of the overaging start temperature and hence should be 450 °C.
  • a cooling rate of the rapid cooling step carried out in the second half of the primary cooling, namely, in the rapid cooling zone 13b, is required to be not lower than 60 °C/sec, preferably not lower than about 80 °C/sec from a metallurgical point of view for achieving the aforesaid supersaturated condition. In other words, if the cooling rate is lower than 60 °C/sec, the amount of solid-solution state carbon in the steel sheet as a product would be too large and the product would be excessively hardened, thus deteriorating the workability during press forming (primary cooling step C).
  • an annealing cycle is modified to be such that the steel strip 26 is heated ( heating step A' ) to a temperature not lower than the A 1 transformation temperature and the heated steel strip 26 is kept at the same temperature in the soaking zone 12 (soaking step B' ) to create a two-phase state of ferrite and austenite, and is then slowly cooled in the slow cooling zone 13a before it is rapidly cooled down from the rapid cooling start temperature T S in the rapid cooling zone 13b.
  • the rapid cooling end temperature T E ' is a temperature lower than the martensitic transformation temperature M S (about 250 °C though depending on chemical composition) so that the austenite is efficiently transformed into martensite.
  • a lower limit temperature of T E ' is 200 °C.
  • the cooling rate in the rapid cooling step is not sufficient, a part of austenite would be caught by the nose in the continuous cooling transformation curve at which transformation into ferrite, pearlite, etc. begins and would be transformed into such phases, resulting in poor efficiency of the martensitic transformation. From the above reason, the cooling rate of 60 °C/sec is required in the rapid cooling step from a metallurgical point of view. In the case of attempting to further save the alloying element components, it is desired that the cooling rate be not less than 100 °C/sec. This case is represented by one-dot-chain lines in Fig. 2. Specifically, the steel strip is rapidly cooled down to about 200 °C in a primary cooling step C', then is subjected to a low-temperature holding step D' in the overaging zone 14, and thereafter transferred to a final cooling step E'.
  • the cooling rate can be lowered, compared to the above-mentioned DQ, DDQ and high strength steel of dual phase type, and the concentration of H 2 gas can also be lowered to 1 to 5 %.
  • the concentration of H 2 gas exceeds 5 %, the cooling rate tends to increase and exceed the level which is necessary for CQ and EDDQ. This brings about the loss of expensive H 2 gas.
  • the concentration of H 2 gas exceeds 6 %, which is the gas explosion limit. Accordingly, it is desirable to restrict the concentration of H 2 gas in the range of 1 to 5 %.
  • the travelling path of the steel strip 26 in the rapid cooling step must be elongated or the travelling speed of the steel strip 26 is slowed down to assure the aimed final temperature of rapid cooling step.
  • the reasons for not requiring the high cooling rate with respect to CQ and EDDQ are as follows.
  • CQ the hardening of steel strip 26 and the increase of yield point elongation thereof which are caused by the gradual precipitation of solid-solution state carbon with the time passing after production do not constitute any material problems in view of the practical usage thereof.
  • EDDQ an amount of carbon contained in the steel is extremely small and a special treatment is provided so that almost no solid-solution state carbon is present in the steel, whereby the overaging step can be unnecessitated.
  • a succeeding steel strip which is different from a preceding steel strip 26 in grade is welded to the preceding steel strip 26 by means of the welder 17 and then is subjected to the continuous annealing.
  • the concentration of H 2 gas in the cooling gas is changed and the cooling rate is regulated. Since changing of the composition of the blowoff gas needs some time, to enhance the productivity, it is desirable to arrange the product grades of steel which require the low cooling rate and the product grades of steel which require the high cooling rate as shown in Table 1 in two lots or groups and change the concentration of H 2 gas along with the changing of the lot.
  • Means F for changing the concentration of H 2 gas substantially comprises the H 2 gas sensor 36, the control unit 37, the H 2 gas storage tank 38, the N 2 gas storage tank 39, the H 2 gas flow valve 40, the N 2 gas flow valve 41, the H 2 gas supply line 42, the N 2 gas supply line 43 and the mixer 43a.
  • the targeted or predetermined concentration C set of H 2 gas in the cooling gas for a product grade of steel is input to the control unit 37 from a key board 49 and is stored in a RAM 47 in the control unit 37 ( Step S1 ). It is desirable to change the concentration of H 2 gas within the range exceeding 0 % and equal to or below 60 %.
  • the concentration of H 2 gas exceeding 60 % should be avoided since such a gas concentration merely increases the amount of expensive H 2 gas while the the cooling effect is no more improved even if the concentration of H 2 gas is increased exceeding 60 % as explained in detail later.
  • the concentration of H 2 gas for this new product grade of steel is input to the control unit 37 from the key board 49 and is stored in the RAM 47 (Ste S2 ).
  • the H 2 gas sensor 36 constantly measures the concentration of H 2 gas in the cooling gas in the blow gas box 28 and the measured concentration C mes of H 2 gas is transmitted to the control unit 37 and fed to a computer CPU 46 by way of an input/output interface 45 ( Step S3 ).
  • the predetermined concentration C set of H 2 gas is subtracted from the measured concentration C mes of H 2 gas and the subtracted value is compared with an allowance value ⁇ which is an allowable range and the CPU 46 judges whether the subtracted value is greater than the allowance value ⁇ or not ( Step S4 ).
  • Step S4 If the judgement at Step S4 is YES, it means that the concentration of H 2 gas must be lowered. Accordingly, the N 2 gas flow valve 41 is opened so as to increase the amount of N 2 gas supplied to the mixer 43a and increase the mixing ratio of the N 2 gas in the blowoff gas. In the above valve operation, the H 2 gas flow valve 40 may be temporarily closed so as to sharply decrease the concentration of H 2 gas. After opening the N 2 gas flow valve 41, the measuring operation in Step S3 is again carried out so as to measure the concentration of H 2 gas in the cooling gas ( Step S5 ).
  • Step S4 the subtracted value obtained by subtracting the measured concentration C mes of H 2 gas from the predetermined concentration C set of H 2 gas is compared with the allowance value ⁇ so as to judge whether the concentration of H 2 gas is lower than the predetermined concentration C set of H 2 gas or not ( Step S6 ).
  • Step S6 If the judgement at Step S6 is YES, namely, if the subtracted value obtained by subtracting the measured concentration C mes of H 2 gas from the predetermined concentration C set of H 2 gas is greater than the allowance value ⁇ and the predetermined concentration C set of H 2 gas is greater than the measured concentration C mes of H 2 gas, the operation is advanced to Step S7.
  • the H 2 gas flow valve 40 is opened so as to supply H 2 gas to the unified blow duct 30 from the H 2 gas storage tank 38 by way of the H 2 gas supply line 42 and the mixer 43a.
  • the measuring operation at Step S3 is again carried out to monitor the concentration of H 2 gas.
  • Step S6 If the judgement in Step S6 is NO, namely, if the subtracted value obtained by subtracting the measured concentration C mes of H 2 gas from the predetermined concentration C set of H 2 gas falls within the allowance value ⁇ , without actuating the H 2 gas flow valve 40 and the N 2 gas flow valve 41, the measuring operation of Step S3 is carried out so as to measure the concentration of H 2 gas in the cooling gas again.
  • the above-mentioned control sequence is programmed and stored in a ROM 48 and is sequentially fed to the CPU 46 corresponding to the operational commands.
  • cooling by water-gas mixture is employed in the rapid cooling step as mentioned previously, the cooling which meets the formula (5) can be performed.
  • steps such as light pickling, rinsing after the pickling, special treatment for improving phosphatability, and final rinsing are required in the post-treatment after the annealing. This leads to a disadvantage of pushing up the facility cost.
  • an attention was focused on a method of rapidly cooling the steel strip 26 by blowing jet streams of inert atmosphere gas upon the steel strip 26. Since H 2 gas has a high cooling ability, a mixture gas made of H 2 gas and N 2 gas is chosen as the cooling gas.
  • the heat transfer coefficient ⁇ indicating a degree of cooling ability in the rapid cooling zone 13b is a function of the blowoff speed V of the cooling gas from the nozzles 44 and the kind of the cooling gas, and is expressed by the following formula (6).
  • K ⁇ ⁇ a ⁇ V b ( a > 0 and b > 0 ) ,where
  • the temperature of the cooling gas is counted as one of the factors which affects the condition of the above formula (6).
  • the cooling gas used for cooling the steel strip 26 is sucked through the suction duct 31 and then subjected to heat exchange in the heat exchanger 32. Since the water which is inexpensive is employed as a coolant for the heat exchanger 32, the temperature of the cooling gas having passed the heat exchanger 32 is in the range of 80 - 150 °C. From an economical point of view in the field of rapid cooling, however, the temperature of the cooling gas is preferably kept in the range of about 80 - 100 °C through more efficient heat exchange.
  • the cooling rate is set to be not so high and the concentration of H 2 gas is determined to fall in the range of 1 to 5 %.
  • the temperature of the cooling gas should preferably be in the range of 80 to 150 °C . If the temperature of the cooling gas is lowered below 80 °C , as mentioned previously, the refrigerator must be provided. Such a provision of the refrigerator makes the construction of the rapid cooling apparatus 13c more complicated and the maintenance thereof cumbersome and increases the operation cost thereof as the electric power consumption is increased.
  • no strict condition is given to the cooling rate, it is considered that even when the temperature of the cooling gas is raised above 80 °C, the steel strip 26 will suffer from the least adverse effect. Meanwhile, if the temperature of the cooling gas is raised above 150 °C, the cooling ability becomes insufficient so that the steel strip 26 cannot be cooled down to the predetermined temperature provided that the steel strip 26 is travel led at a normal running speed.
  • the concentration of H 2 gas is determined to fall in the range of 30 to 60 % and the temperature of the cooling gas is in the range of 30 to 150 °C. If the temperature of the cooling gas is lowered below 30 °C, as mentioned previously, under the recirculation, the rapid cooling apparatus 13c must be provided newly with the heat exchanger 32 extended and a refrigerator which enable the cooling gas to be equal to or less than 30 °C but such provision is not practical.
  • the blowoff temperature of the cooling gas is raised above 150 °C, as in the case of CQ and EDDQ, the cooling ability becomes insufficient so that the steel strip 26 cannot be cooled down to the predetermined temperature provided that the steel strip 26 is travelled at a normal running speed.
  • Fig. 11 shows the operation cost index of the cooling gas per ton of steel strip 26 resulting on condition that a steel strip being 0.798 mm thick and 1300 mm wide is processed at 270 m/min and the temperature of the steel strip is rapidly cooled down from 675 °C to 410 °C.
  • Fig. 12 shows the operation cost index of the cooling gas per ton of steel strip resulting on condition that a steel strip being 0.633 mm thick and 1300 mm wide is processed at 260 m/min and the temperature of the steel strip is rapidly cooled down from 670 °C to 270 °C.
  • a broken line represents the cost of the cooling gas
  • a one-dot-chain line represents the cost of electric power
  • a solid line represents the total cost.
  • the operation cost is minimized at the concentration of H 2 gas in the cooling gas being about 45 % in the case of Fig. 11, and at about 55 % in the case of Fig. 12.
  • the heat transfer coefficient ⁇ resulting when cooling conditions such as the shape and array of the nozzles and the blowoff speed of the cooling gas are fixed, is calculated on the basis of the formulae (8) and (9) below by using actual data obtained from the operational experiment for rapid cooling performed as shown in Fig. 13.
  • T 1 temperature of steel strip on the entry side
  • T 2 temperature of steel strip on the delivery side
  • i 1 enthalpy of steel strip on the entry side
  • i 2 enthalpy of steel strip on the delivery side
  • passing time of steel strip from the entry side to the delivery side of rapid cooling zone
  • A constant
  • t thickness of steel strip
  • Tg temperature of cooling gas.
  • Fig. 14 shows the heat transfer coefficient ⁇ calculated from the data obtained by variously changing the concentration of H 2 gas with the blowoff speed of the cooling gas 130 m/sec and 100 m/sec.
  • the concentration of H 2 gas exceeds 60 %, the heat transfer coefficient ⁇ is saturated. Accordingly, a significant improvement in the cooling effect is not achieved even with the use of cooling gas having a concentration of H 2 gas in excess of 60 %.
  • blowoff speed V of the cooling gas should be not less than 100 m/sec and the concentration of H 2 gas in the cooling gas should be not lower than 30 % to satisfy the above formula (5).
  • blowoff speed it is not desirable to lower the blowoff speed below 80 m/sec since such a blowoff speed brings about an insufficient cooling ability and cannot cool down the steel strip 26 to a desired temperature with a normal running speed. It is also not desirable to raise the blowoff speed of the cooling gas above 100 m/sec since the resultant cooling rate is excessive and the electric power consumption of the blower 34 exceeds the reasonable electric power consumption.
  • inert atmosphere gas containing H 2 gas is employed as cooling gas for use in the rapid cooling step and concentration of the H 2 gas is switched between two ranges of 1 to 5 % and 30 to 60 %, depending on the required cooling rate of the rapid cooling step corresponding to the product grades of steel strips. Accordingly, various steels having different required properties can be processed in the rapid cooling step with cooling conditions which meet the respective steels. The consumption of expensive H 2 gas is greatly saved.
  • the concentration of H 2 gas is in the range of more than 0 % and equal to or less than 60 %, the consumption of H 2 gas in the cooling gas can be greatly saved and the cooling rates which correspond to respective product grades of steel can be obtained.
  • the blowoff temperature of the cooling gas is 30 - 150 °C and the blowoff speed of the cooling gas is 80 - 150 m/sec
  • the optimum cooling condition which satisfies both cooling capacity and economy, can be obtained by properly setting the temperature and the blowoff speed of the cooling gas in addition to the proper setting of the concentration of H 2 gas in the cooling gas, corresponding to the cooling rate required by the product grades of steel.

Landscapes

  • Chemical & Material Sciences (AREA)
  • Engineering & Computer Science (AREA)
  • Physics & Mathematics (AREA)
  • Thermal Sciences (AREA)
  • Crystallography & Structural Chemistry (AREA)
  • Mechanical Engineering (AREA)
  • Materials Engineering (AREA)
  • Metallurgy (AREA)
  • Organic Chemistry (AREA)
  • Heat Treatment Of Strip Materials And Filament Materials (AREA)
EP97105044A 1996-04-26 1997-03-25 Primärkühlverfahren für das kontinuierliche Glühen von Stahlbändern Expired - Lifetime EP0803583B2 (de)

Applications Claiming Priority (3)

Application Number Priority Date Filing Date Title
JP130851/96 1996-04-26
JP13085196 1996-04-26
JP13085196 1996-04-26

Publications (4)

Publication Number Publication Date
EP0803583A2 true EP0803583A2 (de) 1997-10-29
EP0803583A3 EP0803583A3 (de) 1999-01-20
EP0803583B1 EP0803583B1 (de) 2003-07-23
EP0803583B2 EP0803583B2 (de) 2009-12-16

Family

ID=15044183

Family Applications (1)

Application Number Title Priority Date Filing Date
EP97105044A Expired - Lifetime EP0803583B2 (de) 1996-04-26 1997-03-25 Primärkühlverfahren für das kontinuierliche Glühen von Stahlbändern

Country Status (3)

Country Link
EP (1) EP0803583B2 (de)
AT (1) ATE245710T1 (de)
DE (1) DE69723608T3 (de)

Cited By (5)

* Cited by examiner, † Cited by third party
Publication number Priority date Publication date Assignee Title
EP1108793A1 (de) * 1999-12-17 2001-06-20 The BOC Group plc Verfahren zum Abschrecken von erwärmten metallischen Werkstücken
US6533996B2 (en) * 2001-02-02 2003-03-18 The Boc Group, Inc. Method and apparatus for metal processing
EP1602738A1 (de) * 2004-05-31 2005-12-07 Kabushiki Kaisha Kobe Seiko Sho Vorrichtung zum Kühlen mittels Gasstrahlen
US7763131B2 (en) 2004-10-19 2010-07-27 Cmi Thermline Services Method and apparatus for limiting the vibration of steel or aluminum strips in a blown-gas or -air cooling zones
WO2015091138A3 (en) * 2013-12-19 2015-08-13 Sandvik Materials Technology Deutschland Gmbh Annealing furnace and method for annealing a steel strand

Family Cites Families (5)

* Cited by examiner, † Cited by third party
Publication number Priority date Publication date Assignee Title
BR8504750A (pt) * 1984-11-14 1986-07-22 Nippon Steel Corp Aparelho de revestimento de tira para um forno de recozimento continuo
DE3736501C1 (de) * 1987-10-28 1988-06-09 Degussa Verfahren zur Waermebehandlung metallischer Werkstuecke
US5137586A (en) * 1991-01-02 1992-08-11 Klink James H Method for continuous annealing of metal strips
JPH06346156A (ja) * 1993-06-07 1994-12-20 Nippon Steel Corp 鋼板のガスジェット冷却方法
TW420718B (en) * 1995-12-26 2001-02-01 Nippon Steel Corp Primary cooling method in continuously annealing steel strip

Cited By (10)

* Cited by examiner, † Cited by third party
Publication number Priority date Publication date Assignee Title
EP1108793A1 (de) * 1999-12-17 2001-06-20 The BOC Group plc Verfahren zum Abschrecken von erwärmten metallischen Werkstücken
US6554926B2 (en) 1999-12-17 2003-04-29 The Boc Group, Plc Quenching heated metallic objects
US6533996B2 (en) * 2001-02-02 2003-03-18 The Boc Group, Inc. Method and apparatus for metal processing
EP1228828A3 (de) * 2001-02-02 2005-07-13 The Boc Group, Inc. Beschleunigtes Abkühlen von gesinterten Metallkörpern
US7018584B2 (en) 2001-02-02 2006-03-28 The Boc Group, Inc. Method and apparatus for metal processing
EP1602738A1 (de) * 2004-05-31 2005-12-07 Kabushiki Kaisha Kobe Seiko Sho Vorrichtung zum Kühlen mittels Gasstrahlen
US7381364B2 (en) 2004-05-31 2008-06-03 Kobe Steel, Ltd Gas jet cooling device
US7763131B2 (en) 2004-10-19 2010-07-27 Cmi Thermline Services Method and apparatus for limiting the vibration of steel or aluminum strips in a blown-gas or -air cooling zones
WO2015091138A3 (en) * 2013-12-19 2015-08-13 Sandvik Materials Technology Deutschland Gmbh Annealing furnace and method for annealing a steel strand
US10400302B2 (en) 2013-12-19 2019-09-03 Sandvik Materials Technology Deutschland Gmbh Annealing furnace and method for annealing a steel strand

Also Published As

Publication number Publication date
EP0803583B2 (de) 2009-12-16
DE69723608T3 (de) 2010-07-01
DE69723608D1 (de) 2003-08-28
DE69723608T2 (de) 2004-05-13
ATE245710T1 (de) 2003-08-15
EP0803583B1 (de) 2003-07-23
EP0803583A3 (de) 1999-01-20

Similar Documents

Publication Publication Date Title
EP0815268B1 (de) Primäres kühlverfahren beim kontinuierlichen wärmebehandeln von stahlstreifen
AU2008267505B2 (en) Process for hot rolling and for heat treatment of a steel strip
KR100206504B1 (ko) 스테인레스강스트립제조장치
US6054095A (en) Widthwise uniform cooling system for steel strip in continuous steel strip heat treatment step
US4836774A (en) Method and apparatus for heating a strip of metallic material in a continuous annealing furnace
JP2008196015A (ja) 連続焼鈍設備
US4363472A (en) Steel strip continuous annealing apparatus
WO1997000975A1 (fr) Procede de recuit en continu de toles d'acier laminees a froid et equipement correspondant
EP0803583B2 (de) Primärkühlverfahren für das kontinuierliche Glühen von Stahlbändern
JP2009127060A (ja) 冷延鋼板の製造方法
JP6870701B2 (ja) 鋼板の冷却方法、鋼板の冷却装置および鋼板の製造方法
KR20020001618A (ko) 연속 풀림로의 입구측 또는 출구측에 배치되는 롤과, 이롤을 포함하는 급랭 구역 유닛
US5192485A (en) Continuous annealing line having carburizing/nitriding furnace
JP3572983B2 (ja) 連続熱処理炉ならびに連続熱処理炉における冷却方法
EP0086331A1 (de) Kontinuierliche Wärmebehandlungslinie für Bänder oder Bleche aus weichen und aus hochfesten Stählen
JP4242932B2 (ja) 鋼帯の連続焼鈍における一次冷却方法
JPS5839210B2 (ja) 連続焼鈍における鋼帯の冷却方法
JPS60145327A (ja) 冷延鋼板の連続焼鈍方法および設備
JP2006124817A (ja) 鋼板連続焼鈍設備のガスジェット冷却装置と冷却制御方法
JP2954340B2 (ja) 連続浸炭・浸窒炉及び浸炭・浸窒方法
JPS6234811B2 (de)
JPS60145326A (ja) 冷延鋼板の連続焼鈍方法および設備
JPH04202650A (ja) 連続焼鈍炉
CN120530210A (zh) 连续退火设备、连续退火方法、冷轧钢板的制造方法以及镀覆钢板的制造方法
JPS5944367B2 (ja) 水焼入連続焼鈍法

Legal Events

Date Code Title Description
PUAI Public reference made under article 153(3) epc to a published international application that has entered the european phase

Free format text: ORIGINAL CODE: 0009012

AK Designated contracting states

Kind code of ref document: A2

Designated state(s): AT DE GB

17P Request for examination filed

Effective date: 19971027

PUAL Search report despatched

Free format text: ORIGINAL CODE: 0009013

AK Designated contracting states

Kind code of ref document: A3

Designated state(s): AT DE GB

17Q First examination report despatched

Effective date: 20010126

GRAH Despatch of communication of intention to grant a patent

Free format text: ORIGINAL CODE: EPIDOS IGRA

GRAH Despatch of communication of intention to grant a patent

Free format text: ORIGINAL CODE: EPIDOS IGRA

GRAA (expected) grant

Free format text: ORIGINAL CODE: 0009210

AK Designated contracting states

Designated state(s): AT DE GB

REG Reference to a national code

Ref country code: GB

Ref legal event code: FG4D

REF Corresponds to:

Ref document number: 69723608

Country of ref document: DE

Date of ref document: 20030828

Kind code of ref document: P

PLBQ Unpublished change to opponent data

Free format text: ORIGINAL CODE: EPIDOS OPPO

PLBI Opposition filed

Free format text: ORIGINAL CODE: 0009260

PLAX Notice of opposition and request to file observation + time limit sent

Free format text: ORIGINAL CODE: EPIDOSNOBS2

26 Opposition filed

Opponent name: DREVER INTERNATIONAL S.A.

Effective date: 20040423

PLBB Reply of patent proprietor to notice(s) of opposition received

Free format text: ORIGINAL CODE: EPIDOSNOBS3

PLBP Opposition withdrawn

Free format text: ORIGINAL CODE: 0009264

PUAH Patent maintained in amended form

Free format text: ORIGINAL CODE: 0009272

STAA Information on the status of an ep patent application or granted ep patent

Free format text: STATUS: PATENT MAINTAINED AS AMENDED

27A Patent maintained in amended form

Effective date: 20091216

AK Designated contracting states

Kind code of ref document: B2

Designated state(s): AT DE GB

REG Reference to a national code

Ref country code: DE

Ref legal event code: R082

Ref document number: 69723608

Country of ref document: DE

Representative=s name: VOSSIUS & PARTNER PATENTANWAELTE RECHTSANWAELT, DE

Effective date: 20130227

Ref country code: DE

Ref legal event code: R082

Ref document number: 69723608

Country of ref document: DE

Representative=s name: VOSSIUS & PARTNER, DE

Effective date: 20130227

Ref country code: DE

Ref legal event code: R081

Ref document number: 69723608

Country of ref document: DE

Owner name: NIPPON STEEL & SUMITOMO METAL CORPORATION, JP

Free format text: FORMER OWNER: NIPPON STEEL CORP., TOKIO/TOKYO, JP

Effective date: 20130227

PGFP Annual fee paid to national office [announced via postgrant information from national office to epo]

Ref country code: DE

Payment date: 20160322

Year of fee payment: 20

PGFP Annual fee paid to national office [announced via postgrant information from national office to epo]

Ref country code: GB

Payment date: 20160323

Year of fee payment: 20

Ref country code: AT

Payment date: 20160225

Year of fee payment: 20

REG Reference to a national code

Ref country code: DE

Ref legal event code: R071

Ref document number: 69723608

Country of ref document: DE

REG Reference to a national code

Ref country code: GB

Ref legal event code: PE20

Expiry date: 20170324

REG Reference to a national code

Ref country code: AT

Ref legal event code: MK07

Ref document number: 245710

Country of ref document: AT

Kind code of ref document: T

Effective date: 20170325

PG25 Lapsed in a contracting state [announced via postgrant information from national office to epo]

Ref country code: GB

Free format text: LAPSE BECAUSE OF EXPIRATION OF PROTECTION

Effective date: 20170324