EP0697493B1 - An einem Halterahmen angeordnete Isolierglasscheibe - Google Patents

An einem Halterahmen angeordnete Isolierglasscheibe Download PDF

Info

Publication number
EP0697493B1
EP0697493B1 EP95111134A EP95111134A EP0697493B1 EP 0697493 B1 EP0697493 B1 EP 0697493B1 EP 95111134 A EP95111134 A EP 95111134A EP 95111134 A EP95111134 A EP 95111134A EP 0697493 B1 EP0697493 B1 EP 0697493B1
Authority
EP
European Patent Office
Prior art keywords
perforations
insulating glass
glass pane
frame
bonding back
Prior art date
Legal status (The legal status is an assumption and is not a legal conclusion. Google has not performed a legal analysis and makes no representation as to the accuracy of the status listed.)
Expired - Lifetime
Application number
EP95111134A
Other languages
English (en)
French (fr)
Other versions
EP0697493A1 (de
Inventor
Dr. Harald Schulz
Current Assignee (The listed assignees may be inaccurate. Google has not performed a legal analysis and makes no representation or warranty as to the accuracy of the list.)
Norsk Hydro ASA
Original Assignee
Norsk Hydro ASA
Priority date (The priority date is an assumption and is not a legal conclusion. Google has not performed a legal analysis and makes no representation as to the accuracy of the date listed.)
Filing date
Publication date
Application filed by Norsk Hydro ASA filed Critical Norsk Hydro ASA
Publication of EP0697493A1 publication Critical patent/EP0697493A1/de
Application granted granted Critical
Publication of EP0697493B1 publication Critical patent/EP0697493B1/de
Anticipated expiration legal-status Critical
Expired - Lifetime legal-status Critical Current

Links

Images

Classifications

    • EFIXED CONSTRUCTIONS
    • E06DOORS, WINDOWS, SHUTTERS, OR ROLLER BLINDS IN GENERAL; LADDERS
    • E06BFIXED OR MOVABLE CLOSURES FOR OPENINGS IN BUILDINGS, VEHICLES, FENCES OR LIKE ENCLOSURES IN GENERAL, e.g. DOORS, WINDOWS, BLINDS, GATES
    • E06B3/00Window sashes, door leaves, or like elements for closing wall or like openings; Layout of fixed or moving closures, e.g. windows in wall or like openings; Features of rigidly-mounted outer frames relating to the mounting of wing frames
    • E06B3/54Fixing of glass panes or like plates
    • E06B3/56Fixing of glass panes or like plates by means of putty, cement, or adhesives only
    • EFIXED CONSTRUCTIONS
    • E06DOORS, WINDOWS, SHUTTERS, OR ROLLER BLINDS IN GENERAL; LADDERS
    • E06BFIXED OR MOVABLE CLOSURES FOR OPENINGS IN BUILDINGS, VEHICLES, FENCES OR LIKE ENCLOSURES IN GENERAL, e.g. DOORS, WINDOWS, BLINDS, GATES
    • E06B3/00Window sashes, door leaves, or like elements for closing wall or like openings; Layout of fixed or moving closures, e.g. windows in wall or like openings; Features of rigidly-mounted outer frames relating to the mounting of wing frames
    • E06B3/54Fixing of glass panes or like plates
    • E06B3/5409Means for locally spacing the pane from the surrounding frame
    • EFIXED CONSTRUCTIONS
    • E06DOORS, WINDOWS, SHUTTERS, OR ROLLER BLINDS IN GENERAL; LADDERS
    • E06BFIXED OR MOVABLE CLOSURES FOR OPENINGS IN BUILDINGS, VEHICLES, FENCES OR LIKE ENCLOSURES IN GENERAL, e.g. DOORS, WINDOWS, BLINDS, GATES
    • E06B7/00Special arrangements or measures in connection with doors or windows
    • E06B7/14Measures for draining-off condensed water or water leaking-in frame members for draining off condensation water, throats at the bottom of a sash
    • EFIXED CONSTRUCTIONS
    • E06DOORS, WINDOWS, SHUTTERS, OR ROLLER BLINDS IN GENERAL; LADDERS
    • E06BFIXED OR MOVABLE CLOSURES FOR OPENINGS IN BUILDINGS, VEHICLES, FENCES OR LIKE ENCLOSURES IN GENERAL, e.g. DOORS, WINDOWS, BLINDS, GATES
    • E06B3/00Window sashes, door leaves, or like elements for closing wall or like openings; Layout of fixed or moving closures, e.g. windows in wall or like openings; Features of rigidly-mounted outer frames relating to the mounting of wing frames
    • E06B3/54Fixing of glass panes or like plates
    • E06B3/5454Fixing of glass panes or like plates inside U-shaped section members

Definitions

  • the invention relates to a on a holding frame arranged insulating glass pane for windows, facades and the like.
  • DE-U-85 05 873 describes a thermally insulated window, in which with the elimination of the isolation zone only one inner glass support frame is provided on which the Glazing is held by an edging profile. This also eliminates the need for the glass retaining strip, which means that Result a reduction in the frame width is achieved.
  • the end faces of the glazing are sealed on the inside with a sealing strip and on the outside by a layer arranged on the edge border profile an adhesive or sealant.
  • the edging profile can however also be provided with holes, which then the Venting and / or drainage to the glazing subsequent cavity serve. However, this must be sufficient free space between the composite backing of the Insulating glass pane and the one facing it Frame part of the holding frame must be present.
  • DE-U-85 05 873 describes the Possibility to glue this cavity with or Fill sealant, but then no holes are provided in the edging profile.
  • the invention has for its object a Form insulating glass pane with a holding frame so that the required as moisture and moisture protection Distance between the composite back and the frame part is unnecessary, so that the holding frame as a whole can be kept correspondingly smaller without doing so however the thermal properties in the range of Deteriorate frame part.
  • a on a holding frame arranged insulating glass pane in which the Holding frame at least one the insulating glass pane frame part covering the edge of its composite back has and the insulating glass pane from two to each other parallel, one filled with gas between them Gap enclosing glass panes, which on Edge are glued together by a sealing strip, so that the sealing strip and the peripheral surfaces of the two Glass panes together the composite back of the Form insulating glass pane.
  • Frame part covering the composite back of the insulating glass pane of the holder frame from along the composite back arranged perforations is broken, and wherein between the composite back and the frame part continuous, thin adhesive layer provided that fills the perforations and there with that of Composite back side of the frame part in essentially flush, with the perforations separated from each other by narrow cross bars are whose width is smaller than that in the same Direction measured width of the perforations.
  • the distance between the composite back and the frame part essential can be reduced. At most it is still necessary a narrow gap for inserting supplements for Protect the glass edges of the insulating glass panes. Except of the perforations according to the invention in the Cover the composite back of the insulating glass pane Frame part is within the scope of the invention with respect to Training of the holding frame largely extensive Freedom. Esp. can the holding frame only the Insulating glass pane surrounding adapter frame for connection to a load-bearing frame construction or an immediate part of this supporting structure itself, be it on one fixed facade cladding or on sash frames from Windows and doors.
  • the perforations themselves can be different Have cross-sectional shapes.
  • In addition to circular Perforation cross-section are primarily perforations advantageous, each a square or have a rectangular cross-section. It is about Perforations with a rectangular cross-section, so recommended it, the perforations towards their longer ones To line up the side of the rectangle.
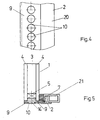
  • the insulating glass pane 1 usually consists of two parallel, between them a space filled with gas 3 enclosing glass panes 4, which in the edge area Spacers 5 kept at a distance from each other and on the outside on the outside of the spacers 5 a sealing strip 6 made of adhesive and sealant together are glued so that the sealing strip 6 and the Edge surfaces 7 of the two glass panes 4 together generally designated 8 composite back of the Form insulating glass pane 1.
  • the holding frame has at least one edge of the insulating glass pane 1 its composite back 8 covering frame part 9, the Perforations 10 arranged along the composite back 8 is broken.
  • perforations 10 can circular cross section, as in Fig. 4, square Cross section as in Fig. 2 or rectangular cross section as in Fig. 3. In the case of rectangular Cross-section, as in Fig. 3, the perforations 10 in Lined up in the direction of their longer rectangle side.
  • the Perforations 10 are through narrow crossbars 11 separated from each other.
  • a continuous adhesive layer 14 with the Sealing strip 6 can also be formed in one piece homogeneously can.
  • This adhesive layer 14 fills the gap between the Frame part 9 and the edge surfaces 7 of the glass panes 4 and the perforations 10 so that moisture or moisture only on the in the perforations 10 essentially flush with the frame part 9, from the composite backing 8 open surfaces of the adhesive layer 14 facing away where they can occur through leaching and evaporation can be removed quickly.
  • the Holding frame an adapter frame that connects to a statically supporting frame 21 mediated.
  • the holding frame can, for example, also be a static one Element and for its static function with a Hollow profile 20, as indicated in FIGS. 2 to 5 is equipped.
  • Insulating glass pane 1 for simplicity only each consisting of two individual glass panes 4 is shown, does exist within the scope of the invention of course the possibility of one or both the glass panes 4, for example made of heat protection glass to exist or multiple insulating glass (three spaced washers and more) to use.

Landscapes

  • Engineering & Computer Science (AREA)
  • Civil Engineering (AREA)
  • Structural Engineering (AREA)
  • Securing Of Glass Panes Or The Like (AREA)
  • Joining Of Glass To Other Materials (AREA)

Description

Die Erfindung betrifft eine an einem Halterahmen angeordnete Isolierglasscheibe für Fenster, Fassaden und dergleichen.
Aus der US-A-4 669 241 ist eine Scheibenanordnung mit einem Halterahmen bekannt, die zum Einsatz bei Fahrzeugen dient, die hohen Stoß- und Vibrationsbeanspruchungen ausgesetzt sind. Solche Beanspruchungen können zur Folge haben, daß die Dichtung zwischen den einzelnen Scheiben des Isolierglases mechanisch beschädigt wird und somit Wasserdampf in den Scheibenzwischenraum eintreten kann, der im Scheibenzwischenraum kondensiert und die Sicht durch die Isolierglasscheibe beeinträchtigt.
Die DE-U-85 05 873 beschreibt ein wärmegedämmtes Fenster, bei welchem unter Wegfall der Isolierzone lediglich ein innerer Glastragrahmen vorgesehen ist, an welchem die Verglasung durch ein Randeinfaßprofil gehalten ist. Dadurch erübrigt sich auch die Glashalteleiste, wodurch im Ergebnis eine Verringerung der Rahmenbreite erreicht wird. Die Abdichtung der Stirnflächen der Verglasung erfolgt innenseitig durch eine abdichtende Leiste und außenseitig durch eine am Randeinfaßprofil angeordnete Schicht aus einer Klebe- oder Versiegelungsmasse. Das Randeinfaßprofil kann jedoch auch mit Löchern versehen sein, die dann der Entlüftung und/oder der Entwässerung des an die Verglasung anschließenden Hohlraums dienen. Dazu muß jedoch genügend freier Platz zwischen dem Verbundrücken der Isolierglasscheibe und dem ihm gegenüber stehenden Rahmenteil des Halterahmens vorhanden sein.
Um den Verbundrücken der Isolierglasscheibe vor Nässe und hoher Feuchtigkeit zu schützen, werden im allgemeinen mindestens 5 mm Abstand zwischen dem Verbundrücken und dem ihm gegenüber stehenden Rahmenteil gefordert. Die Konsequenz dieser Forderung sind entsprechend größere Abmessungen des Halterahmens.
Alternativ beschreibt die DE-U-85 05 873 noch die Möglichkeit, diesen Hohlraum mit einer Klebe- oder Dichtungsmasse auszufüllen, wobei dann jedoch keine Löcher im Randeinfaßprofil vorgesehen sind.
Der Erfindung liegt die Aufgabe zugrunde, eine Isolierglasscheibe mit einem Halterahmen so auszubilden, daß der als Nässe- und Feuchtigkeitsschutz geforderte Abstand zwischen dem Verbundrücken und dem Rahmenteil entbehrlich ist, so daß der Halterahmen insgesamt entsprechend kleiner gehalten werden kann, ohne dabei jedoch die thermischen Eigenschaften im Bereich des Rahmenteils zu verschlechtern.
Diese Aufgabe wird gelöst durch eine an einem Halterahmen angeordnete Isolierglasscheibe, bei welcher der Halterahmen mindestens einen die Isolierglasscheibe randseitig an ihrem Verbundrücken abdeckenden Rahmenteil aufweist und die Isolierglasscheibe aus zwei zueinander parallelen, zwischen sich einen mit Gas gefüllten Zwischenraum einschließenden Glasscheiben besteht, die am Rand durch eine Dichtleiste miteinander verklebt sind, so daß die Dichtleiste und die Randflächen der beiden Glasscheiben gemeinsam den Verbundrücken der Isolierglasscheibe bilden. wobei ferner der den Verbundrücken der Isolierglasscheibe abdeckende Rahmenteil des Halterrahmens von längs des Verbundrückens angeordneten Perforationen durchbrochen ist, und wobei zwischen dem Verbundrücken und dem Rahmenteil eine durchgängige, dünn ausgebildete Klebeschicht vorgesehen ist, die die Perforationen füllt und dort mit der vom Verbundrücken abgewandten Seite des Rahmenteils im wesentlichen bündig abschließt, wobei die Perforationen durch schmal ausgebildete Querstege voneinander getrennt sind, deren Breite kleiner ist als die in gleicher Richtung gemessene Breite der Perforationen.
Durch die Erfindung wird erreicht, daß der Abstand zwischen dem Verbundrücken und dem Rahmenteil wesentlich verringert werden kann. Erforderlich ist allenfalls noch ein schmaler Spalt für die Aufnahme von Beilagen zum Schützen der Glaskanten der Isolierglasscheiben. Abgesehen von den erfindungsgemäßen Perforationen in dem dem Verbundrücken der Isolierglasscheibe abdeckenden Rahmenteil besteht im Rahmen der Erfindung bezüglich der Ausbildung des Halterahmens im übrigen weitgehende Freiheit. Insbes. kann der Halterahmen ein nur die Isolierglasscheibe einfassender Adapterrahmen zum Anschluß an eine tragende Rahmenkonstruktion oder unmittelbar Teil dieser tragenden Konstruktion selbst sein, sei es an einer feststehenden Fassadenverkleidung oder an Fügelrahmen von Fenstern und Türen.
Die Perforationen selbst können verschiedene Querschnittsformen besitzen. Neben kreisförmigem Perforationsquerschnitt sind vor allem Perforationen vorteilhaft, die jeweils einen quadratischen oder rechteckigen Querschnitt besitzen. Handelt es sich um Perforationen mit rechteckigem Querschnitt, so empfiehlt es sich, die Perforationen in Richtung ihrer längeren Rechteckseite aneinander zu reihen.
Im folgenden wird die Erfindung an in der Zeichnung dargestellten Ausführungsbeispielen näher erläutert; es zeigen:
Fig. 1
einen Teil einer Isolierglasscheibe mit dem unteren horizontalen Rahmenschenkel eines Tragrahmens im Querschnitt,
Fig. 2
eine Ansicht des Rahmenschenkels nach Fig. 1 von unten,
Fig. 3
eine andere Ausführungsform des Gegenstandes der Fig. 2,
Fig. 4
eine nochmals andere Ausführungsform des Gegenstandes der Fig. 2 und 3,
Fig. 5
eine andere Ausführungsform der am Halterahmen angeordneten Isolierglasscheibe in einer der Fig. 1 entsprechenden Darstellung.
Die Fig. 1 und 5 zeigen in einem Ausschnitt eine Isolierglasscheibe 1, die an einem lediglich mit seinem unteren horizontalen Rahmenschenkel 2 dargestellten Halterahmen angeordnet ist. Die Isolierglasscheibe 1 besteht in üblicher Weise aus zwei zueinander parallelen, zwischen sich einen mit Gas gefüllten Zwischenraum 3 einschließenden Glasscheiben 4, die im Randbereich durch Abstandhalter 5 auf Abstand voneinander gehalten und randseitig auf der Außenseite der Abstandhalter 5 durch eine Dichtleiste 6 aus Kleb- und Dichtstoff miteinander verklebt sind, so daß die Dichtleiste 6 und die Randflächen 7 der beiden Glasscheiben 4 gemeinsam den allgemein mit 8 bezeichneten Verbundrücken der Isolierglasscheibe 1 bilden. Der Halterahmen besitzt mindestens einen die Isolierglasscheibe 1 randseitig an ihrem Verbundrücken 8 abdeckenden Rahmenteil 9, der von längs des Verbundrückens 8 angeordneten Perforationen 10 durchbrochen ist. Diese Perforationen 10 können kreisförmigen Querschnitt, wie in Fig. 4, quadratischen Querschnitt wie in Fig. 2 oder rechteckigen Querschnitt wie in Fig. 3 besitzen. Im Falle rechteckigen Querschnitts, wie in Fig. 3, sind die Perforationen 10 in Richtung ihrer längeren Rechteckseite gereiht. Die Perforationen 10 sind durch nur schmale Querstege 11 voneinander getrennt.
In den Ausführungsbeispielen nach Fig. 1 und 5 befindet sich zwischen dem Verbundrücken 8 und dem Rahmenteil 9 eine durchgängige Klebeschicht 14, die mit der Dichtleiste 6 auch einstückig homogen ausgebildet sein kann. Diese Klebeschicht 14 füllt den Spalt zwischen dem Rahmenteil 9 und den Randflächen 7 der Glasscheiben 4 und die Perforationen 10, so daß Nässe oder Feuchtigkeit nur an den in den Perforationen 10 im wesentlichen bündig mit dem Rahmenteil 9 abschließenden, vom Verbundrücken 8 abgewandten offenen Oberflächen der Klebeschicht 14 auftreten können, wo sie durch Ablaugen und Abdunsten schnell entfernt werden kann.
Bei diesen beiden Ausführungsbeispielen ist der Halterahmen ein Adapterrahmen, der den Anschluß an einen statisch tragenden Rahmen 21 vermittelt. Der Halterahmen kann aber beispielsweise auch ein statisch tragendes Element und für seine statische Funktion mit einem Hohlprofil 20, wie dies in den Fig. 2 bis 5 angedeutet ist, ausgestattet sein.
Wenn im übrigen in den Ausführungsbeispielen die Isolierglasscheibe 1 der Einfachheit wegen auch nur jeweils aus zwei Einzelglasscheiben 4 bestehend dargestellt ist, besteht im Rahmen der Erfindung doch selbstverständlich auch die Möglichkeit, eine oder beide der Glasscheiben 4 beispielsweise aus Wärmeschutzglas bestehen zu lassen oder Mehrfachisolierglas (drei beabstandete Scheiben und mehr) zu verwenden.

Claims (3)

  1. An einem Halterahmen angeordnete Isolierglasscheibe (1) für Fenster, Fassaden und dergleichen, wobei der Halterahmen mindestens einen die Isolierglasscheibe (1) randseitig an ihrem Verbundrücken (8) abdeckenden Rahmenteil (9) aufweist und die Isolierglasscheibe (1) aus zwei zueinander parallelen, zwischen sich einen mit Gas gefüllten Zwischenraum (3) einschließenden Glasscheiben (4) besteht, die am Rand durch eine Dichtleiste (6) miteinander verklebt sind, so daß die Dichtleiste (6) und die Randflächen (7) der beiden Glasscheiben (4) gemeinsam den Verbundrücken (8) der Isolierglasscheibe (1) bilden, wobei ferner der den Verbundrücken (8) der Isolierglasscheibe (1) abdeckende Rahmenteil (9) des Halterrahmens von längs des Verbundrückens (8) angeordneten Perforationen (10) durchbrochen ist, und wobei zwischen dem Verbundrücken (8) und dem Rahmenteil (9) eine durchgängige, dünn ausgebildete Klebeschicht (14) vorgesehen ist, die die Perforationen (10) füllt und dort mit der vom Verbundrücken (8) abgewandten Seite des Rahmenteils (9) im wesentlichen bündig abschließt, wobei die Perforationen (10) durch schmal ausgebildete Querstege (11) voneinander getrennt sind, deren Breite kleiner ist als die in gleicher Richtung gemessene Breite der Perforationen (10).
  2. Isolierglasscheibe nach Anspruch 1, dadurch gekennzeichnet, daß die Perforationen (10) jeweils einen quadratischen oder rechteckigen Querschnitt besitzen.
  3. Isolierglasscheibe nach Anspruch 2, dadurch gekennzeichnet, daß bei rechteckigem Perforationsquerschnitt die Perforationen (10) in Richtung ihrer längeren Rechteckseite gereiht sind.
EP95111134A 1994-08-20 1995-07-15 An einem Halterahmen angeordnete Isolierglasscheibe Expired - Lifetime EP0697493B1 (de)

Applications Claiming Priority (2)

Application Number Priority Date Filing Date Title
DE4429666 1994-08-20
DE4429666A DE4429666C2 (de) 1994-08-20 1994-08-20 An einem Halterahmen angeordnete Isolierglasscheibe

Publications (2)

Publication Number Publication Date
EP0697493A1 EP0697493A1 (de) 1996-02-21
EP0697493B1 true EP0697493B1 (de) 2001-10-17

Family

ID=6526230

Family Applications (1)

Application Number Title Priority Date Filing Date
EP95111134A Expired - Lifetime EP0697493B1 (de) 1994-08-20 1995-07-15 An einem Halterahmen angeordnete Isolierglasscheibe

Country Status (6)

Country Link
EP (1) EP0697493B1 (de)
AT (1) ATE207185T1 (de)
DE (2) DE4429666C2 (de)
DK (1) DK0697493T3 (de)
ES (1) ES2161808T3 (de)
PT (1) PT697493E (de)

Families Citing this family (2)

* Cited by examiner, † Cited by third party
Publication number Priority date Publication date Assignee Title
US7520093B2 (en) * 2004-01-13 2009-04-21 Beat Guhl Frame construction of a sliding door
DE102009044892A1 (de) * 2009-12-14 2011-06-16 Kömmerling Chemische Fabrik GmbH Fenster oder Tür

Family Cites Families (12)

* Cited by examiner, † Cited by third party
Publication number Priority date Publication date Assignee Title
CH471952A (fr) * 1968-03-08 1969-04-30 Felix Andre Assemblage d'éléments de construction métalliques pour façades de bâtiments
DE2502584A1 (de) * 1975-01-23 1976-07-29 Ritter Aluminium Gmbh Waermegedaemmtes aluminiumfenster
FR2365684A1 (fr) * 1976-09-22 1978-04-21 Yoshida Kogyo Kk Joint a evacuation d'eau
DE2905191A1 (de) * 1979-02-12 1980-08-21 Straub Theodor Profilkonstruktion
DE3128273A1 (de) * 1980-08-08 1982-03-18 F.W. Brökelmann Aluminiumwerk KG, 5760 Arnsberg "verfahren zur herstellung von profilen sowie dazugehoeriges verbundprofil"
US4447985A (en) * 1982-06-16 1984-05-15 Wausau Metals Corporation Window structure
CH662614A5 (de) * 1984-03-02 1987-10-15 Daetwyler Ag Profilleiste zum dichtenden einfassen einer fensterscheibe oder eines tuerelementes.
DE8505873U1 (de) * 1985-03-01 1986-03-27 Nahr, Helmar, Dr.Dr., 8530 Neustadt Wärmegedämmtes Fenster oder entsprechende, verglaste Tür
BE902746A (fr) * 1985-06-26 1985-10-16 Greant Joseph G J G Chassis de fenetres ou de murs rideaux a dormants et ouvrants uniformes.
US4669241A (en) * 1986-01-28 1987-06-02 Thermatic Glass, Inc. Thermal insulated and shock resistant window assembly
DE4022177A1 (de) * 1990-07-12 1992-01-16 Mbs Gemont Ag Fenster- oder tuerkonstruktion
DK165559C (da) * 1990-10-19 1993-04-26 Rasmussen Kann Ind As Rammekonstruktion navnlig til indadgaaende vinduer eller glasdoere

Also Published As

Publication number Publication date
EP0697493A1 (de) 1996-02-21
ES2161808T3 (es) 2001-12-16
ATE207185T1 (de) 2001-11-15
DE59509711D1 (de) 2001-11-22
PT697493E (pt) 2002-01-30
DE4429666A1 (de) 1996-02-22
DK0697493T3 (da) 2001-12-03
DE4429666C2 (de) 1998-02-26

Similar Documents

Publication Publication Date Title
DE69020648T2 (de) Isolierverglasung mit isolierendem Abstandshalter.
DE3626194C2 (de) Fassadenverkleidung
EP2733295B1 (de) Verglasungseinheit
DE3125251A1 (de) Oberlichtkonstruktion
DE3541730A1 (de) Verkleidung fuer aussenflaechen von gebaeuden
EP0301166B1 (de) Fassadenelement aus Glas
DE4343521A1 (de) Fenster- oder Türkonstruktion
DE29607069U1 (de) Isolierglasscheibe mit fotovoltaischem Element
DE8505873U1 (de) Wärmegedämmtes Fenster oder entsprechende, verglaste Tür
DE2950348C2 (de)
EP0697493B1 (de) An einem Halterahmen angeordnete Isolierglasscheibe
DE3044179C2 (de) Isolierglastafel mit einem elastischen, luft- und feuchtigkeitsdichten Distanzelement, das zwischen die Glasscheiben eingreift und mit seitlichen Ansätzen die Umfangskanten der Glasscheibe überlappt
DE2707398A1 (de) Verbundfenster
DE2650740C2 (de) Mehrscheiben-Fenster mit bleiverglaster Scheibe
WO1984000191A1 (fr) Ensemble de pieces pour l'installation d'un vitrage isolant
DE202016100994U1 (de) Pfosten-Riegel-Konstruktion
DE3049356A1 (de) Begrenzungsbauteil, insbesondere fenster, tuer oder trennwand
DE8906547U1 (de) Einrichtung zur Verklotzung von Scheiben in Tür- oder Fensterrahmen
CH688384A5 (de) Glaselement mit integrierter Store.
DE60024639T2 (de) Isolierscheibe
DE8418383U1 (de) Isolierglasscheibe mit erneuerbaren entfeuchtungselementen
DE7924256U1 (de) Sprossenfenster mit isolierglas
DE2824519C3 (de) Verwendung einer wärme- und/oder schalldämmenden Isolierglasscheibe
DE102023131759A1 (de) Aufgehängte Zwischenscheibe in Verglasungseinheit aus Mehrfachisolierglas
DE3830397A1 (de) Rahmenkonstruktion in pfosten-riegel-bauweise, insbesondere fuer fassaden, daecher od. dgl.

Legal Events

Date Code Title Description
PUAI Public reference made under article 153(3) epc to a published international application that has entered the european phase

Free format text: ORIGINAL CODE: 0009012

AK Designated contracting states

Kind code of ref document: A1

Designated state(s): AT BE CH DE DK ES FR GB IT LI NL PT SE

RBV Designated contracting states (corrected)

Designated state(s): AT BE CH DE DK ES FR GB IT LI NL PT SE

17P Request for examination filed

Effective date: 19960612

17Q First examination report despatched

Effective date: 19980129

RAP1 Party data changed (applicant data changed or rights of an application transferred)

Owner name: NORSK HYDRO ASA

RAP1 Party data changed (applicant data changed or rights of an application transferred)

Owner name: NORSK HYDRO ASA

APAB Appeal dossier modified

Free format text: ORIGINAL CODE: EPIDOS NOAPE

APAB Appeal dossier modified

Free format text: ORIGINAL CODE: EPIDOS NOAPE

APAD Appeal reference recorded

Free format text: ORIGINAL CODE: EPIDOS REFNE

APCB Communication from the board of appeal sent

Free format text: ORIGINAL CODE: EPIDOS OBAPE

APCB Communication from the board of appeal sent

Free format text: ORIGINAL CODE: EPIDOS OBAPE

APAB Appeal dossier modified

Free format text: ORIGINAL CODE: EPIDOS NOAPE

GRAG Despatch of communication of intention to grant

Free format text: ORIGINAL CODE: EPIDOS AGRA

GRAH Despatch of communication of intention to grant a patent

Free format text: ORIGINAL CODE: EPIDOS IGRA

GRAH Despatch of communication of intention to grant a patent

Free format text: ORIGINAL CODE: EPIDOS IGRA

GRAA (expected) grant

Free format text: ORIGINAL CODE: 0009210

AK Designated contracting states

Kind code of ref document: B1

Designated state(s): AT BE CH DE DK ES FR GB IT LI NL PT SE

REF Corresponds to:

Ref document number: 207185

Country of ref document: AT

Date of ref document: 20011115

Kind code of ref document: T

REG Reference to a national code

Ref country code: CH

Ref legal event code: NV

Representative=s name: ISLER & PEDRAZZINI AG

Ref country code: CH

Ref legal event code: EP

REF Corresponds to:

Ref document number: 59509711

Country of ref document: DE

Date of ref document: 20011122

REG Reference to a national code

Ref country code: DK

Ref legal event code: T3

REG Reference to a national code

Ref country code: ES

Ref legal event code: FG2A

Ref document number: 2161808

Country of ref document: ES

Kind code of ref document: T3

ET Fr: translation filed
REG Reference to a national code

Ref country code: GB

Ref legal event code: IF02

GBT Gb: translation of ep patent filed (gb section 77(6)(a)/1977)

Effective date: 20011224

REG Reference to a national code

Ref country code: PT

Ref legal event code: SC4A

Free format text: AVAILABILITY OF NATIONAL TRANSLATION

Effective date: 20011018

PGFP Annual fee paid to national office [announced via postgrant information from national office to epo]

Ref country code: PT

Payment date: 20020703

Year of fee payment: 8

PGFP Annual fee paid to national office [announced via postgrant information from national office to epo]

Ref country code: SE

Payment date: 20020705

Year of fee payment: 8

PGFP Annual fee paid to national office [announced via postgrant information from national office to epo]

Ref country code: FR

Payment date: 20020709

Year of fee payment: 8

PGFP Annual fee paid to national office [announced via postgrant information from national office to epo]

Ref country code: GB

Payment date: 20020710

Year of fee payment: 8

PGFP Annual fee paid to national office [announced via postgrant information from national office to epo]

Ref country code: DK

Payment date: 20020716

Year of fee payment: 8

PGFP Annual fee paid to national office [announced via postgrant information from national office to epo]

Ref country code: ES

Payment date: 20020726

Year of fee payment: 8

PGFP Annual fee paid to national office [announced via postgrant information from national office to epo]

Ref country code: NL

Payment date: 20020730

Year of fee payment: 8

PLBE No opposition filed within time limit

Free format text: ORIGINAL CODE: 0009261

STAA Information on the status of an ep patent application or granted ep patent

Free format text: STATUS: NO OPPOSITION FILED WITHIN TIME LIMIT

PGFP Annual fee paid to national office [announced via postgrant information from national office to epo]

Ref country code: BE

Payment date: 20020919

Year of fee payment: 8

26N No opposition filed
PG25 Lapsed in a contracting state [announced via postgrant information from national office to epo]

Ref country code: GB

Free format text: LAPSE BECAUSE OF NON-PAYMENT OF DUE FEES

Effective date: 20030715

PG25 Lapsed in a contracting state [announced via postgrant information from national office to epo]

Ref country code: SE

Free format text: LAPSE BECAUSE OF NON-PAYMENT OF DUE FEES

Effective date: 20030716

Ref country code: ES

Free format text: LAPSE BECAUSE OF NON-PAYMENT OF DUE FEES

Effective date: 20030716

PG25 Lapsed in a contracting state [announced via postgrant information from national office to epo]

Ref country code: DK

Free format text: LAPSE BECAUSE OF NON-PAYMENT OF DUE FEES

Effective date: 20030731

Ref country code: BE

Free format text: LAPSE BECAUSE OF NON-PAYMENT OF DUE FEES

Effective date: 20030731

BERE Be: lapsed

Owner name: *NORSK HYDRO ASA

Effective date: 20030731

PG25 Lapsed in a contracting state [announced via postgrant information from national office to epo]

Ref country code: PT

Free format text: LAPSE BECAUSE OF NON-PAYMENT OF DUE FEES

Effective date: 20040131

PG25 Lapsed in a contracting state [announced via postgrant information from national office to epo]

Ref country code: NL

Free format text: LAPSE BECAUSE OF NON-PAYMENT OF DUE FEES

Effective date: 20040201

EUG Se: european patent has lapsed
GBPC Gb: european patent ceased through non-payment of renewal fee

Effective date: 20030715

REG Reference to a national code

Ref country code: DK

Ref legal event code: EBP

PG25 Lapsed in a contracting state [announced via postgrant information from national office to epo]

Ref country code: FR

Free format text: LAPSE BECAUSE OF NON-PAYMENT OF DUE FEES

Effective date: 20040331

NLV4 Nl: lapsed or anulled due to non-payment of the annual fee

Effective date: 20040201

REG Reference to a national code

Ref country code: FR

Ref legal event code: ST

Ref country code: PT

Ref legal event code: MM4A

Free format text: LAPSE DUE TO NON-PAYMENT OF FEES

Effective date: 20040131

REG Reference to a national code

Ref country code: ES

Ref legal event code: FD2A

Effective date: 20030716

PGFP Annual fee paid to national office [announced via postgrant information from national office to epo]

Ref country code: AT

Payment date: 20050622

Year of fee payment: 11

PGFP Annual fee paid to national office [announced via postgrant information from national office to epo]

Ref country code: DE

Payment date: 20050707

Year of fee payment: 11

PGFP Annual fee paid to national office [announced via postgrant information from national office to epo]

Ref country code: CH

Payment date: 20050713

Year of fee payment: 11

PG25 Lapsed in a contracting state [announced via postgrant information from national office to epo]

Ref country code: IT

Free format text: LAPSE BECAUSE OF NON-PAYMENT OF DUE FEES

Effective date: 20050715

APAH Appeal reference modified

Free format text: ORIGINAL CODE: EPIDOSCREFNO

PG25 Lapsed in a contracting state [announced via postgrant information from national office to epo]

Ref country code: AT

Free format text: LAPSE BECAUSE OF NON-PAYMENT OF DUE FEES

Effective date: 20060715

PG25 Lapsed in a contracting state [announced via postgrant information from national office to epo]

Ref country code: LI

Free format text: LAPSE BECAUSE OF NON-PAYMENT OF DUE FEES

Effective date: 20060731

Ref country code: CH

Free format text: LAPSE BECAUSE OF NON-PAYMENT OF DUE FEES

Effective date: 20060731

PG25 Lapsed in a contracting state [announced via postgrant information from national office to epo]

Ref country code: DE

Free format text: LAPSE BECAUSE OF NON-PAYMENT OF DUE FEES

Effective date: 20070201

REG Reference to a national code

Ref country code: CH

Ref legal event code: PL