EP0694659B1 - Traggerüst - Google Patents
Traggerüst Download PDFInfo
- Publication number
- EP0694659B1 EP0694659B1 EP95114768A EP95114768A EP0694659B1 EP 0694659 B1 EP0694659 B1 EP 0694659B1 EP 95114768 A EP95114768 A EP 95114768A EP 95114768 A EP95114768 A EP 95114768A EP 0694659 B1 EP0694659 B1 EP 0694659B1
- Authority
- EP
- European Patent Office
- Prior art keywords
- inner tube
- scaffold according
- outer tube
- tube
- projections
- Prior art date
- Legal status (The legal status is an assumption and is not a legal conclusion. Google has not performed a legal analysis and makes no representation as to the accuracy of the status listed.)
- Expired - Lifetime
Links
- 239000003351 stiffener Substances 0.000 claims description 26
- 210000001331 nose Anatomy 0.000 description 9
- 238000004519 manufacturing process Methods 0.000 description 6
- 238000001125 extrusion Methods 0.000 description 4
- XAGFODPZIPBFFR-UHFFFAOYSA-N aluminium Chemical compound [Al] XAGFODPZIPBFFR-UHFFFAOYSA-N 0.000 description 2
- 229910052782 aluminium Inorganic materials 0.000 description 2
- 230000002349 favourable effect Effects 0.000 description 2
- 238000000034 method Methods 0.000 description 2
- 230000002093 peripheral effect Effects 0.000 description 2
- 229910000838 Al alloy Inorganic materials 0.000 description 1
- 229910000831 Steel Inorganic materials 0.000 description 1
- 230000005540 biological transmission Effects 0.000 description 1
- 230000015572 biosynthetic process Effects 0.000 description 1
- 238000006073 displacement reaction Methods 0.000 description 1
- 230000003068 static effect Effects 0.000 description 1
- 239000010959 steel Substances 0.000 description 1
Images
Classifications
-
- E—FIXED CONSTRUCTIONS
- E04—BUILDING
- E04G—SCAFFOLDING; FORMS; SHUTTERING; BUILDING IMPLEMENTS OR AIDS, OR THEIR USE; HANDLING BUILDING MATERIALS ON THE SITE; REPAIRING, BREAKING-UP OR OTHER WORK ON EXISTING BUILDINGS
- E04G7/00—Connections between parts of the scaffold
- E04G7/30—Scaffolding bars or members with non-detachably fixed coupling elements
- E04G7/302—Scaffolding bars or members with non-detachably fixed coupling elements for connecting crossing or intersecting bars or members
- E04G7/306—Scaffolding bars or members with non-detachably fixed coupling elements for connecting crossing or intersecting bars or members the added coupling elements are fixed at several bars or members to connect
- E04G7/307—Scaffolding bars or members with non-detachably fixed coupling elements for connecting crossing or intersecting bars or members the added coupling elements are fixed at several bars or members to connect with tying means for connecting the bars or members
-
- E—FIXED CONSTRUCTIONS
- E04—BUILDING
- E04G—SCAFFOLDING; FORMS; SHUTTERING; BUILDING IMPLEMENTS OR AIDS, OR THEIR USE; HANDLING BUILDING MATERIALS ON THE SITE; REPAIRING, BREAKING-UP OR OTHER WORK ON EXISTING BUILDINGS
- E04G1/00—Scaffolds primarily resting on the ground
- E04G1/02—Scaffolds primarily resting on the ground composed essentially of members elongated in one dimension only, e.g. poles, lattice masts, with or without end portions of special form, connected together by any means
- E04G1/12—Scaffolds primarily resting on the ground composed essentially of members elongated in one dimension only, e.g. poles, lattice masts, with or without end portions of special form, connected together by any means comprising members of special, e.g. composite, cross-section or with lugs or the like or lateral apertures for supporting or attaching other members
-
- E—FIXED CONSTRUCTIONS
- E04—BUILDING
- E04G—SCAFFOLDING; FORMS; SHUTTERING; BUILDING IMPLEMENTS OR AIDS, OR THEIR USE; HANDLING BUILDING MATERIALS ON THE SITE; REPAIRING, BREAKING-UP OR OTHER WORK ON EXISTING BUILDINGS
- E04G25/00—Shores or struts; Chocks
- E04G25/04—Shores or struts; Chocks telescopic
- E04G25/06—Shores or struts; Chocks telescopic with parts held together by positive means
-
- E—FIXED CONSTRUCTIONS
- E04—BUILDING
- E04G—SCAFFOLDING; FORMS; SHUTTERING; BUILDING IMPLEMENTS OR AIDS, OR THEIR USE; HANDLING BUILDING MATERIALS ON THE SITE; REPAIRING, BREAKING-UP OR OTHER WORK ON EXISTING BUILDINGS
- E04G5/00—Component parts or accessories for scaffolds
- E04G5/16—Struts or stiffening rods, e.g. diagonal rods
Definitions
- the invention relates to a support frame with height-adjustable, having an outer tube and an inner tube Support and with stiffeners arranged between them and fasteners for the connection between the outer tube and stiffening, the stiffening approximately in the range of plane of the axes of two neighboring columns these supports can be attached.
- US-A-3 313 081 is a scaffold with stiffeners become known, both on the outer tube and the inner tube are attached. However, the stiffeners always outside of that adjacent by the column axis Fixed supports fixed level, namely on the side of the extent, which is directed outwards. This will, however a torque is exerted on the supports around the support axis.
- the stiffeners consist of simple tubes, the ends of which are flattened. There is an eye in each of these ends with which the rod end both in one of the outer tube of the scaffold part as well as one guided in the outer tube Inner tube radially protruding pins can be hung.
- bracing frames are according to FR-A-2 147 430 with the help of cuffs that are open on one side vertical stands of the support tubes of the scaffold attached.
- the sleeve surrounding the outer tube of a stand has a larger diameter than that for attachment certain cuff on the inner tube, the latter Cuff has a hole with a Inner tube radially crossing bore is aligned so that a bolt can be inserted through this hole, with which the stiffening frame can be attached at the top.
- the larger one located at the bottom of the stiffening frame Cuff is not against displacement on the outer tube secured, it only has a hole in her Leg ends through which a bolt is inserted can be the cuff and thus the lower end of the stiffening frame on the outer tube, the Bolts outside the circumference of the outer tube through the leg ends the cuff is inserted.
- the invention has for its object a bracing to develop for scaffolding that can take large loads can be arranged in the plane by two adjacent Supporting the scaffold is defined, but in handling is very easy.
- each end of the bracing on both the outer tube and can be attached to the inner tube of a telescopic support did not pay attention to this when installing a bracing which end of the bracing on the inner tube or on Outer tube can be attached.
- This makes building one Scaffolding and also the handling of a bracing from Setting up scaffolding is much easier.
- the stiffeners can be extended support at any height and therefore also arranged at the statically most favorable point become, which in turn increases the load capacity of the scaffold. It loads can be transferred very well, for example not just loads on one blanket, but loads on another as well Support structures such as for vaults, Bridges or the like
- the fastening means engage the bracing for a scaffold section only one side of the circumference of the support tubes. Therefore can the fasteners of the bracing for a second Scaffold section on the opposite side of the circumference the support pipes without obstruction by the connecting parts the bracing of the first scaffold section are attached.
- the invention can also the inner tube and Outer tube have connections for the stiffening, which in turn allows the connection points for the bracing so train that the bracing is still very easy be attached and still take on very high loads can.
- the invention is not only suitable for supports in which the inner tube is telescopic, but also for Use in conjunction with supports known per se, at which the inner tube over a longer longitudinal section Has thread that is used to adjust the column height.
- the invention can be implemented in connection with supports where the inner tube is round and the thread is cut over the entire circumference of the inner tube.
- the cross section of the The inner tube of the support is not circular and the thread is only arranged in areas with a large outside diameter.
- This embodiment of the invention has the advantage that in the peripheral portion, which have a smaller diameter and therefore do not wear threads, special brackets can be provided for the connection parts of the bracing, which is the usual threaded nut to support the Do not disturb the inner tube on the outer tube or vice versa.
- the cross section of the outer tube can be circular or, in a particular embodiment of the invention, a Have cross section, the shape of the shape of the cross section corresponds to the inner tube, but for inclusion of the inner tube is larger than this.
- this Outer tube and the inner tube radially projecting lugs, the protrusions running across the radius and on the radial inward side of these projections recesses for Entry of fasteners engaging behind the projections has, which are arranged on the stiffeners.
- Such a cross-sectional formation of the outer and inner tube has the advantage that only one type of fastener must be arranged on the bracing, for example a kind of clamp that is designed so that it both the protrusions on the outer tube as well as the protrusions on Can reach behind the inner tube.
- the receptacles provided on the outer tube and on the inner tube for the fasteners provided on the bracing can spaced apart along the tubes.
- the lugs and the Projections of the pipes are formed by the shape of the pipe cross section and extend the entire length of the tube.
- a External thread of the inner tube in the area of the peripheral surface the lugs be arranged so that the height adjustment of the Ceiling support in the usual way by a screw thread with a threaded nut supported on the outer tube can be done.
- the height adjustability the ceiling prop also in a manner known per se insertable in recesses of outer tube and inner tube Bolts must be guaranteed.
- the supports can be made of steel or aluminum be.
- the thread can be in sections of the circumference incised or rolled up or immediately during production the tube, for example in the extrusion process, be rolled in.
- the invention also relates to a support in which a or more of the aforementioned features are realized and that is not part of a supporting structure.
- FIG. 1 has an inner tube 1 of an extendable support for Ceiling scaffold has approximately the same cross-sectional shape as a Outer tube 2, which completely receives the inner tube 1.
- the Inner tube 1 has four radially protruding parts distributed over the circumference Lugs 3 on, the projections extending transversely to the radius 4 wear and have a thread 5 on its outer surface.
- the inner tube 1 is made by extrusion.
- the lugs 3 and the projections 4 run on the circumference of the Inner tube 1 in the direction of the surface lines over the whole Length of the inner tube 1. Between the outer surface of the inner tube 1 and the inner surface of the outer tube 2 is so much Game available that the inner tube 1 in the longitudinal direction can move easily in the outer tube 2.
- the thread 5 engages a nut, not shown, which as Wing nut is formed and the inner tube pulled out 1 is screwed as far along the inner tube 1 until this nut rests on the end face of the outer tube 2 and thus determines the extension length and that of the inner tube 1 transferred load transferred to the outer tube 2.
- the thread 5 has a diameter as shown in the drawing on, which is larger than the inner diameter of the outer tube 2. By turning the threaded nut one becomes proportional large adjustment distance in the axial direction of the support reached. Since the thread 5 only on a portion of the circumference is arranged, it is much easier to manufacture than with spindles with all-round circumference Thread.
- the other walls of the inner tube 1 have the embodiment shown does not have the shape of circular arc segments, rather a shape reminiscent of an octagon on that at least partially meet the static requirements and also meets the requirements for simple manufacture.
- the cross section of the outer tube 2 has at least on it Inner surface has a shape that matches the shape of the outer surface of the Inner tube 1 follows.
- the outer tube 2 also has the entire length extending lugs 6, which in turn transversely have projections 7 for this purpose. Also the between the nose section 6 is reminiscent of the shape an octagon.
- the wall thickness of tubes 1 and 2 is chosen so that they both have about the same stability and high scaffolding without load reduction, even with extended Individual supports can be produced, for example even without a stiffener 8 between individual supports.
- the inner tube 1 also has a longitudinal recess 118, in which, for example, a scale can be attached can.
- the cross section of the recess 118 can be T-shaped.
- Fastening means provided on the bracing 8 can in connection with the illustrated embodiment of the Support be designed differently.
- This clamp has two opposite one another Clamping jaws 12, which are facing each other Side recesses 13 have both the nose 7th of the outer tube 2 (left side of the lower illustration) as also the nose 4 of the inner tube 1 (opposite side of the representation) is able to encompass, whereby the the recess 13 connecting the front part of the jaws 12 enters the recess 9 or 10 and thus the nose 4th or 7 engages behind, so that to accommodate train or Compressive forces a positive connection between the Bracing 8 and the support tube 1 or 2 guaranteed is.
- the tight clamping position in which the clamp the lugs 3 of the Inner tube 1 includes, is not by one in detail shown wedge 14 secured to reach around the Noses 6 of the outer tube 2 require a little more clamping position is by the same wedge on another Wedge step secured.
- the fastener 11 is on the Bracing 8 attached to a frame or just can be a crossbar. On the as a fastener 11 serving clamp can also have a stop 16 for the open position the clamp and one formed from two bumps 17 Guide for the temple wedge 14 may be provided.
- the bracing 8 is on in the plane the prop connected by axes 18 of two neighboring ones Supports is determined. But it is also possible To attach stiffeners to the supports outside this level, for example eccentric to the support axis 18, So that compressive and tensile forces approximately tangent to one Attack the prop. In principle, this is shown in FIG. 1 by a Connection part 19 designed in the manner of a screw clamp with a fixed jaw 20 and a sliding Jaw 21 shown. The two jaws point on the mutually facing inner surface recesses 22 and 23 on, both for receiving the lugs 7 on the outer tube as are also suitable for receiving the lugs 4 on the inner tube. For attaching a bracing 24 to the outer tube of the support is only after opening the jaw 21 the jaw width the screw clamp is slightly larger than when attaching the Bracing 24 on the corresponding connecting parts 4 of the Inner tube.
- a stiffener 25 in turn by the axes 18 adjacent supports formed plane attached.
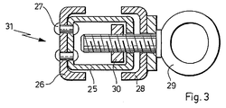
- a jaw 26 At the The end of a rod of the stiffener 25 is a jaw 26 a fastening clamp rigidly fastened by rivets 27, whose end in Fig. 2 below in the recess 10 on the nose 6 of the outer tube 2 attacks.
- the jaw 26 opposite there is a movable jaw 28 by a Screw 29 into the recess opposite the recess 10 can be pressed in on the nose 6.
- the screw 10 is guided screwably in a threaded piece 30.
- Notches not shown in the drawing can in the Bracing or the circumference of the pipes pressed or milled be for a positive transmission of vertical loads.
- the connections of the bracing to the supports is also designed as a non-positive connection to accommodate V loads.
- the fasteners 11 are designed so that they both on the outer tube 2 and on the inner tube 1 without change can be used and the forces that occur absorbing connection between a framework-like bracing and pick up the prop.
- the load capacity of a scaffold increases considerably.
- suitable truss-like stiffening can for example a load capacity of over 60 kN is created, even if the extended single support only a load capacity of 30 kN having.
- the lugs 3 run and 6 not over the entire length of the tube, but only over some longitudinal sections of pipes 1 and 2.
- each Support structure When building a supporting structure, several can be made one extendable support and one stiffener each Support structures are arranged one above the other, so that scaffold heights can be achieved that are a multiple of Height of an extended support.
- the illustrated Support can also be used as a single support for the support from any ceiling loads.
- the arranged on the inner tube 1 thread 5 for height adjustability the support can either be in the outer surface of the Noses 3 can be cut or rolled in or rolled up, for example immediately in the expediently carried out by extrusion Production of the profiles.
- the individual parts have one Outer tube length of 1.90 m, for example, a weight below 20 kg although such a trained support, also because of the special Favorable cross-sectional shape, a load capacity of 30 kN has, even if it is made of aluminum or an aluminum alloy consists.
- the cross-sectional shapes of the outer tube 2 and the inner tube 1 can also have longitudinal projections on their inner surface have to further stiffen the pipes to serve.
- the thread 5 can be single or multiple threads.
- the inner tube of the support can also be another inner tube contain.
Landscapes
- Engineering & Computer Science (AREA)
- Architecture (AREA)
- Mechanical Engineering (AREA)
- Civil Engineering (AREA)
- Structural Engineering (AREA)
- Composite Materials (AREA)
- Chemical & Material Sciences (AREA)
- Mutual Connection Of Rods And Tubes (AREA)
- Supports For Pipes And Cables (AREA)
- Clamps And Clips (AREA)
- Catching Or Destruction (AREA)
- Movable Scaffolding (AREA)
- Forms Removed On Construction Sites Or Auxiliary Members Thereof (AREA)
- Joining Of Building Structures In Genera (AREA)
- Rod-Shaped Construction Members (AREA)
Applications Claiming Priority (3)
| Application Number | Priority Date | Filing Date | Title |
|---|---|---|---|
| DE4201958 | 1992-01-25 | ||
| DE4201958A DE4201958A1 (de) | 1992-01-25 | 1992-01-25 | Traggeruest |
| EP93100580A EP0553665B1 (de) | 1992-01-25 | 1993-01-15 | Traggerüst |
Related Parent Applications (2)
| Application Number | Title | Priority Date | Filing Date |
|---|---|---|---|
| EP93100580.5 Division | 1993-01-15 | ||
| EP93100580A Division EP0553665B1 (de) | 1992-01-25 | 1993-01-15 | Traggerüst |
Publications (3)
| Publication Number | Publication Date |
|---|---|
| EP0694659A2 EP0694659A2 (de) | 1996-01-31 |
| EP0694659A3 EP0694659A3 (enExample) | 1996-03-06 |
| EP0694659B1 true EP0694659B1 (de) | 1999-08-25 |
Family
ID=6450205
Family Applications (2)
| Application Number | Title | Priority Date | Filing Date |
|---|---|---|---|
| EP95114768A Expired - Lifetime EP0694659B1 (de) | 1992-01-25 | 1993-01-15 | Traggerüst |
| EP93100580A Expired - Lifetime EP0553665B1 (de) | 1992-01-25 | 1993-01-15 | Traggerüst |
Family Applications After (1)
| Application Number | Title | Priority Date | Filing Date |
|---|---|---|---|
| EP93100580A Expired - Lifetime EP0553665B1 (de) | 1992-01-25 | 1993-01-15 | Traggerüst |
Country Status (6)
| Country | Link |
|---|---|
| US (1) | US5388666A (enExample) |
| EP (2) | EP0694659B1 (enExample) |
| JP (1) | JP2601610B2 (enExample) |
| AT (2) | ATE138149T1 (enExample) |
| DE (3) | DE4201958A1 (enExample) |
| ES (2) | ES2090717T3 (enExample) |
Families Citing this family (15)
| Publication number | Priority date | Publication date | Assignee | Title |
|---|---|---|---|---|
| IT1265505B1 (it) * | 1993-09-16 | 1996-11-22 | Interfama Srl | Montante con puntello per cassero,tavoli per solai,ponteggi e simili. |
| DE4407469C2 (de) * | 1994-03-05 | 1997-08-07 | Peri Gmbh | Kupplung zum Verbinden von Gerüstteilen |
| US6238156B1 (en) | 1999-11-05 | 2001-05-29 | Xerox Corporation | Tube assembly device |
| US6322277B1 (en) * | 2000-03-13 | 2001-11-27 | Wilian Holding Company | Clamp for interconnecting components of shoring apparatus |
| ITPD20010098U1 (it) * | 2001-10-17 | 2003-04-17 | Faresin Spa | Struttura di puntello telescopico particolarmente per uso edile |
| NL1021191C1 (nl) * | 2002-07-31 | 2004-02-03 | Scafom Internat B V | HD Ondersteuningssysteem-moduul. |
| US7165361B2 (en) * | 2003-04-24 | 2007-01-23 | Peter Vanagan | Building construction shores |
| USD504183S1 (en) | 2003-07-15 | 2005-04-19 | Wilian Holding Company | Shoring post |
| ITUD20050150A1 (it) * | 2005-09-21 | 2007-03-22 | Pilosio Spa | Dispositivo di sostegno per realizzare casseforme per solai o simili manufatti edili |
| DE102007001170B3 (de) | 2007-01-05 | 2008-07-03 | Dingler, Gerhard | Anschlusselement zur Befestigung einer Aussteifung an einem Innenrohr einer teleskopierbaren Baustütze und teleskopierbare Baustütze mit einem solchen Anschlusselement |
| EP2679746A1 (de) * | 2012-06-29 | 2014-01-01 | Hofin GmbH | Stütze für Betonierungsschalungen |
| CN103147567B (zh) * | 2013-03-21 | 2015-04-08 | 湖南金峰建达科技发展有限公司 | 自锁式脚手架固定装置 |
| DE102015219043A1 (de) | 2015-10-01 | 2017-04-06 | Doka Gmbh | Baustütze |
| GB201717019D0 (en) * | 2017-10-17 | 2017-11-29 | J Mac Safety Systems Ltd | Improvements in or relating to safety decking |
| EP4284989A4 (en) * | 2021-03-05 | 2025-03-26 | Sayfa R&D Pty Ltd | Structural post for fall protection and rope access |
Family Cites Families (16)
| Publication number | Priority date | Publication date | Assignee | Title |
|---|---|---|---|---|
| DE291046C (enExample) * | ||||
| US3313081A (en) * | 1964-04-20 | 1967-04-11 | Superior Scaffold Co | Multiple brace point extendable shore |
| JPS439239Y1 (enExample) * | 1964-04-24 | 1968-04-22 | ||
| FR2147430A5 (enExample) * | 1971-07-27 | 1973-03-09 | Mills Echafaudages Tubul | |
| DE2138075B2 (de) * | 1971-07-30 | 1979-07-05 | Wilhelm Layher Gmbh, 7129 Gueglingen | Fußspindel für Rohrgerüste |
| US4069638A (en) * | 1974-06-05 | 1978-01-24 | Scanovator Ab | Structure of lightweight bars and connector means therefore |
| DE2634665A1 (de) * | 1975-08-04 | 1977-02-17 | Ciba Geigy Ag | Verfahren zur herstellung von hartstoffpulvern |
| FR2324830A2 (fr) * | 1975-09-19 | 1977-04-15 | Self Lock Echafaudages | Echafaudage prefabrique |
| FR2421253A1 (fr) * | 1978-03-30 | 1979-10-26 | Cambon Michel | Dispositif pour faire varier la hauteur des poteaux d'un echafaudage-tour |
| US4462197A (en) * | 1980-09-10 | 1984-07-31 | Harsco Corporation | Shoring system and parts thereof |
| EP0049096B1 (en) * | 1980-09-29 | 1985-12-27 | Aluma Systems Incorporated | Bolted aluminium shoring frame |
| GB2193286B (en) * | 1986-07-11 | 1990-05-30 | Scaffolding | Improvements in or relating to a frame for a falsework support system |
| DE3641349C5 (de) * | 1986-12-03 | 2004-02-12 | Friedr. Ischebeck Gmbh | Baustütze |
| GB8915693D0 (en) * | 1989-07-08 | 1989-08-31 | Kwikform Ltd Gkn | Formwork system |
| US5031724A (en) * | 1989-12-29 | 1991-07-16 | James E. Wright | Shoring frame pillar |
| FR2658874B1 (fr) * | 1990-02-26 | 1992-05-15 | Roux Marcel | Dispositif a machoires perfectionne pour l'assemblage d'elements tubulaires. |
-
1992
- 1992-01-25 DE DE4201958A patent/DE4201958A1/de not_active Withdrawn
-
1993
- 1993-01-11 US US08/002,791 patent/US5388666A/en not_active Expired - Lifetime
- 1993-01-15 DE DE59309750T patent/DE59309750D1/de not_active Expired - Lifetime
- 1993-01-15 EP EP95114768A patent/EP0694659B1/de not_active Expired - Lifetime
- 1993-01-15 ES ES93100580T patent/ES2090717T3/es not_active Expired - Lifetime
- 1993-01-15 ES ES95114768T patent/ES2140598T3/es not_active Expired - Lifetime
- 1993-01-15 AT AT93100580T patent/ATE138149T1/de active
- 1993-01-15 EP EP93100580A patent/EP0553665B1/de not_active Expired - Lifetime
- 1993-01-15 DE DE59302538T patent/DE59302538D1/de not_active Expired - Lifetime
- 1993-01-15 AT AT95114768T patent/ATE183799T1/de active
- 1993-01-22 JP JP5009463A patent/JP2601610B2/ja not_active Expired - Lifetime
Also Published As
| Publication number | Publication date |
|---|---|
| US5388666A (en) | 1995-02-14 |
| ATE138149T1 (de) | 1996-06-15 |
| ES2140598T3 (es) | 2000-03-01 |
| DE59302538D1 (de) | 1996-06-20 |
| ES2090717T3 (es) | 1996-10-16 |
| JPH0642166A (ja) | 1994-02-15 |
| EP0694659A3 (enExample) | 1996-03-06 |
| JP2601610B2 (ja) | 1997-04-16 |
| ATE183799T1 (de) | 1999-09-15 |
| EP0694659A2 (de) | 1996-01-31 |
| EP0553665B1 (de) | 1996-05-15 |
| EP0553665A1 (de) | 1993-08-04 |
| DE59309750D1 (de) | 1999-09-30 |
| DE4201958A1 (de) | 1993-08-05 |
Similar Documents
| Publication | Publication Date | Title |
|---|---|---|
| EP0694659B1 (de) | Traggerüst | |
| DE2704398B2 (de) | Aus Ständern und Riegeln zusammensetzbares Gerüst | |
| DE1903129B2 (de) | Vorrichtung zum Anschließen eines Trägers an eine Betonstütze | |
| EP2253764A2 (de) | Rahmenförmiges Fachwerk | |
| DE2045456A1 (de) | Kupplung fur Armiereisen oder der gleichen | |
| EP0625622A1 (de) | Ausziehbare Baustütze | |
| WO2018126328A1 (de) | Pfosten für eine pfosten-riegel-konstruktion | |
| EP1081300A2 (de) | Bauwerk | |
| EP0098962B1 (de) | Montagegerüst für Schalungen für Rundbauten aus Beton od.dgl. | |
| DE2749349A1 (de) | Kuehlturm | |
| EP0317695B1 (de) | Metallstandgerüst für Bauwerke | |
| EP0443111B1 (de) | Verbindungselement zum Verbinden einer Säule mit einer rohrförmigen Strebe, zu verbindende Säule und Gestell mit wenigstens einer Säule und einer Strebe | |
| DE4317923A1 (de) | Zwischengestell für die Befestigung eines Deckenstatives | |
| EP0112861A1 (de) | Innenschalung für rotationssymmetrische Bauten. | |
| AT395197B (de) | Einrichtung zur herstellung von aus beton gefertigten baukoerpern | |
| DE3328232C2 (de) | Raumfachwerk | |
| DE2401013A1 (de) | Spindeltreppe | |
| DE1534989C3 (enExample) | ||
| DE3005319C2 (de) | Vorrichtung zum Spannen von Betonschalungen | |
| AT237876B (de) | Aus einzelnen Rohren zusammensetzbares Tragsystem | |
| DE9420917U1 (de) | Rohrgerüst, dessen Ständer Teller tragen | |
| CH719422A2 (de) | Verbindungseinrichtung für Tragelemente vorzugsweise für ein Traggerüst. | |
| DE2823526C2 (de) | Rollenrichtmaschine für Stabmaterial, insbesondere für Profilstahl, wie Schienen oder dergleichen | |
| DE9410187U1 (de) | Vorgefertigte Spindeltreppe | |
| DE7825129U1 (de) | Schornsteingelaender zur bewehrung der aus dem dach ragenden schornsteinmuendung |
Legal Events
| Date | Code | Title | Description |
|---|---|---|---|
| PUAI | Public reference made under article 153(3) epc to a published international application that has entered the european phase |
Free format text: ORIGINAL CODE: 0009012 |
|
| PUAL | Search report despatched |
Free format text: ORIGINAL CODE: 0009013 |
|
| AC | Divisional application: reference to earlier application |
Ref document number: 553665 Country of ref document: EP |
|
| AK | Designated contracting states |
Kind code of ref document: A2 Designated state(s): AT DE ES FR GB IT |
|
| AK | Designated contracting states |
Kind code of ref document: A3 Designated state(s): AT DE ES FR GB IT |
|
| 17P | Request for examination filed |
Effective date: 19960909 |
|
| GRAG | Despatch of communication of intention to grant |
Free format text: ORIGINAL CODE: EPIDOS AGRA |
|
| GRAG | Despatch of communication of intention to grant |
Free format text: ORIGINAL CODE: EPIDOS AGRA |
|
| GRAH | Despatch of communication of intention to grant a patent |
Free format text: ORIGINAL CODE: EPIDOS IGRA |
|
| 17Q | First examination report despatched |
Effective date: 19990211 |
|
| GRAH | Despatch of communication of intention to grant a patent |
Free format text: ORIGINAL CODE: EPIDOS IGRA |
|
| GRAA | (expected) grant |
Free format text: ORIGINAL CODE: 0009210 |
|
| AC | Divisional application: reference to earlier application |
Ref document number: 553665 Country of ref document: EP |
|
| AK | Designated contracting states |
Kind code of ref document: B1 Designated state(s): AT DE ES FR GB IT |
|
| REF | Corresponds to: |
Ref document number: 183799 Country of ref document: AT Date of ref document: 19990915 Kind code of ref document: T |
|
| ITF | It: translation for a ep patent filed | ||
| REF | Corresponds to: |
Ref document number: 59309750 Country of ref document: DE Date of ref document: 19990930 |
|
| ET | Fr: translation filed | ||
| GBT | Gb: translation of ep patent filed (gb section 77(6)(a)/1977) |
Effective date: 19991119 |
|
| REG | Reference to a national code |
Ref country code: ES Ref legal event code: FG2A Ref document number: 2140598 Country of ref document: ES Kind code of ref document: T3 |
|
| PLBE | No opposition filed within time limit |
Free format text: ORIGINAL CODE: 0009261 |
|
| STAA | Information on the status of an ep patent application or granted ep patent |
Free format text: STATUS: NO OPPOSITION FILED WITHIN TIME LIMIT |
|
| 26N | No opposition filed | ||
| REG | Reference to a national code |
Ref country code: GB Ref legal event code: IF02 |
|
| PGFP | Annual fee paid to national office [announced via postgrant information from national office to epo] |
Ref country code: FR Payment date: 20120201 Year of fee payment: 20 |
|
| PGFP | Annual fee paid to national office [announced via postgrant information from national office to epo] |
Ref country code: DE Payment date: 20120131 Year of fee payment: 20 |
|
| PGFP | Annual fee paid to national office [announced via postgrant information from national office to epo] |
Ref country code: GB Payment date: 20120124 Year of fee payment: 20 Ref country code: IT Payment date: 20120112 Year of fee payment: 20 |
|
| REG | Reference to a national code |
Ref country code: DE Ref legal event code: R071 Ref document number: 59309750 Country of ref document: DE |
|
| REG | Reference to a national code |
Ref country code: GB Ref legal event code: PE20 Expiry date: 20130114 |
|
| REG | Reference to a national code |
Ref country code: AT Ref legal event code: MK07 Ref document number: 183799 Country of ref document: AT Kind code of ref document: T Effective date: 20130115 |
|
| PGFP | Annual fee paid to national office [announced via postgrant information from national office to epo] |
Ref country code: AT Payment date: 20120123 Year of fee payment: 20 |
|
| PG25 | Lapsed in a contracting state [announced via postgrant information from national office to epo] |
Ref country code: DE Free format text: LAPSE BECAUSE OF EXPIRATION OF PROTECTION Effective date: 20130116 Ref country code: GB Free format text: LAPSE BECAUSE OF EXPIRATION OF PROTECTION Effective date: 20130114 |
|
| PGFP | Annual fee paid to national office [announced via postgrant information from national office to epo] |
Ref country code: ES Payment date: 20120124 Year of fee payment: 20 |
|
| REG | Reference to a national code |
Ref country code: ES Ref legal event code: FD2A Effective date: 20130703 |
|
| PG25 | Lapsed in a contracting state [announced via postgrant information from national office to epo] |
Ref country code: ES Free format text: LAPSE BECAUSE OF EXPIRATION OF PROTECTION Effective date: 20130116 |