EP0585576B1 - Lochstanze - Google Patents

Lochstanze Download PDF

Info

Publication number
EP0585576B1
EP0585576B1 EP93111350A EP93111350A EP0585576B1 EP 0585576 B1 EP0585576 B1 EP 0585576B1 EP 93111350 A EP93111350 A EP 93111350A EP 93111350 A EP93111350 A EP 93111350A EP 0585576 B1 EP0585576 B1 EP 0585576B1
Authority
EP
European Patent Office
Prior art keywords
workpiece
die
punching
punch
worktable
Prior art date
Legal status (The legal status is an assumption and is not a legal conclusion. Google has not performed a legal analysis and makes no representation as to the accuracy of the status listed.)
Expired - Lifetime
Application number
EP93111350A
Other languages
English (en)
French (fr)
Other versions
EP0585576A1 (de
Inventor
Heinrich Gerdes
Alois Feldker
Current Assignee (The listed assignees may be inaccurate. Google has not performed a legal analysis and makes no representation or warranty as to the accuracy of the list.)
Feldker Alois
Original Assignee
Feldker Alois
Priority date (The priority date is an assumption and is not a legal conclusion. Google has not performed a legal analysis and makes no representation as to the accuracy of the date listed.)
Filing date
Publication date
Application filed by Feldker Alois filed Critical Feldker Alois
Publication of EP0585576A1 publication Critical patent/EP0585576A1/de
Application granted granted Critical
Publication of EP0585576B1 publication Critical patent/EP0585576B1/de
Anticipated expiration legal-status Critical
Expired - Lifetime legal-status Critical Current

Links

Images

Classifications

    • BPERFORMING OPERATIONS; TRANSPORTING
    • B21MECHANICAL METAL-WORKING WITHOUT ESSENTIALLY REMOVING MATERIAL; PUNCHING METAL
    • B21DWORKING OR PROCESSING OF SHEET METAL OR METAL TUBES, RODS OR PROFILES WITHOUT ESSENTIALLY REMOVING MATERIAL; PUNCHING METAL
    • B21D28/00Shaping by press-cutting; Perforating
    • B21D28/24Perforating, i.e. punching holes
    • B21D28/34Perforating tools; Die holders
    • BPERFORMING OPERATIONS; TRANSPORTING
    • B21MECHANICAL METAL-WORKING WITHOUT ESSENTIALLY REMOVING MATERIAL; PUNCHING METAL
    • B21DWORKING OR PROCESSING OF SHEET METAL OR METAL TUBES, RODS OR PROFILES WITHOUT ESSENTIALLY REMOVING MATERIAL; PUNCHING METAL
    • B21D43/00Feeding, positioning or storing devices combined with, or arranged in, or specially adapted for use in connection with, apparatus for working or processing sheet metal, metal tubes or metal profiles; Associations therewith of cutting devices
    • B21D43/02Advancing work in relation to the stroke of the die or tool
    • B21D43/04Advancing work in relation to the stroke of the die or tool by means in mechanical engagement with the work
    • B21D43/10Advancing work in relation to the stroke of the die or tool by means in mechanical engagement with the work by grippers

Definitions

  • the invention relates to a punch, in which the workpiece is supported on a support plate of a work table or the like and can be displaced there relative to the tool, wherein a plurality of openings or holes can be punched into the workpiece one behind the other by means of at least one punch which can be moved vertically from top to bottom and which can be punched in a corresponding recess of a die occurs during and after the punching process, a cutting edge being formed between the punch and the die, which cuts out the opening or the hole from the workpiece.
  • the invention further relates to a method for punching according to the preamble of claim 6. A punch and a method for punching according to this type are known from DE-A-2718536.
  • a disadvantage of this known arrangement is that during the punching process, a burr forms on the workpiece in the peripheral region of the opening, which burrs into the die. This burr formation occurs all the more, the more the tools, that is to say the punch and / or die, are worn out.
  • the result of the burr formation is that the workpiece can only be moved with difficulty to the next punching position, because the previously punched hole and the burr formed thereby hold the workpiece in the die relative to the die.
  • the hindrance caused by the ridge can also have a greater impact the more holes are already made in the workpiece.
  • the invention is accordingly based on the object of designing a hole punch of the type mentioned in such a way that, despite a possibly relatively strong formation of a burr, a cyclical displacement of the workpiece to the location of the next punch hole is effortless and in particular also possible automatically.
  • This object is achieved in that the support plate and / or the worktable can be raised so that the workpiece can be subjected to an upward stroke relative to the die before and during the displacement after a previous punching process.
  • the burr formation can no longer hinder the movement of the workpiece to the next strand location, because due to the stroke the ridge reaching into the recess of the die is lifted out of the die, so that a transverse displacement across the burr and across for vertical extension of the punch and die.
  • This stroke can be relatively small, in particular it depends on the height of the ridge, which in turn depends on the material. As a rule, it is sufficient if the stroke has a size of approximately 2 mm.
  • the support plate and / or the worktable is provided with an articulated bearing at its end facing away from the die and the tool, this end of the support plate being pivotable about a horizontal axis. This means that in this area the support plate does not perform a stroke, so that the stroke only has an effect on the tool side, ie on the side facing away from the joint axis.
  • a particular advantage of this arrangement is that it is possible due to the use of a hinge axis defining the one edge of the support plate, but nevertheless to support the support plate exactly in the machine during the punching process.
  • the hole punch is provided with a stop rail which is provided with mountings which can be fastened to the rail in different positions, the stop rail being movable relative to the work table and in the direction of its longitudinal axis in addition to its transverse movement.
  • stop rail it is essential that the stop rail can be easily adjusted in both directions, which makes it necessary to move the workpiece in a special way after the punching process.
  • the invention provides that the workpiece before and during the displacement after a previous one Punching is subjected to an upward stroke relative to the die.
  • the device consists of a work table and support plate 1 and a stop rail 2, which is displaceable relative to the work table and support plate 1 in two directions shown by the double arrows 3 and 4.
  • a stepping motor 5 is provided which drives a spindle 6 which engages in a spindle nut on the stop rail 2 and thus moves the stop rail 2 in the direction of the double arrow 4.
  • the stop rail 2 is driven synchronously by a corresponding spindle 7.
  • the double arrow 3 that is to say in the longitudinal direction of the stop rail 2
  • the latter is moved by means of a stepping motor 8 via a spindle 9.
  • the actual workpiece holders which can be attached to the stop rail 2 at different distances from one another due to the bores 10, are designated by 11 and 12.
  • a punch 16 acts in the direction of arrow 13 on the workpieces held in this way, the die holder 14 being indicated by dashed lines and the tool holder or the tool being able to extend through an opening 15 in the work table.
  • FIG. 2 is the hole punch according to FIG. 1 with a workpiece 17 placed on the work table and support plate 1 and held there. This is to be provided with punch holes 18, as indicated schematically. Since the punched holes 18 are punched one behind the other, the displacement movement of the workpiece 17 is impeded by the burr of the previously punched holes 18 in the manner described. This hindrance is avoided if the worktable and support plate 1, as provided according to the invention, is subjected to a stroke.
  • This stroke can come about, for example, in that the worktable and support plate 1 is evenly raised at all four corners, that is in the direction of the arrows 19, and that the workpiece 17 is displaced in the raised state.
  • a particularly advantageous method for bringing about the stroke is that, as shown in FIG. 2, the worktable or support plate 1 has an articulated bearing at its end facing away from the die 20 (see FIG. 3) and the tool 21 ( Bearing blocks 22 and 23) is provided so that this end of the worktable or support plate 1 is pivotable about a horizontal axis 24.
  • the work table and support plate 1 is thus in the direction of the double arrow 25 pivoted around the axis 24, the pivoting path being extremely short in this area, because at the end opposite the axis 24, that is to say in the area of the tool and the workpiece, the pivoting path according to the double arrow 26 only has to be approximately 2 mm in order to position the workpiece 17 relative to the Work table and support plate 1 to move.
  • the lifting or swiveling movement can take place automatically and be coupled to the displacement process.
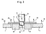
  • Fig. 3 illustrates on a greatly enlarged scale and in a schematic representation these relationships between the die 20 and the tool 21 (see FIG. 2), a cutting edge is formed, which forms a punching movement in the direction of arrow 13 against the workpiece 17 Ridges 27 leads, which protrudes into the associated recess 28 of the die 20, so that a displacement of the workpiece 17 in the horizontal direction is hindered.
  • the workpiece 17 is subjected to a stroke at which it is moved away from the die 20 in the direction of the arrow 29, so that the ridge 27 emerges from the recess 28.
  • the worktable or support plate 1 is moved back against the direction of the arrows 30, so that the workpiece 17 is supported again on the die 20 and the next punching process is carried out can.
  • the invention provides that the workpiece before and during the displacement after a previous one Punching is subjected to an upward stroke relative to the die.

Landscapes

  • Engineering & Computer Science (AREA)
  • Mechanical Engineering (AREA)
  • Perforating, Stamping-Out Or Severing By Means Other Than Cutting (AREA)
  • Punching Or Piercing (AREA)

Description

  • Die Erfindung betrifft eine Lochstanze, bei welcher das Werkstück auf einer Auflagerplatte eines Arbeitstisches oder dergleichen aufgelagert und dort relativ zum Werkzeug verschiebbar ist, wobei mehrere Öffnungen oder Löcher hintereinander in das Werkstück mittels wenigstens eines senkrecht von oben nach unten bewegbaren Lochstempels einstanzbar sind, der in eine entsprechende Ausnehmung einer Matrize während und nach dem Stanzvorgang eintritt, wobei zwischen Stempel und Matrize eine Schneidkante gebildet ist, die die Öffnung oder das Loch aus dem Werkstück ausschneidet. Ferner betrifft die Erfindung ein Verfahren zum Lochstanzen nach dem Oberbegriff von Anspruch 6. Eine Lochstanze sowie ein Verfahren zum Lochstanzen gemäß dieser Gattung sind aus der DE-A-2718536 bekannt.
  • Nachteilig bei dieser bekannten Anordnung ist es, daß während des Stanzvorganges sich am Werkstück im Umfangsbereich der Öffnung ein Grat ausbildet, welcher in die Matrize hineintritt. Diese Gratausbildung tritt umso stärker auf, je mehr die Werkzeuge, also Stempel und/oder Matrize verschlissen sind.
  • Die Gratausbildung hat zur Folge, daß das Werkstück sich zur nächsten Stanzlage nur mühevoll verschieben läßt, weil das zuvor gestanzte Loch und der dadurch gebildete Grat das Werkstück relativ zur Matrize in dieser festhält. Die durch den Grat auftretende Behinderung kann sich außerdem umso stärker auswirken, je mehr Löcher bereits in das Werkstück eingebracht sind.
  • Der Erfindung liegt demgemäß die Aufgabe zugrunde, eine Lochstanze der eingangs genannten Art so auszubilden, daß trotz einer gegebenenfalls relativ starken Ausbildung eines Grates ein taktweises Verschieben des Werkstückes zur Stelle des jeweils nächsten Stanzloches mühelos und insbesondere auch automatisch möglich ist.
  • Diese Aufgabe wird erfindungsgemäß dadurch gelöst, daß die Auflagerplatte und/oder die Arbeitstischplatte anhebbar ist, so daß das Werkstück vor und während der Verschiebung nach einem vorherigen Stanzvorgang einem nach oben gerichteten Hub relativ zur Matrize unterworfen werden kann.
  • Auf diese Weise wird erreicht, daß sich die Gratausbildung nicht mehr hindernd gegen die Verschiebung des Werkstückes zum nächsten Strangplatz auswirken kann, da aufgrund des Hubes der in die Ausnehmung der Matrize reichende Grat aus dieser herausgehoben wird, so daß eine Querverschiebung quer zum Grat und quer zur senkrechten Erstreckung von Stempel und Matrize möglich wird.
  • Dieser Hub kann relativ klein sein, insbesondere ist er von der Höhe des Grates abhängig, der seinerseits materialabhängig ist. In der Regel genügt es, wenn der Hub eine Größe von etwa 2 mm hat.
  • Besonders vorteilhaft ist es, wenn die Auflagerplatte und/oder die Arbeitstischplatte an ihrem der Matrize und dem Werkzeug abgewandten Ende mit einer gelenkigen Lagerung versehen ist, wobei dieses Ende der Auflagerplatte um eine horizontale Achse schwenkbar ist. Dies bedeutet, daß in diesem Bereich die Auflagerplatte keinen Hub durchführt, so daß der Hub nur werkzeugseitig, also auf der der Gelenkachse abgewandten Seite sich auswirkt.
  • Ein besonderer Vorteil dieser Anordnung besteht darin, daß es aufgrund der Verwendung einer die eine Kante der Auflagerplatte festlegenden Gelenkachse möglich ist, gleichwohl die Auflagerplatte exakt in der Maschine während des Stanzvorganges zu lagern.
  • Besonders vorteilhaft kann es sein, wenn die Lochstanze mit einer Anschlagschiene versehen ist, welche mit in verschiedenen Lagen zur Schiene an dieser befestigbaren Halterungen versehen ist, wobei zusätzlich zu ihrer Querbewegung die Anschlagschiene relativ zum Arbeitstisch und in Richtung ihrer Längsachse bewegbar ist.
  • Bei dieser Anordnung ist es nämlich wesentlich, daß die Anschlagschiene sich in beiden Richtungen mühelos verstellen läßt, was in besonderer Weise eine Bewegbarkeit des Werkstückes nach dem Stanzvorgang erforderlich macht.
  • Bei einem hierauf basierenden Verfahren zum Lochstanzen, bei welchem das Werkstück auf einer Auflagerplatte eines Arbeitstisches oder dergleichen aufgelagert und dort relativ zum Werkzeug verschoben wird, wobei mehrere Öffnungen oder Löcher hintereinander in das Werkstück mittels wenigstens eines senkrecht von oben nach unten bewegbaren Lochstempels eingestanzt werden, der in eine entsprechende Ausnehmung der Matrize während und nach dem Stanzvorgang eintritt, wobei zwischen Stempel und Matrize eine Schneidkante gebildet wird, die die Öffnung oder das Loch aus dem Werkstück ausschneidet, ist erfindungsgemäß vorgesehen, daß das Werkstück vor und während der Verschiebung nach einem vorherigen Stanzvorgang einem nach oben gerichteten Hub relativ zur Matrize unterworfen wird.
  • Die Erfindung wird im folgenden anhand von Ausführungsbeispielen in der Zeichnung näher erläutert.
  • Fig. 1
    zeigt in perspektivischer Darstellung ein Ausführungsbeispiel der erfindungsgemäßen Lochstanze.
    Fig. 2
    ist die Lochstanze nach Fig. 1 bei auf der Arbeitstisch- und Auflagerplatte 1 gehaltertem Werkstück.
    Fig. 3
    ist in schematischer Darstellung und vergrößertem Maßstab der Schnitt III-III nach Fig. 2.
  • Gemäß Fig. 1 besteht die Vorrichtung aus einer Arbeitstisch- und Auflagerplatte 1 und einer Anschlagschiene 2, die gegenüber der Arbeitstisch- und Auflagerplatte 1 in zwei durch die Doppelpfeile 3 und 4 wiedergegebenen Richtungen verschiebbar ist. Zur Verschiebung in Querrichtung gemäß dem Doppelpfeil 4 ist ein Schrittmotor 5 vorgesehen, der eine Spindel 6 antreibt, die in eine Spindelmutter an der Anschlagschiene 2 eingreift und damit die Anschlagschiene 2 in Richtung des Doppelpfeiles 4 bewegt. Auf der gegenüberliegenden Seite wird die Anschlagschiene 2 synchron durch eine entsprechende Spindel 7 angetrieben. In Richtung des Doppelpfeiles 3, also in Längsrichtung der Anschlagschiene 2 wird diese mittels eines Schrittmotors 8 über eine Spindel 9 bewegt.
  • Die eigentlichen Werkstückhalter, die in unterschiedlichen Abständen zueinander aufgrund der Bohrungen 10 in der Anschlagschiene 2 an dieser anbringbar sind, sind mit 11 und 12 bezeichnet.
  • Ein Lochstempel 16 wirkt in Richtung des Pfeiles 13 auf die so gehalterten Werkstücke, wobei der Matrizenhalter 14 gestrichelt angedeutet ist und dieser bzw. das Werkzeug sich durch eine Öffnung 15 im Arbeitstisch hindurch erstrecken kann.
  • Fig. 2 ist die Lochstanze nach Fig. 1 mit einem auf die Arbeitstisch- und Auflagerplatte 1 aufgelegten und dort gehalterten Werkstück 17. Dieses soll mit Stanzlöchern 18, wie schematisch angedeutet, versehen werden. Da die Stanzlöcher 18 hintereinander gestanzt werden, wird die Verschiebebewegung des Werkstückes 17 durch den Grat der jeweils zuvor gestanzten Löcher 18 in der beschriebenen Weise behindert. Diese Behinderung wird vermieden, wenn die Arbeitstisch- und Auflagerplatte 1, wie erfindungsgemäß vorgesehen, einem Hub unterworfen wird.
  • Dieser Hub kann beispielsweise dadurch zustande kommen, daß die Arbeitstisch- und Auflagerplatte 1 an allen vier Ecken, also in Richtung der Pfeile 19, gleichmäßig angehoben wird, und daß im angehobenen Zustand das Werkstück 17 verschoben wird.
  • Eine besonders vorteilhafte Methode zur Herbeiführung des Hubes besteht aber darin, daß, wie in Fig. 2 dargestellt, die Arbeitstisch- oder Auflagerplatte 1 an ihrem der Matrize 20 (vgl. Fig. 3) und dem Werkzeug 21 abgewandten Ende mit einer gelenkigen Lagerung (Lagerböcke 22 und 23) versehen ist, so daß dieses Ende der Arbeitstisch- oder Auflagerplatte 1 um eine horizontale Achse 24 schwenkbar ist. Die Arbeitstisch- und Auflagerplatte 1 wird also in Richtung des Doppelpfeiles 25 um die Achse 24 herumgeschwenkt, wobei in diesem Bereich der Schwenkweg äußerst gering ist, weil am der Achse 24 gegenüberliegenden Ende, also im Bereich von Werkzeug und Werkstück, der Schwenkweg gemäß Doppelpfeil 26 nur etwa 2 mm betragen muß, um das Werkstück 17 relativ zur Arbeitstisch- und Auflagerplatte 1 zu verschieben.
  • Die Hub- oder Schwenkbewegung kann automatisch erfolgen und an den Verschiebevorgang angekoppelt sein.
  • Fig. 3 verdeutlicht in stark vergrößertem Maßstab und in schematischer Darstellung diese Verhältnisse Zwischen der Matrize 20 und dem Werkzeug 21 (vgl. Fig. 2) wird eine Schneidkante gebildet, die bei einer Stanzbewegung in Richtung des Pfeiles 13 gegen das Werkstück 17 zur Ausbildung eines Grates 27 führt, der in die zugehörige Ausnehmung 28 der Matrize 20 hineinragt, so daß eine Verschiebung des Werkstückes 17 in horizontaler Richtung behindert ist. Um die Verschiebung dennoch mühelos durchführen zu können, wird das Werkstück 17 einem Hub unterworfen, bei welchem es in Richtung des Pfeiles 29 von der Matrize 20 weg bewegt wird, so daß der Grat 27 aus der Ausnehmung 28 heraustritt. Diese Hubbewegung des Werkstückes 17, mit welcher es von der Matrize 20 getrennt wird, wird durch die Arbeitstisch- und Auflagerplatte 1 herbeigeführt, welche im Lochbereich das Werkstück 17 untergreift und bei ihrer Bewegung in Richtung des Pfeiles 30, das auf diese Weise in Richtung des Pfeiles 29 bewegte Werkstück mitnimmt.
  • Nach dem Verschiebevorgang, wenn sich also das Werkstück 17 in der nächsten Stanzposition befindet, wird die Arbeitstisch- oder Auflagerplatte 1 entgegen der Richtung der Pfeile 30 zurückbewegt, so daß das Werkstück 17 wieder zur Auflagerung auf der Matrize 20 kommt und der nächste Stanzvorgang durchgeführt werden kann.
  • Bei einem hierauf basierenden Verfahren zum Lochstanzen, bei welchem das Werkstück auf einer Auflagerplatte eines Arbeitstisches oder dergleichen aufgelagert und dort relativ zum Werkzeug verschoben wird, wobei mehrere Öffnungen oder Löcher hintereinander in das Werkstück mittels wenigstens eines senkrecht von oben nach unten bewegbaren Lochstempels eingestanzt werden, der in eine entsprechende Ausnehmung der Matrize während und nach dem Stanzvorgang eintritt, wobei zwischen Stempel und Matrize eine Schneidkante gebildet wird, die die Öffnung oder das Loch aus dem Werkstück ausschneidet, ist erfindungsgemäß vorgesehen, daß das Werkstück vor und während der Verschiebung nach einem vorherigen Stanzvorgang einem nach oben gerichteten Hub relativ zur Matrize unterworfen wird.

Claims (6)

  1. Lochstanze, bei welcher das Werkstück auf einer Auflagerplatte eines Arbeitstisches oder dergleichen aufgelagert (1) und dort relativ zum Werkzeug (21) verschiebbar ist, wobei mehrere Öffnungen oder Löcher hintereinander in das Werkstück (17) mittels wenigstens eines senkrecht von oben nach unten bewegbaren Lochstampels (21) einstanzbar sind, dar in eine entsprechende Ausnehmung (28) einer Matrize (20) während und nach dem Stanzvorgang eintritt, wobei zwischen Stempel (21) und Matrize (20) eine Schneidkante gebildet ist, die die Öffnung oder das Loch aus dem Werkstück ausschneidet, dadurch gekennzeichnet, daß die Auflagerplatte und/oder die Arbeitstischplatte (1) anhebbar ist, so daß das Werkstück (17) vor und während der Verschiebung nach einem vorherigen Stanzvorgang einem nach oben gerichteten Hub relativ zur Matrize (20) unterworfen werden kann.
  2. Lochstanze nach Anspruch 1, dadurch gekennzeichnet, daß der Hub eine Größe von etwa 2 mm hat.
  3. Lochstanze nach einem der vorhergehenden Ansprüche, dadurch gekennzeichnet, daß die Auflagerplatte und/oder die Arbeitstischplatte (1) an ihren der Matrize (20) und dem Werkzeug (21) abgewandten Ende mit einer gelenkigen Lagerung (22,23) versehen ist.
  4. Lochstanze nach Anspruch 4, dadurch gekennzeichnet, daß das Ende der Auflagerpaltte und/oder der Arbeitstischplatte (1) um eine horizontale Achse (24) schwenkbar ist.
  5. Lochstanze nach einem der vorhergehenden Ansprüche, dadurch gekennzeichnet, daß die Lochstanze mit einer Anschlagschiene (2) versehen ist, welche mit in verschiedenen Lagen zur Schiene an dieser befestigbaren Halterungen (11,12) versehen ist, wobei zusätzlich zu ihrer Querbewegung die Anschlagschiene (2) relativ zum Arbeitstisch (1) und in Richtung ihrer Längsachse bewegbar ist.
  6. Verfahren zum Lochstanzen, bei welchem das Werkstück (17) auf einer Auflagerplatte eines Arbeitstisches oder dergleichen (1) aufgelagert und dort relativ zum Werkzeug (21) verschoben wird, wobei mehrere Öffnungen oder Löcher hintereinander in das Werkstück (17) mittels wenigstens eines senkrecht von oben nach unten bewegbaren Lochstempels (21) eingestanzt werden, der in eine entsprechende Ausnehmung (28) der Matrize (20) während und nach dem Stanzvorgang eintritt, wobei zwischen Stempel (21) und Matrize (20) eine Schneidkante gebildet wird, die die Öffnung oder das Loch aus dem Werkstück (17) ausschneidet, dadurch gekennzeichnet, daß das Werkstück (17) vor und während der Verschiebung nach einem vorherigen Stanzvorgang einem nach oben gerichteten Hub relativ zur Matrize (20) unterworfen wird.
EP93111350A 1992-08-05 1993-07-15 Lochstanze Expired - Lifetime EP0585576B1 (de)

Applications Claiming Priority (2)

Application Number Priority Date Filing Date Title
DE4225836A DE4225836A1 (de) 1992-08-05 1992-08-05 Lochstanze
DE4225836 1992-08-05

Publications (2)

Publication Number Publication Date
EP0585576A1 EP0585576A1 (de) 1994-03-09
EP0585576B1 true EP0585576B1 (de) 1996-01-31

Family

ID=6464865

Family Applications (1)

Application Number Title Priority Date Filing Date
EP93111350A Expired - Lifetime EP0585576B1 (de) 1992-08-05 1993-07-15 Lochstanze

Country Status (3)

Country Link
EP (1) EP0585576B1 (de)
DE (2) DE4225836A1 (de)
ES (1) ES2084420T3 (de)

Families Citing this family (8)

* Cited by examiner, † Cited by third party
Publication number Priority date Publication date Assignee Title
DE10243020A1 (de) 2002-09-17 2004-03-25 Ina-Schaeffler Kg Kugelgewindetrieb und Verfahren zum Herstellen einer Spindelmutter, insbesondere eines Kugelgewindetriebes
CN102225551B (zh) * 2011-04-07 2013-06-05 江汉大学 一种晒图机用聚四氟乙烯滤网的生产工艺
EP2829334B1 (de) * 2013-07-25 2015-12-30 TRUMPF Werkzeugmaschinen GmbH + Co. KG Antriebsvorrichtung für eine Bewegungseinheit einer Werkzeugmaschine sowie Werkzeugmaschine mit einer derartigen Antriebsvorrichtung
CN105081069A (zh) * 2015-09-18 2015-11-25 秦皇岛信越智能装备有限公司 一种车轮在线打孔机
CN107350341A (zh) * 2017-08-04 2017-11-17 格林精密部件(苏州)有限公司 一种用于工件顶端冲压六角孔的工装
CN111185522A (zh) * 2020-02-17 2020-05-22 黄薇婷 一种金属圆管自动加工装置
CN112620521A (zh) * 2020-11-24 2021-04-09 南京金志精密机电有限公司 一种精密机电加工用生产线
CN113245440B (zh) * 2021-06-29 2021-09-28 南通科帆钣金有限公司 一种钣金冲孔装置

Family Cites Families (4)

* Cited by examiner, † Cited by third party
Publication number Priority date Publication date Assignee Title
GB1563921A (en) * 1976-04-26 1980-04-02 Mercer Nairne & Co Ltd Assemblies for workpiece positioning
US4879894A (en) * 1988-06-06 1989-11-14 Roper Whitney Company Press with movable workpiece support carrier
DE3931320C1 (de) * 1989-09-20 1991-08-08 Feintool International Holding, Lyss, Ch
DE4121981A1 (de) * 1991-07-03 1993-01-07 Heinrich Gerdes Vorrichtung zur halterung von werkstuecken bei lochstanzen

Also Published As

Publication number Publication date
ES2084420T3 (es) 1996-05-01
EP0585576A1 (de) 1994-03-09
DE4225836A1 (de) 1994-02-10
DE59301540D1 (de) 1996-03-14

Similar Documents

Publication Publication Date Title
DE69632478T2 (de) Stanzpresse und stanzverfahren
DE69406545T2 (de) Mechanische hand zum transportieren von platten, insbesondere metallplatten relativ zu einer werkzeugmaschine wie etwa einer abkantpresse
DE4128194C2 (de) Vorrichtung zum automatischen Herstellen von Blechteilen
DE3623035C1 (de) Verfahren und Vorrichtung zum Herstellen eines eine scharfe Schneidkante aufweisenden Stanzwerkzeugs
EP2008736B1 (de) Werkzeugmaschine und Verfahren zum Ausschleusen eines Werkstückteils
EP1784291A1 (de) Bearbeitungseinrichtung, insbesondere plattenaufteilsägeeinrichtung
EP3885085B1 (de) Stanzwerkzeug
DE69122023T2 (de) Komplexe werkzeugmaschine
EP0585576B1 (de) Lochstanze
DE19855919A1 (de) Preßvorrichtung
DE3642900A1 (de) Verfahren und vorrichtung zur befestigung von karosserieblechen
DE19858791B4 (de) Plattenbearbeitungsmaschine
DE2727445B1 (de) Verfahren und Vorrichtung zum Ausschneiden und/oder Lochen von Werkstuecken aus metallischen Flachwerkstoffen
EP2184116A1 (de) Verfahren zum Ausschleusen von Blechteilen aus Stanzmaschinen
DE102016118175A1 (de) Werkzeugmaschine und Verfahren zum Bearbeiten von plattenförmigen Werkstücken
WO2018055183A1 (de) Werkzeug und werkzeugmaschine sowie verfahren zur bearbeitung von plattenförmigen werkstücken
DE3530783A1 (de) Kombinierte anlage fuer die elektroerosion mittels draht und werkzeug
EP0124746A1 (de) Stanzmaschine
EP0074041B1 (de) Schneidpresse zur Bearbeitung von tafelförmigen Werkstücken
DE20003048U1 (de) Verputzvorrichtung, insbesondere Schweißraupenputzmaschine
DE2838733C2 (de) Profilstahlschere und/oder -stanze
EP3515628A1 (de) Verfahren und werkzeugmaschine zum bearbeiten von plattenförmigen werkstücken, insbesondere von blechen
DE19845599B4 (de) Vorrichtung und Verfahren zum Herstellen von Platinen
EP2635399A2 (de) Vorrichtung zum bearbeiten eines grossformatigen werkstücks
DE102016119464B4 (de) Werkzeug und Werkzeugmaschine sowie Verfahren zur Bearbeitung von plattenförmigen Werkstücken

Legal Events

Date Code Title Description
PUAI Public reference made under article 153(3) epc to a published international application that has entered the european phase

Free format text: ORIGINAL CODE: 0009012

AK Designated contracting states

Kind code of ref document: A1

Designated state(s): BE DE ES GB IT NL

17P Request for examination filed

Effective date: 19940902

17Q First examination report despatched

Effective date: 19950203

ITF It: translation for a ep patent filed
GRAA (expected) grant

Free format text: ORIGINAL CODE: 0009210

AK Designated contracting states

Kind code of ref document: B1

Designated state(s): BE DE ES GB IT NL

REF Corresponds to:

Ref document number: 59301540

Country of ref document: DE

Date of ref document: 19960314

GBT Gb: translation of ep patent filed (gb section 77(6)(a)/1977)

Effective date: 19960222

REG Reference to a national code

Ref country code: ES

Ref legal event code: FG2A

Ref document number: 2084420

Country of ref document: ES

Kind code of ref document: T3

PLBE No opposition filed within time limit

Free format text: ORIGINAL CODE: 0009261

STAA Information on the status of an ep patent application or granted ep patent

Free format text: STATUS: NO OPPOSITION FILED WITHIN TIME LIMIT

26N No opposition filed
PGFP Annual fee paid to national office [announced via postgrant information from national office to epo]

Ref country code: DE

Payment date: 19990617

Year of fee payment: 7

PGFP Annual fee paid to national office [announced via postgrant information from national office to epo]

Ref country code: GB

Payment date: 19990702

Year of fee payment: 7

PGFP Annual fee paid to national office [announced via postgrant information from national office to epo]

Ref country code: BE

Payment date: 19990716

Year of fee payment: 7

PGFP Annual fee paid to national office [announced via postgrant information from national office to epo]

Ref country code: ES

Payment date: 19990726

Year of fee payment: 7

PGFP Annual fee paid to national office [announced via postgrant information from national office to epo]

Ref country code: NL

Payment date: 19990730

Year of fee payment: 7

PG25 Lapsed in a contracting state [announced via postgrant information from national office to epo]

Ref country code: GB

Free format text: LAPSE BECAUSE OF NON-PAYMENT OF DUE FEES

Effective date: 20000715

PG25 Lapsed in a contracting state [announced via postgrant information from national office to epo]

Ref country code: ES

Free format text: LAPSE BECAUSE OF NON-PAYMENT OF DUE FEES

Effective date: 20000716

PG25 Lapsed in a contracting state [announced via postgrant information from national office to epo]

Ref country code: BE

Free format text: LAPSE BECAUSE OF NON-PAYMENT OF DUE FEES

Effective date: 20000731

BERE Be: lapsed

Owner name: FELDKER ALOIS

Effective date: 20000731

Owner name: GERDES HEINRICH

Effective date: 20000731

PG25 Lapsed in a contracting state [announced via postgrant information from national office to epo]

Ref country code: NL

Free format text: LAPSE BECAUSE OF NON-PAYMENT OF DUE FEES

Effective date: 20010201

GBPC Gb: european patent ceased through non-payment of renewal fee

Effective date: 20000715

NLV4 Nl: lapsed or anulled due to non-payment of the annual fee

Effective date: 20010201

PG25 Lapsed in a contracting state [announced via postgrant information from national office to epo]

Ref country code: DE

Free format text: LAPSE BECAUSE OF NON-PAYMENT OF DUE FEES

Effective date: 20010501

REG Reference to a national code

Ref country code: ES

Ref legal event code: FD2A

Effective date: 20010810

PG25 Lapsed in a contracting state [announced via postgrant information from national office to epo]

Ref country code: IT

Free format text: LAPSE BECAUSE OF NON-PAYMENT OF DUE FEES;WARNING: LAPSES OF ITALIAN PATENTS WITH EFFECTIVE DATE BEFORE 2007 MAY HAVE OCCURRED AT ANY TIME BEFORE 2007. THE CORRECT EFFECTIVE DATE MAY BE DIFFERENT FROM THE ONE RECORDED.

Effective date: 20050715