EP0548118B1 - Vorrichtung und verfahren zum temperieren von chemischen und/oder biochemischen und/oder mikrobiologischen substanzen - Google Patents
Vorrichtung und verfahren zum temperieren von chemischen und/oder biochemischen und/oder mikrobiologischen substanzen Download PDFInfo
- Publication number
- EP0548118B1 EP0548118B1 EP91915512A EP91915512A EP0548118B1 EP 0548118 B1 EP0548118 B1 EP 0548118B1 EP 91915512 A EP91915512 A EP 91915512A EP 91915512 A EP91915512 A EP 91915512A EP 0548118 B1 EP0548118 B1 EP 0548118B1
- Authority
- EP
- European Patent Office
- Prior art keywords
- support plate
- installation
- metal block
- block arrangement
- temperature
- Prior art date
- Legal status (The legal status is an assumption and is not a legal conclusion. Google has not performed a legal analysis and makes no representation as to the accuracy of the status listed.)
- Expired - Lifetime
Links
- 239000000126 substance Substances 0.000 title claims abstract description 46
- 238000000034 method Methods 0.000 title claims description 13
- 230000008569 process Effects 0.000 title claims description 7
- 230000002906 microbiologic effect Effects 0.000 title claims description 6
- 238000005496 tempering Methods 0.000 title abstract description 6
- 229910052751 metal Inorganic materials 0.000 claims abstract description 85
- 239000002184 metal Substances 0.000 claims abstract description 85
- 230000032258 transport Effects 0.000 claims description 39
- 229920003023 plastic Polymers 0.000 claims description 16
- 239000004033 plastic Substances 0.000 claims description 16
- 239000007789 gas Substances 0.000 claims description 9
- 238000001035 drying Methods 0.000 claims description 8
- IJGRMHOSHXDMSA-UHFFFAOYSA-N Atomic nitrogen Chemical compound N#N IJGRMHOSHXDMSA-UHFFFAOYSA-N 0.000 claims description 5
- 229910001873 dinitrogen Inorganic materials 0.000 claims description 5
- 229910052709 silver Inorganic materials 0.000 claims description 4
- 239000004332 silver Substances 0.000 claims description 4
- 229910052782 aluminium Inorganic materials 0.000 claims description 3
- XAGFODPZIPBFFR-UHFFFAOYSA-N aluminium Chemical compound [Al] XAGFODPZIPBFFR-UHFFFAOYSA-N 0.000 claims description 3
- 238000009434 installation Methods 0.000 claims 19
- 239000004411 aluminium Substances 0.000 claims 1
- 238000010008 shearing Methods 0.000 claims 1
- 239000003570 air Substances 0.000 description 22
- 238000010438 heat treatment Methods 0.000 description 21
- 230000008901 benefit Effects 0.000 description 12
- 230000008859 change Effects 0.000 description 11
- 238000006243 chemical reaction Methods 0.000 description 6
- 240000007817 Olea europaea Species 0.000 description 4
- 230000015572 biosynthetic process Effects 0.000 description 4
- 238000012546 transfer Methods 0.000 description 4
- 238000009423 ventilation Methods 0.000 description 4
- BQCADISMDOOEFD-UHFFFAOYSA-N Silver Chemical compound [Ag] BQCADISMDOOEFD-UHFFFAOYSA-N 0.000 description 3
- 238000009833 condensation Methods 0.000 description 3
- 230000005494 condensation Effects 0.000 description 3
- 238000010276 construction Methods 0.000 description 3
- 230000007704 transition Effects 0.000 description 3
- XLYOFNOQVPJJNP-UHFFFAOYSA-N water Substances O XLYOFNOQVPJJNP-UHFFFAOYSA-N 0.000 description 3
- 241001631457 Cannula Species 0.000 description 2
- 239000012080 ambient air Substances 0.000 description 2
- 238000006911 enzymatic reaction Methods 0.000 description 2
- 229920002457 flexible plastic Polymers 0.000 description 2
- 230000008014 freezing Effects 0.000 description 2
- 238000007710 freezing Methods 0.000 description 2
- 238000009413 insulation Methods 0.000 description 2
- 239000000314 lubricant Substances 0.000 description 2
- 238000003752 polymerase chain reaction Methods 0.000 description 2
- 239000004793 Polystyrene Substances 0.000 description 1
- 238000013459 approach Methods 0.000 description 1
- 238000002306 biochemical method Methods 0.000 description 1
- 239000002826 coolant Substances 0.000 description 1
- 238000006073 displacement reaction Methods 0.000 description 1
- 235000015243 ice cream Nutrition 0.000 description 1
- 239000011810 insulating material Substances 0.000 description 1
- 238000002955 isolation Methods 0.000 description 1
- 239000007788 liquid Substances 0.000 description 1
- 238000012423 maintenance Methods 0.000 description 1
- 239000000463 material Substances 0.000 description 1
- 150000002739 metals Chemical class 0.000 description 1
- 239000011490 mineral wool Substances 0.000 description 1
- 231100000252 nontoxic Toxicity 0.000 description 1
- 230000003000 nontoxic effect Effects 0.000 description 1
- 229920002223 polystyrene Polymers 0.000 description 1
- 230000002035 prolonged effect Effects 0.000 description 1
- 230000009467 reduction Effects 0.000 description 1
- 230000001105 regulatory effect Effects 0.000 description 1
- 238000004904 shortening Methods 0.000 description 1
- 238000012360 testing method Methods 0.000 description 1
Images
Classifications
-
- B—PERFORMING OPERATIONS; TRANSPORTING
- B01—PHYSICAL OR CHEMICAL PROCESSES OR APPARATUS IN GENERAL
- B01L—CHEMICAL OR PHYSICAL LABORATORY APPARATUS FOR GENERAL USE
- B01L7/00—Heating or cooling apparatus; Heat insulating devices
- B01L7/52—Heating or cooling apparatus; Heat insulating devices with provision for submitting samples to a predetermined sequence of different temperatures, e.g. for treating nucleic acid samples
- B01L7/525—Heating or cooling apparatus; Heat insulating devices with provision for submitting samples to a predetermined sequence of different temperatures, e.g. for treating nucleic acid samples with physical movement of samples between temperature zones
- B01L7/5255—Heating or cooling apparatus; Heat insulating devices with provision for submitting samples to a predetermined sequence of different temperatures, e.g. for treating nucleic acid samples with physical movement of samples between temperature zones by moving sample containers
-
- B—PERFORMING OPERATIONS; TRANSPORTING
- B01—PHYSICAL OR CHEMICAL PROCESSES OR APPARATUS IN GENERAL
- B01L—CHEMICAL OR PHYSICAL LABORATORY APPARATUS FOR GENERAL USE
- B01L7/00—Heating or cooling apparatus; Heat insulating devices
- B01L7/52—Heating or cooling apparatus; Heat insulating devices with provision for submitting samples to a predetermined sequence of different temperatures, e.g. for treating nucleic acid samples
Definitions
- Such a device is known from WO-A-9005947.
- the known device has a metal rail with a U-shaped cross section, which is cooled at one end and heated at the other end. In this way, an approximately linear temperature gradient is created in the metal rail, the gradient (K / cm) of which is determined by the spatial distance and the temperature difference between the two thermostatted ends of the metal rail.
- the known device also has a support plate arranged between the legs of the metal rail, which is provided with bores for receiving plastic reaction vessels in which the substances to be tempered are received.
- the carrier plate is transported by means of a transport device into the area of the metal rail which has the desired temperature that the substances are to assume.
- the stands for the necessary heat exchange Carrier plate in thermal contact via its bottom surface and its two end faces with the base surface or the inner leg surfaces of the U-shaped metal rail.
- two toothed belts are fastened, which are guided over deflection rollers in the longitudinal direction of the metal rail around them and are each driven by a gear wheel so that they can pull the carrier plate back and forth in the U of the metal rail so as to approach different temperature ranges .
- the carrier plate which is very high compared to its longitudinal extent, tilts very easily when pulled into a different temperature range, so that the carrier plate can be transported only very slowly.
- the support plate is jammed with its end faces between the legs of the U-shaped metal rail because of the expansion associated with the temperature change, so that no further transport is possible.
- the operating personnel must intervene by hand in order to make the transport device usable again.
- Temperatures below 0 ° C. as are required, for example, to stop enzymatic reactions, lead to ice formation in the known device and thus to very poor temperature transitions and possibly even to freezing of the carrier plate.
- a device is known from WO-A-9005023 in which three metal blocks which are thermally insulated from one another are placed one behind the other in the longitudinal direction, each metal block being adjustable to its own temperature.
- An upwardly open, continuous guide channel is milled into the metal blocks and into the plastic blocks arranged between them for thermal insulation, in which a carrier plate is arranged so as to be longitudinally displaceable and has bores for receiving reaction vessels with substances to be tempered.
- the carrier plate is pulled from one temperature-controlled area into the other with the aid of a toothed belt.
- the base area of the carrier plate in this device is so large that the carrier plate does not tend to tilt when pulled, the carrier plate occasionally encounters protruding edges during the process, which are at the transition from a metal block to a plastic block or vice versa because of the different thermal expansion of these materials arises.
- the carrier plate can become jammed in the process between two very different temperature ranges due to the associated thermal expansion in the channel designed as a dovetail guide in such a way that further transport is impossible.
- the invention is therefore based on the object of developing a device and a method of the type mentioned at the outset such that the disadvantages mentioned above are avoided.
- it should be possible to change the temperature more quickly even at lower temperatures.
- the device should be quick and easy to put into operation with a structurally simple construction and be maintenance-free during operation.
- this object is achieved in that the pressure generating device is set up to selectively generate an overpressure or a negative pressure, and in that the transport device has an arrangement which can be brought into contact with the carrier plate in such a way that a mostly pushing force acting in the direction of the transport path can be exerted.
- this object is achieved in that an overpressure is built up between the outer surface and the metal block arrangement at the beginning of the transport step, so that the carrier plate is at least largely lifted off the metal block arrangement so that during the transport step the carrier plate only moves in the direction of the transport path is pushed, and that the overpressure is reduced again at the end of the transport step.
- the object underlying the invention is completely achieved in this way. Because an excess pressure is built up between the carrier plate and the metal block arrangement during the transport of the carrier plate in the new device and the new method, the carrier plate floats over an edge, as it were, on an air cushion. Since, on the other hand, the carrier plate is now pushed in the direction of the transport path, the force being exerted only in the direction of transport, it can no longer happen that the carrier plate tilts and thereby jams. In this way, it is possible to move the carrier plate back and forth very quickly between different temperature ranges, which leads to a significant reduction in the total temperature change. The carrier plate is, so to speak, lifted off the metal block arrangement with an air cushion, pushed onto this air cushion at high speed into the new temperature range and lowered there again.
- the support plate can be brought into thermal and other contact with the metal block arrangement only via its base surface, which is the at least one outer surface.
- This measure has the advantage that the carrier plate can never jam in the metal block arrangement.
- the only surface over which it can come into contact with the metal block arrangement is its base surface, which hovers on an air cushion during the transport process. Since it can no longer happen with the new device that the carrier plate gets stuck, the new device is maintenance-free and easy to use.
- the transport speed of the carrier plate can be increased further here, since there is no risk of getting caught even at high speeds. This contributes to the fact that the time required to change the temperature of the moving substances becomes even shorter.
- the carrier plate has a thickness, measured between its upper side and the bottom surface, which is small compared to its transverse dimensions.
- This measure has the advantage that the heat can be transported out of or into the carrier plate on the one hand over a large area and that on the other hand the amount of heat to be transported in the carrier plate itself only has to travel a short distance because of its low strength.
- the result of this is that the support plate and thus also the substances held in the reaction vessels are rapidly re-tempered.
- the actual time required to carry out the heat exchange itself is reduced here.
- the entire temperature change time is made up of these two times. Since both time ranges have been significantly shortened in the new device, the entire temperature control time is also very short, so that even enzymatic reactions that require steep temperature profiles over time can be controlled with the new device.
- the thickness of the carrier plate is less than 10 mm.
- This measure advantageously reduces the heat exchange path in the carrier plate, so that the temperature change takes place in an even shorter time.
- the carrier plate is made of silver.
- This measure has the advantage that a metal is used which has a very high temperature and thermal conductivity - compared to other metals - so that the heat transfer takes place very quickly.
- the receiving device is designed to receive a flexible, thin plastic plate in which depressions protruding downward are formed for receiving the substances.
- This measure has the advantage that the heat transfer from the carrier plate through the wall of the reaction vessel into the substance or solution to be tempered takes place in a very short time because of the thin wall of the plastic plate in the region of the wells. Compared to the known plastic reaction vessels, the temperature change in these plastic plates is considerably faster.
- the receiving device has recesses adapted to the outer contours of the troughs and if the plastic plate can be fastened to the carrier plate by means of screws.
- openings are provided in the bottom surface of the carrier plate, which are connected via channels running in the carrier plate to a connection piece arranged on the carrier plate, which in turn is connected to the pressure generating device.
- This measure has the advantage that the air cushion is formed directly under the support plate, which is structurally particularly simple. In addition, it is possible to use the same openings for both suction with underpressure and lifting with overpressure.
- the arrangement which can be brought into contact with the carrier plate has a guide fork with two guide rods running parallel and at a distance from one another, between which the carrier plate is guided.
- This measure has the advantage that, due to the "loose" guidance of the carrier plate, no downward forces are exerted on it. A small air cushion is therefore sufficient to lift the carrier plate from the metal block arrangement at least in some areas. No forces occur which could bring the carrier plate into contact with the metal block arrangement against the pressure of the air cushion during the displacement. The operation of the new device is thus reliably guaranteed. There is no longer any risk that the carrier plate will tilt or tilt.
- the transport device has a slide which is longitudinally displaceably guided on two guide rods which run parallel to one another and on which a holder which carries the guide fork is detachably fastened and is connected to the connecting piece via a flexible element, the flexible element simultaneously defining the Carrier plate is provided transversely to the transport direction.
- This measure has the advantage that the carrier plate is connected to a holder via a flexible element that does not transmit any transverse forces, and thus cannot get out of the side of the metal block arrangement.
- the carrier plate is held over the holder and the flexible element, so to speak, over the air cushion. Since the holder is detachably arranged on the carriage, the carrier plate can be together with the holder can be brought into or removed from the metal block arrangement in a simple manner. As a result, the commissioning of the new device is very simple and can also be carried out by technically untrained personnel.
- the pressure generating device has a motor fan with a pressure outlet and suction inlet and a ventilated changeover valve.
- This measure has the advantage that only the changeover valve has to be activated in order to switch from suction to lifting and vice versa.
- the new device is structurally very simple.
- switching between air cushions and suction is almost instantaneous, which also contributes to a shortening of the temperature change time.
- a drying device is provided for each region, the temperature of which is near the dew point or lower, which is a gas with a low moisture content introduces into the respective area.
- the gas is dried nitrogen gas.
- This measure has the advantage that an easy-to-dry and inexpensive gas is used, which also occurs in the surrounding atmosphere and is non-toxic. There are therefore no special precautions to be taken on the new device, which also contributes to a structurally simple structure.
- the metal block arrangement has a heat rail with a flat surface which can be brought into thermal contact with the likewise flat bottom surface of the carrier plate.
- This measure has the advantage that the heat transfer between the two flat surfaces is very fast, which contributes to shorter tempering times.
- the metal block arrangement has a hollow cover inside, which covers the surface and only leaves a slot running in the longitudinal direction of the metal block arrangement which is open laterally transversely to the longitudinal direction and into which the guide fork projects from the outside, and if the drying device is arranged in the lid.
- the lid and the blown-in dried gas ensure a closed interior atmosphere, the moisture content of which is so low that no moisture is deposited on metal surfaces with temperatures below the dew point or even ice forms.
- the new device can also be used for test sequences in which, after a series of cyclical temperature profile runs, the solutions or substances treated in this way have to be frozen at temperatures below 0 ° C., for example in the polymerase chain reaction (PCR).
- the heating rail is made continuously from metal, preferably aluminum, and is tempered at its ends.
- This measure which is known per se, leads to a linear temperature gradient being established, so that the number of temperature ranges available is determined only by the travel accuracy of the transport plate.
- the transport plate takes on the temperature value that prevails at the location of the metal rail over which the center line of the carrier plate is arranged.
- a switchable additional temperature control is provided approximately in the middle between the ends of the heating rail.
- This measure has the advantage that heat can be supplied or removed via the additional temperature control in order to build up the temperature gradient, so that the commissioning of the new device takes place very quickly.
- the additional temperature control is switched off, so that the gradient is determined only by the temperature control devices provided at the ends of the metal rail. This makes regulating the gradient very easy.
- the heating rail has metal blocks and insulating blocks which can be alternately tempered in the longitudinal direction.
- This measure which is also known, makes it possible to provide larger areas which are set to a constant and precisely adjustable temperature, so that the temperature setting of the substances is not limited by the positioning accuracy of the carrier plate in the heating rail.
- the temperature that arises in the substances is only determined by the temperature of the respective metal block. However, this temperature can be set very precisely using the external temperature control devices.
- the method according to the invention can advantageously be carried out with the new device.
- Fig. 1 denotes a device for tempering chemical and / or biochemical and / or microbiological substances.
- the device 10 has a metal block arrangement 12 which comprises an elongated heat rail 13 which is preferably made in one piece from an aluminum block.
- the heat rail 13 has a bore 15 at its left end 14, a bore 17 at its right end 16 and a further bore 19 in the longitudinal direction 18 approximately centrally between the bores 15 and 17.
- the holes 15, 17 and 19 are used to connect the heating rail 13, for example to liquid thermostats or to accommodate heating cartridges. In this way, an arbitrarily adjustable temperature gradient is generated in the heat rail 13, which runs in the longitudinal direction 18.
- three temperature sensors 21, 22 and 23 are provided, which are assigned to the bores 15, 17 and 19.
- the arrangement can be so, for example be taken that the distance between the temperature sensor 21 and the temperature sensor 22 measured in the longitudinal direction 18 corresponds to just 100 cm, while the temperature difference between the temperature sensors 21 and 22 is, for example, 100 ° C.
- the temperature sensor 23 just shows 50 ° C.
- a heating cartridge which is set to 48 ° C. is inserted in the bore 19. If the heating rail 13 is to be put into operation, coolant is passed through the bore 15 -10 ° C, while the bores 17 and 19 are equipped with heating cartridges which are adjusted to 110 ° C and 48 ° C.
- the heating cartridge inserted in the bore 19 only serves to accelerate the heating process of the heating rail 13.
- the temperature indicated by temperature sensor 23 is, as said, 50 ° C., so that the heating cartridge in bore 19 no longer starts.
- the heat rail 13 has a flat surface 25 which is covered by a cover 26.
- the cover 26 is open at its front 27 in a U-shape and defines with the heating rail 13 an elongated slot 28 which runs in the longitudinal direction 18 and is open at the side.
- the elongated slot 28 is delimited in the longitudinal direction 18 by a left leg 29 and a right leg 30 of the cover 26.
- the cover 26 lies with its legs 29 and 30 directly on the surface 25 of the heat rail 13.
- a carrier plate 31 is guided in a longitudinally displaceable manner, which is arranged in FIG. 1 in a temperature range 32, which in the exemplary embodiment shown is just below 50 ° C.
- the temperature which the carrier plate 31 takes up by contact with the surface 25 corresponds to the mean temperature which prevails in the temperature range 32.
- the width of the temperature range 32, measured in the longitudinal direction 18, corresponds exactly to the width of the carrier plate 31, or is only defined by this.
- the mean temperature in that Temperature range 32 and thus the temperature which the carrier plate 31 assumes is equal to 46 ° C.
- a transport device 33 In order to move the carrier plate 31, for example, into a further temperature range indicated at 32 ', a transport device 33 is provided.
- the transport device 33 has a carriage 34, which is guided in a longitudinally displaceable manner on ball bushings 35 on two guide rods 36 running parallel to one another and at a distance.
- the guide rods 36 run parallel to the longitudinal direction 18 of the heating rail 13.
- a toothed belt 37 is fastened to the carriage 34 and is guided via deflection rollers (not shown) to a toothed wheel which is driven by a controllable motor.
- the carriage 34 can be moved back and forth in the longitudinal direction 18 over the toothed belt 37.
- the carriage 34 is guided on two guide rods 36 so that the carriage 34 cannot tilt or jam when moving.
- a holder 39 is screwed onto the top of the slide 34 with the aid of a knurled nut 38 and exerts a thrust force in the longitudinal direction 18 on the carrier plate 31 via an arrangement indicated at 40.
- the arrangement 40 has two guide rods 42 which run parallel to one another and at a distance and which represent a guide fork 43 in which the carrier plate 31 is guided.
- the arrangement is such that the carrier plate 31, seen in the longitudinal direction 18, is loosely fixed by the guide rods 42 and can be displaced in the direction of a transport path indicated at 44.
- a temperature sensor indicated at 45 is provided on the carrier plate 31, which is connected via a cable 46 to a plug 47 which is seated on the holder 39.
- a temperature measuring device is to be connected to the connector 47 in a known manner, which indicates the actual temperature in the carrier plate 31.
- a downward-pointing olive 48 is provided on the holder 39 and is connected to a pressure generating device 49 indicated at 49 and to be described in more detail below.
- the pressure generating device 49 serves to supply the carrier plate 31 with overpressure or underpressure.
- the pressure generating device 49 is connected via channels, not shown in FIG. 1, which are provided in the holder 39, to a cannula 50 which is also fastened to the holder 39 and points in the direction of the slot 28.
- the cannula 50 is connected via a flexible hose 51 to a further cannula 52, which is connected to the carrier plate 31 is arranged and serves as a connecting piece 53 for the compressed or suction air.
- the guide rods 42 protrude into the elongated slot 28.
- the guide rods 42 run parallel to the surface 25 of the heat rail 13, so that when the carriage 34 is moved in the longitudinal direction 18, the guide rods 42 are moved back and forth in the slot 28 without jamming.
- the metal block arrangement 12 is shown in cross section, so that the carrier plate 31 arranged in its interior 54 can be seen.
- the support plate 31 made of silver lies with its flat bottom surface 55 directly on the likewise flat surface 25 of the heating rail 13.
- Downward-facing openings 56 are provided in the bottom surface 55 and are connected to the cannula 52 via channels 57 and 58.
- the pressure generating device 49 is switched to suction operation, the suction direction being indicated by an arrow 60.
- the support plate 31 is thus sucked with its bottom surface 55 onto the upper side 25, as a result of which very good thermal contact between the heating rail 13 and the support plate 31 is produced.
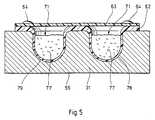
- the carrier plate 31 carries on its upper side 61 remote from the bottom surface 25 a flexible plastic plate 62 which is covered by a cover 63 and by means of screws 64 is screwed to the carrier plate 31.
- the plastic plate 62 to be described in more detail has depressions for the substances to be tempered.
- a drying device 66 is provided in the left leg 29 of the cover 26, which can be seen behind the carrier plate 31 in FIG. 2, which is supplied with dried nitrogen gas from the outside via a pipe socket indicated at 67.
- the gas passes through the pipe socket 67 into a bore 68 running transversely to the longitudinal direction 18, from which branch bores 69 in turn lead, which lead into the interior 54 of the metal block arrangement 12.
- the carrier plate 31 is shown in a view from above, so that the flexible plastic plate 62 and the it covers cover 63 can be seen.
- Two rows of ten wells 71 are provided in the plastic plate 62, in which the substances or solutions to be tempered are accommodated.
- the two guide rods 42 are connected to one another at their free ends by a cross bar 72.
- the guide rods 42 are held parallel to one another, so that the carrier plate 31 cannot get caught between them.
- Fig. 3 it can also be seen that the cannulas 50 and 52 are fixed by the flexible tube 51 such that there is a small distance between their front ends 73 and 74, respectively.
- the carrier plate 31 is fixed on the one hand in the direction indicated at 75 transverse to the longitudinal direction 18, but on the other hand can be pivoted to a certain extent relative to the cannula 50.
- the flexible hose 51 is selected such that little or no restoring forces are exerted on the carrier plate 31 when the carrier plate 31 is lifted off the surface 25.
- the guide rods 42 move in the same direction and take the carrier plate 31 arranged between them.
- the lower guide rod 42/1 comes into contact with the carrier plate 31 and exerts a pushing force indicated at 76 on the latter.
- the thrust force 76 is at least largely in the longitudinal direction 18, a force component which presses the carrier plate 31 onto the upper side 25 of the heating rail 13 is not exerted.
- the carrier plate 31 is shown in a view from below, in which it can be seen that the openings 56 are arranged in pairs. Each pair is connected to one another by a transverse channel 57, while the channels 57 are connected to the cannula 52 by a longitudinal channel 58. In this way, air introduced via the cannula 52 is distributed uniformly over the six openings 56 and flows out of the bottom surface 55 of the carrier plate 31.
- the carrier plate 31 is shown in cross section, so that the substances 77 accommodated in the troughs 71 of the plastic plate 62 can be seen.
- the troughs 71 are seated in precisely fitting recesses 78 which serve as receiving means 79. Since the troughs 71 nestle very tightly into the recesses 78, good heat transfer from the support 31 made of silver through the thin wall of the troughs 71 into the substances 77 is ensured.
- the substances 77 therefore very quickly assume the temperature of the carrier plate 31.
- the carrier plate 31 itself is temperature-controlled via its bottom surface 55 by the surface 25 of the heating rail 13.
- the pressure generating device 49 comprises a motor fan 80, the suction inlet of which is connected to a changeover valve 82 via a hose 81.
- the motor fan 80 is also connected to the changeover valve 82 with its pressure outlet via a further hose 83.
- the changeover valve 82 has a ventilation inlet or ventilation outlet 84 and is connected with its fourth connection via a connecting hose 85 to the olive 48 of the holder 39 in a manner not shown.
- a rotatable tube angle 87 is provided, by means of which the connecting hose 85 can optionally be connected to the hose 81 and thus the suction inlet of the motor fan 80 or the hose 83 and thus the pressure outlet of the motor fan 80.
- the motor fan 80 sucks in air through the connecting hose 85, which is passed through the hose 81 and then through the hose 83 and leaves the changeover valve 82 through the ventilation outlet 84.
- FIG. 6b shows the printing operation in which the motor fan 80 draws air through the ventilation inlet 84 and guides it via the hose 83 into the connecting hose 85.
- the motor fan 80 can be in continuous operation.
- FIG. 7 shows the operating state in which the pressure generating device 49 is in the printing mode, which is indicated in FIG. 6b. Due to the direction of pressure indicated at 88, air is conducted via the olive 48 and the cannulas 50 and 52 into the channel 58 and from there via the channels 57 through the openings 56. The air flowing out of the openings 56 lifts the carrier plate 31 from the surface 25 and creates an air cushion, indicated at 89, on the carrier plate 31 between the bottom surface 55 and the surface 25 hovers. The support plate 31 thus lifted can now be moved in the longitudinal direction 18 without friction forces having to be overcome or there is a risk that the support plate 31 will jam in the interior 54. In the floating state of the carrier plate 31 shown in FIG. 7, it has no contact whatsoever with the metal block arrangement 12.
- the carrier plate 31 has a thickness measured between its top 61 and its bottom surface 55, which is indicated at 90 in FIG. 7.
- the thickness 90 of the carrier plate 31 is small compared to the transverse dimensions of the carrier plate 31.
- a large floor area 55 is therefore available, over which the carrier plate 31 either hovers on the air cushion 89 or is in thermal contact with the surface 25.
- FIG. 7 it can also be seen that the heat rail 13 is surrounded by an insulating housing 91 and the cover 26 by an insulating cover 92.
- the insulating housing 91 has a thin sheet metal wall 93, while the insulating cover 92 also comprises a thin sheet metal wall 94.
- the sheet metal walls 93 and 94 limit the insulating housing 91 and the insulating cover 92 to the outside and take up a suitable insulating material in their interior, which can be, for example, rock wool and polystyrene.
- Insulating housing 91 and insulating cover 92 are not shown in FIGS. 1 and 2 for reasons of clarity. For proper operation of the device 10, however, it is necessary to thermally insulate it from the outside in order to be able to establish a temperature gradient that is as linear as possible.
- the insulating cover 92 leaves a slot 96 free, which corresponds to the slot 28.
- the knurled nut 38 is loosened and the holder 39 with the guide fork 43 and the carrier plate 31 are pulled out of the slot 28.
- the plastic plate 62 can be loaded with the substances 77 and covered with the cover 63.
- the plastic plate 62 is screwed onto the carrier plate 31 with the aid of the screws 64 in such a way that close thermal contact between the recesses 78 and the troughs 71 arises.
- the carrier plate 31 is pushed laterally into the slot 28 and the holder 39 is fastened again on the carriage 34 by means of the knurled screw 38. Now the pressure generating device 49 is connected to the olive 48 and the carriage 34 is moved into the starting position for the carrier plate 31.
- the motor fan 80 is then switched on and the changeover valve 82 is set up for suction operation.
- the carrier plate 31 is sucked onto the surface 25 and thus comes into thermal contact with the heat rail 13.
- the carrier plate 31 assumes the temperature of the selected temperature range 32 in a few seconds. The same applies to substances 77.
- the carrier plate 31 remains in the temperature range 32 for a fixed period of time.
- the changeover valve 82 is then switched over, so that the carrier plate 31 is lifted off the surface 25 by the air cushion 89 that is created.
- the now floating carrier plate 31 is moved for example in the longitudinal direction 18 to the temperature range 32 '.
- the pushes Guide fork 43 via its guide rod 42/2, the carrier plate 31 without exerting a force against the air cushion.
- the switching valve 82 switches back to suction operation and the carrier plate 31 is sucked onto the surface 25.
- the carrier plate 31 is consequently transported without any contact with the metal block arrangement 12, so that lubricants of all kinds can be dispensed with.
- the movement of the carrier plate 31 also takes place in the range of seconds.
- the carrier plate 31 Since a temperature sensor 45 is provided in the carrier plate 31, the current temperature prevailing in the carrier plate 31 can be continuously checked. A very precisely set temperature gradient in the heat rail 13 is therefore not necessary. If it is found that the selected temperature range 32 'does not have the desired temperature, the carrier plate 31 can be moved to colder or warmer temperatures in the shortest possible time until the correct temperature is reached.
- the heating rail 13 consists of a succession of three metal blocks 98, 99 and 100, between which an insulating block 101 and 102 is arranged in each case.
- a separate cover section 103, 104 and 105 is assigned to each metal block 98, 99, 100.
- the metal blocks 98, 99, 100 are each set to a uniform temperature, and thus represent temperature ranges 106, 107, 108.
- the carrier plate 31, the transport device 33, the pressure generating device 49 and the drying device 66 in this exemplary embodiment correspond to the construction of these elements already described in the first exemplary embodiment and are not explained again.
Landscapes
- Chemical & Material Sciences (AREA)
- Health & Medical Sciences (AREA)
- Clinical Laboratory Science (AREA)
- Biochemistry (AREA)
- General Health & Medical Sciences (AREA)
- Molecular Biology (AREA)
- Life Sciences & Earth Sciences (AREA)
- Chemical Kinetics & Catalysis (AREA)
- Automatic Analysis And Handling Materials Therefor (AREA)
- Measuring Or Testing Involving Enzymes Or Micro-Organisms (AREA)
- Apparatus Associated With Microorganisms And Enzymes (AREA)
- Apparatus For Disinfection Or Sterilisation (AREA)
- Heat Treatments In General, Especially Conveying And Cooling (AREA)
- Devices For Use In Laboratory Experiments (AREA)
Applications Claiming Priority (3)
| Application Number | Priority Date | Filing Date | Title |
|---|---|---|---|
| DE4029004 | 1990-09-13 | ||
| DE4029004A DE4029004C1 (enExample) | 1990-09-13 | 1990-09-13 | |
| PCT/DE1991/000704 WO1992004979A1 (de) | 1990-09-13 | 1991-09-06 | Vorrichtung und verfahren zum temperieren von chemischen und/oder biochemischen und/oder mikrobiologischen substanzen |
Publications (2)
| Publication Number | Publication Date |
|---|---|
| EP0548118A1 EP0548118A1 (de) | 1993-06-30 |
| EP0548118B1 true EP0548118B1 (de) | 1994-08-03 |
Family
ID=6414147
Family Applications (1)
| Application Number | Title | Priority Date | Filing Date |
|---|---|---|---|
| EP91915512A Expired - Lifetime EP0548118B1 (de) | 1990-09-13 | 1991-09-06 | Vorrichtung und verfahren zum temperieren von chemischen und/oder biochemischen und/oder mikrobiologischen substanzen |
Country Status (6)
| Country | Link |
|---|---|
| US (1) | US5430957A (enExample) |
| EP (1) | EP0548118B1 (enExample) |
| JP (1) | JPH06502580A (enExample) |
| AT (1) | ATE109382T1 (enExample) |
| DE (2) | DE4029004C1 (enExample) |
| WO (1) | WO1992004979A1 (enExample) |
Families Citing this family (31)
| Publication number | Priority date | Publication date | Assignee | Title |
|---|---|---|---|---|
| DE8813773U1 (de) * | 1988-11-03 | 1989-01-05 | Max-Planck-Gesellschaft zur Förderung der Wissenschaften eV, 37073 Göttingen | Gerät zum wahlweisen Einstellen der Temperatur einer Probe auf verschiedene Werte |
| US5525300A (en) * | 1993-10-20 | 1996-06-11 | Stratagene | Thermal cycler including a temperature gradient block |
| DE4409436A1 (de) * | 1994-03-19 | 1995-09-21 | Boehringer Mannheim Gmbh | Verfahren zur Bearbeitung von Nukleinsäuren |
| US6004512A (en) * | 1995-12-08 | 1999-12-21 | Mj Research | Sample cartridge slide block |
| US5856194A (en) | 1996-09-19 | 1999-01-05 | Abbott Laboratories | Method for determination of item of interest in a sample |
| US5795784A (en) | 1996-09-19 | 1998-08-18 | Abbott Laboratories | Method of performing a process for determining an item of interest in a sample |
| DE19655282B4 (de) * | 1996-11-08 | 2005-04-07 | Eppendorf Ag | Temperierblock mit Temperiereinrichtungen |
| DE19646115C2 (de) * | 1996-11-08 | 2000-05-25 | Eppendorf Geraetebau Netheler | Verwendung von Temperiereinrichtungen zur Temperierung eines Temperierblockes |
| DE29623597U1 (de) * | 1996-11-08 | 1999-01-07 | Eppendorf - Netheler - Hinz Gmbh, 22339 Hamburg | Temperierblock mit Temperiereinrichtungen |
| DE19646114B4 (de) * | 1996-11-08 | 2004-09-16 | Eppendorf Ag | Laborthermostat mit Temperierblöcken |
| DE19655141C5 (de) * | 1996-11-08 | 2013-12-05 | Eppendorf Ag | Gradienten-Temperierblock für Laborthermostaten |
| DE19646116A1 (de) | 1996-11-08 | 1998-05-14 | Eppendorf Geraetebau Netheler | Temperierblock mit Aufnahmen |
| US7799521B2 (en) * | 1998-06-24 | 2010-09-21 | Chen & Chen, Llc | Thermal cycling |
| US6780617B2 (en) | 2000-12-29 | 2004-08-24 | Chen & Chen, Llc | Sample processing device and method |
| EP1000661A1 (en) * | 1998-10-29 | 2000-05-17 | Hans-Knöll-Institut für Naturstoff-Forschung e.v. | Ultrathin-walled multiwell plate for heat block thermocycling |
| US20040214315A1 (en) * | 1998-10-29 | 2004-10-28 | Analytik Jena Ag | Ultrathin-walled multi-well plate for heat block thermocycling |
| GB9826237D0 (en) | 1998-11-30 | 1999-01-20 | Hybaid Ltd | Thermal cycler |
| DE29917313U1 (de) | 1999-10-01 | 2001-02-15 | MWG-BIOTECH AG, 85560 Ebersberg | Vorrichtung zur Durchführung chemischer oder biologischer Reaktionen |
| AU2216301A (en) * | 2000-01-04 | 2001-07-16 | Thermokeep Ltd. | Temperature controlling apparatus and method |
| US7727479B2 (en) * | 2000-09-29 | 2010-06-01 | Applied Biosystems, Llc | Device for the carrying out of chemical or biological reactions |
| US20040209331A1 (en) * | 2001-07-16 | 2004-10-21 | Kirk Ririe | Thermal cycling system and method of use |
| WO2003022435A2 (en) | 2001-09-11 | 2003-03-20 | Iquum, Inc. | Sample vessels |
| US7452712B2 (en) | 2002-07-30 | 2008-11-18 | Applied Biosystems Inc. | Sample block apparatus and method of maintaining a microcard on a sample block |
| US8676383B2 (en) | 2002-12-23 | 2014-03-18 | Applied Biosystems, Llc | Device for carrying out chemical or biological reactions |
| US20070184548A1 (en) * | 2002-12-23 | 2007-08-09 | Lim Hi Tan | Device for carrying out chemical or biological reactions |
| EP1603674B1 (en) | 2003-02-05 | 2016-01-06 | Iquum, Inc. | Sample processing |
| JP2007524849A (ja) * | 2004-01-06 | 2007-08-30 | ユィロス・パテント・アクチボラグ | 接触加熱アレンジメント |
| SG184539A1 (en) | 2010-04-09 | 2012-11-29 | Life Technologies Corp | Improved thermal uniformity for thermal cycler instrumentation using dynamic control |
| US20160214110A1 (en) | 2013-09-16 | 2016-07-28 | Life Technologies Corporation | Apparatuses, Systems and Methods for Providing Thermocycler Thermal Uniformity |
| SG11201606590UA (en) | 2014-02-18 | 2016-09-29 | Life Technologies Corp | Apparatuses, systems and methods for providing scalable thermal cyclers and isolating thermoelectric devices |
| US12269040B2 (en) | 2017-05-24 | 2025-04-08 | Northwestern University | Devices and methods for rapid sample processing and analysis |
Family Cites Families (8)
| Publication number | Priority date | Publication date | Assignee | Title |
|---|---|---|---|---|
| ZA792393B (en) * | 1978-05-25 | 1980-05-28 | British Industrial Plastics | Thermoplastics polymer compositions |
| EP0094458A1 (en) * | 1982-05-17 | 1983-11-23 | András Tejfalussy | Temperature distribution regulating sample holder-adapter for forming conditions for gradient heat treatment in heat treatment ovens or furnaces |
| US4627362A (en) * | 1983-06-28 | 1986-12-09 | Kabushiki Kaisha Myotoku | Air sliding device for work pallets or the like |
| DE3405293A1 (de) * | 1984-02-15 | 1985-09-05 | Eppendorf Gerätebau Netheler + Hinz GmbH, 2000 Hamburg | Verfahren zum temperieren einer zu analysierenden probenfluessigkeit sowie von reagenzien zur durchfuehrung von analysen sowie vorrichtung zur durchfuehrung des verfahrens |
| JPS614638A (ja) * | 1984-06-15 | 1986-01-10 | Omron Tateisi Electronics Co | 移動台固定装置 |
| DE3441179C2 (de) * | 1984-11-10 | 1987-02-26 | Dynatech Deutschland GmbH, 7306 Denkendorf | Temperiereinrichtung für Mikro-Küvettenanordnungen, insbesondere für Mikrotitrationsplatten |
| DE8813773U1 (de) * | 1988-11-03 | 1989-01-05 | Max-Planck-Gesellschaft zur Förderung der Wissenschaften eV, 37073 Göttingen | Gerät zum wahlweisen Einstellen der Temperatur einer Probe auf verschiedene Werte |
| DE8814398U1 (de) * | 1988-11-17 | 1989-02-16 | Max-Planck-Gesellschaft zur Förderung der Wissenschaften eV, 3400 Göttingen | Thermostatiergerät |
-
1990
- 1990-09-13 DE DE4029004A patent/DE4029004C1/de not_active Expired - Lifetime
-
1991
- 1991-09-06 JP JP3514310A patent/JPH06502580A/ja active Pending
- 1991-09-06 DE DE59102453T patent/DE59102453D1/de not_active Expired - Fee Related
- 1991-09-06 AT AT91915512T patent/ATE109382T1/de active
- 1991-09-06 EP EP91915512A patent/EP0548118B1/de not_active Expired - Lifetime
- 1991-09-06 WO PCT/DE1991/000704 patent/WO1992004979A1/de not_active Ceased
- 1991-09-06 US US08/030,046 patent/US5430957A/en not_active Expired - Fee Related
Also Published As
| Publication number | Publication date |
|---|---|
| JPH06502580A (ja) | 1994-03-24 |
| DE59102453D1 (de) | 1994-09-08 |
| WO1992004979A1 (de) | 1992-04-02 |
| EP0548118A1 (de) | 1993-06-30 |
| ATE109382T1 (de) | 1994-08-15 |
| US5430957A (en) | 1995-07-11 |
| DE4029004C1 (enExample) | 1992-04-02 |
Similar Documents
| Publication | Publication Date | Title |
|---|---|---|
| EP0548118B1 (de) | Vorrichtung und verfahren zum temperieren von chemischen und/oder biochemischen und/oder mikrobiologischen substanzen | |
| DE69105297T2 (de) | Ofen zum Heizen von Glasscheiben. | |
| DE69526039T2 (de) | Verfahren und Vorrichtung zum Fördern und Lagern von gekühlten Waren | |
| DE69808606T2 (de) | Verfahren zur Herstellung eines Tropfbewässerungsschlauches und Produktionslinie zu seiner Durchführung | |
| DE3624844A1 (de) | Temperiergeraet fuer fluessige klebstoffe | |
| EP0444144A1 (de) | Thermostatisiergerät. | |
| EP1300087A1 (de) | Verfahren zum Herstellen von schalenförmigen Verzehrgütern | |
| DE2907960C3 (de) | Verfahren und Vorrichtung zum kontinuierlichen Wärmebehandeln von vereinzeltem, langgestrecktem metallischen Gut | |
| DE818510C (de) | Ofen zum Erwaermen von Metallgegenstaenden | |
| DE69518061T2 (de) | Ofen und verfahren zum backen von formteilen mit luftheizung | |
| DE69818867T2 (de) | Einrichtung zur herstellung von latexgegenständen, wie beispielweise kissen | |
| DE1596624C3 (de) | Vorrichtung zum Fördern von Glastafeln längs eines Gaspolsters | |
| DE3603338A1 (de) | Anlage zum erzeugen von eis am stiel | |
| EP1757192B1 (de) | Vorrichtung und Verfahren zum Temperieren von Gegenständen | |
| DE4105250C2 (de) | Aufheizvorrichtung für plattenförmige Zuschnitte thermoplastischer Kunststoffe | |
| DE4035530C2 (de) | Vorrichtung zum Verbinden von Stücken von Textilartikeln | |
| DE9101990U1 (de) | Aufheizvorrichtung | |
| DE3509485C1 (de) | Vorrichtung zur Befestigung von in wärmeisolierende Platten einzustoßenden und sich dort verankernden Haltern für Heizrohre von Fußbodenheizungen | |
| DE3408944C2 (de) | Einrichtung zum Härten flacher Werkstücke | |
| DE3411814A1 (de) | Anlage zum herstellen von schokoladen-artikeln | |
| DE1142065B (de) | Durchlaufofen zur Waermebehandlung fuer Bleche, besonders aus Leichtmetall | |
| DE1082015B (de) | Kuehlofen fuer Glas | |
| DE1930250C (de) | Verfahren und Vorrichtung zum Behan dein von Glasscheiben in senkrechter Lage | |
| DE3910755C2 (de) | Verfahren und Gärkammer zum Behandeln von Teigstücken | |
| DE2921157C2 (de) | Vorrichtung zur Verformung von geschäumten Platten oder dergl. aus Kunststoffen |
Legal Events
| Date | Code | Title | Description |
|---|---|---|---|
| PUAI | Public reference made under article 153(3) epc to a published international application that has entered the european phase |
Free format text: ORIGINAL CODE: 0009012 |
|
| 17P | Request for examination filed |
Effective date: 19930107 |
|
| AK | Designated contracting states |
Kind code of ref document: A1 Designated state(s): AT CH DE FR GB IT LI NL |
|
| 17Q | First examination report despatched |
Effective date: 19931124 |
|
| GRAA | (expected) grant |
Free format text: ORIGINAL CODE: 0009210 |
|
| AK | Designated contracting states |
Kind code of ref document: B1 Designated state(s): AT CH DE FR GB IT LI NL |
|
| PG25 | Lapsed in a contracting state [announced via postgrant information from national office to epo] |
Ref country code: NL Effective date: 19940803 |
|
| REF | Corresponds to: |
Ref document number: 109382 Country of ref document: AT Date of ref document: 19940815 Kind code of ref document: T |
|
| PG25 | Lapsed in a contracting state [announced via postgrant information from national office to epo] |
Ref country code: AT Effective date: 19940906 |
|
| REF | Corresponds to: |
Ref document number: 59102453 Country of ref document: DE Date of ref document: 19940908 |
|
| ITF | It: translation for a ep patent filed | ||
| ET | Fr: translation filed | ||
| GBT | Gb: translation of ep patent filed (gb section 77(6)(a)/1977) |
Effective date: 19941005 |
|
| NLV1 | Nl: lapsed or annulled due to failure to fulfill the requirements of art. 29p and 29m of the patents act | ||
| PLBE | No opposition filed within time limit |
Free format text: ORIGINAL CODE: 0009261 |
|
| STAA | Information on the status of an ep patent application or granted ep patent |
Free format text: STATUS: NO OPPOSITION FILED WITHIN TIME LIMIT |
|
| 26N | No opposition filed | ||
| PGFP | Annual fee paid to national office [announced via postgrant information from national office to epo] |
Ref country code: GB Payment date: 19960828 Year of fee payment: 6 |
|
| PGFP | Annual fee paid to national office [announced via postgrant information from national office to epo] |
Ref country code: FR Payment date: 19960830 Year of fee payment: 6 |
|
| PGFP | Annual fee paid to national office [announced via postgrant information from national office to epo] |
Ref country code: CH Payment date: 19960903 Year of fee payment: 6 |
|
| PGFP | Annual fee paid to national office [announced via postgrant information from national office to epo] |
Ref country code: DE Payment date: 19961113 Year of fee payment: 6 |
|
| PG25 | Lapsed in a contracting state [announced via postgrant information from national office to epo] |
Ref country code: GB Free format text: LAPSE BECAUSE OF NON-PAYMENT OF DUE FEES Effective date: 19970906 |
|
| PG25 | Lapsed in a contracting state [announced via postgrant information from national office to epo] |
Ref country code: LI Free format text: LAPSE BECAUSE OF NON-PAYMENT OF DUE FEES Effective date: 19970930 Ref country code: FR Free format text: THE PATENT HAS BEEN ANNULLED BY A DECISION OF A NATIONAL AUTHORITY Effective date: 19970930 Ref country code: CH Free format text: LAPSE BECAUSE OF NON-PAYMENT OF DUE FEES Effective date: 19970930 |
|
| GBPC | Gb: european patent ceased through non-payment of renewal fee |
Effective date: 19970906 |
|
| REG | Reference to a national code |
Ref country code: CH Ref legal event code: PL |
|
| PG25 | Lapsed in a contracting state [announced via postgrant information from national office to epo] |
Ref country code: DE Free format text: LAPSE BECAUSE OF NON-PAYMENT OF DUE FEES Effective date: 19980603 |
|
| REG | Reference to a national code |
Ref country code: FR Ref legal event code: ST |
|
| PG25 | Lapsed in a contracting state [announced via postgrant information from national office to epo] |
Ref country code: IT Free format text: LAPSE BECAUSE OF NON-PAYMENT OF DUE FEES;WARNING: LAPSES OF ITALIAN PATENTS WITH EFFECTIVE DATE BEFORE 2007 MAY HAVE OCCURRED AT ANY TIME BEFORE 2007. THE CORRECT EFFECTIVE DATE MAY BE DIFFERENT FROM THE ONE RECORDED. Effective date: 20050906 |