EP0442347A2 - Auswahl einer von mehreren Spannungen ohne Überlappung - Google Patents

Auswahl einer von mehreren Spannungen ohne Überlappung Download PDF

Info

Publication number
EP0442347A2
EP0442347A2 EP91101489A EP91101489A EP0442347A2 EP 0442347 A2 EP0442347 A2 EP 0442347A2 EP 91101489 A EP91101489 A EP 91101489A EP 91101489 A EP91101489 A EP 91101489A EP 0442347 A2 EP0442347 A2 EP 0442347A2
Authority
EP
European Patent Office
Prior art keywords
output
voltage
signals
input
voltage selection
Prior art date
Legal status (The legal status is an assumption and is not a legal conclusion. Google has not performed a legal analysis and makes no representation as to the accuracy of the status listed.)
Withdrawn
Application number
EP91101489A
Other languages
English (en)
French (fr)
Other versions
EP0442347A3 (en
Inventor
Christopher M Hall
Current Assignee (The listed assignees may be inaccurate. Google has not performed a legal analysis and makes no representation or warranty as to the accuracy of the list.)
National Semiconductor Corp
Original Assignee
National Semiconductor Corp
Priority date (The priority date is an assumption and is not a legal conclusion. Google has not performed a legal analysis and makes no representation as to the accuracy of the date listed.)
Filing date
Publication date
Application filed by National Semiconductor Corp filed Critical National Semiconductor Corp
Publication of EP0442347A2 publication Critical patent/EP0442347A2/de
Publication of EP0442347A3 publication Critical patent/EP0442347A3/en
Withdrawn legal-status Critical Current

Links

Images

Classifications

    • HELECTRICITY
    • H03ELECTRONIC CIRCUITRY
    • H03KPULSE TECHNIQUE
    • H03K17/00Electronic switching or gating, i.e. not by contact-making and –breaking
    • H03K17/51Electronic switching or gating, i.e. not by contact-making and –breaking characterised by the components used
    • H03K17/56Electronic switching or gating, i.e. not by contact-making and –breaking characterised by the components used by the use, as active elements, of semiconductor devices
    • H03K17/687Electronic switching or gating, i.e. not by contact-making and –breaking characterised by the components used by the use, as active elements, of semiconductor devices the devices being field-effect transistors
    • H03K17/693Switching arrangements with several input- or output-terminals, e.g. multiplexers, distributors

Definitions

  • This invention pertains to voltage or power supply selection circuitry. It is particularly well suited for use within integrated circuits where one of a plurality of voltage levels is to be selected for application to a particular node, while ensuring that there is no overlap which would detrimentally cause more than one of the voltages to be selected and applied to the node at any given time.
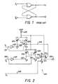
  • Figure 1 depicts a well known RS flip-flop circuit formed of two cross-coupled two input lead NOR gates.
  • the RS flip-flop of Figure 1 has two input terminals for receiving input signals I1 and I2 and Q and Q output terminals. As shown in Table 1, when either one of input signals I1 and I2 are active (logical 0), only one of the Q and Q output signals are active (logical 1), a stable state. When neither input signals I1 and I2 are active, neither the Q or Q output signals are active.
  • Cross-coupled flip flops similar to Figure 1 are also known in the prior art having more than one set and/or more than one reset input terminal. However, they continue to have only one set of complementary output signals Q and Q , as does the prior art circuit of Figure 1. Thus, such prior art multiple set and multiple reset cross-coupled flip flops can be thought of as a logic gate combining a plurality of set signals to provide the I1 reset signal to the prior art flip flop of Figure 1, and a logical gate combining a plurality of signals to provide the single I2 set signal for use in the flip flop of Figure 1.
  • U.S. Patent No. 4,547,684 describes a clock generator producing two nonoverlapping clock signals from a signal input clock signal.
  • a novel voltage selection circuit in which only one of a plurality of voltage levels is selected for application to an output node at any given time.
  • a plurality of switching transistors are connected between the output node and an associated one of a plurality of reference voltages. Switching transistors are controlled by an associated set of voltage selection signals, each having logical zero and logical one states which are of sufficient magnitude to cause said switching transistors to turn on or turn off, as desired, and which are insured to be nonoverlapping.
  • one of the plurality of voltages is ground, which is switched by the transistor using a voltage selection signal having standard levels, such as ground and VCC.
  • Another one of the plurality of voltages is VCC which is switched by a second switching transistor.
  • a third voltage VPPP is greater than VCC, and is switched by a third switching transistor utilizing a voltage selection signal which is greater than VCC, preferably equal to VPPP.
  • the wells of the second and third switching transistors are connected in common to VPPP in order to prevent junction breakdown when VPPP is selected on the output node. Accordingly, both the second and third switching transistors are controlled by voltage selection signals equal to VPPP or ground and which are sufficient to cause the second and third transistors to switch properly given the fact that their wells are tied to a relatively high voltage, VPPP.
  • a novel selection circuit is used to provide nonoverlapping voltage selection signals in response to a plurality of control signals indicative of which voltage supply is to be selected at any given time. Since these control signals are provided by external circuitry which may lie at some distance from the voltage selection circuitry, and which pass through different logical paths and thus have different propagation delays associated therewith, it cannot be guaranteed that these control signals will be nonoverlapping. Accordingly, the overlap protection circuit serves to guarantee that only one voltage selection signal is applied to the voltage selection circuit at any given time so that only one voltage supply is selected and connected to the output node at any given time.
  • the overlap protection circuit comprises a plurality N logic gates, each having a plurality of N input leads.
  • One input lead of each logic gate is connected to an associated one of the N control signal input leads, and each logic gate provides as an output signal an associated voltage selection signal.
  • the other N-1 input leads of each of the N logic gates are connected to the output leads of each of the other logic gates.
  • FIG. 2 is a schematic diagram of one embodiment of a voltage selection circuit 200 constructed in accordance with the teachings of this invention.
  • Voltage selection circuit 200 receives voltage selection signals Q1, Q2, and Q3 on input leads 201, 202, and 203, respectively.
  • voltage selection circuit 200 applies voltage VPPP received on input terminal 220 to output terminal 205 via switching transistor 211.
  • VPPP is a positive voltage (typically about 13 volts) greater than VCC (typically approximately 5 volts) and may comprise a pumped voltage useful during the programming and erasure of EPROM or E2PROM devices, as is well known to those of ordinary skill in the art.
  • voltage selection circuit 200 applies VCC from terminal 230 to output terminal 205 through switching transistor 212.
  • voltage selection signal Q3 is active, ground is connected to output terminal 205 via switching transistor 213.
  • N channel pull down transistor 225 With a logical one Q1 voltage selection signal applied to input lead 201, N channel pull down transistor 225 is turned on, connecting the gate of P channel switching transistor 211 to ground, thereby turning on switching transistor 211 and applying VPPP to output terminal 205. Simultaneously, a logical O output signal from inverter 221 is applied to the gate of N channel transistor 223 turning it off. This in turn causes P channel transistor 224 to turn off, ensuring lead 226 remains low, as desired. The low on lead 226 is applied to the gate of P channel transistor 222, turning it on and ensuring P channel transistor 224 is off.
  • the cross-coupled arrangement of transistors 222 and 224 insures that transistor 224 is turned on in response to a logical O Q1 voltage selection signal and is turned off in response to a logical 1 Q1 voltage selection signal, and transistor 222 is turned off in response to a logical O Q1 voltage selection signal and is turned on in response to a logical 1 Q1 voltage selection signal.
  • This action prevents current from flowing from VPPP to ground through transistors 222 and 223 or transistors 224 and 225, while providing a voltage translation from the Q1 signal level to the VPPP signal level on lead 226.
  • the well of switching transistor 211 and the wells of transistors 222 and 224 are connected to VPPP, in order to supply a sufficiently high well voltage to prevent junction breakdown of switching transistor 211.
  • N channel pull down transistor 225 is turned off.
  • a logical one output signal from inverter 221 is applied to the gate of N channel transistor 223, turning it on, connecting the gate of P channel transistor 224 to ground.
  • P channel transistor 224 to turn on, pulling lead 226 high, turning off switching transistor 211 so VPPP is not provided to output terminal 205.
  • the high on lead 226 is applied to the gate of P channel transistor 222, turning it off and ensuring P channel transistor 224 is on.
  • switching transistor 212 serves to selectively apply VCC from terminal 230 to output terminal 205.
  • the well of switching transistor 212 is connected to VPPP, as are the wells of transistors 232 and 234. This is necessary in order to prevent junction breakdown of switching transistor 212 which would occur when VPPP is applied to output terminal 205 through switching transistor 211 if the well of switching transistor 212 were connected to a voltage less than VPPP.
  • N channel switching transistor 213 serves as a pull down transistor to pull output terminal 205 to ground in response to a logical one Q3 voltage selection signal applied to input lead 203. Since the drain of N channel transistor 213 is connected to ground, it has a threshold voltage of approximately 0.7 volts and is easily driven by standard voltage levels, such as VCC. The bulk connection of N channel transistor 213 is conveniently formed as the substrate of the integrated circuit.
  • FIG. 3 depicts one embodiment of a nonoverlap circuit constructed in accordance with the teachings of this invention.
  • Circuit 300 of Figure 3 receives a plurality of control signals I1 , I2 , and I3 which define which of the desired voltages is to be selected.
  • Circuit 300 provides nonoverlapping voltage selection signals Q1, Q2, and Q3 in response to control signals I1 , I2 , and I3 .
  • overlap protection circuit 300 comprises a plurality of three logic gates, each having three input leads. One input lead of each logic gate receives an associated 1 of the control signals I1 , I2 , and I3 . The other input leads of each logic gate are connected to the output leads of the other logic gates.
  • each logic gate provides as an output signal voltage selection signals Q1, Q2, and Q3 which are related to control signals I1 , I2 , and I3 , respectively, but which are nonoverlapping. In this manner, should an overlap occur between the input control signals I1 , I2 , and I3 , there will not be an overlap in the voltage selection signals Q1, Q2, and Q3, thereby preventing an overlap of the voltage selection.
  • a nonoverlap circuit is provided which assures that only a single output signal will be active at any given time, regardless of whether the input signals are overlapping or not.
  • the embodiment of Figure 3 is exemplary only, and can be expanded to any desired size wherein a plurality of N input control signals are received by a plurality of N logic gates, each having a plurality of N input leads, and which provide a plurality of N nonoverlapping output signals.
  • Figure 4 is a nonoverlap circuit constructed in accordance with another embodiment of this invention.
  • input signals I1, I2, and I3 are active high, in contrast to the embodiment of Figure 3 in which input signals are active low.
  • the embodiment of Figure 4 functions as a priority resolver, insuring that at most one of the output signals Q1, Q2, and Q3 are high at any given time.
  • Input signal I1 is given the highest priority. If I1 is a logical one, then output signal Q1 is a logical one and output signals Q2 and Q3 are logical zero, regardless of the states of input signals I2 and I3. Input signal I2 is given the second highest priority. If I1 is a logical zero and I2 is a logical one, then output Q2 is a logical one (and outputs Q1 and Q3 are logical zeros) regardless of the state of input I3. Input I3 is given the lowest priority. Only if inputs I1 and I2 are logical zeros and input I3 is a logical 1 will output Q3 be a logical one (and outputs Q1 and Q2 are logical zeros). This operation is described in the following truth table:
  • the circuit functions as a priority resolver, guaranteeing that, at most, one Q output is active.

Landscapes

  • Electronic Switches (AREA)
EP19910101489 1990-02-15 1991-02-05 Selecting one of a plurality of voltages without overlap Withdrawn EP0442347A3 (en)

Applications Claiming Priority (2)

Application Number Priority Date Filing Date Title
US481355 1990-02-15
US07/481,355 US5055705A (en) 1990-02-15 1990-02-15 Selecting one of a plurality of voltages without overlap

Publications (2)

Publication Number Publication Date
EP0442347A2 true EP0442347A2 (de) 1991-08-21
EP0442347A3 EP0442347A3 (en) 1991-11-27

Family

ID=23911635

Family Applications (1)

Application Number Title Priority Date Filing Date
EP19910101489 Withdrawn EP0442347A3 (en) 1990-02-15 1991-02-05 Selecting one of a plurality of voltages without overlap

Country Status (3)

Country Link
US (1) US5055705A (de)
EP (1) EP0442347A3 (de)
JP (1) JPH0645900A (de)

Cited By (2)

* Cited by examiner, † Cited by third party
Publication number Priority date Publication date Assignee Title
FR2776144A1 (fr) * 1998-03-13 1999-09-17 Sgs Thomson Microelectronics Circuit de commutation de signaux analogiques d'amplitudes superieures a la tension d'alimentation
TWI902615B (zh) * 2024-02-16 2025-10-21 力旺電子股份有限公司 電壓選擇器

Families Citing this family (6)

* Cited by examiner, † Cited by third party
Publication number Priority date Publication date Assignee Title
US5296765A (en) * 1992-03-20 1994-03-22 Siliconix Incorporated Driver circuit for sinking current to two supply voltages
JPH08274612A (ja) * 1995-03-31 1996-10-18 Nec Corp 半導体装置
JPH09191240A (ja) * 1996-01-09 1997-07-22 Toshiba Corp 二入力切換回路
US5872477A (en) * 1997-06-13 1999-02-16 Vtc Inc. Multiplexer with CMOS break-before-make circuit
US6294959B1 (en) 1999-11-12 2001-09-25 Macmillan Bruce E. Circuit that operates in a manner substantially complementary to an amplifying device included therein and apparatus incorporating same
JP4967801B2 (ja) 2007-05-17 2012-07-04 ソニー株式会社 電源装置および電源装置の動作方法

Family Cites Families (15)

* Cited by examiner, † Cited by third party
Publication number Priority date Publication date Assignee Title
JPS5227400A (en) * 1975-08-27 1977-03-01 Sharp Corp Power source device
US4188547A (en) * 1976-06-21 1980-02-12 Westinghouse Electric Corp. Multi-mode control logic circuit for solid state relays
CA1079804A (en) * 1977-03-14 1980-06-17 Ibm Canada Limited - Ibm Canada Limitee Voltage sequencing circuit for sequencing voltage to an electrical device
CH621917B (fr) * 1977-06-27 Centre Electron Horloger Dispositif integre de commande.
US4176289A (en) * 1978-06-23 1979-11-27 Electronic Memories & Magnetics Corporation Driving circuit for integrated circuit semiconductor memory
JPS5540420A (en) * 1978-09-14 1980-03-21 Nippon Kogaku Kk <Nikon> Power supply control circuit of camera
DE2966268D1 (en) * 1978-10-21 1983-11-10 Ward Goldstone Ltd A switching circuit
US4324991A (en) * 1979-12-12 1982-04-13 Casio Computer Co., Ltd. Voltage selector circuit
JPS5787620A (en) * 1980-11-20 1982-06-01 Fujitsu Ltd Clock generating circuit
EP0054355B1 (de) * 1980-12-08 1986-04-16 Kabushiki Kaisha Toshiba Halbleiterspeicheranordnung
DE3120163A1 (de) * 1981-05-21 1982-12-09 Deutsche Itt Industries Gmbh, 7800 Freiburg Cmos-auswahlschaltung
US4420695A (en) * 1981-05-26 1983-12-13 National Semiconductor Corporation Synchronous priority circuit
US4547684A (en) * 1983-08-22 1985-10-15 Standard Microsystems Corporation Clock generator
US4568834A (en) * 1983-09-02 1986-02-04 The United States Of America As Represented By The Secretary Of The Army High voltage solid state multiplexer
JPS62121374A (ja) * 1985-11-20 1987-06-02 Ricoh Co Ltd テストモ−ド起動回路

Cited By (3)

* Cited by examiner, † Cited by third party
Publication number Priority date Publication date Assignee Title
FR2776144A1 (fr) * 1998-03-13 1999-09-17 Sgs Thomson Microelectronics Circuit de commutation de signaux analogiques d'amplitudes superieures a la tension d'alimentation
US6133777A (en) * 1998-03-13 2000-10-17 Stmicroelectronics S.A. Selector circuit for the switching over of analog signals with amplitudes greater than that of the supply voltage
TWI902615B (zh) * 2024-02-16 2025-10-21 力旺電子股份有限公司 電壓選擇器

Also Published As

Publication number Publication date
JPH0645900A (ja) 1994-02-18
US5055705A (en) 1991-10-08
EP0442347A3 (en) 1991-11-27

Similar Documents

Publication Publication Date Title
US4689504A (en) High voltage decoder
US6040729A (en) Digital output buffer for multiple voltage system
US6437627B1 (en) High voltage level shifter for switching high voltage in non-volatile memory intergrated circuits
US3551693A (en) Clock logic circuits
US20090091372A1 (en) System-on-a-chip and power gating circuit thereof
KR101745753B1 (ko) 다중 전원용 레벨 시프터
JPS6238617A (ja) 出力回路装置
US4634904A (en) CMOS power-on reset circuit
KR0122246Y1 (ko) 레벨변환회로
US20080054982A1 (en) Low power level shifter and method thereof
US3852625A (en) Semiconductor circuit
US5341338A (en) Data output circuit with minimum power source noise
US5055705A (en) Selecting one of a plurality of voltages without overlap
RU2137294C1 (ru) Моп-устройство включения высоких напряжений на полупроводниковой интегральной схеме
KR930011436A (ko) 응용 회로의 프로그래밍 및 동작시키는 방법
US5317211A (en) Programmable pin for use in programmable logic devices
US10103732B1 (en) Low power voltage level shifter circuit
US5327022A (en) Multiplexer circuit less liable to malfunction
US7133487B2 (en) Level shifter
US6185129B1 (en) Power reset circuit of a flash memory device
US12119069B2 (en) Anti-fuse memory reading circuit with controllable reading time
US6249151B1 (en) Inverter for outputting high voltage
US20030222701A1 (en) Level shifter having plurality of outputs
JP3261151B2 (ja) リセット信号発生回路装置
JP2013110584A (ja) 半導体装置

Legal Events

Date Code Title Description
PUAI Public reference made under article 153(3) epc to a published international application that has entered the european phase

Free format text: ORIGINAL CODE: 0009012

AK Designated contracting states

Kind code of ref document: A2

Designated state(s): DE FR GB IT

PUAL Search report despatched

Free format text: ORIGINAL CODE: 0009013

AK Designated contracting states

Kind code of ref document: A3

Designated state(s): DE FR GB IT

17P Request for examination filed

Effective date: 19920331

17Q First examination report despatched

Effective date: 19941215

STAA Information on the status of an ep patent application or granted ep patent

Free format text: STATUS: THE APPLICATION IS DEEMED TO BE WITHDRAWN

18D Application deemed to be withdrawn

Effective date: 19950426