EP0306754A2 - Einrichtung zur Herstellung einer Abzweigung von einer einzelnen Ader eines Mehrleiterkabels - Google Patents

Einrichtung zur Herstellung einer Abzweigung von einer einzelnen Ader eines Mehrleiterkabels Download PDF

Info

Publication number
EP0306754A2
EP0306754A2 EP88113552A EP88113552A EP0306754A2 EP 0306754 A2 EP0306754 A2 EP 0306754A2 EP 88113552 A EP88113552 A EP 88113552A EP 88113552 A EP88113552 A EP 88113552A EP 0306754 A2 EP0306754 A2 EP 0306754A2
Authority
EP
European Patent Office
Prior art keywords
clamping
clamping element
projection
bore
conductor
Prior art date
Legal status (The legal status is an assumption and is not a legal conclusion. Google has not performed a legal analysis and makes no representation as to the accuracy of the status listed.)
Granted
Application number
EP88113552A
Other languages
English (en)
French (fr)
Other versions
EP0306754A3 (en
EP0306754B1 (de
Inventor
Adolf Roth
Current Assignee (The listed assignees may be inaccurate. Google has not performed a legal analysis and makes no representation or warranty as to the accuracy of the list.)
Georg Fischer AG
Original Assignee
Georg Fischer AG
Priority date (The priority date is an assumption and is not a legal conclusion. Google has not performed a legal analysis and makes no representation as to the accuracy of the date listed.)
Filing date
Publication date
Application filed by Georg Fischer AG filed Critical Georg Fischer AG
Priority to AT88113552T priority Critical patent/ATE83338T1/de
Publication of EP0306754A2 publication Critical patent/EP0306754A2/de
Publication of EP0306754A3 publication Critical patent/EP0306754A3/de
Application granted granted Critical
Publication of EP0306754B1 publication Critical patent/EP0306754B1/de
Anticipated expiration legal-status Critical
Expired - Lifetime legal-status Critical Current

Links

Images

Classifications

    • HELECTRICITY
    • H01ELECTRIC ELEMENTS
    • H01RELECTRICALLY-CONDUCTIVE CONNECTIONS; STRUCTURAL ASSOCIATIONS OF A PLURALITY OF MUTUALLY-INSULATED ELECTRICAL CONNECTING ELEMENTS; COUPLING DEVICES; CURRENT COLLECTORS
    • H01R4/00Electrically-conductive connections between two or more conductive members in direct contact, i.e. touching one another; Means for effecting or maintaining such contact; Electrically-conductive connections having two or more spaced connecting locations for conductors and using contact members penetrating insulation
    • H01R4/24Connections using contact members penetrating or cutting insulation or cable strands
    • H01R4/2404Connections using contact members penetrating or cutting insulation or cable strands the contact members having teeth, prongs, pins or needles penetrating the insulation
    • H01R4/2408Connections using contact members penetrating or cutting insulation or cable strands the contact members having teeth, prongs, pins or needles penetrating the insulation actuated by clamping screws
    • HELECTRICITY
    • H01ELECTRIC ELEMENTS
    • H01RELECTRICALLY-CONDUCTIVE CONNECTIONS; STRUCTURAL ASSOCIATIONS OF A PLURALITY OF MUTUALLY-INSULATED ELECTRICAL CONNECTING ELEMENTS; COUPLING DEVICES; CURRENT COLLECTORS
    • H01R4/00Electrically-conductive connections between two or more conductive members in direct contact, i.e. touching one another; Means for effecting or maintaining such contact; Electrically-conductive connections having two or more spaced connecting locations for conductors and using contact members penetrating insulation
    • H01R4/28Clamped connections, spring connections
    • H01R4/38Clamped connections, spring connections utilising a clamping member acted on by screw or nut
    • H01R4/44Clamping areas on both sides of screw

Definitions

  • the present invention relates to a device for producing a branch from a single insulated wire of a multi-conductor cable, wherein a first and a second clamping element can be brought into clamping contact with one another by means of a screw arrangement.
  • branch terminal which consists of detachably connectable segments, spacers being provided between the individual segments.
  • the present invention has for its object to provide a device for branching a single insulated wire of a multi-conductor cable, which can be assembled in a very simple manner with a minimum number of individual parts without much time.
  • the features according to the invention result in a simple clamping contact of the main wire by means of a screw with simple assembly.
  • the distance between the tilting support and the recesses for the main wire ensures high clamping forces.
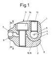
  • a device shown in FIGS. 1 and 2 for branching a single insulated wire of a multi-conductor cable has a first 1 and a second 2 clamping element. These two clamping elements can be pressed against one another by means of a screw arrangement 3, so that a clamping contact arises between the individual elements 1 and 2.
  • the first clamping element 1 has a projection 5 through which a bore 4 runs. This hole is intended to accommodate a branch conductor.
  • a recess 7 is provided in the first clamping element 1. This recess is designed to span the main vein.
  • the second clamping element 2 each has a recess 15 and 9, the part-circular recess 15 forming the support part 8 for the clamping element 1.
  • the radius of the recess 15 corresponds approximately to the radius of the projection 5, so that when the clamping contact is produced, the projection 5 is spanned by the recess 15 along a wide area of its circumference.
  • the projection 5 can be rotated about the drilling axis 6 in the recess 15, the recess 15 forming a tilting support 16. In the case of a clamp contact to be produced, this arrangement also guarantees the necessary anti-rotation protection.
  • the clamping elements are provided with an insulating surface coating.
  • the recessed clamping screws 3a make the proposed clamp very space-saving.
  • the assembly is also correspondingly simple:
  • a prepared branch conductor is guided through the bore 4 and clamped by means of a screw 13.
  • the clamping element with its recesses 7 and 9 is then pushed onto the main wire.
  • the screw 3a is tightened so that the clamping elements 1 and 2 are brought into clamping contact.
  • the annular cutting edges 11 penetrate into the insulating material of the main wire and displace it into the cavities 12. As soon as the annular cutting edges 11 have penetrated the insulating material, the clamping contact is produced.
  • the projection 5 of the clamping element 1 is nose-shaped.
  • the support part 8 of the clamping element 2 has a flat support surface 10, whereby the rounded nose creates a linear support of the clamping element 1 on the clamping part 2, about which the clamping element 2 can be pivoted about the tilting support 16 when tightened by means of the screw arrangement 3.
  • the clamping element 1 has an eye 14 for the screw 13 for clamping the branch conductor in the bore 4.
  • a contact surface 10 is arranged on each side of the eye 14.
  • the arrangement of the projections 5 on both sides of the eye 14 prevents the two clamping elements 1, 2 from rotating relative to one another when the screw 3a is tightened.
  • the recesses 9 and 7 with the annular cutting edges 11 correspond to the embodiment variant shown in FIGS. 1 and 2, wherein the cavities 12 between the annular cutting edges 11 can also be semicircular in cross section in order to reduce notch stresses, as shown in FIG. 2a.

Landscapes

  • Testing Of Short-Circuits, Discontinuities, Leakage, Or Incorrect Line Connections (AREA)
  • Suspension Of Electric Lines Or Cables (AREA)
  • Connections By Means Of Piercing Elements, Nuts, Or Screws (AREA)
  • Communication Cables (AREA)
  • Multi-Conductor Connections (AREA)
  • Cable Accessories (AREA)

Abstract

Es wird eine Einrichtung zur Herstellung einer Abzweigung von einer einzelnen isolierten Ader eines Mehrleiterkabels vorgeschlagen, die durch ein erstes (1) und ein zweites (2) Klemmelement gekennzeichnet ist. Mit Hilfe einer Schrau­benanordnung (3) können die Klemmelemente (1, 2) gegen­einander in Klemmkontakt gebracht werden, wobei die Ring­schneiden (11) das Isoliermaterial der abzuzweigenden Ader durchdringen und so den Klemmkontakt herstellen.
Die vorgeschlagene Einrichtung ist kompakt und einfach zu handhaben und dadurch montagefreundlich.

Description

  • Die vorliegende Erfindung betrifft eine Einrichtung zur Herstellung einer Abzweigung von einer einzelnen isolierten Ader eines Mehrleiter kabels, wobei je ein erstes und ein zweites Klemmelement mittels einer Schraubenanordnung gegeneinander in Klemmkontakt bringbar sind.
  • Es sind verschiedene Arten von Einrichtungen zur Abzweigung einer Ader eines Mehrleiterkabels bekannt, wobei die meisten Ausführungen in der Art eines Klemmringes Verwen­dung finden.
  • Aus der DE-OS 2143219 ist eine Abzweigklemme bekannt, welche aus lösbar miteinander verbindbaren Segmenten besteht, wobei zwischen den einzelnen Segmenten Distanz­stücke vorgesehen sind.
  • Eine solche bekannte Ausführung bedingt eine Vielzahl von Einzelteilen wie Segmente, Abstandhalter etc., was die Mon­tage erschwert und auch Ursache von Fehlerquellen sein kann.
  • Der vorliegenden Erfindung liegt die Aufgabe zu Grunde, eine Einrichtung zur Abzweigung einer einzelnen isolierten Ader eines Mehrleiterkabels zu schaffen, die in einfachster Weise mit einer Mindestzahl von Einzelteilen ohne grossen Zeitaufwand montierbar ist.
  • Diese Aufgabe wird durch die kennzeichnenden Merkmale von Anspruch 1 gelöst.
  • Durch die erfindungsgemässen Merkmale wird ein einfacher Klemmkontakt der Hauptader mittels einer Schraube bei ein­facher Montage erreicht. Der Abstand zwischen der Kippauf­lage und den Ausnehmungen für die Hauptader gewährleistet hohe Klemmkräfte.
  • Besonders vorteilhafte Ausgestaltungen gehen aus den abhän­gigen Ansprüchen hervor.
  • Anhand der beiliegenden Figuren werden Ausführungsbeispie­le der Einrichtung näher beschrieben.
  • Es zeigen:
    • Fig. 1 einen Schnitt durch die erfindungsgemässe Einrich­tung
    • Fig. 2 einen Schnitt entlang der Linie B-B aus der Fig. 1 in vergrösserter Darstellung
    • Fig. 2a eine Ausführungsvariante von der in Fig. 2 ge­zeigten Schnittpartie
    • Fig. 3 eine Ausführungsvariante von der in Fig. 1 gezeigten Einrichtung.
  • Eine in den Fig. 1 und 2 gezeigte Einrichtung zur Abzwei­gung einer einzelnen isolierten Ader eines Mehrleiterka­bels weist ein erstes 1 und ein zweites 2 Klemmelement auf. Diese zwei Klemmelemente sind mittels einer Schrauben­anordnung 3 gegeneinander drückbar, so dass zwischen den einzelnen Elementen 1 und 2 ein Klemmkontakt entsteht. Das erste Klemmelement 1 weist einen Vorsprung 5 auf, durch den eine Bohrung 4 verläuft. Diese Bohrung ist zur Aufnahme eines Abzweigleiters bestimmt. Von der Bohrung 4 beabstan­det ist eine Ausnehmung 7 im ersten Klemmelement 1 vorgese­hen. Diese Ausnehmung ist dazu bestimmt, die Hauptader zu umspannen.
  • Das zweite Klemmelement 2 weist je eine Ausnehmung 15 und 9 auf, wobei die teilkreisförmige Ausnehmung 15 den Auflage­teil 8 für das Klemmelement 1 bildet. Der Radius der Aus­nehmung 15 entspricht in etwa dem Radius des Vorsprunges 5, so dass bei hergestelltem Klemmkontakt der Vorsprung 5 von der Ausnehmung 15 entlang eines weiten Bereiches seines Um­fanges umspannt wird. Der Vosprung 5 ist um die Bohrachse 6 in der Ausnehmung 15 drehbar, wobei die Ausnehmung 15 eine Kippauflage 16 bildet. Diese Anordnung bietet bei herzu­stellendem Klemmkontakt auch Gewähr für die notwendige Verdrehsicherung.
  • Die Ausnehmungen 9 und 7, die dem Umfang der Hauptader angepasst sind, weisen Ringschneiden 11 auf. Diese Ring­schneiden sind dazu bestimmt, das Isolationsmaterial zu durchdringen und so nach erfolgter Montage den Stromfluss herzustellen. Zwischen den einzelnen Ringschneiden sind Hohlräume 12 vorgesehen, die das durch die Ringschneiden 11 verdrängte Isolationsmaterial aufnehmen können. Dadurch wird ein einwandfreier Kontakt gewährleistet.
  • Die Klemmelemente sind wie üblich mit einer isolierenden Oberflächenbeschichtung versehen.
  • Durch die versenkten Klemmschrauben 3a ist die vorgeschla­gene Klemme sehr platzsparend. Auch die Montage gestaltet sich entsprechend einfach:
  • Zunächst wird durch die Bohrung 4 ein vorbereiteter Ab­zweigleiter geführt und mittels einer Schraube 13 festge­klemmt. Das Klemmelement mit seinen Ausnehmungen 7 und 9 wird sodann auf die Hauptader geschoben. Die Schraube 3a wird angezogen, so dass die Klemmelemente 1 und 2 in Klemm­kontakt gebracht werden. Während der Herstellung dieses Klemmkontaktes durch Anziehen der Schraubenanordnung 3 dringen die Ringschneiden 11 in das Isoliermaterial der Hauptader ein und verdrängen dieses in die Hohlräume 12. Sobald die Ringschneiden 11 das Isoliermaterial durch­drungen haben, ist der Klemmkontakt hergestellt.
  • Die Fig. 3 zeigt eine Ausführungsvariante der Einrichtung. Hierbei ist der Vorsprung 5 des Klemmelementes 1 nasen­förmig ausgebildet.
  • Das Auflageteil 8 des Klemmelementes 2 weist eine ebene Auflagefläche 10 auf, wobei durch die abgerundete Nase eine linienförmige Auflage des Klemmelementes 1 auf dem Klemm­teil 2 entsteht, um welche beim Zusammenspannen mittels der Schraubenanordnung 3 das Klemmelement 2 um die Kippauflage 16 schwenkbar ist.
  • Für die Schraube 13 zur Klemmung des Abzweigleiters in der Bohrung 4 weist das Klemmelement 1 ein Auge 14 auf. Beid­seits des Auges 14 ist je eine Auflagefläche 10 angeordnet.
  • Durch die Anordnung der Vorsprünge 5 beidseits des Auges 14 wird ein gegenseitiges Verdrehen der beiden Klemmelemente 1, 2 beim Anziehen der Schraube 3a verhindert.
  • Die Ausnehmungen 9 und 7 mit den Ringschneiden 11 entspre­chen der in der Fig. 1 und 2 gezeigten Ausführungsvariante, wobei die Hohlräume 12 zwischen den Ringschneiden 11 zur Verringerung von Kerbspannungen im Querschnitt auch halb­kreisförmig ausgebildet sein können, wie dies in Fig. 2a dargestellt ist.

Claims (9)

1. Einrichtung zur Herstellung einer Abzweigung von einer einzelnen isolierten Ader eines Mehrleiterkabels, wobei je ein erstes (1) und ein zweites (2) Klemmelement mit­tels einer Schraubenanordnung (3) gegeneinander in Klemmkontakt bringbar sind, dadurch gekennzeichnet, dass das erste Klemmelement (1) mindestens einen Vorsprung (5) und eine von diesem beabstandete Ausnehmung (7), die zur Aufnahme einer Haupt-Ader vorgesehen ist, aufweist, dass das zweite Klemmelement (2) einen mit dem Vorsprung (5) als Kippauflage (16) zusammenwirkenden Auflageteil (8) und eine zweite Ausnehmung (9) aufweist, wobei die beiden Ausnehmungen (7, 9) beim Verspannen der beiden Klemmelemente (1, 2) mittels der Schraubenanordnung (3) durch einen hergestellten Klemmkontakt die Hauptader mindestens teilweise umschliesst, und dass eines der beiden Klemmelemente (1, 2) eine Bohrung (4) zur Auf­nahme eines Abzweigleiters aufweist.
2. Einrichtung nach Anspruch 1, dadurch gekennzeichnet, dass die Ausnehmungen (7) und (9) Ringschneiden (11) aufweisen.
3. Einrichtung nach Anspruch 1, dadurch gekennzeichnet, dass die Schraubenanordnung (3) im Klemmelement (1) versenkt angeordnet ist.
4. Einrichtung nach Anspruch 1, dadurch gekennzeichnet, dass der durch die Bohrung (4) geführte Leiter mittels einer Schraube (13) festklemmbar ist.
5. Einrichtung nach Anspruch 2, dadurch gekennzeichnet, dass zwischen den Ringschneiden (11) Hohlräume (12) vorgesehen sind, die bei hergestelltem Klemmkontakt durch die Ringschneiden (11) verdrängtes Isolations­material aufnehmen.
6. Einrichtung nach einem der Ansprüche 1 bis 5, dadurch gekennzeichnet, dass die Klemmelemente (1, 2) isolierte Oberflächen aufweisen.
7. Einrichtung nach einem der Ansprüche 1 bis 6, dadurch gekennzeichnet, dass das Auflageteil (8) eine teil­kreisförmige Ausnehmung (15) aufweist, in welcher der entsprechend ausgebildete Vorsprung (5) schwenkbar an­geordnet ist, und dass die Bohrung (4) für den Abzweig­leiter im Vorsprung (5) angeordnet ist.
8. Einrichtung nach einem der Ansprüche 1 bis 6, dadurch gekennzeichnet, dass das Auflageteil (8) eine ebene Auf­lagefläche (10) aufweist, der Vorsprung (5) nasenförmig ausgebildet ist, und dass die Bohrung (4) für den Ab­zweigleiter im Auflageteil (8) angeordnet ist.
9. Einrichtung nach Anspruch 8, dadurch gekennzeichnet, dass zwei nasenförmige Vorsprünge (5) des Klemmelementes (1) beidseits eines Auges (14) des Klemmelementes (2) auf den Auflageflächen (10) aufliegend angeordnet sind und eine Verdrehsicherung bilden.
EP88113552A 1987-09-07 1988-08-20 Einrichtung zur Herstellung einer Abzweigung von einer einzelnen Ader eines Mehrleiterkabels Expired - Lifetime EP0306754B1 (de)

Priority Applications (1)

Application Number Priority Date Filing Date Title
AT88113552T ATE83338T1 (de) 1987-09-07 1988-08-20 Einrichtung zur herstellung einer abzweigung von einer einzelnen ader eines mehrleiterkabels.

Applications Claiming Priority (2)

Application Number Priority Date Filing Date Title
CH3440/87 1987-09-07
CH3440/87A CH673910A5 (de) 1987-09-07 1987-09-07

Publications (3)

Publication Number Publication Date
EP0306754A2 true EP0306754A2 (de) 1989-03-15
EP0306754A3 EP0306754A3 (en) 1990-06-13
EP0306754B1 EP0306754B1 (de) 1992-12-09

Family

ID=4256002

Family Applications (1)

Application Number Title Priority Date Filing Date
EP88113552A Expired - Lifetime EP0306754B1 (de) 1987-09-07 1988-08-20 Einrichtung zur Herstellung einer Abzweigung von einer einzelnen Ader eines Mehrleiterkabels

Country Status (5)

Country Link
EP (1) EP0306754B1 (de)
AT (1) ATE83338T1 (de)
CH (1) CH673910A5 (de)
DE (1) DE3876548D1 (de)
DK (1) DK167787B1 (de)

Cited By (1)

* Cited by examiner, † Cited by third party
Publication number Priority date Publication date Assignee Title
CN102646954A (zh) * 2012-05-17 2012-08-22 天津玖辰机械设备制造有限公司 一种用于低压电力电缆的机械式分支连接器

Family Cites Families (4)

* Cited by examiner, † Cited by third party
Publication number Priority date Publication date Assignee Title
DE1117685C2 (de) * 1958-09-08 1962-06-07 Alois Schiffmann Dipl Kfm Zweibacken-Starkstromklemme
DE1198435B (de) * 1961-04-17 1965-08-12 Alois Schiffmann Dipl Kfm Verbindungs- und Abzweigklemme fuer isolierte Leitungen
FR2294556A1 (fr) * 1974-12-12 1976-07-09 Verlant Et Beaurain Connecteur de derivation, notamment pour lignes sous tension
DE2903960C3 (de) * 1979-02-02 1984-01-19 Karl Pfisterer Elektrotechnische Spezialartikel Gmbh & Co Kg, 7000 Stuttgart Vollisolierte Abzweigklemme

Cited By (1)

* Cited by examiner, † Cited by third party
Publication number Priority date Publication date Assignee Title
CN102646954A (zh) * 2012-05-17 2012-08-22 天津玖辰机械设备制造有限公司 一种用于低压电力电缆的机械式分支连接器

Also Published As

Publication number Publication date
ATE83338T1 (de) 1992-12-15
DK167787B1 (da) 1993-12-13
EP0306754A3 (en) 1990-06-13
EP0306754B1 (de) 1992-12-09
CH673910A5 (de) 1990-04-12
DE3876548D1 (de) 1993-01-21
DK495088A (da) 1989-03-08
DK495088D0 (da) 1988-09-06

Similar Documents

Publication Publication Date Title
DE69712414T2 (de) Verfahren und Anordung zum schnellen Anschliessen zweier elektrischen Käbel
EP1423890B1 (de) Kabelverbinder
DE2735838C2 (de) Elektrische Anschlußklemme und elektrisches Kabelverbindungsglied
EP0218133A2 (de) Schraubenlose elektrische Klemme
DE19604564C1 (de) Anschlußdose für ein Datennetz
EP0083738B1 (de) Mit Schneidklemmen versehenes elektrisches Kabelanschlusselement
DE2305403C3 (de) Lötfreie Anschlußstelle
CH687113A5 (de) Leiteranschlussvorrichtung fuer Schwachstromanlagen.
EP0306754B1 (de) Einrichtung zur Herstellung einer Abzweigung von einer einzelnen Ader eines Mehrleiterkabels
DE2653357A1 (de) Klemmelement zum abisolierfreien anschluss elektrischer leiter
DE19604615C1 (de) Kontaktierungseinrichtung
DE69804524T2 (de) Isolations-Perforierverbinder
DE2102329A1 (de) Leitungsverbinder
DE10216491C1 (de) Steckverbinder mit Schneidklemmkontakten
DE29709127U1 (de) Elektrische Steckvorrichtung
DE3601788C2 (de)
EP0993689B1 (de) Anschlussvorrichtung für isolierte elektrische leiter ohne abisolierung
DE2932966C2 (de)
DE10210789A1 (de) Anschlussklemme zum Verbinden eines elektrischen Leiters an einer einzelnen Stromschiene
AT527571B1 (de) Erdungsklemme
DE3127284A1 (de) Batterieklemme
DE3621483C2 (de)
DE3436256C2 (de)
DE4141738C1 (en) Ribbon cable connector for supplying parallel magnetic valve group - has profiled guide locating ribbon cable and cooperating holder with knife contacts penetrating cable insulation to contact respective wires
DE2528487A1 (de) Schraubenlose klemmverbindung

Legal Events

Date Code Title Description
PUAI Public reference made under article 153(3) epc to a published international application that has entered the european phase

Free format text: ORIGINAL CODE: 0009012

17P Request for examination filed

Effective date: 19880820

AK Designated contracting states

Kind code of ref document: A2

Designated state(s): AT CH DE LI NL SE

PUAL Search report despatched

Free format text: ORIGINAL CODE: 0009013

AK Designated contracting states

Kind code of ref document: A3

Designated state(s): AT CH DE LI NL SE

17Q First examination report despatched

Effective date: 19920413

GRAA (expected) grant

Free format text: ORIGINAL CODE: 0009210

AK Designated contracting states

Kind code of ref document: B1

Designated state(s): AT CH DE LI NL SE

REF Corresponds to:

Ref document number: 83338

Country of ref document: AT

Date of ref document: 19921215

Kind code of ref document: T

REF Corresponds to:

Ref document number: 3876548

Country of ref document: DE

Date of ref document: 19930121

PLBE No opposition filed within time limit

Free format text: ORIGINAL CODE: 0009261

STAA Information on the status of an ep patent application or granted ep patent

Free format text: STATUS: NO OPPOSITION FILED WITHIN TIME LIMIT

26N No opposition filed
PGFP Annual fee paid to national office [announced via postgrant information from national office to epo]

Ref country code: DE

Payment date: 19940713

Year of fee payment: 7

PGFP Annual fee paid to national office [announced via postgrant information from national office to epo]

Ref country code: AT

Payment date: 19940719

Year of fee payment: 7

PGFP Annual fee paid to national office [announced via postgrant information from national office to epo]

Ref country code: SE

Payment date: 19940831

Year of fee payment: 7

Ref country code: NL

Payment date: 19940831

Year of fee payment: 7

PGFP Annual fee paid to national office [announced via postgrant information from national office to epo]

Ref country code: CH

Payment date: 19941107

Year of fee payment: 7

EAL Se: european patent in force in sweden

Ref document number: 88113552.9

PG25 Lapsed in a contracting state [announced via postgrant information from national office to epo]

Ref country code: AT

Effective date: 19950820

PG25 Lapsed in a contracting state [announced via postgrant information from national office to epo]

Ref country code: SE

Effective date: 19950821

PG25 Lapsed in a contracting state [announced via postgrant information from national office to epo]

Ref country code: LI

Effective date: 19950831

Ref country code: CH

Effective date: 19950831

PG25 Lapsed in a contracting state [announced via postgrant information from national office to epo]

Ref country code: NL

Effective date: 19960301

REG Reference to a national code

Ref country code: CH

Ref legal event code: PL

NLV4 Nl: lapsed or anulled due to non-payment of the annual fee

Effective date: 19960301

PG25 Lapsed in a contracting state [announced via postgrant information from national office to epo]

Ref country code: DE

Effective date: 19960501

EUG Se: european patent has lapsed

Ref document number: 88113552.9