EP0279870B1 - Vorrichtung zum Entleeren von Briefumschlägen - Google Patents

Vorrichtung zum Entleeren von Briefumschlägen Download PDF

Info

Publication number
EP0279870B1
EP0279870B1 EP87102460A EP87102460A EP0279870B1 EP 0279870 B1 EP0279870 B1 EP 0279870B1 EP 87102460 A EP87102460 A EP 87102460A EP 87102460 A EP87102460 A EP 87102460A EP 0279870 B1 EP0279870 B1 EP 0279870B1
Authority
EP
European Patent Office
Prior art keywords
conveying plane
envelope
suction device
table element
plane
Prior art date
Legal status (The legal status is an assumption and is not a legal conclusion. Google has not performed a legal analysis and makes no representation as to the accuracy of the status listed.)
Expired - Lifetime
Application number
EP87102460A
Other languages
English (en)
French (fr)
Other versions
EP0279870A1 (de
Inventor
Wolfgang Ing. grad. Künne
Bernhard Lund
Current Assignee (The listed assignees may be inaccurate. Google has not performed a legal analysis and makes no representation or warranty as to the accuracy of the list.)
STIELOW GmbH
Original Assignee
STIELOW GmbH
Priority date (The priority date is an assumption and is not a legal conclusion. Google has not performed a legal analysis and makes no representation as to the accuracy of the date listed.)
Filing date
Publication date
Application filed by STIELOW GmbH filed Critical STIELOW GmbH
Priority to AT87102460T priority Critical patent/ATE52461T1/de
Priority to EP87102460A priority patent/EP0279870B1/de
Priority to DE8787102460T priority patent/DE3762594D1/de
Priority to US07/150,381 priority patent/US4866908A/en
Publication of EP0279870A1 publication Critical patent/EP0279870A1/de
Application granted granted Critical
Publication of EP0279870B1 publication Critical patent/EP0279870B1/de
Anticipated expiration legal-status Critical
Expired - Lifetime legal-status Critical Current

Links

Images

Classifications

    • BPERFORMING OPERATIONS; TRANSPORTING
    • B65CONVEYING; PACKING; STORING; HANDLING THIN OR FILAMENTARY MATERIAL
    • B65BMACHINES, APPARATUS OR DEVICES FOR, OR METHODS OF, PACKAGING ARTICLES OR MATERIALS; UNPACKING
    • B65B69/00Unpacking of articles or materials, not otherwise provided for
    • BPERFORMING OPERATIONS; TRANSPORTING
    • B43WRITING OR DRAWING IMPLEMENTS; BUREAU ACCESSORIES
    • B43MBUREAU ACCESSORIES NOT OTHERWISE PROVIDED FOR
    • B43M7/00Devices for opening envelopes
    • B43M7/02Devices for both opening envelopes and removing contents

Definitions

  • the invention relates to a device for emptying envelopes opened at one edge by slitting, cutting or milling and conveyed in a substantially horizontal transport plane, each with suction cups lying on one side of the transport plane, at least one of which for separating the cover pages perpendicular to the transport plane and one can also be moved approximately parallel to the transport plane
  • Such a device is known from EP-A 36 941.
  • the envelope to be emptied is opened on at least two edges, namely preferably on the front edge and on one side edge.
  • the upper suction cup can only be moved perpendicular to the transport plane.
  • the lower suction cup cannot be moved perpendicular to the transport plane, but only in the transport or envelope level, so that a relative movement between the envelope and letter contents is generated.
  • it is additionally distorted, i.e. corrugated or curved so that the envelope can be separated from the letter contents and easily removed. This is to avoid that the entire content is not accidentally removed.
  • the invention has for its object to provide a device of the type mentioned, the operational and removal security is guaranteed even with regard to the emptying of envelopes in a variety of formats including thicker and heavier envelopes.
  • the envelopes of very different sizes e.g. with a width of 90 to 180 mm
  • very different thicknesses up to 6 mm
  • the envelope is only opened at the front edge.
  • This envelope which is only open at the front edge, is then not only swung up and distorted by the suction cups, so that the contents are easily accessible, but the table element also grips heavier and larger envelopes as it moves out of the transport plane and thus ensures that the through the special opening movement allows the separation and exposure of the content is not negated.
  • the envelope even if it is larger and heavier, lies when the table element is swung up. This securely supports the envelope.
  • the table element ensures that the desired shape of the envelope, which is to be achieved by the different movement of the suction cups, is achieved and maintained even in the case of envelopes which deviate from the norm, so that the contents can also be safely removed from these envelopes.
  • the lower suction cup is practically firmly connected to the table element and can therefore be moved together with it.
  • This embodiment is simpler and therefore more economical to implement.
  • the additional movement approximately parallel to the envelope plane can advantageously be a pivoting movement with a corresponding pivoting angle.
  • the suction arm carrying the upper suction device is pivoted about its longitudinal axis. This type of additional movement is simple and easy to implement.
  • the device shown in the drawing shows a removal device 1 and an under-table unit 2, in which the high-voltage part and the vacuum pump are accommodated.
  • the removal device can also be used at a different location than the under-table unit.
  • a work table 3 carries the removal device and an envelope tray. Furthermore, a sorting compartment is indicated by dash-dotted lines.
  • the position 6 for the operator is in front of a removal area labeled 5.
  • the envelopes 18 to be opened are arranged in a storage shaft 7. They are removed from the storage shaft 7 by a suction device on a suction arm 8. It is controlled by a photocell 20.
  • this part is followed by the essentially horizontal transport plane with a conveyor system.
  • the cutting unit is designated 10.
  • the cutting tools are adjustable by an adjustment 29.
  • the envelopes After being cut open, reach the actual removal station 12 in the transport device indicated by the arrow in FIG. 1.
  • the removal station is formed by two suction cups 15 and 16.
  • the lower suction cup 15, which lies in the transport plane 9, is fastened to a pivotable table element 13.
  • the upper sucker 16 is attached to a suction arm 17.
  • stops 14 are provided for different envelope sizes.
  • a photo cell 20 detects the removal of the envelope contents 19 and thereby triggers the next removal cycle or machine cycle.
  • a contact switch 24 is located opposite the upper sucker 16.
  • a counter holder 25 is located opposite the lower suction cup 15, since the two suction cups 15 and 16 are offset with respect to one another in the envelope plane.
  • a projection 26 is provided adjacent to the lower suction cup 15.
  • the table element is pivotable about the longitudinal edge, which is parallel to the envelope guide edge 11 but away from it.
  • the front edge of the table element is pivoted approximately to the height of the removal surface 5.
  • This position is clearly visible in Fig. 3.
  • the photocell 22 determines the length of the corresponding envelope and controls the stops 14.1 or 14.2.
  • the suction arm 17 with the upper sucker 16 is moved downward onto the envelope after the envelope has arrived in the removal station.
  • the corresponding end position of the upper suction device 16 is determined by the contact switch 24, which controls the application of the vacuum and the further movements.
  • the table element 13 with the lower suction device and the suction arm 17 with the upper suction device 16 are swiveled together until the position is reached which is sought for the operator to inspect the envelope.
  • the suction arm 17 with the upper suction device 16 continues its movement perpendicular to the envelope plane in order to open the envelope as shown in FIG. 4.
  • the suction arm 17 with the upper suction device 16 carries out the movement approximately parallel to the transport plane, as shown in FIG. 5. This movement is a swivel movement about the swivel angle 23.
  • a projection 26 is provided on the table segment 13, which is provided adjacent to the sucker 15 and in this area ensures further warping and thus safe separation of the envelope and the contents.
  • FIGS. 4 to 5 The sequence of movements of the suction devices and their effect on the envelope 18 and the contents 19 can be clearly seen in FIGS. 4 to 5. Due to the special pivoting movement of the upper suction device 16, the cover edge 28 is pulled up and the contents which may have been sucked in are separated from the cover. The projection 26 supports this separation.
  • the emptying of the envelope is detected by the photocell 20 so that the next removal cycle can be triggered. In this way, the operator himself determines the removal speed.
  • the lower suction device 15 is not firmly connected to the table element 13, but can be moved separately from the latter perpendicular to the envelope plane.
  • the suction cup 15 is attached to its own suction arm.

Landscapes

  • Engineering & Computer Science (AREA)
  • Mechanical Engineering (AREA)
  • Supplying Of Containers To The Packaging Station (AREA)
  • Sheets, Magazines, And Separation Thereof (AREA)
  • Control And Other Processes For Unpacking Of Materials (AREA)

Description

  • Die Erfindung betrifft eine Vorrichtung zum Entleeren von an einer Kante durch Schlitzen, Schneiden oder Fräsen geöffneter und in einer im wesentlichen waagerechten Transportebene geförderten Briefumschlägen, mit je auf einer Seite der Transportebene liegenden Saugern, von denen mindestens einer zum Trennen der Umschlagseiten senkrecht zur Transportebene und einer zusätzlich etwa parallel zu der Transportebene bewegbar ist
  • Eine derartige Vorrichtung ist aus der EP-A 36 941 bekannt. Der zu entleerende Umschlag wird bei dieser bekannten Vorrichtung an mindestens zwei Kanten, nämlich vorzugsweise an der Vorderkante und an einer Seitenkante geöffnet. Zum Auseinanderbewegen der Umschlagseiten ist der obere Sauger nur senkrecht zur Transportebene bewegbar. Der untere Sauger hingegen ist nicht senkrecht zur Transportebene, sondern nur in der Transport-oder Umschlagebene bewegbar, so daß eine Relativbewegung zwischen Umschlag- und Briefinhalt erzeugt wird. Hierdurch wird in Verbindung mit einem Anschlag, an dem sich die eine Umschlagkante bei der Bewegung der Sauger abstützt, zusätzlich verzerrt, d.h. gewellt oder gebogen, so daß der Umschlag sicher von dem Briefinhalt getrennt und dieser leicht entnommen werden kann. Hierdurch soll vermieden werden, daß versehentlich nicht der gesamte Inhalt entnommen wird.
  • Aus der US-A 4 271 656 ist eine andere Vorrichtung zum Entleeren von geschlitzten Briefumschlägen bekannt, bei der auf jeder Seite der Transportebene und damit des Umschlages zwei Sauger in jeweils einem Gehäuse angeordnet sind. Die Gehäuse auf einer Seite sind mit den Saugern so schwenkbar, daß der auseinandergezogene, geöffnete Umschlag geknickt wird. Hierdurch entsteht eine etwa rautenförmige Öffnung.
  • Der Erfindung liegt nun die Aufgabe zugrunde, eine Vorrichtung der eingangs genannten Art zu schaffen, deren Betriebs- und Entnahmesicherheit auch hinsichtlich der Entleerung von Briefumschlägen in den unterschiedlichsten Formaten einschließlich dickerer und schwerer Umschläge sicher gewährleistet wird.
  • Diese Aufgabe wird durch das Kennzeichen des Anspruches 1 gelöst.
  • Auf der im wesentlichen waagerecht liegenden Transportebene, werden die Umschläge sehr unterschiedlicher Größe (z.B. mit einer Breite von 90 bis 180 mm) und sehr unterschiedlicher Dicke (bis zu 6 mm) in die eigentliche Entnahmestation mit den Saugern transportiert. Vorher wird der Umschlag lediglich an der Vorderkante geöffnet. Dieser nur an der Vorderkante geöffnete Umschlag wird dann durch die Sauger nicht nur hochgeschwenkt und verzerrt, so daß der Inhalt leicht zugänglich ist, sondern das Tischelement erfaßt bei seiner Bewegung aus der Transportebene heraus auch schwerere und größere Umschläge und stellt so sicher, daß die durch die besondere Öffnungsbewegung ermöglichte Trennung und Freilegung des Inhalts nicht wieder zunichte gemacht wird. Der Umschlag, auch wenn er größer und schwerer ist, liegt bei dem Hochschwenken des Tischelementes auf. Hierdurch wird der Umschlag sicher abgestützt. Dieses ist auch bei sehr dünnen, beispielsweise Luftpostumschlägen, von Vorteil. Das Tischelement stellt sicher, daß die gewünschte Gestalt des Briefumschlages, die durch die unterschiedliche Bewegung der Sauger erreicht werden soll, auch bei von der Norm abweichenden Briefumschlägen erreicht wird und erhalten bleibt, so daß auch bei diesen Umschlägen der Inhalt sicher entnommen werden kann. Eine zusätzliche Abstützung durch Anschläge bei der Bewegung der Sauger, etwa parallel zu der Transportebene, ist nicht erforderlich, da die Seitenkanten nicht geschlitzt sind und so die Bewegung von der einen Umschlagseite auf die andere über die Seitenkanten übertragen wird. Anschläge sind in vorteilhafter Weise lediglich vorhanden, damit der Umschlag bei seiner Bewegung in die Entleerungsstation richtig auf dem Tischelement positioniert wird. Ein evtl. mit angesaugter Briefinhalt wird durch die Verzerrungsbewegung gelöst und somit freigelegt, so daß die Bedienungsperson ihn erkennen und ergreifen kann.
  • Es sind nun zwei Ausführungsformen möglich, nämlich eine, bei der der in der Transportebene liegende untere Sauger getrennt von dem Element ausgebildet und unabhängig von diesem bewegbar ist. Diese Ausführungsform ermöglicht einen sehr universellen Einsatz.
  • Bei der anderen Ausführungsform ist der untere Sauger praktisch fest mit dem Tischelement verbunden und daher mit diesem gemeinsam bewegbar. Diese Ausführungsform ist einfacher und damit wirtschaftlicher zu realisieren.
  • Die zusätzliche Bewegung etwa parallel zu der Umschlagebene kann in vorteilhafter Weise eine Schwenkbewegung mit einem entsprechenden Schwenkwinkel sein. Hierzu wird der den oberen Sauger tragende Saugarm um seine Längsachse geschwenkt. Diese Art der zusätzlichen Bewegung ist einfach und läßt sich leicht realisieren.
  • Weitere vorteilhafte Ausgestaltungen sind Gegenstand der Unteransprüche.
  • Im folgenden wird die Erfindung unter Hinweis auf die Zeichnung anhand eines Ausführungsbeispieles näher erläutert.
  • Es zeigt:
    • Fig. 1 eine perspektivische Ansicht einer Ausführungsform einer Vorrichtung nach der Erfindung;
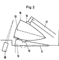
    • Fig. 2 eine schematische Schnittdarstellung quer zur Transportebene durch die wesentlichen Teile der Vorrichtung nach Fig. 1;
    • Fig. 3 eine schematische Ansicht aus der Sicht der Bedienungsperson einschließlich einer darunterliegenden Draufsicht;
    • Fig. 4 eine schematische Ansicht aus der Sicht der Bedienungsperson mit senkrecht zur Umschlagebene bewegten Saugern;
    • Fig. 5 eine der Fig. 4 entsprechende Ansicht, jedoch mit zusätzlich etwa parallel zur Transportebene durch eine Schwenkbewegung bewegten oberen Sauger; und
    • Fig. 6 eine der Fig. 5 entsprechende Ansicht, jedoch mit einem zusätzlichen Vorsprung angrenzend an den unteren Sauger zur Erzeugung einer weiteren Verwerfung der unteren Umschlagseite.
  • Die in der Zeichnung, insbesondere in Fig. 1, dargestellte Vorrichtung zeigt ein Entnahmegerät 1 und ein Untertischaggregat 2, in dem der Starkstromteil und die Vakuumpumpe untergebracht sind. Durch die Trennung des Untertischaggregates von dem Entnahmegerät kann das Entnahmegerät auch an einem anderen Ort als das Untertischaggregat eingesetzt werden. Ein Arbeitstisch 3 trägt das Entnahmegerät und eine Umschlagablage. Weiterhin ist ein Sortierfach strichpunktiert angedeutet.
  • Der Standpunkt 6 für die Bedienungsperson befindet sich vor einer mit 5 bezeichneten Entnahmefläche. Die zu öffnenden Briefumschläge 18 werden in einem Ablageschacht 7 angeordnet. Aus dem Ablageschacht 7 werden sie durch einen Sauger an einem Saugarm 8 entnommen. Die Steuerung erfolgt durch eine Fotozelle 20.
  • An diesen Teil schließt sich in Bearbeitungsrichtung die im wesentlichen waagerecht liegende Transportebene mit einem Fördersystem an. Das Schneidwerk ist mit 10 bezeichnet. Die Schneidwerkzeuge sind durch eine Verstellung 29 verstellbar. Auf der Transportebene 9 gelangen die Umschläge nach dem Aufschneiden an der vorderen Umschlagkante in der durch den Pfeil in Fig. 1 angedeuteten Transporteinrichtung in die eigentliche Entnahmestation 12.
  • Die Entnahmestation wird durch zwei Sauger 15 und 16 gebildet. Der untere Sauger 15, der in der Transportebene 9 liegt, ist an einem schwenkbaren Tischelement 13 befestigt.
  • Der obere Sauger 16 ist an einem Saugarm 17 befestigt.
  • Der Fig. 1 ist zu entnehmen, daß die Transportebene 9 etwas tiefer liegt als die Entnahmefläche 5, so daß eine Umschlagführungskante 11 entsteht.
  • Für die in Transportrichtung vorne liegende Umschlagkante 28 sind für verschiedene Umschlaggrößen Anschläge 14 vorgesehen.
  • Eine Fotozelle 20 erfaßt die Entnahme des Umschlaginhaltes 19 und löst dadurch den nächsten Entnahmetakt bzw. Maschinentakt aus.
  • Dem oberen Sauger 16 liegt ein Kontaktschalter 24 gegenüber. Dem unteren Sauger 15 liegt ein Gegenhalter 25 gegenüber, da die beiden Sauger 15 und 16 in der Umschlagebene gegeneinander versetzt sind.
  • An dem Tischelement 13 ist ein Vorsprung 26 angrenzend an den unteren Sauger 15 vorgesehen.
  • Das Tischelement ist um die Längskante schwenkbar, die parallel zu der Umschlagführungskante 11 aber von dieser entfernt liegt. Die vordere Kante des Tischelementes wird ungefähr auf die Höhe der Entnahmefläche 5 geschwenkt.
  • Im Betrieb werden die mit Hilfe des Saugarmes 8 vereinzelten und durch das Schneidwerk 10 an der Vorderkante geöffneten Briefumschläge 18 durch die Fördereinrichtung in der Transportebene 9 in die Entnahmestation 12 gefördert und zwar bis zum Erreichen des entsprechenden Anschlages 14.1 oder 14.2. Diese Stellung ist in Fig. 3 gut erkennbar. Die Fotozelle 22 stellt die Länge des entsprechenden Briefumschlages fest und steuert die Anschläge 14.1 oder 14.2. Der Saugarm 17 mit dem oberen Sauger 16 wird nach Eintreffen des Briefumschlages in die Entnahmestation nach unten auf den Umschlag bewegt. Die entsprechende Endstellung des oberen Saugers 16 wird durch den Kontaktschalter 24 ermittelt, der das Anlegen des Vakuums und die weiteren Bewegungen steuert. Nach dem Anlegen des Vakuums werden das Tischelement 13 mit dem unteren Sauger und der Saugarm 17 mit dem oberen Sauger 16 gemeinsam hochgeschwenkt, bis die Stellung erreicht ist, die für ein Einsehen der Bedienungsperson in den Umschlag angestrebt wird. Der Saugarm 17 mit dem oberen Sauger 16 setzt seine Bewegung senkrecht zur Umschlagebene fort, um den Umschlag so zu öffnen, wie es in Fig. 4 dargestellt ist. Gleichzeitig hierzu führt der Saugarm 17 mit dem oberen Sauger 16 die Bewegung etwa parallel zur Transportebene durch, wie es in Fig. 5 dargestellt ist. Diese Bewegung ist eine Schwenkbewegung um den Schwenkwinkel 23.
  • Bei dieser Ausführungsform ist auf dem Tischsegment 13 ein Vorsprung 26 vorgesehen, der angrenzend an den Sauger 15 vorgesehen ist und in diesem Bereich für eine weitere Verwerfung und damit sichere Trennung von Umschlag und Inhalt sorgt.
  • Der Bewegungsablauf der Sauger und ihre Wirkung auf den Umschlag 18 und den Inhalt 19 lassen sich deutlich aus den Fig. 4 bis 5 entnehmen. Durch die besondere Schwenkbewegung des oberen Saugers 16 wird die Umschlagkante 28 hochgezogen und dabei der gegebenenfalls mit angesaugte Inhalt von dem Umschlag getrennt. Der Vorsprung 26 unterstützt diese Trennung.
  • Die Entleerung des Umschlages wird durch die Fotozelle 20 erfaßt, so daß der nächste Entnahmetakt ausgelöst werden kann. Hierdurch bestimmt die Bedienungsperson die Entnahmegeschwindigkeit selbst.
  • Anstelle der Verwendung mehrerer Anschläge 14.1 und 14.2 ist es auch möglich, lediglich einen Anschlag 14 vorzusehen, der entsprechend verstellt werden kann.
  • Bei einer nicht dargestellten anderen Ausführungsform ist der untere Sauger 15 nicht mit dem Tischelement 13 fest verbunden, sondern getrennt von diesem senkrecht zur Umschlagebene bewegbar. In diesem Falle ist der Sauger 15 an einem eigenen Saugarm befestigt.

Claims (8)

1. Vorrichtung zum Entleeren von an einer Kante durch Schlitzen, Schneiden oder Fräsen geöffneter und in einer im wesentlichen waagerechten Transportebene (9) geförderten Briefumschlägen (18), mit je auf einer Seite der Transportebene liegenden Saugern (15, 16), von denen mindestens einer zum Trennen der Umschlagseiten senkrecht zur Transportebene und einer zusätzlich etwa parallel zu der Transportebene bewegbar ist, dadurch gekennzeichnet, daß der Umschlag (18) nur an der Vorderkante geöffnet ist, daß der obere Sauger (16) derjenige ist, der zusätzlich etwa parallel zu der Transportebene bewegbar ist, und daß im Bereich des unteren Saugers (15) in der Transportebene (9) ein Tischelement (13) angeordnet ist, daß aus der Transportebene hochschwenkbar ist.
2. Vorrichtung nach Anspruch 1, dadurch gekennzeichnet, daß die zusätzliche Bewegung des oberen Saugers (16) eine Schwenkbewegung (Schwenkwinkel 23) ist.
3. Vorrichtung nach Anspruch 1 oder 2, dadurch gekennzeichnet, daß der in der Transportebene liegende untere Sauger (15) getrennt von dem Tischelement (13) ausgebildet und unabhängig von diesem bewegbar ist.
4. Vorrichtung nach Anspruch 1 oder 2, dadurch gekennzeichnet, daß der in der Transportebene (9) liegende untere Sauger (15) mit dem Tischelement (13) verbunden und mit diesem bewegbar ist.
5. Vorrichtung nach einem oder mehreren der vorstehenden Ansprüche, dadurch gekennzeichnet, daß dem Tischelement (13) ein Kontaktschalter (24) zugeordnet ist, der durch den nicht in der Tischebene liegenden oberen Sauger (16) betätigbar ist.
6. Vorrichtung nach einem oder mehreren der vorstehenden Ansprüche, dadurch gekennzeichnet, daß in Förderrichtung des Briefumschlages (18) hinter dem Tischelement (13) ein oder mehrere in die Transportebene (9) bewegbare Anschläge (14) für die entsprechende Umschlagkante (28) vorgesehen sind.
7. Vorrichtung nach einem oder mehreren der vorstehenden Ansprüche, dadurch gekennzeichnet, daß auf dem Tischelement (13) angrenzend an den in der Transportebene liegenden unteren Sauger (15) ein Vorsprung (26) ausgebildet ist.
8. Vorrichtung nach einem oder mehreren der vorstehenden Ansprüche, dadurch gekennzeichnet, daß vor der Transportebene (9) eine etwas höher liegende, eine Umschlagführungskante (11) bildende Entnahmefläche (5) vorgesehen ist, und daß das Tischelement (13) bzw. dessen Vorderkante angrenzend an die Umschlagführungskante (11) auf die Ebene der Entnahmefläche (5) hochschwenkbar ist.
EP87102460A 1987-02-21 1987-02-21 Vorrichtung zum Entleeren von Briefumschlägen Expired - Lifetime EP0279870B1 (de)

Priority Applications (4)

Application Number Priority Date Filing Date Title
AT87102460T ATE52461T1 (de) 1987-02-21 1987-02-21 Vorrichtung zum entleeren von briefumschlaegen.
EP87102460A EP0279870B1 (de) 1987-02-21 1987-02-21 Vorrichtung zum Entleeren von Briefumschlägen
DE8787102460T DE3762594D1 (de) 1987-02-21 1987-02-21 Vorrichtung zum entleeren von briefumschlaegen.
US07/150,381 US4866908A (en) 1987-02-21 1988-01-29 Table-top mail extraction apparatus having separate, connectable power unit

Applications Claiming Priority (1)

Application Number Priority Date Filing Date Title
EP87102460A EP0279870B1 (de) 1987-02-21 1987-02-21 Vorrichtung zum Entleeren von Briefumschlägen

Publications (2)

Publication Number Publication Date
EP0279870A1 EP0279870A1 (de) 1988-08-31
EP0279870B1 true EP0279870B1 (de) 1990-05-09

Family

ID=8196772

Family Applications (1)

Application Number Title Priority Date Filing Date
EP87102460A Expired - Lifetime EP0279870B1 (de) 1987-02-21 1987-02-21 Vorrichtung zum Entleeren von Briefumschlägen

Country Status (4)

Country Link
US (1) US4866908A (de)
EP (1) EP0279870B1 (de)
AT (1) ATE52461T1 (de)
DE (1) DE3762594D1 (de)

Families Citing this family (15)

* Cited by examiner, † Cited by third party
Publication number Priority date Publication date Assignee Title
JP2983992B2 (ja) * 1988-09-01 1999-11-29 日本テトラパック株式会社 包装容器用ブランクの移送装置
US4962624A (en) * 1989-12-20 1990-10-16 Pitney Bowes Inc. Envelope opening apparatus
DE4211885C2 (de) * 1992-04-09 1994-07-28 Stielow Gmbh Verfahren und Vorrichtung zum Entleeren von Briefumschlägen
US5374152A (en) * 1992-08-03 1994-12-20 Agissar Corporation Automatic content separating system
DE4411245A1 (de) * 1994-03-31 1995-10-05 Stielow Gmbh Verfahren und Vorrichtung zum Transportieren und Trennen von Briefumschlaginhalten
US5598686A (en) * 1995-11-13 1997-02-04 Owen Tri-Cut Limited Mail processing equipment
DE10015756C2 (de) * 2000-03-29 2003-06-12 Pitney Bowes Technologies Gmbh Kuvertierstation
DE50100264D1 (de) * 2001-08-16 2003-06-26 Stielow Gmbh Vorrichtung zum Vereinzeln von Breifumschlägen
US7992853B2 (en) * 2003-06-07 2011-08-09 Opex Corporation Method and apparatus for processing mail to obtain image data of contents
US7537203B2 (en) * 2003-06-07 2009-05-26 Opex Corporation Method and apparatus for processing mail obtain image data of contents
US8157254B2 (en) * 2004-06-04 2012-04-17 Opex Corporation Method and apparatus for processing mail to obtain image data of contents
USD574881S1 (en) * 2005-03-07 2008-08-12 Opex Corporation Document processing device
US7866936B2 (en) * 2007-05-01 2011-01-11 Northrop Grumman Systems Corporation System and method for transferring mail between containers
BR112012026761A2 (pt) 2010-04-19 2017-10-10 Opex Corp aparelho para processamento de documentos, e, método para processamento de documentos
JP6145891B2 (ja) * 2014-05-02 2017-06-14 富士フイルム株式会社 包装内容物の自動取り出し方法および装置

Family Cites Families (19)

* Cited by examiner, † Cited by third party
Publication number Priority date Publication date Assignee Title
US32328A (en) * 1861-05-14 Field-bucket
FR958858A (de) * 1945-02-20 1950-03-21
DE1006310B (de) * 1953-11-26 1957-04-11 Gustav Schickedanz Briefoeffnungsmaschine
DE963126C (de) * 1955-11-10 1957-05-02 Gustav Schickedanz Fa Verfahren und Vorrichtung zum OEffnen von Briefen
US3384252A (en) * 1966-11-22 1968-05-21 Horace M. West Apparatus for extracting items from envelopes
US3691726A (en) * 1970-11-05 1972-09-19 Stephens Ind Inc Method and apparatus for opening envelopes
US4016708A (en) * 1974-08-13 1977-04-12 Docutronix, Inc. Envelope processing machine
US3979884A (en) * 1974-09-30 1976-09-14 Opex Corporation Mail extracting and sorting desk
USRE32328E (en) 1974-09-30 1987-01-13 Opex Corporation Mail extracting and sorting desk
CH583609A5 (de) * 1974-11-05 1977-01-14 Aluminiumwerke Ag Rorschach
US4050222A (en) * 1975-08-29 1977-09-27 Stephens Industries, Inc. Envelope opening apparatus
US4159611A (en) * 1976-07-22 1979-07-03 Mail-Ex Corporation Envelope processing machine and method
US4318322A (en) * 1976-07-22 1982-03-09 Mail-Ex Corporation Envelope cutter apparatus
US4110958A (en) * 1977-04-11 1978-09-05 Stevens Albert F Extraction of contents from envelopes
US4124968A (en) * 1977-07-08 1978-11-14 Opex Corporation Content activated envelope extraction
US4353197A (en) * 1977-07-08 1982-10-12 Opex Corporation Content activated envelope extraction
US4271656A (en) * 1979-09-26 1981-06-09 Mail-Ex Corporation Envelope processing machine
DE3012857C2 (de) * 1980-04-02 1982-08-19 Stielow Gmbh, 2000 Norderstedt Vorrichtung zum Entleeren von Briefumschlägen
US4333300A (en) * 1980-05-30 1982-06-08 Mail-Ex Corporation Envelope processing machine and method

Also Published As

Publication number Publication date
US4866908A (en) 1989-09-19
EP0279870A1 (de) 1988-08-31
ATE52461T1 (de) 1990-05-15
DE3762594D1 (de) 1990-06-13

Similar Documents

Publication Publication Date Title
EP0279870B1 (de) Vorrichtung zum Entleeren von Briefumschlägen
DE3305081C2 (de) Vorrichtung zum Vereinzeln des jeweils obersten Blattes eines Blattstapels
EP0240788A1 (de) Röntgenblattfilmkassetten-Beladegerät
DE69220911T2 (de) Vorrichtung zum Trennen von blattförmigem Material
DE2543692A1 (de) Vorrichtung zum erleichtern des herausnehmens des inhaltes von umschlaegen und zum sortieren des umschlaginhaltes
DE60204587T2 (de) Vorrichtung zum automatischen beschneiden und abschneiden von bildern auf papierbögen und anderen graphischen und photographischen trägern
DE3104659A1 (de) Faksimileeinrichtung
DE3012857C2 (de) Vorrichtung zum Entleeren von Briefumschlägen
EP0565837B1 (de) Verfahren und Vorrichtung zum Entleeren von Briefumschlägen
DE2737196B2 (de) Vorrichtung zum Einbringen von Bandkassetten o.dgl. und Beilagen in Klappboxen
DE69104123T2 (de) Verfahren und Vorrichtung zum Entleeren von Briefen.
DE3536350A1 (de) Verfahren zum zaehlen von zu einem fortlaufenden band angeordneten gegenstaenden und einrichtung zur durchfuehrung dieses verfahrens
DE1302083B (de) Vorrichtung zum UEberfuehren von Blattsaetzen von einem Blattstapel an eine Foerdereinrichtung
EP0080185B1 (de) Verfahren und Einrichtung zum Öffnen von zwei- oder mehrblättrigen Erzeugnissen, insbesondere Druckprodukten
EP1149791B1 (de) Vorrichtung zur Probebogenentnahme an einem Ausleger einer Bogendruckmaschine
DE69504425T2 (de) Vorrichtung zum Entfalten von Dokumenten
EP1238930B1 (de) Bogentrennvorrichtung
DE3104660A1 (de) Faksimileeinrichtung
DE2800383C2 (de)
DE2535889C2 (de) Maschine zum Entleeren eines insgesamt rechteckigen Briefumschlags
EP0010280B1 (de) Niederhalte-Vorrichtung für eine Blattvereinzelungseinrichtung
DE2033126B2 (de) Vorrichtung zur Abnahme einzelner Blätter von einem Blattstapel
EP0452708B1 (de) Bogenausscheidevorrichtung
DE2833862C2 (de) Vorrichtung zum Einbringen von Bandkassetten o.dgl. und Beilagen in insbesondere Klappboxen
DE4106417C1 (en) Cutting paper on machine - involves two knives and table connected to machine frame by mechanical couplings

Legal Events

Date Code Title Description
PUAI Public reference made under article 153(3) epc to a published international application that has entered the european phase

Free format text: ORIGINAL CODE: 0009012

17P Request for examination filed

Effective date: 19880422

AK Designated contracting states

Kind code of ref document: A1

Designated state(s): AT BE CH DE ES FR GB IT LI NL SE

17Q First examination report despatched

Effective date: 19890111

GRAA (expected) grant

Free format text: ORIGINAL CODE: 0009210

AK Designated contracting states

Kind code of ref document: B1

Designated state(s): AT BE CH DE ES FR GB IT LI NL SE

PG25 Lapsed in a contracting state [announced via postgrant information from national office to epo]

Ref country code: NL

Effective date: 19900509

Ref country code: SE

Effective date: 19900509

Ref country code: BE

Effective date: 19900509

Ref country code: IT

Free format text: LAPSE BECAUSE OF FAILURE TO SUBMIT A TRANSLATION OF THE DESCRIPTION OR TO PAY THE FEE WITHIN THE PRE;WARNING: LAPSES OF ITALIAN PATENTS WITH EFFECTIVE DATE BEFORE 2007 MAY HAVE OCCURRED AT ANY TIME BEFORE 2007. THE CORRECT EFFECTIVE DATE MAY BE DIFFERENT FROM THE ONE RECORDED.SCRIBED TIME-LIMIT

Effective date: 19900509

REF Corresponds to:

Ref document number: 52461

Country of ref document: AT

Date of ref document: 19900515

Kind code of ref document: T

REF Corresponds to:

Ref document number: 3762594

Country of ref document: DE

Date of ref document: 19900613

GBT Gb: translation of ep patent filed (gb section 77(6)(a)/1977)
ET Fr: translation filed
PG25 Lapsed in a contracting state [announced via postgrant information from national office to epo]

Ref country code: ES

Free format text: LAPSE BECAUSE OF FAILURE TO SUBMIT A TRANSLATION OF THE DESCRIPTION OR TO PAY THE FEE WITHIN THE PRESCRIBED TIME-LIMIT

Effective date: 19900820

NLV1 Nl: lapsed or annulled due to failure to fulfill the requirements of art. 29p and 29m of the patents act
PG25 Lapsed in a contracting state [announced via postgrant information from national office to epo]

Ref country code: AT

Effective date: 19910221

PG25 Lapsed in a contracting state [announced via postgrant information from national office to epo]

Ref country code: CH

Effective date: 19910228

Ref country code: LI

Effective date: 19910228

PLBE No opposition filed within time limit

Free format text: ORIGINAL CODE: 0009261

STAA Information on the status of an ep patent application or granted ep patent

Free format text: STATUS: NO OPPOSITION FILED WITHIN TIME LIMIT

26N No opposition filed
REG Reference to a national code

Ref country code: CH

Ref legal event code: PL

PGFP Annual fee paid to national office [announced via postgrant information from national office to epo]

Ref country code: DE

Payment date: 19920123

Year of fee payment: 6

PGFP Annual fee paid to national office [announced via postgrant information from national office to epo]

Ref country code: GB

Payment date: 19920205

Year of fee payment: 6

PGFP Annual fee paid to national office [announced via postgrant information from national office to epo]

Ref country code: FR

Payment date: 19920214

Year of fee payment: 6

PG25 Lapsed in a contracting state [announced via postgrant information from national office to epo]

Ref country code: GB

Effective date: 19930221

GBPC Gb: european patent ceased through non-payment of renewal fee

Effective date: 19930221

PG25 Lapsed in a contracting state [announced via postgrant information from national office to epo]

Ref country code: FR

Effective date: 19931029

PG25 Lapsed in a contracting state [announced via postgrant information from national office to epo]

Ref country code: DE

Effective date: 19931103

REG Reference to a national code

Ref country code: FR

Ref legal event code: ST