EP0214098A2 - Vorrichtung zur Befestigung eines Geruchsvertilgers an einer Klosettschüssel - Google Patents

Vorrichtung zur Befestigung eines Geruchsvertilgers an einer Klosettschüssel Download PDF

Info

Publication number
EP0214098A2
EP0214098A2 EP86810371A EP86810371A EP0214098A2 EP 0214098 A2 EP0214098 A2 EP 0214098A2 EP 86810371 A EP86810371 A EP 86810371A EP 86810371 A EP86810371 A EP 86810371A EP 0214098 A2 EP0214098 A2 EP 0214098A2
Authority
EP
European Patent Office
Prior art keywords
suction nozzle
cross member
odor control
toilet bowl
control device
Prior art date
Legal status (The legal status is an assumption and is not a legal conclusion. Google has not performed a legal analysis and makes no representation as to the accuracy of the status listed.)
Granted
Application number
EP86810371A
Other languages
English (en)
French (fr)
Other versions
EP0214098B1 (de
EP0214098A3 (en
Inventor
Edwin Aerne
Current Assignee (The listed assignees may be inaccurate. Google has not performed a legal analysis and makes no representation or warranty as to the accuracy of the list.)
Bratschi Viktor
Original Assignee
Individual
Priority date (The priority date is an assumption and is not a legal conclusion. Google has not performed a legal analysis and makes no representation as to the accuracy of the date listed.)
Filing date
Publication date
Application filed by Individual filed Critical Individual
Priority to AT86810371T priority Critical patent/ATE43386T1/de
Publication of EP0214098A2 publication Critical patent/EP0214098A2/de
Publication of EP0214098A3 publication Critical patent/EP0214098A3/de
Application granted granted Critical
Publication of EP0214098B1 publication Critical patent/EP0214098B1/de
Expired legal-status Critical Current

Links

Images

Classifications

    • EFIXED CONSTRUCTIONS
    • E03WATER SUPPLY; SEWERAGE
    • E03DWATER-CLOSETS OR URINALS WITH FLUSHING DEVICES; FLUSHING VALVES THEREFOR
    • E03D9/00Sanitary or other accessories for lavatories ; Devices for cleaning or disinfecting the toilet room or the toilet bowl; Devices for eliminating smells
    • E03D9/04Special arrangement or operation of ventilating devices
    • E03D9/05Special arrangement or operation of ventilating devices ventilating the bowl
    • E03D9/052Special arrangement or operation of ventilating devices ventilating the bowl using incorporated fans

Definitions

  • the invention relates to a device for fastening a motor-driven odor control device to a toilet bowl, with a suction nozzle to be placed on the upper edge of the bowl, which is connected to the odor control device, the suction nozzle being arranged between the fastening screws serving to pivotally hold the ring seat on the toilet bowl and is attached to them.
  • the object of the invention is to further develop a device of the type mentioned at the outset in such a way that it can also be used for toilet bowls with an attached cistern and, with the same parts, can optionally also be arranged on the right or left side to be easily suspended on existing toilet bowls can.
  • suction nozzles contain two lateral flanges penetrated by the fastening screws and contain lateral openings in which an elongated, hollow, axially displaceable cross member is inserted, which is provided in the area of the suction nozzle with a through opening, that of this through opening adjacent end face of the cross member is closed and at the other end of the cross member there is a fastening element for receiving the odor control device and the cross member can be inserted either on the right or left side into the openings of the suction nozzle.
  • the suction nozzle has only a low overall height and the crossmember is designed to be displaceable, it can also be retrofitted to most standard toilet bowls.
  • the device contains a suction nozzle 1 and a hollow cross carrier 2, which is slidably inserted in the suction nozzle and is flow-connected to it.
  • a fastening head 5 in which an odor control device 6 is fastened.
  • the other end is closed at its end face l3 by a plug-like insert.
  • the suction nozzle l contains a flat mounting flange 3 with elongated holes 4 on both sides, to adapt to any different hole spacing of the screws l8, which pivotally connect the ring seat l6 to the toilet bowl l4.
  • the elongated holes 4 could also be open-edged.
  • the suction nozzle l is located in the space between the two fastening screws l8 and rests on the upper edge of the toilet bowl l4.
  • the suction nozzle l contains a suction channel l0 with an open mouth l2, which just protrudes into the inside of the key in the assembled state and is thus suitable for extracting unpleasant gases or odors from the inside of the bowl.
  • the suction channel l0 which increases in cross-section to the rear, is closed off at the rear by a wall l5.
  • In the suction nozzle l there is an opening ll on each side for receiving the crossmember 2.
  • In the area of the suction channel 10 there is an elongated opening 8 in the crossmember 2, so that there is a flow connection between the mouth l2, the channel l0, the hollow cross member 2 and the odor control device 6.
  • the cross-section which is rectangular in cross-section and resistant to bending, is inserted, but is longitudinally displaceable, through the openings 11 into the interior of the suction nozzle 1.
  • the length of the opening 8 is shorter than the width of the suction channel l0.
  • the cross member 2 can be used either on the left or right side, since the suction nozzle l is provided on both sides with the same lateral openings ll.
  • the attachment to the odor control device 6 is designed such that the cross member 2 can also be inserted into the head 5 of the device 6 in a position rotated by 180.degree. And secured therein.
  • the cross member 2 is provided on the two narrow sides with two positionally corresponding elongated openings 8, so that it can be inserted either on the left or right side if the device 6 is not changed.
  • the odor control device 6 When the odor control device 6 is switched on, smelling gases or odors are sucked out of the toilet bowl 14 by the suction nozzle 1 and neutralized by the activated carbon contained in the odor control device.
  • the motor of the odor control device 6 can be switched on in a manner known per se by actuating an electrical switch; however, it could also be switched on by folding down the ring seat 16, by remote control or by locking the door of the toilet room.
  • the channel 10 it is possible to design the channel 10 not with a wedge shape but with parallel walls.
  • the cross member 2 could have a different cross-sectional shape, for example round or oval.

Landscapes

  • Health & Medical Sciences (AREA)
  • Public Health (AREA)
  • Epidemiology (AREA)
  • Life Sciences & Earth Sciences (AREA)
  • Engineering & Computer Science (AREA)
  • Hydrology & Water Resources (AREA)
  • Water Supply & Treatment (AREA)
  • Bidet-Like Cleaning Device And Other Flush Toilet Accessories (AREA)
  • Sanitary Device For Flush Toilet (AREA)

Abstract

Ein motorgetriebenes Geruchsvertilgungsgerät (6) wird seitlich einer Klosettschüssel (l4) hängend befestigt. Hiezu dient ein hohler Quer­träger (2), der seitlich in eine Absaugdüse (l) hineinragt. Die Absaugdüse (l) wird am obern Rand der Klosettschüssel (l4) durch die gleichen Befestigungsschrauben (l8) wie der Ringsitz (l6) festgehalten. Unangenehme Gerüche werden von der Mündung (l2) der Absaugdüse (l) über den Querträger (2) in das mit Aktivkohle versehene Geruchsvertilgungsgerät (6) hineingesogen. Der Querträger (2) kann links- oder rechtsseitig in die Absaugdüse (l) eingeschoben werden. Dadurch ist auch bei beschränkten Platzverhältnissen eine sichere, seitlich hängende Befestigung des Geruchsvertilgungsgeräten (2) möglich.

Description

  • Die Erfindung bezieht sich auf eine Vorrichtung zur Befestigung eines motorgetriebenen Geruchs­vertilgungsgerätes an einer Klosettschüssel, mit einer auf dem obern Schüsselrand aufzulie­gen bestimmten Absaugdüse, die mit dem Geruchsver­tilgungsgerät in Verbindung steht, wobei die Absaugdüse zwischen den zur schwenkbaren Halte­rung des Ringsitzes an der Klosettschüssel dienen­den Befestigungsschrauben angeordnet und mit diesen befestigt ist.
  • Aus der CH-A. Nr. 387 56l ist bereits eine Ge­ruchsvertilungseinrichtung für Klosetts bekannt, bei welcher das Geruchsvertilgungsgerät mit sei­ner Absaugzunge am Schüsselrand festgeklemmt wird und von der Klosettschüssel nach hinten abragt. Bei Klosettschüsseln mit angebautem Spül­kasten ist indessen eine solche Anordnung aus Platzgründen nicht möglich.
  • Es ist ferner bekannt, Geruchsvertilungsgeräte seitlich des Klosettbeckens herabhängend anzu­ ordnen. Infolge des Gewichtes solcher Geruchsver­tilgungsgeräte - die mit Gebläse und Elektromotor versehen sind - hat es sich als notwendig heraus­gestellt, eine auf dem Fussboden aufgesetzte Standkonsole zur Abstützung des Gerätes vorzusehen. Solche Standkonsolen sind beim Reinigen des Klosett­raumes und wegen des zusätzlichen Platzbedarfes hinderlich und zudem erfordern sie weitere Bautei­le. Ausserdem konnten für die rechts- oder links­seitige Anordnung nicht die gleichen Teile verwen­det werden, wodurch die Lagerhaltung und das Bestellwesen erschwert wurden. Ein weiterer Nach­teil bestand darin, dass bei bestehenden Klosett­schüsseln die üblicherweise vorhandenen und an der Sitzschale festgemachten Gummipuffer dem seitlichen Einsetzen der Absaugdüse hinderlich entgegenstanden.
  • Mit der Erfindung soll die Aufgabe gelöst werden, eine Vorrichtung der eingangs genannten Art derart weiter auszubilden, dass sie auch für Klosett­schüsseln mit angebautem Spülkasten verwendbar ist und mit den gleichen Teilen wahlweise auch der rechten oder linken Seite auf nachträglich leicht an bestehende Klosettschüsseln hängend angeordnet werden kann.
  • Diese Aufgabe wird gelöst durch eine Vorrichtung bei der die Absaugdüsen zwei seitliche, von den Befestigungsschrauben durchdrungene Flansche enthält und seitliche Oeffnungen enthält, in welche passend ein länglicher, hohler in Axialrich­tung verschiebbarer Querträger eingesetzt ist, der im Bereich der Absaugdüse mit einer Durchgangs­öffnung versehen ist, die dieser Durchgangsöffnung benachbarte Stirnseite des Querträgers geschlossen ist und am andern Ende des Querträgers ein Befe­stigungsorgan zur Aufnahme des Geruchsvertilgungs­gerätes vorhanden ist und der Querträger wahlweise rechts- oder linksseitig in die Oeffnungen der Absaugdüse einsetzbar ist.
  • Auch bei beschränkten Platzverhältnissen kann dadurch eine sichere, seitlich der Klosettschüssel hängende Befestigung des Geruchsvertilgungsgerä­tes erreicht werden, wobei dieses Gerät wahlweise linksseitig oder rechtsseitig angebracht werden kann, je nach den baulichen Verhältnissen. Da die Absaugdüse nur eine niedrige Bauhöhe hat und der Querträger verschiebbar ausgebildet ist, kann sie an die meisten handelsüblichen Klosett­schüsseln auch nachträglich angebaut werden.
  • In der Zeichnung ist ein Ausführungsbeispiel des Erfindungsgegenstandes dargestellt. Es zeigen:
    • Fig. l eine Draufsicht auf die Vorrichtung
    • Fig. 2 eine Teilansicht des Querträgers in Rich­tung des Pfeiles A in Fig. l
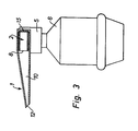
    • Fig. 3 einen Querschnitt durch die Absaugdüse mit Geruchsvertilgungsgerät
    • Fig. 4 eine perspektivische Darstellung des an einer Klosettschüssel befestigten Gerätes
  • Die Vorrichtung enthält gemäss den Figuren l und 2 eine Absaugdüse l sowie einen hohlen Quer­ träger 2, welcher in die Absaugdüse verschiebbar eingesetzt ist und mit dieser durchflussverbunden ist. An dem von der Absaugdüse l abgewandten Ende dieses Querträgers 2 befindet sich ein Befesti­gungskopf 5, in welchem ein Geruchsvertilgungs­gerät 6 befestigt ist. Das andere Ende ist an ihrer Stirnseite l3 durch ein pfropfenartiges Einsatzstück verschlossen. Die Absaugdüse l enthält beidseitig je einen flachen Befestigungsflansch 3 mit Langlöchern 4, zur Anpassung an allenfalls unterschiedliche Lochabstände der Schrauben l8, welche den Ringsitz l6 schwenkbar mit der Klosett­schüssel l4 verbinden. Die Langlöcher 4 könnten auch randoffen ausgebildet sein. Somit durchdringen die gleichen Befestigungsschrauben l8, welche den Ringsitz l6 mit dem obern Rand der Klosett­schüssel l4 verbinden, die Befestigungsflansche 3 der Absaugdüse l. Die Absaugdüse l befindet sich im Raum zwischen den beiden Befestigungsschrau­ben l8 und liegt auf dem obern Rand der Klosett­schüssel l4 auf.
  • Wie aus Figur 3 hervorgeht, enthält die Absaug­düse l innen einen Absaugkanal l0 mit offener Mündung l2, der im montierten Zustand vorne knapp in das Schlüsselinnere hineinragt und so geeignet ist, unangenehme Gase bzw. Gerüche aus dem Schüssel­innern abzusaugen. Der im Querschnitt sich nach hinten vergrössernde Absaugkanal l0 ist hinten durch eine Wand l5 abgeschlossen. In der Absaug­düse l befinden sich an beiden Seiten je eine Oeffnung ll zur Aufnahme des Querträgers 2. Im Bereich des Absaugkanales l0 ist im Querträger 2 ein länglicher Durchbruch 8 vorhanden, sodass also eine Durchflussverbindung zwischen der Mündung l2, dem Kanal l0, dem hohlen Querträger 2 und dem Geruchsvertilgungungsgerät 6 besteht. Der im Querschnitt rechteckige, biegesteife Querträger 2 ist passend aber längsverschiebbar durch die Oeffnungen ll in das Innere der Absaugdüse l eingeschoben. Die Länge des Durchbruches 8 ist kürzer als die Breite des Absaugkanales l0. Der Querträger 2 kann wahlweise links- oder rechtssei­tig eingesetzt werden, da die Absaugdüse l beid­seitig mit gleichen seitlichen Oeffnungen ll versehen ist. Dabei sind zwei Varianten möglich. Bei der einen Variante ist die Befestigung am Geruchsvertilgungsgerät 6 so ausgebildet, dass der Querträger 2 auch in einer um l80° gedreh­ten Lage in den Kopf 5 des Gerätes 6 eingesetzt und in diesem gesichert werden kann. Bei der andern Variante ist der Querträger 2 an den beiden Schmalseiten mit zwei lageübereinstimmenden länglichen Durchbrüchen 8 versehen, sodass er bei unveränderter Befestigung des Gerätes 6 wahl­weise links- oder rechtsseitig eingeschoben werden kann.
  • Bei herabgeklapptem Ringsitz l6 befindet sich somit die Absaugdüse l in dem durch die Gummi­puffer l9 od. dgl. gegebenen Zwischenraum zwischen diesem Ringsitz l6 und dem oberen Rand l7 der Klosettschüssel l4.
  • Wenn das Geruchsvertilgungsgerät 6 eingeschaltet ist, werden somit überiechende Gase oder Gerüche durch die Absaugdüse l aus der Klosettschüssel l4 abgesaugt und durch die im Geruchsvertilgungs­gerät enthaltene Aktivkohle neutralisiert. Die Einschaltung des Motors des Geruchsvertilgungsge­rätes 6 kann in an sich bekannter Weise durch Betätigung eines elektrischen Schalters erfolgen; sie könnte indessen auch durch das Herabklappen des Ringsitzes l6, durch Fernsteuerung oder durch die Türverriegelung des Klosettraumes eingeschal­tet werden.
  • Als Ausführungsvariante ist es möglich, den Kanal 10 nicht keilförmig sondern mit parallelen Wänden auszuführen. Ferner könnte der Querträger 2 eine andere Querschnittsform haben, beispielsweise rund oder oval sein.

Claims (4)

1. Vorrichtung zur Befestigung eines motorgetriebe­nen Geruchsvertilgungsgerätes (6) an einer Klosett­schüssel (l4), mit einer auf dem oberen Schüssel­rand (l7) aufzuliegen bestimmten Absaugdüse (l), die mit dem Geruchsvertilgungsgerät (6) in Verbin­dung steht, wobei die Absaugdüse (l) zwischen den zur schwenkbaren Halterung des Ringsitzes (l6) an der Klosett-Schüssel (l4) dienenden Befesti­gungs-Schrauben (l8) angeordnet und mit diesen befestigt ist, dadurch gekennzeichnet, dass die Absaugdüsen (l) zwei seitliche, von den Befesti­gungs-Schrauben (l8) durchdrungene Flansche (3) enthält und seitliche Oeffnungen (ll) ent­hält, in welche passend ein länglicher, hohler in Axialrichtung verschiebbarer Querträger (2) eingesetzt ist, der im Bereich der Absaugdüse (l) mit einer Durchgangsöffnung (8) versehen ist, die dieser Durchgangsöffnung (8) benachbarte Stirnseite (l3) des Querträgers (ll) geschlossen ist und am andern Ende des Querträgers (2) ein Befestigungsorgan (5) zur Aufnahme des Geruchs­vertilungsgerätes (6) vorhanden ist und der Quer­träger (2) wahlweise rechts- oder linksseitig in die Oeffnungen (ll) der Absaugdüse (l) einsetz­bar ist.
2. Vorrichtung nach Anspruch l, dadurch gekenn­zeichnet, dass der Querträger (2) eine rechtecki­ge Querschnittsform hat, auf seinen Schmalseiten zwei sich gegenüberliegende Durchgangsöffnungen (8) vorhanden sind und die der Mündung (l2) der Absaugdüse (l) abgekehrte Wand (l5) geschlossen ist.
3. Vorrichtung nach Anspruch l oder 2, dadurch gekennzeichnet, dass die Durchgangsöffnung oder ­-öffnungen (8) kürzer sind als die Breite der Absaugdüse (l).
4. Vorrichtung nach einem der Ansprüche l - 3, dadurch gekennzeichnet, dass die Absaugdüse (l) ­- von ihrer Mündung (l2) ausgehend - einen nach hinten vergrössernden, keilförmigen Querschnitt hat.
EP86810371A 1985-09-03 1986-08-20 Vorrichtung zur Befestigung eines Geruchsvertilgers an einer Klosettschüssel Expired EP0214098B1 (de)

Priority Applications (1)

Application Number Priority Date Filing Date Title
AT86810371T ATE43386T1 (de) 1985-09-03 1986-08-20 Vorrichtung zur befestigung eines geruchsvertilgers an einer klosettschuessel.

Applications Claiming Priority (2)

Application Number Priority Date Filing Date Title
CH3781/85 1985-09-03
CH378185 1985-09-03

Publications (3)

Publication Number Publication Date
EP0214098A2 true EP0214098A2 (de) 1987-03-11
EP0214098A3 EP0214098A3 (en) 1987-05-20
EP0214098B1 EP0214098B1 (de) 1989-05-24

Family

ID=4263344

Family Applications (1)

Application Number Title Priority Date Filing Date
EP86810371A Expired EP0214098B1 (de) 1985-09-03 1986-08-20 Vorrichtung zur Befestigung eines Geruchsvertilgers an einer Klosettschüssel

Country Status (3)

Country Link
EP (1) EP0214098B1 (de)
AT (1) ATE43386T1 (de)
DE (1) DE3663550D1 (de)

Cited By (4)

* Cited by examiner, † Cited by third party
Publication number Priority date Publication date Assignee Title
US5488741A (en) * 1993-09-21 1996-02-06 Hunnicutt, Jr.; Clyde J. Toilet bowl ventilating and deodorizing apparatus
WO1997006315A1 (en) * 1995-08-09 1997-02-20 Allan Maxwell Ingleton Exhaust device and method
US6233750B1 (en) * 1997-12-31 2001-05-22 Shane Craig Donald Toilet bowl ventilating apparatus
GB2379462A (en) * 2001-09-06 2003-03-12 John Kennedy Fletcher Toilet bowl odour remover

Family Cites Families (4)

* Cited by examiner, † Cited by third party
Publication number Priority date Publication date Assignee Title
US1498789A (en) * 1923-04-19 1924-06-24 Drouillard Albert Closet ventilator
CA914853A (en) * 1969-09-16 1972-11-21 A. Duguay Claude Ventilating toilet seat
US4059857A (en) * 1976-12-20 1977-11-29 Poister Clarence E Free standing toilet stool ventilating device
US4175293A (en) * 1978-02-06 1979-11-27 Nielson Juan F Toilet bowl odor removing apparatus and hinge

Cited By (5)

* Cited by examiner, † Cited by third party
Publication number Priority date Publication date Assignee Title
US5488741A (en) * 1993-09-21 1996-02-06 Hunnicutt, Jr.; Clyde J. Toilet bowl ventilating and deodorizing apparatus
US5555572A (en) * 1993-09-21 1996-09-17 Hunnicutt, Jr.; Clyde J. Toilet bowl ventilating and deodorizing apparatus
WO1997006315A1 (en) * 1995-08-09 1997-02-20 Allan Maxwell Ingleton Exhaust device and method
US6233750B1 (en) * 1997-12-31 2001-05-22 Shane Craig Donald Toilet bowl ventilating apparatus
GB2379462A (en) * 2001-09-06 2003-03-12 John Kennedy Fletcher Toilet bowl odour remover

Also Published As

Publication number Publication date
EP0214098B1 (de) 1989-05-24
EP0214098A3 (en) 1987-05-20
DE3663550D1 (en) 1989-06-29
ATE43386T1 (de) 1989-06-15

Similar Documents

Publication Publication Date Title
DE2556459C2 (de) Schwenkvorrichtung
DE102012110941A1 (de) Verschluss zum Verriegeln einer Abdeckung
EP0422678B1 (de) Gepäckbox
DE102004020925B3 (de) Schwellerverkleidung für ein Fahrzeug
DE3822050A1 (de) Tuergriffanordnung an einer fahrzeugtuer
EP0214098A2 (de) Vorrichtung zur Befestigung eines Geruchsvertilgers an einer Klosettschüssel
EP0038040A1 (de) Verbindung für die Rinnen eines Bergbau-Kratzförderers
DE102004031004A1 (de) Feststelleinrichtung für einen aufklappbaren Ladeboden in einem Fahrzeug
DE2641606C2 (de) Wandkonstruktion für Kabinen, insbesondere für Sanitärkabinen
DE2721348C2 (de) Halterung für WC-Desodorantien
DE102007051924B4 (de) Halte-Vorrichtung
EP0615026A1 (de) Spülvorrichtung für ein Wasserklosett
AT253729B (de) Einrichtung zur Verkleidung der zwischen Schrank und Zimmerdecke sich ergebenden freien Räume
AT394079B (de) Loesbare gelenkverbindung zwischen zwei beschlagteilen von fenstern, tueren od. dgl.
DE68919974T2 (de) Gestell zur Abdeckung eines Lkw-Aufbaues.
DE10044112C2 (de) Vorrichtung zum Verbinden einer Scheibe mit einem Fensterheber
DE2502999C3 (de) Steckverbindung, insbesondere zum einendigen Befestigen eines Handgriffes an einer Karosseriewandung bzw. Armlehne eines Kraftfahrzeuges
DE202019100489U1 (de) Multifunktionale Vorhanghalterung
DE2101235C3 (de) Aufhängevorrichtung für die Anordnung von Möbelstücken an einer Wand
DE29604768U1 (de) Verriegelungsvorrichtung für ein Deckenelement
EP1876319B1 (de) Gleitfuehrung fuer Schiebefluegel oder Abstellschiebefluegel
DE8803427U1 (de) Regler-Leuchtenkombination für Kühlschränke od.dgl.
DE3125914C2 (de)
DE19950770B4 (de) Anordnung eines Türkontaktschalters im Türrahmen eines Fahrzeugs
DE3831045A1 (de) Schiebedach fuer kraftfahrzeuge

Legal Events

Date Code Title Description
PUAI Public reference made under article 153(3) epc to a published international application that has entered the european phase

Free format text: ORIGINAL CODE: 0009012

AK Designated contracting states

Kind code of ref document: A2

Designated state(s): AT BE CH DE FR GB IT LI LU NL SE

PUAL Search report despatched

Free format text: ORIGINAL CODE: 0009013

AK Designated contracting states

Kind code of ref document: A3

Designated state(s): AT BE CH DE FR GB IT LI LU NL SE

17P Request for examination filed

Effective date: 19870806

RAP3 Party data changed (applicant data changed or rights of an application transferred)

Owner name: BRATSCHI, VIKTOR

17Q First examination report despatched

Effective date: 19880801

GRAA (expected) grant

Free format text: ORIGINAL CODE: 0009210

AK Designated contracting states

Kind code of ref document: B1

Designated state(s): AT BE CH DE FR GB IT LI LU NL SE

PG25 Lapsed in a contracting state [announced via postgrant information from national office to epo]

Ref country code: IT

Free format text: LAPSE BECAUSE OF FAILURE TO SUBMIT A TRANSLATION OF THE DESCRIPTION OR TO PAY THE FEE WITHIN THE PRE;WARNING: LAPSES OF ITALIAN PATENTS WITH EFFECTIVE DATE BEFORE 2007 MAY HAVE OCCURRED AT ANY TIME BEFORE 2007. THE CORRECT EFFECTIVE DATE MAY BE DIFFERENT FROM THE ONE RECORDED.SCRIBED TIME-LIMIT

Effective date: 19890524

Ref country code: GB

Effective date: 19890524

Ref country code: NL

Effective date: 19890524

Ref country code: BE

Effective date: 19890524

Ref country code: SE

Effective date: 19890524

Ref country code: FR

Free format text: THE PATENT HAS BEEN ANNULLED BY A DECISION OF A NATIONAL AUTHORITY

Effective date: 19890524

REF Corresponds to:

Ref document number: 43386

Country of ref document: AT

Date of ref document: 19890615

Kind code of ref document: T

REF Corresponds to:

Ref document number: 3663550

Country of ref document: DE

Date of ref document: 19890629

PG25 Lapsed in a contracting state [announced via postgrant information from national office to epo]

Ref country code: AT

Effective date: 19890820

PG25 Lapsed in a contracting state [announced via postgrant information from national office to epo]

Ref country code: LU

Free format text: LAPSE BECAUSE OF NON-PAYMENT OF DUE FEES

Effective date: 19890831

EN Fr: translation not filed
NLV1 Nl: lapsed or annulled due to failure to fulfill the requirements of art. 29p and 29m of the patents act
PLBE No opposition filed within time limit

Free format text: ORIGINAL CODE: 0009261

STAA Information on the status of an ep patent application or granted ep patent

Free format text: STATUS: NO OPPOSITION FILED WITHIN TIME LIMIT

PGFP Annual fee paid to national office [announced via postgrant information from national office to epo]

Ref country code: DE

Payment date: 19900404

Year of fee payment: 4

26N No opposition filed
PG25 Lapsed in a contracting state [announced via postgrant information from national office to epo]

Ref country code: DE

Effective date: 19910501

PGFP Annual fee paid to national office [announced via postgrant information from national office to epo]

Ref country code: CH

Payment date: 19940722

Year of fee payment: 9

PG25 Lapsed in a contracting state [announced via postgrant information from national office to epo]

Ref country code: LI

Effective date: 19950831

Ref country code: CH

Effective date: 19950831

REG Reference to a national code

Ref country code: CH

Ref legal event code: PL