EP0146028B1 - Vorrichtung zur gelenkigen Anordnung von Karosserieteilen an Fahrzeugen, insbesondere Kraftfahrzeugen, und Verfahren zur Herstellung einer solchen Vorrichtung - Google Patents

Vorrichtung zur gelenkigen Anordnung von Karosserieteilen an Fahrzeugen, insbesondere Kraftfahrzeugen, und Verfahren zur Herstellung einer solchen Vorrichtung Download PDF

Info

Publication number
EP0146028B1
EP0146028B1 EP84114347A EP84114347A EP0146028B1 EP 0146028 B1 EP0146028 B1 EP 0146028B1 EP 84114347 A EP84114347 A EP 84114347A EP 84114347 A EP84114347 A EP 84114347A EP 0146028 B1 EP0146028 B1 EP 0146028B1
Authority
EP
European Patent Office
Prior art keywords
torsion bar
bar spring
bearing
spring
hinge
Prior art date
Legal status (The legal status is an assumption and is not a legal conclusion. Google has not performed a legal analysis and makes no representation as to the accuracy of the status listed.)
Expired
Application number
EP84114347A
Other languages
English (en)
French (fr)
Other versions
EP0146028A2 (de
EP0146028A3 (en
Inventor
Edgar Heuser
Current Assignee (The listed assignees may be inaccurate. Google has not performed a legal analysis and makes no representation or warranty as to the accuracy of the list.)
GM Deutschland Holdings GmbH
Original Assignee
Adam Opel GmbH
Priority date (The priority date is an assumption and is not a legal conclusion. Google has not performed a legal analysis and makes no representation as to the accuracy of the date listed.)
Filing date
Publication date
Application filed by Adam Opel GmbH filed Critical Adam Opel GmbH
Publication of EP0146028A2 publication Critical patent/EP0146028A2/de
Publication of EP0146028A3 publication Critical patent/EP0146028A3/de
Application granted granted Critical
Publication of EP0146028B1 publication Critical patent/EP0146028B1/de
Expired legal-status Critical Current

Links

Images

Classifications

    • EFIXED CONSTRUCTIONS
    • E05LOCKS; KEYS; WINDOW OR DOOR FITTINGS; SAFES
    • E05DHINGES OR SUSPENSION DEVICES FOR DOORS, WINDOWS OR WINGS
    • E05D5/00Construction of single parts, e.g. the parts for attachment
    • E05D5/02Parts for attachment, e.g. flaps
    • E05D5/06Bent flaps
    • E05D5/062Bent flaps specially adapted for vehicles
    • EFIXED CONSTRUCTIONS
    • E05LOCKS; KEYS; WINDOW OR DOOR FITTINGS; SAFES
    • E05FDEVICES FOR MOVING WINGS INTO OPEN OR CLOSED POSITION; CHECKS FOR WINGS; WING FITTINGS NOT OTHERWISE PROVIDED FOR, CONCERNED WITH THE FUNCTIONING OF THE WING
    • E05F1/00Closers or openers for wings, not otherwise provided for in this subclass
    • E05F1/08Closers or openers for wings, not otherwise provided for in this subclass spring-actuated, e.g. for horizontally sliding wings
    • E05F1/10Closers or openers for wings, not otherwise provided for in this subclass spring-actuated, e.g. for horizontally sliding wings for swinging wings, e.g. counterbalance
    • E05F1/12Mechanisms in the shape of hinges or pivots, operated by springs
    • E05F1/123Mechanisms in the shape of hinges or pivots, operated by springs with a torsion bar
    • E05F1/1238Mechanisms in the shape of hinges or pivots, operated by springs with a torsion bar specially adapted for vehicles
    • EFIXED CONSTRUCTIONS
    • E05LOCKS; KEYS; WINDOW OR DOOR FITTINGS; SAFES
    • E05DHINGES OR SUSPENSION DEVICES FOR DOORS, WINDOWS OR WINGS
    • E05D5/00Construction of single parts, e.g. the parts for attachment
    • E05D5/02Parts for attachment, e.g. flaps
    • E05D5/06Bent flaps
    • E05D2005/067Bent flaps gooseneck shaped
    • EFIXED CONSTRUCTIONS
    • E05LOCKS; KEYS; WINDOW OR DOOR FITTINGS; SAFES
    • E05YINDEXING SCHEME ASSOCIATED WITH SUBCLASSES E05D AND E05F, RELATING TO CONSTRUCTION ELEMENTS, ELECTRIC CONTROL, POWER SUPPLY, POWER SIGNAL OR TRANSMISSION, USER INTERFACES, MOUNTING OR COUPLING, DETAILS, ACCESSORIES, AUXILIARY OPERATIONS NOT OTHERWISE PROVIDED FOR, APPLICATION THEREOF
    • E05Y2900/00Application of doors, windows, wings or fittings thereof
    • E05Y2900/50Application of doors, windows, wings or fittings thereof for vehicles
    • E05Y2900/53Type of wing
    • E05Y2900/548Trunk lids

Definitions

  • the known arrangement therefore differs in terms of type from the device according to the invention, in which - apart from a torsion bar spring - also separate hinge brackets are used.
  • the torsion bar spring / hinge bracket / body part assembly unit is not only easy and quick to install, but it is also an exact, low-play and smooth-running storage the assembly unit on the vehicle body.

Landscapes

  • Engineering & Computer Science (AREA)
  • Mechanical Engineering (AREA)
  • Closing And Opening Devices For Wings, And Checks For Wings (AREA)
  • Superstructure Of Vehicle (AREA)
  • Automobile Manufacture Line, Endless Track Vehicle, Trailer (AREA)

Description

  • Die Erfindung bezieht sich auf eine Vorrichtung nach dem Oberbegriff des Patentanspruchs 1.
  • Obwohl eine Anwendung der Erfindung auf beliebige schwenkbare, klappenartige Karosserieteile, wie zum Beispiel Motorhauben, Türen u.a.m., nicht von vornherein ausgeschlossen sein soll, ist hier doch in erster Linie an geeignete Massnahmen bezüglich des Heckraum-Deckels eines Kraftfahrzeuges gedacht, der in der Regel den Kofferraum von oben her abschliesst.
  • Es ist bei Vorrichtungen der in Rede stehenden Art bekannt, die Scharnierbügel, von denen in der Regel beidseitig je einer, also insgesamt zwei, vorgesehen sind, einerseits mittels Schrauben an der Unterseite des Heckraum-Deckels zu befestigen, andererseits mittels Lagerbolzen in entsprechend verstärkten Lagern oder Lagerböcken am Fahrzeugkörper, das heisst an den den Heckraum bildenden Karosseriewänden, zu lagern. Eine den Heckraum-Deckel in Öffnungsrichtung beaufschlagende Drehstabfeder ist ebenfalls karosserieseitig gelagert und greift im allgemeinen zur Betätigung des Heckraum-Deckels in geeigneter Weise an den Scharnierbügeln und nicht unmittelbar am Heckraum-Deckel an. Zu diesem Stand der Technik wird beispielsweise die DE-A-2 757 238 genannt.
  • Durch die FR-A-1 425 424 ist des weiteren eine Vorrichtung zur gelenkigen Anordnung des Heckraum-Deckels an der Karosserie eines Kraftfahrzeugs bekannt geworden, wobei der Heckraum- Deckel, durch eine Drehstabfeder beaufschlagt, schwenkbar mit der Karosserie verbunden ist, und die Drehstabfeder selbst zur schwenkbaren Lagerung des Heckraum-Deckels an der Karosserie dient, derart, dass sie zugleich das fahrzeugseitige Drehgelenk bildet.
  • Der Nachteil der vorgenannten Anordnung besteht darin, dass keine gesonderten Scharnierbügel vorgesehen sind, diese Aufgabe vielmehr von der Drehstabfeder selbst wahrgenommen wird. Hierdurch ist keine formstabile Gelenkverbindung zwischen dem schwenkbaren Karosserieteil und dem Fahrzeugkörper gewährleistet.
  • Die bekannte Anordnung weicht deshalb im übrigen schon gattungsmässig von der erfindungsgemässen Vorrichtung ab, bei der - neben einer Drehstabfeder-auch noch gesonderte Scharnierbügel zum Einsatz kommen.
  • Aufgabe der vorliegenden Erfindung ist es, bei einer Vorrichtung der eingangs bezeichneten Gattung die Montage zu vereinfachen, eine Gewichtsersparnis zu erzielen, wobei aber zugleich eine exakte, spielarme und leichtgängige Lagerung der Montageeinheit am Fahrzeugkörper gewährleistet sein muss.
  • Gemäss der Erfindung wird die Aufgabe durch die im kennzeichnenden Teil des Patentanspruchs 1 angegebenen Merkmale gelöst.
  • Zwar ist es durch die BE-A-528 045 bei Gelenkanordnungen an sich bekannt, drehstabfederbeaufschlagte Scharnierbügel für Deckel derart auszubilden, dass die Drehstabfeder das anschlussseitige Drehgelenk der Scharnierbügel bildet. Das bekannte Scharnier gewährleistet aber keineswegs eine exakte und leichtgängige Lagerung. Denn das Ende der Drehstabfeder greift unmittelbar in die Bohrungen ein, und Lagerbuchsen sind nicht vorgesehen.
  • Durch die erfindungsgemässen Massnahmen, insbesondere die gabelförmige Ausbildung der Lagerstellen und die auf dem die Drehachse bildenden Teil der Drehstabfeder angeordneten Lagerbuchsen, ist die Montageeinheit Drehstabfeder/Scharnierbügel/Karosserieteil nicht nur leicht und schnell montierbar, sondern es ist auch eine exakte, spielarme und leichtgängige Lagerung der Montageeinheit am Fahrzeugkörper gewährleistet.
  • Dadurch, dass nach der Erfindung die Drehstabfeder selbst die Lagerfunktion für das schwenkbare Karosserieteil übernimmt und somit separate Lagerbolzen und dergleichen wegfallen können, ergibt sich vorteilhafterweise eine schwenkbare Anordnung des Karosserieteils, zum Beispiel des Heckraum-Deckels von Kraftfahrzeugen, die mit weniger Einzelteilen auskommt und insgesamt gesehen auch eine Gewichtsersparnis bringt.
  • Weitere vorteilhafte Ausgestaltungen des im Vorstehenden abgehandelten gegenständlichen Teils der Erfindung sind den Patentansprüchen 2 bis 18 zu entnehmen.
  • In verfahrensmässiger Hinsicht wird die Aufgabe durch die im Patentanspruch 19 angegebenen Verfahrensschritte gelöst.
  • Die Erfindung ist nun in der Zeichnung anhand
  • von Ausführungsbeispielen veranschaulicht und in der nachstehenden Beschreibung dieser Ausführungsbeispiele näher erläutert. Es zeigt:
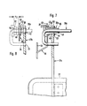
    • Fig. 1 - in perspektivischer Darstellung - die Heckpartie eines Personenkraftwagens, mit offenem Heckraum (Heckraumdeckel weggelassen),
    • Fig. 2 eine vergrösserte Darstellung der in Fig. 1 mit A bezeichneten Einzelheit,
    • Fig. 3 - in Seitenansicht-eine Ausführungsform einer Heckraumdeckellagerung für Personenkraftwagen,
    • Fig. 4 eine Montageeinheit (hälftige bzw. teilweise Darstellung), bestehend aus Heckraumdekkel, Scharnierbügel und Drehstabfeder mit Lagerbuchse, in Draufsicht gesehen,
    • Fig. 5 und 6 jeweils eine (teilweise) Darstellung des Gegenstandes von Fig. 4,
    • Fig. 7 eine Darstellung der Montageeinheit entsprechend Fig. 4, jedoch in am Fahrzeugkörper montierter Endposition,
    • Fig. 8 eine Teil-Darstellung des Gegenstands nach Fig. 7, während einer Phase der Montage am Fahrzeugkörper,
    • Fig. 9 und 10 jeweils eine (teilweise) Darstellung des Gegenstandes der Fig. 7 und 9, in Seitenansicht gesehen,
    • Fig. 11 eine andere Ausführungsform einer Montageeinheit Heckraumdeckel/Scharnierbügel/Drehstabfeder mit Lagerbuchse, in Darstellung entsprechend Fig. 4,
    • Fig. 12 und 13 Seitenansichten (entsprechend Fig. 5 und 6) des Gegenstandes nach Fig. 11,
    • Fig. 14 und 15 Montagepositionen (entsprechend Fig. und 9) des Gegenstandes nach Fig. 11-13, und
    • Fig. 16 und 17 jeweils eine seitliche (teilweise) Darstellung des Gegenstandes nach Fig. 14 und 15.
  • Bei der in Fig. 1 und 2 gezeigten Heckpartie einer Pkw-Karosserie bezeichnet 10 das Dach, 11 und 12 die beiden sog. C-Säulen, 13 die Heckscheibe und 14, 15 die beiden hinteren Radkästen. Mit 16 ist ein offen, d. h. ohne Deckel, dargestellter Heckraum des Fahrzeuges, in diesem Falle der Kofferraum, beziffert, in dessen Boden 17 eine Mulde 18 für das nicht gezeigte Ersatzrad eingeformt ist. Der Heckraum 17 ist in Richtung auf den Fahrgastraum, wie üblich, durch eine nahezu vertikale Rückwand 19 abgegrenzt, an die sich oben eine etwa horizontal ausgerichtete Ablage-Rückwand 20 anschliesst. Wie insbesondere auch aus Fig. 2 erkennbar, ist seitlich rechts in der Ablage- Rückwand eine Ausnehmung 21 ausgespart, die als Sichtöffnung für die Montage des - in Fig. 1 und 2 nicht gezeigten - Heckraum-Deckels dient. Auch seitlich links ist eine entsprechende Ausnehmung in der Ablage-Rückwand 20 vorgesehen, die jedoch in Fig. 1 aufgrund der perspektivischen Darstellung der Karosserie nicht erkennbar ist.
  • In der Seitenansicht nach Fig. 3 ist nun der in Fig. 1 und 2 nicht dargestellte Heckraum-Deckel, einmal in seiner Schliessstellung und zum anderen in seiner Öffnungs- und Montagestellung, zu erkennen und mit 22 bezeichnet. Die Öffnungs-und Montagestellung ist hierbei durch ein Apostroph kenntlich gemacht. Der Heckraum-Deckel besitzt, wie üblich, an seiner Unterseite ein Verstärkungsgerippe 23. Das Gerippe 23 des Heckraum-Deckels 22 ist - bei 24 - mit einem Verstärkungs-Winkelprofil 25 punktverschweisst, welches seinerseits-bei 26-durch Punktschweissung mit einem Scharnierbügel 27 verbunden ist. Der Scharnierbügel 27 und damit der mit ihm fest verbundene Heckraum-Deckel 22 ist bei 28 um eine quer zur Fahrzeuglängsrichtung gerichtete, horizontale Drehachse in Pfeilrichtung 29 schwenkbar. Die Verschwenkung des Heckraum-Deckels 22 in seine Öffnungsstellung 22' erfolgt mit Unterstützung einer Drehstabfeder 30, die mehrfach abgekröpft und abgewinkelt ausgebildet ist (vgl. hierzu insbesondere Fig. 4-16) und - bei 31 - einerseits am Scharnierbügel 27 angreift und sich - bei 32 - andererseits an der Unterseite der Ablage-Rückwand 20 fahrzeugseitig abstützt. Die Drehstabfeder 30 setzt damit einer Verschwenkung des Heckraum-Deckels 22 von seiner Öffnungsstellung 22' in seine Schliessstellung einen Federwiderstand entgegen.
  • Selbstverständlich ist beidseitig des Heckraum-Deckels 22 je ein Scharnierbügel 27 vorgesehen, und die genannte Drehstabfeder 30 ist- in Draufsicht betrachtet - achssymmetrisch (bezogen auf die Fahrzeuglängs-Mittelachse 33) ausgebildet.
  • Wie die Fig. 4-17 deutlich machen, dient die Drehstabfeder 30 aber nicht nur als Feder für den Heckraum-Deckel 22, sondern darüber hinaus gleichzeitig zur schwenkbaren Lagerung desselben bzw. der mit diesem fest verbundenen Scharnierbügel 27.
  • Eine spezielle Ausführungsform einer hierfür geeigneten Drehfeder- und Lageranordnung zeigen die Fig. 4-10. Aus Fig. und 7 geht hervor, dass die hier mit 30a bezeichnete Drehstabfeder an ihren beiden Enden (gezeigt ist jeweils nur das linke Ende) zweimal rechtwinklig abgebogen ist, so dass sich ein die eigentliche Drehachse 28 bildender Teil und beidseitig je ein zu diesem paralleles, nach innen gerichtetes Endstück 34 ergibt. Das Endstück 34 der Drehstabfeder 30a greift in der aus Fig. 4 und 7 ersichtlichen Montagestellung in eine als Bohrung ausgebildete hintere Aufnahme 35 des Scharnierbügels 27a ein. Wie insbesondere Fig. 4 und 7 desweiteren erkennen lassen, sitzt auf dem die Drehachse 28 bildenden Teil der Drehstabfeder 30a - seitlich unmittelbar vor der zweimaligen rechtwinkligen Abwinklung - eine Lagerbuchse 36a. (Selbstverständlich gilt für die aus Fig. 4 und 7 nicht ersichtliche rechte Seite der Drehstabfeder 30a das entsprechende.) Die Lagerbuchse 36a ist längsgeschlitzt ausgebildet und in Querrichtung zur Drehachse 28 der Drehstabfeder 30a auf diese aufgesteckt. Wie Fig. 4 und 5 weiterhin erkennen lassen, weist die Lagerbuchse 36a aussenseitig einen Rand 37 mit einer diametral durchgehenden Nut 38 auf, in die - als Verdrehsicherung für die Lagerbuchse 36a - die Drehstabfeder 30a mit ihrem zweimal abgebogenen Endstück, d. h. mit dem in Fig. 4 nach unten gerichteten Teil 39, eingreift. Die Lagerbuchse 36a stützt sich damit also aussenseitig an der zweimal rechtwinklig abgebogenen Drehstabfeder 36a selbst ab. Innenseitig wird die Lagerbuchse 36a dagegen durch eine auf der Drehstabfeder 36a angeordnete Federscheibe 40 axial gesichert.
  • Wie weiterhin aus Fig. 4-6 ersichtlich ist, greift die Lagerbuchse 36a zusammen mit der sie durchsetzenden Drehstabfeder 30a in eine vordere, gabelförmige ausgebildete zweite Aufnahme 41 des Scharnierbügels 27a ein. Die vordere gabelförmige Aufnahme 41 besteht aus einer Lagerbohrung 42 und einem Montageschlitz 43, dessen Breite geringer ist als der Durchmesser der Lagerbohrung 42.
  • Der Zusammenbau von Drehstabfeder 30a, Lagerbuchse 36a und Scharnierbügel 27a ist durch strichpunktierte Linien ebenfalls in Fig. 4 angedeutet. Fig. 4 zeigt, dass die Drehstabfeder 30a in ihrer Mitte, d.h. auf Höhe der Fahrzeuglängs-Mittelachse 33, eine insgesamt U-förmige Abkröpfung in Querrichtung zu ihrer Drehachse 28 besitzt. Die Abkröpfung ist mit 32 bezeichnet und dient - wie bereits oben erwähnt - zur fahrzeugseitigen Abstützung der Drehstabfeder 30a an der Ablage-Rückwand 20 der Fahrzeugkarosserie (s. Fig. 3). Eine zweite, sehr wesentliche Funktion der Abkröpfung 32 besteht aber darin, dass hierdurch die Drehstabfeder 30a in ihrer Längsrichtung elastisch gedehnt zu werden vermag. So kann die Drehstabfeder 30a - wie in Fig. 4 angedeutet - durch elastische Dehnung beispielsweise um den zweifachen Betrag x1 verlängert werden. Die beidseitige elastische Verlängerung je um den Betrag x1 dient in diesem Fall dazu, die Lagerbuchse 36a mittels des Längsschlitzes 44 auf die Drehstabfeder 30a aufzustecken. Anschliessend wird die Drehstabfeder 30a entlastet, so dass das abgebogene Federende 34 einerseits und die Lagerbuchse 36a andererseits jeweils in die hierfür vorgesehene Aufnahme - 35 bzw. 42- am Scharnierbügel 27a in ihre Montagestellung einrasten können.
  • Es gilt nun, die solcherart montierte Baueinheit Drehstabfeder 30a/Lagerbuchse 36a/Scharnierbügel 27a/Heckraum-Deckel 22 an der Fahrzeugkarosserie zu lagern. Die hierzu vorgesehenen konstruktiven und Montagemassnahmen sind im einzelnen in Fig. 8 bis 10 veranschaulicht. An den den Heckraum 16 (s. Fig. 1) beidseitig begrenzenden Karosserie-Seitenwänden sind jeweils Verstärkungsbleche 45 befestigt, aus denen jeweils ein Lagerteil 46 abgestellt ist. Das Lagerteil 46 bildet bei 47 eine gabelförmige Lagerstelle, die aus einer Lagerbohrung 48 und einem Montageschlitz 49 besteht, dessen Breite kleiner ist als der Durchmesser der Lagerbohrung 48. Das Einhängen des mit Drehstabfeder 30a, Lagerbuchsen 36a und Scharnierbügeln 27a komplettierten Heckraum-Deckels 22 in die Lagerstellen 47 bzw. 48 erfolgt wiederum durch elastische Längsdehnung der Drehstabfeder 30a um einen Betrag von zweimal x2 (vgl. hierzu insbesondere auch Fig. 8). Hierzu ist zu bemerken, dass die Lagerbuchse 36a mehrfach abgesetzt ausgebildet ist und sich zu ihrem freien Ende zu konisch verjüngt. Wesentlich sind zwei jeweils zylindrische Bereiche 50, 51, unterschiedlichen Durchmessers, zwischen denen sich ein den Durchmesserunterschied ausgleichender konischer Bereich 52 erstreckt. Der kleinere Durchmesser des Bereichs 50 ist auf die vordere Aufnahmebohrung 42 des Scharnierbügels 27a abgestimmt (vgl. hierzu auch Fig.4-6), wohingegen der grössere Durchmesser des Bereichs 51 der Lagerbuchse 36a dem Durchmesser der Lagerbohrung 48 an der Karosserielagerstelle 47 entspricht. Dagegen entspricht die Breite des Montageschlitzes 49 der Lagerstelle 47 dem kleineren Durchmesser des Lagerbuchsenbereichs 50, so dass die Lagerbuchse - wie Fig. 8 zeigt - mit ihrem Bereich 50 durch den Montageschlitz 49 in die Lagerbohrung 48 seitlich eingeführt werden kann. Anschliessend wird die Drehstabfeder 30a entspannt, so dass sie sich um den Betrag x2 verkürzen kann und hierdurch die Lagerbuchse 36a mit dem zylindrischen Bereich 51 in die Lagerbohrung 48 der Lagerstelle 47 eingreift. Eine axiale Fixierung der Lagerbuchse 36a und der mit dieser verbundenen übrigen Teile erfolgt einmal dadurch, dass sich die Lagerbuchse 36a mit ihrem Rand 37 stirnseitig aussen an die Lagerstelle 47 anlegt. Für eine axiale Fixierung der Lagerbuchse 36a und der mit ihr verbundenen Teile in Richtung nach aussen erfolgt in der aus Fig. 7 ersichtlichen Endmontagestellung durch eine Sicherungsscheibe 53, die nach Erreichen der Endmontagestellung der Lagerbuchse 36a in eine hierfür vorgesehene Ringnut 54 der Lagerbuchse 36a eingesteckt wird. Hierdurch ist auch der auf dem zylindrischen Bereich 50 der Lagerbuchse 36a montierte Scharnierbügel 27a in Richtung nach innen axial gesichert. In Richtung nach aussen stützt sich der Scharnierbügel 27a an dem konischen Bereich 52 der Lagerbuchse 36a ab.
  • Wie Fig. 4, 7 und 8 zeigen, weist die Lagerbuchse 36a nicht nur in dem Bereich 52 eine konische Abschrägung auf, sondern sie ist darüber hinaus auch an ihrem Ende 55 kegelstumpfförmig verjüngt ausgebildet. Durch die hierdurch erreichte Zentrierwirkung ergibt sich eine Erleichterung bei dem Zusammenbau von Lagerbuchse 36a, Drehstabfeder 30a und Scharnierbügel 27a.
  • Die Ausführungsform nach Fig. 11-17 unterscheidet sich von der Ausführungsform nach Fig. 4-10 im wesentlichen durch eine etwas abgewandelte Ausgestaltung der Drehstabfeder (hier mit 30b bezeichnet) und der Lagerbuchse (hier mit 36b bezeichnet). Im Sinne einer besseren Übersicht und eines leichteren Verständnisses sind daher die jeweils übereinstimmenden Konstruktionselemente beider Ausführungsformen mit denselben Bezugszeichen versehen. Abweichungen sind jeweils durch den Index b kenntlich gemacht.
  • Aus Fig. 11 und 14 ist zu erkennen, dass die Drehstabfeder 30b derart abgekröpft ausgebildet ist, dass ihr linkes, zweimal rechtwinklig abgebogenes Ende (ebenso wie das nicht gezeigte rechtsseitige Ende der Drehstabfeder 30b), welches in Fig. 11, 14 und 15 mit 56 beziffert ist, innerhalb der Drehachse 28 der Drehstabfeder 30b liegt. Die Lagerbuchsen 36b sind hierbei auf diesen einander zugewandten Enden 56 der Drehstabfeder 30b angeordnet. Die Lagerbuchsen 36b selbst sind ungeschlitzt ausgebildet und auf das betreffende zugeordnete Drehstabfederende 56 axial aufgeschoben. Auch der Scharnierbügel 27b ist bei der Ausführungsform nach Fig. 11-17 andersartig ausgebildet als bei der Ausführungsform nach Fig. 4-10. Fig. 13 macht deutlich, dass der Scharnierbügel 27b als vordere Aufnahme eine geschlossene Bohrung 57 besitzt, die mit dem zylindrischen Bereich 50 kleineren Durchmessers der Lagerbuchse 36b zusammenwirkt (s. Fig. 11 und 14). Ausserdem ist an dem Scharnierbügel 27b noch eine zweite hintere Aufnahme vorgesehen, die als Langloch ausgebildet und mit 58 bezeichnet ist. Fig. 12 und 16 machen deutlich, dass die Schlitzbreite der langlochförmigen hinteren Aufnahme 58 etwa dem Durchmesser der Drehstabfeder 30b entspricht bzw. etwas grösser als dieser Drehstabfederdurchmesser ist. Die Länge der langlochförmigen Aufnahme 58 ist dagegen so bemessen, dass das zweimal rechtwinklig abgebogene Ende 56 der Drehstabfeder 30b durch die Aufnahme 58 axial hindurchgeführt werden kann.
  • Die Vormontage von Drehstabfeder 30b, Scharnierbügel 27b und Lagerbuchse 36b erfolgt nach dem im vorstehenden Gesagten dergestalt, dass die Drehstabfeder 30b zunächst mit ihrem zweimal rechtwinklig abgebogenen Ende durch die langlochförmige Aufnahme 58 des Scharnierbügels 27b hindurchgeführt und anschliessend um das Mass zweimal x1 gedehnt wird. Sodann wie die Lagerbuchse 36b auf das Ende 56 der Drehstabfeder 30b axial aufgesteckt und anschliessend durch die Sicherungsscheibe 40 axial fixiert. Die Drehstabfeder 30b kann nun zusammen mit der montierten Lagerbuchse 36b - nach vorheriger Entspannung der Drehstabfeder 30b - in die geschlossene bohrungsförmige Aufnahme 57 des Scharnierbügels 27b einrasten (s. hierzu insbesondere Fig. 11). Danach kann die Montageeinheit Drehstabfeder 30b/Lagerbuchse 36b/Scharnierbügel 27b - entsprechend der Ausführungsform nach Fig. 7-10 und wie oben ausführlich beschrieben - in die seitliche Lagerstelle 46 an der Fahrzeugkarosserie eingehängt werden (s. Fig. 14-17).
  • In diesem Zusammenhang ist noch zu erwähnen, dass der Montageschlitz 49 der Lagerstelle 46 am Fahrzeugkörper-wie Fig. 3 deutlich macht - leicht schräg von oben nach unten geneigt gerichtet ist. Unter Berücksichtigung der starken Krümmung der Scharnierbügel 27 muss daher die aus Heckraum-Deckel 22, Scharnierbügel 27, Drehstabfeder 30 und Lagerbuchsen 36 bestehende Montageeinheit in einer der Öffnungsstellung des Heckraum-Deckels 22 entsprechenden Montageposition montiert werden. Die Montagerichtung ist in Fig. 3 durch einen Pfeil 59 kenntlich gemacht. Bei der Einhängung der genannten Montageeinheit erweist sich die Aussparung 21 (vgl. hierzu
  • Fig. 1 und 2) in der Ablage-Rückwand 20 der Fahrzeugkarosserie als Sichtöffnung sehr hilfreich. Die Aussparung 21 kann nach erfolgter Montage des Heckraum-Deckels 22 bzw. der genannten Montageeinheit durch eine Verkleidung der Ablage-Rückwand 20 in geeigneter Weise abgedeckt werden.

Claims (27)

1. Vorrichtung zur gelenkigen Anordnung von Karosserieteilen (22), vornehmlich dem Heckraum-Deckel, an Fahrzeugen, insbesondere Kraftfahrzeugen, wobei das Karosserieteil (22) durch drehstabfederbeaufschlagte Scharnierbügel (27) schwenkbar mit dem Fahrzeugkörper verbunden ist, derart, dass die Drehstabfeder (30) selbst zur schwenkbaren Lagerung des Karosserieteils (22) am Fahrzeugkörper dient, dadurch gekennzeichnet, dass die Drehstabfeder (30) in an sich bekannter Weise zugleich das fahrzeugseitige Drehgelenk (36, 51, 48) der Scharnierbügel (27) bildet, wobei sie beidseitig in Aufnahmen (42, 35; 57, 58) der Scharnierbügel (27) montiert ist und in Lagerstellen (46, 47, 48) beidseitig am Fahrzeugkörper drehbar eingreift, und dass die Lagerstellen (46, 47, 48) gabelförmig ausgebildet und in jeweiligen Verstärkungen (45) der Fahrzeugseitenwände angeordnet sind, und dass zur Montage der Drehstabfeder (30) in den Aufnahmen (42; 57) einerseits und zur anschliessenden Lagerung der Montageeinheit Drehstabfeder (30)/Scharnierbügel (27)/Karosserieteil (22) andererseits beidseitig jeweils eine auf dem die Drehachse (28) bildenden Teil der Drehstabfeder (30) angeordnete Lagerbuchse (36) dient.
2. Vorrichtung nach Anspruch 1, dadurch gekennzeichnet, dass die gabelförmigen Lagerstellen (46, 47, 48) an den Fahrzeugseitenwänden und die Aufnahmen (42 bzw. 57) an den Scharnierbügeln (27) unterschiedlich grosse Lagerdurchmesser aufweisen und dass die Lagerbuchsen (36) entsprechend abgesetzt ausgebildet sind, derart, dass sich zwei unterschiedliche Lagerbuchsendurchmesser ergeben (bei 50 und 51), von denen der eine (51) mit der jeweils zugeordneten Lagerstelle (48) an der Fahrzeugseitenwand und der andere (50) mit der Aufnahme (42 bzw. 57) am jeweils zugeordneten Scharnierbügel (27) zusammenwirkt.
3. Vorrichtung nach Anspruch 2, dadurch gekennzeichnet, dass je ein zu den Lagerstellen (48) an den Fahrzeugseitenwänden führender Montageschlitz (49) vorgesehen ist, dessen Breite jeweils geringer als der Durchmesser der zugeordneten Lagerstelle (48) ist.
4. Vorrichtung nach Anspruch 2 oder 3, dadurch gekennzeichnet, dass der Lagerdurchmesser der Lagerstellen (48) an den Fahrzeugseitenwänden grösser ist als der Lagerdurchmesser der Aufnahmen (42; 57) an den Scharnierbügeln (27).
5. Vorrichtung nach Anspruch 2, 3 oder 4, dadurch gekennzeichnet, dass die Lagerbuchsen (36) sich stufenförmig verjüngen, derart, dass zwei zylindrische Lagerbereiche (50, 51) unterschiedlichen Durchmessers durch einen konischen Zwischenbereich (52) miteinander verbunden sind, und dass das sich an den Lagerbereich (50) kleineren Durchmessers anschliessende Ende (55) der Lagerbuchsen kegelstumpfförmig ausgebildet ist.
6. Vorrichtung nach einem oder mehreren der vorstehenden Ansprüche, dadurch gekennzeichnet, dass die Drehstabfeder (30) an ihren beiden Enden (bei 34, 39 bzw. 56) jeweils zweimal rechtwinklig abgebogen und dort in je zwei Aufnahmen (42, 35 bzw. 57, 58) des zugeordneten Scharnierbügels (27) eingreift.
7. Vorrichtung nach einem oder mehreren der Ansprüche 1-6, dadurch gekennzeichnet, dass die Drehstabfeder (30b) beidseitig derart abgekröpft ausgebildet ist, dass ihre beiden zweimal rechtwinklig abgebogenen Enden (56) innerhalb der Drehachse (28) der Drehstabfeder liegen, und dass die Lagerbuchsen (30b) auf diesen einander zugewandten Enden (56) der Drehstabfeder angeordnet sind (Fig. 11-17).
8. Vorrichtung nach Anspruch 6 oder 7, dadurch gekennzeichnet, dass die Lagerbuchsen (36b) zusammen mit der Drehstabfeder (30b) je in eine vordere geschlossene Aufnahmebohrung (57) der Scharnierbügel (27b) eingreifen und dass an den Scharnierbügeln (27b) jeweils noch eine zweite, langlochförmige Aufnahme (58) vorgesehen ist, deren Breite etwa dem Durchmesser der Drehstabfeder (30b) entspricht und deren Länge mindestens gleich dem beidseitigen Endmass der Drehstabfeder ist, das sich durch die zweimalige rechtwinklige Abbiegung derselben an ihren Enden (56) ergibt (Fig. 11-17).
9. Vorrichtung nach Anspruch 6, dadurch gekennzeichnet, dass die Lagerbuchsen (36a) an den beidseitigen Endbereichen der Drehstabfeder (30a), jeweils unmittelbar vor der zweimaligen rechtwinkligen Abbiegung derselben, angeordnet sind und zusammen mit dem betreffenden Drehstabfeder-Bereich (x2) jeweils in eine vordere gabelförmige Aufnahme (41,42,43) der Scharnierbügel (27a) eingreifen und dass die infolge der zweimaligen rechtwinkligen Abbiegung nach innen gerichteten Enden (34) der Drehstabfeder (30a) jeweils in eine Bohrung (34) der Scharnierbügel (27a) eingreift, welche Bohrungen (35) als zweite Aufnahmen für die Drehstabfeder (30a) dienen (Fig. 4-10).
10. Vorrichtung nach Anspruch 9, dadurch gekennzeichnet, dass die vorderen gabelförmigen Aufnahmen (41, 42, 43) an den Scharnierbügeln (27a) jeweils aus einer Lagerbohrung (42) und einem zu dieser führenden Montageschlitz (43) bestehen, dessen Breite geringer ist als der Durchmesser der Lagerbohrung (42).
11. Vorrichtung nach einem oder mehreren der Ansprüche 1-10, vor allem nach Anspruch 9 und 10, dadurch gekennzeichnet, dass die beiden Lagerbuchsen (36a) längsgeschlitzt ausgebildet und in Querrichtung zur Drehachse (28) der Drehstabfeder (30a) auf diese aufgesteckt sind (Fig. 4-10).
12. Vorrichtung nach einem oder mehreren der Ansprüche 1-10, vor allem nach Anspruch 7 und 8, dadurch gekennzeichnet, dass die Lagerbuchsen (36b) ungeschlitzt ausgebildet und auf das jeweils zugeordnete Ende (56) der Drehstabfeder (30b) axial aufgeschoben sind (Fig. 11-17).
13. Vorrichtung nach einem oder mehreren der Ansprüche 1-12, dadurch gekennzeichnet, dass die Lagerbuchsen (36) sich aussenseitig an der zweimal rechtwinklig abgebogenen Drehstabfeder (30) selbst abstützen und innenseitig durch je eine auf der Drehstabfeder angeordnete Federscheibe (40) axial gesichert sind.
14. Vorrichtung nach Anspruch 13, dadurch gekennzeichnet, dass die Lagerbuchsen (36) aussenseitig einen Rand (37) mit einer diametral durchgehenden Nut (38) aufweisen, in die - als Verdrehsicherung für die jeweilige Lagerbuchse - die Drehstabfeder (30) mit ihrem abgebogenen Endstück eingreift.
15. Vorrichtung nach einem oder mehreren der vorstehenden Ansprüche, dadurch gekennzeichnet, dass die Drehstabfeder (30) etwa in ihrer Mitte, die vorzugsweise etwa der Fahrzeugmitte (33) entspricht, eine U-förmige Abkröpfung (32) in Querrichtung zu ihrer Drehachse (28) besitzt, derart, dass die Drehstabfeder (30) in Richtung ihrer Drehachse (28) elastisch verlängerbar ist (x, und x2), und dass die U-förmige Abkröpfung (32) zugleich als Widerlager am Fahrzeugkörper hinsichtlich der Federfunktion der Drehstabfeder (30) dient.
16. Vorrichtung nach einem oder mehreren der vorstehenden Ansprüche, dadurch gekennzeichnet, dass die an ihrem einen Ende mittels der Drehstabfeder (30) am Fahrzeugkörper gelagerten Scharnierbügel (27) an ihrem anderen Ende mittelbar über Verstärkungs-Winkelprofile (25) mit dem Karosserieteil (22) punktverschweisst sind (bei 24, 26).
17. Vorrichtung nach einem oder mehreren der Ansprüche 1-16, dadurch gekennzeichnet, dass auf den Lagerbuchsen (36), in einer umlaufenden Eindrehung (54), je eine den zugeordneten Scharnierbügel (27) auf der Innenseite hintergreifende Sicherungsscheibe (53) zur Fixierung der Montageeinheit Drehstabfeder (30)/Scharnierbügel (27)/ Karosserieteil (22) in deren montierter Endposition am Fahrzeugkörper angeordnet ist.
18. Vorrichtung nach einem oder mehreren der vorstehenden Ansprüche, zur gelenkigen Anordnung von Heckraum-Deckeln an Personenkraftwagen, dadurch gekennzeichnet, dass in der mit der Karosserie-Rückwand (19) des Fahrzeugs verbundenen horizontalen Ablagerückwand (20) beidseitig je eine Ausnehmung (21) als Sichtöffnung zur Montage der Baueinheit Drehstabfeder (30)/ Scharnierbügel (27)/Heckraumdeckei (22) vorgesehen ist (Fig. 1 und 2).
19. Verfahren zur Herstellung einer Vorrichtung nach einem oder mehreren der vorstehenden Ansprüche, gekennzeichnet durch die folgenden nacheinander vorzunehmenden Massnahmen:
1. Punktverschweissen der Scharnierbügel (27) mit der Innenseite des Karosserieteils (22), vorzugsweise unter Verwendung von Verstärkungs-Winkelprofilen (25).
2. Einhängen der Drehstabfeder (30) in die Aufnahmen (42 bzw. 57) der Scharnierbügel (27).
3. Elastisches Strecken (2 x um das Mass x,) der Drehstabfeder (30) in Richtung ihrer Drehachse (28).
4. Montage der Lagerbuchsen (36) auf der Drehstabfeder (30) und anschliessendes Entlasten derselben bis die Lagerbuchsen zusammen mit der Drehstabfeder (30) ihre Endpositionen in den vorderen Aufnahmen (42 bzw. 57) der Scharnierbügel (27) erreicht haben; Aufsetzen der Sicherungsscheibe (40) auf die Drehstabfeder (30, 56).
5. Nochmaliges elastisches Strecken (2 x um das Mass x2) der Drehstabfeder (30) in Richtung ihrer Drehachse (28).
6. Einhängen des mit Scharnierbügeln (27), Drehstabfeder (30) und Lagerbuchsen (36) komplett montierten Karosserieteils (22) in die gabelförmigen Lagerstellen (46-49) beidseitig am Fahrzeugkörper.
7. Anschliessendes Entlasten der Drehstabfeder (30) bis die Lagerbuchsen (36) ihrer Endposition in den gabelförmigen Lagerstellen (46-49) am Fahrzeugkörper gefunden haben.
8. Aufstecken von Sicherungsscheiben (53) auf die Lagerbuchsen (36).
EP84114347A 1983-12-02 1984-11-27 Vorrichtung zur gelenkigen Anordnung von Karosserieteilen an Fahrzeugen, insbesondere Kraftfahrzeugen, und Verfahren zur Herstellung einer solchen Vorrichtung Expired EP0146028B1 (de)

Applications Claiming Priority (2)

Application Number Priority Date Filing Date Title
DE3343621 1983-12-02
DE3343621A DE3343621C2 (de) 1983-12-02 1983-12-02 Scharnier für eine um eine Horizontalachse schwenkbare Klappe, insbesondere für Kraftfahrzeuge

Publications (3)

Publication Number Publication Date
EP0146028A2 EP0146028A2 (de) 1985-06-26
EP0146028A3 EP0146028A3 (en) 1986-05-28
EP0146028B1 true EP0146028B1 (de) 1989-02-08

Family

ID=6215869

Family Applications (1)

Application Number Title Priority Date Filing Date
EP84114347A Expired EP0146028B1 (de) 1983-12-02 1984-11-27 Vorrichtung zur gelenkigen Anordnung von Karosserieteilen an Fahrzeugen, insbesondere Kraftfahrzeugen, und Verfahren zur Herstellung einer solchen Vorrichtung

Country Status (2)

Country Link
EP (1) EP0146028B1 (de)
DE (2) DE3343621C2 (de)

Families Citing this family (5)

* Cited by examiner, † Cited by third party
Publication number Priority date Publication date Assignee Title
DE4307997C2 (de) * 1993-03-13 1996-02-08 Porsche Ag Hintere Lagerung und Führung eines schwenkbaren Gabelstapler-Fahrerhauses
IT1266022B1 (it) * 1994-06-10 1996-12-16 Fiat Auto Spa Cerniera per lo sportello del vano bagagli di un autoveicolo.
US7469953B2 (en) * 2006-07-24 2008-12-30 Gm Global Technology Operations, Inc. Gooseneck hinge assembly for vehicle
DE102010008253A1 (de) * 2010-02-17 2011-08-18 GM Global Technology Operations LLC, ( n. d. Ges. d. Staates Delaware ), Mich. Karosseriestruktur mit wenigstens einem daran angeordneten Scharnierteil sowie B-Säule eines Kraftfahrzeuges
DE102012004015A1 (de) * 2012-02-28 2013-08-29 Gm Global Technology Operations, Llc Einstellbare Scharniervorrichtung für den Heckraumdeckel eines Kraftfahrzeugs

Family Cites Families (8)

* Cited by examiner, † Cited by third party
Publication number Priority date Publication date Assignee Title
BE528045A (de) *
US2602957A (en) * 1945-04-02 1952-07-15 Winters & Crampton Corp Hinge construction
CH329977A (de) * 1954-04-01 1958-05-15 Daimler Benz Ag Vorrichtung zum Öffnen und Schliessen von Verschlussdeckeln von Behältern, insbesondere für Kraftfahrzeuge
FR1425424A (fr) * 1964-12-07 1966-01-24 Simca Automobiles Sa Dispositif d'articulation et de commande notamment pour porte, couvercle de coffre et capot de véhicule automobile
GB1287263A (en) * 1968-09-17 1972-08-31 Wilmot Breeden Ltd Improvements in or relating to hinges
DE2718887C3 (de) * 1977-04-28 1980-07-17 Audi Nsu Auto Union Ag, 7107 Neckarsulm Vorrichtung zur Lagerung einer Heckklappe für Kraftfahrzeuge
US4223483A (en) * 1979-03-23 1980-09-23 Chrysler Corporation Closure hinge mechanism
US4402111A (en) * 1981-10-19 1983-09-06 General Motors Corporation Closure panel hinge with torsion bar

Also Published As

Publication number Publication date
DE3343621A1 (de) 1985-06-13
EP0146028A2 (de) 1985-06-26
DE3343621C2 (de) 1986-12-04
DE3476690D1 (en) 1989-03-16
EP0146028A3 (en) 1986-05-28

Similar Documents

Publication Publication Date Title
EP3504391A1 (de) Scharnieranordnung für ein schaltschrankgehäuse und ein entsprechendes schaltschrankgehäuse
EP0603536A1 (de) Kraftfahrzeug mit die Karosserie versteifenden Elementen
EP0460620A2 (de) Türband
EP0146028B1 (de) Vorrichtung zur gelenkigen Anordnung von Karosserieteilen an Fahrzeugen, insbesondere Kraftfahrzeugen, und Verfahren zur Herstellung einer solchen Vorrichtung
DE20100622U1 (de) Bandanordnung für Türen, Fenster u.dgl.
DE3102736A1 (de) "anordnung mit einer ein dach aufweisenden fahrzeugkarosserie und einer auf dem dach fest montierten reling fuer einen dachgepaecktraeger"
EP0087555B1 (de) Sonnenschutzrollo
DE3832867C2 (de)
DE2015953C3 (de) Geschirrspülmaschine mit einem Spülbehälter aus Kunststoff und einer klappbaren Tür
DE8905682U1 (de) Elektrohaushaltsgerät mit gewichtsausgeglichener Front-Einfülltür
DE19834700B4 (de) Vorrichtung zum Verschließen einer Wandöffnung
DE10009675B4 (de) Seitenaufprallschutz
EP0900904A2 (de) Scharnier für Behälterabdeckungen
DE10030167A1 (de) Über mindestens ein Scharnier an einer Fahrzeugkarosserie angelenktes Schwenkteil wie Tür, Klappe oder dergleichen
EP0852925A1 (de) Duschabtrennung
DE19745032B4 (de) Scharnierbaugruppe für die schwenkbare Anlenkung einer Türe oder Heckklappe an einem Karosserieteil eines Kraftfahrzeugs
DE4007263A1 (de) Anordnung zur loesbaren befestigung eines gepaecktraegers auf einem fahrzeugdach
DE3313738C2 (de)
EP1308379B1 (de) Schwenkbare und längsverlagerbare Lagerung eines Karosserieschwenkteils, insbesondere des Gepäckraumdeckels eines Kraftfahrzeugs
DE20214713U1 (de) Rollo, insbesondere Fensterrollo, zum Einbau in ein Kraftfahrzeug
DE4315144A1 (de) Schwenktür einer Abtrennung, insbesondere Duschabtrennung
DE9003443U1 (de) Dachkoffer
EP0769601B1 (de) Türanlenksystem für Kraftwagentüren
DE9104240U1 (de) 180°-Scharnier
DE2852734C2 (de) Schwenklager zwischen einem Tragbügel und einem demgegenüber um eine Schwenkachse auf und zu klappbaren Schließbügel für auf Fahrzeugdächern befestigbare Skiträger

Legal Events

Date Code Title Description
PUAI Public reference made under article 153(3) epc to a published international application that has entered the european phase

Free format text: ORIGINAL CODE: 0009012

AK Designated contracting states

Designated state(s): DE FR GB IT SE

RTI1 Title (correction)
17P Request for examination filed

Effective date: 19851018

PUAL Search report despatched

Free format text: ORIGINAL CODE: 0009013

AK Designated contracting states

Kind code of ref document: A3

Designated state(s): DE FR GB IT SE

17Q First examination report despatched

Effective date: 19870911

ITF It: translation for a ep patent filed
GRAA (expected) grant

Free format text: ORIGINAL CODE: 0009210

AK Designated contracting states

Kind code of ref document: B1

Designated state(s): DE FR GB IT SE

GBT Gb: translation of ep patent filed (gb section 77(6)(a)/1977)
REF Corresponds to:

Ref document number: 3476690

Country of ref document: DE

Date of ref document: 19890316

ET Fr: translation filed
PLBE No opposition filed within time limit

Free format text: ORIGINAL CODE: 0009261

STAA Information on the status of an ep patent application or granted ep patent

Free format text: STATUS: NO OPPOSITION FILED WITHIN TIME LIMIT

26N No opposition filed
PGFP Annual fee paid to national office [announced via postgrant information from national office to epo]

Ref country code: SE

Payment date: 19910919

Year of fee payment: 8

PGFP Annual fee paid to national office [announced via postgrant information from national office to epo]

Ref country code: FR

Payment date: 19910930

Year of fee payment: 8

ITTA It: last paid annual fee
PGFP Annual fee paid to national office [announced via postgrant information from national office to epo]

Ref country code: DE

Payment date: 19911219

Year of fee payment: 8

PGFP Annual fee paid to national office [announced via postgrant information from national office to epo]

Ref country code: GB

Payment date: 19921029

Year of fee payment: 9

PG25 Lapsed in a contracting state [announced via postgrant information from national office to epo]

Ref country code: SE

Effective date: 19921128

PG25 Lapsed in a contracting state [announced via postgrant information from national office to epo]

Ref country code: FR

Effective date: 19930730

PG25 Lapsed in a contracting state [announced via postgrant information from national office to epo]

Ref country code: DE

Effective date: 19930803

REG Reference to a national code

Ref country code: FR

Ref legal event code: ST

PG25 Lapsed in a contracting state [announced via postgrant information from national office to epo]

Ref country code: GB

Effective date: 19931127

GBPC Gb: european patent ceased through non-payment of renewal fee

Effective date: 19931127

EUG Se: european patent has lapsed

Ref document number: 84114347.2

Effective date: 19930610