EP0011684A2 - Identifikationskarte - Google Patents

Identifikationskarte Download PDF

Info

Publication number
EP0011684A2
EP0011684A2 EP79103186A EP79103186A EP0011684A2 EP 0011684 A2 EP0011684 A2 EP 0011684A2 EP 79103186 A EP79103186 A EP 79103186A EP 79103186 A EP79103186 A EP 79103186A EP 0011684 A2 EP0011684 A2 EP 0011684A2
Authority
EP
European Patent Office
Prior art keywords
layers
identification card
security features
layer
card according
Prior art date
Legal status (The legal status is an assumption and is not a legal conclusion. Google has not performed a legal analysis and makes no representation as to the accuracy of the status listed.)
Granted
Application number
EP79103186A
Other languages
English (en)
French (fr)
Other versions
EP0011684A3 (en
EP0011684B1 (de
Inventor
Aktiengesellschaft Hoechst
Current Assignee (The listed assignees may be inaccurate. Google has not performed a legal analysis and makes no representation or warranty as to the accuracy of the list.)
Hoechst AG
Original Assignee
Hoechst AG
Priority date (The priority date is an assumption and is not a legal conclusion. Google has not performed a legal analysis and makes no representation as to the accuracy of the date listed.)
Filing date
Publication date
Family has litigation
First worldwide family litigation filed litigation Critical https://patents.darts-ip.com/?family=6048791&utm_source=google_patent&utm_medium=platform_link&utm_campaign=public_patent_search&patent=EP0011684(A2) "Global patent litigation dataset” by Darts-ip is licensed under a Creative Commons Attribution 4.0 International License.
Application filed by Hoechst AG filed Critical Hoechst AG
Priority to AT79103186T priority Critical patent/ATE2409T1/de
Publication of EP0011684A2 publication Critical patent/EP0011684A2/de
Publication of EP0011684A3 publication Critical patent/EP0011684A3/de
Application granted granted Critical
Publication of EP0011684B1 publication Critical patent/EP0011684B1/de
Expired legal-status Critical Current

Links

Images

Classifications

    • BPERFORMING OPERATIONS; TRANSPORTING
    • B42BOOKBINDING; ALBUMS; FILES; SPECIAL PRINTED MATTER
    • B42DBOOKS; BOOK COVERS; LOOSE LEAVES; PRINTED MATTER CHARACTERISED BY IDENTIFICATION OR SECURITY FEATURES; PRINTED MATTER OF SPECIAL FORMAT OR STYLE NOT OTHERWISE PROVIDED FOR; DEVICES FOR USE THEREWITH AND NOT OTHERWISE PROVIDED FOR; MOVABLE-STRIP WRITING OR READING APPARATUS
    • B42D25/00Information-bearing cards or sheet-like structures characterised by identification or security features; Manufacture thereof
    • B42D25/40Manufacture
    • B42D25/45Associating two or more layers
    • B42D25/465Associating two or more layers using chemicals or adhesives
    • BPERFORMING OPERATIONS; TRANSPORTING
    • B42BOOKBINDING; ALBUMS; FILES; SPECIAL PRINTED MATTER
    • B42DBOOKS; BOOK COVERS; LOOSE LEAVES; PRINTED MATTER CHARACTERISED BY IDENTIFICATION OR SECURITY FEATURES; PRINTED MATTER OF SPECIAL FORMAT OR STYLE NOT OTHERWISE PROVIDED FOR; DEVICES FOR USE THEREWITH AND NOT OTHERWISE PROVIDED FOR; MOVABLE-STRIP WRITING OR READING APPARATUS
    • B42D25/00Information-bearing cards or sheet-like structures characterised by identification or security features; Manufacture thereof
    • BPERFORMING OPERATIONS; TRANSPORTING
    • B42BOOKBINDING; ALBUMS; FILES; SPECIAL PRINTED MATTER
    • B42DBOOKS; BOOK COVERS; LOOSE LEAVES; PRINTED MATTER CHARACTERISED BY IDENTIFICATION OR SECURITY FEATURES; PRINTED MATTER OF SPECIAL FORMAT OR STYLE NOT OTHERWISE PROVIDED FOR; DEVICES FOR USE THEREWITH AND NOT OTHERWISE PROVIDED FOR; MOVABLE-STRIP WRITING OR READING APPARATUS
    • B42D25/00Information-bearing cards or sheet-like structures characterised by identification or security features; Manufacture thereof
    • B42D25/20Information-bearing cards or sheet-like structures characterised by identification or security features; Manufacture thereof characterised by a particular use or purpose
    • B42D25/23Identity cards
    • BPERFORMING OPERATIONS; TRANSPORTING
    • B42BOOKBINDING; ALBUMS; FILES; SPECIAL PRINTED MATTER
    • B42DBOOKS; BOOK COVERS; LOOSE LEAVES; PRINTED MATTER CHARACTERISED BY IDENTIFICATION OR SECURITY FEATURES; PRINTED MATTER OF SPECIAL FORMAT OR STYLE NOT OTHERWISE PROVIDED FOR; DEVICES FOR USE THEREWITH AND NOT OTHERWISE PROVIDED FOR; MOVABLE-STRIP WRITING OR READING APPARATUS
    • B42D25/00Information-bearing cards or sheet-like structures characterised by identification or security features; Manufacture thereof
    • B42D25/30Identification or security features, e.g. for preventing forgery
    • B42D25/36Identification or security features, e.g. for preventing forgery comprising special materials
    • BPERFORMING OPERATIONS; TRANSPORTING
    • B42BOOKBINDING; ALBUMS; FILES; SPECIAL PRINTED MATTER
    • B42DBOOKS; BOOK COVERS; LOOSE LEAVES; PRINTED MATTER CHARACTERISED BY IDENTIFICATION OR SECURITY FEATURES; PRINTED MATTER OF SPECIAL FORMAT OR STYLE NOT OTHERWISE PROVIDED FOR; DEVICES FOR USE THEREWITH AND NOT OTHERWISE PROVIDED FOR; MOVABLE-STRIP WRITING OR READING APPARATUS
    • B42D25/00Information-bearing cards or sheet-like structures characterised by identification or security features; Manufacture thereof
    • B42D25/40Manufacture
    • B42D25/45Associating two or more layers
    • B42D25/455Associating two or more layers using heat
    • B42D2033/04
    • B42D2033/06
    • B42D2033/20
    • B42D2035/02
    • B42D2035/06
    • B42D2035/08
    • B42D2035/24
    • BPERFORMING OPERATIONS; TRANSPORTING
    • B42BOOKBINDING; ALBUMS; FILES; SPECIAL PRINTED MATTER
    • B42DBOOKS; BOOK COVERS; LOOSE LEAVES; PRINTED MATTER CHARACTERISED BY IDENTIFICATION OR SECURITY FEATURES; PRINTED MATTER OF SPECIAL FORMAT OR STYLE NOT OTHERWISE PROVIDED FOR; DEVICES FOR USE THEREWITH AND NOT OTHERWISE PROVIDED FOR; MOVABLE-STRIP WRITING OR READING APPARATUS
    • B42D25/00Information-bearing cards or sheet-like structures characterised by identification or security features; Manufacture thereof
    • B42D25/30Identification or security features, e.g. for preventing forgery
    • B42D25/36Identification or security features, e.g. for preventing forgery comprising special materials
    • B42D25/378Special inks
    • B42D25/382Special inks absorbing or reflecting infrared light
    • BPERFORMING OPERATIONS; TRANSPORTING
    • B42BOOKBINDING; ALBUMS; FILES; SPECIAL PRINTED MATTER
    • B42DBOOKS; BOOK COVERS; LOOSE LEAVES; PRINTED MATTER CHARACTERISED BY IDENTIFICATION OR SECURITY FEATURES; PRINTED MATTER OF SPECIAL FORMAT OR STYLE NOT OTHERWISE PROVIDED FOR; DEVICES FOR USE THEREWITH AND NOT OTHERWISE PROVIDED FOR; MOVABLE-STRIP WRITING OR READING APPARATUS
    • B42D25/00Information-bearing cards or sheet-like structures characterised by identification or security features; Manufacture thereof
    • B42D25/30Identification or security features, e.g. for preventing forgery
    • B42D25/36Identification or security features, e.g. for preventing forgery comprising special materials
    • B42D25/378Special inks
    • B42D25/387Special inks absorbing or reflecting ultraviolet light
    • BPERFORMING OPERATIONS; TRANSPORTING
    • B42BOOKBINDING; ALBUMS; FILES; SPECIAL PRINTED MATTER
    • B42DBOOKS; BOOK COVERS; LOOSE LEAVES; PRINTED MATTER CHARACTERISED BY IDENTIFICATION OR SECURITY FEATURES; PRINTED MATTER OF SPECIAL FORMAT OR STYLE NOT OTHERWISE PROVIDED FOR; DEVICES FOR USE THEREWITH AND NOT OTHERWISE PROVIDED FOR; MOVABLE-STRIP WRITING OR READING APPARATUS
    • B42D25/00Information-bearing cards or sheet-like structures characterised by identification or security features; Manufacture thereof
    • B42D25/40Manufacture
    • B42D25/45Associating two or more layers
    • B42D25/46Associating two or more layers using pressure

Definitions

  • the invention relates to an identification card of several layers, serving with the identification of the cardholder information in a suitable place and g smerkmalen with additional Sicherun as guilloche figures, against counterfeiting.
  • Cards of this type are used as information or data carriers for identification cards, check cards, credit cards, identity cards, passports and other identification carriers which must be tamper-proof and easy to check for authenticity.
  • Such identification cards are increasingly being produced as a fused composite, in which a card core carrying the information is protected by other transparent foils.
  • DE-OS 23 08 876 relates to an identification card made of a relatively thick carrier film and a thin transparent film, between which there is a special paper with anti-counterfeiting, thickness differences in the paper, such as watermarks, banknote printing or the like, the three Layers are plasticized with one another in such a way that the inclusions can be determined manually, mechanically and / or visually through the transparent film. Further features serving to identify the cardholder are provided at a suitable location in this known identification card. When plasticizing For example, a photo in the form of a film slide is inserted between the special paper and the carrier film and firmly connected to the special paper. Furthermore, a security-printed special paper strip can be laminated on the outside of the plastic material as a field for subsequent signatures or other handwritten entries at any point on the front or back of the identification card.
  • Paper has the advantage that many latent security features, such as watermarks, banknote printing, security threads and the like, can be contained therein, whereas the all-plastic material used for the production of plastic cards does not contain any such authenticity or security features.
  • latent security features such as watermarks, banknote printing, security threads and the like
  • the all-plastic material used for the production of plastic cards does not contain any such authenticity or security features.
  • a personal identification card which is a combination of a layer support, an electrically conductive layer, a barrier layer, a photoconductive layer with an organic photoconductor - optionally a cover layer -, a protective layer on the photoconductive layer or on the cover layer , a protective layer on the back of the support and optionally a cover layer on the latter protective layer.
  • This personal identification card has a number of under Different materials put together to form a composite that can be resolved due to the lack of homogeneity of the individual layers, so that counterfeits can be made.
  • the object of the invention is to create an identification card from a combination of layers which resist the attempt to separate it into individual layers and thus counterfeit tampering with the information and security features attached to the layers.
  • the card core is composed of at least two layers, of which one layer carries the information directly used for identification, such as name, photograph, personnel number and the other layer additional latent security features.
  • the individual layers of the identity card have different transparency, for example one of the two layers of the card core is colored matt by pigment addition, preferably white, and has a medium to weak transparency.
  • the upper and lower cover layers of the identification card are very transparent.
  • the card core consists of three layers, the transparent of which te intermediate layer is bordered on at least one side by one of the matted layers.
  • the intermediate layer is provided with latent security features that are spaced apart from one another by the thickness of the intermediate layer.
  • the information or security features of the layers of the card core have a fixed, mutual spatial assignment.
  • cover layers are provided with security features and that the security features between the card core and the cover layers are in a predetermined spatial arrangement to one another.
  • the information and security features are different colors.
  • the cover layers 1 and 2 made of highly transparent films enclose a card core and consist of fusible polymers, for example polyamides, polyvinyl chloride or the like.
  • the card core comprises two layers 3 and 4 of medium to weak transparency. These are also films made of fusible polymers. Layers 3 and 4 are colored matt, preferably white, by adding pigment. Layer 3 bears directly readable information 5, such as the name, personnel number and photo of the cardholder, which are possibly applied over a security print. At least one layer, layer 4 in FIG. 1, carries an additional latent security feature 6, which is indicated by an X in FIG. 1.
  • the layer 4 can also be printed on the outer side facing the cover layer 2.
  • the additional security feature 6 can be, for example, a magnetic tape, but an optically recognizable security feature is preferred because of the easy check that can be carried out without a lot of aids.
  • Sc can be an invariable, usually difficult to follow imitative feature, for example a guilloche print or a symbol such as a heraldic animal.
  • the feature can be applied by printing or a photocopying process and can also contain individual information, for example a consecutive number or a second picture of the cardholder.
  • optical security feature should also include all embodiments in which materials are used for the production of the security feature 6 that fluoresce only when irradiated by ultraviolet light or that absorb only in ultraviolet or infrared light and are therefore not recognizable in the visible range .
  • These internal security features are in the case of purely visual map viewing in reflected light, e.g. to determine the personal details, not visible. A lamp that emits ultraviolet or infrared radiation is then the only tool required for testing such security features, so that the security feature can be recognized when the identification card is illuminated with such a lamp.
  • the covering layers 1, 2 and layers 3, 4 of the card core offer, after lamination, under a pressure of 9.8 to 20 bar (10 - 20 Kp / cm 2 ) at elevated temperatures of 353 ° to 452 ° K (80-180 0 C) a composite fused as a block, which has no intermediate surfaces which favor separation.
  • the security feature 6, for example made of pigments, is then in the Polymer mass of the composite melted down.
  • Fig. 2 shows a cross section through this composite, the hatching of the card core, which shows no boundary lines to the cover layers 1,2, indicates that there is a composite of the matted layers without intermediate surfaces.
  • the card core to be fused can have more than two layers that are highly transparent and can be provided with several latent security features on the inside.
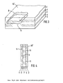
  • the identification card 10 'shown in FIGS. 3 and 4 comprises a card core with an additional transparent intermediate layer 7 with latent security features 8 and 9.
  • the transparent intermediate layer 7 made of a fusible polymer such as polyamide, polyvinyl chloride or the like is from the matted layers 3 and 4 edged on both sides.
  • the card core outside of matte layers 3 and 4 of example 100 / um thickness and made of a transparent intermediate layer 7 of at for example 80% transmittance with a thickness of 300 / um, so the latent security features 8 and 9 are legible.
  • the legibility of small structures, for example in guilloche prints, increases as the outer matt layers 3 and 4 or the less pigmented outer layers 3 and 4 of the card core become thinner.
  • the construction of the card core from two or more layers offers, as an additional, very sensitive security feature, the mutual spatial assignment of the various external and internal information or security features, as is briefly explained, for example, with reference to FIG. 3. If the security features 8 and 9 consist of congruently arranged guilloche figures, a forgery attempt on the identity card with the help of heat or solvents to separate the card network is immediately recognizable, since it leads to a complete or partial displacement of the guilloche figures relative to one another, possibly as moiré Pattern is coming.
  • FIG. 3 shows a guilloche figure 9 that has been displaced in relation to the guilloche figure 8 by manipulations, the dotted line of the guilloche figure 9 characterizing its original position.
  • the information and the security pattern or security features can be of different colors.
  • FIG. 4 shows a cross section through the identification card 10 'according to FIG. 3, in which the matted layers 3 and 4 are hatched and the transparent intermediate layer 7 is shown without hatching.
  • the cover layers 1, 2 can additionally be provided with security features, of which the right security feature 11 is indicated in FIG. 4 by a dotted line which is interrupted by distances. The corresponding left security feature has been omitted for clarity.
  • the security features 11 between the card core and the cover layers 1 and 2 are also mutually in a predetermined spatial arrangement and thereby result in increased security against counterfeiting.

Landscapes

  • Engineering & Computer Science (AREA)
  • Manufacturing & Machinery (AREA)
  • General Chemical & Material Sciences (AREA)
  • Health & Medical Sciences (AREA)
  • General Health & Medical Sciences (AREA)
  • Toxicology (AREA)
  • Chemical Kinetics & Catalysis (AREA)
  • Chemical & Material Sciences (AREA)
  • Credit Cards Or The Like (AREA)
  • Holo Graphy (AREA)
  • Prostheses (AREA)
  • Electrochromic Elements, Electrophoresis, Or Variable Reflection Or Absorption Elements (AREA)
  • Polarising Elements (AREA)
  • Laminated Bodies (AREA)

Abstract

Die Erfindung betrifft eine Identifikationskart (10) aus mehreren Schichten (1,2,3,4), von denen die Abdeckschichten (1,2) aus stark transparenten Follien und die Schichten (3,4) des Kartenkerns aus Folien von mittlerer bis schwacher Transparenz bestehen. Die Schichten (3,4) sind durch Pigmentzusatz matt eingefärbt. Die Schicht (3) trägt direkt lesbare Informationen, gegebenenfalls über einem Sicherheitsdruck, während die Schicht (4) ein zusätzliches Sicherungsmerkmal (6), wie einen Guilloche-Druck, ein optisch nur mit Hilfe einer Lampe auslesbares Merkmal oder ein Stück eines Magnetbandes aufweist.
Alle Schichten bestehen aus miteinander verschmelzbaren Polymeren, beispielsweise Polyamiden, Polyvinylchlorid oder dgl., die nach dem Kaschieren unter einem Druck von 9.8 bis 20 bar bei Temperaturen von 353° bis 452°K einen zu einem Block verschmolzenen Verbund bilden, der keine eine mechanische, thermische oder chemische Auftrennung begünstigenden Zwischenflächen auf weist.

Description

  • Die Erfindung betrifft eine Identifikationskarte aus mehreren Schichten, mit der Identifizierung des Karteninhabers dienenden Informationen an geeigneter Stelle und mit zusätzlichen Sicherungsmerkmalen, wie Guilloche-Figuren, gegen Fälschungen.
  • Derartige Karten werden als Informations- bzw. Datenträger für Identifikationskarten, Scheckkarten, Kreditkarten, Personalausweise, Pässe und sonstige Identifikationsträger verwendet, die fälschungssicher und leicht auf Echtheit überprüfbar sein müssen.
  • Im zunehmenden Maß werden derartige Identifikationskarten als verschmolzener Verbund hergestellt, bei dem ein die Informationen tragender Kartenkern durch andere transparente Folien geschützt wird. So betrifft die DE-OS 23 08 876 eine Identifikationskarte aus einer relativ dicken Trägerfolie und einer dünnen Klarsichtfolie, zwischen denen sich ein Spezialpapier mit der Fälschungssicherung dienenden, Dickenunterschiede des Papiers hervorrufenden Einlagerungen, wie Wasserzeichen, Banknotendruck oder dgl., befindet, wobei die drei Schichten so miteinander plastifiziert sind, daß die Einlagerungen durch die Klarsichtfolie manuell, mechanisch und/oder visuell feststellbar sind. Weitere, der Identifizierung des Karteninhabers dienende Markmale sind bei dieser bekannten Identifikationskarte an geeigneter Stelle vorgesehen. Beim Plastifizieren wird beispielsweise ein Foto in Form eines Filmdiapositivs zwischen dem Spezialpapier und der Trägerfolie eingebracht und fest mit dem Spezialpapier verbunden. Des weiteren kann an beliebiger Stelle der Vorder- oder Rückseite der Identifikationskarte ein sicherungstechnisch bedruckter Spezialpapierstreifen außen auf dem Plastikmaterial als Feld für nachträgliche Unterschriften oder sonstige handschriftliche Eintragungen aufkaschiert werden.
  • Papier weist den Vorteil auf, daß viele latente Sicherheitsmerkmale, wie Wasserzeichen, Banknotendruck, Sicherheitsfäden und dgl., in ihm enthalten sein können, während demgegenüber das für die Herstellung von Plastikkarten verwendete Vollkunststoff-Material keinerlei derartige Echtheits- bzw. Sicherungsmerkmale enthält. Bei Verbunden mit Papierkernen ist bedauerlicherweise von Nachteil, daß diese relativ leicht zu öffnen sind und damit Manipulationen und Fälschungen jeder Art zugänglich sind.
  • Aus der DE-AS 21 63 943 ist eine Personenidentifikationskarte bekannt, die eine Kombination eines Schichtträgers, einer elektrisch leitenden Schicht, einer Sperrschicht, einer fotoleitfähigen Schicht mit einem organischen Fotoleiter - gegebenenfalls einer Abdeckschicht -, einer Schutzschicht auf der fotoleitfähigen Schicht oder auf der Abdeckschicht, einer Schutzschicht auf der Rückseite des Schichtträgers und gegebenenfalls einer Abdeckschicht auf der letztgenannten Schutzschicht umfaßt. Bei dieser Personenidentifikationskarte'wird eine Anzahl von unterschiedlichen Materialien zu einem Verbund zusammengefügt, der wegen der fehlenden Homogenität der einzelnen Schichten auflösbar ist, so daß Fälschungen vorgenommen werden können.
  • Aufgabe der Erfindung ist es, eine Identifikationskarte aus einem Verbund von Schichten zu schaffen, die dem Versuch eines Auftrennens in einzelne Schichten und somit Fälschungseingriffen an den auf den Schichten angebrachten Informationen und Sicherungsmerkmalen widerstehen.
  • Diese Aufgabe wird durch die Merkmale des Patentanspruchs 1 gelöst.
  • In Ausgestaltung der Erfindung ist der Kartenkern aus mindestens zwei Schichten zusammengesetzt, von denen die eine Schicht die direkt der Identifikation dienenden Informationen, wie Name, Lichtbild, Personalnummer und die andere Schicht zusätzliche latente Sicherungsmerkmale trägt. Die einzelnen Schichten der Identitätskarte besitzen unterschiedliche Transparenz, so ist beispielsweise eine der beiden Schichten des Kartenkerns durch Pigmentzusatz matt eingefärbt, bevorzugt weiß, und hat eine mittlere bis schwache Transparenz. Demgegenüber weisen die obere und die untere Abdeckschicht der Identifikationskarte sehr große Transparenz auf.
  • In weiterer Ausgestaltung der Erfindung besteht der Kartenkern aus drei Schichten, von denen die transparente Zwischenschicht auf zumindest einer Seite von einer der mattierten Schichten eingefaßt ist. Dabei ist die Zwischenschicht mit latenten Sicherungsmerkmalen versehen, die zueinander einen Abstand gleich der Dicke der Zwischenschicht aufweisen. Als zusätzliche Sicherung kommt bei der Identifikationskarte hinzu, daß die Informationen bzw. Sicherungsmerkmale der Schichten des Kartenkerns eine festgelegte, gegenseitige räumliche Zuordnung besitzen.
  • Es ist auch möglich, daß die Abdeckschichten mit Sicherungsmerkmalen versehen sind und daß die Sicherungsmerkmale zwischen dem Kartenkern und den Abdeckschichten in vorgegebener räumlicher Anordnung zueinander stehen. Zur Vergrößerung der Fälschungssicherheit sind die Informationen und die Sicherungsmerkmale verschiedenfarbig.
  • Es liegt auf der Hand, daß der Versuch, eine Identifikationskarte, bei der der Kartenkern und die obere und die untere Abdeckschicht aus thermisch miteinander zu einem Verbund verschmolzenen Polymeren bestehen, zum Zweck der Fälschung der zwischen den Schichten vorhandenen Informationen aufzutrennen, wegen der Homogenität der einzelnen Materialschichten unmöglich ist.
  • Die Erfindung wird im folgenden anhand von zwei in den Zeichnungen dargestellten Ausführungsbeispielen näher erläutert. Es zeigen:
    • Fig. 1 in Explosionsdarstellung eine Identifikationskarte mit schematisch angedeuteten Informationen und einem Sicherungsmerkmal,
    • Fig. 2 eine Schnittansicht der Identifikationskarte nach Fig. 1,
    • Fig. 3 eine perspektivische Teilansicht einer weiteren Ausführungsform einer Identifikationskarte, und
    • Fig. 4 eine Schnittansicht der Identifikationskarte nach Fig. 3.
  • Ein Aufbau einer Identifikationskarte ist in Fig. 1 dargestellt. Die Abdeckschichten 1 und 2 aus stark transparenten Folien schließen einen Kartenkern ein und bestehen aus verschmelzbaren Polymeren, beispielsweise Polyamiden, Polyvinylchlorid oder dgl. Der Kartenkern umfaßt zwei Schichten 3 und 4 mittlerer bis schwacher Transparenz. Es handelt sich hierbei gleichfalls um Folien aus verschmelzbaren Polymeren. Die Schichten 3 und 4 sind durch Pigmentzusatz matt, bevorzugt weiß, eingefärbt. Die Schicht 3 trägt direkt lesbare Informationen 5 wie Namen, Personalnummer und Lichtbild des Karteninhabers, die gegebenenfalls über einem Sicherheitsdruck aufgebracht sind. Zumindest eine Schicht, in Fig. 1 die Schicht 4, trägt ein zusätzliches latentes Sicherungsmerkmal 6, das in Fig. 1 durch ein X angedeutet ist. Die Schicht 4 kann auch noch auf der äußeren Seite, die der Abdeckschicht 2 zugewandt ist, bedruckt sein.
  • Das zusätzliche Sicherungsmerkmal 6 kann beispielsweise ein Magnetband sein, jedoch wird wegen der leichten, ohne großen Aufwand an Hilfsmitteln durchzuführenden Prüfung, ein optisch erkennbares Sicherungsmerkmal bevorzugt. Sc kann es ein unveränderliches, in der Regel schwer nachzuahmendes Merkmal sein, beispielsweise ein Guilloche-Druck oder ein Symbol wie ein Wappentier. Das Merkmal kann durch Druck oder einen Fotokopierprozess aufgebracht werden und auch individuelle Angaben enthalten, beispielsweise eine fortlaufende Nummer oder ein zweites Bild des Karteninhabers.
  • Unter den Begriff "optisches" Sicherungsmerkmal sollen auch alle Ausführungsformen fallen, bei denen Materialien für die Herstellung des Sicherungsmerkmals 6 verwendet werden, die nur bei Einstrahlung von ultraviolettem Licht fluoreszieren oder die nur im ultravioletten oder infraroten Licht absorbieren und daher im sichtbaren Bereich nicht erkennbar sind. Diese inneren Sicherungsmerkmale sind bei rein visueller Kartenbetrachtung im reflektierten Licht, z.B. zur Feststellung der Personalien, nicht sichtbar. Für die Prüfung derartiger Sicherungsmerkmale ist dann als einziges Hilfsmittel eine Lampe erforderlich, die eine Ultraviolett- oder Infrarot-Strahlung abgibt, so daß beim Durchleuchten der Identifikationskarte mit einer derartigen Lampe das Sicherungsmerkmal erkennbar wird.
  • Die Abdeckschichten 1,2 und die Schichten 3,4 des Kartenkerns bieten nach dem Kaschieren unter einem Druck von 9,8 bis 20 bar (10 - 20 Kp/cm2) bei erhöhten Temperaturen von 353° bis 452° K (80-1800 C) einen als Block verschmolzenen Verbund, der keine eine Trennung begünstigende Zwischenflächen aufweist. Das Sicherungsmerkmal 6, beispielsweise aus Pigmenten, ist dann in die Polymer-Masse des Verbunds eingeschmolzen.
  • Fig. 2 gibt einen Querschnitt durch diesen Verbund wieder, wobei durch die Schraffur des Kartenkerns, die keine Grenzlinien zu den Abdeckschichten 1,2 zeigt, angedeutet wird, daß ein Verbund der mattierten Schichten ohne Zwischenflächen vorliegt. Der zu verschmelzende Kartenkern kann zur weiteren Sicherheitserhöhung mehr als zwei Schichten aufweisen, die stark transparent sind und innen mit mehreren latenten Sicherungsmerkmalen versehen sein können.
  • Die in den Fig. 3 und 4 dargestellte Identifikationskarte 10' umfaßt einen Kartenkern mit einer zusätzlichen transparenten Zwischenschicht 7 mit latenten Sicherungsmerkmalen 8 und 9. Die transparente Zwischenschicht 7 aus einem verschmelzbaren Polymer wie Polyamid, Polyvinylchlorid oder dgl. ist von den mattierten Schichten 3 und 4 an beiden Seitenflächen eingefaßt. Der Schichtwechsel im Aufbau des Kartenkerns zwischen matten und transparenten Schichten hat neben der sicherungstechnischen Anordnung hinaus praktische Bedeutung für die Lesbarkeit der Sicherungsmerkmale 8 und 9. Wäre nämlich der Kartenkern durchgehend mattiert, so hätte er beispielsweise bei einer Dicke von 500 /um nur eine Transmission von einigen Prozenten, wodurch die Lesbarkeit der eingebrachten latenten Sicherungsmerkmale sehr erschwert wäre. Besteht der Kartenkern dagegen außen aus matten Schichten 3 und 4 von beispielsweise je 100 /um Dicke und aus einer transparenten Zwischenschicht 7 von beispielsweise 80 % Transmissionsvermögen bei einer Dicke von 300 /um, so ist eine gute Lesbarkeit der eingebrachten latenten Sicherungsmerkmale 8 und 9 gegeben. Die Lesbarkeit kleiner Strukturen, beispielsweise bei Guilloche-Drucken, nimmt mit dünner werdenden äußeren matten Schichten 3 und 4 oder schwächer pigmentierten äußeren Schichten 3 und 4 des Kartenkerns zu.
  • Der Aufbau des Kartenkerns aus zwei oder mehreren Schichten bietet als zusätzliches, sehr empfindliches Sicherungsmerkmal die gegenseitige räumliche Zuordnung der verschiedenen äußeren und inneren Informationen bzw. Sicherungsmerkmale, wie dies beispielsweise anhand von Fig. 3 kurz erläutert wird. Bestehen die Sicherungsmerkmale 8 und 9 aus deckungsgleich angeordneten Guilloche-Figuren, so ist ein Fälschungsversuch an der Identitätskarte mit Hilfe von Wärme oder Lösungsmitteln zum Auftrennendes Kartenverbunds sofort erkennbar, da es zu einer vollständigen oder teilweisen Verschiebung der Guilloche-Figuren relativ zueinander , eventuell als Moiré-Muster, kommt.
  • In Fig. 3 ist eine gegenüber der Guilloche-Figur 8 durch Manipulationen verschobene Guilloche-Figur 9 angedeutet, wobei der punktierte Linienzug der Guilloche-Figur 9 deren ursprüngliche Lage kennzeichnet. Zur besseren Unterscheidbarkeit können die Informationen und das Sicherungsmuster bzw. Sicherungsmerkmale verschiedenfarbig sein.
  • Die exakte räumliche Zuordnung von Informationen und Sicherungsmerkmalen im Kartenverbund bei ursprünglich getrennten Schichten erfordert eine ausgereifte Kaschiertechnik mit Paßvorrichtungen wie Paßstiften und Paßlöchern in den einzelnen Schichten und stellt damit eine weitere Sicherung gegen Fälschungen dar. Die räumliche Zuordnung von zwei Guilloche-Figuren kann auch durch doppelseitigen, paßgenauen Druck auf der Zwischenschicht 7 erfolgen.
  • Fig. 4 zeigt einen Querschnitt durch die Identifikationskarte 10' nach Fig. 3, in dem die mattierten Schichten 3 und 4 schraffiert und die transparente Zwischenschicht 7 ohne Schraffur dargestellt ist.
  • Die Abdeckschichten 1,2 können zusätzlich mit Sicherungsmerkmalen versehen sein, von denen in Fig. 4 das rechte Sicherheitsmerkmal 11 durch eine punktierte Linie, die durch Abstände unterbrochen ist, angedeutet ist. Das entsprechende linke Sicherheitsmerkmal ist wegen der besseren Übersichtlichkeit weggelassen worden. Die Sicherheitsmerkmale 11 zwischen dem Kartenkern und den Abdeckschichten 1 und 2 stehen zueinander gleichfalls in einer vorgegebenen räumlichen Anordnung und ergeben dadurch eine erhöhte Sicherheit gegenüber Fälschungen.

Claims (10)

1. Identifikationskarte aus mehreren Schichten, mit der Identifizierung des Karteninhabers dienenden Informationen an geeigneter Stelle und mit zusätzlichen Sicherungsmerkmalen, wie Guilloche-Figuren, gegen Fälschungen, dadurch gekennzeichnet, daß ein zusammengesetzter Kartenkern und eine obere und untere Abdeckschicht (1,2) aus thermisch zu einem Verbund verschmelzbaren Polymeren bestehen.
2. Identifikationskarte nach Anspruch 1, dadurch gekennzeichnet, daß der Kartenkern aus zumindest zwei Schichten (3,4) zusammengesetzt ist, von denen die eine Schicht (3) die direkt der Identifikation dienenden Informationen (5) wie Name, Lichtbild, Personalnummer und die andere Schicht (4) zusätzliche latente Sicherungsmerkmale (6) trägt.
3. Identifikationskarte nach Anspruch 2, dadurch gekennzeichnet, daß zumindest eine der beiden Schichten (3,4) durch Pigmentzusatz matt eingefärbt ist und nur mittlere bis schwache Transparenz besitzt.
4. Identifikationskarte nach Anspruch 3, dadurch gekennzeichnet, daß zumindest eine der beiden Schichten (3,4) durch den Pigmentzusatz weiß eingefärbt ist.
5. Identifikationskarte nach Anspruch 1, dadurch gekennzeichnet, daß die obere und die untere Abdeckschicht (1,2) sehr große Transparenz aufweisen.
6. Identifikationskarte nach Anspruch 1, dadurch gekennzeichnet, daß der Kartenkern aus drei Schichten (3,7,4) besteht, von denen die transparente Zwischenschicht (7) auf zumindest einer Seite von einer der mattierten Schichten (3,4) eingefaßt ist.
7. Identifikationskarte nach Anspruch 6, dadurch gekennzeichnet, daß die Zwischenschicht (7) aus einem verschmelzbaren Polymer auf der Basis von Polyvinylchlorid mit latenten Sicherungsmerkmalen (8,9) versehen ist, die zueinander einen Abstand gleich der Dicke der Zwischenschicht (7) aufweisen.
8. Identifikationskarte nach einem oder mehreren der Ansprüche 1 bis 7, dadurch gekennzeichnet, daß die Informationen bzw. Sicherungsmerkmale (5,6 bzw. 5,8,9) der Schichten des Kartenkerns eine festgelegte, gegenseitige räumliche Zuordnung besitzen.
9. Identifikationskarte nach einem oder mehreren der Ansprüche 1 bis 8, dadurch gekennzeichnet, daß die Abdeckschichten (1,2) mit Sicherungsmerkmalen (11) versehen sind und daß die Sicherungsmerkmale (11) zwischen dem Kartenkern und den Abdeckschichten (1,2) in vorgegebener räumlicher Anordnung zueinander stehen.
10. Identifikationskarte nach den Ansprüchen 1 bis 9, dadurch gekennzeichnet, daß die Informationen (5) und die Sicherungsmerkmale (6,8,9) verschiedenfarbig sind.
EP79103186A 1978-09-06 1979-08-29 Identifikationskarte Expired EP0011684B1 (de)

Priority Applications (1)

Application Number Priority Date Filing Date Title
AT79103186T ATE2409T1 (de) 1978-09-06 1979-08-29 Identifikationskarte.

Applications Claiming Priority (2)

Application Number Priority Date Filing Date Title
DE2838795 1978-09-06
DE19782838795 DE2838795A1 (de) 1978-09-06 1978-09-06 Identifikationskarte

Publications (3)

Publication Number Publication Date
EP0011684A2 true EP0011684A2 (de) 1980-06-11
EP0011684A3 EP0011684A3 (en) 1980-06-25
EP0011684B1 EP0011684B1 (de) 1983-02-09

Family

ID=6048791

Family Applications (1)

Application Number Title Priority Date Filing Date
EP79103186A Expired EP0011684B1 (de) 1978-09-06 1979-08-29 Identifikationskarte

Country Status (7)

Country Link
US (1) US4298217A (de)
EP (1) EP0011684B1 (de)
JP (1) JPS5537398A (de)
AT (1) ATE2409T1 (de)
CA (1) CA1130337A (de)
DE (2) DE2838795A1 (de)
ES (2) ES245438Y (de)

Cited By (7)

* Cited by examiner, † Cited by third party
Publication number Priority date Publication date Assignee Title
EP0064782A3 (en) * 1981-05-13 1983-05-25 Fis Organisation Ag Identification card
EP0013418B1 (de) * 1978-12-30 1983-06-22 Hoechst Aktiengesellschaft Identifikationskarte und Verfahren zu ihrer Herstellung
DE3208204A1 (de) * 1982-03-06 1983-09-15 Fraunhofer-Gesellschaft zur Förderung der angewandten Forschung e.V., 8000 München Druckverfahren zur sicherung von banknoten und dokumenten gegen unbefugtes nachmachen
EP0145473A3 (de) * 1983-12-13 1985-07-24 Computer Identification Systems, Inc. Kennkarte mit graviertem Bild
RU2163197C1 (ru) * 1997-06-03 2001-02-20 Де Ля Рю Интернэшнл Лимитед Изделие с защитой и способ его изготовления
RU2419551C2 (ru) * 2006-04-05 2011-05-27 Гизеке Унд Девриент Гмбх Защитный элемент
US10391807B2 (en) 2007-10-31 2019-08-27 Bundesdruckerei Gmbh Polymer laminate for a security and/or valuable document and method for the production thereof

Families Citing this family (40)

* Cited by examiner, † Cited by third party
Publication number Priority date Publication date Assignee Title
DE2853953A1 (de) 1978-12-14 1980-07-03 Hoechst Ag Identifikationskarte
JPS6031917Y2 (ja) * 1980-11-07 1985-09-24 株式会社日立工機原町 食肉スライサ−における肉塊繰出機構の駆動装置
CH650732A5 (de) * 1981-03-03 1985-08-15 Orell Fuessli Graph Betr Ag Ebene karte aus thermoplastischem kunststoff mit visuell wahrnehmbaren sicherheitszeichen und verfahren zu deren herstellung.
US4389063A (en) * 1981-06-23 1983-06-21 The United States Of America As Represented By The United States Department Of Energy Reusable tamper-indicating security seal
CA1272231A (en) * 1981-08-24 1990-07-31 Mario Girolamo Bank notes and the like
JPS58166099A (ja) * 1982-03-26 1983-10-01 大日本印刷株式会社 カ−ド
US4469353A (en) * 1982-04-12 1984-09-04 Sealtran Corporation Forgery-deterrent document lamination
US4469725A (en) * 1982-09-14 1984-09-04 Fis Organisation Ag Identification card
WO1984002309A1 (fr) * 1982-12-15 1984-06-21 Guardian Card Syst Carte plastique a usage bancaire, d'identite ou de securite
US4626669A (en) * 1983-12-28 1986-12-02 Fairview Partners Intercept system for intercepting stolen, lost and fraudulent cards
US4745267A (en) * 1983-12-28 1988-05-17 Fairview Partners Fraudulent card intercept system
FR2570101B1 (fr) * 1984-09-07 1987-09-25 Sotimag Procede antifraude pour document de valeur
FR2588110B1 (fr) * 1985-10-02 1987-12-11 Moore Business Forms Inc Dispositif de vignette affichable attenant a une carte d'assurance ou d'abonnement
US4999065A (en) * 1986-01-08 1991-03-12 Lasercard Company L.P. Method of making an identification card
US4687526A (en) * 1986-01-08 1987-08-18 Identification Systems Company L.P. Method of making an identification card
JPS6440572U (de) * 1987-08-31 1989-03-10
US5181745A (en) * 1990-12-28 1993-01-26 Jacobsen Gary A Printed image creating the perception of depth
US5090736A (en) * 1991-01-28 1992-02-25 Transilwrap Company, Inc. Multi-sheet laminated identification card with tamper resistant, ultrasonic weldments
ES2042420B1 (es) * 1992-05-20 1994-07-01 Garcia Jose Moises Fernandez Procedimiento para la fabricacion de laminas ornamentadas con plantas vegetales.
ES2046951B1 (es) * 1992-07-09 1994-09-01 Garcia Jose Moises Fernandez Procedimiento para la fabricacion de una tarjeta de visita turistica y/o personal ornamentada con plantas vegetales o cualquier otro material similar.
GB2274620A (en) * 1993-01-29 1994-08-03 Photo Me Int Magnetic card with invisible oxide layer
US5312656A (en) * 1993-02-05 1994-05-17 Mattel, Inc. Toy picnic set having latent image placemat
DE29501488U1 (de) * 1995-01-31 1995-03-30 J. Granderath GmbH, 40217 Düsseldorf Fälschungssicherer Fahrausweis
ES2127657B1 (es) * 1995-04-26 2000-03-01 I D Tec S L Procedimiento de seguridad de optica variable estratificada para documentos, tarjetas de identidad y de credito, cheques, visados y pasaportes.
US6086707A (en) * 1996-02-29 2000-07-11 Raytheon Company Method for making an identification document
ES2137805B1 (es) * 1996-04-12 2000-08-16 I D Tec S L Procedimiento de produccion de un nucleo impreso de seguridad para documentos de identidad y nucleo impreso de seguridad.
EP1033258A1 (de) * 1999-03-03 2000-09-06 Agfa-Gevaert N.V. Sicherheitsdokument bestehend aus einem Laminat
US6510993B1 (en) * 2000-10-30 2003-01-28 Perfect Plastic Printing Corporation Automated edge processing of financial transaction cards
DE10149265A1 (de) * 2001-10-05 2003-04-17 Giesecke & Devrient Gmbh Gegenstand mit Sicherheitsmarkierung
US8158241B2 (en) * 2003-03-04 2012-04-17 Arkema France Article displaying edgewise, angular multi-chromatic characteristics
DE10358784A1 (de) * 2003-12-12 2005-07-14 Giesecke & Devrient Gmbh Datenträger mit mittels Laserstrahl eingeschriebenen Kennzeichnungen und Verfahren zu seiner Herstellung
US20050156318A1 (en) * 2004-01-15 2005-07-21 Douglas Joel S. Security marking and security mark
WO2005098746A2 (en) * 2004-03-26 2005-10-20 Digimarc Corporation Identification document having intrusion resistance
WO2006064067A1 (es) * 2004-12-13 2006-06-22 I.D.Tec, S.L. Estructura de estratificación solidaria para documentos de identidad
US7810718B2 (en) * 2005-05-12 2010-10-12 Cubic Corporation Variable thickness data card body
DE102009054338A1 (de) * 2009-11-24 2011-05-26 Giesecke & Devrient Gmbh Verfahren zur Herstellung eines Folienverbundwerkstoffs und eines Kartenkörpers
US8968854B2 (en) * 2011-05-13 2015-03-03 3Form, Llc Resin panels with large decorative objects and methods of making same
EP2722191B1 (de) * 2012-10-18 2015-05-06 Bundesdruckerei GmbH Identitätskarte mit physikalisch nicht klonbarer Funktion
EP2722192B1 (de) * 2012-10-18 2015-09-16 Bundesdruckerei GmbH Identitätskarte mit einer physikalisch nicht klonbaren Funktion
FR3151683A1 (fr) 2023-07-28 2025-01-31 Idemia France Carte à microcircuit

Family Cites Families (13)

* Cited by examiner, † Cited by third party
Publication number Priority date Publication date Assignee Title
US3068140A (en) * 1958-03-03 1962-12-11 Addressograph Multigraph Method of making plastic identification plates
US3279826A (en) * 1964-05-27 1966-10-18 Virginia Laminating Company Credential
US3461581A (en) * 1967-04-10 1969-08-19 Placard Chicago Corp Plastic card and method of making same
US3457661A (en) * 1967-06-16 1969-07-29 Omni Card Systems Inc Identification card and method of making it
GB1244545A (en) * 1968-12-25 1971-09-02 Omron Tateisi Electronics Co Information card
DE2163943B2 (de) * 1970-12-25 1975-09-25 Canon K.K., Tokio Personenidentifikationskarte
BE792488A (fr) * 1971-12-08 1973-03-30 Dainippon Printing Co Ltd Cartes d'identification et procede de fabrication de ces cartes
AT311702B (de) * 1972-03-16 1973-11-26 Internat Security Systems S A Identifikationskarte
FR2279548B1 (fr) * 1974-07-26 1977-01-07 Cit Alcatel Procede de fabrication d'un materiau filigrane et materiau obtenu par ledit procede
US4092449A (en) * 1974-10-07 1978-05-30 Bernstein Donald J Alteration-sensitive imprinted article
JPS5211995A (en) * 1975-07-18 1977-01-29 Fuji Photo Film Co Ltd Plastic card making process
DE2613131C2 (de) * 1976-03-27 1984-05-17 Karl Dr. 2320 Plön Schröder Folienkennzeichen für Kraftfahrzeuge
US4151667A (en) * 1976-12-30 1979-05-01 Polaroid Corporation Novel I.D. cards

Cited By (8)

* Cited by examiner, † Cited by third party
Publication number Priority date Publication date Assignee Title
EP0013418B1 (de) * 1978-12-30 1983-06-22 Hoechst Aktiengesellschaft Identifikationskarte und Verfahren zu ihrer Herstellung
EP0064782A3 (en) * 1981-05-13 1983-05-25 Fis Organisation Ag Identification card
DE3208204A1 (de) * 1982-03-06 1983-09-15 Fraunhofer-Gesellschaft zur Förderung der angewandten Forschung e.V., 8000 München Druckverfahren zur sicherung von banknoten und dokumenten gegen unbefugtes nachmachen
EP0145473A3 (de) * 1983-12-13 1985-07-24 Computer Identification Systems, Inc. Kennkarte mit graviertem Bild
RU2163197C1 (ru) * 1997-06-03 2001-02-20 Де Ля Рю Интернэшнл Лимитед Изделие с защитой и способ его изготовления
RU2419551C2 (ru) * 2006-04-05 2011-05-27 Гизеке Унд Девриент Гмбх Защитный элемент
US10391807B2 (en) 2007-10-31 2019-08-27 Bundesdruckerei Gmbh Polymer laminate for a security and/or valuable document and method for the production thereof
EP2209653B2 (de) 2007-10-31 2021-03-17 Bundesdruckerei GmbH Polymerschichtverbund für ein sicherheits- und/oder wertdokument und verfahren zu dessen herstellung

Also Published As

Publication number Publication date
ES245438Y (es) 1981-07-16
DE2964726D1 (en) 1983-03-17
ES253248Y (es) 1981-08-16
EP0011684A3 (en) 1980-06-25
ATE2409T1 (de) 1983-03-15
ES253248U (es) 1981-02-16
ES245438U (es) 1981-02-16
JPS5537398A (en) 1980-03-15
CA1130337A (en) 1982-08-24
EP0011684B1 (de) 1983-02-09
US4298217A (en) 1981-11-03
DE2838795A1 (de) 1980-03-20

Similar Documents

Publication Publication Date Title
EP0011684B1 (de) Identifikationskarte
EP0013418B1 (de) Identifikationskarte und Verfahren zu ihrer Herstellung
EP0012375B1 (de) Identifikationskarte
EP1274585B2 (de) Verfahren zur herstellung laserbeschriftbarer datenträger und damit hergestellte datenträger
DE602004000286T2 (de) Identitätskarte und reisedokument
DE1646242A1 (de) Gegen Faelschungen geschuetzter Informationstraeger
DE2853893A1 (de) Verfahren zur herstellung von identifikationskarten
CH647202A5 (de) Ausweiskarte und verfahren zu ihrer herstellung.
EP1983473A1 (de) Datenträger mit Kennzeichnungen
DE2308876C3 (de) Identifikationskarte
DE2221493C3 (de) Informationsspeicherkarte
DE102018207251A1 (de) Verfahren zum Herstellen eines Sicherheitselements mit zwei Sicherheitsmerkmalen und Verwendung des Verfahrens
EP0088941B1 (de) Fälschungssicherer Informationsträger
DE3225485A1 (de) Sicherheitspapier
DE3835998A1 (de) Ausweiskarte und verfahren zum herstellen einer ausweiskarte
DE102019113569A1 (de) Wert- oder sicherheitsdokument sowie verfahren zu dessen herstellung
EP3196044B1 (de) Datenträger mit foliensicherheitselement
DE2852661C2 (de) Fälschungssicheres Kennzeichen
DE102019129491A1 (de) Prüfung eines Sicherheitsdokuments auf Basis von Tröpfchenmorphologien
DE2511368A1 (de) Faelschungsgesicherter informationstraeger, z.b. ausweiskarte
DE60201579T2 (de) Massenherstellungsverfahren für sicherheitsgegenstände und maschine zur durchführung des verfahrens
EP3160755A1 (de) Sicherheitselement und verfahren zu seiner herstellung
DE10129701A1 (de) Identifikationsdokument
DE2160732A1 (de) Ausweiskarte
DE2503832A1 (de) Identitaetsnachweisvorrichtung

Legal Events

Date Code Title Description
PUAI Public reference made under article 153(3) epc to a published international application that has entered the european phase

Free format text: ORIGINAL CODE: 0009012

PUAL Search report despatched

Free format text: ORIGINAL CODE: 0009013

AK Designated contracting states

Designated state(s): AT BE CH DE FR GB IT NL

AK Designated contracting states

Designated state(s): AT BE CH DE FR GB IT NL

17P Request for examination filed

Effective date: 19801212

RBV Designated contracting states (corrected)

Designated state(s): AT BE CH DE FR GB IT NL

ITF It: translation for a ep patent filed
GRAA (expected) grant

Free format text: ORIGINAL CODE: 0009210

AK Designated contracting states

Designated state(s): AT BE CH DE FR GB IT NL

REF Corresponds to:

Ref document number: 2409

Country of ref document: AT

Date of ref document: 19830315

Kind code of ref document: T

REF Corresponds to:

Ref document number: 2964726

Country of ref document: DE

Date of ref document: 19830317

ET Fr: translation filed
PLBI Opposition filed

Free format text: ORIGINAL CODE: 0009260

26 Opposition filed

Opponent name: GAO GESELLSCHAFT FUER AUTOMATION UND ORGANISATION

Effective date: 19831109

PLAB Opposition data, opponent's data or that of the opponent's representative modified

Free format text: ORIGINAL CODE: 0009299OPPO

R26 Opposition filed (corrected)

Opponent name: GAO GESELLSCHAFT FUER AUTOMATION UND ORGANISATION

Effective date: 19831109

PGFP Annual fee paid to national office [announced via postgrant information from national office to epo]

Ref country code: NL

Payment date: 19840718

Year of fee payment: 6

Ref country code: CH

Payment date: 19840718

Year of fee payment: 6

PGFP Annual fee paid to national office [announced via postgrant information from national office to epo]

Ref country code: FR

Payment date: 19840720

Year of fee payment: 6

PGFP Annual fee paid to national office [announced via postgrant information from national office to epo]

Ref country code: AT

Payment date: 19840724

Year of fee payment: 6

PGFP Annual fee paid to national office [announced via postgrant information from national office to epo]

Ref country code: DE

Payment date: 19840912

Year of fee payment: 6

PGFP Annual fee paid to national office [announced via postgrant information from national office to epo]

Ref country code: BE

Payment date: 19840930

Year of fee payment: 6

RDAG Patent revoked

Free format text: ORIGINAL CODE: 0009271

STAA Information on the status of an ep patent application or granted ep patent

Free format text: STATUS: PATENT REVOKED

27W Patent revoked

Effective date: 19850117

REG Reference to a national code

Ref country code: CH

Ref legal event code: PL

NLR2 Nl: decision of opposition
GBPR Gb: patent revoked under art. 102 of the ep convention designating the uk as contracting state
REG Reference to a national code

Ref country code: FR

Ref legal event code: ST

BERE Be: lapsed

Owner name: HOECHST A.G.

Effective date: 19860831