CN113350925A - 一种电力设备除尘器的排尘装置 - Google Patents
一种电力设备除尘器的排尘装置 Download PDFInfo
- Publication number
- CN113350925A CN113350925A CN202110761220.6A CN202110761220A CN113350925A CN 113350925 A CN113350925 A CN 113350925A CN 202110761220 A CN202110761220 A CN 202110761220A CN 113350925 A CN113350925 A CN 113350925A
- Authority
- CN
- China
- Prior art keywords
- steam
- dust
- air
- fixed
- mixing
- Prior art date
- Legal status (The legal status is an assumption and is not a legal conclusion. Google has not performed a legal analysis and makes no representation as to the accuracy of the status listed.)
- Granted
Links
- 239000000428 dust Substances 0.000 title claims abstract description 92
- 238000002156 mixing Methods 0.000 claims abstract description 66
- 238000001816 cooling Methods 0.000 claims abstract description 39
- XLYOFNOQVPJJNP-UHFFFAOYSA-N water Substances O XLYOFNOQVPJJNP-UHFFFAOYSA-N 0.000 claims description 51
- 230000000149 penetrating effect Effects 0.000 claims description 7
- 238000007599 discharging Methods 0.000 claims description 5
- 238000001914 filtration Methods 0.000 claims description 3
- 239000008213 purified water Substances 0.000 claims description 3
- 230000001376 precipitating effect Effects 0.000 claims description 2
- 230000000694 effects Effects 0.000 abstract description 7
- 239000012535 impurity Substances 0.000 abstract description 4
- 238000004887 air purification Methods 0.000 abstract description 2
- 239000007788 liquid Substances 0.000 abstract description 2
- 238000005507 spraying Methods 0.000 description 3
- 238000010586 diagram Methods 0.000 description 2
- 230000009123 feedback regulation Effects 0.000 description 2
- 238000012423 maintenance Methods 0.000 description 2
- 238000000034 method Methods 0.000 description 2
- 238000000746 purification Methods 0.000 description 2
- -1 thermal power plants Substances 0.000 description 2
- 241000208125 Nicotiana Species 0.000 description 1
- 235000002637 Nicotiana tabacum Nutrition 0.000 description 1
- 238000003915 air pollution Methods 0.000 description 1
- 239000010426 asphalt Substances 0.000 description 1
- 230000009286 beneficial effect Effects 0.000 description 1
- 239000004566 building material Substances 0.000 description 1
- 238000005266 casting Methods 0.000 description 1
- 239000004568 cement Substances 0.000 description 1
- 238000004140 cleaning Methods 0.000 description 1
- 230000008602 contraction Effects 0.000 description 1
- 239000000498 cooling water Substances 0.000 description 1
- 238000004090 dissolution Methods 0.000 description 1
- 238000003754 machining Methods 0.000 description 1
- 238000005272 metallurgy Methods 0.000 description 1
- 239000003595 mist Substances 0.000 description 1
- 239000000126 substance Substances 0.000 description 1
Images
Classifications
-
- B—PERFORMING OPERATIONS; TRANSPORTING
- B01—PHYSICAL OR CHEMICAL PROCESSES OR APPARATUS IN GENERAL
- B01D—SEPARATION
- B01D47/00—Separating dispersed particles from gases, air or vapours by liquid as separating agent
- B01D47/05—Separating dispersed particles from gases, air or vapours by liquid as separating agent by condensation of the separating agent
-
- Y—GENERAL TAGGING OF NEW TECHNOLOGICAL DEVELOPMENTS; GENERAL TAGGING OF CROSS-SECTIONAL TECHNOLOGIES SPANNING OVER SEVERAL SECTIONS OF THE IPC; TECHNICAL SUBJECTS COVERED BY FORMER USPC CROSS-REFERENCE ART COLLECTIONS [XRACs] AND DIGESTS
- Y02—TECHNOLOGIES OR APPLICATIONS FOR MITIGATION OR ADAPTATION AGAINST CLIMATE CHANGE
- Y02A—TECHNOLOGIES FOR ADAPTATION TO CLIMATE CHANGE
- Y02A50/00—TECHNOLOGIES FOR ADAPTATION TO CLIMATE CHANGE in human health protection, e.g. against extreme weather
- Y02A50/20—Air quality improvement or preservation, e.g. vehicle emission control or emission reduction by using catalytic converters
- Y02A50/2351—Atmospheric particulate matter [PM], e.g. carbon smoke microparticles, smog, aerosol particles, dust
Landscapes
- Chemical & Material Sciences (AREA)
- Chemical Kinetics & Catalysis (AREA)
- Separation Of Particles Using Liquids (AREA)
Abstract
本发明公开了一种电力设备除尘器的排尘装置,包括支架,其中,所述支架上固定有混合腔,所述混合腔外壁的支架中固定有蒸汽混合组件,所述蒸汽混合组件一端连接进气管,另一端连接固定在支架中的蒸汽发生器,且所述蒸汽混合组件的输出端贯穿到混合腔内;所述混合腔上方为冷却腔,所述冷却腔上方为集气腔,所述冷却腔内平面分布有多根竖直布置的冷却管,所述冷却管贯穿冷却腔的上下面,使集气腔和混合腔导通。与现有技术相比,本发明将待处理空气中的灰尘能够被蒸汽高效捕集并冷凝成液体,空气净化效果好、排尘效率高,节水环保。能够调整蒸汽和待处理空气的混合比例,使得蒸汽能够更好地溶解待处理空气中的灰尘等杂质。
Description
技术领域
本发明涉及一种电力设备技术领域,具体是一种电力设备除尘器的排尘装置。
背景技术
除尘器广泛用于冶金、矿山、水泥、热电厂、建材、铸造、化工、药业、烟草、沥青拌和机、粮食和机械加工等各个领域的除尘作业,除尘器在每工作一定时间之后都需要进行排尘和清理工作,使得除尘器恢复其初始的除尘功能,在现有技术中,通常通过单个排尘阀来排出收集在除尘器的除尘腔中的灰尘。但是,由于除尘器处于连续运转的状态中,因此在除尘器的排尘过程中,排出的带灰尘空气净化不充分容易让灰尘污染环境。
现有技术中,有通过滤网等过滤装置对排除的空气进行净化,能够避免带灰尘的空气污染环境,但是滤网需要经常更换,维护麻烦,成本高,容易堵塞,通过率低。现有技术中还有通过对待处理空气中喷雾以溶解空气中的灰尘的方式进行集尘,能够连续工作免维护,但是喷雾与待处理空气中的灰尘溶解性较差,不能很好地将空气中的灰尘全部溶解,净化效果较差,且持续喷雾需要耗费较多的水。
因此,有必要提供一种电力设备除尘器的排尘装置,以解决上述背景技术中提出的问题。
发明内容
为实现上述目的,本发明提供如下技术方案:一种电力设备除尘器的排尘装置,包括支架,其中,所述支架上固定有混合腔,所述混合腔外壁的支架中固定有蒸汽混合组件,所述蒸汽混合组件一端连接进气管,另一端连接固定在支架中的蒸汽发生器,且所述蒸汽混合组件的输出端贯穿到混合腔内;
所述混合腔上方为冷却腔,所述冷却腔上方为集气腔,所述冷却腔内平面分布有多根竖直布置的冷却管,所述冷却管贯穿冷却腔的上下面,使集气腔和混合腔导通。
进一步的,作为优选,所述集气腔导通连接有导管,所述导管的另一端连接到抽风机的输入端中,所述抽风机的输出端连接有立式的排气管。
进一步的,作为优选,所述混合腔下方贯通连接有漏斗形的收集斗,所述收集斗的出口端连接到水箱中,所述水箱中设有过滤沉淀装置,净化后的水通过循环泵送入蒸汽发生器的输入端。
进一步的,作为优选,所述冷却腔下方的侧面开有进水口,所述冷却腔上方进水口的对角方向开有出水口,所述进水口和出水口间通过水泵连接到外部水源中。
进一步的,作为优选,所述蒸汽混合组件包括上固定盘,所述上固定盘下设有下固定环,所述上固定盘与下固定环间圆周均匀分布有多块竖直布置的导气格栅;
所述上固定盘与下固定环的外围设有两条相向布置蒸汽通道和空气通道,所述蒸汽通道和空气通道为向旋向朝导气格栅开口方向的蜗形通道,且其二者将上固定盘与下固定环的外围二等分地完全密封包围,所述蒸汽通道连接蒸汽发生器,所述空气通道连接进气管。
进一步的,作为优选,每片所述导气格栅的上下端与上固定盘和下固定环可转动地连接,且其上端贯穿上固定盘并固定连接到位于上固定盘上方的转盖中,所述转盖中固定有连杆一,所述连杆一远离转盖的一端铰接有连杆二,从而使得上固定盘上方围绕有一圈转盖、所述连杆一和连杆二。
进一步的,作为优选,所述上固定盘的圆心出固定有凸起的套筒,所述套筒外围可转动地套设有上下相隔的下转环和上转环,且所述下转环和上转环分别位于连杆二的上下方;
对应所述蒸汽通道所在方向的半圈连杆二远离连杆一的一端分别均匀地铰接在上转环的边缘,对应所述空气通道所在方向的另外半圈连杆二远离连杆一的一端分别均匀地铰接在下转环的边缘。
进一步的,作为优选,所述上转环上放固定有上调整销,所述上调整销通过上调整气缸与支架连接,所述上调整气缸的缸体与支架铰接,所述上调整气缸的活塞杆末端与上调整销铰接;
所述上转环中开设有弧形的通槽,所述通槽中设有贯穿其并与下转环固定连接的下调整销,所述下调整销通过下调整气缸与支架连接,所述下调整气缸的缸体与支架铰接,所述下调整气缸的活塞杆末端与下调整销铰接。
进一步的,作为优选,所述上固定盘圆心处设有将其贯穿的转轴,所述转轴与固定盘、套筒可转动的连接,所述转轴在导气格栅围成的环形内的部分固定有锥形的排气叶轮;
所述转轴远离排气叶轮的一端连接到驱动电机的输出轴中,所述驱动电机与支架固定连接。
进一步的,作为优选,所述集气腔内设有灰尘浓度传感器,且所述灰尘浓度传感器能够对蒸汽混合组件内的蒸汽和待处理空气的混合比例进行反馈调节。
与现有技术相比,本发明的有益效果是:
本发明中,当蒸汽混合组件将蒸汽和待除尘空气混合并溶解灰尘形成和混合蒸汽从集气腔通过冷却管进入集气腔时,由于冷却腔内的循环冷水使混合蒸汽的温度骤降,从而将溶解了灰尘的蒸汽冷凝,使得清洁空气进入到集气腔内并由抽风机排出,而混合了灰尘的冷凝水落入收集斗中并流入水箱内,使得待处理空气中的灰尘能够被蒸汽高效捕集并冷凝成液体,空气净化效果好、排尘效率高;
流入水箱内的冷凝水净化后重新通过蒸汽发生器生成蒸汽而能够循环利用,排尘过程中水的用量小,节水环保。
本发明中,通过上调整气缸或下调整气缸的伸缩,能够驱动上转环或下转环旋转,从而使其带动其对应的半圈连杆一、连杆二拉动转盖旋转,从而使蒸汽通道或空气通道内对应的半圈导气格栅旋转,以调整蒸汽通道和空气通道的流量,从而调整蒸汽和待处理空气的混合比例,使得蒸汽能够更好地溶解待处理空气中的灰尘等杂质,确保排尘效果良好;
并且蒸汽和待处理空气的混合比例受到集气腔内的灰尘浓度传感器反馈调节,能够确保排尘的效率高和排出空气的净化效果好。
附图说明
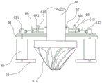
图1为一种电力设备除尘器的排尘装置的结构示意图;
图2为一种电力设备除尘器的排尘装置的蒸汽混合组件结构示意图;
图3为一种电力设备除尘器的排尘装置的蒸汽混合组件剖面结构示意图;
图中:1、支架;2、混合腔;3、冷却腔;31、进水口;32、出水口;4、冷却管;5、集气腔;6、蒸汽混合组件;7、抽风机;8、进气管;9、驱动电机;10、水箱;11、排气管;12、蒸汽发生器;13、循环泵;14、导管;15、收集斗;61、上固定盘;62、下固定环;63、蒸汽通道;64、空气通道;65、导气格栅;66、转轴;67、套筒;68、下转环;681、下调整销;682、下调整气缸;69、上转环;691、上调整销;692、上调整气缸;610、通槽;611、转盖;612、连杆一;613、连杆二;614、排气叶轮。
具体实施方式
请参阅图1,本发明实施例中,一种电力设备除尘器的排尘装置,包括支架1,所述支架1上固定有混合腔2,所述混合腔2外壁的支架1中固定有蒸汽混合组件6,所述蒸汽混合组件6一端连接进气管8,另一端连接固定在支架1中的蒸汽发生器12,且所述蒸汽混合组件6的输出端贯穿到混合腔2内;
所述混合腔2上方为冷却腔3,所述冷却腔3上方为集气腔5,所述冷却腔3内平面分布有多根竖直布置的冷却管4,所述冷却管4贯穿冷却腔3的上下面,使集气腔5和混合腔2导通。
本实施例中,所述集气腔5导通连接有导管14,所述导管14的另一端连接到抽风机7的输入端中,所述抽风机7的输出端连接有立式的排气管11。
本实施例中,所述混合腔2下方贯通连接有漏斗形的收集斗15,所述收集斗15的出口端连接到水箱10中,所述水箱10中设有过滤沉淀装置,净化后的水通过循环泵13送入蒸汽发生器12的输入端。
本实施例中,所述冷却腔3下方的侧面开有进水口31,所述冷却腔3上方进水口31的对角方向开有出水口32,所述进水口31和出水口32间通过水泵连接到外部水源中;
也就是说,当蒸汽混合组件6将蒸汽和待除尘空气混合并溶解灰尘形成和混合蒸汽从集气腔5通过冷却管4进入集气腔5时,由于冷却腔3内的循环冷水使混合蒸汽的温度骤降,从而将溶解了灰尘的蒸汽冷凝,使得清洁空气进入到集气腔5内并由抽风机7排出,而混合了灰尘的冷凝水落入收集斗15中并流入水箱10内,并净化后重新通过蒸汽发生器12生成蒸汽。
请参阅图2,本实施例中,所述蒸汽混合组件6包括上固定盘61,所述上固定盘61下设有下固定环62,所述上固定盘61与下固定环62间圆周均匀分布有多块竖直布置的导气格栅65;
所述上固定盘61与下固定环62的外围设有两条相向布置蒸汽通道63和空气通道64,所述蒸汽通道63和空气通道64为向旋向朝导气格栅65开口方向的蜗形通道,且其二者将上固定盘61与下固定环62的外围二等分地完全密封包围,所述蒸汽通道63连接蒸汽发生器12,所述空气通道64连接进气管8;
也就是说,进入蒸汽通道63和空气通道64内的气体能够通过导气格栅65的引导进入上固定盘61与下固定环62的内部。
请参阅图2和图3,本实施例中,每片所述导气格栅65的上下端与上固定盘61和下固定环62可转动地连接,且其上端贯穿上固定盘61并固定连接到位于上固定盘61上方的转盖611中,所述转盖611中固定有连杆一612,所述连杆一612远离转盖611的一端铰接有连杆二613,从而使得上固定盘61上方围绕有一圈转盖611、所述连杆一612和连杆二613。
本实施例中,所述上固定盘61的圆心出固定有凸起的套筒67,所述套筒67外围可转动地套设有上下相隔的下转环68和上转环69,且所述下转环68和上转环69分别位于连杆二613的上下方;
对应所述蒸汽通道63所在方向的半圈连杆二613远离连杆一612的一端分别均匀地铰接在上转环69的边缘,对应所述空气通道64所在方向的另外半圈连杆二613远离连杆一612的一端分别均匀地铰接在下转环68的边缘。
本实施例中,所述上转环69上放固定有上调整销691,所述上调整销691通过上调整气缸692与支架1连接,所述上调整气缸692的缸体与支架1铰接,所述上调整气缸692的活塞杆末端与上调整销691铰接;
所述上转环69中开设有弧形的通槽610,所述通槽610中设有贯穿其并与下转环68固定连接的下调整销681,所述下调整销681通过下调整气缸682与支架1连接,所述下调整气缸682的缸体与支架1铰接,所述下调整气缸682的活塞杆末端与下调整销681铰接;
也就是说,通过上调整气缸692或下调整气缸682的伸缩,能够驱动上转环69或下转环68旋转,从而使其带动其对应的半圈连杆一612、连杆二613拉动转盖611旋转,从而使蒸汽通道63或空气通道64内对应的半圈导气格栅65旋转,以调整蒸汽通道63和空气通道64的流量,从而调整蒸汽和待处理空气的混合比例,使得蒸汽能够更好地溶解待处理空气中的灰尘等杂质,确保排尘效果良好。
本实施例中,所述上固定盘61圆心处设有将其贯穿的转轴66,所述转轴66与固定盘61、套筒67可转动的连接,所述转轴66在导气格栅65围成的环形内的部分固定有锥形的排气叶轮614;
所述转轴66远离排气叶轮614的一端连接到驱动电机9的输出轴中,所述驱动电机9与支架1固定连接。
本实施例中,所述集气腔5内设有灰尘浓度传感器,且所述灰尘浓度传感器能够对蒸汽混合组件6内的蒸汽和待处理空气的混合比例进行反馈调节。
通过所述排气叶轮614的旋转能够产生涡气流,从而使蒸汽和待处理空气能够更均匀地混合,加快蒸汽溶解待处理空气中的灰尘等杂质。
具体实施时,将电力设备除尘器的排气端接入进气管8中,通过进水口31和出水口32在冷却腔3内通入循环冷却水,蒸汽发生器12加热从水箱10送入的水产生蒸汽;
抽风机7启动抽风,由于集气腔5、混合腔2、收集斗15和水箱10之间形成封闭空间,因此装置内生成从蒸汽混合组件6到混合腔2、集气腔5、导管14到排气管11排出的单向气流通道;
当蒸汽混合组件6将蒸汽和待除尘空气混合并溶解灰尘形成和混合蒸汽从集气腔5通过冷却管4进入集气腔5时,由于冷却腔3内的循环冷水使混合蒸汽的温度骤降,从而将溶解了灰尘的蒸汽冷凝,使得清洁空气进入到集气腔5内并由抽风机7排出,而混合了灰尘的冷凝水落入收集斗15中并流入水箱10内,并净化后重新通过蒸汽发生器12生成蒸汽;
其中,所述蒸汽混合组件6受到灰尘浓度传感器的反馈调节,其反馈为:当灰尘浓度传感器识别到灰尘浓度过高时,调整蒸汽混合组件6减少待处理空气的进入量,增加蒸汽的进入量,以降低混合气体中灰尘的含量,而灰尘浓度传感器识别到灰尘浓度较低时,增加待处理空气的进入量,减少蒸汽的进入量,以提高排尘的效率,其具体的调节方式为:
通过上调整气缸692或下调整气缸682的伸缩,能够驱动上转环69或下转环68旋转,从而使其带动其对应的半圈连杆一612、连杆二613拉动转盖611旋转,从而使蒸汽通道63或空气通道64内对应的半圈导气格栅65旋转,以调整蒸汽通道63和空气通道64的流量,从而调整蒸汽和待处理空气的混合比例。
以上所述的,仅为本发明较佳的具体实施方式,但本发明的保护范围并不局限于此,任何熟悉本技术领域的技术人员在本发明揭露的技术范围内,根据本发明的技术方案及其发明构思加以等同替换或改变,都应涵盖在本发明的保护范围之内。
Claims (10)
1.一种电力设备除尘器的排尘装置,包括支架(1),其特征在于,所述支架(1)上固定有混合腔(2),所述混合腔(2)外壁的支架(1)中固定有蒸汽混合组件(6),所述蒸汽混合组件(6)一端连接进气管(8),另一端连接固定在支架(1)中的蒸汽发生器(12),且所述蒸汽混合组件(6)的输出端贯穿到混合腔(2)内;
所述混合腔(2)上方为冷却腔(3),所述冷却腔(3)上方为集气腔(5),所述冷却腔(3)内平面分布有多根竖直布置的冷却管(4),所述冷却管(4)贯穿冷却腔(3)的上下面,使集气腔(5)和混合腔(2)导通。
2.根据权利要求1所述的一种电力设备除尘器的排尘装置,其特征在于,所述集气腔(5)导通连接有导管(14),所述导管(14)的另一端连接到抽风机(7)的输入端中,所述抽风机(7)的输出端连接有立式的排气管(11)。
3.根据权利要求1所述的一种电力设备除尘器的排尘装置,其特征在于,所述混合腔(2)下方贯通连接有漏斗形的收集斗(15),所述收集斗(15)的出口端连接到水箱(10)中,所述水箱(10)中设有过滤沉淀装置,净化后的水通过循环泵(13)送入蒸汽发生器(12)的输入端。
4.根据权利要求1所述的一种电力设备除尘器的排尘装置,其特征在于,所述冷却腔(3)下方的侧面开有进水口(31),所述冷却腔(3)上方进水口(31)的对角方向开有出水口(32),所述进水口(31)和出水口(32)间通过水泵连接到外部水源中。
5.根据权利要求1所述的一种电力设备除尘器的排尘装置,其特征在于,所述蒸汽混合组件(6)包括上固定盘(61),所述上固定盘(61)下设有下固定环(62),所述上固定盘(61)与下固定环(62)间圆周均匀分布有多块竖直布置的导气格栅(65);
所述上固定盘(61)与下固定环(62)的外围设有两条相向布置蒸汽通道(63)和空气通道(64),所述蒸汽通道(63)和空气通道(64)为向旋向朝导气格栅(65)开口方向的蜗形通道,且其二者将上固定盘(61)与下固定环(62)的外围二等分地完全密封包围,所述蒸汽通道(63)连接蒸汽发生器(12),所述空气通道(64)连接进气管(8)。
6.根据权利要求5所述的一种电力设备除尘器的排尘装置,其特征在于,每片所述导气格栅(65)的上下端与上固定盘(61)和下固定环(62)可转动地连接,且其上端贯穿上固定盘(61)并固定连接到位于上固定盘(61)上方的转盖(611)中,所述转盖(611)中固定有连杆一(612),所述连杆一(612)远离转盖(611)的一端铰接有连杆二(613),从而使得上固定盘(61)上方围绕有一圈转盖(611)、所述连杆一(612)和连杆二(613)。
7.根据权利要求6所述的一种电力设备除尘器的排尘装置,其特征在于,所述上固定盘(61)的圆心出固定有凸起的套筒(67),所述套筒(67)外围可转动地套设有上下相隔的下转环(68)和上转环(69),且所述下转环(68)和上转环(69)分别位于连杆二(613)的上下方;
对应所述蒸汽通道(63)所在方向的半圈连杆二(613)远离连杆一(612)的一端分别均匀地铰接在上转环(69)的边缘,对应所述空气通道(64)所在方向的另外半圈连杆二(613)远离连杆一(612)的一端分别均匀地铰接在下转环(68)的边缘。
8.根据权利要求7所述的一种电力设备除尘器的排尘装置,其特征在于,所述上转环(69)上放固定有上调整销(691),所述上调整销(691)通过上调整气缸(692)与支架(1)连接,所述上调整气缸(692)的缸体与支架(1)铰接,所述上调整气缸(692)的活塞杆末端与上调整销(691)铰接;
所述上转环(69)中开设有弧形的通槽(610),所述通槽(610)中设有贯穿其并与下转环(68)固定连接的下调整销(681),所述下调整销(681)通过下调整气缸(682)与支架(1)连接,所述下调整气缸(682)的缸体与支架(1)铰接,所述下调整气缸(682)的活塞杆末端与下调整销(681)铰接。
9.根据权利要求5所述的一种电力设备除尘器的排尘装置,其特征在于,所述上固定盘(61)圆心处设有将其贯穿的转轴(66),所述转轴(66)与固定盘(61)、套筒(67)可转动的连接,所述转轴(66)在导气格栅(65)围成的环形内的部分固定有锥形的排气叶轮(614);
所述转轴(66)远离排气叶轮(614)的一端连接到驱动电机(9)的输出轴中,所述驱动电机(9)与支架(1)固定连接。
10.根据权利要求1所述的一种电力设备除尘器的排尘装置,其特征在于,所述集气腔(5)内设有灰尘浓度传感器,且所述灰尘浓度传感器能够对蒸汽混合组件(6)内的蒸汽和待处理空气的混合比例进行反馈调节。
Priority Applications (1)
| Application Number | Priority Date | Filing Date | Title |
|---|---|---|---|
| CN202110761220.6A CN113350925B (zh) | 2021-07-06 | 2021-07-06 | 一种电力设备除尘器的排尘装置 |
Applications Claiming Priority (1)
| Application Number | Priority Date | Filing Date | Title |
|---|---|---|---|
| CN202110761220.6A CN113350925B (zh) | 2021-07-06 | 2021-07-06 | 一种电力设备除尘器的排尘装置 |
Publications (2)
| Publication Number | Publication Date |
|---|---|
| CN113350925A true CN113350925A (zh) | 2021-09-07 |
| CN113350925B CN113350925B (zh) | 2022-05-17 |
Family
ID=77538387
Family Applications (1)
| Application Number | Title | Priority Date | Filing Date |
|---|---|---|---|
| CN202110761220.6A Active CN113350925B (zh) | 2021-07-06 | 2021-07-06 | 一种电力设备除尘器的排尘装置 |
Country Status (1)
| Country | Link |
|---|---|
| CN (1) | CN113350925B (zh) |
Cited By (1)
| Publication number | Priority date | Publication date | Assignee | Title |
|---|---|---|---|---|
| CN113877308A (zh) * | 2021-11-16 | 2022-01-04 | 华北电力大学(保定) | 一种负压排风高效过滤装置 |
Citations (6)
| Publication number | Priority date | Publication date | Assignee | Title |
|---|---|---|---|---|
| US5101847A (en) * | 1989-10-31 | 1992-04-07 | Yoshinori Oribe | Method and apparatus for equalizing airflow velocity |
| CN101109295A (zh) * | 2007-08-02 | 2008-01-23 | 寿光市康跃增压器有限公司 | 可变截面涡轮增压器的复合喷嘴 |
| CN201358960Y (zh) * | 2009-01-21 | 2009-12-09 | 长沙埃尔压缩机有限责任公司 | 叶片式扩压器及带该扩压器的高速离心鼓风机 |
| CN105999918A (zh) * | 2016-07-13 | 2016-10-12 | 方龙旺 | 微小灰尘颗粒过滤吸附系统 |
| CN208678740U (zh) * | 2018-08-28 | 2019-04-02 | 山东铂佳轻合金有限公司 | 一种处理熔炼废旧铝材时所产生废气的装置 |
| CN209900926U (zh) * | 2019-05-06 | 2020-01-07 | 湖南有色郴州萤石球团有限公司 | 一种过高水蒸气除尘装置 |
-
2021
- 2021-07-06 CN CN202110761220.6A patent/CN113350925B/zh active Active
Patent Citations (6)
| Publication number | Priority date | Publication date | Assignee | Title |
|---|---|---|---|---|
| US5101847A (en) * | 1989-10-31 | 1992-04-07 | Yoshinori Oribe | Method and apparatus for equalizing airflow velocity |
| CN101109295A (zh) * | 2007-08-02 | 2008-01-23 | 寿光市康跃增压器有限公司 | 可变截面涡轮增压器的复合喷嘴 |
| CN201358960Y (zh) * | 2009-01-21 | 2009-12-09 | 长沙埃尔压缩机有限责任公司 | 叶片式扩压器及带该扩压器的高速离心鼓风机 |
| CN105999918A (zh) * | 2016-07-13 | 2016-10-12 | 方龙旺 | 微小灰尘颗粒过滤吸附系统 |
| CN208678740U (zh) * | 2018-08-28 | 2019-04-02 | 山东铂佳轻合金有限公司 | 一种处理熔炼废旧铝材时所产生废气的装置 |
| CN209900926U (zh) * | 2019-05-06 | 2020-01-07 | 湖南有色郴州萤石球团有限公司 | 一种过高水蒸气除尘装置 |
Cited By (2)
| Publication number | Priority date | Publication date | Assignee | Title |
|---|---|---|---|---|
| CN113877308A (zh) * | 2021-11-16 | 2022-01-04 | 华北电力大学(保定) | 一种负压排风高效过滤装置 |
| CN113877308B (zh) * | 2021-11-16 | 2022-11-11 | 华北电力大学(保定) | 一种负压排风高效过滤装置 |
Also Published As
| Publication number | Publication date |
|---|---|
| CN113350925B (zh) | 2022-05-17 |
Similar Documents
| Publication | Publication Date | Title |
|---|---|---|
| CN113350925B (zh) | 一种电力设备除尘器的排尘装置 | |
| CN208771197U (zh) | 一种定型机尾气处理装置 | |
| CN218130692U (zh) | 真空钎焊炉废气处理装置 | |
| CN222454877U (zh) | 一种高效生石灰消化器 | |
| CN113476962A (zh) | 一种钢铁企业节能减碳整体解决技术与系统装置 | |
| CN219744282U (zh) | 一种车间烟尘收集净化装置 | |
| CN220878182U (zh) | 一种用于废气处理的环保处理设备 | |
| CN109354366B (zh) | 一种采用催化湿式氧化法的淤泥处理设备 | |
| CN118543181A (zh) | 一种采矿工程用除尘装置 | |
| CN219454698U (zh) | 一种煅烧窑余热回收设备 | |
| CN110864564B (zh) | 一种氯酸钾精制工艺的蒸汽冷凝水回收装置 | |
| CN110056924B (zh) | 一种旋风分离式油烟净化装置 | |
| CN214552183U (zh) | 自清洗离心防水雾多级节能水幕除尘装置 | |
| CN211936189U (zh) | 花圃专用有机肥生产用除尘装置 | |
| CN115446091A (zh) | 一种含汞废渣的汞快速回收方法 | |
| CN209848424U (zh) | 冶金炉冷却水收集循环再利用装置 | |
| CN221036840U (zh) | 一种回转窑余热利用装置 | |
| CN113440957A (zh) | 一种冲渣水池除雾装置 | |
| CN222943186U (zh) | 一种炼铜炉烟尘废气处理设备 | |
| CN221207341U (zh) | 一种钴粉原料煅烧粉尘回收装置 | |
| CN218077114U (zh) | 一种无害化处理用尾气处理装置 | |
| CN223571511U (zh) | 一种液压阀套自动清洗机 | |
| CN111888878A (zh) | 一种用于垃圾焚烧的废气处理装置 | |
| CN222746330U (zh) | 一种排尘离心通风机 | |
| CN220125585U (zh) | 一种污水排放过滤器 |
Legal Events
| Date | Code | Title | Description |
|---|---|---|---|
| PB01 | Publication | ||
| PB01 | Publication | ||
| SE01 | Entry into force of request for substantive examination | ||
| SE01 | Entry into force of request for substantive examination | ||
| GR01 | Patent grant | ||
| GR01 | Patent grant | ||
| PE01 | Entry into force of the registration of the contract for pledge of patent right | ||
| PE01 | Entry into force of the registration of the contract for pledge of patent right |
Denomination of invention: A dust removal device for power equipment dust collectors Effective date of registration: 20231107 Granted publication date: 20220517 Pledgee: Agricultural Bank of China Limited Nanjing Qixia Branch Pledgor: JIANGSU GLENS SCIENCES AND TECHNOLOGY CO.,LTD. Registration number: Y2023980064084 |