WO2024014271A1 - 車両用灯具 - Google Patents

車両用灯具 Download PDF

Info

Publication number
WO2024014271A1
WO2024014271A1 PCT/JP2023/023610 JP2023023610W WO2024014271A1 WO 2024014271 A1 WO2024014271 A1 WO 2024014271A1 JP 2023023610 W JP2023023610 W JP 2023023610W WO 2024014271 A1 WO2024014271 A1 WO 2024014271A1
Authority
WO
WIPO (PCT)
Prior art keywords
light
light emitting
vehicle
emitting element
lens
Prior art date
Legal status (The legal status is an assumption and is not a legal conclusion. Google has not performed a legal analysis and makes no representation as to the accuracy of the status listed.)
Ceased
Application number
PCT/JP2023/023610
Other languages
English (en)
French (fr)
Japanese (ja)
Inventor
一輝 本多
将太 西村
Current Assignee (The listed assignees may be inaccurate. Google has not performed a legal analysis and makes no representation or warranty as to the accuracy of the list.)
Stanley Electric Co Ltd
Original Assignee
Stanley Electric Co Ltd
Priority date (The priority date is an assumption and is not a legal conclusion. Google has not performed a legal analysis and makes no representation as to the accuracy of the date listed.)
Filing date
Publication date
Application filed by Stanley Electric Co Ltd filed Critical Stanley Electric Co Ltd
Priority to CN202380044999.7A priority Critical patent/CN119325544A/zh
Publication of WO2024014271A1 publication Critical patent/WO2024014271A1/ja
Anticipated expiration legal-status Critical
Ceased legal-status Critical Current

Links

Images

Classifications

    • FMECHANICAL ENGINEERING; LIGHTING; HEATING; WEAPONS; BLASTING
    • F21LIGHTING
    • F21SNON-PORTABLE LIGHTING DEVICES; SYSTEMS THEREOF; VEHICLE LIGHTING DEVICES SPECIALLY ADAPTED FOR VEHICLE EXTERIORS
    • F21S41/00Illuminating devices specially adapted for vehicle exteriors, e.g. headlamps
    • F21S41/10Illuminating devices specially adapted for vehicle exteriors, e.g. headlamps characterised by the light source
    • F21S41/14Illuminating devices specially adapted for vehicle exteriors, e.g. headlamps characterised by the light source characterised by the type of light source
    • F21S41/141Light emitting diodes [LED]
    • F21S41/143Light emitting diodes [LED] the main emission direction of the LED being parallel to the optical axis of the illuminating device
    • FMECHANICAL ENGINEERING; LIGHTING; HEATING; WEAPONS; BLASTING
    • F21LIGHTING
    • F21SNON-PORTABLE LIGHTING DEVICES; SYSTEMS THEREOF; VEHICLE LIGHTING DEVICES SPECIALLY ADAPTED FOR VEHICLE EXTERIORS
    • F21S41/00Illuminating devices specially adapted for vehicle exteriors, e.g. headlamps
    • F21S41/10Illuminating devices specially adapted for vehicle exteriors, e.g. headlamps characterised by the light source
    • F21S41/14Illuminating devices specially adapted for vehicle exteriors, e.g. headlamps characterised by the light source characterised by the type of light source
    • F21S41/141Light emitting diodes [LED]
    • F21S41/151Light emitting diodes [LED] arranged in one or more lines
    • FMECHANICAL ENGINEERING; LIGHTING; HEATING; WEAPONS; BLASTING
    • F21LIGHTING
    • F21SNON-PORTABLE LIGHTING DEVICES; SYSTEMS THEREOF; VEHICLE LIGHTING DEVICES SPECIALLY ADAPTED FOR VEHICLE EXTERIORS
    • F21S41/00Illuminating devices specially adapted for vehicle exteriors, e.g. headlamps
    • F21S41/20Illuminating devices specially adapted for vehicle exteriors, e.g. headlamps characterised by refractors, transparent cover plates, light guides or filters
    • F21S41/25Projection lenses
    • F21S41/26Elongated lenses
    • FMECHANICAL ENGINEERING; LIGHTING; HEATING; WEAPONS; BLASTING
    • F21LIGHTING
    • F21SNON-PORTABLE LIGHTING DEVICES; SYSTEMS THEREOF; VEHICLE LIGHTING DEVICES SPECIALLY ADAPTED FOR VEHICLE EXTERIORS
    • F21S41/00Illuminating devices specially adapted for vehicle exteriors, e.g. headlamps
    • F21S41/20Illuminating devices specially adapted for vehicle exteriors, e.g. headlamps characterised by refractors, transparent cover plates, light guides or filters
    • F21S41/25Projection lenses
    • F21S41/265Composite lenses; Lenses with a patch-like shape
    • FMECHANICAL ENGINEERING; LIGHTING; HEATING; WEAPONS; BLASTING
    • F21LIGHTING
    • F21VFUNCTIONAL FEATURES OR DETAILS OF LIGHTING DEVICES OR SYSTEMS THEREOF; STRUCTURAL COMBINATIONS OF LIGHTING DEVICES WITH OTHER ARTICLES, NOT OTHERWISE PROVIDED FOR
    • F21V5/00Refractors for light sources
    • F21V5/04Refractors for light sources of lens shape
    • FMECHANICAL ENGINEERING; LIGHTING; HEATING; WEAPONS; BLASTING
    • F21LIGHTING
    • F21WINDEXING SCHEME ASSOCIATED WITH SUBCLASSES F21K, F21L, F21S and F21V, RELATING TO USES OR APPLICATIONS OF LIGHTING DEVICES OR SYSTEMS
    • F21W2102/00Exterior vehicle lighting devices for illuminating purposes
    • F21W2102/10Arrangement or contour of the emitted light
    • F21W2102/13Arrangement or contour of the emitted light for high-beam region or low-beam region
    • F21W2102/135Arrangement or contour of the emitted light for high-beam region or low-beam region the light having cut-off lines, i.e. clear borderlines between emitted regions and dark regions
    • FMECHANICAL ENGINEERING; LIGHTING; HEATING; WEAPONS; BLASTING
    • F21LIGHTING
    • F21YINDEXING SCHEME ASSOCIATED WITH SUBCLASSES F21K, F21L, F21S and F21V, RELATING TO THE FORM OR THE KIND OF THE LIGHT SOURCES OR OF THE COLOUR OF THE LIGHT EMITTED
    • F21Y2115/00Light-generating elements of semiconductor light sources
    • F21Y2115/10Light-emitting diodes [LED]
    • FMECHANICAL ENGINEERING; LIGHTING; HEATING; WEAPONS; BLASTING
    • F21LIGHTING
    • F21YINDEXING SCHEME ASSOCIATED WITH SUBCLASSES F21K, F21L, F21S and F21V, RELATING TO THE FORM OR THE KIND OF THE LIGHT SOURCES OR OF THE COLOUR OF THE LIGHT EMITTED
    • F21Y2115/00Light-generating elements of semiconductor light sources
    • F21Y2115/30Semiconductor lasers

Definitions

  • the present disclosure relates to a vehicle lamp.
  • the vehicle lamp described in Japanese Unexamined Patent Publication No. 2017-047815 includes a first lamp unit for forming a high beam light distribution pattern and a second lamp unit for forming a low beam light distribution pattern. Equipped with The first lamp unit has five light emitting modules and is arranged closer to the center of the vehicle than the second lamp unit. The second lamp unit has three light emitting modules 46, and is arranged closer to the left end of the vehicle than the first lamp unit.
  • One of the objectives of the specific embodiments of the present disclosure is to provide a vehicle lamp that can improve design.
  • a vehicle lamp includes (a) a plurality of light emitting elements, (b) a lens that transmits light emitted from each of the plurality of light emitting elements, and (c) a light that passes through the lens.
  • the plurality of light emitting elements include at least one first light emitting element disposed on the left end side when mounted on a vehicle, and a first light emitting element disposed on the right end side when mounted on the vehicle.
  • the first light emitted from the first light emitting element and transmitted through the lens is directed in the front-rear direction when mounted on the vehicle;
  • the second light passes through the housing so as to spread toward the right as a reference, and
  • the second light that is emitted from the second light emitting element and passes through the lens is based on the front-rear direction when mounted on the vehicle.
  • the vehicular lamp passes through the casing so as to expand to the left.
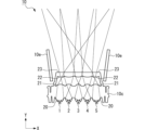
  • FIG. 1 is an exploded perspective view of an optical element of a vehicle lamp according to one embodiment.
  • 2(A) and 2(B) are diagrams showing a simplified cross-sectional structure of a vehicle lamp.
  • FIG. 3(A) and FIG. 3(B) are diagrams each showing the configuration of a vehicle lamp of a comparative example.
  • FIG. 4A is a diagram schematically showing the operating state of the light emitting element when only the low beam is irradiated.
  • FIG. 4B is a diagram schematically showing the operating state of the light emitting element during low beam and high beam irradiation.
  • FIGS. 5A to 5E are diagrams showing light distribution patterns of light emitted from each light emitting element.
  • FIG. 6A is a diagram showing a low beam light distribution pattern.
  • FIG. 6(B) is a diagram showing light distribution patterns of low beam and high beam.
  • FIGS. 7(A) and 7(B) are diagrams for explaining an example of the configuration of a lens for causing light emitted from a light emitting element to be biased and spread in a specific direction.
  • FIG. 8 is a cross-sectional view showing a more detailed example of the lens.
  • FIG. 1 is an exploded perspective view of an optical element of a vehicle lamp according to one embodiment.
  • the vehicle lamp 10 of this embodiment includes a light source board 10a, a heat sink 10b, a lens 10c, and a drive circuit 10d.
  • the light source board 10a includes a plurality of light emitting elements 1 to 5 arranged along the left and right direction (X direction in the figure) when mounted on a vehicle.
  • an LED is considered as an example of each of the light emitting elements 1 to 5, but each of the light emitting elements 1 to 5 may be a laser element.
  • the heat sink 10b is used to dissipate heat from the light source board 10a, and is arranged on the back side of the light source board 10a.
  • the lens 10c is arranged on the front side of the substrate 10a, and forms a light distribution pattern by transmitting the light emitted from each of the light emitting elements 1 to 5.
  • the drive circuit 10d is connected to the light source board 10a and drives each of the light emitting elements 1 to 5.
  • the light emitting elements 2 and 4 are used to form a high beam, and the light emitting elements 1, 3, and 5 are used to form a low beam.
  • the light emitting elements 1 and 5 are arranged at the left end and right end, respectively.
  • the light emitting element 3 is arranged between the light emitting element 1 and the light emitting element 5.
  • the light emitting element 2 is arranged between the light emitting element 1 and the light emitting element 3.
  • the light emitting element 4 is arranged between the light emitting element 3 and the light emitting element 5.
  • FIG. 2(A) and FIG. 2(B) are diagrams showing a simplified cross-sectional structure of a vehicle lamp.
  • the light emitted from each of the light emitting elements 1 to 5 of the vehicle lamp 10 is focused by the lens 10c and irradiated to the front of the vehicle.
  • a housing (extension) 10e is provided in front of the lens 10c to narrow the emitted light from each of the light emitting elements 1 to 5 to a certain range and allow it to pass through.
  • the light exit surface of the lens 10c is arranged on the lower side of the housing 10e in the figure, closer to the second opening. As shown in the figure, this second opening has a smaller diameter than the first opening of the housing 10e on the upper side in the figure.
  • each light emitting element 2 to 4 is arranged between the light emitting elements 1 and 5 on the left end side and the right end side in the left-right direction (X direction in the figure) when mounted on a vehicle.
  • the light emitted from the lens 10c is focused by the lens 10c, spreads almost symmetrically with respect to the front-rear direction (Y direction in the figure) when mounted on the vehicle, and is irradiated to the front of the vehicle.
  • the light from the light emitting elements 1 and 5 spreads asymmetrically with respect to the Y direction and is emitted from the lens 10c. Emits light.
  • the component 11a that travels to the right with respect to the Y direction is greater than the component 11b that travels to the left.
  • This light 11 is directed away from the inner wall of the casing 10e on the side closer to itself, and in a direction opposite to its own position (left side in the illustrated example) among the light emitting elements 1 to 5 (in the illustrated example).
  • the light is emitted from the lens 10c so as to spread toward the right side.
  • the component 15a that travels to the left with respect to the Y direction is greater than the component 15b that travels to the right.
  • This light 15 is directed away from the inner wall of the casing 10e on the side closer to itself, and in a direction opposite to its own position (right side in the illustrated example) among the light emitting elements 1 to 5 (in the illustrated example).
  • the light is emitted from the lens 10c so as to spread toward the left side.
  • These light emitting elements 1 and 5 are used to form a low beam, and because it is necessary to emit light at a wider angle, the light spreading angle is set to be larger than that of the other light emitting elements 2 to 4. There is. Nevertheless, the opening diameter L of the housing 10e can be narrowed by biasing the direction of expansion.
  • FIG. 3(A) and FIG. 3(B) are diagrams showing the configuration of a vehicle lamp of a comparative example, respectively.
  • vehicle lamps 100a and 100b as comparative examples include light emitting elements 101, 102, 103, 104, and 105, a lens 110c, and a housing 110e, respectively.
  • the light emitting elements 101 to 103 arranged on the left side in the figure are used for low beam formation
  • the light emitting elements 104 arranged on the right side in the figure , 105 are used for high beam formation.
  • the light spreading angle of the light emitting elements 101 to 103 is set to be larger than that of the light emitting elements 104 and 105.
  • the opening diameter L1 of the casing 110e is different from that of the above-described embodiment in order to prevent the light emitted from each of the light emitting elements 101 to 103 from being blocked by the casing 110e. It is larger than the vehicle lamp 10. This makes the presence of the vehicle lamp 100a more noticeable, which is undesirable from the standpoint of external design.
  • the lens 110c is placed close to the upper opening in the figure of the housing 110e, although the opening diameter L2 of the housing 110e can be made smaller, the presence of the lens 110c, each light emitting element 101, etc. will become more noticeable, and the appearance will still be affected. Undesirable from a design perspective.
  • FIG. 4(A) is a diagram schematically showing the operating state of the light emitting element when only the low beam is irradiated.
  • a low beam is formed by the light emitted from each light emitting element 1, 3, and 5 of the light emitting elements 1 to 5 passing through the lens 10c.
  • Each of the light emitting elements 1 and 5 is turned on by applying a drive voltage from the drive circuit 10d.
  • FIG. 4(B) is a diagram schematically showing the operating state of the light emitting element during low beam and high beam irradiation.
  • the vehicle lamp 10 of this embodiment as shown in the figure, light emitted from each of the light emitting elements 1 to 5 passes through the lens 10c to form a low beam, and each light emitting element A high beam is formed by the light emitted from the lenses 2 and 4 passing through the lens 10c.
  • Each of the light emitting elements 1 to 5 is turned on by applying a driving voltage from the driving circuit 10d.
  • FIGS. 5A to 5E are diagrams showing light distribution patterns of light emitted from each light emitting element.
  • FIG. 5(A) shows a light distribution pattern obtained by passing the light emitted from the light emitting element 5 through the lens 10c.
  • this light distribution pattern is a light distribution pattern in which the light is emitted broadly from the center (0°) in front of the vehicle to the left side (L side) mainly below the horizon.
  • FIG. 5(B) shows a light distribution pattern obtained by passing the light emitted from the light emitting element 2 through the lens 10c.
  • this light distribution pattern is mainly irradiated from around 5 degrees below the horizon (D side) to around 5 degrees above (U side), and from the center (0 degrees) in front of the vehicle to the left and right sides.
  • This is a light distribution pattern with a relatively narrow irradiation range that irradiates an area around 10 degrees.
  • FIG. 5(C) shows a light distribution pattern obtained by passing the light emitted from the light emitting element 3 through the lens 10c.
  • this light distribution pattern is mainly irradiated from around 7 degrees below the horizon (D side) to around 4 degrees above (U side), and below the horizon it is irradiated from the center (0 degrees) in front of the vehicle. ), the light is illuminated in a range of about 15 degrees on each side, and above the horizon, it is illuminated on a range of about 6 degrees on each side from the center in front of the vehicle.
  • This light distribution pattern brightly illuminates a spot around 10 meters from the vehicle at the front center of the vehicle.
  • FIG. 5(D) shows a light distribution pattern obtained by passing the light emitted from the light emitting element 4 through the lens 10c.
  • this light distribution pattern is such that the light is emitted mainly from around 5° below the horizontal line (on the D side) to around 5° above (on the U side), and
  • FIG. 5(E) shows a light distribution pattern obtained by passing the light emitted from the light emitting element 1 through the lens 10c.
  • this light distribution pattern is a light distribution pattern in which the light is emitted broadly from the center (0°) in front of the vehicle to the right side (R side) mainly below the horizon.
  • FIG. 6(A) is a diagram showing a low beam light distribution pattern. This light distribution pattern is obtained by combining the light distribution patterns shown in FIGS. 5(A), 5(C), and 5(E) described above. As shown in the figure, the light distribution pattern mainly illuminates the area below the horizon, that is, the light distribution pattern mainly illuminates a position relatively close to the vehicle.
  • FIG. 6(B) is a diagram showing the light distribution pattern of low beam and high beam.
  • This light distribution pattern (first light distribution pattern) is created by combining the light distribution patterns shown in FIG. 5(A), FIG. 5(B), FIG. 5(D), and FIG. 5(E) described above. can get.
  • the illustrated light distribution pattern is a combination of a low beam light distribution pattern that mainly illuminates the area below the horizon and a high beam light distribution pattern that illuminates the far center of the front of the vehicle. That is, the light distribution pattern is such that light is irradiated to both a position relatively close to the vehicle and a position relatively far from the vehicle.
  • FIGS. 7(A) and 7(B) are diagrams for explaining an example of the configuration of a lens for making light emitted from a light emitting element biased and spread in a specific direction.
  • P indicates a light output point of the light emitting element 1 (or light emitting element 5)
  • 21 to 23 indicate refractive index boundary surfaces.
  • the space between the refractive index boundary surface 20 and the refractive index boundary surface 21 and between the refractive index boundary surface 22 and the refractive index boundary surface 23 are filled with the constituent material of the lens 10c, and refractive It is assumed that there is a gap between the index boundary surface 21 and the refractive index boundary surface 22, and air is present therein.
  • the refractive index boundary surface 23 is also the light exit surface of the lens 10c.
  • the curvature is partially set to be relatively strong (large) at a portion 22a on the left side in the figure of the refractive index boundary surface 22.
  • the light component incident on the portion 22a of the refractive index boundary surface 22 is refracted more strongly, and further refracted at the refractive index boundary surface 23.
  • the vehicle moves toward the right in the figure.
  • the lens 10c having such a configuration the light emitted from each of the light emitting elements 1 and 5 can be caused to travel so as to be biased and spread in a specific direction. Note that by reversing each of the refractive index boundary surfaces 20 to 23 in the X direction in the figure, it is possible to reverse the direction in which the light is polarized.
  • the curvature is partially set to be relatively weak (small) at a portion 22b on the right side in the figure of the refractive index boundary surface 22.
  • the light component incident on the portion 22b of the refractive index boundary surface 22 is refracted weaker, and further refracted at the refractive index boundary surface 23.
  • the vehicle moves toward the right in the figure.
  • the lens 10c having such a configuration can also cause the light emitted from each of the light emitting elements 1 and 5 to travel so as to be biased and spread in a specific direction. Note that by reversing each of the refractive index boundary surfaces 20 to 23 in the X direction in the figure, it is possible to reverse the direction in which the light is polarized.
  • FIG. 8 is a cross-sectional view showing a more detailed example of the lens.
  • the lens 10c of the example is shown assembled in a housing 10e. Note that hatching is omitted to make it easier to understand the light rays shown by thin lines.
  • the lens 10c of the embodiment having the refractive index interface described above with reference to FIG. 7(B) is shown.
  • the above-described refractive index boundary surfaces 20 to 23 are used as refractive index boundary surfaces for light emitted from each light emitting element 1 and 5. Note that although not shown, the refractive index boundary surface described using FIG. 7(A) may be employed.
  • a vehicle lamp is configured in which a light emitting element responsible for high beam formation and a light emitting element responsible for low beam formation are mixed, but a vehicle lamp may be configured separately for high beam formation and low beam formation.
  • the vehicular lamp can be configured such that all of the light emitting elements 1 to 5 in the above-described embodiments are responsible for high beam formation.
  • a vehicular lamp can be configured such that all of the light emitting elements 1 to 5 in the above-described embodiments are responsible for forming a low beam.
  • each of the light emitting elements 1, 3, and 5 was responsible for forming a low beam, and each of the light emitting elements 2, 4 was responsible for forming a high beam, but these roles may be interchanged. Furthermore, each of the light emitting elements 1 to 5 may be responsible for forming light other than low beam or high beam (eg, fog lamp, tail lamp, etc.). Furthermore, the number of light emitting elements is not limited to five as shown in the embodiment.
  • each light emitting element 1, 5 corresponding to the left and right direction when mounted on a vehicle can be made to travel so as to be biased and spread in a specific direction, without increasing the opening diameter of the housing 10e. , the design quality can be improved.
  • the light emitted from two or more light emitting elements from both the left and right ends is biased in a specific direction, instead of one light emitting element at each end of the left and right ends when mounted on a vehicle. It may also be emitted.
  • the present disclosure has the features described below.
  • multiple light emitting elements a lens that transmits light emitted from each of the plurality of light emitting elements; a housing that allows the light transmitted through the lens to pass; including;
  • the plurality of light emitting elements include at least one first light emitting element disposed on the left end side when mounted on the vehicle, and at least one second light emitting element disposed on the right end side when mounted on the vehicle; has The first light emitted from the first light emitting element and transmitted through the lens passes through the housing so as to spread to the right with respect to the front-rear direction when mounted on the vehicle, The second light emitted from the second light emitting element and transmitted through the lens passes through the casing so as to spread to the left with respect to the front-rear direction when mounted on the vehicle.
  • the first light has a component traveling in the right direction more than a component traveling in the left direction with respect to the front-rear direction when mounted on the vehicle
  • the second light has a component traveling in the left direction more than a component traveling in the right direction with respect to the front-rear direction when mounted on the vehicle.
  • the vehicle lamp described in Appendix 1. (Additional note 3)
  • the casing has a first opening and a second opening having a smaller diameter than the first opening,
  • the lens has a light exit surface disposed on a side closer to the second opening of the housing, and emits the first light and the second light from the light exit surface toward the first opening.
  • the plurality of light emitting elements include one or more third light emitting elements arranged between the first light emitting element and the second light emitting element, The third light emitted from the third light emitting element and transmitted through the lens passes through the casing so as to spread approximately symmetrically with respect to the front-rear direction when mounted on the vehicle.
  • a vehicle lamp described in any one of Supplementary Notes 1 to 3. (Appendix 5) The first light and the second light are emitted at a wider angle than the third light, The vehicle lamp described in Appendix 4.

Landscapes

  • Engineering & Computer Science (AREA)
  • General Engineering & Computer Science (AREA)
  • Physics & Mathematics (AREA)
  • Microelectronics & Electronic Packaging (AREA)
  • Optics & Photonics (AREA)
  • Non-Portable Lighting Devices Or Systems Thereof (AREA)
PCT/JP2023/023610 2022-07-13 2023-06-26 車両用灯具 Ceased WO2024014271A1 (ja)

Priority Applications (1)

Application Number Priority Date Filing Date Title
CN202380044999.7A CN119325544A (zh) 2022-07-13 2023-06-26 车辆用灯具

Applications Claiming Priority (2)

Application Number Priority Date Filing Date Title
JP2022-112525 2022-07-13
JP2022112525A JP2024010924A (ja) 2022-07-13 2022-07-13 車両用灯具

Publications (1)

Publication Number Publication Date
WO2024014271A1 true WO2024014271A1 (ja) 2024-01-18

Family

ID=89536445

Family Applications (1)

Application Number Title Priority Date Filing Date
PCT/JP2023/023610 Ceased WO2024014271A1 (ja) 2022-07-13 2023-06-26 車両用灯具

Country Status (3)

Country Link
JP (1) JP2024010924A (enExample)
CN (1) CN119325544A (enExample)
WO (1) WO2024014271A1 (enExample)

Citations (9)

* Cited by examiner, † Cited by third party
Publication number Priority date Publication date Assignee Title
JP2013522841A (ja) * 2010-03-19 2013-06-13 コーニンクレッカ フィリップス エレクトロニクス エヌ ヴィ 乗物のための照明組立体
KR101307976B1 (ko) * 2012-03-07 2013-09-12 주식회사 에스엘 서봉 다중 led 모듈 및 이를 포함하는 차량용 led 헤드램프
JP2017174736A (ja) * 2016-03-25 2017-09-28 株式会社小糸製作所 車両用灯具、および当該車両用灯具を備えた車両
FR3056700A1 (fr) * 2016-09-29 2018-03-30 Valeo Vision Module d'eclairage optique, notamment pour un vehicule automobile
EP3354545A1 (en) * 2017-01-25 2018-08-01 Yamaha Hatsudoki Kabushiki Kaisha Light module for vehicle headlight
JP2019096409A (ja) * 2017-11-20 2019-06-20 スタンレー電気株式会社 自動車用フォグランプ
WO2019177050A1 (ja) * 2018-03-15 2019-09-19 株式会社小糸製作所 車両用前照灯
JP2019212469A (ja) * 2018-06-04 2019-12-12 スタンレー電気株式会社 フォグランプユニット
JP2021118052A (ja) * 2020-01-23 2021-08-10 スタンレー電気株式会社 照明装置、車両用灯具

Patent Citations (9)

* Cited by examiner, † Cited by third party
Publication number Priority date Publication date Assignee Title
JP2013522841A (ja) * 2010-03-19 2013-06-13 コーニンクレッカ フィリップス エレクトロニクス エヌ ヴィ 乗物のための照明組立体
KR101307976B1 (ko) * 2012-03-07 2013-09-12 주식회사 에스엘 서봉 다중 led 모듈 및 이를 포함하는 차량용 led 헤드램프
JP2017174736A (ja) * 2016-03-25 2017-09-28 株式会社小糸製作所 車両用灯具、および当該車両用灯具を備えた車両
FR3056700A1 (fr) * 2016-09-29 2018-03-30 Valeo Vision Module d'eclairage optique, notamment pour un vehicule automobile
EP3354545A1 (en) * 2017-01-25 2018-08-01 Yamaha Hatsudoki Kabushiki Kaisha Light module for vehicle headlight
JP2019096409A (ja) * 2017-11-20 2019-06-20 スタンレー電気株式会社 自動車用フォグランプ
WO2019177050A1 (ja) * 2018-03-15 2019-09-19 株式会社小糸製作所 車両用前照灯
JP2019212469A (ja) * 2018-06-04 2019-12-12 スタンレー電気株式会社 フォグランプユニット
JP2021118052A (ja) * 2020-01-23 2021-08-10 スタンレー電気株式会社 照明装置、車両用灯具

Also Published As

Publication number Publication date
CN119325544A (zh) 2025-01-17
JP2024010924A (ja) 2024-01-25

Similar Documents

Publication Publication Date Title
JP5652996B2 (ja) 車両用灯具
JP5664900B2 (ja) 車両用光学ユニット
JP5146214B2 (ja) 車両用灯具
JP6548972B2 (ja) 車両用コンビネーションランプ
WO2017164328A1 (ja) 車両用灯具、車両用灯具制御システムおよびこれらを備えた車両
JP5374140B2 (ja) 車輌用灯具
JP4895831B2 (ja) 車両用灯具
KR102109910B1 (ko) 차량용 전조등
JP6980377B2 (ja) 車両用前照灯
JP7364409B2 (ja) 車両用ランプ
CN112219062B (zh) 用于机动车辆的照明模块,以及设有这种模块的照明和/或发信号装置
JP6741438B2 (ja) 車両用灯具
JP2017147153A (ja) 車両用灯具
WO2013111722A1 (ja) 灯具ユニット
KR102585750B1 (ko) 차량용 조명 장치
JP2017147154A (ja) 車両用灯具
KR102475703B1 (ko) 차량용 램프
JP6937121B2 (ja) 灯具
JP2022020173A (ja) 車両用灯具
JP6142464B2 (ja) 車両用灯具
WO2024014271A1 (ja) 車両用灯具
JP4809635B2 (ja) 車両用前照灯
WO2022065162A1 (ja) 車両用灯具
JP6697113B2 (ja) 車両用コンビネーションランプ
JP4721444B2 (ja) 車両用灯具

Legal Events

Date Code Title Description
121 Ep: the epo has been informed by wipo that ep was designated in this application

Ref document number: 23839445

Country of ref document: EP

Kind code of ref document: A1

WWE Wipo information: entry into national phase

Ref document number: 202380044999.7

Country of ref document: CN

WWE Wipo information: entry into national phase

Ref document number: 18993928

Country of ref document: US

WWP Wipo information: published in national office

Ref document number: 202380044999.7

Country of ref document: CN

NENP Non-entry into the national phase

Ref country code: DE

122 Ep: pct application non-entry in european phase

Ref document number: 23839445

Country of ref document: EP

Kind code of ref document: A1