WO2023218947A1 - 信号伝送デバイス - Google Patents

信号伝送デバイス Download PDF

Info

Publication number
WO2023218947A1
WO2023218947A1 PCT/JP2023/016316 JP2023016316W WO2023218947A1 WO 2023218947 A1 WO2023218947 A1 WO 2023218947A1 JP 2023016316 W JP2023016316 W JP 2023016316W WO 2023218947 A1 WO2023218947 A1 WO 2023218947A1
Authority
WO
WIPO (PCT)
Prior art keywords
insulating film
upper electrode
transmission device
signal transmission
electrode
Prior art date
Legal status (The legal status is an assumption and is not a legal conclusion. Google has not performed a legal analysis and makes no representation as to the accuracy of the status listed.)
Ceased
Application number
PCT/JP2023/016316
Other languages
English (en)
French (fr)
Japanese (ja)
Inventor
修治 淺野
公一 八▲高▼
Current Assignee (The listed assignees may be inaccurate. Google has not performed a legal analysis and makes no representation or warranty as to the accuracy of the list.)
Denso Corp
Original Assignee
Denso Corp
Priority date (The priority date is an assumption and is not a legal conclusion. Google has not performed a legal analysis and makes no representation as to the accuracy of the date listed.)
Filing date
Publication date
Application filed by Denso Corp filed Critical Denso Corp
Publication of WO2023218947A1 publication Critical patent/WO2023218947A1/ja
Priority to US18/939,129 priority Critical patent/US20250062256A1/en
Anticipated expiration legal-status Critical
Ceased legal-status Critical Current

Links

Images

Classifications

    • HELECTRICITY
    • H01ELECTRIC ELEMENTS
    • H01LSEMICONDUCTOR DEVICES NOT COVERED BY CLASS H10
    • H01L23/00Details of semiconductor or other solid state devices
    • H01L23/28Encapsulations, e.g. encapsulating layers, coatings, e.g. for protection
    • H01L23/31Encapsulations, e.g. encapsulating layers, coatings, e.g. for protection characterised by the arrangement or shape
    • H01L23/3157Partial encapsulation or coating
    • H01L23/3192Multilayer coating
    • HELECTRICITY
    • H01ELECTRIC ELEMENTS
    • H01LSEMICONDUCTOR DEVICES NOT COVERED BY CLASS H10
    • H01L23/00Details of semiconductor or other solid state devices
    • H01L23/52Arrangements for conducting electric current within the device in operation from one component to another, i.e. interconnections, e.g. wires, lead frames
    • H01L23/522Arrangements for conducting electric current within the device in operation from one component to another, i.e. interconnections, e.g. wires, lead frames including external interconnections consisting of a multilayer structure of conductive and insulating layers inseparably formed on the semiconductor body
    • H01L23/5222Capacitive arrangements or effects of, or between wiring layers
    • H01L23/5223Capacitor integral with wiring layers
    • HELECTRICITY
    • H01ELECTRIC ELEMENTS
    • H01LSEMICONDUCTOR DEVICES NOT COVERED BY CLASS H10
    • H01L23/00Details of semiconductor or other solid state devices
    • H01L23/52Arrangements for conducting electric current within the device in operation from one component to another, i.e. interconnections, e.g. wires, lead frames
    • H01L23/522Arrangements for conducting electric current within the device in operation from one component to another, i.e. interconnections, e.g. wires, lead frames including external interconnections consisting of a multilayer structure of conductive and insulating layers inseparably formed on the semiconductor body
    • H01L23/5222Capacitive arrangements or effects of, or between wiring layers
    • H01L23/5225Shielding layers formed together with wiring layers
    • HELECTRICITY
    • H01ELECTRIC ELEMENTS
    • H01LSEMICONDUCTOR DEVICES NOT COVERED BY CLASS H10
    • H01L24/00Arrangements for connecting or disconnecting semiconductor or solid-state bodies; Methods or apparatus related thereto
    • H01L24/01Means for bonding being attached to, or being formed on, the surface to be connected, e.g. chip-to-package, die-attach, "first-level" interconnects; Manufacturing methods related thereto
    • H01L24/02Bonding areas ; Manufacturing methods related thereto
    • H01L24/04Structure, shape, material or disposition of the bonding areas prior to the connecting process
    • H01L24/05Structure, shape, material or disposition of the bonding areas prior to the connecting process of an individual bonding area
    • HELECTRICITY
    • H10SEMICONDUCTOR DEVICES; ELECTRIC SOLID-STATE DEVICES NOT OTHERWISE PROVIDED FOR
    • H10DINORGANIC ELECTRIC SEMICONDUCTOR DEVICES
    • H10D1/00Resistors, capacitors or inductors
    • H10D1/60Capacitors
    • H10D1/68Capacitors having no potential barriers
    • HELECTRICITY
    • H10SEMICONDUCTOR DEVICES; ELECTRIC SOLID-STATE DEVICES NOT OTHERWISE PROVIDED FOR
    • H10DINORGANIC ELECTRIC SEMICONDUCTOR DEVICES
    • H10D1/00Resistors, capacitors or inductors
    • H10D1/60Capacitors
    • H10D1/68Capacitors having no potential barriers
    • H10D1/692Electrodes
    • HELECTRICITY
    • H10SEMICONDUCTOR DEVICES; ELECTRIC SOLID-STATE DEVICES NOT OTHERWISE PROVIDED FOR
    • H10DINORGANIC ELECTRIC SEMICONDUCTOR DEVICES
    • H10D1/00Resistors, capacitors or inductors
    • H10D1/60Capacitors
    • H10D1/68Capacitors having no potential barriers
    • H10D1/692Electrodes
    • H10D1/711Electrodes having non-planar surfaces, e.g. formed by texturisation
    • H10D1/716Electrodes having non-planar surfaces, e.g. formed by texturisation having vertical extensions
    • HELECTRICITY
    • H10SEMICONDUCTOR DEVICES; ELECTRIC SOLID-STATE DEVICES NOT OTHERWISE PROVIDED FOR
    • H10DINORGANIC ELECTRIC SEMICONDUCTOR DEVICES
    • H10D84/00Integrated devices formed in or on semiconductor substrates that comprise only semiconducting layers, e.g. on Si wafers or on GaAs-on-Si wafers
    • HELECTRICITY
    • H10SEMICONDUCTOR DEVICES; ELECTRIC SOLID-STATE DEVICES NOT OTHERWISE PROVIDED FOR
    • H10DINORGANIC ELECTRIC SEMICONDUCTOR DEVICES
    • H10D84/00Integrated devices formed in or on semiconductor substrates that comprise only semiconducting layers, e.g. on Si wafers or on GaAs-on-Si wafers
    • H10D84/01Manufacture or treatment
    • H10D84/02Manufacture or treatment characterised by using material-based technologies
    • H10D84/03Manufacture or treatment characterised by using material-based technologies using Group IV technology, e.g. silicon technology or silicon-carbide [SiC] technology
    • H10D84/038Manufacture or treatment characterised by using material-based technologies using Group IV technology, e.g. silicon technology or silicon-carbide [SiC] technology using silicon technology, e.g. SiGe
    • HELECTRICITY
    • H01ELECTRIC ELEMENTS
    • H01LSEMICONDUCTOR DEVICES NOT COVERED BY CLASS H10
    • H01L2224/00Indexing scheme for arrangements for connecting or disconnecting semiconductor or solid-state bodies and methods related thereto as covered by H01L24/00
    • H01L2224/01Means for bonding being attached to, or being formed on, the surface to be connected, e.g. chip-to-package, die-attach, "first-level" interconnects; Manufacturing methods related thereto
    • H01L2224/02Bonding areas; Manufacturing methods related thereto
    • H01L2224/0212Auxiliary members for bonding areas, e.g. spacers
    • H01L2224/02122Auxiliary members for bonding areas, e.g. spacers being formed on the semiconductor or solid-state body
    • H01L2224/02163Auxiliary members for bonding areas, e.g. spacers being formed on the semiconductor or solid-state body on the bonding area
    • H01L2224/0219Material of the auxiliary member
    • HELECTRICITY
    • H01ELECTRIC ELEMENTS
    • H01LSEMICONDUCTOR DEVICES NOT COVERED BY CLASS H10
    • H01L2224/00Indexing scheme for arrangements for connecting or disconnecting semiconductor or solid-state bodies and methods related thereto as covered by H01L24/00
    • H01L2224/01Means for bonding being attached to, or being formed on, the surface to be connected, e.g. chip-to-package, die-attach, "first-level" interconnects; Manufacturing methods related thereto
    • H01L2224/02Bonding areas; Manufacturing methods related thereto
    • H01L2224/04Structure, shape, material or disposition of the bonding areas prior to the connecting process
    • H01L2224/05Structure, shape, material or disposition of the bonding areas prior to the connecting process of an individual bonding area
    • H01L2224/0554External layer
    • H01L2224/0555Shape
    • H01L2224/05551Shape comprising apertures or cavities
    • HELECTRICITY
    • H01ELECTRIC ELEMENTS
    • H01LSEMICONDUCTOR DEVICES NOT COVERED BY CLASS H10
    • H01L2224/00Indexing scheme for arrangements for connecting or disconnecting semiconductor or solid-state bodies and methods related thereto as covered by H01L24/00
    • H01L2224/01Means for bonding being attached to, or being formed on, the surface to be connected, e.g. chip-to-package, die-attach, "first-level" interconnects; Manufacturing methods related thereto
    • H01L2224/02Bonding areas; Manufacturing methods related thereto
    • H01L2224/04Structure, shape, material or disposition of the bonding areas prior to the connecting process
    • H01L2224/05Structure, shape, material or disposition of the bonding areas prior to the connecting process of an individual bonding area
    • H01L2224/0554External layer
    • H01L2224/0556Disposition
    • H01L2224/05567Disposition the external layer being at least partially embedded in the surface

Definitions

  • the present disclosure relates to a signal transmission device having a capacitor coupler.
  • the device described in Patent Document 1 As a signal transmission device having a capacitor coupler that transmits a signal between a high-voltage circuit and a low-voltage circuit while electrically insulating and separating them, the device described in Patent Document 1 is known, for example. There is.
  • the signal transmission device described in Patent Document 1 includes a capacitor coupler configured with a lower electrode on the low voltage side and an upper electrode on the high voltage side with an insulating film interposed therebetween.
  • This signal transmission device has a shield section in which conductive vias and conductive interconnect structures are alternately stacked in multiple stages, which is formed between a capacitor coupler and peripheral elements provided around the capacitor coupler. The structure suppresses the addition of
  • a high electric field of 1 kVrms is applied between the upper electrode and the lower electrode.
  • a high electric field is also applied around the capacitor coupler.
  • the outer peripheral portion of the upper electrode located outside the portion to which the wire is connected is covered with an insulating film that is thicker than the thickness of the upper electrode, and the height around the upper electrode is This is a structure in which the electric field portion is buried in the insulating film.
  • a structure in which the outer peripheral end of the upper electrode is covered with a thick insulating film made of silicon nitride or the like can be achieved by, for example, laminating insulating films, flattening by CMP, or insulating by etching. It is formed in the step of forming the opening in the membrane.
  • CMP is an abbreviation for Chemical-Mechanical Polishing.
  • this structure requires time to increase the thickness of the insulating film and the etching process, which contributes to an increase in the manufacturing cost of the signal transmission device.
  • the present inventors developed an insulating film that covers the upper electrode using an insulating organic material that can be formed by coating polyimide or the like.
  • insulating organic material that can be formed by coating polyimide or the like.
  • the present disclosure provides a capacitor coupler having a structure that reduces manufacturing costs and can suppress dielectric breakdown in an insulating film surrounding an upper electrode when a high electric field is applied between an upper electrode and a lower electrode.
  • the present invention relates to a signal transmission device having:
  • a signal transmission device is a signal transmission device having a capacitor coupler, and includes a semiconductor substrate, a first insulating film formed on the semiconductor substrate, and a first insulating film. a lower electrode disposed on the semiconductor substrate via a first insulating film; an upper electrode to which a voltage is applied; a second insulating film formed on the first insulating film and covering at least a portion of the outer part of the upper electrode that is in contact with the first insulating film; and a second insulating film formed on the second insulating film. and a third insulating film made of an insulating organic material, the second insulating film being made of a material having a higher dielectric strength than the third insulating film.
  • the second insulating film is covered with a third insulating film made of an insulating organic material.
  • the second insulating film is made of a material having a higher dielectric strength than the third insulating film. Therefore, when a high voltage of, for example, 1 kVrms or more is applied to the upper electrode, the electric field concentration area generated near the upper electrode is covered with the second insulating film, and the third insulating film made of an insulating organic material is insulated. Destruction is suppressed.
  • the signal transmission device has a structure with reduced manufacturing cost.
  • FIG. 1 is a partial cross-sectional view of a signal transmission device having a capacitor coupler according to a first embodiment.
  • FIG. 2 is a diagram showing a top view of the capacitor coupler of FIG. 1;
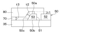
  • FIG. 2 is an enlarged cross-sectional view of region III in FIG. 1.
  • FIG. FIG. 7 is a diagram showing the results of an investigation of how an electric field is applied near a capacitor coupler in a comparative example in which the end of the upper electrode of the capacitor coupler is covered with a material with low dielectric strength.
  • FIG. 5 is a diagram showing the state of dielectric breakdown in the comparative example of FIG. 4;
  • FIG. 3 is a diagram showing the results of investigating how an electric field is applied near a capacitor coupler in the signal transmission device of the first embodiment.
  • FIG. 3 is a partial cross-sectional view showing a signal transmission device according to a second embodiment.
  • 3 is a diagram corresponding to FIG. 2 and showing another example of the shape of the upper electrode and lower electrode of the capacitor coupler.
  • FIG. 7 is a partial cross-sectional view showing a signal transmission device according to another embodiment.
  • FIG. 2 A signal transmission device having a capacitor coupler according to a first embodiment will be described with reference to the drawings.
  • the outline of a lower electrode 40, which will be described later, is shown by a broken line
  • the outline of a second insulating film 70, which will be described later, is shown by a dashed line, and although a cross section is not shown, the constituent elements of an upper electrode 50, which will be described later, and The shield portion 60 is hatched.
  • the signal transmission device of this embodiment is used, for example, to control a power switching element used to drive a motor, etc., and has a configuration in which a capacitor coupler is integrated into one chip along with control circuits on the low voltage side and high voltage side.
  • the chip on which the low-voltage side control circuit, capacitor coupler, etc. are formed is configured as a separate chip from the chip on which the high-voltage side control circuit, capacitor coupler, power switching element drive circuit, etc. are formed.
  • the capacitor couplers of the low-voltage side chip and the high-voltage side chip are connected to each other, and when a signal is output from the low-voltage side control circuit, the signal is transmitted through each other's capacitor coupler. . Based on such signal transmission, the power switching element is driven and controlled through a drive circuit provided in a chip on the high voltage side.
  • capacitor coupler formed on a chip on the low voltage side will be explained as a representative example, but the capacitor coupler on the high voltage side can also have the same structure as the capacitor coupler on the low voltage side.
  • the signal transmission device of this embodiment includes a low voltage circuit region 20 on a semiconductor substrate 10, and is configured with a lower electrode 40 and an upper electrode 50 with a first insulating film 30 interposed therebetween.
  • the configuration includes a capacitor coupler.
  • a shield portion 60 is formed between the lower electrode 40 and the upper electrode 50 and the low voltage circuit region 20 to partition them.
  • the signal transmission device includes a second insulating film 70 covering the outer periphery of the upper electrode 50 on the first insulating film 30, and a third insulating film 80 stacked on the second insulating film 70.
  • the semiconductor substrate 10 is made of, for example, a silicon substrate, and peripheral elements included in the low voltage circuit region 20, such as MOSFETs, are built into the semiconductor substrate 10.
  • MOSFET is an abbreviation for Metal Oxide Semiconductor Field Effect Transistor.
  • the low voltage circuit area 20 is an area in which a control circuit (not shown) for controlling a drive target on the high voltage side, such as a power switching element and its drive circuit, is formed.
  • the control circuit provided in the low-voltage circuit area 20 is driven using a low-voltage reference voltage, for example, a ground potential (hereinafter referred to as GND potential) as a reference.
  • GND potential a ground potential
  • peripheral elements are formed in the low voltage circuit region 20 by performing a semiconductor manufacturing process on the semiconductor substrate 10, and wiring portions connected to the peripheral elements are patterned in the first insulating film 30. , an integrated circuit is constructed.
  • the peripheral elements that make up the control circuit include a memory (not shown), and when the signal transmission device is shipped, negative charges are injected into the memory to write data, and the signal transmission device is adjusted to perform the desired operation.
  • the first insulating film 30 has a laminated structure of multiple layers.
  • a typical example will be explained in which the first insulating film 30 has a five-layer structure of the first film 31 to the fifth film 35, but the number of layers may be arbitrary.
  • the first film 31 is formed on the surface of the semiconductor substrate 10, and the lower electrode 40 is formed on the first film 31. Further, the second film 32 to the fifth film 35 are formed between the lower electrode 40 and the upper electrode 50, and are sequentially laminated on the first film 31.
  • the first film 31 to the fifth film 35 are, for example, made of the same insulating material, but may be made of different materials.
  • the first film 31 to the fifth film 35 are made of TEOS (tetraethoxysilane).
  • the thickness of the first film 31 to fifth film 35 is arbitrary, but the thickness of the second film 32 to fifth film 35 depends on the distance between the lower electrode 40 and the upper electrode 50. To be determined accordingly. Further, in the case of the present embodiment, the film thicknesses of the first film 31 to fourth film 34 are appropriately determined depending on the height of the shield portion 60.
  • the total thickness of the second film 32 to fifth film 35 is the height from the lower electrode 40 to the upper electrode 50, with the stacking direction of the lower electrode 40 and the upper electrode 50 as the height direction.
  • the total thickness of the second film 32 to fifth film 35 determines the capacitance value of the capacitor constituted by the lower electrode 40 and the upper electrode 50.
  • the thickness of the film 35 is determined.
  • the thicknesses of the second to fifth films 32 to 35 are set so that the distance between the lower electrode 40 and the upper electrode 50 is 4 ⁇ m to 10 ⁇ m, preferably 5 ⁇ m to 8 ⁇ m.
  • the first film 31 to fourth film 34 are alternately and repeatedly formed with conductors 61a to 61d, which will be described later, and which constitute the shield portion 60.
  • the total thickness of the first film 31 to fourth film 34 is the height of the shield portion 60.
  • the thickness of each of the first film 31 to fourth film 34 is set to a thickness that allows the vias 62a to 62d, which constitute the shield portion 60 together with the conductors 61a to 61d, to be satisfactorily embedded.
  • the lower electrode 40 is one electrode of a capacitor that constitutes a capacitor coupler.
  • the lower electrode 40 is formed on the first film 31, and is electrically connected to a desired part in the control circuit through a lead wire 41 shown in FIG. 2, which is also formed on the first film 31. .
  • a lead wire 41 shown in FIG. 2 which is also formed on the first film 31.
  • the lower electrode 40 has a substantially rectangular shape with rounded corners, each side of which is 50 ⁇ m to 600 ⁇ m, and has a thickness of 0.2 ⁇ m to 1 ⁇ m.
  • the constituent material of the lower electrode 40 may be any metal that can be used as an electrode material, such as Al (aluminum), W (tungsten), Cu (copper), Ti (titanium), Ta (tantalum), etc. be able to.
  • the upper electrode 50 has a substantially rectangular shape with rounded corners and a side of 50 ⁇ m to 600 ⁇ m.
  • the upper electrode 50 is preferably configured to have a thickness of 3.0 ⁇ m or more, for example, from the viewpoint of ensuring bonding properties when bonding wiring materials such as the wire 90.
  • the upper electrode 50 is formed on the lower electrode 40 via the second film 32 to the fifth film 35.
  • the upper electrode 50 has a slit 51 formed near the outer contour and along the outer contour.
  • the slit 51 is formed to reduce stress in the second insulating film 70, which will be described later, and is filled with a portion of the third insulating film 80 in this embodiment.
  • the slit 51 is formed, for example, by forming a substantially rectangular metal film constituting the upper electrode 50 on the first insulating film 30 and then partially removing the metal film using a photolithography etching method. .
  • FIG. 2 shows one side of the semiconductor substrate 10 on which the first insulating film 30 and electrodes 40 and 50 are formed, as viewed from the normal direction to the one side. The state viewed from the line direction is sometimes referred to as a "top view.”
  • the upper electrode 50 is arranged to face the lower electrode 40 when viewed from above as shown in FIG.
  • the electrode portion 52 of the upper electrode 50 has a planar size such that its outer contour is located outside the outer contour of the lower electrode 40. preferable. This increases the distance between the corners of the electrode section 52 and the outer frame section 53 and the corner sections of the lower electrode 40 when viewed from above, and the electric field concentration at the corners of the electrode section 52 and the outer frame section 53 will be described later. This is because it becomes possible to reduce the
  • the outer frame portion 53 is connected to the electrode portion 52 via a connecting portion 54, for example, and has the same potential as the electrode portion 52.
  • the outer frame portion 53 may be configured such that the upper electrode 50 does not have the connection portion 54 and may be independent from the electrode portion 52. In this case, the outer frame portion 53 is at a different potential from the electrode portion 52 and is in a floating state where it is not connected to any other power source or the like.
  • the upper electrode 50 is arranged such that each side of the substantially rectangular shape formed by the electrode portion 52 and each side of the substantially rectangular shape formed by the lower electrode 40 are arranged in parallel, and the center position of the electrode portion 52 and the lower electrode 40 are arranged in parallel. Although it is preferable that the center positions substantially coincide with each other, the present invention is not limited thereto.
  • the upper electrode 50 can be made of any metal or alloy material used as an electrode material, such as Al, W, Cu, Ti, Ta, or the like.
  • the upper electrode 50 may be made of the same material as the material of the lower electrode 40, or may be made of a different material.
  • the upper electrode 50 has an upper surface 50a on the side opposite to the first insulating film 30, and a lower surface 50b on the opposite side, such that the upper surface 50a of the electrode part 52 is exposed from the second insulating film 70 and the third insulating film 80.
  • a wire 90 can be connected to the electrode portion 52.
  • the upper electrode 50 is electrically connected to a chip provided with a drive circuit for a power switching element provided externally by connecting a wire 90 made of a conductive material such as Au (gold) to the electrode portion 52. Ru. Since the upper electrode 50 is connected to a drive circuit or the like that operates at a reference voltage higher than the low voltage that the low voltage circuit area 20 uses as a reference, a higher voltage than the lower electrode 40 is applied to the upper electrode 50. That will happen. For example, a voltage of 400 Vrms or more is applied to the electrode portion 52 of the upper electrode 50 in the operating state.
  • the shield portion 60 is formed at least within the first insulating film 30 and is for suppressing the influence of the high electric field applied to the capacitor coupler on peripheral elements provided in the low voltage circuit region 20.
  • the shield portion 60 is connected to a low voltage applied by control circuit operation, for example, a reference potential point of the low voltage circuit region 20, here a GND potential which is the potential of the semiconductor substrate 10.
  • the shield part 60 is arranged to surround the entire circumference of the lower electrode 40 and the upper electrode 50 that constitute the capacitor coupler when viewed from above, and has a substantially frame shape. It has become.
  • the shield portion 60 has a structure including conductors 61a to 61d and vias 62a to 62d.
  • the conductors 61a to 61d are provided on each surface of the first film 31 to the fourth film 34, and are formed by forming a conductive material on each surface of the first film 31 to the fourth film 34 and then patterning the conductive material.
  • the vias 62a to 62d are formed by burying a conductive material, for example, a part of the constituent material of the conductors 61a to 61d, into the via holes formed in the first to fourth films 31 to 34.
  • the shield portion 60 is constructed by stacking and connecting these conductors 61a to 61d and vias 62a to 62d in the height direction.
  • a portion of the conductors 61a to 61d included in the shield portion 60, here the conductor 61d in the uppermost layer closest to the upper electrode 50, is located at a position higher than the low voltage circuit region 20, specifically, in the low voltage circuit. It is located higher than the peripheral elements included in the region 20.
  • the conductor 61d located higher than the peripheral element is used as an eaves part 63, and the eave part 63 protrudes from the other conductors 61a to 61c on the opposite side to the lower electrode 40 and the upper electrode 50, and the peripheral element covers the top of
  • the width thereof that is, the distance from the end nearer to the lower electrode 40 and the upper electrode 50 to the end farthest from the lower electrode 40 and the upper electrode 50, is longer than that of the conductors 61a to 61c other than the eaves part 63.
  • the thickness is 10 ⁇ m or more.
  • the eaves section 63 prevents a high electric field from entering the low voltage circuit region 20 from above the shield section 60 when a high voltage of, for example, 1 kVrms or more is applied to the upper electrode 50, causing noise and other effects on the control circuit (not shown). It plays a role in suppressing what happens.
  • the eaves section 63 is provided to shield the electric field from above the shield section 60 and protect the low voltage circuit region 20. Note that the eaves portion 63 only needs to be able to shield the high electric field caused by the upper electrode 50 from entering the low voltage circuit region 20, and may not be the one closest to the upper electrode 50 among the plurality of conductors 61. , a plurality of them may be formed.
  • the shield part 60 can be arranged at any location, the shortest distance L from the upper electrode 50 to the shield part 60 is longer than the distance from the upper electrode 50 to the lower electrode 40.
  • the shortest distance L is preferably 13 ⁇ m or more.
  • the second insulating film 70 is an insulating film that is formed around the upper electrode 50 in the first insulating film 30 and covers a part of the outer contour of the upper electrode 50.
  • the second insulating film 70 is made of an insulating material that can withstand electric field concentration generated near the corners of the upper electrode 50 when a high voltage of, for example, 1 kVrms or more is applied to the upper electrode 50.
  • the second insulating film 70 is made of an insulating material having a dielectric strength of 10 MV/cm or more, such as TEOS or SiO 2 , but is not limited to this material example.
  • the second insulating film 70 is made of a material having a higher dielectric strength than at least the third insulating film 80.
  • the second insulating film 70 withstands electric field concentration that occurs when voltage is applied to the upper electrode 50, secures a space between the electric field concentration point and the third insulating film 80, and separates the third insulating film 80 from the electric field concentration point. By keeping the distance away, it serves to prevent dielectric breakdown in the third insulating film 80 from occurring.
  • the second insulating film 70 After the second insulating film 70 is formed to cover the entire area of the upper electrode 50, the portion covering the upper surface 50a of the upper electrode 50 is thinned and flattened by CMP, and the upper surface 50a and the slit 51 are etched. An opening for exposure is formed. As shown in FIG. 3, for example, the second insulating film 70 has a thickness t1 of a portion that covers the upper electrode 50, that is, a portion located on the upper surface 50a, and t1 is thinner than the thickness of the upper electrode 50, and preferably the upper The thickness is less than half the thickness of the electrode 50.
  • the second insulating film 70 has a t1 of 1.5 ⁇ m or less, preferably 1.3 ⁇ m or less.
  • the time required to etch an opening in the second insulating film 70 for exposing the upper electrode 50 by photolithography etching or the like is shortened, and manufacturing costs are reduced.
  • the thickness t1 of the portion of the second insulating film 70 located on the upper surface 50a being reduced, for example, as shown in FIG. ⁇ t2. It is preferable that t2 be 1.3 ⁇ m or more from the viewpoint of protecting the third insulating film 80 from electric field concentration, which will be described later.
  • the side surface 50c is a surface of the upper electrode 50 that connects the upper surface 50a and the lower surface 50b.
  • the second insulating film 70 has a thickness of a portion that covers only the first insulating film 30, that is, a portion located outside the upper electrode 50. It is preferable that t3 is 1.3 ⁇ m or more. Note that the thickness t3 here is the thickness based on the position of the lower end of the upper electrode 50.
  • the second insulating film 70 is formed to cover a part of the side surface 50c of the upper electrode 50, including at least the lower end in contact with the first insulating film 30.
  • the second insulating film 70 is formed to cover, for example, the entire side wall surface of the outer frame portion 53 of the upper electrode 50 as well as the upper surface 50a of the outer frame portion 53.
  • the third insulating film 80 is an insulating film that covers a part of the upper electrode 50 and the second insulating film 70.
  • the third insulating film 80 is made of an insulating organic material such as polyimide, and is formed into a predetermined pattern by being formed by coating and then patterned. Since the third insulating film 80 is disposed at a position where it does not come into contact with a high electric field generated when a high voltage is applied to the upper electrode 50, it may be made of a material having a lower dielectric strength voltage than the second insulating film 70. good.
  • the third insulating film 80 has a thickness such that its surface is located higher than the upper surface 50a of the upper electrode 50, for example, as shown in FIG.
  • the third insulating film 80 has a thickness greater than 1.7 ⁇ m.
  • the third insulating film 80 fills the slit 51 of the upper electrode 50 and covers the end of the electrode section 52 of the upper electrode 50. ing.
  • the third insulating film 80 has an opening that exposes the electrode part 52 to the outside, and also includes a region of the upper electrode 50 outside the end of the electrode part 52 and a second insulating film. It covers a predetermined area including 70.
  • the third insulating film 80 has its own thermal expansion and contraction due to the cooling/heating cycle suppressed by the portion that enters the slit 51 . As a result, stress generated in the second insulating film 70 due to thermal expansion and contraction of the third insulating film 80 is reduced.
  • the above is the basic configuration of a signal transmission device having a capacitor coupler constituted by a capacitor formed by the lower electrode 40 and the upper electrode 50.
  • a control circuit (not shown) outputs a control signal to the lower electrode 40, thereby transmitting the control signal to the upper electrode 50 and then to the external chip through the wire 90. This allows the drive circuit provided in the external chip to drive the power switching element, and by extension, the motor, etc., based on the control signal from the control circuit.
  • the outer periphery including the outer part of the upper electrode 50 is covered with an organic insulating film 100 made of an insulating organic material such as polyimide, and an insulating film corresponding to the second insulating film 70 does not have.
  • an organic insulating film 100 made of an insulating organic material such as polyimide, and an insulating film corresponding to the second insulating film 70 does not have.
  • the electric field is concentrated near the part where the At this time, in the capacitor coupler structure of the comparative example, a part of the organic insulating film 100 is in contact with a high electric field portion where the electric field strength is about 10 MV/cm.
  • the part that directly contacts the outer peripheral part of the upper electrode 50 is made of a second insulating film 70 made of an insulating material with a dielectric strength higher than a predetermined voltage. , and a third insulating film 80 is laminated thereon.
  • a voltage of 2.25 kVrms was applied to the upper electrode 50, for example, as shown in FIG.
  • the portion in contact with the insulating film 30 was a high electric field portion.
  • the outer frame portion 53 shown in FIG. 6 is electrically connected to the electrode portion 52 via the connecting portion 54, and has the same potential as the electrode portion 52.
  • the corner portion of the outer frame portion 53 in contact with the first insulating film 30 and the corner portion on the opposite side from the slit 51 has a height of approximately 10 MV/cm.
  • An electric field is applied.
  • the second insulating film 70 made of a material with a dielectric strength of 10 MV/cm or more is in contact with the outer corner, and the third insulating film 80 is formed on the second insulating film 70. is located.
  • the third insulating film 80 which is made of an insulating organic material with a lower dielectric strength voltage than the second insulating film 70, is positioned away from the outer corner. Since the tree is arranged in the same direction, tree destruction is suppressed.
  • the corner portion (hereinafter referred to as the “inner corner portion”) that is on the slit 51 side and contacts the first insulating film 30 is applied with a voltage of 2.25 kVrms.
  • the electric field was concentrated, but the electric field was 4 MV/cm or less. Therefore, even if the slit 51 is filled with the third insulating film 80, tree breakdown does not occur in the portion of the third insulating film 80 that is in contact with the inner corner.
  • a high electric field concentration portion that occurs when a high voltage is applied to the upper electrode 50 is covered with the second insulating film 70 having a high dielectric strength, and an insulating film that can be coated on the second insulating film 70 It has a capacitor coupler structure in which a third insulating film 80 made of organic material is laminated. Therefore, compared to a structure in which the upper electrode 50 is covered with a thick insulating film made only of an insulating material with high dielectric strength, the time required to form the second insulating film 70 and the third insulating film is shortened, and the manufacturing process is reduced. This results in a structure with reduced costs.
  • the signal transmission device of this embodiment has the following configuration, and the following effects can also be obtained.
  • the thickness of the portion of the second insulating film 70 that covers the upper surface 50a of the upper electrode 50 is less than half the thickness of the upper electrode 50, so that the opening in the second insulating film 70 exposes the upper electrode 50.
  • the amount of etching required to form the part is reduced, and the etching process is shortened. This provides the effect of further reducing manufacturing costs.
  • the third insulating film 80 preferably has a thickness such that the entire surface is located at a higher position than the upper electrode 50. This suppresses the electric field generated when a high voltage is applied to the upper electrode 50 from leaking outside the surface of the third insulating film 80, and has the effect of reducing unintended electrical effects on the outside. .
  • the capacitor coupler structure is preferably arranged at least 100 ⁇ m or more away from the outer contour of the semiconductor substrate 10.
  • the second insulating film 70 is placed in a region of the semiconductor substrate 10 away from the outer contour or corner portion where stress tends to concentrate. The stress effect is reduced. This further improves the reliability of the signal transmission device.
  • the second insulating film 70 may not be provided on the electrode other than the upper electrode 50. preferable. In this case, even if the electrodes (not shown) are covered with the molded resin (not shown), the stress caused by the difference in thermal expansion coefficients is applied to the second insulating film 70, and the stress caused by the stress is applied to the second insulating film 70. This prevents cracks from occurring in the second insulating film 70. This further improves the reliability of the signal transmission device.
  • the second insulating film 70 is also formed in a region inside the outer frame portion 53, and a portion of the second insulating film 70 fills the slit 51.
  • This embodiment is different from the first embodiment in that the second embodiment is different from the first embodiment. In this embodiment, this difference will be mainly explained.
  • the second insulating film 70 is formed to fill the slit 51 instead of the third insulating film 80.
  • the second insulating film 70 is continuously formed from the side surface 50c, which is the side wall of the outer frame portion 53, to the end of the upper surface 50a of the electrode portion 52, and fills the slit 51.
  • the third insulating film 80 is configured to cover the entire area of the second insulating film 70, for example, and is disposed on the outer frame portion 53 and the electrode portion 52 with the second insulating film 70 in between.
  • This embodiment also provides a signal transmission device that can achieve the same effects as the first embodiment.
  • the second insulating film 70 may have a pattern shape that covers only the outer corner of the upper electrode 50. Even with this configuration, the third insulating film 80 having a lower dielectric strength voltage than the second insulating film 70 is disposed at a position away from the electric field concentration point of the upper electrode 50, so that it is different from the first embodiment. This becomes a signal transmission device that can obtain similar effects. In this case, the second insulating film 70 covers only a part of the side surface 50 c of the upper electrode 50 including the outer corner, and the upper surface 50 a of the upper electrode 50 is exposed from the second insulating film 70 .
  • the lower electrode 40 and the upper electrode 50 do not have to have a substantially square shape.
  • they may have a substantially rectangular or substantially elliptical shape when viewed from above. good.
  • the electrode portion 52 of the upper electrode 50 has a larger planar size than the lower electrode 40 when viewed from above, and is arranged to include the entire area of the lower electrode 40 .
  • the upper electrode 50 may have a configuration without the slit 51, as shown in FIG. 9, for example. Even in this case, the signal transmission device has a structure in which dielectric breakdown in the third insulating film 80 is suppressed. In this case, the entire area of the upper electrode 50 becomes the electrode part 52, and the surface of the electrode part 52 that connects the upper surface 50a and the lower surface 50b becomes the side surface 50c. Further, in this case, as shown in FIG. 9, the end of the upper surface 50a of the upper electrode 50 may be directly covered only with the second insulating film 70, and the third insulating film 80 may be laminated thereon. , may also be partially covered with the third insulating film 80.
  • the elements constituting the embodiments are not necessarily essential, except in cases where it is specifically specified that they are essential or where they are clearly considered essential in principle. Needless to say.
  • numerical values such as the number, numerical value, amount, range, etc. of the constituent elements of the embodiment are mentioned, when it is clearly stated that it is essential, or when it is clearly limited to a specific number in principle. It is not limited to that specific number, except in cases where
  • when referring to the shape, positional relationship, etc. of constituent elements, etc., the shape It is not limited to positional relationships, etc.
  • a signal transmission device having a capacitor coupler, a semiconductor substrate (10); a first insulating film (30) formed on the semiconductor substrate; a lower electrode (40) disposed on the semiconductor substrate through a part of the first insulating film; an upper electrode (50) disposed opposite to the lower electrode with the first insulating film interposed therebetween, forming a capacitor together with the lower electrode, and to which a voltage higher than the voltage applied to the lower electrode is applied; a second insulating film (70) formed on the first insulating film and covering at least a portion of the outer part of the upper electrode that is in contact with the first insulating film; a third insulating film (80) formed on the second insulating film and made of an insulating organic material;
  • the second insulating film is made of a material having a higher dielectric strength than the third insulating film.
  • [Viewpoint 2] The signal transmission device according to aspect 1, wherein the upper electrode has a thickness of 3.0 ⁇ m or more.
  • the surface of the upper electrode opposite to the first insulating film is an upper surface (50a), the surface facing the first insulating film is a lower surface (50b), and the surface connecting the upper surface and the lower surface is a side surface (50b). 50c), the signal transmission device according to aspect 2, wherein the thickness (t2) of the portion of the second insulating film that covers the side surface is 1.3 ⁇ m or more.
  • [Viewpoint 4] The signal transmission device according to aspect 2 or 3, wherein a portion of the second insulating film located outside the upper electrode has a thickness of 1.3 ⁇ m or more.
  • the signal transmission device according to any one of aspects 1 to 6.
  • the signal transmission device according to one.
  • the second insulating film covers a part of the side surface (50c) of the upper electrode including a lower end that contacts the first insulating film,
  • the signal transmission device according to any one of aspects 1 to 8, wherein an upper surface (50a) of the upper electrode, which is a surface opposite to the first insulating film, is exposed from the second insulating film.
  • the signal transmission device according to any one of aspects 1 to 9, wherein the upper electrode is located at a distance of 100 ⁇ m or more from the outer edge of the semiconductor substrate.
  • the second insulating film and the third insulating film cover only a part of the upper electrode among the plurality of electrodes formed on the first insulating film.
  • the upper electrode has a slit (51) formed near the outer edge of the upper electrode,
  • the signal transmission device according to any one of aspects 1 to 11, wherein the slit is formed along the outer contour of the upper electrode.
  • [Viewpoint 13] 13 13.
  • the signal transmission device according to aspect 12, wherein a portion of the upper electrode located outside the slit has the same potential as or an independent potential from a portion located inside the slit.

Landscapes

  • Engineering & Computer Science (AREA)
  • Power Engineering (AREA)
  • Computer Hardware Design (AREA)
  • Microelectronics & Electronic Packaging (AREA)
  • Physics & Mathematics (AREA)
  • Condensed Matter Physics & Semiconductors (AREA)
  • General Physics & Mathematics (AREA)
  • Semiconductor Integrated Circuits (AREA)
PCT/JP2023/016316 2022-05-11 2023-04-25 信号伝送デバイス Ceased WO2023218947A1 (ja)

Priority Applications (1)

Application Number Priority Date Filing Date Title
US18/939,129 US20250062256A1 (en) 2022-05-11 2024-11-06 Signal transmission device

Applications Claiming Priority (2)

Application Number Priority Date Filing Date Title
JP2022-078433 2022-05-11
JP2022078433A JP7753975B2 (ja) 2022-05-11 2022-05-11 信号伝送デバイス

Related Child Applications (1)

Application Number Title Priority Date Filing Date
US18/939,129 Continuation US20250062256A1 (en) 2022-05-11 2024-11-06 Signal transmission device

Publications (1)

Publication Number Publication Date
WO2023218947A1 true WO2023218947A1 (ja) 2023-11-16

Family

ID=88730334

Family Applications (1)

Application Number Title Priority Date Filing Date
PCT/JP2023/016316 Ceased WO2023218947A1 (ja) 2022-05-11 2023-04-25 信号伝送デバイス

Country Status (3)

Country Link
US (1) US20250062256A1 (enExample)
JP (1) JP7753975B2 (enExample)
WO (1) WO2023218947A1 (enExample)

Cited By (2)

* Cited by examiner, † Cited by third party
Publication number Priority date Publication date Assignee Title
WO2025013652A1 (ja) * 2023-07-13 2025-01-16 株式会社デンソー 信号伝送デバイス
WO2025013651A1 (ja) * 2023-07-13 2025-01-16 株式会社デンソー 信号伝送デバイス

Citations (3)

* Cited by examiner, † Cited by third party
Publication number Priority date Publication date Assignee Title
JP2005311299A (ja) * 2004-03-26 2005-11-04 Hitachi Ltd 半導体装置及びその製造方法
JP2017130671A (ja) * 2017-02-27 2017-07-27 ローム株式会社 チップ部品
JP2021509540A (ja) * 2017-12-29 2021-03-25 日本テキサス・インスツルメンツ合同会社 高電圧絶縁構造及び方法

Family Cites Families (2)

* Cited by examiner, † Cited by third party
Publication number Priority date Publication date Assignee Title
US9812389B2 (en) * 2015-10-01 2017-11-07 Avago Technologies General Ip (Singapore) Pte. Ltd. Isolation device
GB2581952B (en) * 2019-01-23 2023-06-21 X Fab Dresden Gmbh & Co Kg A high voltage device

Patent Citations (3)

* Cited by examiner, † Cited by third party
Publication number Priority date Publication date Assignee Title
JP2005311299A (ja) * 2004-03-26 2005-11-04 Hitachi Ltd 半導体装置及びその製造方法
JP2017130671A (ja) * 2017-02-27 2017-07-27 ローム株式会社 チップ部品
JP2021509540A (ja) * 2017-12-29 2021-03-25 日本テキサス・インスツルメンツ合同会社 高電圧絶縁構造及び方法

Cited By (2)

* Cited by examiner, † Cited by third party
Publication number Priority date Publication date Assignee Title
WO2025013652A1 (ja) * 2023-07-13 2025-01-16 株式会社デンソー 信号伝送デバイス
WO2025013651A1 (ja) * 2023-07-13 2025-01-16 株式会社デンソー 信号伝送デバイス

Also Published As

Publication number Publication date
US20250062256A1 (en) 2025-02-20
JP2023167331A (ja) 2023-11-24
JP7753975B2 (ja) 2025-10-15

Similar Documents

Publication Publication Date Title
US20250062256A1 (en) Signal transmission device
JP3354424B2 (ja) 半導体装置および半導体装置の製造方法
KR930010981B1 (ko) 반도체장치
TWI311790B (en) Semiconductor device having bonding pad above low-k kielectric film and manufacturing method therefor
JP5412506B2 (ja) 半導体装置
TWI238498B (en) Semiconductor device having a guard ring
CN110326073A (zh) 电容器
JP7686394B2 (ja) ゲートドライバ
JP2010287831A (ja) 半導体装置およびその製造方法
JP4280204B2 (ja) 半導体装置
TWI423406B (zh) 積體電路晶片
CN115053329A (zh) 具有电过应力完整性的高电压隔离屏障
JP2014022600A (ja) 半導体集積回路
US6576970B2 (en) Bonding pad structure of semiconductor device and method for fabricating the same
US20240128309A1 (en) Signal transmission device
JP4775007B2 (ja) 半導体装置及びその製造方法
JP2002368098A (ja) フリップチップ型半導体素子及びその製造方法
US11562957B2 (en) Semiconductor device and method of manufacturing the same
JPH11186382A (ja) 半導体装置及びその製造方法
CN115715145A (zh) 具有增强型底部板极的集成隔离电容器
JP4350321B2 (ja) 半導体素子のボンディングパッド構造体及びその製造方法
KR20140134132A (ko) 반도체 소자 및 그 형성 방법
JP7766146B2 (ja) コンデンサ構造
JP2023033946A (ja) 信号伝送デバイス
US11282917B2 (en) Semiconductor device and method of manufacturing the same

Legal Events

Date Code Title Description
121 Ep: the epo has been informed by wipo that ep was designated in this application

Ref document number: 23803427

Country of ref document: EP

Kind code of ref document: A1

NENP Non-entry into the national phase

Ref country code: DE

122 Ep: pct application non-entry in european phase

Ref document number: 23803427

Country of ref document: EP

Kind code of ref document: A1