WO2022201723A1 - 電子機器用筐体 - Google Patents

電子機器用筐体 Download PDF

Info

Publication number
WO2022201723A1
WO2022201723A1 PCT/JP2021/048724 JP2021048724W WO2022201723A1 WO 2022201723 A1 WO2022201723 A1 WO 2022201723A1 JP 2021048724 W JP2021048724 W JP 2021048724W WO 2022201723 A1 WO2022201723 A1 WO 2022201723A1
Authority
WO
WIPO (PCT)
Prior art keywords
electronic device
heat
housing
heat transfer
device housing
Prior art date
Legal status (The legal status is an assumption and is not a legal conclusion. Google has not performed a legal analysis and makes no representation as to the accuracy of the status listed.)
Ceased
Application number
PCT/JP2021/048724
Other languages
English (en)
French (fr)
Japanese (ja)
Inventor
浩幸 酒向
望 鄭
知弥 奥野
友紀 小宮
良英 川島
Current Assignee (The listed assignees may be inaccurate. Google has not performed a legal analysis and makes no representation or warranty as to the accuracy of the list.)
Panasonic Intellectual Property Management Co Ltd
Original Assignee
Panasonic Intellectual Property Management Co Ltd
Priority date (The priority date is an assumption and is not a legal conclusion. Google has not performed a legal analysis and makes no representation as to the accuracy of the date listed.)
Filing date
Publication date
Application filed by Panasonic Intellectual Property Management Co Ltd filed Critical Panasonic Intellectual Property Management Co Ltd
Publication of WO2022201723A1 publication Critical patent/WO2022201723A1/ja
Anticipated expiration legal-status Critical
Ceased legal-status Critical Current

Links

Images

Classifications

    • HELECTRICITY
    • H05ELECTRIC TECHNIQUES NOT OTHERWISE PROVIDED FOR
    • H05KPRINTED CIRCUITS; CASINGS OR CONSTRUCTIONAL DETAILS OF ELECTRIC APPARATUS; MANUFACTURE OF ASSEMBLAGES OF ELECTRICAL COMPONENTS
    • H05K5/00Casings, cabinets or drawers for electric apparatus
    • H05K5/02Details
    • HELECTRICITY
    • H05ELECTRIC TECHNIQUES NOT OTHERWISE PROVIDED FOR
    • H05KPRINTED CIRCUITS; CASINGS OR CONSTRUCTIONAL DETAILS OF ELECTRIC APPARATUS; MANUFACTURE OF ASSEMBLAGES OF ELECTRICAL COMPONENTS
    • H05K7/00Constructional details common to different types of electric apparatus
    • H05K7/02Arrangements of circuit components or wiring on supporting structure
    • H05K7/12Resilient or clamping means for holding component to structure
    • HELECTRICITY
    • H05ELECTRIC TECHNIQUES NOT OTHERWISE PROVIDED FOR
    • H05KPRINTED CIRCUITS; CASINGS OR CONSTRUCTIONAL DETAILS OF ELECTRIC APPARATUS; MANUFACTURE OF ASSEMBLAGES OF ELECTRICAL COMPONENTS
    • H05K7/00Constructional details common to different types of electric apparatus
    • H05K7/20Modifications to facilitate cooling, ventilating, or heating

Definitions

  • the present disclosure relates to a housing for electronic equipment.
  • Patent Literature 1 discloses a structure that dissipates heat by attaching a rail member to a housing in which an electronic device is installed and propagating heat to the rail member.
  • Patent Document 1 discloses a configuration in which heat is transferred to a rail member, but the heat transfer rate from the heat-generating wiring board is low, and the heat transfer amount for the generated heat is small, so the problem is that the heat cannot be transferred sufficiently. There is In particular, the contact portion between the outer housing to which the rail member is attached and the heat-generating member has a large thermal resistance, and heat cannot be conducted efficiently.
  • the present disclosure has been devised in view of the conventional circumstances described above, and aims to provide an electronic device housing that efficiently conducts the generated heat to the rail member.
  • the present disclosure includes a body portion that houses an electronic device that generates heat when driven, and a back member that is provided on the back side of the body portion and connected to a rail member by a connection member, wherein the connection member is connected to the rail.
  • a housing for electronic equipment configured in such a shape that the rail member is pressed against the back member when the members are connected.
  • FIG. 4 is a diagram for explaining heat conduction according to the first embodiment;
  • FIG. 4 is a diagram for explaining heat conduction according to the first embodiment;
  • FIG. 4 is a diagram for explaining heat conduction according to the first embodiment; Appearance perspective view of electronic device housing according to Embodiment 2 Appearance perspective view of electronic device housing according to Embodiment 2 Internal cross-sectional view of the electronic device housing according to the second embodiment Appearance perspective view of a heat transfer member according to Embodiment 2 A diagram for explaining an example of a connection configuration of a conventional DIN rail FIG. 4 is a diagram for explaining the connection configuration of the DIN rail according to the second embodiment; A diagram for explaining heat conduction according to the second embodiment. A diagram for explaining heat conduction according to the second embodiment.
  • FIG. 1 An illustration of configuration of housing for electronic device
  • FIG. 1 An illustration of the electronic device housing according to the first embodiment will be described with reference to FIGS. 1 to 3.
  • FIG. Each drawing used in the following description shows a three-dimensional coordinate system consisting of x-axis, y-axis, and z-axis, and description will be made on the assumption that the coordinate systems in each drawing correspond to each other.
  • the x-axis direction is the up-down direction
  • the y-axis direction is the left-right direction
  • the z-axis direction is the depth direction.
  • FIG. 1 is an external perspective view of an electronic device housing 100 according to the present embodiment.
  • a heat-generating member that generates heat when driven is mounted inside the electronic device housing 100 .
  • heat-generating members include electronic devices such as PLCs (Programmable Logic Controllers), CPUs (Central Processing Units), and SoCs (System a Chip), but are not particularly limited.
  • the electronic device housing 100 is connected to a DIN rail 101, which is a rail member, and vertically installed on a vertical surface of an arbitrary location such as a rack (not shown).
  • the electronic device housing 100 includes a main body portion 103 and a back member 102, and constitutes a housing portion for mounting internal devices.
  • the back member 102 is a member forming the back portion of the electronic device housing 100 .
  • Back member 102 includes one or more claws 105 for connecting with DIN rail 101 .
  • the example of FIG. 1 shows a configuration including two claw portions 105 .
  • the back member 102 has a connecting member 104 for connecting the DIN rail 101 .
  • the claw portion 105 and the connection member 104 fix and connect the DIN rail 101 and the electronic device housing 100 (back member 102 ).
  • the connecting member 104 has a structure that is biased by a spring (not shown) or the like toward the opposing claw portion 105 side, and is installed so as to be able to move back and forth along the x-axis direction.
  • the connection member 104 is pulled (slid) in the direction away from the claw portion 105 (separation direction) to widen the distance between the connection member 104 and the claw portion 105 .
  • the connecting member 104 By releasing the connecting member 104 after the DIN rail 101 is arranged between the connecting member 104 and the claw portion 105, the distance between the connecting member 104 and the claw portion 105 is reduced due to the bias applied to the connecting member 104.
  • Rail 101 is fixed.
  • the configuration of the connecting member 104 is not limited to the above.
  • it may be configured to be detachable from the rear side (along the z-axis direction) by fitting or the like.
  • the claw portion 105 may be biased toward the connecting member 104 by a spring or the like, or both the connecting member 104 and the claw portion 105 may be biased toward each other by a spring or the like. structure.
  • the back member 102 includes fins 106 and 107 for radiating heat inside the electronic device housing 100 .
  • fins 106 and 107 are provided on both sides (top and bottom) in the x-axis direction with the DIN rail 101 interposed therebetween.
  • the fins 106 are arranged in seven rows, and the fins 107 are arranged in three rows.
  • the shapes of the fins 106 and 107 are not limited to those shown in FIG. 1 and the like.
  • the fins 106 and 107 may have different shapes.
  • FIG. 2 is an external perspective view showing a state in which the DIN rail 101 is removed from the electronic device housing 100 shown in FIG.
  • FIG. 3 is a schematic diagram showing a cross section of the electronic device housing 100 in the x-axis direction. An outline of the inside of the electronic device housing 100 will be described with reference to FIG. An electronic device serving as a heat source is provided inside the electronic device housing 100 .
  • the SoC 112 will be described as an example of the electronic device.
  • a substrate 114 is installed in the electronic device housing 100 . SoC 112 is also provided on substrate 114 .
  • the SoC 112 is shown with a stepped cross section, but the configuration is not limited to this.
  • the electronic device housing 100 may further include an installation member for installing the substrate 114 therein.
  • the back surface member 102 includes a contact surface portion 110 that extends inside the electronic device housing 100, and is configured to be integrated with a portion on the back surface side.
  • the back member 102 (and the contact surface portion 110) is made of, for example, a highly heat-conductive material such as metal. It should be noted that the term “integral” here may be realized by any structure such as a single sheet metal structure, a cast structure, a forged structure, a welded structure, a caulking structure, a pressure contact structure, or a screw connection.
  • the contact surface portion 110 has a constant thickness in the y-axis direction to improve thermal conductivity. Also, the contact surface portion 110 is configured to cover the entire surface of the SoC 112 .
  • the contact surface portion 110 and the SoC 112 are configured to be in contact with each other via the high thermal conductivity member 111 .
  • the high thermal conductive member 111 is composed of, for example, a high thermal conductive elastic material and configured in a sheet shape or the like.
  • the contact surface portion 110 and the SoC 112 may be in indirect contact via the high thermal conductivity member 111 , but the configuration is not limited to this.
  • the contact surface portion 110 and the SoC 112 may be in direct contact with each other.
  • the contact surface portion 110 and the substrate 114 are fixed and installed by a screw component 113 .
  • the threaded part 113 may also be made of a material with high thermal conductivity, like the back member 102 (and the contact surface portion 110).
  • the component for fixing the contact surface portion 110 and the substrate 114 is not limited to a screw shape, and for example, a claw-shaped member, a spring, or the like may be used.
  • FIG. 4 is an external perspective view of only the back member 102.
  • FIG. A contact surface portion 110 provided integrally with the back member 102 includes one or more holes 120 for installing screw fittings 113 . Although two holes 120 are shown here, the number of holes 120 is not particularly limited, and may be provided according to the size of the electronic device housing 100 and the like. Further, the contact surface portion 110 may be configured such that the thickness in the direction orthogonal to the surface of the SoC 112 is larger than a predetermined value. The thickness here is designed to improve the heat conduction of the contact surface portion 110, and may be defined according to, for example, the size of the SoC 112, the amount of heat generated by the SoC 112, and the like.
  • the contact surface portion 110 may be configured to have a volume larger than a predetermined value.
  • the volume here is designed to improve the heat conduction of the contact surface portion 110, and may be defined according to, for example, the size of the SoC 112, the amount of heat generated by the SoC 112, and the like.
  • FIGS. 5 to 7 are diagrams for explaining heat conduction in the electronic device housing 100 according to the present embodiment, showing the electronic device housing 100 from different directions. In each figure, arrows indicate heat conduction.
  • heat is generated as the SoC 112 operates.
  • FIG. 5 the heat generated by the SoC 112 is first conducted in the direction of the substrate 114 and in the direction of the high thermal conductivity member 111 and the contact surface portion 110 .
  • the highly thermally conductive member 111 and the contact surface portion 110 are made of a highly thermally conductive metal material or the like, and thus have high thermal conductivity.
  • the substrate 114 is generally made of resin or the like, it has low thermal conductivity.
  • the heat conducted to the contact surface portion 110 is further conducted to the rear side (DIN rail 101 side) of the electronic device housing 100 and released to the outside. At this time, the heat is conducted to the entire back surface member 102 and further radiated by the fins 106 and 107 .
  • the heat transmitted to the fins 106 and 107 warms the surrounding gas, and the warmed gas rises due to the chimney effect to radiate heat.
  • An arrow 601 shown in FIGS. 6 and 7 indicates the direction of the heated and rising airflow.
  • heat is conducted to the DIN rail 101 connected to the back member 102, and heat is radiated through the DIN rail 101 as well.
  • the present embodiment it is possible to efficiently conduct the heat inside the electronic device housing to the outside and suppress the temperature rise inside the electronic device housing. Then, it is possible to suppress the temperature rise of a high-heat-generating device such as SoC, and to suppress the junction temperature from exceeding the allowable junction temperature.
  • a high-heat-generating device such as SoC
  • the junction temperature from exceeding the allowable junction temperature.
  • the heat generated inside the electronic device housing can be directly conducted to the outside via the high thermal conductive member 111 and the contact surface portion 110, heat convection inside the electronic device housing can be suppressed. Therefore, it is possible to suppress the formation of ventilation holes for discharging the heat trapped inside the electronic device housing, for example, in the side wall portion of the electronic device housing. As a result, for example, it is possible to improve the dust resistance and the strength of the housing itself.
  • the fins can be installed in the space on the back side of the housing for electronic equipment without waste, it is possible to dissipate heat more efficiently and reduce the volume of heat dissi
  • FIG. 8 Outline of configuration of housing for electronic device
  • FIG. 8 the coordinate system shown in the following figures is a three-dimensional coordinate system consisting of the x-axis, the y-axis, and the z-axis
  • the explanation will be made assuming that the coordinate systems in each figure correspond to each other.
  • the x-axis direction is the up-down direction
  • the y-axis direction is the left-right direction
  • the z-axis direction is the depth direction.
  • there are various components and the like to be mounted inside the housing for electronic equipment but here, only the parts directly related to the present invention will be explained, and other configurations will be omitted or simplified. shown in a simplified form.
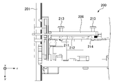
  • FIG. 8 is an external perspective view of the electronic device housing 200 according to the present embodiment.
  • a heat-generating member that generates heat when driven is mounted inside the electronic device housing 200 .
  • heat-generating members include electronic devices such as PLCs (Programmable Logic Controllers), CPUs (Central Processing Units), and SoCs (System a Chip), but are not particularly limited.
  • the electronic device housing 200 is connected to a DIN rail 201, which is a rail member, and vertically installed on a vertical surface of an arbitrary location such as a rack (not shown).
  • the electronic device housing 200 includes a main body portion 203 and a back member 202, and constitutes a housing portion for mounting internal devices.
  • the back member 202 is a member forming the back portion of the electronic device housing 200 .
  • Back member 202 includes one or more claws 205 for connecting with DIN rail 201 .
  • the example of FIG. 8 shows a configuration including two claw portions 205 .
  • the rear member 202 also includes a connecting member 204 for connecting the DIN rail 101 .
  • the claw portion 205 and the connection member 204 fix and connect the DIN rail 201 and the electronic device housing 200 (back member 202 ).
  • connection member 204 has a structure that is biased by a spring (not shown) or the like toward the opposing claw portion 205 side, and is installed so as to be able to move back and forth along the x-axis direction.
  • the connection member 204 is pulled (slid) in a direction away from the claw portion 205 (separation direction) to widen the distance between the connection member 204 and the claw portion 205 .
  • the connecting member 204 By releasing the connecting member 204 after the DIN rail 201 is arranged between the connecting member 204 and the claw portion 205, the distance between the connecting member 204 and the claw portion 205 is reduced due to the force applied to the connecting member 204.
  • Rail 101 is fixed.
  • the configuration of the connecting member 204 is not limited to the above.
  • it may be configured to be detachable from the rear side (along the z-axis direction) by fitting or the like.
  • the claw portion 205 may be biased toward the connecting member 204 by a spring or the like, or both the connecting member 204 and the claw portion 205 may be biased toward the other direction by a spring or the like. structure.
  • the back member 202 includes fins 209 and 210 for radiating heat inside the electronic device housing 200 .
  • fins 209 and 210 are provided on both sides (top and bottom) in the x-axis direction with the DIN rail 201 interposed therebetween.
  • the fins 210 are arranged in seven rows, and the fins 209 are arranged in two rows.
  • a slit portion is formed between the fins 209, and the heat transfer member 206 protrudes from the slit portion to constitute a part of the fins.
  • the shapes of the fins 209 and 210 are not limited to those shown in FIG.
  • FIG. 9 is an external perspective view showing a state in which the DIN rail 201 is removed from the electronic equipment housing 200 shown in FIG.
  • the heat transfer member 206 has claw portions 207 and contact portions 208 .
  • the claw portion 207 has a claw-shaped portion that contacts the DIN rail 201 .
  • the contact portion 208 has an arch-shaped portion for contacting the concave portion of the DIN rail 201 .
  • the heat transfer member 206, the claw portion 207, and the contact portion 208 are all made of a highly heat-conductive material such as metal, but they do not need to be made of the same material.
  • FIG. 10 is a diagram showing a cross section of the electronic device housing 200 in the x-axis direction. An outline of the inside of the electronic device housing 200 will be described with reference to FIG. 10 .
  • An electronic device serving as a heat source is provided inside the electronic device housing 200 .
  • the SoC 212 will be described as an example of the electronic device.
  • the SoC 212 is installed on the substrate 214 of the electronic device housing 200 .
  • the electronic device housing 200 may further include an installation member for installing the substrate 214 therein.
  • the heat transfer member 206 is installed so as to extend inside the electronic device housing 200 . Also, the heat transfer member 206 is configured to cover the entire surface of the SoC 212 . The heat transfer member 206 and the SoC 212 are configured to contact via the high heat transfer member 211 .
  • the high heat conductive member 211 is composed of, for example, a high heat conductive elastic material and configured in a sheet shape.
  • the heat transfer member 206 and the SoC 212 are in indirect contact via the high heat transfer member 211 is shown, but the configuration is not limited to this.
  • the heat transfer member 206 and the SoC 212 may be in direct contact with each other.
  • the heat transfer member 206 and the substrate 214 are fixed and installed by screw parts 213 .
  • the threaded part 213 may also be made of a material with high heat conductivity.
  • the component for fixing the heat transfer member 206 and the substrate 214 is not limited to a screw shape, and for example, a claw-shaped member, a spring, or the like may be used.
  • FIG. 11 is an external perspective view of the heat transfer member 206 according to this embodiment.
  • the heat transfer member 206 includes a contact surface portion 220 configured to cover the SoC 212 and a back surface portion 221 provided to configure a portion of the back surface member 202 .
  • the contact surface portion 220 and the back surface portion 221 are connected so as to be perpendicular.
  • the contact surface portion 220 has a fin portion 220a.
  • the fin portion 220a constitutes a part of the fin by protruding from a slit portion provided in the back member 202.
  • the contact surface portion 220 also includes one or more holes 222 for installing the screw fittings 213 . Although two holes 222 are shown here, the number of holes 222 is not particularly limited, and may be provided according to the size of the electronic device housing 200 and the like.
  • a claw portion 207 and a contact portion 208 are provided on the back portion 221 .
  • the claw portion 207 and the contact portion 208 are arranged to be in contact with the DIN rail 201 , and by contacting the DIN rail 201 , serve as heat conduction paths to the DIN rail 201 .
  • the claw portion 207 and the contact portion 208 may be configured to have elasticity so as to be capable of constant shape change in a predetermined direction.
  • FIG. 12 is a diagram showing an example of a conventional configuration as a comparative example for this embodiment.
  • a state in which a DIN rail 1201 is connected to an electronic equipment housing 1203 is shown.
  • the DIN rail 1201 is connected to and installed on the electronic equipment housing 1203 by means of claws 1202 and connecting members 1204 .
  • the connecting member 1204 will be described as being configured to be biased toward the opposing claw portion 1202 .
  • the surface of the claw portion 1202 and the connection member 1204 on the housing side is parallel (or substantially parallel) to the rear surface of the housing. Therefore, the direction in which the major forces of the claw portion 1202 and the connecting member 1204 are applied is the direction indicated by the arrow.
  • FIG. 13 is a diagram showing a configuration example according to the second embodiment.
  • the DIN rail 201 is fixed to the rear surface member 202 of the electronic device housing 200 by the claw portion 205 and the connection member 204 and installed.
  • the bottom surface 201b of the concave portion of the DIN rail 201 and the contact portion 208 are installed so as to be in contact with each other.
  • the claw portion 205 and the connecting member 204 have a tapered cross-sectional shape. In other words, the surface of the claw portion 205 and the connection member 204 on the side of the housing is formed at a constant angle (inclination) with respect to the rear surface of the housing.
  • the direction of the force exerted by the biased connecting member 204 is changed as indicated by the arrow in FIG.
  • part of the force in the width direction (x-axis direction) of the DIN rail 201 is converted and added in the direction of the back member 202.
  • force is applied to the DIN rail 201 also in the direction of the back member 202, and the DIN rail 201 is pressed against the electronic equipment housing 200 more strongly than in the configuration of FIG.
  • connection member 204 has a configuration example in which both the back member 202 side (right side in the drawing) and the opposite side (left side in the drawing) are inclined. It is not limited to this. At least, the back member 202 side (the right side in the drawing) should be provided with a certain inclination. Also, the degree of inclination is not particularly limited, and may be defined according to the size of the electronic device housing 200, the structure of the DIN rail 201, and the like.
  • the tapered shape is provided in both the claw portion 205 and the connecting member 204, it is not limited to this.
  • only one of the claw portion 205 and the connecting member 204 may be provided, or the degree of inclination may be different for each.
  • FIG. 14 and 15 are diagrams for explaining heat conduction in the electronic device housing 200 according to the present embodiment.
  • arrows indicate heat conduction.
  • heat is generated as the SoC 212 operates.
  • the heat generated by the SoC 212 is first conducted in the direction of the substrate 214 and the direction of the high thermal conductivity member 211 and the heat transfer member 206 .
  • high thermal conductivity member 211 and heat transfer member 206 are each made of a material with high thermal conductivity, and thus have high thermal conductivity.
  • the substrate or the like on which the SoC 212 is configured is generally made of resin or the like, and thus has low thermal conductivity.
  • the heat conducted to the heat transfer member 206 is further conducted to the back member 202 (on the side of the DIN rail 201) of the electronic device housing 200 and released to the outside. At this time, the heat is conducted to the entire back member 202 and radiated by the fins 209 and 210 .
  • FIG. 15 shows heat conduction around the DIN rail 201.
  • the DIN rail 201 is in stronger contact with the back member 202 than in the prior art, so the efficiency of heat conduction is improved. Furthermore, heat is also conducted to the DIN rail 201 via the claw portion 207 and the contact portion 208 made of a material with high thermal conductivity. Then, heat is dissipated via the DIN rail 201 .
  • the configuration in which the heat transfer member 206 includes the claw portion 207 and the contact portion 208 may include only one of them.
  • the contact portion 208 is formed in two arch shapes and is configured to contact the bottom surface 201b of the DIN rail 201 at two locations, but the configuration is not limited to this. For example, it may be constructed in a single arch shape and may be in contact with the entire bottom surface 201 b of the DIN rail 201 .
  • the electronic device housing 200 includes the main body portion 203 that houses the electronic device that generates heat when driven, is provided on the back side of the main body portion 203, and is connected to the DIN rail 201 by the connection member 204.
  • the connection member 204 is configured in such a shape as to press the DIN rail 201 against the back member 202 when the DIN rail 201 is connected.
  • the heat inside the electronic device housing can be efficiently conducted to the DIN rail 201, and the temperature rise inside the electronic device housing can be suppressed. Then, it is possible to suppress the temperature rise of a high-heat-generating device such as SoC, and to suppress the junction temperature from exceeding the allowable junction temperature.
  • the heat generated inside the electronic device housing can be efficiently conducted directly to the DIN rail 201 via the high thermal conductivity member 211 and the heat transfer member 206, the heat inside the electronic device housing can be reduced. Convection can be suppressed. Therefore, it is possible to suppress the formation of ventilation holes for discharging the heat trapped inside the electronic device housing, for example, in the side wall portion of the electronic device housing.
  • the fins can be installed in the space on the back side of the housing for electronic equipment without waste, it is possible to dissipate heat more efficiently and reduce the volume of heat dissipated into the housing.
  • the contact force can be stabilized, and the cooling effect can be stabilized.
  • the contact portion 208 is configured to contact the bottom surface 201b of the DIN rail 201, the contact area can be increased, the amount of heat transferred can be increased, and the cooling effect can be improved.
  • connection member 204 has a tapered shape in which the surface that contacts the DIN rail 201 is inclined with respect to the back surface of the back surface member 202 .
  • the contact of the DIN rail with the back surface of the back member can be strengthened, and heat can be conducted more efficiently.
  • the rear member 202 has a claw portion 205 for connecting the DIN rail member arranged to face the connection member 204 with the DIN rail 201 interposed therebetween.
  • the contact surface is tapered with respect to the back surface of the back member 202 .
  • the contact area of the DIN rail with the back surface of the back member can be increased, and heat can be conducted more efficiently.
  • At least one of the connecting member 204 and the claw portion 205 can move forward and backward along the other direction and is biased toward the other side.
  • the DIN rail when the DIN rail is attached, the biasing force applied to at least one of the connection member 204 and the claw portion 205 is converted into a force that presses the DIN rail in the rearward direction. be. Therefore, the DIN rail can be reliably brought into contact with the back member with a stronger force, and the contact can stabilize the cooling effect.
  • a heat transfer member 206 is arranged extending inside the main body 203 so as to face and directly or indirectly contact the surface of the electronic device such as the SoC 212, and the heat transfer member 206 is , is made of a material having a higher thermal conductivity than the member for installing the electronic device, and is configured to come into contact with the DIN rail 201 .
  • the heat inside the electronic device housing can be efficiently conducted to the DIN rail 201, and the temperature rise inside the electronic device housing can be suppressed.
  • the heat transfer member 206 has a claw portion 207 that contacts the DIN rail 201 .
  • the electronic device housing can efficiently conduct heat generated by the electronic device to the DIN rail.
  • the heat transfer member 206 also has a contact portion 208 that contacts the bottom surface of the concave portion of the DIN rail 201 .
  • the electronic device housing can efficiently conduct heat generated by the electronic device to the DIN rail.
  • the heat transfer member 206 is configured to cover the entire surface of the electronic device.
  • the electronic device housing can efficiently conduct heat generated by the electronic device to the heat transfer member 206 .
  • part of the heat transfer member 206 constitutes part of the fins provided on the back member 202 .
  • the electronic device housing can efficiently conduct the heat generated by the electronic device to the outside.
  • the heat transfer member 206 has the claw portion 207 and the contact portion 208 made of a material having high thermal conductivity.
  • Such claw portions and connecting portions may be configured such that the back member 102 shown in the first embodiment is provided. With such a configuration, heat is efficiently conducted from the back member 102, which is made of a material with high thermal conductivity, to the DIN rail through the claws and contact portions, which are made of a material with high thermal conductivity. It is possible to In this case, the claw portions, the contact portions, and the back member 102 are all made of a material with high thermal conductivity, but they do not have to be made of the same material.
  • the heat transfer member 206 is configured with a material having high thermal conductivity.
  • the back member 202 may be constructed of a material having high thermal conductivity. With such a configuration, it is possible to efficiently dissipate heat from the back member 202 made of a material with high thermal conductivity and further through the fins 209 and 210 .
  • the heat transfer member 206 and the back member 202 are both made of a material with high thermal conductivity, but they do not have to be made of the same material.
  • the present disclosure is useful as an electronic device housing capable of efficiently conducting heat generated inside the electronic device housing to the outside and suppressing temperature rise inside the electronic device housing.

Landscapes

  • Engineering & Computer Science (AREA)
  • Microelectronics & Electronic Packaging (AREA)
  • Physics & Mathematics (AREA)
  • Thermal Sciences (AREA)
  • Cooling Or The Like Of Electrical Apparatus (AREA)
  • Casings For Electric Apparatus (AREA)
PCT/JP2021/048724 2021-03-23 2021-12-27 電子機器用筐体 Ceased WO2022201723A1 (ja)

Applications Claiming Priority (2)

Application Number Priority Date Filing Date Title
JP2021048761A JP2022147499A (ja) 2021-03-23 2021-03-23 電子機器用筐体
JP2021-048761 2021-03-23

Publications (1)

Publication Number Publication Date
WO2022201723A1 true WO2022201723A1 (ja) 2022-09-29

Family

ID=83396744

Family Applications (1)

Application Number Title Priority Date Filing Date
PCT/JP2021/048724 Ceased WO2022201723A1 (ja) 2021-03-23 2021-12-27 電子機器用筐体

Country Status (2)

Country Link
JP (1) JP2022147499A (enExample)
WO (1) WO2022201723A1 (enExample)

Citations (8)

* Cited by examiner, † Cited by third party
Publication number Priority date Publication date Assignee Title
JPS6030587U (ja) * 1983-08-09 1985-03-01 和泉電気株式会社 電気機器の取付装置
JPH01137594U (enExample) * 1988-03-14 1989-09-20
JPH0631187U (ja) * 1992-09-28 1994-04-22 横河電機株式会社 電子機器のレール取付装置
JPH09162574A (ja) * 1995-12-08 1997-06-20 Keyence Corp 電子機器ユニットおよび電子機器
JPH11224993A (ja) * 1998-02-05 1999-08-17 Omron Corp 電気機器
JP2006253531A (ja) * 2005-03-14 2006-09-21 Cosel Co Ltd 電気機器取付装置
WO2015102560A1 (en) * 2013-12-30 2015-07-09 Schneider Electric USA, Inc. Method and apparatus for increasing heat dissipation capacity of a din rail mounted enclosure
US20200413564A1 (en) * 2018-03-05 2020-12-31 Sew-Eurodrive Gmbh & Co. Kg Electrical appliance arrangement having an electrical appliance which can be fastened to a support element, in particular a wall

Patent Citations (8)

* Cited by examiner, † Cited by third party
Publication number Priority date Publication date Assignee Title
JPS6030587U (ja) * 1983-08-09 1985-03-01 和泉電気株式会社 電気機器の取付装置
JPH01137594U (enExample) * 1988-03-14 1989-09-20
JPH0631187U (ja) * 1992-09-28 1994-04-22 横河電機株式会社 電子機器のレール取付装置
JPH09162574A (ja) * 1995-12-08 1997-06-20 Keyence Corp 電子機器ユニットおよび電子機器
JPH11224993A (ja) * 1998-02-05 1999-08-17 Omron Corp 電気機器
JP2006253531A (ja) * 2005-03-14 2006-09-21 Cosel Co Ltd 電気機器取付装置
WO2015102560A1 (en) * 2013-12-30 2015-07-09 Schneider Electric USA, Inc. Method and apparatus for increasing heat dissipation capacity of a din rail mounted enclosure
US20200413564A1 (en) * 2018-03-05 2020-12-31 Sew-Eurodrive Gmbh & Co. Kg Electrical appliance arrangement having an electrical appliance which can be fastened to a support element, in particular a wall

Also Published As

Publication number Publication date
JP2022147499A (ja) 2022-10-06

Similar Documents

Publication Publication Date Title
JP5082970B2 (ja) 回路基板装置
JP6655824B2 (ja) 撮像装置
JP6500450B2 (ja) 放熱方法及び放熱装置
JP2012023329A (ja) 基板ユニット及び電子装置
JP2011066399A (ja) 放熱装置
JP6619491B2 (ja) 電子機器
CN111279807A (zh) 电子控制装置
CN201115228Y (zh) 一体成型的散热壳体结构
CN104010474B (zh) 具备包含散热器的冷却构造部的伺服放大器
US10790215B1 (en) Heat dissipation device
JP2010103370A (ja) 電子制御装置
CN101516170B (zh) 散热装置
WO2022270145A1 (ja) 電子機器用筐体
WO2022201715A1 (ja) 電子機器用筐体
JP5640616B2 (ja) 電子部品の放熱構造
WO2022201723A1 (ja) 電子機器用筐体
JP4796873B2 (ja) 放熱装置
JP6892756B2 (ja) 放熱構造体
JP5321182B2 (ja) ヒートシンク付き基板及び筐体
JP5260044B2 (ja) 密閉型電子機器
JP3748733B2 (ja) 電子機器の放熱装置
JP2018096613A (ja) 放熱構造及び電子機器
JP2016131218A (ja) 放熱装置
JP2023043582A (ja) 電子機器および組み立て方法
CN114615856A (zh) 散热板

Legal Events

Date Code Title Description
121 Ep: the epo has been informed by wipo that ep was designated in this application

Ref document number: 21933313

Country of ref document: EP

Kind code of ref document: A1

NENP Non-entry into the national phase

Ref country code: DE

122 Ep: pct application non-entry in european phase

Ref document number: 21933313

Country of ref document: EP

Kind code of ref document: A1