WO2021070634A1 - 内視鏡及び内視鏡装置 - Google Patents

内視鏡及び内視鏡装置 Download PDF

Info

Publication number
WO2021070634A1
WO2021070634A1 PCT/JP2020/036292 JP2020036292W WO2021070634A1 WO 2021070634 A1 WO2021070634 A1 WO 2021070634A1 JP 2020036292 W JP2020036292 W JP 2020036292W WO 2021070634 A1 WO2021070634 A1 WO 2021070634A1
Authority
WO
WIPO (PCT)
Prior art keywords
light
output unit
distribution lens
illumination
guide fiber
Prior art date
Legal status (The legal status is an assumption and is not a legal conclusion. Google has not performed a legal analysis and makes no representation as to the accuracy of the status listed.)
Ceased
Application number
PCT/JP2020/036292
Other languages
English (en)
French (fr)
Japanese (ja)
Inventor
俊貴 渡辺
義之 新島
Current Assignee (The listed assignees may be inaccurate. Google has not performed a legal analysis and makes no representation or warranty as to the accuracy of the list.)
Hoya Corp
Original Assignee
Hoya Corp
Priority date (The priority date is an assumption and is not a legal conclusion. Google has not performed a legal analysis and makes no representation as to the accuracy of the date listed.)
Filing date
Publication date
Application filed by Hoya Corp filed Critical Hoya Corp
Priority to US17/615,728 priority Critical patent/US20220240768A1/en
Priority to DE112020004901.9T priority patent/DE112020004901T5/de
Priority to CN202080032595.2A priority patent/CN113766867B/zh
Publication of WO2021070634A1 publication Critical patent/WO2021070634A1/ja
Anticipated expiration legal-status Critical
Ceased legal-status Critical Current

Links

Images

Classifications

    • AHUMAN NECESSITIES
    • A61MEDICAL OR VETERINARY SCIENCE; HYGIENE
    • A61BDIAGNOSIS; SURGERY; IDENTIFICATION
    • A61B1/00Instruments for performing medical examinations of the interior of cavities or tubes of the body by visual or photographical inspection, e.g. endoscopes; Illuminating arrangements therefor
    • A61B1/06Instruments for performing medical examinations of the interior of cavities or tubes of the body by visual or photographical inspection, e.g. endoscopes; Illuminating arrangements therefor with illuminating arrangements
    • A61B1/0661Endoscope light sources
    • A61B1/0676Endoscope light sources at distal tip of an endoscope
    • AHUMAN NECESSITIES
    • A61MEDICAL OR VETERINARY SCIENCE; HYGIENE
    • A61BDIAGNOSIS; SURGERY; IDENTIFICATION
    • A61B1/00Instruments for performing medical examinations of the interior of cavities or tubes of the body by visual or photographical inspection, e.g. endoscopes; Illuminating arrangements therefor
    • A61B1/06Instruments for performing medical examinations of the interior of cavities or tubes of the body by visual or photographical inspection, e.g. endoscopes; Illuminating arrangements therefor with illuminating arrangements
    • A61B1/0661Endoscope light sources
    • A61B1/0669Endoscope light sources at proximal end of an endoscope
    • AHUMAN NECESSITIES
    • A61MEDICAL OR VETERINARY SCIENCE; HYGIENE
    • A61BDIAGNOSIS; SURGERY; IDENTIFICATION
    • A61B1/00Instruments for performing medical examinations of the interior of cavities or tubes of the body by visual or photographical inspection, e.g. endoscopes; Illuminating arrangements therefor
    • A61B1/00002Operational features of endoscopes
    • A61B1/00043Operational features of endoscopes provided with output arrangements
    • A61B1/00045Display arrangement
    • A61B1/0005Display arrangement combining images e.g. side-by-side, superimposed or tiled
    • AHUMAN NECESSITIES
    • A61MEDICAL OR VETERINARY SCIENCE; HYGIENE
    • A61BDIAGNOSIS; SURGERY; IDENTIFICATION
    • A61B1/00Instruments for performing medical examinations of the interior of cavities or tubes of the body by visual or photographical inspection, e.g. endoscopes; Illuminating arrangements therefor
    • A61B1/00064Constructional details of the endoscope body
    • A61B1/00071Insertion part of the endoscope body
    • A61B1/0008Insertion part of the endoscope body characterised by distal tip features
    • A61B1/00096Optical elements
    • AHUMAN NECESSITIES
    • A61MEDICAL OR VETERINARY SCIENCE; HYGIENE
    • A61BDIAGNOSIS; SURGERY; IDENTIFICATION
    • A61B1/00Instruments for performing medical examinations of the interior of cavities or tubes of the body by visual or photographical inspection, e.g. endoscopes; Illuminating arrangements therefor
    • A61B1/04Instruments for performing medical examinations of the interior of cavities or tubes of the body by visual or photographical inspection, e.g. endoscopes; Illuminating arrangements therefor combined with photographic or television appliances
    • AHUMAN NECESSITIES
    • A61MEDICAL OR VETERINARY SCIENCE; HYGIENE
    • A61BDIAGNOSIS; SURGERY; IDENTIFICATION
    • A61B1/00Instruments for performing medical examinations of the interior of cavities or tubes of the body by visual or photographical inspection, e.g. endoscopes; Illuminating arrangements therefor
    • A61B1/04Instruments for performing medical examinations of the interior of cavities or tubes of the body by visual or photographical inspection, e.g. endoscopes; Illuminating arrangements therefor combined with photographic or television appliances
    • A61B1/05Instruments for performing medical examinations of the interior of cavities or tubes of the body by visual or photographical inspection, e.g. endoscopes; Illuminating arrangements therefor combined with photographic or television appliances characterised by the image sensor, e.g. camera, being in the distal end portion
    • AHUMAN NECESSITIES
    • A61MEDICAL OR VETERINARY SCIENCE; HYGIENE
    • A61BDIAGNOSIS; SURGERY; IDENTIFICATION
    • A61B1/00Instruments for performing medical examinations of the interior of cavities or tubes of the body by visual or photographical inspection, e.g. endoscopes; Illuminating arrangements therefor
    • A61B1/06Instruments for performing medical examinations of the interior of cavities or tubes of the body by visual or photographical inspection, e.g. endoscopes; Illuminating arrangements therefor with illuminating arrangements
    • A61B1/0607Instruments for performing medical examinations of the interior of cavities or tubes of the body by visual or photographical inspection, e.g. endoscopes; Illuminating arrangements therefor with illuminating arrangements for annular illumination
    • AHUMAN NECESSITIES
    • A61MEDICAL OR VETERINARY SCIENCE; HYGIENE
    • A61BDIAGNOSIS; SURGERY; IDENTIFICATION
    • A61B1/00Instruments for performing medical examinations of the interior of cavities or tubes of the body by visual or photographical inspection, e.g. endoscopes; Illuminating arrangements therefor
    • A61B1/06Instruments for performing medical examinations of the interior of cavities or tubes of the body by visual or photographical inspection, e.g. endoscopes; Illuminating arrangements therefor with illuminating arrangements
    • A61B1/0623Instruments for performing medical examinations of the interior of cavities or tubes of the body by visual or photographical inspection, e.g. endoscopes; Illuminating arrangements therefor with illuminating arrangements for off-axis illumination
    • AHUMAN NECESSITIES
    • A61MEDICAL OR VETERINARY SCIENCE; HYGIENE
    • A61BDIAGNOSIS; SURGERY; IDENTIFICATION
    • A61B1/00Instruments for performing medical examinations of the interior of cavities or tubes of the body by visual or photographical inspection, e.g. endoscopes; Illuminating arrangements therefor
    • A61B1/06Instruments for performing medical examinations of the interior of cavities or tubes of the body by visual or photographical inspection, e.g. endoscopes; Illuminating arrangements therefor with illuminating arrangements
    • A61B1/0625Instruments for performing medical examinations of the interior of cavities or tubes of the body by visual or photographical inspection, e.g. endoscopes; Illuminating arrangements therefor with illuminating arrangements for multiple fixed illumination angles
    • AHUMAN NECESSITIES
    • A61MEDICAL OR VETERINARY SCIENCE; HYGIENE
    • A61BDIAGNOSIS; SURGERY; IDENTIFICATION
    • A61B1/00Instruments for performing medical examinations of the interior of cavities or tubes of the body by visual or photographical inspection, e.g. endoscopes; Illuminating arrangements therefor
    • A61B1/06Instruments for performing medical examinations of the interior of cavities or tubes of the body by visual or photographical inspection, e.g. endoscopes; Illuminating arrangements therefor with illuminating arrangements
    • A61B1/0638Instruments for performing medical examinations of the interior of cavities or tubes of the body by visual or photographical inspection, e.g. endoscopes; Illuminating arrangements therefor with illuminating arrangements providing two or more wavelengths
    • AHUMAN NECESSITIES
    • A61MEDICAL OR VETERINARY SCIENCE; HYGIENE
    • A61BDIAGNOSIS; SURGERY; IDENTIFICATION
    • A61B1/00Instruments for performing medical examinations of the interior of cavities or tubes of the body by visual or photographical inspection, e.g. endoscopes; Illuminating arrangements therefor
    • A61B1/06Instruments for performing medical examinations of the interior of cavities or tubes of the body by visual or photographical inspection, e.g. endoscopes; Illuminating arrangements therefor with illuminating arrangements
    • A61B1/0646Instruments for performing medical examinations of the interior of cavities or tubes of the body by visual or photographical inspection, e.g. endoscopes; Illuminating arrangements therefor with illuminating arrangements with illumination filters
    • AHUMAN NECESSITIES
    • A61MEDICAL OR VETERINARY SCIENCE; HYGIENE
    • A61BDIAGNOSIS; SURGERY; IDENTIFICATION
    • A61B1/00Instruments for performing medical examinations of the interior of cavities or tubes of the body by visual or photographical inspection, e.g. endoscopes; Illuminating arrangements therefor
    • A61B1/06Instruments for performing medical examinations of the interior of cavities or tubes of the body by visual or photographical inspection, e.g. endoscopes; Illuminating arrangements therefor with illuminating arrangements
    • A61B1/0655Control therefor
    • AHUMAN NECESSITIES
    • A61MEDICAL OR VETERINARY SCIENCE; HYGIENE
    • A61BDIAGNOSIS; SURGERY; IDENTIFICATION
    • A61B1/00Instruments for performing medical examinations of the interior of cavities or tubes of the body by visual or photographical inspection, e.g. endoscopes; Illuminating arrangements therefor
    • A61B1/06Instruments for performing medical examinations of the interior of cavities or tubes of the body by visual or photographical inspection, e.g. endoscopes; Illuminating arrangements therefor with illuminating arrangements
    • A61B1/0661Endoscope light sources
    • AHUMAN NECESSITIES
    • A61MEDICAL OR VETERINARY SCIENCE; HYGIENE
    • A61BDIAGNOSIS; SURGERY; IDENTIFICATION
    • A61B1/00Instruments for performing medical examinations of the interior of cavities or tubes of the body by visual or photographical inspection, e.g. endoscopes; Illuminating arrangements therefor
    • A61B1/06Instruments for performing medical examinations of the interior of cavities or tubes of the body by visual or photographical inspection, e.g. endoscopes; Illuminating arrangements therefor with illuminating arrangements
    • A61B1/0661Endoscope light sources
    • A61B1/0684Endoscope light sources using light emitting diodes [LED]
    • AHUMAN NECESSITIES
    • A61MEDICAL OR VETERINARY SCIENCE; HYGIENE
    • A61BDIAGNOSIS; SURGERY; IDENTIFICATION
    • A61B1/00Instruments for performing medical examinations of the interior of cavities or tubes of the body by visual or photographical inspection, e.g. endoscopes; Illuminating arrangements therefor
    • A61B1/06Instruments for performing medical examinations of the interior of cavities or tubes of the body by visual or photographical inspection, e.g. endoscopes; Illuminating arrangements therefor with illuminating arrangements
    • A61B1/07Instruments for performing medical examinations of the interior of cavities or tubes of the body by visual or photographical inspection, e.g. endoscopes; Illuminating arrangements therefor with illuminating arrangements using light-conductive means, e.g. optical fibres
    • GPHYSICS
    • G02OPTICS
    • G02BOPTICAL ELEMENTS, SYSTEMS OR APPARATUS
    • G02B23/00Telescopes, e.g. binoculars; Periscopes; Instruments for viewing the inside of hollow bodies; Viewfinders; Optical aiming or sighting devices
    • G02B23/24Instruments or systems for viewing the inside of hollow bodies, e.g. fibrescopes
    • G02B23/26Instruments or systems for viewing the inside of hollow bodies, e.g. fibrescopes using light guides

Definitions

  • the present invention relates to an endoscope and an endoscope device.
  • An endoscope is a medical device that enables observation and treatment of a desired location by inserting it into the body cavity of a subject, and is an imaging unit incorporated in the tip of an insertion tube inserted into the body cavity. And an illumination device that illuminates the imaging field of the imaging unit.
  • Patent Document 1 discloses an endoscope that includes an illuminating device that realizes illumination in a wide angle range of 180 ° or more and enables observation in a wide viewing angle.
  • No. 2 discloses an endoscope device that acquires an image by alternately irradiating white light and narrow band light.
  • An object of the present disclosure is to provide an endoscope and an endoscope device capable of satisfactorily observing a wide viewing angle under illumination of white light and narrow band light.
  • the endoscope according to the present disclosure includes an imaging unit that is incorporated in the tip of an insertion tube and images an observation point through an observation window, and a first illumination that is arranged around the observation window and illuminates the observation point.
  • a first light output unit that outputs light and a second light that is arranged around the observation window and outputs a second illumination light that illuminates the observation point in an angle range larger than that of the first light output unit. It has an output unit.
  • first light emitting elements arranged side by side on the outside of the imaging unit
  • second light emitting elements arranged side by side on the outside of the parallel area of the first light emitting element
  • observation window A light distribution lens that is arranged around the light emitting element and covers a juxtaposed area of the first light emitting element and the second light emitting element is provided, and the first light output unit is the first light emitting element and the light distribution lens.
  • the second light output unit includes the second light emitting element and the light distribution lens.
  • a light guide fiber having a plurality of emission ends juxtaposed on the outside of the imaging unit, a light source that incidents light on the incident end of the light guide fiber, and juxtaposed outside the juxtaposed region of the emission end.
  • the light guide fiber is provided with a plurality of light emitting elements, and a light distribution lens arranged around the observation window and covering the emission end and the juxtaposed area of the light emitting element.
  • the second light output unit includes the light source and the light distribution lens, and the second light output unit includes the light emitting element and the light distribution lens.
  • a light guide fiber having an emission end outside the imaging unit, a first light source facing the incident end of the light guide fiber and incident light at the center of the incident end, and the light guide fiber.
  • a second light source that faces the incident end of the light and incidents light on the entire incident end, and a light distribution lens that covers the exit end of the light guide fiber, and the first light output unit is the light.
  • the guide fiber, the first light source, and the light distribution lens are included, and the second light output unit includes the light guide fiber, the second light source, and the light distribution lens.
  • the angle range of the second illumination light by the second light output unit is equal to or larger than the viewing angle of the imaging unit.
  • the imaging unit has a viewing angle of 180 ° or more.
  • the first illumination light is narrow band light
  • the second illumination light is white light
  • the endoscope device is incorporated in a tip end portion of an insertion tube, an imaging unit that images an observation point through an observation window, and a first illumination that is arranged around the observation window and illuminates the observation point.
  • a first light output unit that outputs light and a second light that is arranged around the observation window and outputs a second illumination light that illuminates the observation point in an angle range larger than that of the first light output unit.
  • the endoscope includes an output unit, and an image processing unit that outputs an image captured by the imaging unit under illumination by the first light output unit or the second light output unit by masking the peripheral portion.
  • the images captured under illumination by the first light output unit or the images captured under illumination by the second light output unit are alternately acquired and displayed side by side.
  • FIG. 1 It is an external view of an endoscope. It is an enlarged view of the tip part of an intubation tube. It is a top view which shows the arrangement example of the 1st LED and 2nd LED. It is a block diagram of an endoscope device. It is explanatory drawing which shows the flow of the imaging process. It is explanatory drawing which shows the flow of the imaging process. It is explanatory drawing which shows the flow of the imaging process. It is explanatory drawing which shows the flow of the imaging process. It is an enlarged view of the tip part of the insertion tube of the endoscope which concerns on Embodiment 2.
  • FIG. It is a top view which shows the arrangement example of the optical fiber bundle and LED. It is an enlarged view of the tip part of the insertion tube of the endoscope which concerns on Embodiment 3.
  • FIG. It is a schematic diagram which shows the structural example of the light source part. It is a schematic diagram which shows the structural example of the light source part which concerns on Embodiment 4.
  • FIG. 1 is an external view of the endoscope.
  • the endoscope 1 includes an intubation tube 2, an operation unit 3, a universal tube 4, and a connector unit 5.
  • the insertion tube 2 is a portion to be inserted into the body cavity, and includes a long soft portion 20 and a tip portion 22 connected to one end of the soft portion 20 via a curved portion 21.
  • the other end of the flexible portion 20 is connected to the operating portion 3 via a cylindrical connecting portion 23.
  • One end of the universal tube 4 is connected to the operation portion 3 and extends in a direction different from that of the insertion tube 2, and the connector portion 5 is continuously provided at the other end of the universal tube 4.
  • the operation unit 3 is provided for being gripped by the user to perform various operations, and includes a curved operation knob 30, a plurality of operation buttons 31, and the like.
  • the bending operation knob 30 is connected to the bending portion 21 by a wire (not shown) passed through the inside of the connecting portion 23 and the flexible portion 20.
  • the curved portion 21 is curved in two directions orthogonal to each other in the axial cross section by the operation of the curved operation knob 30, and the direction of the tip portion 22 inserted into the body cavity is changed.
  • FIG. 2 is an enlarged view of the tip portion 22 of the insertion tube 2, and is shown by breaking the main portion.
  • the tip portion 22 includes a tubular housing 24 whose one side is fixed to the curved portion 21.
  • the other side of the housing 24 is covered by a central observation window 25 and an annular light distribution lens 26 surrounding the observation window 25.
  • an image pickup unit 6 is incorporated so as to face the inside of the observation window 25, and an illumination unit 7 is incorporated so as to face the inside of the light distribution lens 26.
  • the image pickup unit 6 includes an image pickup element such as CMOS (Complementary Metal Oxide Semiconductor) and an optical system for forming an image on the image pickup surface of the image pickup element, and images the inside of the body cavity through the observation window 25.
  • the observation window 25 is a wide-angle objective lens, and the imaging unit 6 is configured to enable imaging at a viewing angle of 180 ° or more by setting an optical system including the observation window 25.
  • the two-dot chain line in FIG. 2 indicates the imaging field of view of the imaging unit 6.
  • the illumination unit 7 includes an annular substrate 70 that surrounds the image pickup unit 6 and a first LED 71 and a second LED 72 mounted on one surface of the substrate 70 that faces the light distribution lens 26.
  • FIG. 3 is a plan view showing an arrangement example of the first LED 71 and the second LED 72.
  • a plurality of the first LED 71 and the second LED 72 (8 in the figure) are provided, respectively, and the first LED 71 is substantially formed on the inner peripheral side (the side closer to the image pickup unit 6) of the annular substrate 70.
  • the second LEDs 72 are arranged at intervals, and the second LEDs 72 are arranged at substantially equal intervals outside the parallel area of the first LED 71.
  • the positions of the imaging unit 6 and the observation window 25 are indicated by a two-dot chain line.
  • the lower half of FIG. 2 shows the cross section at the arrangement position of the first LED 71
  • the upper half of FIG. 2 shows the cross section at the arrangement position of the second LED 72.
  • the light distribution lens 26 is a tubular lens that extends outward from the peripheral edge of the observation window 25 and has a shape that is continuous with the peripheral wall of the housing 24 through a curved portion, and the light emission of the first LED 71 or the second LED 72 is emitted. , Is emitted through the light distribution lens 26 and illuminates the imaging field of view of the imaging unit 6.
  • the broken line in FIG. 2 indicates the light distribution range of the first LED 71 and the second LED 72.
  • the light emitted from the first LED 71 located inside is incident on the widened portion of the light distribution lens 26, and is concentrated and distributed in the central portion of the imaging field of view of the imaging unit 6.
  • the light emitted from the second LED 72 located on the outside is incident on a wide range from the widened portion to the curved portion of the light distribution lens 26 and spreads widely, and is distributed over the entire image pickup field of view of the image pickup unit 6.
  • the inner surface of the light distribution lens 26 is provided with a recess in the vicinity of the curved portion.
  • the light distribution of the second LED 72 is irradiated in a wider range than the light distribution of the first LED 71.
  • the light irradiation range of the second LED 72 is wider than the light irradiation range of the first LED 71.
  • the first LED 71 emits narrow band light including a purple and green wavelength range.
  • four of the eight first LEDs 71 which are located every other one, are green LED chips that emit green light, and the remaining four are purple LED chips that emit ultraviolet light.
  • the eight first LEDs 71 and the light distribution lens 26 constitute a first light output unit that outputs narrow-band light.
  • the second LED 72 is a white LED that emits white light, and is configured by, for example, covering the light emitting surface of a blue LED chip that emits blue light with a yellow phosphor.
  • the second LED 72 and the light distribution lens 26 constitute a second light output unit that outputs white light.
  • the first and second LEDs 71 and 72 may be other light emitting elements such as LD.
  • the imaging by the imaging unit 6 is performed under illumination by narrow band light output from the first light output unit or white light output from the second light output unit.
  • the light distribution angle of the white light is larger than the light distribution angle of the narrow band light, preferably substantially equal to the viewing angle of the imaging unit 6, and more preferably equal to or greater than the viewing angle of the imaging unit 6, and a sufficient amount of light is provided in the entire field of view. Imaging underneath is possible.
  • the spectrum of narrow-band light is limited, since the light distribution angle of narrow-band light is smaller than the light distribution angle of white light, it is possible to image under the same amount of light as white light within the light distribution range.
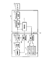
  • FIG. 4 is a block diagram of the endoscope device.
  • the endoscope 1 is connected to the processor device 10 via the connector portion 5 and is used as an endoscope device.
  • the processor device 10 includes a control unit 11, a signal processing circuit 12, an additional processing circuit 13, and the like.
  • the control unit 11 includes a CPU, a ROM, and a RAM, and integrally controls the endoscope device by the operation of the CPU according to the control program stored in the ROM.
  • the endoscope 1 includes an image pickup drive unit 60 that drives the image pickup unit 6 and an illumination drive unit 76 that drives the illumination unit 7.
  • the image pickup drive unit 60 drives the image pickup unit 6 in a rolling shutter manner in accordance with a control command given from the control unit 11.
  • the output signal of the image pickup drive unit 60 is given to the gain circuit 62 in units of one frame via the reception circuit 61, performs predetermined preprocessing such as white balance processing, and outputs an image signal to the signal processing circuit 12 of the processor device 10. Will be done.
  • the gain value given by the image pickup drive unit 60 is used for the preprocessing of the gain circuit 62.
  • the lighting drive unit 76 drives the lighting unit 7 according to a control command given from the control unit 11, and causes the first LED 71 and the second LED 72 to emit light selectively or alternately.
  • the image pickup operation of the image pickup unit 6 is executed in synchronization with the drive of the illumination unit 7, and the signal processing circuit 12 is illuminated by the narrow band light by the first LED 71 or the white light by the second LED 72.
  • the image output obtained in is continuously or alternately input.
  • the operation mode of the lighting unit 7 can be selected by operating the operation button 31 provided on the operation unit 3.
  • the signal processing circuit 12 performs image processing such as gamma correction and interpolation processing on the input image and outputs the input image to the additional processing circuit 13.
  • the additional processing circuit 13 performs mask processing on the peripheral portion, zoom processing on the image under narrow band light, and further superimposes various characters and images to obtain an image conforming to a predetermined standard. It is converted and output to the external monitor 14. In the image under narrow band light, the area to be masked may be expanded to perform the zoom process.
  • the monitor 14 is a display device such as a liquid crystal display or an organic EL display, and displays an image captured by the imaging unit 6 based on an image signal output from the processor device 10. The user of the endoscope 1 can observe a desired portion in the body cavity under the illumination of narrow band light or white light by the display of the monitor 14.
  • FIG. 5 to 7 are explanatory views showing the flow of the imaging process
  • FIG. 5 is a flow under a single illumination environment with white light
  • FIG. 6 is a flow under a single illumination environment with narrow band light
  • FIG. 7 shows the flow of alternating illumination by white light and narrow band light in an environment, respectively.
  • the image output is given to the processor device 10 in 1-frame units by the CMOS exposure of the imaging unit 6, and the above-described processing is performed. Then, it is output to the monitor 14. Since the white light illuminates an angle range larger than the viewing angle of the imaging unit 6, an image with a sufficient amount of light can be obtained over the entire surface under white light, and this image is masked to obtain a peripheral portion (black). The painted portion) is displayed on the monitor 14 as a masked image.
  • the image output under the narrow band light is expanded by zooming the central portion surrounded by the broken line, and further by masking the peripheral portion (the peripheral portion ().
  • the black-painted portion) is displayed on the monitor 14 as a masked image.
  • the imaging unit 6 has an optical zoom function, the zoom process can be omitted by using this function.
  • Narrow-band light is light that includes a purple or green wavelength range, and under narrow-band light, an image in which the capillaries and microstructure patterns on the surface layer of the tissue in the body cavity are emphasized can be obtained.
  • the capillaries shown by the broken lines in FIG. 5 are shown by solid lines.
  • the narrow-band light is not limited to light including a purple or green wavelength range, and may be a combination of light in another wavelength range and light in a plurality of types of wavelength ranges.
  • the user of the endoscope 1 can roughly observe the inside of the body cavity with a wide-angle display image under white light, and switch to a display image under narrow-band light at a desired location such as a lesion in detail. You can make an observation.
  • the switching of the display image can be realized by selecting the operation mode of the illumination unit 7 by operating the operation button 31 provided on the operation unit 3 as described above.
  • the CMOS exposure time of the imaging unit 6 is extended to 2 frames, and the white light and narrow band light are 1 within the exposure time. Lights up alternately at the frame length.
  • image output under white light and image output under narrow band light are alternately obtained, the former is subjected to mask processing, and the latter is sequentially output to the monitor 14 through zoom processing and mask processing. ..
  • images under white light and narrow band light are displayed side by side in the order of individual output.
  • the user of the endoscope 1 can observe both the captured image under white light and the captured image under narrow band light.
  • Alternate illumination of white light and narrow band light can be realized by selecting the operation mode of the illumination unit 7 by operating the operation button 31 provided on the operation unit 3.
  • FIG. 8 is an enlarged view of the tip of the insertion tube of the endoscope according to the second embodiment, and corresponds to FIG. 2 in the first embodiment.
  • the second embodiment is the same as that of the first embodiment except for the configuration of the lighting unit 7, and the corresponding components are designated by the same reference numerals as those in FIG. 2 and the description thereof will be omitted.
  • the illumination unit 7 is incorporated in the housing 24 facing the inside of the light distribution lens 26, and includes an optical fiber bundle 73 and an LED 74 arranged so as to surround the periphery of the image pickup unit 6.
  • FIG. 9 is a plan view showing an arrangement example of the optical fiber bundle 73 and the LED 74.
  • the imaging unit 6 and the observation window 25 are shown by a two-dot chain line.
  • the optical fiber bundles 73 have their respective tips (emission ends) facing the inside of the light distribution lens 26, and are arranged side by side on the concentric circumferences on the outside of the imaging unit 6 at substantially equal intervals.
  • the LED 74 is an optical fiber bundle.
  • the number of the optical fiber bundles 73 and the LEDs 74 arranged side by side in FIG. 9 is eight, but the number is not limited to this.
  • the optical fiber bundle 73 is configured by drawing out a plurality of optical fibers from the tip of the light guide fiber 75, which is formed by bundling a large number of optical fibers.
  • the light guide fiber 75 extends to the connector portion 5 through the inside of the insertion tube 2, the operation portion 3, and the universal tube 4, and the end (incident end) of the light guide fiber 75 has a narrow band inside the processor device 10. It faces the light source of light (not shown).
  • the light source can be configured by a combination of a filter and a high-intensity lamp that emits white light, such as a xenon lamp or a metal halide lamp. Further, the light source may be a light emitting element such as an LED.
  • narrow band light is emitted from the tip of the optical fiber bundle 73, is incident on the widened portion of the light distribution lens 26, and is concentrated and distributed in the central portion of the imaging field of view of the imaging unit 6.
  • the light distribution range of the narrow band light of the narrow band light is shown by a broken line.
  • the LEDs 74 arranged side by side on the outside of the optical fiber bundle 73 emit white light. This light emission is incident on a wide range from the widened portion to the curved portion of the light distribution lens 26 and spreads widely, and is distributed over the entire image pickup field of view of the image pickup unit 6. In the lower half of FIG. 8, the light distribution range of white light is shown by a broken line.
  • the optical fiber bundle 73 and the light distribution lens 26 form a first light output unit that outputs narrow band light
  • the LED 74 and the light distribution lens 26 output white light.
  • the unit is configured, and imaging under narrow band light and imaging under white light can be performed in the same manner as in the first embodiment. Since the narrow-band light is emitted from the tip of the optical fiber bundle 73 at a small spread angle, the light distribution range of the narrow-band light passing through the light distribution lens 26 is smaller than that of the first embodiment, and is within the light distribution range. A sufficient amount of light can be secured.
  • the LED 74 may be another light emitting element such as an LD.
  • FIG. 10 is an enlarged view of the tip of the insertion tube of the endoscope according to the third embodiment, and corresponds to FIG. 2 in the first embodiment and FIG. 8 in the second embodiment.
  • an observation window 25 is provided in the center on the other side of the housing 24 of the tip portion 22, and two light distribution lenses 26, 26 are provided on the outside of the observation window 25.
  • the light distribution lens 26 is a concave lens having an optical axis inclined outward. Inside the housing 24, the image pickup unit 6 faces the inside of the observation window 25, and the image pickup section 6 is incorporated, and the light guide fibers 75 constituting the illumination section 7 have their respective tips (emission ends). It is incorporated so as to face the inside of the light distribution lens 26.
  • the light guide fiber 75 is configured by bundling a large number of optical fibers and extends to the connector portion 5 through the inside of the insertion tube 2, the operation portion 3, and the universal tube 4, and is the end (incident end) of the light guide fiber 75. ) Faces the light source unit 8, which will be described later, inside the processor device 10 to which the connector unit 5 is connected.
  • FIG. 11 is a schematic diagram showing a configuration example of the light source unit 8.
  • the light source unit 8 shown in this figure includes a first light source 80 and a second light source 81.
  • the second light source 81 is a light source that emits white light, and faces the incident end of the light guide fiber 75 on the same optical axis.
  • a collimating lens 83, a half mirror 85, and a condenser lens 84 are arranged in this order on the optical axis between the second light source 81 and the light guide fiber 75.
  • the optical path of the white light emitted by the second light source 81 is shown by a two-dot chain line.
  • the white light becomes parallel light through the collimated lens 83, passes through the half mirror 85, is condensed by the condenser lens 84, and is incident on the entire incident end of the light guide fiber 75.
  • the first light source 80 is a light source that emits narrow-band light, has an optical axis orthogonal to the second light source 81 and the light guide fiber 75, and is arranged so as to face the half mirror 85 via a collimating lens 82. There is. In FIG. 11B, the optical path of the narrow band light emitted by the first light source 80 is shown by a two-dot chain line.
  • the half mirror 85 has a reflecting surface having an inclination angle of 45 ° with respect to the optical axis of the first light source 80, and the narrow band light becomes parallel light through the collimated lens 82 and is reflected by the half mirror 85. It reaches the condenser lens 84 and is incident on the central portion of the incident end of the light guide fiber 75.
  • the incident light as described above is guided by the light guide fiber 75, reaches the emission end, and is emitted through the light distribution lens 26. Since white light is emitted from the entire surface of the emission end, it is output at a large spread angle through the light distribution lens 26, whereas narrow band light is emitted from the central portion of the emission end, so that it is more than white light. Is also output with a small spread angle.
  • the upper half of FIG. 10 shows the light distribution range of white light, and the lower half of FIG. 10 shows the light distribution range of narrow band light with broken lines.
  • the first light output unit is composed of the first light source 80, the light guide fiber 75, and the light distribution lens 26, and the second light output is performed by the second light source 81, the light guide fiber 75, and the light distribution lens 26.
  • the part is composed. Imaging under narrow band light and imaging under white light can be performed in the same manner as in the first and second embodiments.
  • the first light source 80 and the second light source 81 are light emitting elements such as LEDs, or high-intensity lamps such as xenon lamps and metal halide lamps.
  • the first light source 80 may be a combination of a plurality of types of light sources that emit light having different wavelengths. In this case, a half mirror 85 corresponding to each light source may be arranged.
  • FIG. 12 is a schematic view showing a configuration example of the light source unit 8 according to the fourth embodiment.
  • the light source unit 8 shown in this figure includes a single light source 86.
  • the light source 86 faces the incident end of the light guide fiber 75 on the same optical axis and emits white light.
  • the collimating lens 83 and the condensing lens 84 are arranged side by side on the optical axis between the light source 88 and the light guide fiber 75.
  • the light source unit 8 further includes a condensing filter 87.
  • the condensing filter 87 is a combination of a filter and a lens that transmit light of a predetermined wavelength (purple light, green light, etc.), and is arranged so as to be able to be taken in and out on the optical axis between the collimating lens 83 and the condensing lens 84. It is done.
  • FIG. 12A shows the optical path when the condensing filter 87 is not arranged by a two-dot chain line.
  • the white light emitted by the light source 86 becomes parallel light through the collimated lens 83 and directly reaches the condenser lens 84, and is condensed by the condenser lens 84 at the incident end of the light guide fiber 75. It is incident on the whole.
  • FIG. 12B shows the optical path when the condensing filter 87 is arranged by a two-dot chain line.
  • the white light emitted by the light source 86 becomes parallel light through the collimating lens 83, becomes narrow band light in which the luminous flux is further narrowed through the condensing filter 87, reaches the condensing lens 84, and reaches the condensing lens 84.
  • the light is collected by the light guide fiber 75 and is incident on the central portion of the incident end of the light guide fiber 75.
  • the incident light is guided by the light guide fiber 75, reaches the emission end, and is emitted via the light distribution lens 26. Since white light is emitted from the entire surface of the emission end, it is output at a large spread angle through the light distribution lens 26, whereas narrow band light is emitted from the central portion of the emission end, so that it is more than white light. Is also output with a small spread angle.
  • the first light output unit is composed of the light source 86, the condensing filter 87, the light guide fiber 75 and the light distribution lens 26, and the second light is formed by the light source 86, the light guide fiber 75 and the light distribution lens 26.
  • the output unit is configured, and imaging under narrow band light and imaging under white light can be performed in the same manner as in the third embodiment.
  • the light source 86 may be a high-intensity lamp such as a xenon lamp or a metal halide lamp, or may be a light emitting element such as a white LED.
  • the light collecting filter 87 can be taken in and out by an appropriate actuator.

Landscapes

  • Health & Medical Sciences (AREA)
  • Life Sciences & Earth Sciences (AREA)
  • Surgery (AREA)
  • Physics & Mathematics (AREA)
  • Optics & Photonics (AREA)
  • Engineering & Computer Science (AREA)
  • Medical Informatics (AREA)
  • General Health & Medical Sciences (AREA)
  • Pathology (AREA)
  • Nuclear Medicine, Radiotherapy & Molecular Imaging (AREA)
  • Biomedical Technology (AREA)
  • Heart & Thoracic Surgery (AREA)
  • Biophysics (AREA)
  • Molecular Biology (AREA)
  • Animal Behavior & Ethology (AREA)
  • Radiology & Medical Imaging (AREA)
  • Public Health (AREA)
  • Veterinary Medicine (AREA)
  • Microelectronics & Electronic Packaging (AREA)
  • Astronomy & Astrophysics (AREA)
  • General Physics & Mathematics (AREA)
  • Endoscopes (AREA)
  • Instruments For Viewing The Inside Of Hollow Bodies (AREA)
  • Signal Processing (AREA)
PCT/JP2020/036292 2019-10-08 2020-09-25 内視鏡及び内視鏡装置 Ceased WO2021070634A1 (ja)

Priority Applications (3)

Application Number Priority Date Filing Date Title
US17/615,728 US20220240768A1 (en) 2019-10-08 2020-09-25 Endoscope and endoscopic device
DE112020004901.9T DE112020004901T5 (de) 2019-10-08 2020-09-25 Endoskop und endoskopvorrichtung
CN202080032595.2A CN113766867B (zh) 2019-10-08 2020-09-25 内窥镜及内窥镜装置

Applications Claiming Priority (2)

Application Number Priority Date Filing Date Title
JP2019-185359 2019-10-08
JP2019185359A JP7229142B2 (ja) 2019-10-08 2019-10-08 内視鏡及び内視鏡装置

Publications (1)

Publication Number Publication Date
WO2021070634A1 true WO2021070634A1 (ja) 2021-04-15

Family

ID=75380822

Family Applications (1)

Application Number Title Priority Date Filing Date
PCT/JP2020/036292 Ceased WO2021070634A1 (ja) 2019-10-08 2020-09-25 内視鏡及び内視鏡装置

Country Status (5)

Country Link
US (1) US20220240768A1 (enExample)
JP (1) JP7229142B2 (enExample)
CN (1) CN113766867B (enExample)
DE (1) DE112020004901T5 (enExample)
WO (1) WO2021070634A1 (enExample)

Cited By (1)

* Cited by examiner, † Cited by third party
Publication number Priority date Publication date Assignee Title
JP2024080604A (ja) * 2022-12-02 2024-06-13 群光電子股▲ふん▼有限公司 内視鏡モジュール

Families Citing this family (2)

* Cited by examiner, † Cited by third party
Publication number Priority date Publication date Assignee Title
US12121211B2 (en) * 2019-11-22 2024-10-22 Lake Region Manufacturing, Inc. Guidewire and catheter system for in-vivo forward viewing of the vasculature
CN116025860A (zh) * 2021-10-25 2023-04-28 南京微纳科技研究院有限公司 一种成像照明装置

Citations (11)

* Cited by examiner, † Cited by third party
Publication number Priority date Publication date Assignee Title
JPH05297288A (ja) * 1992-04-16 1993-11-12 Olympus Optical Co Ltd 内視鏡及び内視鏡装置
JP2001258823A (ja) * 2000-03-14 2001-09-25 Olympus Optical Co Ltd 内視鏡
JP2004321244A (ja) * 2003-04-21 2004-11-18 Olympus Corp 電子内視鏡システム
JP2005073708A (ja) * 2003-08-29 2005-03-24 Pentax Corp 電子内視鏡
JP2006034543A (ja) * 2004-07-26 2006-02-09 Olympus Corp 内視鏡、及びその修理方法
JP2009219573A (ja) * 2008-03-14 2009-10-01 Fujinon Corp 内視鏡用画像処理装置及び内視鏡用画像処理方法
JP2011024901A (ja) * 2009-07-28 2011-02-10 Hoya Corp 電子内視鏡システムおよび調光信号補正方法
JP2012075562A (ja) * 2010-09-30 2012-04-19 Fujifilm Corp 内視鏡用光源装置
JP2016202441A (ja) * 2015-04-20 2016-12-08 富士フイルム株式会社 内視鏡用光源装置、およびこれを用いた内視鏡システム
WO2016203626A1 (ja) * 2015-06-18 2016-12-22 オリンパス株式会社 内視鏡システムおよび照明装置
JP2019130049A (ja) * 2018-01-31 2019-08-08 Hoya株式会社 電子内視鏡システム、プロセッサ及び制御方法

Family Cites Families (5)

* Cited by examiner, † Cited by third party
Publication number Priority date Publication date Assignee Title
US8500730B2 (en) * 2007-11-16 2013-08-06 Biosense Webster, Inc. Catheter with omni-directional optical tip having isolated optical paths
JP5297288B2 (ja) * 2009-07-17 2013-09-25 三菱重工業株式会社 衝撃吸収構造体
JP6190906B2 (ja) 2013-01-10 2017-08-30 富士フイルム株式会社 撮像モジュール、及び内視鏡装置
JP6192398B2 (ja) * 2013-07-09 2017-09-06 オリンパス株式会社 照明装置
KR101784063B1 (ko) * 2015-08-03 2017-10-11 국립암센터 펜타입의 의료용 형광 이미지 장치 및 이를 이용한 다중 형광 영상의 정합 시스템

Patent Citations (11)

* Cited by examiner, † Cited by third party
Publication number Priority date Publication date Assignee Title
JPH05297288A (ja) * 1992-04-16 1993-11-12 Olympus Optical Co Ltd 内視鏡及び内視鏡装置
JP2001258823A (ja) * 2000-03-14 2001-09-25 Olympus Optical Co Ltd 内視鏡
JP2004321244A (ja) * 2003-04-21 2004-11-18 Olympus Corp 電子内視鏡システム
JP2005073708A (ja) * 2003-08-29 2005-03-24 Pentax Corp 電子内視鏡
JP2006034543A (ja) * 2004-07-26 2006-02-09 Olympus Corp 内視鏡、及びその修理方法
JP2009219573A (ja) * 2008-03-14 2009-10-01 Fujinon Corp 内視鏡用画像処理装置及び内視鏡用画像処理方法
JP2011024901A (ja) * 2009-07-28 2011-02-10 Hoya Corp 電子内視鏡システムおよび調光信号補正方法
JP2012075562A (ja) * 2010-09-30 2012-04-19 Fujifilm Corp 内視鏡用光源装置
JP2016202441A (ja) * 2015-04-20 2016-12-08 富士フイルム株式会社 内視鏡用光源装置、およびこれを用いた内視鏡システム
WO2016203626A1 (ja) * 2015-06-18 2016-12-22 オリンパス株式会社 内視鏡システムおよび照明装置
JP2019130049A (ja) * 2018-01-31 2019-08-08 Hoya株式会社 電子内視鏡システム、プロセッサ及び制御方法

Cited By (2)

* Cited by examiner, † Cited by third party
Publication number Priority date Publication date Assignee Title
JP2024080604A (ja) * 2022-12-02 2024-06-13 群光電子股▲ふん▼有限公司 内視鏡モジュール
JP7590524B2 (ja) 2022-12-02 2024-11-26 群光電子股▲ふん▼有限公司 内視鏡モジュール

Also Published As

Publication number Publication date
CN113766867A (zh) 2021-12-07
JP7229142B2 (ja) 2023-02-27
CN113766867B (zh) 2024-03-19
DE112020004901T5 (de) 2022-06-23
JP2021058468A (ja) 2021-04-15
US20220240768A1 (en) 2022-08-04

Similar Documents

Publication Publication Date Title
JP2008514304A (ja) 内視鏡検査用の固体照明
WO2021070634A1 (ja) 内視鏡及び内視鏡装置
JP2001008892A (ja) 光源装置及び内視鏡システム
JP7281544B2 (ja) 照明光学系及び照明装置
JP6140100B2 (ja) 内視鏡装置及び画像処理装置並びに内視鏡装置の作動方法
JP4554267B2 (ja) 内視鏡及び内視鏡システム
WO2017115442A1 (ja) 画像処理装置、画像処理方法および画像処理プログラム
US20250366706A1 (en) Light source device
JP4794916B2 (ja) 内視鏡および内視鏡システム
JP7405080B2 (ja) 医療用システム、医療用光源装置及び医療用光源装置の作動方法
JP2007021084A (ja) 内視鏡
JP6560968B2 (ja) 内視鏡システム及びその作動方法
US12075982B2 (en) Light source device having illumination controller controlling multiple light sources in multiple states, control method of the light source, and endoscope system having the light source
EP2294966B1 (en) Endoscope
JP5897663B2 (ja) 内視鏡装置
JP2006122251A (ja) Ledファイバ光源装置及びそれを用いた内視鏡装置
JP2017087078A (ja) 内視鏡装置
WO2020080223A1 (ja) 医療用システム、ライトガイド及び光の合波方法
WO2021166090A1 (ja) 内視鏡用光源装置
US11213192B2 (en) Endoscope device and method with illumination fiber bundles having multiple numerical apertures
JP5238294B2 (ja) 内視鏡
JP2019165855A (ja) 内視鏡装置及び医療用撮像装置
WO2016203983A1 (ja) 内視鏡装置
WO2022208629A1 (ja) 蛍光観察装置、光免疫治療システムおよび蛍光内視鏡
JP2024055740A (ja) 内視鏡システム

Legal Events

Date Code Title Description
121 Ep: the epo has been informed by wipo that ep was designated in this application

Ref document number: 20873960

Country of ref document: EP

Kind code of ref document: A1

122 Ep: pct application non-entry in european phase

Ref document number: 20873960

Country of ref document: EP

Kind code of ref document: A1