WO2021010146A1 - ワイヤーハーネス - Google Patents

ワイヤーハーネス Download PDF

Info

Publication number
WO2021010146A1
WO2021010146A1 PCT/JP2020/025455 JP2020025455W WO2021010146A1 WO 2021010146 A1 WO2021010146 A1 WO 2021010146A1 JP 2020025455 W JP2020025455 W JP 2020025455W WO 2021010146 A1 WO2021010146 A1 WO 2021010146A1
Authority
WO
WIPO (PCT)
Prior art keywords
tape
winding portion
winding
function
wire harness
Prior art date
Legal status (The legal status is an assumption and is not a legal conclusion. Google has not performed a legal analysis and makes no representation as to the accuracy of the status listed.)
Ceased
Application number
PCT/JP2020/025455
Other languages
English (en)
French (fr)
Japanese (ja)
Inventor
貴章 伊藤
望月 泰志
Current Assignee (The listed assignees may be inaccurate. Google has not performed a legal analysis and makes no representation or warranty as to the accuracy of the list.)
Sumitomo Wiring Systems Ltd
AutoNetworks Technologies Ltd
Sumitomo Electric Industries Ltd
Original Assignee
Sumitomo Wiring Systems Ltd
AutoNetworks Technologies Ltd
Sumitomo Electric Industries Ltd
Priority date (The priority date is an assumption and is not a legal conclusion. Google has not performed a legal analysis and makes no representation as to the accuracy of the date listed.)
Filing date
Publication date
Application filed by Sumitomo Wiring Systems Ltd, AutoNetworks Technologies Ltd, Sumitomo Electric Industries Ltd filed Critical Sumitomo Wiring Systems Ltd
Priority to US17/625,764 priority Critical patent/US12009122B2/en
Priority to CN202080047285.8A priority patent/CN114080736B/zh
Publication of WO2021010146A1 publication Critical patent/WO2021010146A1/ja
Anticipated expiration legal-status Critical
Ceased legal-status Critical Current

Links

Images

Classifications

    • HELECTRICITY
    • H01ELECTRIC ELEMENTS
    • H01RELECTRICALLY-CONDUCTIVE CONNECTIONS; STRUCTURAL ASSOCIATIONS OF A PLURALITY OF MUTUALLY-INSULATED ELECTRICAL CONNECTING ELEMENTS; COUPLING DEVICES; CURRENT COLLECTORS
    • H01R31/00Coupling parts supported only by co-operation with counterpart
    • H01R31/02Intermediate parts for distributing energy to two or more circuits in parallel, e.g. splitter
    • HELECTRICITY
    • H01ELECTRIC ELEMENTS
    • H01BCABLES; CONDUCTORS; INSULATORS; SELECTION OF MATERIALS FOR THEIR CONDUCTIVE, INSULATING OR DIELECTRIC PROPERTIES
    • H01B7/00Insulated conductors or cables characterised by their form
    • H01B7/0045Cable-harnesses
    • HELECTRICITY
    • H01ELECTRIC ELEMENTS
    • H01BCABLES; CONDUCTORS; INSULATORS; SELECTION OF MATERIALS FOR THEIR CONDUCTIVE, INSULATING OR DIELECTRIC PROPERTIES
    • H01B7/00Insulated conductors or cables characterised by their form
    • H01B7/40Insulated conductors or cables characterised by their form with arrangements for facilitating mounting or securing
    • HELECTRICITY
    • H02GENERATION; CONVERSION OR DISTRIBUTION OF ELECTRIC POWER
    • H02GINSTALLATION OF ELECTRIC CABLES OR LINES, OR OF COMBINED OPTICAL AND ELECTRIC CABLES OR LINES
    • H02G3/00Installations of electric cables or lines or protective tubing therefor in or on buildings, equivalent structures or vehicles
    • H02G3/02Details
    • HELECTRICITY
    • H02GENERATION; CONVERSION OR DISTRIBUTION OF ELECTRIC POWER
    • H02GINSTALLATION OF ELECTRIC CABLES OR LINES, OR OF COMBINED OPTICAL AND ELECTRIC CABLES OR LINES
    • H02G3/00Installations of electric cables or lines or protective tubing therefor in or on buildings, equivalent structures or vehicles
    • H02G3/02Details
    • H02G3/04Protective tubing or conduits, e.g. cable ladders or cable troughs
    • BPERFORMING OPERATIONS; TRANSPORTING
    • B60VEHICLES IN GENERAL
    • B60RVEHICLES, VEHICLE FITTINGS, OR VEHICLE PARTS, NOT OTHERWISE PROVIDED FOR
    • B60R16/00Electric or fluid circuits specially adapted for vehicles and not otherwise provided for; Arrangement of elements of electric or fluid circuits specially adapted for vehicles and not otherwise provided for
    • B60R16/02Electric or fluid circuits specially adapted for vehicles and not otherwise provided for; Arrangement of elements of electric or fluid circuits specially adapted for vehicles and not otherwise provided for electric constitutive elements
    • B60R16/0207Wire harnesses
    • B60R16/0215Protecting, fastening and routing means therefor
    • HELECTRICITY
    • H01ELECTRIC ELEMENTS
    • H01BCABLES; CONDUCTORS; INSULATORS; SELECTION OF MATERIALS FOR THEIR CONDUCTIVE, INSULATING OR DIELECTRIC PROPERTIES
    • H01B7/00Insulated conductors or cables characterised by their form
    • H01B7/17Protection against damage caused by external factors, e.g. sheaths or armouring
    • H01B7/18Protection against damage caused by wear, mechanical force or pressure; Sheaths; Armouring

Definitions

  • This disclosure relates to wire harnesses.
  • a protective member different from the adhesive tape is provided in the part where high protection performance is required.
  • a protective member include a sheet described in Patent Document 1, a corrugated tube described in Patent Document 2, and the like.
  • the purpose is to provide a technology in which the exterior part is easily provided on the wire harness.
  • the wire harness of the present disclosure includes an electric wire and one or more types of tape wound around the electric wire, and the one or more types of tape are wound at a plurality of locations along the longitudinal direction of the electric wire to form a plurality of tapes.
  • a winding portion is provided, and at least one of the plurality of tape winding portions is a wire harness that has a binding function and an additional function different from the binding function.
  • the exterior portion is easily provided on the wire harness.
  • FIG. 1 is a plan view showing a wire harness according to an embodiment.
  • FIG. 2 is a vertical cross-sectional view showing a first example of the tape winding portion.
  • FIG. 3 is a vertical cross-sectional view showing a second example of the tape winding portion.
  • FIG. 4 is a vertical cross-sectional view showing a third example of the tape winding portion.
  • FIG. 5 is a vertical cross-sectional view showing a fourth example of the tape winding portion.
  • FIG. 6 is a vertical cross-sectional view showing a fifth example of the tape winding portion.
  • FIG. 7 is a rear view showing a fifth example of the tape winding portion.
  • FIG. 8 is a front view showing a sixth example of the tape winding portion.
  • FIG. 1 is a plan view showing a wire harness according to an embodiment.
  • FIG. 2 is a vertical cross-sectional view showing a first example of the tape winding portion.
  • FIG. 3 is a vertical cross-sectional view showing
  • FIG. 9 is an explanatory diagram showing a state in which a sixth example of the tape winding portion is manufactured.
  • FIG. 10 is an explanatory diagram showing a state in which a sixth example of the tape winding portion is manufactured.
  • FIG. 11 is an explanatory diagram showing a state in which a sixth example of the tape winding portion is manufactured.
  • FIG. 12 is an explanatory diagram showing a state in which a sixth example of the tape winding portion is manufactured.
  • FIG. 13 is a plan view showing a wire harness according to the first modification.
  • FIG. 14 is a plan view showing a wire harness according to the second modification.
  • FIG. 15 is an explanatory view showing a modified example of the tape winding portion.
  • the wire harness of this disclosure is as follows.
  • An electric wire and one or more types of tape wound around the electric wire are provided, and the one or more types of tape are wound at a plurality of locations along the longitudinal direction of the electric wire to provide a plurality of tape winding portions.
  • At least one of the plurality of tape winding portions is a wire harness that performs a binding function and an additional function different from the binding function. Since the tape winding portion, which has both a binding function and an additional function, can play the role of the sheet, the tube, etc., the sheet, the tube, etc. can be omitted. Further, the tape winding portion is provided by tape winding. From these, the exterior portion is easily provided on the wire harness.
  • the additional function may be at least one selected from a protection function from peripheral metal members, a soundproof function, and a route regulation function.
  • the plurality of tape winding portions have a first function tape winding portion that performs a first additional function as the additional function, and a second function that performs a second additional function as the additional function that is different from the first additional function. It may include a tape winding portion.
  • the tape of the first functional tape winding portion and the tape of the second functional tape winding portion are different types of tape, and the method of winding the tape of the first functional tape winding portion and the winding of the second functional tape.
  • the tapes of the parts may be wound horizontally. This facilitates the formation of the first functional tape winding portion and the second functional tape winding portion.
  • the plurality of tape winding portions may include a first winding portion and a second winding portion in which tapes of the same type are wound in different winding methods. As a result, tape winding portions having different functions are provided depending on one type of tape.
  • An exterior member attached to the electric wire is further provided, and the exterior member is a member different from the one or more types of tape, and the exterior member includes only a vehicle fixing member and a grommet, or the vehicle fixing member. Only one of the grommets may be provided. This makes it possible to omit exterior parts other than tapes, vehicle fixing members, and grommets.
  • FIG. 1 is a plan view showing a wire harness 10 according to an embodiment. Note that FIG. 1 shows a state in which the wire harness 10 is bent due to space limitations.
  • the wire harness 10 is a wiring member mounted on a vehicle for electrically connecting electrical components to each other.
  • the wire harness 10 includes an electric wire 12 and one or more types of tapes T wound around the electric wire 12.
  • the electric wire 12 is a coated electric wire in which an insulating coating is formed around the core wire.
  • the core wire is formed of copper, aluminum, a copper alloy, and an aluminum alloy.
  • the core wire may be formed of a single wire rod, or may be an aggregate wire in which a plurality of strands are twisted together.
  • the insulating coating is formed of a resin such as polyvinyl chloride, polyethylene, or fluororesin.
  • the electric wire 12 has a role of transmitting an electric signal, electric power, or the like.
  • the wire harness 10 may include at least one electric wire 12.
  • the wire harness 10 includes a plurality of electric wires 12.
  • the plurality of electric wires 12 may all have the same outer diameter, or may include electric wires having different outer diameters.
  • a connector C may be provided at the end of the electric wire 12.
  • Connector C is a resin housing in which the end of the electric wire 12 is housed. For example, a terminal is connected to the end of the electric wire 12. The terminal is housed and held in a cavity formed in the housing. When the connector C is connected to the mating connector, the terminal in the connector C is connected to the terminal in the mating connector.
  • the plurality of electric wires 12 are branched in the middle, and each end is housed in a predetermined housing.
  • the wire harness 10 is formed in a shape corresponding to the wiring form of the electric wire 12 in the vehicle.
  • the wire harness 10 includes a plurality of (four in the example shown in FIG. 1) tape winding portions 20.
  • a tape winding portion 20A a tape winding portion 20B, a tape winding portion 20C, and a tape winding portion 20D.
  • At least one of the plurality of tape winding portions 20 has a binding function and an additional function different from the binding function.
  • the plurality of tape winding portions 20 may include tape winding portions 20 having different additional functions. That is, the plurality of tape winding portions 20 may include a first functional tape winding portion and a second functional tape winding portion.
  • First function The tape winding section performs the first additional function as an additional function.
  • the second function tape winding portion performs a second additional function as an additional function, which is different from the first additional function.
  • Additional functions for example, a protection function from peripheral metal members, a soundproof function, a route regulation function, and the like can be considered.
  • One tape winding unit 20 may perform one additional function, or may perform a plurality of additional functions.
  • the additional function may be at least one selected from the protection function from the peripheral metal member, the soundproof function, and the route regulation function.
  • the protection function from peripheral metal members protects the wire harness 10 from metal members located around the wire harness 10 when the wire harness 10 is assembled to the vehicle or when the wire harness 10 is assembled to the vehicle. It is a function to do.
  • the protection function from the peripheral metal member is usually required to have higher protection performance than when the binding tape T is half-wrapped.
  • exterior members such as seats, tubes, and protectors often provide protection from peripheral metal members.
  • the tape winding portion 20 fulfills the protection function from the peripheral metal members instead of the exterior members such as the seat and the tube.
  • the protection function from the peripheral metal member for example, the protection function from the metal surface and the protection function from the metal edge can be considered.
  • the protection function from the metal surface is a function of suppressing damage to the electric wire 12 when the wire harness 10 interferes with the metal surface.
  • the protection function from the metal edge is a function of suppressing damage to the electric wire 12 when the wire harness 10 interferes with the metal edge.
  • the protection function from the metal edge is required to have higher protection performance than the protection function from the metal surface.
  • the soundproofing function is a function for preventing abnormal noise from being generated when the wire harness 10 is attached to the vehicle and comes into contact with a member located in the vicinity.
  • the soundproofing function is often achieved by an exterior member such as a non-woven fabric sheet.
  • the soundproofing function is performed by the tape winding portion 20 instead of the exterior member such as the non-woven fabric sheet.
  • the soundproofing function for example, a tapping sound suppressing function, a rubbing sound suppressing function, etc. can be considered.
  • the tapping sound suppressing function is a function of suppressing the sound when the wire harness 10 in a state separated from the peripheral member moves toward the peripheral member and comes into contact with the peripheral member.
  • the rubbing noise suppressing function is a function of suppressing the noise when the wire harness 10 slides in contact with the peripheral member.
  • the route regulation function is a function for keeping the shape of the wire harness 10 constant.
  • the wires 12 that make up the wire harness 10 are usually flexible. Therefore, it is difficult for the wire harness 10 to maintain a constant shape.
  • routes are often regulated by covering hard molded products such as protectors and pipes on the electric wires 12.
  • the wire harness 10 of the present disclosure fulfills a route regulating function by a tape winding portion 20. As a result, the wire harness 10 is kept in a constant shape.
  • the functions added to the plurality of tape winding portions 20 can be set as appropriate, but may be set as follows, for example.
  • the tape winding portions 20A and 20D provided near the connector C may perform a protective function from peripheral metal members.
  • the tape winding portion 20B provided in the portion of the wire harness 10 that is loosely fixed to the vehicle body, the portion that is arranged in a floating state with respect to the vehicle body, or the portion that is movably arranged with respect to the vehicle body provides a soundproof function. You may play.
  • the tape winding portion 20C provided in the portion of the wire harness 10 that is bent and arranged with respect to the vehicle may fulfill the route regulating function.
  • the plurality of tape winding portions 20 may include tape winding portions 20 having different winding methods from each other. That is, the plurality of tape winding portions 20 may include the first winding portion and the second winding portion. In the first winding section and the second winding section, the same type of tape T is wound in different winding methods.
  • the method of winding the tape T connected in a row around the electric wire 12 is roughly divided into horizontal winding and vertical winding.
  • the horizontal winding is a winding method in which the long direction of the tape T is along the circumferential direction of the electric wire 12.
  • the vertical winding is a winding method in which the long direction of the tape T is along the longitudinal direction of the electric wire 12.
  • the horizontal winding is largely divided into a winding method in which the tape T is wound while the fixing region is displaced along the longitudinal direction of the electric wire 12 and a winding method in which the tape is wound without shifting the fixing region along the longitudinal direction of the electric wire 12.
  • the tape T wound around the electric wire 12 orbits around the electric wire 12 while shifting its position along the longitudinal direction of the electric wire 12 to form a spiral shape.
  • the tape T wound around the electric wire 12 orbits around the electric wire 12 at a fixed position along the longitudinal direction of the electric wire 12 and exhibits a spiral shape.
  • the former winding method is referred to as spiral winding
  • the latter winding method is referred to as fixed position winding.
  • the spiral winding is a winding method in which a part of the width direction overlaps when the tape T orbits the electric wire 12 more than one round, and a winding method in which the tape T orbits the electric wire 12 more than one circumference and is heavy in the width direction. It is roughly divided into the winding method that does not become. In the former case, there is no gap between the tapes T along the longitudinal direction of the electric wire 12, so that the protection and water stopping property are excellent. Further, as the tapes T overlap each other, the thickness of the portion around which the tapes T are wound becomes thicker. In the latter case, it can be wound widely while suppressing the amount of tape T used. Further, the thickness of the portion where the tape T is wound becomes thinner because the tapes T do not overlap each other.
  • the former winding method is referred to as overlap winding
  • the latter winding method is referred to as non-lap winding.
  • the ratio of the width in which the later wound portion overlaps with the total width of the previously wound portion is referred to as a wrap allowance.
  • the overlap winding includes a half wrap winding in which half the width of the tape T is overlapped.
  • the wrap allowance for half-wrap winding is half.
  • the non-wrap winding includes a rough winding in which the tape T has a gap in the longitudinal direction of the electric wire 12.
  • the non-wrap winding is a winding method in which the wrap allowance is 0.
  • the fixed position winding is a winding method in which the entire width of the tape T is overlapped, and the wrap allowance is 1. For this reason, the fixed position winding may be referred to as an all-lap winding.
  • n is an integer of 2 or more.
  • the wrap allowance is n minutes (n-1)
  • the tape T becomes n layers in all the portions in the intermediate region.
  • the wrap allowance is larger than (n-1) for n minutes and smaller than n for (n + 1) minutes
  • the n-layer portion and the (n + 1) layer portion of the tape T are adjacent to each other in the intermediate region. It extends in a spiral. Therefore, when the wrap allowance is larger than (n-1) for n minutes, the tape T has more layers than the n layers at least in a part of the intermediate region.
  • the part where the tape T is wound by the winding method described here can be regarded as the winding part wound by the winding method.
  • the spiral winding portion is a portion where the tape T is spirally wound. Further, for example, is a portion where the tape T is wound at a fixed position.
  • FIG. 2 is a vertical cross-sectional view showing a first example of the tape winding portion 20.
  • the tape winding portion 120 shown in FIG. 2 is a non-wrap winding portion in which the tape T is non-wrap wound.
  • the tape winding portion 120 is a one-layer non-wrap winding portion.
  • the tape winding portion 120 is a non-wrap winding portion with no gap between the tapes T.
  • the tape winding portion may be a non-wrap winding portion (rough winding portion) having a gap between the tapes T.
  • FIG. 3 is a vertical cross-sectional view showing a second example of the tape winding portion 20.
  • the tape winding portion 220 shown in FIG. 3 is an overlapping winding portion in which the tape T is wound in an overlapping manner.
  • the tape winding portion 220 is an overlapping winding portion having a wrap allowance of four-fifths.
  • the tape winding portion 220 may be an overlapping winding portion having a wrap allowance of more than half and less than one. As a result, in the tape winding portion 220, a portion where the tape T is more than two layers is generated.
  • the tape winding portion 220 may be an overlapping winding portion having a wrap allowance of more than two-thirds and less than one.
  • the tape T has three or more layers in the entire region in the intermediate portion except the winding start portion and the winding end portion.
  • the tape winding portion may be an overlapping winding portion having a wrap allowance larger than 0 and less than half.
  • the wrap allowance in the overlap winding portion may be set in consideration of, for example, the thickness of the tape T and the finished thickness of the tape winding portion 220 (thickness from the inner surface to the outer surface on the electric wire 12 side). Specifically, when the thickness of the tape T is 0.1 mm and the finished thickness of the tape winding portion 220 is 0.5 mm, the wrapping allowance is set to 4/5 as shown in FIG. The required finished thickness of the tape winding portion 220 can be obtained.
  • the finished thickness of the tape winding portion 220 is not particularly limited, but may be, for example, 0.5 mm or more. Further, for example, it may be 1.0 mm or more.
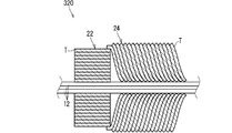
  • FIG. 4 is a vertical cross-sectional view showing a third example of the tape winding portion 20.
  • the tape winding portion 320 shown in FIG. 4 is a combination of a fixed position winding portion 22 and an overlapping winding portion 24.
  • the fixed position winding portion 22 is provided at one end of the tape winding portion 320 along the longitudinal direction of the electric wire 12. In the fixed position winding portion 22, a plurality of layers of tape T are wound at the same position.
  • the winding start portion of the overlap winding portion 24 overlaps the outer peripheral side of the fixed position winding portion 22.
  • the winding start portion of the overlap winding portion 24 starts from the other end side of the tape winding portion 320 with respect to the center of the fixed position winding portion 22 in the width direction.
  • the tape T at the fixed position winding portion 22 and the tape T at the overlapping winding portion 24 may be separated. That is, the tape T may be cut once when the fixed position winding portion 22 has been wound, and then the overlap winding portion 24 may be started to be wound again. In this case, it is not necessary to provide a portion that moves from the fixed position winding portion 22 to the overlapping winding portion 24.
  • the tape T at the fixed position winding portion 22 and the tape T at the overlapping winding portion 24 may be continuous. In this case, it is not necessary to cut the tape T when the fixed position winding portion 22 has been wound.
  • the tape T in the fixed position winding portion 22 and the tape T in the overlapping winding portion 24 are continuous, the circumference of the portion that moves from the winding end portion in the fixed position winding portion 22 to the winding start portion in the overlap winding portion 24.
  • the number of laps is preferably as short as possible. For example, the number of laps of the portion that moves from the winding end portion of the fixed position winding portion 22 to the winding start portion of the overlapping winding portion 24 may be shorter than one lap or shorter than half lap. You may.
  • the tape winding portion 320 may be adopted for the tape winding portions 20A and 20D near the connector C.
  • the fixed position winding portion 22 may be provided at a position closest to the connector C along the longitudinal direction of the electric wire 12 in the tape winding portion 20.
  • the distance between the edge of the fixed position winding portion 22 on the connector C side and the connector C along the longitudinal direction of the electric wire 12 is not particularly limited and can be set as appropriate.
  • the distance between the edge of the fixed position winding portion 22 on the connector C side and the connector C may be 0 mm or more and 10 mm or less.
  • the distance between the edge portion on the connector C side and the connector C is 0 mm, it means that the fixed position winding portion 22 and the connector C are in contact with each other.
  • the number of laps of the fixed position winding portion 22 is not particularly limited as long as it is two or more laps, and can be set as appropriate.
  • the number of laps of the fixed position winding portion 22 may be 3 laps or more, 5 laps or more, or 10 laps or more.
  • the number of turns of the fixed position winding portion 22 may be set in consideration of, for example, the thickness of the tape T and the finished thickness of the tape winding portion 320. Specifically, when the thickness of the tape T is 0.1 mm and the finished thickness of the tape winding portion 320 is 1.0 mm, the number of turns of the fixed position winding portion 22 is as shown in FIG. It can be 10 laps. In this case, by setting the wrap allowance of the overlap winding portion 24 to 9/10, the finished thickness of the fixed position winding portion 22 and the finished thickness of the overlap winding portion 24 are about the same.
  • the surface of the connector C on which the electric wire 12 extends is defined as the electric wire extending surface.
  • the wire extending surface is the surface with the opening of the cavity.
  • the extending surface of the electric wire is formed into a square or a shape close to a square.
  • the finished thickness of the fixed position winding portion 22 may be the same as the dimension along the short side direction of the wire extending surface, may be larger than that, or may be smaller. .. Further, the finished thickness of the fixed position winding portion may be the same as the dimension along the long side direction of the wire extending surface, may be larger than that, or may be smaller. ..
  • FIG. 5 is a vertical cross-sectional view showing a fourth example of the tape winding portion 20.
  • the tape winding portion 420 shown in FIG. 5 is provided with a plurality of layers of spiral winding portions 26.
  • the spiral winding portion 26 of each layer in the tape winding portion 420 is a non-wrap winding portion.
  • the spiral winding portion 26 of each layer in the tape winding portion 420 may be an overlapping winding portion.
  • the layer of the inner spiral winding portion 26 is referred to as an inner layer
  • the layer of the outer spiral winding portion 26 is referred to as an outer layer.
  • the tape T in the inner layer and the tape T in the outer layer may be separated. That is, the tape T may be cut once when the inner layer has been wound, and then the outer layer may be started to be wound again. In this case, the inner layer and the outer layer can be wound in the same winding method. As a result, the directions of the spirals can be aligned between the inner layer and the outer layer.
  • the tape T in the inner layer and the tape T in the outer layer may be continuous. In this case, it is not necessary to cut the tape T when the inner layer has been wound.
  • the directions of the spirals are opposite in the inner layer and the outer layer. Further, the winding start portion in the outer layer overlaps with the winding end portion in the inner layer.
  • the spiral winding portion 26 of each layer is non-wrapped so that no gap is formed between the tapes T.
  • the spiral winding portion 26 of each layer may be non-wrapped so as to form a gap between the tapes T.
  • the gap between the inner layers and the gap between the outer layers do not overlap. That is, it is preferable that the tape T of the outer layer is located outside the gap of the inner layer, and the tape T of the outer layer covers the gap of the inner layer.
  • the number of layers of the spiral winding portion 26 in the tape winding portion 420 is not particularly limited and can be set as appropriate.
  • the number of layers of the spiral winding portion 26 may be 3 layers or more, 5 layers or more, or 10 layers or more.
  • the number of layers of the spiral winding portion 26 may be set in consideration of, for example, the thickness of the tape T and the finished thickness of the tape winding portion 420. Specifically, when the thickness of the tape T is 0.1 mm and the finished thickness of the tape winding portion 420 is 0.5 mm, the number of layers of the spiral winding portion 26 is as shown in the example shown in FIG. It can be 5 layers.
  • FIG. 6 is a vertical cross-sectional view showing a fifth example of the tape winding portion 20.
  • FIG. 7 is a rear view showing a fifth example of the tape winding portion 20.
  • the tape winding portion 520 according to the fifth example has a portion in which the tape T is wound so that a gap (space) S is formed around the electric wire 12. The gap S is formed between the outer surface of the electric wire 12 and the outer surface of the tape winding portion 520.
  • unevenness along the radial direction can be arranged along the circumferential direction on the outer surface of the electric wire bundle in which the plurality of electric wires 12 are bundled. Then, when the tape T is wound around the electric wire bundle, a gap may be formed due to this unevenness.
  • the gap S formed in the tape winding portion 520 is different from the gap created by the unevenness of the electric wire bundle.
  • the gap S formed in the tape winding portion 520 is not a gap formed according to the unevenness generated in the outer shape of the adherend around which the tape T is wound.
  • the gap S formed in the tape winding portion 20 is formed by winding the tape T so as to have a circumference longer than the circumference of the inner portion thereof at least in a part of the circumference.
  • the peripheral length of the inner portion means the peripheral length when tension is applied to the tape T and the tape T is wound in a shape corresponding to the convexity.
  • the tape winding portion 520 has a fixed position winding portion 522 and an overlapping winding portion 524.
  • a gap S is formed in the intermediate region of the overlap winding portion 524.
  • the fixed position winding portion 522 is provided at one end of the tape winding portion 20 along the longitudinal direction of the electric wire 12. In the fixed position winding portion 522, a plurality of layers of tape T are wound at the same position.
  • the winding start portion of the overlap winding portion 524 overlaps the outer peripheral side of the fixed position winding portion 522.
  • the winding start portion of the overlap winding portion 524 starts from one end side of the tape winding portion 520 with respect to the center in the width direction of the tape T of the fixed position winding portion 522.
  • the winding start portion in the overlap winding portion 524 starts from the winding end portion in the fixed position winding portion 522. That is, even in the portion of the overlap winding portion 524 that overlaps the fixed position winding portion 522, the tape T is wound with the same wrap allowance as the portion of the overlap winding portion 524 that does not overlap the fixed position winding portion 522.
  • the overlap winding portion 524 is gradually wound from a portion that overlaps the fixed position winding portion 522 to a portion that does not overlap the fixed position winding portion 522.
  • the tape T is wound while gradually reducing the dimension of overlapping with the fixed position winding portion 522, and eventually does not completely overlap the fixed position winding portion 522.
  • the portion from the winding start portion to the portion where at least a part of the tape T overlaps the fixed position winding portion 522 is referred to as a first portion. Therefore, the first portion has a portion protruding from the fixed position winding portion 522.
  • the portion of the first portion that protrudes from the fixed position winding portion 522 is referred to as a protruding portion.
  • the portion after the entire tape T does not overlap the fixed position winding portion 522, that is, the portion wound from the end of the first portion toward the other end side is referred to as the second portion. ..
  • the portion of the overlap winding portion 524 that does not overlap the fixed position winding portion 522 is referred to as a floating portion.
  • the floating portion is composed of a protruding portion of the first portion and a second portion.
  • a part of the tape T overlaps the fixed position winding part 522.
  • the protruding portion is supported by the fixed position winding portion 522.
  • the fixed position winding portion 522 functions as a support member for supporting the protruding portion.
  • the protruding portion in the first portion, the protruding portion is likely to be maintained in a floating state from the electric wire 12.
  • the protruding portion in the second portion, the protruding portion functions as a support member, so that the protruding portion is floated from the electric wire 12.
  • the floating portion is wound with a gap S from the electric wire 12, and a gap S in the tape winding portion 520 is generated in the floating portion.
  • the overlapping winding portion 524 continues as it is to the winding end portion.
  • the floating portion becomes long, the portion that has been wound up to that point cannot support the floating portion, and a part of the floating portion is dented inward and fixed to the electric wire 12.
  • the winding pressure of the tape T eventually exceeds the force for supporting the floating portion. In this case, a part of the floating portion is fixed to the electric wire 12.
  • the tape T at the fixed position winding portion 522 and the tape T at the overlapping winding portion 524 may be separated. That is, the tape T may be cut once when the fixed position winding portion 522 has been wound, and then the overlap winding portion 524 may be started to be wound again. In this case, it is not necessary to provide a portion that moves from the fixed position winding portion 522 to the overlapping winding portion 524.
  • the tape T at the fixed position winding portion 522 and the tape T at the overlapping winding portion 524 may be continuous. In this case, it is not necessary to cut the tape T when the fixed position winding portion 522 has been wound.
  • the tape T at the fixed position winding portion 522 and the tape T at the overlapping winding portion 524 are continuous, the circumference of the portion that moves from the winding end portion at the fixed position winding portion 522 to the winding start portion at the overlap winding portion 524.
  • the number of laps is preferably as short as possible.
  • the number of laps of the portion that moves from the winding end portion of the fixed position winding portion 522 to the winding start portion of the overlapping winding portion 524 may be shorter than one lap, or shorter than half lap. There may be.
  • the number of laps of the fixed position winding portion 522 is not particularly limited as long as it is two or more laps, and can be set as appropriate.
  • the number of laps of the fixed position winding portion 522 may be 3 laps or more, 5 laps or more, or 10 laps or more.
  • the number of turns of the fixed position winding portion 522 may be set in consideration of, for example, the thickness of the tape T and the finished thickness of the fixed position winding portion. Specifically, when the thickness of the tape T is 0.1 mm and the finished thickness of the fixed position winding portion 522 is 2.0 mm, the number of turns of the fixed position winding portion 522 may be 20 laps. it can.
  • the wrap allowance of the overlap winding portion 524 may be set in consideration of, for example, the thickness of the tape T and the finished thickness of the overlap winding portion 524 (thickness from the inner surface to the outer surface on the electric wire 12 side). Specifically, when the thickness of the tape T is 0.1 mm and the finished thickness of the overlap winding portion 524 is 1.0 mm, the overlap allowance is set to 9/10, so that the overlap winding is performed. The required finished thickness of the portion 524 can be obtained.
  • the wrap allowance of the overlap winding portion 524 may be set in consideration of the rigidity of the tape T. That is, when the rigidity of the tape T is high and low, when the lap allowance is the same and the rigidity of the tape T is high, the bearing capacity of the second portion at the floating portion increases, and the floating portion is maintained in a floating state. Easy to be done. On the other hand, if the rigidity of the tape T is low, the supporting force of the second portion in the floating portion becomes small, and the floating portion is likely to be maintained in a floating state. As the lap allowance increases, the bearing capacity of the second portion of the floating portion increases accordingly, and the floating portion tends to be maintained in a floating state.
  • the width dimension of the protruding part where the overlap winding part 524 makes exactly one turn is smaller than the finished thickness of the fixed position winding part. Therefore, the protruding portion of the first round of the overlap winding portion 524 is not fixed to the electric wire 12. For this reason, the floating portion of the overlap winding portion 524 after the second lap tends to float from the electric wire 12.
  • the number of laps of the fixed position winding portion 522 is 20 laps and the wrapping allowance of the overlap winding portion 524 is 10 minutes as described above.
  • the width dimension of the protruding portion where the overlap winding portion 524 makes exactly one round is 1.9 mm, which is one tenth of the width dimension of the tape T. This is smaller than the finished thickness of the fixed position winding portion 522, which is 2.0 mm.
  • FIG. 8 is a front view showing a sixth example of the tape winding portion 20.
  • a plurality of layers of tape T are wound.
  • Each layer in the tape winding portion 620 is wound so as to form a gap S in different regions along the circumferential direction.
  • the tape winding portion 620 will be described in detail with reference to the manufacturing method of the tape winding portion 620 shown in FIGS. 9 to 12.
  • FIG. 9 is an explanatory view showing how the first layer of the tape winding portion 620 is wound.
  • the tape T of the first layer is fixed to the inner adherend (electric wire 12) in the other region while leaving a gap S in the region to the right of the paper surface with respect to the inner adherend (electric wire 12).
  • FIG. 10 is an explanatory view showing how the second layer of the tape winding portion 620 is wound.
  • the tape T of the second layer has a gap S in the region on the paper surface with respect to the inner adherend (tape T of the first layer), and the inner adherend (first layer) in the other region. Adheres to the tape T).
  • FIG. 11 is an explanatory view showing how the third layer of the tape winding portion 620 is wound.
  • the tape T of the third layer has a gap S in the region to the left of the paper surface with respect to the inner adherend (tape T of the second layer), and the inner adherend (second layer) in the other region. Adheres to the tape T).
  • FIG. 12 is an explanatory view showing how the fourth layer of the tape winding portion 620 is wound.
  • the tape T of the fourth layer has a gap S in the region below the paper surface with respect to the inner adherend (tape T of the third layer), and the inner adherend (third layer) in the other region. Adheres to the tape T).
  • a gap S is generated between the tape T of each layer and the adherend inside.
  • the position of the gap S is different in each layer.
  • the plurality of gaps S are dispersed along the circumferential direction of the electric wire 12.
  • the size of the gap S in each layer is not particularly limited and can be set as appropriate.
  • the gap S in each layer may be set so that the tape winding portion 620 is close to a circular shape.
  • gaps S are formed along the circumferential direction of the electric wire 12
  • this is not an essential configuration. Two gaps may be formed along the circumferential direction of the electric wire 12, three gaps may be formed, or five or more gaps may be formed.
  • a plurality of gaps S are formed in an order along the circumferential direction of the electric wire 12, but this is not an essential configuration.
  • the plurality of gaps S may be formed in an order different from the order along the circumferential direction of the electric wire 12. For example, as in the example shown in FIG. 8, when four gaps S are formed along the circumferential direction of the electric wire 12, two gaps S in the left-right direction of the paper surface are formed first, and then 2 in the vertical direction of the paper surface. Two gaps S may be formed.
  • the tape T may or may not have rigidity capable of maintaining the state shown in FIG. If the tape T does not have the rigidity to maintain the state shown in FIG. 8, it is possible that the gap S in this example is also crushed. That is, in the example shown in FIG. 8, it is conceivable that a part of the tape T in the shape of each gap S is fixed to the inner adherend, the gap S is crushed, and the gap S is divided into smaller gaps S.
  • the above-mentioned example of the tape winding portion 20 is all wound horizontally. Therefore, equipment for vertical winding is not required. Further, all the first to sixth examples of the tape winding portion 20 described above include spiral winding. Therefore, one tape winding portion 20 is provided in a region longer than the width dimension of the tape T.
  • a plurality of types of tapes T may be wound around one wire harness 10.
  • the tape T of the first functional tape winding portion and the tape T of the second functional tape winding portion may be different types of tape T.
  • the type of the tape T may be a thick-walled tape, a curing tape, a foamed resin tape, a cloth tape, or the like, in addition to the binding tape. It is preferable that these various tapes T have an adhesive layer.
  • the tape T is fixed to the electric wire 12 by the adhesive layer.
  • the binding tape may be a tape normally used for binding the wire harness 10.
  • the binding tape may be, for example, a tape having a thickness of 0.1 mm.
  • the binding tape may be used to perform a protective function from peripheral metal members.
  • the binding tape may be wound so as to have more layers than two layers or to form gaps as in the second to sixth examples.
  • the thick-walled tape a tape thicker than the binding tape can be used.
  • the upper limit of the thickness is not particularly limited.
  • the thick tape may have a thickness of less than 0.5 mm or a tape having a thickness of 0.3 mm.
  • Thick-walled tape may be used, for example, to perform a protective function from peripheral metal members.
  • the thick-walled tape may be wound as in the second to sixth examples in addition to the first example of the tape winding portion 20. If the thick tape is used to provide protection from metal edges, the thick tape should be wrapped in multiple layers.
  • the curing tape is a tape whose base material is cured by ultraviolet rays, heat, water, etc.
  • the curing tape is in a cured state.
  • the curing tape may be cured after being wound around the electric wire 12 in a state before being cured.
  • the curing tape may be used, for example, to perform a protective function from peripheral metal members, particularly a protective function from metal edges.
  • the curing tape may be used, for example, to perform a routing function.
  • the cured tape may be wound as in the second to sixth examples in addition to the first example of the tape winding portion 20.
  • the foamed resin tape is a tape made of foamed resin whose base material is easily compressed and can be restored like a flexible polyurethane foam.
  • the foamed resin tape may be used, for example, to perform a tapping sound suppressing function.
  • the foamed resin tape may be wound as in the second to sixth examples in addition to the first example of the tape winding portion 20.
  • Cloth tape is a tape whose base material is cloth.
  • the fibers constituting the fabric are not particularly limited, and may be, for example, synthetic fibers.
  • the cloth tape may be used, for example, to perform a rubbing noise suppressing function.
  • the cloth tape may be wound as in the second to sixth examples in addition to the first example.
  • tape T of the first function tape winding portion and the tape T of the second function tape winding portion are different types of tape T, they may be wound in the same winding method or may be wound in different winding methods. You may be.
  • the wire harness 10 further includes an exterior member.
  • the exterior member is attached to the electric wire 12.
  • the exterior member is a member different from one or more types of tape T.
  • only the vehicle fixing member 50 and the grommet 60 are provided as exterior members.
  • the vehicle fixing member 50 is a member for fixing the wire harness 10 to the vehicle.
  • the tape clip 50 is adopted as the vehicle fixing member 50.
  • the tape clip 50 has a locking portion 52 and a plate-shaped portion 54.
  • the tape clip 50 is, for example, a resin molded product.
  • the locking portion 52 is formed so that it can be inserted and locked in a through hole formed in a panel or the like.
  • the plate-shaped portion 54 is formed in a long flat plate shape on one side.
  • a binding member 56 such as an adhesive tape or a binding band is wound around the plate-shaped portion 54 and the electric wire 12 in a state where the elongated direction of the plate-shaped portion 54 is along the longitudinal direction of the electric wire 12. 54 is fixed to the electric wire 12.
  • a locking portion 52 is provided near the center of the plate-shaped portion 54, and binding members 56 are wound on both sides of the locking portion 52.
  • the locking portion 52 may be provided near one end of the plate-shaped portion 54, and the binding member 56 may be wound only on one side of the locking portion 52.
  • the vehicle fixing member 50 may be a band clip or the like in which the locking portion 52 is integrated with a binding band. Further, the vehicle fixing member 50 may be a bracket or the like having an insertion portion through which a stud bolt or the like provided on the vehicle side is inserted.
  • the grommet 60 is, for example, a member that is fitted into a through hole formed in a panel.
  • the electric wire 12 in the wire harness 10 is passed through the through hole and is wired so as to straddle the first space and the second space partitioned by the panel.
  • the grommet 60 is a member for suppressing the ingress of water or the like between the first space and the second space, and for protecting the electric wire 12 from the peripheral edge of the through hole.
  • the first space is the vehicle interior space
  • the second space is the vehicle interior space.
  • the grommet 60 has a large-diameter tubular portion 62 and a small-diameter tubular portion 64.
  • the grommet 60 is formed of an elastic material such as rubber or elastomer.
  • the large diameter tubular portion 62 is formed to have a larger diameter than the through hole of the panel.
  • a groove 63 is formed on the outer peripheral surface of the large diameter tubular portion 62. The groove 63 accommodates the peripheral edge of the through hole in the panel. As a result, the large-diameter tubular portion 62 is in a state of being fitted into the through hole.
  • the small diameter cylinder portion 64 is connected to the large diameter cylinder portion 62.
  • the small diameter tubular portion 64 is fixed to the electric wire 12.
  • Adhesive tape may be wrapped around the end of the small-diameter tubular portion 64 and the electric wire 12 extending from the end of the small-diameter tubular portion 64.
  • the inner surface of the small-diameter tubular portion 64 may press the electric wire 12.
  • a water blocking material may be provided inside the small diameter tubular portion 64. The water blocking material fills the gap between the inner surface of the small diameter tubular portion 64 and the electric wire 12.
  • the water blocking material may be an adhesive that adheres to the inner surface of the small-diameter tubular portion 64 and the electric wire 12 to fix both.
  • the grommet 60 may have parts made of hard resin in addition to parts made of elastic material.
  • a part made of hard resin is incorporated into a part formed of an elastic material.
  • the end face of the large-diameter tubular portion 62 provided on the part formed of the elastic material serves as a lip portion in contact with one main surface at the peripheral edge of the through hole. Then, the locking projection formed on the hard resin component locks on the other main surface at the peripheral edge of the through hole. As a result, the grommet 60 is attached to the through hole.
  • the sheet, tube, etc. can be omitted because the tape winding portion 20, which fulfills the binding function and the additional function, can play the role of the sheet, tube, and the like. .. Further, the tape winding portion 20 is provided by winding the tape. From these, the exterior portion is easily provided on the wire harness 10.
  • the tape forming the tape winding portion 20 may be manually wound, or may be automatically wound by a tape winding machine or the like. Regardless of whether the tape forming the tape winding portion 20 is manually wound or automatically wound, the wire harness 10 is easily provided with an exterior portion because the sheet, tube, and the like can be omitted.
  • Additional functions include protection from peripheral metal members, soundproofing, and route regulation.
  • the exterior portion that fulfills the protection function from the peripheral metal members, the soundproof function, and the route regulation function is also easily provided on the wire harness 10.
  • the plurality of tape winding portions 20 include the first functional tape winding portion and the second functional tape winding portion, an exterior portion that fulfills a plurality of additional functions is also easily provided on the wire harness 10.
  • the tape T of the first function tape winding part and the tape T of the second function tape winding part are different types of tape T, since both winding methods are horizontal winding, the first function tape winding part and the second function Forming with the tape winding portion becomes easy.
  • the tape T of the first functional tape winding portion and the tape T of the second functional tape winding portion may be wound in exactly the same winding method. As a result, it is not necessary to change the winding method, and the outer portion can be easily formed.
  • tape winding portions 20 include the first winding portion and the second winding portion 20, tape winding portions 20 having different functions are provided depending on one type of tape T.
  • the exterior parts other than the tape T, the vehicle fixing member 50, and the grommet 60 can be omitted.
  • FIG. 13 is a plan view showing the wire harness 110 according to the first modification.
  • the grommet 60 is provided as an exterior member. Therefore, when the wire harness 110 is manufactured, exterior parts other than the tape T and the grommet 60 can be omitted.
  • FIG. 14 is a plan view showing the wire harness 210 according to the second modification.
  • the wire harness 210 only the vehicle fixing member 50 is provided as an exterior member. Therefore, when the wire harness 210 is manufactured, exterior parts other than the tape T and the vehicle fixing member 50 can be omitted.
  • FIG. 15 is an explanatory view showing a modified example of the tape winding portion 20.
  • the tape winding portion 720 is a vertical winding portion in which the tape T is vertically wound.
  • the plurality of tape winding portions 20 in the wire harness 10 may all be vertical winding portions. Further, the plurality of tape winding portions 20 in the wire harness 10 may include a vertical winding portion and a horizontal winding portion.
  • Wire harness 12 Wire 20, 20A, 20B, 20C, 20D, 120, 220, 320, 420, 520, 620, 720 Tape winding part 22,522 Fixed position winding part 24,524 Overlap winding part 26
  • Spiral winding part 50 Tape clip (vehicle fixing member) 52 Locking part 54
  • Plate-shaped part 56 Bundling member 60
  • Grommet 62 Large-diameter cylinder 63 Groove 64 Small-diameter cylinder C connector S space T tape

Landscapes

  • Engineering & Computer Science (AREA)
  • Architecture (AREA)
  • Civil Engineering (AREA)
  • Structural Engineering (AREA)
  • Mechanical Engineering (AREA)
  • Insulated Conductors (AREA)
  • Details Of Indoor Wiring (AREA)
  • Insulating Bodies (AREA)
PCT/JP2020/025455 2019-07-16 2020-06-29 ワイヤーハーネス Ceased WO2021010146A1 (ja)

Priority Applications (2)

Application Number Priority Date Filing Date Title
US17/625,764 US12009122B2 (en) 2019-07-16 2020-06-29 Wire harness including tape-wrapping portion having binding function
CN202080047285.8A CN114080736B (zh) 2019-07-16 2020-06-29 线束

Applications Claiming Priority (2)

Application Number Priority Date Filing Date Title
JP2019-130922 2019-07-16
JP2019130922A JP7215363B2 (ja) 2019-07-16 2019-07-16 ワイヤーハーネス

Publications (1)

Publication Number Publication Date
WO2021010146A1 true WO2021010146A1 (ja) 2021-01-21

Family

ID=74209844

Family Applications (1)

Application Number Title Priority Date Filing Date
PCT/JP2020/025455 Ceased WO2021010146A1 (ja) 2019-07-16 2020-06-29 ワイヤーハーネス

Country Status (4)

Country Link
US (1) US12009122B2 (enExample)
JP (1) JP7215363B2 (enExample)
CN (1) CN114080736B (enExample)
WO (1) WO2021010146A1 (enExample)

Cited By (1)

* Cited by examiner, † Cited by third party
Publication number Priority date Publication date Assignee Title
JP7547236B2 (ja) 2021-02-04 2024-09-09 古河電気工業株式会社 接続部保護構造および接続部保護方法

Families Citing this family (1)

* Cited by examiner, † Cited by third party
Publication number Priority date Publication date Assignee Title
CN115909676B (zh) * 2022-10-31 2024-09-06 国网湖北省电力有限公司石首市供电公司 一种电力设备检测报警系统

Citations (2)

* Cited by examiner, † Cited by third party
Publication number Priority date Publication date Assignee Title
JPH11155226A (ja) * 1997-11-21 1999-06-08 Sumitomo Wiring Syst Ltd ワイヤハーネスおよび該ワイヤハーネスの取付構造
JP2010049947A (ja) * 2008-08-22 2010-03-04 Yazaki Corp ワイヤハーネス

Family Cites Families (28)

* Cited by examiner, † Cited by third party
Publication number Priority date Publication date Assignee Title
US2299140A (en) * 1939-06-28 1942-10-20 Union Carbide & Carbon Corp Wire harness
JPH084948A (ja) * 1994-06-15 1996-01-12 Sumitomo Wiring Syst Ltd ワイヤハーネス用結束具およびワイヤハーネスの結束方法
US6610929B1 (en) * 1999-01-12 2003-08-26 Autonetworks Technologies, Ltd. Wire harness for removing from a vehicle
JP2000261932A (ja) * 1999-03-05 2000-09-22 Sumitomo Wiring Syst Ltd ワイヤハーネス外装用のコルゲートチューブ
JP3731479B2 (ja) * 2001-02-05 2006-01-05 住友電装株式会社 ワイヤハーネス
JP4254079B2 (ja) * 2001-06-11 2009-04-15 住友電装株式会社 ワイヤハーネス
US20030217864A1 (en) * 2001-11-20 2003-11-27 Sumitomo Wiring Systems, Ltd. Wire harness material and wire harness comprising same
WO2005085379A1 (de) * 2004-03-04 2005-09-15 Tesa Ag Hoch abriebfestes band für die bandagierung von kabelbäumen in automobilen
JP5112625B2 (ja) 2005-11-07 2013-01-09 矢崎総業株式会社 被覆電線外装シート及びワイヤーハーネス
DE102008004713A1 (de) * 2007-10-19 2009-04-23 Tesa Ag Klebeband
JP2009301944A (ja) * 2008-06-16 2009-12-24 Sumitomo Wiring Syst Ltd 電線巻付用の粘着テープおよび該粘着テープを巻き付けたワイヤハーネス
JP5417922B2 (ja) * 2009-03-19 2014-02-19 住友電装株式会社 ワイヤハーネス
JP5478169B2 (ja) * 2009-09-14 2014-04-23 矢崎総業株式会社 ワイヤハーネスの配索方法
JP5530690B2 (ja) * 2009-09-24 2014-06-25 矢崎総業株式会社 ワイヤハーネス
CN103004042A (zh) * 2010-07-16 2013-03-27 矢崎总业株式会社 线束保护结构
DE202010014239U1 (de) * 2010-10-14 2010-12-30 Certoplast Vorwerk & Sohn Gmbh Klebeband sowie aus dem Klebeband hergestellte Schlauchummantelung
JP5710233B2 (ja) * 2010-12-10 2015-04-30 矢崎総業株式会社 ワイヤハーネスの製造方法
DE102011005763A1 (de) * 2011-03-18 2012-09-20 Tesa Se Klebeband zum Ummanteln von langgestrecktem Gut wie insbesondere Kabelsätzen und Verfahren zur Ummantelung
JP5803473B2 (ja) * 2011-09-16 2015-11-04 住友電装株式会社 ワイヤーハーネス及びその製造方法
JP5660001B2 (ja) * 2011-10-20 2015-01-28 住友電装株式会社 ワイヤーハーネス及びワイヤーハーネスの製造方法
EP2695926A1 (de) * 2012-08-07 2014-02-12 tesa SE ESH-vernetztes Klebeband zum Ummanteln von insbesondere Kabelsätzen und Verwendung zur Ummantelung
JP5940024B2 (ja) * 2013-06-28 2016-06-29 株式会社オートネットワーク技術研究所 ワイヤハーネス用バンドの結束構造
US20150037523A1 (en) * 2013-07-30 2015-02-05 Tesa Se Heat-reflective adhesive product having high abrasion-resistance
JP2015088397A (ja) * 2013-11-01 2015-05-07 株式会社オートネットワーク技術研究所 車両用のワイヤハーネスおよび該ワイヤハーネスの製造方法
JP6259721B2 (ja) * 2014-06-12 2018-01-10 グンゼ株式会社 金属線巻付けテープ材及び被覆長尺材
JP2016048615A (ja) * 2014-08-27 2016-04-07 住友電装株式会社 ワイヤーハーネス
JP2016167952A (ja) * 2015-03-10 2016-09-15 住友電装株式会社 ワイヤハーネスの電線外装構造
JP6477538B2 (ja) * 2016-02-24 2019-03-06 株式会社オートネットワーク技術研究所 外装部材付電線

Patent Citations (2)

* Cited by examiner, † Cited by third party
Publication number Priority date Publication date Assignee Title
JPH11155226A (ja) * 1997-11-21 1999-06-08 Sumitomo Wiring Syst Ltd ワイヤハーネスおよび該ワイヤハーネスの取付構造
JP2010049947A (ja) * 2008-08-22 2010-03-04 Yazaki Corp ワイヤハーネス

Cited By (1)

* Cited by examiner, † Cited by third party
Publication number Priority date Publication date Assignee Title
JP7547236B2 (ja) 2021-02-04 2024-09-09 古河電気工業株式会社 接続部保護構造および接続部保護方法

Also Published As

Publication number Publication date
JP2021016279A (ja) 2021-02-12
US20220277869A1 (en) 2022-09-01
JP7215363B2 (ja) 2023-01-31
CN114080736A (zh) 2022-02-22
US12009122B2 (en) 2024-06-11
CN114080736B (zh) 2024-05-17

Similar Documents

Publication Publication Date Title
US8525029B2 (en) Vehicle electrical conduction path
US20110297415A1 (en) Wire harness
KR20140015509A (ko) 실드 전선
WO2015025892A1 (ja) ワイヤハーネス
WO2021010146A1 (ja) ワイヤーハーネス
JP6239882B2 (ja) ワイヤハーネス
US10651640B2 (en) Grommet and wire harness using the same
JP2021151139A (ja) ワイヤハーネス
JP7367559B2 (ja) ワイヤハーネス
JP7180752B2 (ja) ワイヤハーネス
US11634092B2 (en) Wire harness capable of suppressing a decrease in insulation reliability
JP2010126648A (ja) ワイヤハーネス結束用テープ
JP2021151138A (ja) ワイヤハーネス
JP2010049947A (ja) ワイヤハーネス
WO2021079545A1 (ja) ワイヤハーネス
JP3144372U (ja) ワイヤーハーネスの保護構造
JP2007288898A (ja) ワイヤハーネス分岐部の保護構造
JP2010004615A (ja) ワイヤーハーネス用の外装材
JP7516195B2 (ja) ワイヤハーネス
WO2021010145A1 (ja) ワイヤーハーネス
CN115136744A (zh) 线束
US20220262542A1 (en) Wire harness
JP2020053361A (ja) ワイヤーハーネス
JPH10210627A (ja) 電線外装材
US20230352207A1 (en) Wire harness

Legal Events

Date Code Title Description
121 Ep: the epo has been informed by wipo that ep was designated in this application

Ref document number: 20838877

Country of ref document: EP

Kind code of ref document: A1

NENP Non-entry into the national phase

Ref country code: DE

122 Ep: pct application non-entry in european phase

Ref document number: 20838877

Country of ref document: EP

Kind code of ref document: A1