WO2020262684A1 - プレスブレーキおよびプレスブレーキの運転方法 - Google Patents

プレスブレーキおよびプレスブレーキの運転方法 Download PDF

Info

Publication number
WO2020262684A1
WO2020262684A1 PCT/JP2020/025402 JP2020025402W WO2020262684A1 WO 2020262684 A1 WO2020262684 A1 WO 2020262684A1 JP 2020025402 W JP2020025402 W JP 2020025402W WO 2020262684 A1 WO2020262684 A1 WO 2020262684A1
Authority
WO
WIPO (PCT)
Prior art keywords
work
punch
backup plate
die
press brake
Prior art date
Legal status (The legal status is an assumption and is not a legal conclusion. Google has not performed a legal analysis and makes no representation as to the accuracy of the status listed.)
Ceased
Application number
PCT/JP2020/025402
Other languages
English (en)
French (fr)
Japanese (ja)
Inventor
豪生 岡田
大樹 織部
矢野 仁志
クリストフ ティファエルト
アレクサンデル コルネルス
Current Assignee (The listed assignees may be inaccurate. Google has not performed a legal analysis and makes no representation or warranty as to the accuracy of the list.)
LVD Co NV
Kawasaki Heavy Industries Ltd
Kawasaki Motors Ltd
Original Assignee
LVD Co NV
Kawasaki Heavy Industries Ltd
Kawasaki Jukogyo KK
Priority date (The priority date is an assumption and is not a legal conclusion. Google has not performed a legal analysis and makes no representation as to the accuracy of the date listed.)
Filing date
Publication date
Application filed by LVD Co NV, Kawasaki Heavy Industries Ltd, Kawasaki Jukogyo KK filed Critical LVD Co NV
Priority to EP20832991.2A priority Critical patent/EP3991869B1/en
Priority to JP2021528291A priority patent/JP7169447B2/ja
Priority to EP25171666.8A priority patent/EP4566735B1/en
Publication of WO2020262684A1 publication Critical patent/WO2020262684A1/ja
Priority to US17/563,087 priority patent/US12076776B2/en
Anticipated expiration legal-status Critical
Ceased legal-status Critical Current

Links

Images

Classifications

    • BPERFORMING OPERATIONS; TRANSPORTING
    • B21MECHANICAL METAL-WORKING WITHOUT ESSENTIALLY REMOVING MATERIAL; PUNCHING METAL
    • B21DWORKING OR PROCESSING OF SHEET METAL OR METAL TUBES, RODS OR PROFILES WITHOUT ESSENTIALLY REMOVING MATERIAL; PUNCHING METAL
    • B21D5/00Bending sheet metal along straight lines, e.g. to form simple curves
    • B21D5/02Bending sheet metal along straight lines, e.g. to form simple curves on press brakes without making use of clamping means
    • B21D5/0209Tools therefor
    • BPERFORMING OPERATIONS; TRANSPORTING
    • B21MECHANICAL METAL-WORKING WITHOUT ESSENTIALLY REMOVING MATERIAL; PUNCHING METAL
    • B21DWORKING OR PROCESSING OF SHEET METAL OR METAL TUBES, RODS OR PROFILES WITHOUT ESSENTIALLY REMOVING MATERIAL; PUNCHING METAL
    • B21D5/00Bending sheet metal along straight lines, e.g. to form simple curves
    • B21D5/02Bending sheet metal along straight lines, e.g. to form simple curves on press brakes without making use of clamping means
    • B21D5/0272Deflection compensating means
    • BPERFORMING OPERATIONS; TRANSPORTING
    • B21MECHANICAL METAL-WORKING WITHOUT ESSENTIALLY REMOVING MATERIAL; PUNCHING METAL
    • B21DWORKING OR PROCESSING OF SHEET METAL OR METAL TUBES, RODS OR PROFILES WITHOUT ESSENTIALLY REMOVING MATERIAL; PUNCHING METAL
    • B21D5/00Bending sheet metal along straight lines, e.g. to form simple curves
    • B21D5/02Bending sheet metal along straight lines, e.g. to form simple curves on press brakes without making use of clamping means
    • B21D5/0281Workpiece supporting devices

Definitions

  • the present invention relates to a press brake that bends a work and an operation method thereof.
  • the partial bending method is a method in which the work is bent with the back surface of the work floating in the groove without causing the work to bottom out in the groove of the die with a punch.
  • Other methods include a bottoming method, a coining method, and WING BEND (registered trademark), all of which have the workpiece bottomed out on the die.
  • a method of bottoming the work against the die a method of molding using a urethane die is also known.
  • the partial bending method is advantageous in that an arbitrary bending angle can be obtained from a wide range of angles by changing the pushing amount of the punch with respect to the groove shape of the die.
  • the work since the work is stopped in the groove while floating, it is not possible to make the work follow the groove shape of the mold, and it is difficult to increase the molding accuracy so that the target bending angle can be obtained. ..
  • molding cannot be performed unless the work is on the edge portions on both sides of the groove. Therefore, the end portion of the work that is supported only by the edge portion on one side is a conventional method. It is impossible to bend it.
  • an object of the present invention is to provide a press brake and an operation method thereof that can improve bending accuracy even for a work whose plate thickness changes in the longitudinal direction.
  • the press brake according to the present application is a press brake that bends a work by a die and a punch, and is a pair of shoulders arranged apart from each other in the work conveying direction to support the back surface of the work, and the pair of shoulders.
  • a die having a groove formed between the shoulders, a backup plate that is spread over the pair of shoulders to cover the groove and is interposed between the die and the work, and relative to the die.
  • a punch that moves and presses the work within the elastically deformed region of the backup plate and bends the work is provided.
  • a reaction force is applied to the work from the backup plate that elastically deforms according to the bending of the work at the time of pressing, so that the same processing accuracy as when the work is bottomed against the die and molded can be obtained. Even the edges of the material can be bent.
  • the bending shape applied to the work can be controlled according to the pushing amount, and free forming is possible regardless of the plate thickness, and the forming accuracy is improved.
  • FIG. 3A is a diagram in which the end portion of the work is bent using the repulsive force applying mechanism
  • FIG. 3B is a diagram in which the non-end portion of the work is bent without using the repulsive force applying mechanism.
  • FIG. 3A is a diagram in which the end portion of the work is bent using the repulsive force applying mechanism
  • FIG. 3B is a diagram in which the non-end portion of the work is bent without using the repulsive force applying mechanism.
  • FIG. 3B is a diagram in which the non-end portion of the work is bent without using the repulsive force applying mechanism.
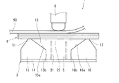
  • FIG. 1 is a side view of the press brake 1 according to the first embodiment
  • FIG. 2 is a block diagram showing the press brake 1 according to the first embodiment.
  • the press brake 1 shown in FIGS. 1 and 2 can be multi-stage bent into a plate-shaped long (and wide) work 90, and the work 90 is relatively large, for example, a skin of an aircraft fuselage portion. A cylindrical body with a diameter can be manufactured.
  • the press brake 1 includes a transport mechanism (conveyor) 2, a die 3, a backup plate 4, a repulsive force applying mechanism (repulsive force applying device) 5, a punch 6, a punch driving mechanism (punch driving device) 7, and a control device 8. Be prepared.
  • the transport mechanism 2 intermittently transports the work 90.
  • the specific configuration of the transport mechanism 2 is not particularly limited. For example, it may be configured by a conveyor or a robot having a hand at the tip of a robot arm.
  • the die 3 has a pair of shoulder portions 11 and 12 that are arranged apart from each other in the transport direction of the work 90 and support the back surface of the work 90, and a groove portion 13 formed between the pair of shoulder portions 11 and 12.
  • the die 3 has a base plate 14 and a pair of lower mold elements 15 and 16 erected from the base plate 14.
  • the lower mold elements 15 and 16 are arranged apart from each other in the transport direction, and the tops of the lower mold elements 15 and 16 form the shoulder portions 11 and 12.
  • the lower mold elements 15 and 16 have facing surfaces facing each other, and the facing surfaces include tapered portions 15a and 16a that incline toward each other in the transport direction from the top to the bottom.
  • tapered portions 15a and 16a partition the groove portion 13, and the groove portion 13 has a substantially V-shaped cross-sectional shape.
  • the facing surface includes the vertical portions 15b and 16b that continuously extend vertically downward from the lower ends of the tapered portions 15a and 16a and face each other in parallel.
  • the die 3 shown in FIG. 1 is an example as described above, and is not limited to this configuration.
  • the base plate 14 and the pair of lower mold elements 15 and 16 may be integrally formed of a single member, and the lower mold elements 15 and 16 have tapered portions 15a and 16a. It does not have to be, and it does not have to have the vertical portions 15b and 16b, and the shape of the die 3 can be appropriately set.
  • the backup plate 4 spans a pair of shoulder portions 11 and 12 and covers the groove portion 13.
  • the backup plate 4 has a laminated structure in which a plurality of thin plates are stacked. As a result, even if the work 90 is pressed by the punch 6 and plastically deformed, the backup plate 4 does not plastically deform and can only be deformed within the elastic deformation region.
  • the material of each thin plate is not particularly limited, but is formed from a metal material having a relatively large elastic deformation region, for example, spring steel. Further, the number of laminated sheets is not particularly limited, and may be at least two or more, and may be 10 or more.
  • the laminated thin plates are not adhered to each other by an adhesive or the like and are left as they are stacked.
  • adjacent thin plates may be partially connected to each other.
  • the repulsive force applying mechanism 5 supports a portion of the backup plate 4 between the pair of shoulders 11 and 12 from below, and applies an upward repulsive force to the back surface of the backup plate 4.
  • the repulsive force applying mechanism 5 includes a spring 21 arranged between a pair of lower mold elements 15 and 16.
  • the spring 21 is a coil spring, and the expansion / contraction direction is directed in the vertical direction.
  • the lower end of the spring 21 is supported by the base plate 14 between the vertical portions 15b and 16b of the lower mold elements 15 and 16, and is supported by the floor surface of the work space together with the lower mold elements 15 and 16.
  • the plate 22 is attached to the upper end of the spring 21, but the plate 22 is not essential. For example, when the backup plate 4 is unloaded, the upper end of the spring 21 may be brought into direct contact with the back surface of the backup plate 4, or the two may be kept apart from each other without being brought into contact with each other.
  • the repulsive force applying mechanism 5 may be a gas cylinder installed so that the repulsive force is generated in the vertical direction, and also in this case, at the tip of the portion that generates the repulsive force with respect to the backup plate 4.
  • the plate 22 is attached, but not required.
  • the repulsive force applying mechanism 5 is used when the end of the work 90, which is thick and requires a large processing force (pressing pressure by the punch 6), is pressed by the punch 6. Therefore, it does not have to be used when pressing the non-end portion (intermediate portion) of the work 90.
  • the method for switching between when the repulsive force applying mechanism 5 is used and when it is not used is not particularly limited. For example, even if the base plate 14 is divided into a portion that supports the lower mold elements 15 and 16 and a portion that supports the spring 21, the repulsive force applying mechanism 5 is configured to be movable in the vertical direction or the horizontal direction. Good.
  • the repulsive force applying mechanism 5 is located between the lower mold elements 15 and 16 so that it can come into contact with the back surface of the backup plate 4, and the repulsive force applying mechanism 5 does not come into contact with the back surface of the backup plate 4. Switching between an unused state that retracts to a lower position or a lateral position can be automated. Alternatively, the worker may manually attach and remove the repulsive force applying mechanism 5 in a timely manner.
  • the punch 6 can move relative to the die 3 in the vertical direction.
  • the die 3 is fixed to the floor surface and the punch 6 can move in the vertical direction with respect to the floor surface.
  • the die 3 can move in the vertical direction. It may be.
  • the punch 6 is arranged above the die 3, the backup plate 4, and the work 90. As the punch 6 moves downward, the surface of the work 90 is pressed. At this time, the backup plate 4 is deformed together with the work 90, which is the deformation within the elastic deformation region. As a result, stress is applied as intended just below the punch 6 of the work 90, and the bent shape is correctly applied. As described above, this press brake 1 is compatible with multi-step bending.
  • the punch drive mechanism 7 is an actuator that moves the punch 6 up and down. As an example, it is composed of hydraulic cylinders in which rods are arranged in the vertical direction.
  • the control device 8 controls at least the operations of the transport mechanism 2 and the punch drive mechanism 7. When the repulsive force applying mechanism 5 is automatically switched between use and non-use, the control device 8 also controls the operation of the moving mechanism (moving device) 9 that moves the repulsive force applying mechanism 5.
  • the backup plate 4 is installed on the die 3, and the backup plate 4 is in a state where the repulsive force is applied by the repulsive force applying mechanism 5.
  • the work 90 starts to be conveyed and the end of the work 90 approaches the backup plate 4 and directly under the punch 6, the work 90 stops being conveyed.
  • the punch 6 is lowered.
  • the backup plate 4 bends while the work 90 is sandwiched between the punch 6 and the backup plate 4, so that the reaction force of the backup plate 4 is transmitted to the work 90.
  • the repulsive force exerted by the repulsive force applying mechanism 5 increases as the punch 6 is pushed in, and the repulsive force is added to the reaction force and transmitted to the work 90.
  • a large reaction force (including a repulsive force) can be obtained. That is, when the pressing portion of the work 90 located on the backup plate 4 is the end portion of the work 90, the repulsive force applying mechanism 5 applies the repulsive force to the end portion. Therefore, the target bending shape can be accurately applied to the end portion of the work 90. However, at this time, a strong load is also applied to the punch 6.
  • the punch 6 moves upward and retracts from the die 3 and the work 90. Then, after repeating this intermittently once or a plurality of times, the work 90 is transported by a predetermined transport amount, and the non-end portion of the work 90 is supported on the backup plate 4, that is, the work 90. The transfer of the work 90 is stopped in a state where the end portion is outside the pair of shoulder portions 11 and 12 in the transfer direction. When the transport of the work 90 is stopped, the punch 6 is moved downward again to press the work 90, but at this time, the repulsive force applying mechanism 5 is kept retracted from the die 3. Therefore, although the reaction force is increased by the backup plate 4, the reaction force is not as large as when the end portion is bent.
  • the repulsive force applying mechanism 5 does not apply the repulsive force to the non-end portion.
  • the reaction force of the backup plate 4 is obtained for the non-end portion, so that the load on the punch 6 is reduced while improving the molding accuracy, and the life of the punch 6 and the punch drive mechanism 7 can be extended.
  • the pressing by the punch 6 is performed in the elastic deformation region of the backup plate 4. Therefore, when the punch 6 moves upward and the work 90 and the backup plate 4 are unloaded, the backup plate 4 is restored to its original shape and is in a posture of being horizontally laid over a pair of shoulders to back up. The stroke of the punch 6 does not change due to the deformation of the plate 4. Therefore, the press brake 1 is a device in which the same bending can be obtained by the same stroke each time and the reproducibility is high.
  • the work 90 is intermittently conveyed, and each time the work 90 is stopped, the punch 6 presses the work 90.
  • the repulsive force applying mechanism is again applied.
  • the end of the work 90 is pressed by the punch 6 while applying a repulsive force to the backup plate 4 at 5.
  • a desired bending shape can be accurately applied to the work 90, and the load applied to the punch 6 can be reduced as much as possible.
  • the back surface of the work 90 is supported by the backup plate 4 on the surface, and the back surface of the work 90 is supported by the backup plate 4 even in the process of deforming the work 90 pressed by the punch 6 (FIG. 3B). reference). That is, a large gap does not occur between the back surface of the work 90 and the upper surface of the backup plate 4. Therefore, for example, in the work 90, even when the punch 6 presses the vicinity of a portion (plate thickness step portion) where there is a relatively large difference in plate thickness between the upstream side and the downstream side in the transport direction, the plate thickness is high. It is possible to suppress the occurrence of kink at the changing site and to impart a desired curvature.
  • the back surface of the work 90 is widely supported by the backup plate 4 as described above. Therefore, since the stress can be dispersed on the back surface of the work 90, it is possible to prevent the occurrence of kink even when pressing the vicinity of the plate thickness step portion.
  • the repulsive force applying mechanism 5 may also be used when pressing the non-end portion of the work 90 with the punch 6.
  • the plate 22 at the upper end of the spring 21 is arranged downward by a predetermined distance from the back surface of the backup plate 4. Then, when giving a large radius of curvature to the work 90, a small pressing force is applied to the target portion by the punch 6. Then, in this portion, the plate 22 does not come into contact with the back surface of the work 90, and only the reaction force of the backup plate 4 is applied to the work 90 from below, so that the bending process can be performed with a relatively small pressing force.
  • a large pressing force is applied to the target portion by the punch 6.
  • the plate 22 comes into contact with the back surface of the work 90, and the repulsive force of the spring 21 is applied to the work 90 in addition to the reaction force of the backup plate 4. Therefore, even in the bending process with a relatively large pressing force, the surface pressure can be appropriately applied to the back surface of the work 90.
  • the spring 21 of the repulsive force applying mechanism 5 may be configured by connecting two or more spring elements having different elastic coefficients in series.
  • the spring element having a small elastic modulus is contracted and deformed, so that the surface pressure on the back surface of the work 90 can be suppressed from becoming excessive.
  • a spring element having a large elastic modulus supports the work 90, so that an appropriate surface pressure can be applied to the back surface of the work 90. Therefore, in this case, the plate 22 may be kept in contact with the back surface of the backup plate 4 at all times.
  • FIG. 4 is a side view of the press brake 1A according to the second embodiment.
  • the configuration of the backup plate 4 is different from that described in the first embodiment, but other configurations are the same as those described in the first embodiment.
  • the press brake 1A described here can also be operated in the same manner as in the first embodiment by the control device 8 described with reference to FIG.
  • the backup plate 4 of the press brake 1A has a laminated structure in which a plurality of thin plates are laminated.
  • the thin plate located closest to the punch 6 (hereinafter, "surface plate 40") has a structure different from that of the other thin plates (hereinafter, "inner plate 41").
  • the inner plate 41 is formed in a flat flat plate shape over the entire surface.
  • the surface plate 40 has a flat plate portion 40a and a curved portion 40b.
  • the flat plate portion 40a has a flat plate shape having substantially the same area as the inner plate 41, and the curved portion 40b is configured such that both ends of the surface plate 40 in the transport direction are curved in a direction away from the punch 6.
  • the curved portion 40b covers the end portion of the inner plate 41 in the transport direction.
  • the curved portion 40b of the surface plate 40 can prevent the inner plate 41 below the curved portion 40 from being displaced in the transport direction. Further, since the end portion of the inner plate 41 in the transport direction is not exposed, it is possible to prevent scratches on the back surface of the work 90 due to contact with the end portion.
  • the functions of the elements disclosed herein include general purpose processors, dedicated processors, integrated circuits, ASICs (Application Specific Integrated Circuits), conventional circuits, and / or them, configured or programmed to perform the disclosed functions. It can be performed using a circuit or processing circuit that includes a combination of.
  • a processor is considered a processing circuit or circuit because it contains transistors and other circuits.
  • a circuit, unit, or means is hardware that performs the listed functions or is programmed to perform the listed functions.
  • the hardware may be the hardware disclosed herein, or it may be other known hardware that is programmed or configured to perform the listed functions.
  • the circuit, means, or unit is a combination of hardware and software, and the software is used to configure the hardware and / or processor.

Landscapes

  • Engineering & Computer Science (AREA)
  • Mechanical Engineering (AREA)
  • Bending Of Plates, Rods, And Pipes (AREA)
PCT/JP2020/025402 2019-06-28 2020-06-26 プレスブレーキおよびプレスブレーキの運転方法 Ceased WO2020262684A1 (ja)

Priority Applications (4)

Application Number Priority Date Filing Date Title
EP20832991.2A EP3991869B1 (en) 2019-06-28 2020-06-26 Press brake, and method for operating press brake
JP2021528291A JP7169447B2 (ja) 2019-06-28 2020-06-26 プレスブレーキおよびプレスブレーキの運転方法
EP25171666.8A EP4566735B1 (en) 2019-06-28 2020-06-26 PRESS BRAKE OPERATING METHOD
US17/563,087 US12076776B2 (en) 2019-06-28 2021-12-28 Press brake and method of operating press brake

Applications Claiming Priority (2)

Application Number Priority Date Filing Date Title
JP2019-122092 2019-06-28
JP2019122092 2019-06-28

Related Child Applications (1)

Application Number Title Priority Date Filing Date
US17/563,087 Continuation US12076776B2 (en) 2019-06-28 2021-12-28 Press brake and method of operating press brake

Publications (1)

Publication Number Publication Date
WO2020262684A1 true WO2020262684A1 (ja) 2020-12-30

Family

ID=74061746

Family Applications (1)

Application Number Title Priority Date Filing Date
PCT/JP2020/025402 Ceased WO2020262684A1 (ja) 2019-06-28 2020-06-26 プレスブレーキおよびプレスブレーキの運転方法

Country Status (4)

Country Link
US (1) US12076776B2 (enExample)
EP (2) EP3991869B1 (enExample)
JP (1) JP7169447B2 (enExample)
WO (1) WO2020262684A1 (enExample)

Citations (8)

* Cited by examiner, † Cited by third party
Publication number Priority date Publication date Assignee Title
JPS4965978A (enExample) * 1972-10-30 1974-06-26
JPH01313112A (ja) * 1988-04-25 1989-12-18 Haemmerle Ag Mas Fab 加工部品を所定の曲げ角度に曲げる方法
JPH0281717U (enExample) * 1988-12-02 1990-06-25
JPH1058043A (ja) * 1996-08-26 1998-03-03 Komatsu Ltd 曲げ加工方法および曲げ加工装置
WO2001053020A1 (en) * 2000-01-17 2001-07-26 Amada Company, Limited Bending method and bending device
JP3236310B2 (ja) * 1991-06-27 2001-12-10 株式会社アマダ 折曲げ加工装置
JP2016059935A (ja) 2014-09-17 2016-04-25 株式会社アマダホールディングス プレスブレーキ及び多段曲げ加工方法
WO2018143302A1 (ja) * 2017-01-31 2018-08-09 日軽金アクト株式会社 金型および該金型を用いた加工方法

Family Cites Families (13)

* Cited by examiner, † Cited by third party
Publication number Priority date Publication date Assignee Title
US2781849A (en) * 1952-03-25 1957-02-19 Hartford Nat Bank & Trust Co Method of forming small apertures in thin metal plate-shaped articles
US3263319A (en) * 1964-02-28 1966-08-02 Varian Associates Method of cold deep drawing metal foil
US3566661A (en) * 1968-07-29 1971-03-02 Budd Co Metal forming
JPS5311273B2 (enExample) 1973-12-27 1978-04-20
JPS5339183B2 (enExample) * 1974-07-22 1978-10-19
US5542282A (en) * 1994-03-09 1996-08-06 Inner Act, Inc. Markless press brake material protector
US5956991A (en) * 1998-08-19 1999-09-28 Tseng; Shao-Chien Forming device for shaped decoration panels
US6865917B2 (en) * 2003-03-27 2005-03-15 Ford Motor Company Flanging and hemming process with radial compression of the blank stretched surface
US8733145B1 (en) * 2011-01-25 2014-05-27 Valmont Newmark, Inc. Method of forming a pole and saddle
AT512282B1 (de) * 2012-06-18 2013-07-15 Trumpf Maschinen Austria Gmbh Biegepresse mit Winkelerfassungsvorrichtung
JP2014004606A (ja) * 2012-06-25 2014-01-16 Futaba:Kk アール曲げ用金型
JP6460695B2 (ja) * 2014-03-31 2019-01-30 東京精密発條株式会社 金属板の曲げ加工装置
JP6963387B2 (ja) * 2017-01-18 2021-11-10 川崎重工業株式会社 曲げ加工方法

Patent Citations (8)

* Cited by examiner, † Cited by third party
Publication number Priority date Publication date Assignee Title
JPS4965978A (enExample) * 1972-10-30 1974-06-26
JPH01313112A (ja) * 1988-04-25 1989-12-18 Haemmerle Ag Mas Fab 加工部品を所定の曲げ角度に曲げる方法
JPH0281717U (enExample) * 1988-12-02 1990-06-25
JP3236310B2 (ja) * 1991-06-27 2001-12-10 株式会社アマダ 折曲げ加工装置
JPH1058043A (ja) * 1996-08-26 1998-03-03 Komatsu Ltd 曲げ加工方法および曲げ加工装置
WO2001053020A1 (en) * 2000-01-17 2001-07-26 Amada Company, Limited Bending method and bending device
JP2016059935A (ja) 2014-09-17 2016-04-25 株式会社アマダホールディングス プレスブレーキ及び多段曲げ加工方法
WO2018143302A1 (ja) * 2017-01-31 2018-08-09 日軽金アクト株式会社 金型および該金型を用いた加工方法

Non-Patent Citations (1)

* Cited by examiner, † Cited by third party
Title
See also references of EP3991869A4

Also Published As

Publication number Publication date
EP4566735A3 (en) 2025-06-18
US12076776B2 (en) 2024-09-03
EP3991869A4 (en) 2023-07-12
EP3991869B1 (en) 2025-11-12
JP7169447B2 (ja) 2022-11-10
EP4566735A2 (en) 2025-06-11
EP3991869A1 (en) 2022-05-04
JPWO2020262684A1 (enExample) 2020-12-30
EP4566735B1 (en) 2025-12-31
US20220118495A1 (en) 2022-04-21

Similar Documents

Publication Publication Date Title
US10471493B2 (en) Pressed component manufacturing method, press, and press line
CN102099133B (zh) 工件弯曲加工方法及装置
JP7133694B2 (ja) 曲げ加工方法
CN102554008B (zh) 主动可重构的拉伸成形工具和方法
CN102574190B (zh) 用粘结剂中间层制成片构件接合部的方法及设备
CN110709181B (zh) 冲压成型品的制造方法以及冲压生产线
US10500625B2 (en) Method for manufacturing metal component with three-dimensional edge and die sets for manufacturing the same
JP2020028886A (ja) 三次元プレス装置
US7562551B2 (en) Press die set for a multi-step press system
US12070787B2 (en) Press forming method and press apparatus
JP6198981B1 (ja) ワークの曲げ加工方法及び装置
WO2020262684A1 (ja) プレスブレーキおよびプレスブレーキの運転方法
CN110038947A (zh) 弯曲加工方法和弯曲加工装置
JP2000042681A (ja) フランジ付き軸受の製作方法および装置
JP2009166070A (ja) ワーク加工装置及びワーク加工方法
KR20210004429A (ko) 제작비용 절감이 가능한 플라잉 캠형 프레스 장치
US3106391A (en) Method and apparatus for separating sheet materials
KR20160141886A (ko) 비대칭 프레스 가공물용 이송 스트립
JP7608017B2 (ja) プレス成形金型及びプレス成形方法
JP5933299B2 (ja) プレス成形装置
JP6872423B2 (ja) プレス装置
JP4319651B2 (ja) 鍛造プレスにおけるトランスファフィーダ
JP4319652B2 (ja) 鍛造プレスにおけるトランスファフィーダ
JP2024154091A (ja) パネル成形装置及びパネル成形方法
JP2025034619A (ja) プレス成形方法、プレス成形装置、及び成形方法

Legal Events

Date Code Title Description
121 Ep: the epo has been informed by wipo that ep was designated in this application

Ref document number: 20832991

Country of ref document: EP

Kind code of ref document: A1

ENP Entry into the national phase

Ref document number: 2021528291

Country of ref document: JP

Kind code of ref document: A

NENP Non-entry into the national phase

Ref country code: DE

WWE Wipo information: entry into national phase

Ref document number: 2020832991

Country of ref document: EP

WWG Wipo information: grant in national office

Ref document number: 2020832991

Country of ref document: EP