WO2020255721A1 - カテーテル - Google Patents

カテーテル Download PDF

Info

Publication number
WO2020255721A1
WO2020255721A1 PCT/JP2020/021980 JP2020021980W WO2020255721A1 WO 2020255721 A1 WO2020255721 A1 WO 2020255721A1 JP 2020021980 W JP2020021980 W JP 2020021980W WO 2020255721 A1 WO2020255721 A1 WO 2020255721A1
Authority
WO
WIPO (PCT)
Prior art keywords
catheter
shaft
tip
inner shaft
core wire
Prior art date
Legal status (The legal status is an assumption and is not a legal conclusion. Google has not performed a legal analysis and makes no representation as to the accuracy of the status listed.)
Ceased
Application number
PCT/JP2020/021980
Other languages
English (en)
French (fr)
Japanese (ja)
Inventor
武治 桂田
Current Assignee (The listed assignees may be inaccurate. Google has not performed a legal analysis and makes no representation or warranty as to the accuracy of the list.)
Asahi Intecc Co Ltd
Original Assignee
Asahi Intecc Co Ltd
Priority date (The priority date is an assumption and is not a legal conclusion. Google has not performed a legal analysis and makes no representation as to the accuracy of the date listed.)
Filing date
Publication date
Application filed by Asahi Intecc Co Ltd filed Critical Asahi Intecc Co Ltd
Publication of WO2020255721A1 publication Critical patent/WO2020255721A1/ja
Anticipated expiration legal-status Critical
Ceased legal-status Critical Current

Links

Images

Classifications

    • AHUMAN NECESSITIES
    • A61MEDICAL OR VETERINARY SCIENCE; HYGIENE
    • A61MDEVICES FOR INTRODUCING MEDIA INTO, OR ONTO, THE BODY; DEVICES FOR TRANSDUCING BODY MEDIA OR FOR TAKING MEDIA FROM THE BODY; DEVICES FOR PRODUCING OR ENDING SLEEP OR STUPOR
    • A61M25/00Catheters; Hollow probes
    • A61M25/01Introducing, guiding, advancing, emplacing or holding catheters
    • AHUMAN NECESSITIES
    • A61MEDICAL OR VETERINARY SCIENCE; HYGIENE
    • A61MDEVICES FOR INTRODUCING MEDIA INTO, OR ONTO, THE BODY; DEVICES FOR TRANSDUCING BODY MEDIA OR FOR TAKING MEDIA FROM THE BODY; DEVICES FOR PRODUCING OR ENDING SLEEP OR STUPOR
    • A61M25/00Catheters; Hollow probes
    • A61M25/10Balloon catheters

Definitions

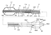
  • Some aspects of this disclosure include (1) Cylindrical inner shaft and A tubular outer shaft arranged so as to cover the inner shaft, and A catheter comprising a core wire that is inserted into a lumen formed inside the outer shaft and outside the inner shaft.
  • the core wire has an engaging portion having a non-circular cross section.
  • the outer shaft 41 is a tubular (hollow shape) shaft arranged so as to cover the inner shaft 11. Inside the outer shaft 41, a cavity 41a extending along the long axis direction is formed between the outer shaft 41 and the inner shaft 11. The tip of the outer shaft 41 is joined to the base end of the balloon 31.
  • the outer shaft 41 can be configured in the order of, for example, from the tip side to the tip end side outer shaft portion 411 and the base end side outer shaft portion 412.
  • the tip end side outer shaft portion 411 and the base end side outer shaft portion 412 may be integrated or may be joined separately.
  • the lumen L21 is formed by the lumen 41a and the lumen 62a1
  • the lumen L22 is formed by the lumen 12a and the lumen 62b1.
  • a core wire 51 is inserted through the lumen L21, and an expansion liquid is circulated.
  • a guide wire or the like is inserted through the lumen L22.

Landscapes

  • Health & Medical Sciences (AREA)
  • Life Sciences & Earth Sciences (AREA)
  • Heart & Thoracic Surgery (AREA)
  • Biomedical Technology (AREA)
  • Engineering & Computer Science (AREA)
  • Anesthesiology (AREA)
  • Pulmonology (AREA)
  • Biophysics (AREA)
  • Hematology (AREA)
  • Animal Behavior & Ethology (AREA)
  • General Health & Medical Sciences (AREA)
  • Public Health (AREA)
  • Veterinary Medicine (AREA)
  • Child & Adolescent Psychology (AREA)
  • Media Introduction/Drainage Providing Device (AREA)
PCT/JP2020/021980 2019-06-19 2020-06-03 カテーテル Ceased WO2020255721A1 (ja)

Applications Claiming Priority (2)

Application Number Priority Date Filing Date Title
JP2019114053A JP7352390B2 (ja) 2019-06-19 2019-06-19 カテーテル
JP2019-114053 2019-06-19

Publications (1)

Publication Number Publication Date
WO2020255721A1 true WO2020255721A1 (ja) 2020-12-24

Family

ID=73993607

Family Applications (1)

Application Number Title Priority Date Filing Date
PCT/JP2020/021980 Ceased WO2020255721A1 (ja) 2019-06-19 2020-06-03 カテーテル

Country Status (2)

Country Link
JP (1) JP7352390B2 (enExample)
WO (1) WO2020255721A1 (enExample)

Cited By (1)

* Cited by examiner, † Cited by third party
Publication number Priority date Publication date Assignee Title
EP4338780A4 (en) * 2021-05-12 2025-05-07 Asahi Intecc Co., Ltd. Catheter

Citations (4)

* Cited by examiner, † Cited by third party
Publication number Priority date Publication date Assignee Title
JP2001333984A (ja) * 2000-05-30 2001-12-04 Kawasumi Lab Inc バルーンカテーテル
JP2005246084A (ja) * 1992-02-10 2005-09-15 Scimed Life Systems Inc ガイドワイヤー末端内腔及び中間部材を備える血管内カテーテル
US20140142506A1 (en) * 2012-11-16 2014-05-22 Boston Scientific Scimed, Inc. Balloon catheter with improved pushability
JP2017012522A (ja) * 2015-07-02 2017-01-19 朝日インテック株式会社 バルーンカテーテル

Family Cites Families (2)

* Cited by examiner, † Cited by third party
Publication number Priority date Publication date Assignee Title
JP5631475B1 (ja) * 2013-11-14 2014-11-26 日本ライフライン株式会社 バルーンカテーテル
JP6342843B2 (ja) * 2015-05-01 2018-06-13 朝日インテック株式会社 バルーンカテーテル

Patent Citations (4)

* Cited by examiner, † Cited by third party
Publication number Priority date Publication date Assignee Title
JP2005246084A (ja) * 1992-02-10 2005-09-15 Scimed Life Systems Inc ガイドワイヤー末端内腔及び中間部材を備える血管内カテーテル
JP2001333984A (ja) * 2000-05-30 2001-12-04 Kawasumi Lab Inc バルーンカテーテル
US20140142506A1 (en) * 2012-11-16 2014-05-22 Boston Scientific Scimed, Inc. Balloon catheter with improved pushability
JP2017012522A (ja) * 2015-07-02 2017-01-19 朝日インテック株式会社 バルーンカテーテル

Cited By (1)

* Cited by examiner, † Cited by third party
Publication number Priority date Publication date Assignee Title
EP4338780A4 (en) * 2021-05-12 2025-05-07 Asahi Intecc Co., Ltd. Catheter

Also Published As

Publication number Publication date
JP7352390B2 (ja) 2023-09-28
JP2021000155A (ja) 2021-01-07

Similar Documents

Publication Publication Date Title
JP3697553B2 (ja) 補強されたモノレール・バルーン・カテーテル
JP3411093B2 (ja) オペレーター単独交換式カテーテル
JP5237572B2 (ja) バルーンカテーテル及びその製造方法
JPH09504980A (ja) 可変剛度の軸を有するカテーテル
JPH02224767A (ja) 操縦可能型拡張カテーテル
WO2021049282A1 (ja) バルーンカテーテルの製造方法
KR102113902B1 (ko) 벌룬 카테터
JPH0615005A (ja) バルーン拡張カテーテル
CN107405469B (zh) 导管及导管的制造方法
JP6831366B2 (ja) バルーンカテーテル、およびバルーンカテーテル用長尺部材の製造方法
JP2009519777A (ja) 均一直径の交換ジョイントを備えた迅速交換カテーテル
CN101208118B (zh) 主动脉内球囊泵成套装置
WO2020255721A1 (ja) カテーテル
JP6368284B2 (ja) バルーンカテーテル
JP2016187441A (ja) カテーテル
JPH09276411A (ja) カテーテル
WO2020240717A1 (ja) バルーンカテーテル
JP7467637B2 (ja) カテーテル
WO2021049261A1 (ja) バルーンカテーテルの製造方法
JP2022053075A (ja) バルーンカテーテル
WO2020137899A1 (ja) カテーテル組立体
CN219208650U (zh) 抗变形球囊
US20240374934A1 (en) Tissue treatment catheter having port brace
JP2015112265A (ja) カテーテル
JP2011056148A (ja) バルーンカテーテル

Legal Events

Date Code Title Description
121 Ep: the epo has been informed by wipo that ep was designated in this application

Ref document number: 20827482

Country of ref document: EP

Kind code of ref document: A1

NENP Non-entry into the national phase

Ref country code: DE

122 Ep: pct application non-entry in european phase

Ref document number: 20827482

Country of ref document: EP

Kind code of ref document: A1