WO2020170545A1 - バリスタおよびその製造方法 - Google Patents

バリスタおよびその製造方法 Download PDF

Info

Publication number
WO2020170545A1
WO2020170545A1 PCT/JP2019/047079 JP2019047079W WO2020170545A1 WO 2020170545 A1 WO2020170545 A1 WO 2020170545A1 JP 2019047079 W JP2019047079 W JP 2019047079W WO 2020170545 A1 WO2020170545 A1 WO 2020170545A1
Authority
WO
WIPO (PCT)
Prior art keywords
layer
varistor
sintered body
thickness
ineffective
Prior art date
Legal status (The legal status is an assumption and is not a legal conclusion. Google has not performed a legal analysis and makes no representation as to the accuracy of the status listed.)
Ceased
Application number
PCT/JP2019/047079
Other languages
English (en)
French (fr)
Japanese (ja)
Inventor
佳子 東
英一 古賀
Current Assignee (The listed assignees may be inaccurate. Google has not performed a legal analysis and makes no representation or warranty as to the accuracy of the list.)
Panasonic Intellectual Property Management Co Ltd
Original Assignee
Panasonic Intellectual Property Management Co Ltd
Priority date (The priority date is an assumption and is not a legal conclusion. Google has not performed a legal analysis and makes no representation as to the accuracy of the date listed.)
Filing date
Publication date
Application filed by Panasonic Intellectual Property Management Co Ltd filed Critical Panasonic Intellectual Property Management Co Ltd
Priority to US17/286,909 priority Critical patent/US11276515B2/en
Priority to CN201980090823.9A priority patent/CN113366590B/zh
Priority to JP2021501585A priority patent/JP7565484B2/ja
Publication of WO2020170545A1 publication Critical patent/WO2020170545A1/ja
Anticipated expiration legal-status Critical
Ceased legal-status Critical Current

Links

Images

Classifications

    • HELECTRICITY
    • H01ELECTRIC ELEMENTS
    • H01CRESISTORS
    • H01C7/00Non-adjustable resistors formed as one or more layers or coatings; Non-adjustable resistors made from powdered conducting material or powdered semi-conducting material with or without insulating material
    • H01C7/10Non-adjustable resistors formed as one or more layers or coatings; Non-adjustable resistors made from powdered conducting material or powdered semi-conducting material with or without insulating material voltage responsive, i.e. varistors
    • H01C7/102Varistor boundary, e.g. surface layers
    • HELECTRICITY
    • H01ELECTRIC ELEMENTS
    • H01CRESISTORS
    • H01C17/00Apparatus or processes specially adapted for manufacturing resistors
    • H01C17/28Apparatus or processes specially adapted for manufacturing resistors adapted for applying terminals
    • HELECTRICITY
    • H01ELECTRIC ELEMENTS
    • H01CRESISTORS
    • H01C7/00Non-adjustable resistors formed as one or more layers or coatings; Non-adjustable resistors made from powdered conducting material or powdered semi-conducting material with or without insulating material
    • H01C7/10Non-adjustable resistors formed as one or more layers or coatings; Non-adjustable resistors made from powdered conducting material or powdered semi-conducting material with or without insulating material voltage responsive, i.e. varistors
    • H01C7/1006Thick film varistors
    • HELECTRICITY
    • H01ELECTRIC ELEMENTS
    • H01CRESISTORS
    • H01C7/00Non-adjustable resistors formed as one or more layers or coatings; Non-adjustable resistors made from powdered conducting material or powdered semi-conducting material with or without insulating material
    • H01C7/10Non-adjustable resistors formed as one or more layers or coatings; Non-adjustable resistors made from powdered conducting material or powdered semi-conducting material with or without insulating material voltage responsive, i.e. varistors
    • H01C7/105Varistor cores
    • H01C7/108Metal oxide
    • H01C7/112ZnO type
    • HELECTRICITY
    • H01ELECTRIC ELEMENTS
    • H01CRESISTORS
    • H01C7/00Non-adjustable resistors formed as one or more layers or coatings; Non-adjustable resistors made from powdered conducting material or powdered semi-conducting material with or without insulating material
    • H01C7/18Non-adjustable resistors formed as one or more layers or coatings; Non-adjustable resistors made from powdered conducting material or powdered semi-conducting material with or without insulating material comprising a plurality of layers stacked between terminals
    • HELECTRICITY
    • H01ELECTRIC ELEMENTS
    • H01CRESISTORS
    • H01C7/00Non-adjustable resistors formed as one or more layers or coatings; Non-adjustable resistors made from powdered conducting material or powdered semi-conducting material with or without insulating material
    • H01C7/10Non-adjustable resistors formed as one or more layers or coatings; Non-adjustable resistors made from powdered conducting material or powdered semi-conducting material with or without insulating material voltage responsive, i.e. varistors

Definitions

  • the present invention relates to a varistor that protects semiconductor elements and the like from surges and static electricity.
  • the varistor includes an effective layer having first and second surfaces opposite to each other, a first ineffective layer laminated on the first surface of the effective layer, and a second effective layer laminated on the second surface of the effective layer. And an external electrode.
  • the effective layer has a ceramic layer having a polycrystalline structure composed of a plurality of crystal grains exhibiting a voltage nonlinear characteristic, and a plurality of internal electrodes alternately laminated with the ceramic layer.
  • the thickness of the second ineffective layer is 1.1 times or more and 6 times or less the thickness of the first ineffective layer.
  • This varistor is small and has good surge resistance.
  • FIG. 1A is a cross-sectional view of a varistor in the embodiment.
  • FIG. 1B is a perspective view of the varistor in the embodiment.
  • FIG. 2 is an enlarged sectional view of the varistor in the embodiment.
  • FIG. 3 is a graph showing the relationship between the ineffective layer thickness of the varistor and the withstand current in the embodiment.
  • FIG. 4 is a graph showing the relationship between the withstand current and the thickness of another ineffective layer of the varistor in the embodiment.
  • FIG. 5 is a graph showing the relationship between the ratio of the thickness of two ineffective layers of the varistor and the withstand current in the embodiment.
  • FIG. 6 is a flowchart showing the method of manufacturing the varistor in the embodiment.
  • FIG. 7 is a cross-sectional view of the varistor manufacturing apparatus according to the embodiment.
  • FIG. 8 is a schematic diagram of a varistor manufacturing apparatus in the embodiment.
  • FIG. 1A and 1B are a cross-sectional view and a perspective view of a varistor 100 according to an embodiment, respectively.
  • FIG. 1A shows a cross section of the varistor 100 shown in FIG. 1B taken along line 1A-1A.
  • the varistor 100 includes an effective layer 10c having opposite surfaces 110c and 210c, an ineffective layer 10a laminated on the surface 110c of the effective layer 10c in the laminating direction D100, and an opposite surface of the effective layer 10c opposite to the laminating direction D100.
  • the ineffective layer 10b and the external electrodes 13 and 14 stacked in the direction D101 of FIG.
  • the effective layer 10c has a ceramic layer 10d, an internal electrode 11 in contact with the ceramic layer 10d, and an internal electrode 12 in contact with the ceramic layer 10d and facing the internal electrode 11 via the ceramic layer 10d.
  • the ceramic layers 10d and the internal electrodes 11 and 12 are alternately overlapped with each other to form an effective layer 10c.
  • the ineffective layer 10a is made of the same material as the ceramic layer 10d, and contacts the internal electrode 11.
  • the ineffective layer 10b is made of the same material as the ceramic layer 10d, and contacts the internal electrode 12.
  • the ceramic layer 10d, the ineffective layer 10b, and the ineffective layer 10a are integrally formed to form the element body 10.
  • the internal electrode 11 is embedded in the element body 10, has an end exposed on the end surface 110 of the element body 10 and electrically connected to the external electrode 13.
  • the internal electrode 12 is embedded in the element body 10 so as to face the internal electrode 11, has an end exposed at an end surface 210 opposite to the end surface 110 of the element body 10 and electrically connected to the external electrode 14.
  • the element body 10 and the internal electrodes 11 and 12 form a sintered body 25.
  • the varistor 100 is configured to be mounted on the mounting surface 200 so that the surface 1100, that is, the ineffective layer 10 a faces the mounting surface 200 of the substrate 201.
  • the ineffective layer 10b is located on the opposite side of the mounting surface 200 with respect to the ineffective layer 10a.
  • the varistor 100 according to the embodiment is used for applications such as in-vehicle applications that improve resistance to high energy surges. Destruction due to high-energy surge is due to thermal damage, and improvement of heat dissipation is necessary for improvement of resistance. Examples of the varistor 100 according to the embodiment will be described below.
  • the ineffective layer 10a facing the mounting surface is thinned to improve the heat dissipation from the effective layer 10c which generates heat when an abnormal voltage is applied to the substrate 201.
  • the ineffective layer 10b on the side opposite to the mounting surface 200 is thickened to function as a heat sink, thereby further improving heat dissipation.
  • Table 1 shows the thickness Ta of the ineffective layer 10a, the thickness Tb of the ineffective layer 10b, the ratio Tb/Ta of the thickness Tb to the thickness Ta, and the withstand current of the sample.
  • the samples marked with "*" are comparative examples different from the examples.
  • the non-linearity of the varistor 100 is shown as a voltage value V 1mA (varistor voltage) between the external electrodes 13 and 14 when a current of 1 mA is applied to the voltage non-linear resistance composition.
  • V 1mA variablestor voltage
  • FIG. 2 is an enlarged cross-sectional view showing the element body 10 in the varistor 100 shown in FIG. 1A.
  • the element body 10 is composed of a plurality of zinc oxide particles 10e and an oxide layer 10f as main components.
  • the oxide layer 10f contains a bismuth element, a cobalt element, a manganese element, an antimony element, a nickel element, and a germanium element.
  • the plurality of zinc oxide particles 10e have a crystal structure of hexagonal crystal system.
  • the oxide layer 10f is interposed between the plurality of zinc oxide particles 10e.
  • the element body 10 is a voltage nonlinear resistor composition including a plurality of zinc oxide particles 10e and an oxide layer 10f interposed between the plurality of zinc oxide particles 10e.
  • the resistance value of the varistor sharply decreases at a certain applied voltage value. This causes the varistor to have a non-linear relationship between voltage and current. That is, it is preferable that the varistor 100 exhibit a higher resistance value in a region where the applied voltage has a low voltage value and a lower resistance value in a region having a high voltage value.
  • the resistance of the varistor 100 of the present disclosure will be described in detail.
  • the values shown in FIG. 3 are the test results of the samples of sample numbers 1 to 7 shown in Table 1.
  • the thickness Tb of the ineffective layer 10b on the opposite side of the mounting surface 200 was fixed to 500 ⁇ m. It can be seen that the withstand current increases and improves as the thickness Ta decreases.
  • the ineffective layer 10a facing the mounting surface 200 is thinned, so that the distance from the effective layer 10c generating heat to the surface 1100 facing the mounting surface 200 is reduced, and the heat is more easily conducted to the substrate 201. Due to becoming.
  • the thickness Ta of the ineffective layer 10a decreases from 750 ⁇ m to 500 ⁇ m and the ratio Tb/Ta of the thickness Tb of the ineffective layer 10b to the thickness Ta of the ineffective layer 10a increases from 0.67 to 1.00, Increases from 0.16 A to 0.18 A by 12.5%.
  • the thickness Ta of the ineffective layer 10a is reduced from 500 ⁇ m to 400 ⁇ m and the ratio Tb/Ta is increased from 1.00 to 1.25, the withstand current is increased from 0.18 A to 0.28 A by 55.6%, It can be seen that the resistance to surge is greatly improved.
  • the element body 10 of the varistor 100 of this embodiment has a high thermal conductivity of 38 W/(m ⁇ K) among ceramics, it is possible to increase the thickness Tb of the ineffective layer 10 b on the opposite side of the mounting surface 200.
  • the ineffective layer 10b can have a role of a heat sink.
  • FIG. 4 shows the relationship between the withstand current and the thickness Tb (100 to 900 ⁇ m) of the ineffective layer 10b on the opposite side of the mounting surface 200 of the same size element body 10.
  • the thickness Ta of the ineffective layer 10a facing the mounting surface 200 was kept constant at 500 ⁇ m. Contrary to the ineffective layer 10a, the withstand current increases as the thickness Tb of the ineffective layer 10b increases. This is because the ineffective layer 10b functions as a heat sink to draw out and release the heat generated in the effective layer 10c inside.
  • the withstand current becomes 0. It increases from 0.15A to 0.18A by 20.0%.
  • the withstand current increases from 0.18 A to 0.26 A, which is 44.4%, and the surge current increases. It can be seen that the resistance to is greatly improved. Together with the results of FIG. 3, when the ratio Tb/Ta is 1.1 or more, a remarkable improvement in resistance is recognized.
  • FIG. 5 shows the relationship between the ratio Tb/Ta and the withstand current.
  • Table 1 shows combinations of the thickness Ta of the ineffective layer 10a and the thickness Tb of the ineffective layer 10b and the withstand current in each combination. It can be seen that the withstand current increases as the ratio Tb/Ta increases. That is, it is shown that when the ineffective layer 10a facing the mounting surface 200 has a small thickness Ta and the ineffective layer 10b on the opposite side has a large thickness Tb, a high withstand current is realized.
  • the thickness Ta of the ineffective layer 10a is the thickness of the ceramic layer 10d sandwiched in contact with the adjacent internal electrodes of the plurality of internal electrodes 11 and 12 in order to prevent a short circuit on the surface 2100 of the varistor 100. It is preferably larger than the height Td (see FIG. 1A).
  • the position of the effective layer 10c is deviated from the central portion to the ineffective layer 10a. Since the densities of the internal electrodes 11 and 12 are larger than that of the element body 10, this deviation causes the center of gravity 100g of the varistor 100 to be closer to the surface 1100 side. That is, the distance from the center of gravity 100g to the surface 1100 is smaller than the distance from the center of gravity 100g to the surface 2100. This is more preferable because the directions of the ineffective layers 10a and 10b can be easily aligned in the manufacturing process.
  • FIG. 6 is a manufacturing flow chart showing the manufacturing process of the varistor 100.
  • zinc oxide powder, bismuth oxide powder, cobalt oxide powder, manganese oxide powder, antimony oxide powder, nickel oxide powder, and germanium oxide powder are prepared as starting materials for the element body 10.
  • the mixing ratio of the starting materials is as follows: zinc oxide powder 96.54 mol %, bismuth oxide powder 1.00 mol %, cobalt oxide powder 1.06 mol %, manganese oxide powder 0.30 mol %, antimony oxide powder 0.50 mol. %, nickel oxide powder 0.50 mol% and germanium oxide powder 0.10 mol %.
  • a slurry containing these powders and an organic binder is prepared (step S1).
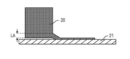
  • FIG. 7 is a cross-sectional view of the apparatus schematically showing the steps for obtaining a plurality of green sheets.
  • a plurality of green sheets are obtained by applying the above-mentioned slurry 20 on a film 21 made of polyethylene terephthalate (PET) from a gap having a width LA of 180 ⁇ m and drying it (step S2).
  • PET polyethylene terephthalate
  • an electrode paste containing an alloy powder of silver and palladium is printed in a predetermined shape on a predetermined number of green sheets, and a predetermined number of these green sheets are stacked in a stacking direction D100( (See FIG. 1A) to obtain a laminated body (step S3).
  • the thickness Tb of the ineffective layer 10b and the thickness Ta of the ineffective layer 10a are set to predetermined values depending on the number of green sheets on which the electrode paste is not printed among the plurality of green sheets to be stacked. Adjust Ta.
  • the laminated body is pressurized at 55 MPa along the laminating direction D100 and the direction D101 (step S4).
  • the applied pressure is preferably in the range of 30 MPa or more and 100 MPa or less.
  • step S5 by firing the laminated body 25a chip at 850° C., a sintered body 25 composed of the element body 10 (voltage nonlinear resistor composition) and the internal electrodes 11 and 12 (see FIG. 1A). Is obtained (step S5).
  • the plurality of zinc oxide powders as the starting material become the plurality of zinc oxide particles 10e shown in FIG. 2, and the voltage nonlinear resistor having the oxide layer 10f interposed between the plurality of zinc oxide particles 10e is formed. Obtainable.
  • the external electrodes 13 and 14 are formed by applying an electrode paste containing an alloy powder of silver and palladium to the end surfaces 210 and 220 of the element body 10 and heat-treating at 800° C., respectively.
  • the external electrodes 13 and 14 may be formed by a plating method. Further, as the external electrodes 13 and 14, an external electrode formed by firing an electrode paste and an external electrode formed by a plating method may be combined.
  • the thickness of the element body 10 was designed so that V 1mA of the sample of the varistor 100 was 22 V ( ⁇ 2 V), and the firing conditions were determined so that the material constants after firing were the same.
  • the resistance was evaluated by mounting a sample of the varistor 100 on the substrate 201 with solder and measuring the withstand current when a DC voltage was applied, that is, the current at which thermal runaway started.
  • the ineffective layers 10a and 10b do not require the step of aligning the orientation of the varistor 100.
  • the positional relationship of can be set to a predetermined relationship. Since the ineffective layer 10a is thinner than the ineffective layer 10b, the center of gravity 100g of the varistor 100 is biased toward the ineffective layer 10a. That is, the center of gravity 100g is closer to the surface 1100 than the surface 2100.
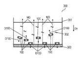
  • FIG. 8 is a schematic diagram of the manufacturing apparatus 300 of the varistor 100.
  • the manufacturing apparatus 300 includes a storage tank 301 that stores a liquid 302. As described above, when the external electrodes 13 and 14 are plated, the varistor 100 is placed in the plating solution 302. At this time, even if the upper and lower layers of the ineffective layers 10a and 10b are not aligned, since the surface 1100 near the center of gravity 100g by its own weight in the liquid 302, that is, the ineffective layer 10a, is located below, It is possible to establish a predetermined relationship, that is, the stacking direction D100 can coincide with the predetermined direction Dv. This configuration is suitable for a mass production line.
  • the predetermined direction Dv is the vertical direction. The step of setting the stacking direction D100 to the predetermined direction Dv may be performed after the step of performing plating.
  • the manufacturing apparatus 300 may further include a magnet 303 provided in the storage tank 301.
  • the internal electrodes 11 and 12 include a magnetic metal such as Ni
  • the magnet 303 approaches the varistor 100, so that the thin ineffective layer 10 a configured to face the mounting surface 200 is attracted to the magnet 303. Therefore, the vertical relationship between the invalid layers 10a and 10b can be set to a predetermined relationship.
  • the solution 302 is not limited to the plating solution, and the above steps can be performed with other solutions, so that the above steps can be applied to the varistor 100 that is not plated.
  • the thickness Tb of the ineffective layer 10b is more than twice the thickness Ta of the ineffective layer 10a, so that the position of the effective layer 10c is deviated from the central portion toward the ineffective layer 10a, so that the position of the center of gravity 100g is also deviated. In the manufacturing process, it becomes easier to align the stacking direction D100, which is more preferable.
  • a zinc oxide varistor is a ceramic polycrystalline body obtained by adding additives such as bismuth element and praseodymium element to zinc oxide and sintering the same. For the purpose of protecting from a surge having a large amount of energy, the effect expected for this purpose could not be obtained by enlarging the element and enlarging the area of the internal electrode. It is difficult for a conventional varistor to realize good surge resistance in a large current region.
  • the varistor 100 according to the embodiment is small and has good surge resistance.

Landscapes

  • Engineering & Computer Science (AREA)
  • Microelectronics & Electronic Packaging (AREA)
  • Physics & Mathematics (AREA)
  • Electromagnetism (AREA)
  • Manufacturing & Machinery (AREA)
  • Thermistors And Varistors (AREA)
  • Apparatuses And Processes For Manufacturing Resistors (AREA)
PCT/JP2019/047079 2019-02-22 2019-12-02 バリスタおよびその製造方法 Ceased WO2020170545A1 (ja)

Priority Applications (3)

Application Number Priority Date Filing Date Title
US17/286,909 US11276515B2 (en) 2019-02-22 2019-12-02 Varistor and method for producing same
CN201980090823.9A CN113366590B (zh) 2019-02-22 2019-12-02 变阻器及其制造方法
JP2021501585A JP7565484B2 (ja) 2019-02-22 2019-12-02 バリスタおよびその製造方法

Applications Claiming Priority (2)

Application Number Priority Date Filing Date Title
JP2019-029962 2019-02-22
JP2019029962 2019-02-22

Publications (1)

Publication Number Publication Date
WO2020170545A1 true WO2020170545A1 (ja) 2020-08-27

Family

ID=72143470

Family Applications (1)

Application Number Title Priority Date Filing Date
PCT/JP2019/047079 Ceased WO2020170545A1 (ja) 2019-02-22 2019-12-02 バリスタおよびその製造方法

Country Status (4)

Country Link
US (1) US11276515B2 (enExample)
JP (1) JP7565484B2 (enExample)
CN (1) CN113366590B (enExample)
WO (1) WO2020170545A1 (enExample)

Citations (4)

* Cited by examiner, † Cited by third party
Publication number Priority date Publication date Assignee Title
JPS62124835U (enExample) * 1986-01-29 1987-08-08
JPS63222451A (ja) * 1987-03-11 1988-09-16 Fuji Electric Co Ltd ピンヘツドダイオ−ドの製造方法
JPH10172809A (ja) * 1996-12-12 1998-06-26 Murata Mfg Co Ltd チップ型バリスタ及びその製造方法
JP2018098413A (ja) * 2016-12-15 2018-06-21 株式会社村田製作所 電子部品の搬送整列装置および電子部品の搬送整列方法

Family Cites Families (8)

* Cited by examiner, † Cited by third party
Publication number Priority date Publication date Assignee Title
JPH04325413A (ja) 1991-04-26 1992-11-13 Tosoh Corp 配向性酸化亜鉛粉末及びその製造方法
JP3239666B2 (ja) * 1995-02-09 2001-12-17 松下電器産業株式会社 粒界絶縁型積層セラミック部品の製造方法
JPH11191506A (ja) * 1997-12-25 1999-07-13 Murata Mfg Co Ltd 積層型バリスタ
JP2000353636A (ja) * 1999-04-06 2000-12-19 Matsushita Electric Ind Co Ltd 積層セラミック部品
KR100674841B1 (ko) * 2005-01-20 2007-01-26 삼성전기주식회사 적층형 칩 커패시터
JP5150111B2 (ja) 2007-03-05 2013-02-20 株式会社東芝 ZnOバリスター粉末
WO2020149034A1 (ja) * 2019-01-16 2020-07-23 パナソニックIpマネジメント株式会社 バリスタ集合体
WO2020194812A1 (ja) * 2019-03-22 2020-10-01 パナソニックIpマネジメント株式会社 積層バリスタ

Patent Citations (4)

* Cited by examiner, † Cited by third party
Publication number Priority date Publication date Assignee Title
JPS62124835U (enExample) * 1986-01-29 1987-08-08
JPS63222451A (ja) * 1987-03-11 1988-09-16 Fuji Electric Co Ltd ピンヘツドダイオ−ドの製造方法
JPH10172809A (ja) * 1996-12-12 1998-06-26 Murata Mfg Co Ltd チップ型バリスタ及びその製造方法
JP2018098413A (ja) * 2016-12-15 2018-06-21 株式会社村田製作所 電子部品の搬送整列装置および電子部品の搬送整列方法

Also Published As

Publication number Publication date
CN113366590B (zh) 2023-09-26
JPWO2020170545A1 (enExample) 2020-08-27
CN113366590A (zh) 2021-09-07
US11276515B2 (en) 2022-03-15
JP7565484B2 (ja) 2024-10-11
US20210358663A1 (en) 2021-11-18

Similar Documents

Publication Publication Date Title
US9129752B2 (en) Ceramic electronic component and method of manufacturing the same
KR101462798B1 (ko) 외부 전극용 도전성 페이스트 조성물 및 이를 포함하는 적층 세라믹 전자 부품
US11335503B2 (en) Ceramic capacitor having metal or metal oxide in side margin portions, and method of manufacturing the same
US8503147B2 (en) ESD protection device
KR20140030611A (ko) 외부 전극용 도전성 페이스트 조성물, 이를 포함하는 적층 세라믹 전자 부품 및 그 제조 방법
US11610734B2 (en) Multilayer ceramic capacitor and method of manufacturing the same
JP2008305844A (ja) 積層セラミックコンデンサ及びその製造方法
JP2008277786A (ja) 電圧非直線性抵抗体磁器組成物および電圧非直線性抵抗体素子
JP2017110838A (ja) 熱搬送デバイス
JP4985989B2 (ja) 積層型セラミック電子部品
CN110875135B (zh) 多层陶瓷电子组件
JP7565484B2 (ja) バリスタおよびその製造方法
JP7411870B2 (ja) バリスタ集合体
JPH10199709A (ja) 積層型バリスタ
JP2005303160A (ja) 積層型半導体セラミック電子部品
JP4231653B2 (ja) 積層型の圧電アクチュエータの製造方法
KR20250036451A (ko) 압전 엑츄에이터 및 이의 제조방법
JP6827164B2 (ja) バリスタおよびその製造方法
JPH01158702A (ja) 複合機能電子部品
JP2019165103A (ja) 積層バリスタ
JPS6245003A (ja) 電圧依存性非直線抵抗器
JPH1169613A (ja) サージ吸収素子及びその製造方法

Legal Events

Date Code Title Description
121 Ep: the epo has been informed by wipo that ep was designated in this application

Ref document number: 19916276

Country of ref document: EP

Kind code of ref document: A1

ENP Entry into the national phase

Ref document number: 2021501585

Country of ref document: JP

Kind code of ref document: A

NENP Non-entry into the national phase

Ref country code: DE

122 Ep: pct application non-entry in european phase

Ref document number: 19916276

Country of ref document: EP

Kind code of ref document: A1