WO2020129387A1 - ゴルフシャフト - Google Patents

ゴルフシャフト Download PDF

Info

Publication number
WO2020129387A1
WO2020129387A1 PCT/JP2019/041117 JP2019041117W WO2020129387A1 WO 2020129387 A1 WO2020129387 A1 WO 2020129387A1 JP 2019041117 W JP2019041117 W JP 2019041117W WO 2020129387 A1 WO2020129387 A1 WO 2020129387A1
Authority
WO
WIPO (PCT)
Prior art keywords
tube
outer layer
golf shaft
weight
adhesive layer
Prior art date
Legal status (The legal status is an assumption and is not a legal conclusion. Google has not performed a legal analysis and makes no representation as to the accuracy of the status listed.)
Ceased
Application number
PCT/JP2019/041117
Other languages
English (en)
French (fr)
Japanese (ja)
Inventor
甲介 藤原
井上 明久
Current Assignee (The listed assignees may be inaccurate. Google has not performed a legal analysis and makes no representation or warranty as to the accuracy of the list.)
NHK Spring Co Ltd
Original Assignee
NHK Spring Co Ltd
Priority date (The priority date is an assumption and is not a legal conclusion. Google has not performed a legal analysis and makes no representation as to the accuracy of the date listed.)
Filing date
Publication date
Application filed by NHK Spring Co Ltd filed Critical NHK Spring Co Ltd
Priority to GB2107509.8A priority Critical patent/GB2593831B/en
Priority to US17/298,179 priority patent/US12290726B2/en
Publication of WO2020129387A1 publication Critical patent/WO2020129387A1/ja
Anticipated expiration legal-status Critical
Ceased legal-status Critical Current

Links

Images

Classifications

    • AHUMAN NECESSITIES
    • A63SPORTS; GAMES; AMUSEMENTS
    • A63BAPPARATUS FOR PHYSICAL TRAINING, GYMNASTICS, SWIMMING, CLIMBING, OR FENCING; BALL GAMES; TRAINING EQUIPMENT
    • A63B53/00Golf clubs
    • A63B53/10Non-metallic shafts
    • AHUMAN NECESSITIES
    • A63SPORTS; GAMES; AMUSEMENTS
    • A63BAPPARATUS FOR PHYSICAL TRAINING, GYMNASTICS, SWIMMING, CLIMBING, OR FENCING; BALL GAMES; TRAINING EQUIPMENT
    • A63B53/00Golf clubs
    • A63B53/12Metallic shafts
    • AHUMAN NECESSITIES
    • A63SPORTS; GAMES; AMUSEMENTS
    • A63BAPPARATUS FOR PHYSICAL TRAINING, GYMNASTICS, SWIMMING, CLIMBING, OR FENCING; BALL GAMES; TRAINING EQUIPMENT
    • A63B2209/00Characteristics of used materials
    • A63B2209/02Characteristics of used materials with reinforcing fibres, e.g. carbon, polyamide fibres

Definitions

  • the present invention relates to a golf shaft in which a metal shell is covered with an outer layer made of fiber reinforced plastic.
  • the metal shell As the golf shaft, as described in Japanese Utility Model Publication No. 5-34672, in order to reduce the weight while leaving the feel of a metal golf shaft, the metal shell is made thin and the outer side is fiber reinforced. There are composite shafts coated with a plastic outer layer.
  • the problem to be solved is that it is difficult to secure the bending rigidity necessary for a golf club in a composite shaft of 50g to 130g, and the feel at impact deteriorates.
  • the present invention provides a golf shaft capable of ensuring the bending rigidity necessary for a golf club and obtaining a good feel in a composite shaft of 50 g to 130 g.
  • the golf shaft of the present invention includes a metal shell, an outer layer made of fiber reinforced plastic that covers the outer circumference of the shell over the entire axial direction of the shell, and an interposing between the shell and the outer layer.
  • an adhesive layer for adhering between the outer tube and the outer tube, the total weight including the outer tube, the outer layer, and the adhesive layer is 50 g to 130 g, and the weight of the outer tube is It is 50% to 90% of the total weight.
  • FIG. 3 is a schematic cross-sectional view of the golf shaft taken along the line III-III in FIG. 2.
  • 2 is a table showing the thickness of the outer layer, the shell, and the overall wall thickness of the golf shaft of FIG. 1 when the weight ratio of the shell is 50%.
  • FIG. 3 is a development view showing a plurality of laminated prepregs according to Example 1 of the present invention.
  • FIG. 10 is a cross-sectional view showing a state in which the adhesive layer sheet is attached to the first prepreg during the manufacturing of the golf shaft according to the first modification of the first embodiment of the present invention.
  • FIG. 11 is a development view showing a plurality of laminated prepregs according to a second modification of the first embodiment of the present invention.
  • the object of the present invention is to provide a composite shaft of 50 g to 130 g with a flexural rigidity required for a golf club and to obtain a good hitting feeling. This was achieved by making the weight of the tube 50% to 90% of the total weight of the golf shaft.
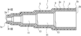
  • FIG. 1 is a side view of a golf shaft, (A) shows the entire golf shaft, and (B) shows an enlarged part of (A).
  • FIG. 2 is a schematic vertical sectional view of the golf shaft of FIG.
  • FIG. 3 is a schematic cross-sectional view of the golf shaft taken along the line III-III in FIG. 1 to 3, the dimensions of the respective parts are not the same, but they have basically the same structure.
  • the golf shaft 1 is formed in a tubular shape, and the tip 1a in the axial direction is a portion to which the head of the golf club is attached, and the base end 1b in the axial direction is a portion to which the grip of the golf club is attached.
  • the overall weight of this golf shaft 1 is set to 50g to 130g. In this embodiment, the golf shaft 1 has a weight of about 90 g.
  • the length from the front end 1a to the base end 1b of the golf shaft 1 is 41 inches, but the length is not limited to this.
  • the golf shaft 1 is a composite shaft, and is configured to include a base tube 3, a plating layer 5, an outer layer 7, and an adhesive layer 9.
  • the raw tube 3 is made of metal, and consists of a hollow tubular shaft whose cross-sectional shape is circular in cross section.
  • the raw tube 3 of this embodiment is made of steel.
  • the base pipe 3 may be formed of another metal, such as an aluminum alloy or titanium.
  • the weight of the raw tube 3 is 50% to 90% of the total weight of the golf shaft 1. In the present embodiment, since the weight of the base pipe 3 is about 70 g and the total weight of the golf shaft 1 is about 90 g, the weight of the base pipe 3 is about 77.78% of the total weight of the golf shaft 1. Has become.
  • the weight ratio of the base pipe 3 takes into consideration the length of the base pipe 3 (golf shaft 1), the vertical cross-sectional shape of the base pipe 3, the bending rigidity and weight of the outer layer 7 and the adhesive layer 9, and other parameters of the golf shaft 1. Then, it may be appropriately set within the above range of 50% to 90%.
  • the raw pipe 3 of the present embodiment has a stepped shape, and is formed by a plurality of straight pipe portions 11 and a plurality of tapered pipe portions 13 connecting between the adjacent straight pipe portions 11.
  • the straight pipe portion 11 is a portion having a constant wall thickness and a constant inner and outer diameter.
  • the diameter of the inner and outer circumferences of the straight pipe part 11 located on the base end 3b side is larger than the diameter of the straight pipe part 11 located on the tip 3a side of the raw pipe 3 and the wall thickness is large. Is thinning.
  • Each taper pipe part 13 absorbs a difference in diameter and a difference in wall thickness of the adjacent straight pipe parts 11.
  • Each taper tube portion 13 has an inner diameter and an outer diameter that gradually increase from the distal end 3a side toward the proximal end 3b side, and the thickness gradually decreases.
  • the axial length of the tapered pipe portion 13 is shorter than that of the straight pipe portion 11.
  • the portion having the largest outer diameter has a diameter of 14.50 mm, and the wall thickness at this portion is 0.206 mm.
  • the portion having the smallest outer diameter is 8.00 mm, and the wall thickness at this portion is 0.294 mm.
  • the raw tube 3 is not limited to the stepped shape, and it is also possible to have a straight shape with a constant outer diameter or a tapered tube shape as a whole. Further, the wall thickness of the raw pipe 3 can be made constant in the axial direction or can be partially changed. Further, the cross-sectional shape of the cross-section of the raw pipe 3 is not limited to a circular shape, and can be appropriately selected such as an oval shape.
  • the plating layer 5 is provided on the entire outer peripheral surface 3c of the base pipe 3 and constitutes the surface of the base pipe 3.
  • the plating layer 5 is provided to prevent rusting of the raw tube 3 and can be replaced with other treatment such as alumite treatment, anodizing treatment, chemical conversion treatment, or omitted.
  • the plating layer 5 can be plated with copper, nickel, chromium, zinc, tin, gold, or the like, for example.
  • the plating layer 5 is formed by stacking two layers of nickel plating and then performing chrome plating.
  • the thickness of the plating layer 5 is very thin compared to the thickness of the raw tube 3, each nickel plating is 0.005 mm and chrome plating is 0.0003 mm, which is about 0.0103 mm in total. However, the thickness of the plating layer 5 is not limited to this.
  • the outer layer 7 is a fiber reinforced plastic that covers the outer circumference (plating layer 5) of the raw pipe 3 over the entire axial direction of the raw pipe 3.
  • “covering the outer circumference of the raw pipe 3” means covering the raw pipe 3 in the entire circumferential direction. Therefore, the outer layer 7 is formed in a tubular shape.
  • the material of the outer layer 7 is not particularly limited, but in the present embodiment, it is formed of a fiber reinforced plastic having an epoxy resin as a matrix resin and a fiber sheet as a reinforcing material.
  • the outer layer 7 of this embodiment is formed by winding a prepreg 17 (FIGS. 5 and 6) described later around the raw tube 3 via the adhesive layer 9 and heating.
  • the prepreg 17 is a fiber reinforced plastic sheet obtained by impregnating a fiber sheet with a resin containing a curing agent (epoxy resin in this embodiment).
  • the curing agent used in the outer layer 7 is one selected from aliphatic polyamine, alicyclic polyamine, aromatic polyamine, polyamidoamine and the like, but is not limited thereto. ..
  • various fiber sheets can be adopted, and examples thereof include inorganic fibers such as metal fibers, boron fibers, carbon fibers, glass fibers, and ceramic fibers, aramid fibers, and other high-strength synthetic fibers. Can be used. Inorganic fibers are preferably used because they are lightweight and have high strength. Among them, carbon fiber is optimal because it has excellent specific strength and specific rigidity. Therefore, in this embodiment, the carbon fiber sheet is used as the fiber sheet.
  • inorganic fibers such as metal fibers, boron fibers, carbon fibers, glass fibers, and ceramic fibers, aramid fibers, and other high-strength synthetic fibers.
  • Inorganic fibers are preferably used because they are lightweight and have high strength. Among them, carbon fiber is optimal because it has excellent specific strength and specific rigidity. Therefore, in this embodiment, the carbon fiber sheet is used as the fiber sheet.
  • the outer layer 7 is formed following the plated layer 5 and has a stepped shape. However, since the outer layer 7 is cut when the golf shaft 1 is manufactured, it often has a stepped shape in practice, although it depends on the cutting mode.
  • the wall thickness of the outer layer 7 varies in the axial direction, but is set to a range thicker than the wall thickness of the raw pipe 3.
  • the thickness of the outer layer 7 is about 0.700 mm at the thickest portion and about 0.330 mm at the thinnest portion.
  • the thickness of the outer layer 7 may be in the range of 1.300 mm to 0.200 mm.
  • the adhesive layer 9 is in the form of a tube that is interposed between the raw pipe 3 and the outer layer 7 to bond the raw pipe 3 and the outer layer 7.
  • the adhesive layer 9 of this embodiment is formed following the plating layer 5 on the outer circumference of the raw tube 3 and has a stepped shape.
  • the wall thickness of the adhesive layer 9 is almost constant, and is thinner than the wall thicknesses of the outer layer 7 and the raw tube 3.
  • the thickness of the adhesive layer 9 in this embodiment is about 0.02 mm.
  • the thickness of the adhesive layer 9 is not limited to this, and can be varied within a range in which the raw tube 3 and the outer layer 7 can be bonded.
  • the adhesive layer 9 is not particularly limited, but it is preferable that the adhesive layer 9 has high adhesion to the plating layer 5 on the outer circumference of the raw tube 3 and the outer layer 7.
  • the adhesive of this example is composed of an epoxy resin composition containing an epoxy resin and a mixed curing agent in which two or more amine curing agents are mixed.
  • the adhesive layer 9 has a higher adhesiveness to the plating layer 5 and the outer layer 7 than the adhesiveness when the plating layer 5 and the outer layer 7 are directly adhered.
  • a clear paint is used for the adhesive layer 9 in this embodiment.
  • the adhesive layer liquid agent 15 (FIG. 5) obtained by mixing the liquid epoxy resin of the clear paint and the liquid mixed curing agent at a ratio of 2:1 is formed by heating and curing.
  • Liquid epoxy resin contains 73.96% (weight) of resin component, 25.77% (weight) of solvent, and 0.27% (weight) of additive.
  • the liquid curing agent contains 64.82% (weight) of the resin component, 26.82% (weight) of the solvent, and 8.36% (weight) of the additive.
  • the adhesive layer liquid agent 15 before curing has a resin component of about 70% (weight), a solvent of about 26% (weight), and an additive of about 3% (weight) by the above mixing.
  • the content ratio of the above components is an example, and can be appropriately changed.
  • the resin component of the adhesive layer liquid agent is an epoxy resin and an amine curing agent.
  • the amine-based curing agent is, for example, an aliphatic polyamine, an alicyclic polyamine, an aromatic polyamine, a polyamidoamine, or the like.
  • the two or more amine curing agents refer to two or more different amine curing agents selected from amine curing agents.
  • triethylenetetramine two types of aliphatic polyamines, triethylenetetramine and polyamidoamine, are used.
  • the blending ratio at this time is set so that the amount of polyamidoamine is larger than that of triethylenetetramine.
  • triethylenetetramine is about 4% (weight) with respect to polyamidoamine.
  • the solvent for the adhesive layer liquid agent is xylene, methyl isoburtyl ketone, isobutanol, ethylene glycol monobutyl ether, toluene and the like.
  • the additive for the adhesive layer liquid agent may be a coupling agent such as silane coupling.
  • the weight of the shell 3 is 50% to 90% of the total weight of the golf shaft 1.
  • the weight ratio of the raw pipe 3 exceeds 90%, the bending stiffness of the golf shaft 1 required for the golf club is ensured by thinning the raw pipe 3 in order to reduce the overall weight of the golf shaft 1 to 50 g to 130 g. Difficult to do. For this reason, in the golf shaft 1, the upper limit of the weight ratio of the shell 3 is 90%.
  • the bending rigidity of the golf shaft 1 required for a golf club is resistance to impact when hitting a ball. Therefore, the golf shaft 1 in which the weight ratio of the base pipe 3 exceeds 90% cannot secure such bending rigidity, and there is a risk that the hit feeling deteriorates and the golf club is damaged during use.
  • the weight ratio of the raw pipe 3 is less than 50%, the total thickness of the golf shaft 1 including the raw pipe 3, the outer layer 7 and the adhesive layer 9 is less than 1.6 mm (when rounding down to the second decimal place). 1.5 mm or less) becomes difficult.
  • the lower limit of the weight ratio of the raw tube 3 can be reduced to less than 1.6 mm by 50%. I am trying.
  • FIG. 4 is a table showing the wall thicknesses of the outer layer 7, the shell 3, and the entire shell when the weight ratio of the shell 2 is 50%.
  • the weight of the golf shaft 1 is 50 g and when it is 130 g
  • the outer layer 7, the bare pipe 3, and the total of the length of the golf shaft 1 are 45 inches, 40 inches, and 35 inches, respectively. It shows the total wall thickness.
  • the wall thickness is 45 inches, 40 inches, and 35 inches both when the weight of the golf shaft 1 is 50 g and 130 g. Is less than 1.6 mm.
  • the specific gravity of the tube 3 is about 5 times the specific gravity of the outer layer 7 in this embodiment. Therefore, in the case of 130 g and 35 inches, if the wall thickness of the raw tube 3 is reduced as much as possible to reduce the weight ratio, the wall thickness of the outer layer 7 is significantly increased. Since there is also a wall thickness of 9, the total wall thickness cannot be less than 1.6 mm. From this, it is understood that the lower limit of the weight ratio of the raw pipe 3 is 50%.
  • FIG. 5 is a schematic cross-sectional view showing the manufacturing process of the golf shaft 1.
  • a raw tube 3 having a stepped shape and having a plating layer 5 formed on the outer peripheral surface 3c is prepared.
  • an adhesive layer liquid agent 15 in which a liquid curing agent is mixed with a liquid epoxy resin is applied to the surface of the plating layer 5 of the base pipe 3.
  • the adhesive layer liquid agent 15 can be applied by, for example, ironing. However, it is also possible to use another coating method such as spray coating.
  • the adhesive layer liquid agent 15 is a clear paint, and is a mixture of a liquid epoxy resin and a liquid mixed curing agent at a ratio of 2:1.
  • the prepreg 17 is wound around the surface of the plating layer 5 coated with the adhesive layer liquid agent 15 to form a wound product 19.
  • a plurality of prepregs having a predetermined cutting shape and dimensions are sequentially wound around the raw tube 3 having the plating layer 5 and laminated.
  • FIG. 6 is a development view showing a plurality of laminated prepregs.
  • first to sixth prepregs 17a to 17f having a cut shape and dimensions as shown in FIG. 6 are sequentially wound around predetermined positions in the axial direction of the raw pipe 3.
  • the first prepreg 17a is made by bonding two prepregs in which the fibers are oriented in the direction of ⁇ 45° with respect to the axial direction, and is wound around the entire axial direction of the raw pipe 3.
  • the second prepreg 17b is composed of one prepreg in which the fibers are oriented in the axial direction, and is wound around the entire axial direction of the raw pipe 3 like the first prepreg 17a.
  • the third prepreg 17c is made of one prepreg in which the fibers are oriented in the axial direction, and is wound around the base end 3b from the intermediate portion of the raw tube 3.
  • the third prepreg 17c is attached to the fourth prepreg 17d.
  • the fourth prepreg 17d is made of one prepreg in which the fibers are oriented in the axial direction, and the third prepreg 17c is attached to the entire tubing 3 in the axial direction. Wrapped around.
  • the fifth prepreg 17e is made of one prepreg in which the fibers are oriented in the axial direction, and is wound from the tip 3a of the raw tube 3 to the middle part.
  • the sixth prepreg 17f is composed of one prepreg in which the fibers are oriented in the axial direction, and is wound in the range from the tip 3a to the middle part, which is shorter than the fifth prepreg 17e.
  • the first to sixth prepregs 17a to 17f are wound around the base pipe 3 in a laminated state to form the wound product 19 of FIG. 5(C).
  • a multiaxial woven fabric such as a tetraaxial or triaxial prepreg.
  • the number and shape of layers of the prepreg 17 and the winding order are merely examples, and can be arbitrarily determined according to the performance of the golf club and the like.
  • a tape 21 made of polypropylene or the like for holding is wound around the outer periphery of the wound product 19 to maintain the wound state of the prepreg 17.
  • the wound product 19 wound with the tape 21 is heated in a heating furnace to cure the prepreg 17 and the adhesive layer liquid agent 15 to form the outer layer 7 and the adhesive layer 9.
  • the tape 21 is removed, the outer layer 7 is cut, and adjustments are made to obtain desired characteristics. During such cutting, the winding marks of the tape 21 remaining on the outer layer 7 are removed, so that the quality can be improved.
  • the golf shaft 1 in which the metal shell 3 is covered with the outer layer 7 of fiber reinforced plastic is manufactured.
  • FIG. 7 is a graph schematically showing the rigidity distribution of the golf shaft.
  • the vertical axis represents flexural rigidity (EI) and the horizontal axis represents the distance from the tip.
  • each of Steel 1, Steel 2, and the example product is a 41-inch golf shaft.
  • Steel 1 and steel 2 are golf shafts made of steel, and the example products are golf balls according to example 1 in which an outer layer 7 of fiber reinforced plastic is wound around a steel core tube 3 made of metal as described above. The shaft 1 is shown.
  • the steel shell 3 is made thin and the outer layer 7 of fiber reinforced plastic is wound around the outer circumference, and the outer layer 7 is polished to make it equivalent to a steel golf shaft as shown in FIG. It was possible to suppress the weight to 90 g while obtaining the above characteristics.
  • Fig. 8 shows the change in rigidity distribution during the manufacturing process. Note that, in FIG. 8, as in FIG. 7, the vertical axis represents flexural rigidity (EI) and the horizontal axis represents the distance from the tip.
  • EI flexural rigidity
  • the weight of the raw pipe 3 at this time is 70 g in this embodiment.
  • the outer layer 7 is wound around the raw tube 3 to obtain a rigidity distribution that follows the desired rigidity distribution, and the rigidity distribution at this time is set higher than the desired rigidity distribution as a whole (FIG. 8). Unpolished product). After that, the outer layer 7 is cut to obtain the characteristics corresponding to FIG. 7 (the polished product of FIG. 8). The weight of the golf shaft 1 at this time is 90 g.
  • the golf shaft 1 includes a metal base pipe 3, an outer layer 7 that covers the outer circumference of the base pipe 3 over the entire axial direction of the base pipe 3, and an interposing between the base pipe 3 and the outer layer 7.
  • the adhesive layer 9 for adhering between the outer tube 7 and the outer tube 7, and the total weight including the outer tube 3, the outer layer 7 and the adhesive layer 9 is 50 g to 130 g. 50% to 90% of the weight of.
  • the bending rigidity required for the golf club can be secured and a good feel can be obtained.
  • Modification 1 is a carbon nanotube resin composition in which the material of the adhesive layer 9 is changed from that in Example 1 above. Since the modified example 1 is the same as the example 1 except for the material of the adhesive layer 9, the duplicated description of the structure will be omitted with reference to FIGS. 1 to 3 of the example 1. However, the wall thickness of the adhesive layer 9 is about 0.02 mm in the first embodiment, whereas it is about 0.06 mm in the present modification.
  • the carbon nanotube resin composition contains an epoxy resin and at least one curing agent and has carbon nanotubes dispersed therein.
  • the curing agent not only an amine curing agent but also an acid anhydride curing agent or the like can be used.
  • the carbon nanotubes dispersed in the adhesive layer 9 have an outer diameter of about 0.5 to 100 nm and a length of about several nm to several mm.
  • the adhesive layer 9 of this modified example is formed by curing the gel-like adhesive layer sheet 23 by heating.
  • the adhesive layer sheet 23 is a resin film containing carbon nanotubes in a proportion of 0.5 to 10% (weight), preferably 1 to 5% (weight).
  • the content ratio of the above components is an example, and can be appropriately changed.
  • FIG. 9 is a cross-sectional view showing a state in which the adhesive layer sheet 23 is attached to the first prepreg 17a at the time of manufacturing the golf shaft 1.
  • the adhesive layer sheet 23 is attached to the first prepreg 17a in advance, and the adhesive layer sheet 23 attaches the first prepreg 17a to the plating layer 5 of the raw tube 3.
  • the second to sixth prepregs 17b to 17f are laminated to form a wound product 19, and the wound state is held by the tape 21 and then heated to heat the cured outer layer 7.
  • the desired properties are obtained by cutting.
  • the same operational effect as that of the example 1 can be achieved.
  • the adhesive layer 9 is a carbon nanotube resin composition containing an epoxy resin and at least one curing agent and having carbon nanotubes dispersed therein, the strength can be higher than that in Example 1.
  • FIG. 10 is a development view showing a plurality of laminated prepregs according to the second modification.
  • the modified example 2 is the same as the example 1 except for the number of laminated prepregs 17 and the cut shape, and therefore the structure will not be described repeatedly with reference to FIGS. 1 to 3 of the example 1.
  • the first to fifth prepregs 17a to 17e having the cut shape and dimensions as shown in FIG. 10 are sequentially wound around predetermined positions in the axial direction of the raw pipe 3.
  • the first prepreg 17a is formed by laminating two prepregs in which fibers are oriented in a direction of ⁇ 45° with respect to the axial direction, and is wound around the entire axial direction of the raw tube 3. ..
  • the first prepreg 17a has a gradually decreasing width (dimension in the circumferential direction of the raw pipe 3 at the time of winding) from the intermediate portion near the base end 3b to the tip.
  • the second to fourth prepregs 17b to 17d are made of one prepreg in which the fibers are oriented in the axial direction, and are wound around the entire axial direction of the raw pipe 3 like the first prepreg 17a.
  • the second and third prepregs 17b and 17c have the same shape, and the widths of the distal end 3a and the proximal end 3b are formed slightly larger than that of the first prepreg 17a.
  • the fourth prepreg 17d is formed such that the widths of the front end 3a and the base end 3b are slightly larger than those of the second and third prepregs 17b and 17c.
  • the fifth prepreg 17e is composed of two prepregs in which fibers are oriented in the axial direction, and is wound in a range (tip portion) from the tip 3a of the raw tube 3 to an intermediate portion near the tip 3a.
  • the shapes and the number of the first to fifth prepregs 17a to 17e can be appropriately set according to the characteristics of the golf shaft 1, as in the first embodiment.
  • the fifth prepreg 17e may have a trapezoidal shape or the like.
  • the first to fifth prepregs 17a to 17e are wound around the base pipe 3 in a laminated state to form the wound product 19 as shown in FIG. 5(C).

Landscapes

  • Health & Medical Sciences (AREA)
  • General Health & Medical Sciences (AREA)
  • Physical Education & Sports Medicine (AREA)
  • Golf Clubs (AREA)
PCT/JP2019/041117 2018-12-21 2019-10-18 ゴルフシャフト Ceased WO2020129387A1 (ja)

Priority Applications (2)

Application Number Priority Date Filing Date Title
GB2107509.8A GB2593831B (en) 2018-12-21 2019-10-18 Golf shaft
US17/298,179 US12290726B2 (en) 2018-12-21 2019-10-18 Golf shaft

Applications Claiming Priority (2)

Application Number Priority Date Filing Date Title
JP2018240263A JP6876937B2 (ja) 2018-12-21 2018-12-21 ゴルフシャフト
JP2018-240263 2018-12-21

Publications (1)

Publication Number Publication Date
WO2020129387A1 true WO2020129387A1 (ja) 2020-06-25

Family

ID=71100840

Family Applications (1)

Application Number Title Priority Date Filing Date
PCT/JP2019/041117 Ceased WO2020129387A1 (ja) 2018-12-21 2019-10-18 ゴルフシャフト

Country Status (4)

Country Link
US (1) US12290726B2 (enExample)
JP (1) JP6876937B2 (enExample)
GB (1) GB2593831B (enExample)
WO (1) WO2020129387A1 (enExample)

Families Citing this family (4)

* Cited by examiner, † Cited by third party
Publication number Priority date Publication date Assignee Title
WO2022102401A1 (ja) * 2020-11-11 2022-05-19 日本発條株式会社 ゴルフシャフト及びその製造方法
EP4049729A4 (en) 2020-11-11 2023-07-26 NHK Spring Co., Ltd. Golf shaft and manufacturing method for same
US20230062407A1 (en) * 2021-08-25 2023-03-02 LA Golf Partners LLC Golf putter shaft
TWI781876B (zh) * 2021-10-27 2022-10-21 日商日本發條股份有限公司 高爾夫球桿桿體及其製造方法

Citations (2)

* Cited by examiner, † Cited by third party
Publication number Priority date Publication date Assignee Title
JPS5894867A (ja) * 1981-11-30 1983-06-06 三菱レイヨン株式会社 複合ゴルフシヤフト
JPS62128563U (enExample) * 1986-02-04 1987-08-14

Family Cites Families (15)

* Cited by examiner, † Cited by third party
Publication number Priority date Publication date Assignee Title
US2809144A (en) * 1955-01-27 1957-10-08 Narmco Sporting Goods Company Method of making a composite golf shaft for a golf club
US4000896A (en) * 1973-07-16 1977-01-04 The Babcock & Wilcox Company Composite golf club shaft
JPS62128563A (ja) 1985-11-29 1987-06-10 Nec Corp 半導体素子とその製造方法
US5279879A (en) * 1989-12-28 1994-01-18 Tonen Corporation Hybrid prepreg containing carbon fibers and at least one other reinforcing fiber in specific positions within the prepreg
US5259614A (en) * 1992-08-06 1993-11-09 Greer Julian A Composite seamless filament-wound golf club shaft and method
AU2308699A (en) * 1997-12-01 1999-06-16 Smith, Earl F. Golf shaft and method of making same
US6866593B1 (en) * 2000-06-23 2005-03-15 Harrison Sports, Inc. Golf club shaft having multiple metal fiber layers
US6908401B2 (en) * 2001-02-28 2005-06-21 Michael H. L. Cheng Shaft for use in golf clubs and other shaft-based instruments and method of making the same
TWI277435B (en) * 2002-12-02 2007-04-01 Mizuno Kk Golf club head and method for producing the same
JP4402477B2 (ja) * 2004-02-24 2010-01-20 日東紡績株式会社 不織布を備える管状積層体及びその製造方法
US7955187B2 (en) * 2008-12-23 2011-06-07 Acushnet Company Swingweight adjusted golf club shaft
JP5894867B2 (ja) * 2012-06-08 2016-03-30 株式会社日立産機システム オイルフリースクリュー圧縮機
JP6180204B2 (ja) * 2013-07-02 2017-08-16 ダンロップスポーツ株式会社 ゴルフクラブシャフト
JP6473940B2 (ja) 2017-06-23 2019-02-27 日本発條株式会社 ゴルフシャフト
JP2024128563A (ja) 2023-03-10 2024-09-24 株式会社リコー 乾燥装置、乾燥方法及び造形システム

Patent Citations (2)

* Cited by examiner, † Cited by third party
Publication number Priority date Publication date Assignee Title
JPS5894867A (ja) * 1981-11-30 1983-06-06 三菱レイヨン株式会社 複合ゴルフシヤフト
JPS62128563U (enExample) * 1986-02-04 1987-08-14

Also Published As

Publication number Publication date
GB202107509D0 (en) 2021-07-07
GB2593831B (en) 2023-08-09
JP6876937B2 (ja) 2021-05-26
GB2593831A (en) 2021-10-06
US20220111271A1 (en) 2022-04-14
JP2020099543A (ja) 2020-07-02
US12290726B2 (en) 2025-05-06

Similar Documents

Publication Publication Date Title
WO2020129387A1 (ja) ゴルフシャフト
JP5855861B2 (ja) 分離した近位部材及び遠位部材を有するバレル部を含むボールバット
JP3020222B2 (ja) ゴルフクラブ用シャフト及びその製造方法
JP5721515B2 (ja) ゴルフクラブシャフト
JP6473940B2 (ja) ゴルフシャフト
US6354960B1 (en) Golf club shaft with controllable feel and balance using combination of fiber reinforced plastics and metal-coated fiber-reinforced plastics
JP3714791B2 (ja) 軽量ゴルフクラブ用シャフト
KR101941713B1 (ko) 골프 클럽 샤프트 및 이를 이용하는 골프 클럽
JP6375704B2 (ja) ゴルフクラブ及びシャフト
JP2020099543A5 (enExample)
JP7707774B2 (ja) ゴルフクラブシャフト
JP3457872B2 (ja) オーバーホーゼルタイプのゴルフクラブシャフト及びゴルフクラブ
WO2014058002A1 (ja) ゴルフクラブ用シャフト
JP3712143B2 (ja) オーバーホーゼルタイプのゴルフクラブ用シャフトの製造方法
JP6682927B2 (ja) ゴルフクラブシャフト
JP3913292B2 (ja) ゴルフクラブ用シャフト
US20240009526A1 (en) Shaft, method for manufacturing shaft, and golf club shaft
JP2005176960A (ja) ゴルフクラブシャフト
JP2009254401A (ja) 軽量ゴルフクラブ用シャフト
JPH0445742Y2 (enExample)
JP2003171483A (ja) プリプレグおよび繊維強化複合材料
JP6786801B2 (ja) ゴルフクラブ用シャフトの製造方法
JP2024119267A (ja) ゴルフクラブシャフト
JP2024119264A (ja) ゴルフクラブシャフト
JP2015008818A (ja) ゴルフクラブ用シャフトおよびその製造方法

Legal Events

Date Code Title Description
121 Ep: the epo has been informed by wipo that ep was designated in this application

Ref document number: 19898540

Country of ref document: EP

Kind code of ref document: A1

ENP Entry into the national phase

Ref document number: 202107509

Country of ref document: GB

Kind code of ref document: A

Free format text: PCT FILING DATE = 20191018

NENP Non-entry into the national phase

Ref country code: DE

122 Ep: pct application non-entry in european phase

Ref document number: 19898540

Country of ref document: EP

Kind code of ref document: A1

WWG Wipo information: grant in national office

Ref document number: 17298179

Country of ref document: US