WO2020054446A1 - 半導体装置 - Google Patents

半導体装置 Download PDF

Info

Publication number
WO2020054446A1
WO2020054446A1 PCT/JP2019/033934 JP2019033934W WO2020054446A1 WO 2020054446 A1 WO2020054446 A1 WO 2020054446A1 JP 2019033934 W JP2019033934 W JP 2019033934W WO 2020054446 A1 WO2020054446 A1 WO 2020054446A1
Authority
WO
WIPO (PCT)
Prior art keywords
layer
collector
semiconductor device
carrier concentration
collector layer
Prior art date
Legal status (The legal status is an assumption and is not a legal conclusion. Google has not performed a legal analysis and makes no representation as to the accuracy of the status listed.)
Ceased
Application number
PCT/JP2019/033934
Other languages
English (en)
French (fr)
Japanese (ja)
Inventor
征典 宮田
秀司 米田
裕貴 薬師川
賢 妹尾
Current Assignee (The listed assignees may be inaccurate. Google has not performed a legal analysis and makes no representation or warranty as to the accuracy of the list.)
Denso Corp
Original Assignee
Denso Corp
Priority date (The priority date is an assumption and is not a legal conclusion. Google has not performed a legal analysis and makes no representation as to the accuracy of the date listed.)
Filing date
Publication date
Application filed by Denso Corp filed Critical Denso Corp
Priority to CN201980059059.9A priority Critical patent/CN112689902B/zh
Publication of WO2020054446A1 publication Critical patent/WO2020054446A1/ja
Priority to US17/198,807 priority patent/US20210217845A1/en
Anticipated expiration legal-status Critical
Priority to US19/224,607 priority patent/US20250294826A1/en
Ceased legal-status Critical Current

Links

Images

Classifications

    • HELECTRICITY
    • H10SEMICONDUCTOR DEVICES; ELECTRIC SOLID-STATE DEVICES NOT OTHERWISE PROVIDED FOR
    • H10DINORGANIC ELECTRIC SEMICONDUCTOR DEVICES
    • H10D62/00Semiconductor bodies, or regions thereof, of devices having potential barriers
    • H10D62/10Shapes, relative sizes or dispositions of the regions of the semiconductor bodies; Shapes of the semiconductor bodies
    • H10D62/102Constructional design considerations for preventing surface leakage or controlling electric field concentration
    • H10D62/112Constructional design considerations for preventing surface leakage or controlling electric field concentration for preventing surface leakage due to surface inversion layers, e.g. by using channel stoppers
    • HELECTRICITY
    • H10SEMICONDUCTOR DEVICES; ELECTRIC SOLID-STATE DEVICES NOT OTHERWISE PROVIDED FOR
    • H10DINORGANIC ELECTRIC SEMICONDUCTOR DEVICES
    • H10D12/00Bipolar devices controlled by the field effect, e.g. insulated-gate bipolar transistors [IGBT]
    • H10D12/411Insulated-gate bipolar transistors [IGBT]
    • H10D12/441Vertical IGBTs
    • H10D12/461Vertical IGBTs having non-planar surfaces, e.g. having trenches, recesses or pillars in the surfaces of the emitter, base or collector regions
    • H10D12/481Vertical IGBTs having non-planar surfaces, e.g. having trenches, recesses or pillars in the surfaces of the emitter, base or collector regions having gate structures on slanted surfaces, on vertical surfaces, or in grooves, e.g. trench gate IGBTs
    • HELECTRICITY
    • H10SEMICONDUCTOR DEVICES; ELECTRIC SOLID-STATE DEVICES NOT OTHERWISE PROVIDED FOR
    • H10DINORGANIC ELECTRIC SEMICONDUCTOR DEVICES
    • H10D30/00Field-effect transistors [FET]
    • H10D30/60Insulated-gate field-effect transistors [IGFET]
    • HELECTRICITY
    • H10SEMICONDUCTOR DEVICES; ELECTRIC SOLID-STATE DEVICES NOT OTHERWISE PROVIDED FOR
    • H10DINORGANIC ELECTRIC SEMICONDUCTOR DEVICES
    • H10D62/00Semiconductor bodies, or regions thereof, of devices having potential barriers
    • H10D62/60Impurity distributions or concentrations

Definitions

  • the present disclosure relates to a semiconductor device in which an insulated gate bipolar transistor (hereinafter, simply referred to as IGBT) element is formed.
  • IGBT insulated gate bipolar transistor
  • this semiconductor device has an N ⁇ type drift layer, and a P type base layer is formed on the drift layer.
  • a plurality of trenches are formed so as to penetrate the base layer.
  • a gate insulating film is formed so as to cover the wall surface of the trench, and a gate electrode is formed on the gate insulating film.
  • an N + -type emitter region is formed in the surface portion of the base layer so as to be in contact with the side surface of the trench.
  • a P-type collector layer is formed on the opposite side of the drift layer from the base layer.
  • an upper electrode electrically connected to the base layer and the emitter region is formed, and a lower electrode electrically connected to the collector layer is formed.
  • an N-type field stop layer (hereinafter simply referred to as an FS layer) having a higher carrier concentration than the drift layer is formed on the collector layer in order to improve the breakdown voltage.
  • the semiconductor device since the FS layer is formed, the end of the depletion layer tends to be far from the collector layer during a short circuit. For this reason, in the semiconductor device, the number of holes injected into the end portion of the depletion layer is reduced, so that the number of electrons becomes excessive, and a peak of the electric field intensity may be generated on the lower electrode side. Then, when a peak of the electric field strength occurs on the lower electrode side, the semiconductor device may be avalanche-breakdown near the peak portion and may be destroyed. That is, in the semiconductor device having the FS layer as described above, the short-circuit withstand capability may be reduced.
  • the present disclosure aims to provide a semiconductor device capable of improving short-circuit withstand capability.
  • a semiconductor device includes a drift layer of a first conductivity type, a base layer of a second conductivity type formed on the drift layer, and a first layer formed on a surface portion of the base layer.
  • a second conductivity type collector layer formed on the opposite side, a first conductivity type FS layer formed between the collector layer and the drift layer and having a higher carrier concentration than the drift layer, a base layer and an emitter
  • a first electrode electrically connected to the region; and a second electrode electrically connected to the collector layer.
  • the FS layer and the collector layer constitute the FS layer by setting the distance between the maximum peak position where the carrier concentration in the FS layer becomes maximum and the maximum peak position where the carrier concentration in the collector layer becomes maximum X [ ⁇ m]. Assuming that the total amount of impurities, which is the ratio of the dose constituting the collector layer to the dose, is Y, the configuration satisfies Y ⁇ 0.69X 2 + 0.08X + 0.86.
  • a semiconductor device is formed on a first conductivity type drift layer, a second conductivity type base layer formed on the drift layer, and a surface layer of the base layer.
  • a first conductivity type emitter region, a gate insulating film formed between the drift layer and the emitter region of the base layer, a gate electrode formed on the gate insulating film, and a base layer of the drift layer A second conductivity type collector layer formed on the side opposite to the first side, a first conductivity type FS layer formed between the collector layer and the drift layer and having a higher carrier concentration than the drift layer, and a base layer And a first electrode electrically connected to the emitter region, and a second electrode electrically connected to the collector layer.
  • the maximum peak position where the carrier concentration in the collector layer becomes maximum is located closer to the drift layer than the center of the collector layer.
  • holes are easily injected at the time of short-circuit, so that an increase in the electric field strength on the lower electrode side can be suppressed. Therefore, the short-circuit tolerance can be improved.
  • the reference numerals in parentheses attached to the respective components and the like indicate an example of a correspondence relationship between the components and the like and specific components and the like described in the embodiments described later.
  • FIG. 2 is a cross-sectional view of the semiconductor device according to the first embodiment.
  • FIG. 4 is a diagram illustrating a relationship between a depth from another surface of the semiconductor substrate and a carrier concentration. 6 is a timing chart illustrating an operation of the semiconductor device.
  • FIG. 4 is a diagram showing the electric field strength of the semiconductor device.
  • FIG. 4 is a diagram illustrating a circuit configuration when performing short-circuit evaluation.
  • FIG. 9 is a diagram for explaining the principle that a peak of the electric field intensity occurs on the lower electrode side during a short circuit.
  • FIG. 4 is a diagram showing the electric field strength of the semiconductor device.
  • FIG. 9 is a diagram for explaining a principle that a peak of an electric field intensity is less likely to be generated on a lower electrode side during a short circuit.
  • FIG. 1 It is a figure which shows the relationship between the peak distance between FS layer and collector layers, and the electric field intensity of a lower part. It is a figure which shows the relationship between the peak distance between FS layer and collector layers, and the electric field intensity of a lower part. It is a figure which shows the relationship between the peak distance between FS layer and collector layers, and the electric field intensity of a lower part. It is a figure which shows the relationship between the peak distance between FS layer and collector layers, and the electric field intensity of a lower part. It is a figure which shows the relationship between the peak distance between FS layer and collector layers, and the electric field intensity of a lower part. FIG.
  • FIG. 4 is a diagram illustrating a relationship between a peak-to-peak distance between an FS layer and a collector layer and an impurity total amount ratio.
  • FIG. 13 is a diagram illustrating a relationship between a depth from another surface of the semiconductor substrate and a carrier concentration in the second embodiment.
  • FIG. 14 is a diagram illustrating a relationship between a depth from another surface of the semiconductor substrate and a carrier concentration in the third embodiment.
  • FIG. 13 is a diagram illustrating a relationship between a depth from the other surface of the semiconductor substrate and a carrier concentration in the fourth embodiment.
  • FIG. 11 is a diagram illustrating a relationship between a depth from another surface of a semiconductor substrate and a carrier concentration in another embodiment.
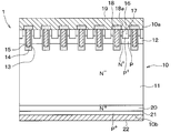
  • the semiconductor device 1 of the present embodiment is preferably used as a power switching element used in a power supply circuit such as an inverter and a DC / DC converter.
  • the semiconductor device 1 has an N ⁇ type semiconductor substrate 10 functioning as a drift layer 11. Then, a P-type base layer 12 is formed on the drift layer 11 (that is, on one surface 10a side of the semiconductor substrate 10).
  • the semiconductor substrate 10 has a plurality of trenches 13 formed therethrough to reach the drift layer 11 through the base layer 12, and the base layer 12 is divided by the plurality of trenches 13.
  • the plurality of trenches 13 are formed at regular intervals in a stripe shape along one direction of the one surface 10a of the semiconductor substrate 10 (that is, the depth direction in the drawing of FIG. 1).
  • the plurality of trenches 13 are buried with a gate insulating film 14 formed to cover the wall surfaces of the trenches 13 and a gate electrode 15 formed on the gate insulating film 14. Thereby, a trench gate structure is formed.
  • the gate insulating film 14 is made of an oxide film or the like
  • the gate electrode 15 is made of doped polysilicon or the like.
  • N + -type emitter region 16 and a P + -type body region 17 are formed in the surface portion of the base layer 12.
  • emitter region 16 is formed with a higher carrier concentration than drift layer 11, is formed in base layer 12, and is formed so as to be in contact with the side surface of trench 13.
  • body region 17 has a higher carrier concentration than base layer 12, and is formed to terminate in base layer 12, similarly to emitter region 16.
  • the emitter region 16 is extended in a rod shape along the longitudinal direction of the trench 13 in a region between the trenches 13 so as to be in contact with the side surface of the trench 13 and terminated inside the tip of the trench 13
  • the body region 17 extends in a rod shape along the longitudinal direction of the trench 13 (that is, the emitter region 16) between the two emitter regions 16.
  • the body region 17 of the present embodiment is formed deeper than the emitter region 16 with reference to one surface 10a of the semiconductor substrate 10.
  • an interlayer insulating film 18 made of BPSG (abbreviation of boro-phospho-silicate-glass) or the like is formed on one surface 10a of the semiconductor substrate 10.
  • the interlayer insulating film 18 includes a part of the emitter region 16 and a body.
  • a contact hole 18a exposing region 17 is formed.
  • An upper electrode 19 is formed on interlayer insulating film 18 to be electrically connected to emitter region 16 and body region 17 through contact hole 18a.
  • N + -type FS layer 20 having a higher carrier concentration than the drift layer 11 is formed on the side of the drift layer 11 opposite to the side of the base layer 12 (that is, on the side of the other surface 10 b of the semiconductor substrate 10). I have.
  • a P + -type collector layer 21 constituting the other surface 10b of the semiconductor substrate 10 is formed on the opposite side of the FS layer 20 from the drift layer 11.
  • a lower electrode 22 that is electrically connected to the collector layer 21 is formed on the collector layer 21 (that is, on the other surface 10b of the semiconductor substrate 10).
  • the FS layer 20 and the collector layer 21 of the present embodiment are formed by performing a heat treatment after the impurity is ion-implanted from the other surface 10b side of the semiconductor substrate 10. Therefore, the carrier concentration of the FS layer 20 and the collector layer 21 has a normal distribution, as shown in FIG. In this case, the carrier concentration has a distribution having one peak, and this peak is the maximum peak. Further, as described later in detail, in the present embodiment, a distance X between the maximum peak position in the carrier concentration of the FS layer 20 and the maximum peak position in the carrier concentration of the collector layer 21 is defined.
  • the distance X between the maximum peak position in the carrier concentration of the FS layer 20 and the maximum peak position in the carrier concentration of the collector layer 21 is simply referred to as a distance X between the FS layer 20 and the collector layer 21.
  • N-type, N - -type, N + -type corresponds to a first conductivity type
  • P-type the P + -type
  • the upper electrode 19 corresponds to a first electrode
  • the lower electrode 22 corresponds to a second electrode
  • the semiconductor substrate 10 of the present embodiment is configured to include the collector layer 21, the FS layer 20, the drift layer 11, the base layer 12, the emitter region 16, and the body region 17.
  • the gate electrode 15 at the time point 1 has a predetermined threshold or more.
  • a voltage is applied.
  • the gate-emitter voltage Vge increases, and an N-type inversion layer (that is, a channel) is formed in a portion of the base layer 12 that contacts the trench 13.
  • electrons are supplied from the emitter region 16 to the drift layer 11 via the inversion layer, holes are supplied from the collector layer 21 to the drift layer 11, and the resistance of the drift layer 11 is changed by conductivity modulation. Is reduced to be in the ON state.
  • the collector-emitter voltage Vce decreases and the current Ic flows through the semiconductor device 1.
  • the voltage equal to or higher than the predetermined threshold is a voltage that makes the gate-emitter voltage Vge higher than the threshold voltage Vth of the MOS gate.
  • FIG. 4 is a diagram showing a simulation result when short-circuit evaluation is performed in a state where the semiconductor device 1 is connected to the power supply 30 via the coil 40 as shown in FIG.
  • FIG. 4 shows that the FS layer 20 has a dose of 2.0 ⁇ 10 12 cm ⁇ 2 and the collector layer 21 has a dose of 3.56 ⁇ 10 12 cm ⁇ 2.
  • FIG. 9 is a diagram illustrating a simulation result when a distance X between peaks to a collector layer 21 is 1.5 ⁇ m.
  • the off-state electric field intensity of the semiconductor device 1 has a peak near a junction between the base layer 12 and the drift layer 11 and gradually decreases toward the collector layer 21 side.
  • the electric field intensity at the time of short circuit in the semiconductor device 1 has a peak in the FS layer 20 which is closer to the lower electrode 22 than near the junction between the base layer 12 and the drift layer 11.
  • the peak of the electric field strength occurs in the FS layer 20 at the time of the short circuit, as shown in FIG. 6, in the portion of the FS layer 20 which is the end on the lower electrode 22 side in the electric field strength. This is because a small number of holes are injected into the semiconductor and electrons are in an excessive state.
  • the semiconductor device 1 may be damaged by avalanche breakdown. In FIG. 6, holes are indicated by h, and electrons are indicated by e.
  • FIG. 7 shows that the FS layer 20 has a dose of 2.0 ⁇ 10 12 cm ⁇ 2 , the collector layer has a dose of 1.65 ⁇ 10 13 cm ⁇ 2 , FIG. 14 is a diagram illustrating a simulation result when a distance X between a peak and a layer 21 is 1.5 ⁇ m.
  • the electric field strength of the semiconductor device 1 in the off state hardly changes.
  • the electric field strength at the time of the short circuit in the semiconductor device 1 does not have a peak in the FS layer 20 and has a peak near the junction between the base layer 12 and the drift layer 11.
  • the reason why the peak of the electric field strength is unlikely to be generated in the FS layer 20 is that the carrier concentration of the collector layer 21 is increased as shown in FIG. This is because the number of holes to be injected into a position that can be a peak increases, and the excess state of electrons is reduced. In FIG. 8, holes are indicated by h and electrons are indicated by e.
  • the number of holes injected into the FS layer 20 at a position where the electric field strength can be peaked is increased. I just need to do it.
  • the position of the FS layer 20 that can become the peak of the electric field strength depends on the carrier concentration of the FS layer 20 and the maximum peak position of the carrier concentration of the FS layer 20.
  • the amount of holes injected into the FS layer 20 at a position where the peak of the electric field strength can be obtained depends on the carrier concentration of the collector layer 21 and the distance X between the peaks between the FS layer 20 and the collector layer 21. .
  • the present inventors conducted further detailed studies on the carrier concentration of the FS layer 20, the carrier concentration of the collector layer 21, and the peak distance X between the FS layer 20 and the collector layer 21.
  • the present inventors have performed more detailed studies on the dose constituting the FS layer 20, the dose constituting the collector layer 21, and the peak-to-peak distance X between the FS layer 20 and the collector layer 21.
  • the inventors obtained simulation results shown in FIGS. 9A to 9C.
  • FIGS. 9A to 9C are diagrams showing the case where the dose forming the collector layer 21 is fixed at 3.82 ⁇ 10 12 cm ⁇ 2 and the dose forming the FS layer 20 is changed. That is, FIGS. 9A to 9C are diagrams in the case where the carrier concentration of the collector layer 21 is fixed and the carrier concentration of the FS layer 20 is changed.
  • 9A to 9C are simulation results when the power supply voltage is 757 V and the voltage applied to the gate electrode 15 is 16 V, and show the electric field strength on the lower electrode 22 side during a short circuit.
  • the electric field strength on the lower electrode 22 side during a short circuit is also simply referred to as the lower electric field strength.
  • the first to fourth positions indicate the positions of the peaks of the carrier concentration in the FS layer 20, and the first position is closest to the other surface 10b side, and the second, third, and The positions are separated from the other surface 10b in the order of the fourth position.
  • 9A to 9C is a ratio of the dose of the collector layer 21 to the dose of the FS layer 20.
  • the carrier concentration of the FS layer 20 depends on the dose constituting the FS layer 20
  • the carrier concentration of the collector layer 21 depends on the dose constituting the collector layer 21. Therefore, the total impurity ratio Y can be said to be the ratio of the carrier concentration of the collector layer 21 to the carrier concentration of the FS layer 20.
  • the semiconductor device 1 When the distance X between the peaks becomes 0.4 ⁇ m or more, the lower electric field intensity starts to increase.
  • the phrase “the lower electric field strength starts to increase” means that avalanche breakdown is likely to occur during a short circuit.
  • the semiconductor device 1 has a configuration in which the dose amount when forming the FS layer 20 is 2 ⁇ 10 12 cm ⁇ 2, that is, when the total impurity amount ratio Y is 1.910.
  • the distance X between the peaks becomes 1.2 ⁇ m or more, the electric field intensity in the lower part starts to increase.
  • the dose when forming the FS layer 20 is 2 ⁇ 10 12 cm ⁇ 2
  • the dose when forming the collector layer 21 is 5.22.
  • the lower electric field intensity starts to increase. That is, in the semiconductor device 1, when the total impurity amount ratio Y is 1.305, the electric field intensity in the lower part starts to increase when the peak-to-peak distance X becomes 0.7 ⁇ m or more.
  • the dose when forming the FS layer 20 is 1 ⁇ 10 12 cm ⁇ 2
  • the dose when forming the collector layer 21 is 3.12.
  • the electric field intensity in the lower part starts to increase. That is, in the semiconductor device 1, when the total impurity amount ratio Y is 3.120, the electric field intensity of the lower portion starts to increase when the peak-to-peak distance X becomes 1.7 ⁇ m or more.
  • FIG. 11 is a diagram plotting the distance X between the peaks of the FS layer 20 and the collector layer 21 at which the electric field intensity below the total impurity amount ratio Y in FIGS. 9A to 9C, 10A and 10B starts to increase. is there.
  • the FS layer 20 and the collector layer 21 are formed so as to satisfy Y ⁇ 0.69X 2 + 0.08X + 0.86. Thereby, it is possible to suppress an increase in the electric field strength in the lower portion, and it is possible to improve short-circuit withstand capability.
  • the short-circuit withstand capability can be improved. Switching speed may decrease. For this reason, it is preferable that the total impurity amount ratio Y is appropriately designed according to the application. For example, when importance is placed on the switching speed, it is close to the value set by 0.69X 2 + 0.08X + 0.86. Is preferable. According to this, it is possible to improve the short-circuit withstand capability while suppressing a decrease in the switching speed.
  • the collector layer 21 has a carrier concentration of 1 ⁇ 10 16 in a portion constituting the other surface 10b. It is preferably set to be not less than cm ⁇ 3 . Thus, the collector layer 21 can be brought into an ohmic contact with the lower electrode 22.
  • the FS layer 20 and the collector layer 21 are formed so as to satisfy Y ⁇ 0.69X 2 + 0.08X + 0.86. For this reason, in the semiconductor device 1 of the present embodiment, it is possible to suppress an increase in the electric field strength in the lower portion during a short circuit, and to improve the short-circuit withstand capability.
  • the second embodiment is different from the first embodiment in that the distribution of the carrier concentration in the collector layer 21 is changed.
  • the rest is the same as in the first embodiment, and a description thereof will not be repeated.
  • the semiconductor device 1 of the present embodiment has the same basic configuration as that of the first embodiment.
  • the collector layer 21 is configured so that the carrier concentration has a plurality of peaks. Specifically, assuming that the stacking direction of the collector layer 21 and the FS layer 20 is the thickness direction, the maximum peak position of the carrier concentration in the thickness direction is closer to the drift layer 11 side than the center C1. It is formed so that.
  • the collector layer 21 is formed such that an auxiliary peak smaller than the maximum peak in the carrier concentration is located closer to the other surface 10b than the center C1 in the thickness direction. That is, the collector layer 21 is formed such that the carrier concentration distribution is asymmetric with respect to the center C1 in the thickness direction.
  • Such a collector layer 21 is formed, for example, by performing ion implantation a plurality of times while changing the acceleration voltage.
  • the collector layer 21 is formed such that the maximum peak position of the carrier concentration is located closer to the drift layer 11 than the center C1. For this reason, in the semiconductor device 1, the distance X between the peaks between the FS layer 20 and the collector layer 21 is easily reduced. Therefore, for example, as compared with the case where the maximum peak position of the carrier concentration in the collector layer 21 is located on the other surface 10b side of the center C1, the injection into the FS layer 20 can be performed at a position where the peak of the electric field intensity can be obtained. It is easy to increase the number of holes to be formed, and it is possible to improve short-circuit withstand capability.
  • the collector layer 21 is formed so as to have an auxiliary peak on the other surface side from the center C1 of the collector layer 21. For this reason, even if the collector layer 21 is formed deep from the other surface 10b, the carrier concentration of the portion constituting the other surface 10b in the collector layer 21 can be easily set to 1.0 ⁇ 10 16 cm ⁇ 3 or more. Further, since the collector layer 21 can be easily formed deep from the other surface 10b, the interface between the FS layer 20 and the collector layer 21 can be easily set at a position deep from the other surface 10b. That is, the distance between the FS layer 20 and the other surface 10b can be easily increased.
  • the semiconductor device 1 as described above is manufactured by performing a predetermined manufacturing process, and in the manufacturing process, for example, the semiconductor substrate 10 is thinned by grinding or the like from the other surface 10b side, or is conveyed. Or In this case, a scratch may be introduced on the other surface 10b side of the semiconductor substrate 10.
  • the FS layer 20 is formed, the FS layer 20 is damaged, or when the FS layer 20 is formed before the FS layer 20 is formed, the semiconductor device 1 is damaged by the damage.
  • the withstand voltage changes. That is, the characteristics of the semiconductor device 1 change. In particular, if the damage reaches the portion where the end of the depletion layer is located at the time of off, the characteristics of the semiconductor device 1 greatly change.
  • the semiconductor device 1 of the present embodiment by forming the collector layer 21 as described above, the distance between the FS layer 20 and the other surface 10b can be easily increased. For this reason, in the semiconductor device 1 of the present embodiment, it is possible to adopt a configuration in which the FS layer 20 is hardly damaged. Therefore, in the present embodiment, it is possible to suppress a change in the characteristics of the semiconductor device 1. In other words, in this embodiment, the efficiency of the non-defective product of the semiconductor device 1 can be improved.
  • a third embodiment will be described.
  • the third embodiment is different from the first embodiment in that the distribution of the carrier concentration in the FS layer 20 is changed.
  • the rest is the same as in the first embodiment, and a description thereof will not be repeated.
  • the semiconductor device 1 of the present embodiment has the same basic configuration as that of the first embodiment.
  • the FS layer 20 is configured such that the carrier concentration has a plurality of peaks as shown in FIG. Specifically, the FS layer 20 is formed such that the maximum peak position of the carrier concentration is located closer to the drift layer 11 than the center C2 in the thickness direction.
  • the maximum peak position of the FS layer 20 is located closer to the drift layer 11 than the center C2 of the FS layer 20 is. Therefore, for example, the end of the depletion layer can be located closer to the drift layer 11 than when the maximum peak position is located at the center C2 of the FS layer 20. Therefore, it is difficult for the flaw to reach the end of the depletion layer, and a change in the characteristics of the semiconductor device 1 can be suppressed.
  • the fourth embodiment is different from the first embodiment in that the distribution of the carrier concentration in the FS layer 20 is changed.
  • the rest is the same as in the first embodiment, and a description thereof will not be repeated.
  • the semiconductor device 1 of the present embodiment has the same basic configuration as that of the first embodiment.
  • the FS layer 20 is configured such that the carrier concentration has a plurality of peaks as shown in FIG. Specifically, the FS layer 20 is formed such that the maximum peak position of the carrier concentration is located closer to the collector layer 21 than the center C2 in the thickness direction.
  • the maximum peak position of the FS layer 20 is located closer to the collector layer 21 than the center C2 of the FS layer 20 is. Therefore, for example, the distance X between the peaks between the FS layer 20 and the collector layer 21 can be easily reduced as compared with the case where the maximum peak position is located at the center C2 of the FS layer 20. Therefore, it is easy to improve short-circuit withstand capability.
  • the first conductivity type may be P-type and the second conductivity type may be N-type.
  • the above embodiments may be applied to an RC (Reverse-Conducting) -IGBT in which an N-type cathode layer is formed on the other surface 10b side of the semiconductor substrate 10.
  • the trench 13 may not be formed, and the gate electrode 15 may be formed on one surface 10a of the semiconductor substrate 10. That is, each of the above embodiments can be applied to the planar semiconductor device 1.
  • the collector layer 21 may be configured to have a plurality of auxiliary peaks smaller than the maximum peak in the carrier concentration distribution. Further, in the second embodiment, the collector layer 21 may be configured to have no auxiliary peak.
  • the second embodiment may be combined with the third and fourth embodiments so that the collector concentration of the collector layer 21 has a plurality of peaks.

Landscapes

  • Electrodes Of Semiconductors (AREA)
  • Bipolar Transistors (AREA)
PCT/JP2019/033934 2018-09-13 2019-08-29 半導体装置 Ceased WO2020054446A1 (ja)

Priority Applications (3)

Application Number Priority Date Filing Date Title
CN201980059059.9A CN112689902B (zh) 2018-09-13 2019-08-29 半导体装置
US17/198,807 US20210217845A1 (en) 2018-09-13 2021-03-11 Semiconductor device
US19/224,607 US20250294826A1 (en) 2018-09-13 2025-05-30 Igbt including field stop layer formed between collector layer and drift layer

Applications Claiming Priority (2)

Application Number Priority Date Filing Date Title
JP2018171732A JP7010184B2 (ja) 2018-09-13 2018-09-13 半導体装置
JP2018-171732 2018-09-13

Related Child Applications (1)

Application Number Title Priority Date Filing Date
US17/198,807 Continuation US20210217845A1 (en) 2018-09-13 2021-03-11 Semiconductor device

Publications (1)

Publication Number Publication Date
WO2020054446A1 true WO2020054446A1 (ja) 2020-03-19

Family

ID=69778270

Family Applications (1)

Application Number Title Priority Date Filing Date
PCT/JP2019/033934 Ceased WO2020054446A1 (ja) 2018-09-13 2019-08-29 半導体装置

Country Status (4)

Country Link
US (2) US20210217845A1 (enExample)
JP (1) JP7010184B2 (enExample)
CN (1) CN112689902B (enExample)
WO (1) WO2020054446A1 (enExample)

Families Citing this family (4)

* Cited by examiner, † Cited by third party
Publication number Priority date Publication date Assignee Title
CN113644123B (zh) * 2021-06-28 2024-09-06 华为技术有限公司 半导体器件及相关芯片和制备方法
CN117836952A (zh) * 2022-02-17 2024-04-05 富士电机株式会社 半导体装置及其制造方法
JP2024064037A (ja) * 2022-10-27 2024-05-14 株式会社デンソー 半導体装置
JP2024080317A (ja) * 2022-12-02 2024-06-13 株式会社デンソー 半導体装置とその製造方法

Citations (3)

* Cited by examiner, † Cited by third party
Publication number Priority date Publication date Assignee Title
US20080001257A1 (en) * 2006-06-30 2008-01-03 Infineon Technologies Austria Ag Semiconductor device with a field stop zone
JP2012156207A (ja) * 2011-01-24 2012-08-16 Mitsubishi Electric Corp 半導体装置と半導体装置の製造方法
WO2016204126A1 (ja) * 2015-06-17 2016-12-22 富士電機株式会社 半導体装置

Family Cites Families (12)

* Cited by examiner, † Cited by third party
Publication number Priority date Publication date Assignee Title
US5763915A (en) * 1996-02-27 1998-06-09 Magemos Corporation DMOS transistors having trenched gate oxide
DE10055446B4 (de) * 1999-11-26 2012-08-23 Fuji Electric Co., Ltd. Halbleiterbauelement und Verfahren zu seiner Herstellung
JP2011166034A (ja) * 2010-02-12 2011-08-25 Fuji Electric Co Ltd 半導体装置の製造方法
DE112010005443B4 (de) * 2010-04-02 2019-03-14 Toyota Jidosha Kabushiki Kaisha Halbleitervorrichtung mit einem Halbleitersubstrat mit einem Diodenbereich und einem IGBT-Bereich sowie Verfahren zu dessen Herstellung
CN104157648B (zh) * 2010-07-27 2017-05-17 株式会社电装 具有开关元件和续流二极管的半导体装置及其控制方法
JP2012204636A (ja) * 2011-03-25 2012-10-22 Toshiba Corp 半導体装置およびその製造方法
JP5874723B2 (ja) * 2011-05-18 2016-03-02 富士電機株式会社 半導体装置および半導体装置の製造方法
JP2013235891A (ja) * 2012-05-07 2013-11-21 Denso Corp 半導体装置
JP6277814B2 (ja) * 2014-03-25 2018-02-14 株式会社デンソー 半導体装置
JP6720569B2 (ja) * 2015-02-25 2020-07-08 株式会社デンソー 半導体装置
JP6443267B2 (ja) * 2015-08-28 2018-12-26 株式会社デンソー 半導体装置
JP2017208413A (ja) * 2016-05-17 2017-11-24 株式会社デンソー 半導体装置

Patent Citations (3)

* Cited by examiner, † Cited by third party
Publication number Priority date Publication date Assignee Title
US20080001257A1 (en) * 2006-06-30 2008-01-03 Infineon Technologies Austria Ag Semiconductor device with a field stop zone
JP2012156207A (ja) * 2011-01-24 2012-08-16 Mitsubishi Electric Corp 半導体装置と半導体装置の製造方法
WO2016204126A1 (ja) * 2015-06-17 2016-12-22 富士電機株式会社 半導体装置

Also Published As

Publication number Publication date
CN112689902A (zh) 2021-04-20
CN112689902B (zh) 2024-09-27
JP7010184B2 (ja) 2022-01-26
US20210217845A1 (en) 2021-07-15
US20250294826A1 (en) 2025-09-18
JP2020043301A (ja) 2020-03-19

Similar Documents

Publication Publication Date Title
JP6021908B2 (ja) 絶縁ゲート型バイポーラトランジスタ
CN107210299B (zh) 半导体装置
JP5985624B2 (ja) 絶縁ゲート型トランジスタおよびその製造方法
JP5865618B2 (ja) 半導体装置
WO2015093190A1 (ja) 半導体装置および半導体装置の製造方法
US20250294826A1 (en) Igbt including field stop layer formed between collector layer and drift layer
CN101904010A (zh) 反向导通半导体器件及用于制造这样的反向导通半导体器件的方法
JP2015207784A (ja) 電力半導体素子及びその製造方法
JP2017195224A (ja) スイッチング素子
WO2021220965A1 (ja) 半導体装置
CN112640125B (zh) 半导体装置及其制造方法
CN108365007B (zh) 绝缘栅双极型晶体管
CN103872097B (zh) 功率半导体设备及其制造方法
WO2016114131A1 (ja) 半導体装置
JP5473398B2 (ja) 半導体装置およびその製造方法
US7602025B2 (en) High voltage semiconductor device and method of manufacture thereof
JP5838176B2 (ja) 半導体装置
JP2016028405A (ja) 半導体装置
KR20150061201A (ko) 전력 반도체 소자 및 그 제조 방법
US9245986B2 (en) Power semiconductor device and method of manufacturing the same
JP2017045874A (ja) 半導体装置
KR102013226B1 (ko) 절연 게이트 바이폴라 트랜지스터
CN114649407B (zh) 一种igbt器件结构
CN104347405B (zh) 一种绝缘栅双极晶体管的制造方法
JP2024070605A (ja) 半導体装置

Legal Events

Date Code Title Description
121 Ep: the epo has been informed by wipo that ep was designated in this application

Ref document number: 19858923

Country of ref document: EP

Kind code of ref document: A1

NENP Non-entry into the national phase

Ref country code: DE

122 Ep: pct application non-entry in european phase

Ref document number: 19858923

Country of ref document: EP

Kind code of ref document: A1