WO2019064637A1 - シート状空気電池、その製造方法およびパッチ - Google Patents

シート状空気電池、その製造方法およびパッチ Download PDF

Info

Publication number
WO2019064637A1
WO2019064637A1 PCT/JP2018/009469 JP2018009469W WO2019064637A1 WO 2019064637 A1 WO2019064637 A1 WO 2019064637A1 JP 2018009469 W JP2018009469 W JP 2018009469W WO 2019064637 A1 WO2019064637 A1 WO 2019064637A1
Authority
WO
WIPO (PCT)
Prior art keywords
sheet
air battery
electrolyte
salt
water
Prior art date
Legal status (The legal status is an assumption and is not a legal conclusion. Google has not performed a legal analysis and makes no representation as to the accuracy of the status listed.)
Ceased
Application number
PCT/JP2018/009469
Other languages
English (en)
French (fr)
Japanese (ja)
Inventor
古谷 隆博
博昭 小野
Current Assignee (The listed assignees may be inaccurate. Google has not performed a legal analysis and makes no representation or warranty as to the accuracy of the list.)
Maxell Ltd
Original Assignee
Maxell Holdings Ltd
Priority date (The priority date is an assumption and is not a legal conclusion. Google has not performed a legal analysis and makes no representation as to the accuracy of the date listed.)
Filing date
Publication date
Application filed by Maxell Holdings Ltd filed Critical Maxell Holdings Ltd
Priority to EP18862072.8A priority Critical patent/EP3531501A4/en
Priority to JP2018525631A priority patent/JP6454824B1/ja
Priority to US16/347,624 priority patent/US11695175B2/en
Publication of WO2019064637A1 publication Critical patent/WO2019064637A1/ja
Anticipated expiration legal-status Critical
Priority to US18/317,226 priority patent/US20230282907A1/en
Ceased legal-status Critical Current

Links

Images

Classifications

    • HELECTRICITY
    • H01ELECTRIC ELEMENTS
    • H01MPROCESSES OR MEANS, e.g. BATTERIES, FOR THE DIRECT CONVERSION OF CHEMICAL ENERGY INTO ELECTRICAL ENERGY
    • H01M12/00Hybrid cells; Manufacture thereof
    • H01M12/04Hybrid cells; Manufacture thereof composed of a half-cell of the fuel-cell type and of a half-cell of the primary-cell type
    • H01M12/06Hybrid cells; Manufacture thereof composed of a half-cell of the fuel-cell type and of a half-cell of the primary-cell type with one metallic and one gaseous electrode
    • HELECTRICITY
    • H01ELECTRIC ELEMENTS
    • H01MPROCESSES OR MEANS, e.g. BATTERIES, FOR THE DIRECT CONVERSION OF CHEMICAL ENERGY INTO ELECTRICAL ENERGY
    • H01M12/00Hybrid cells; Manufacture thereof
    • H01M12/02Details
    • HELECTRICITY
    • H01ELECTRIC ELEMENTS
    • H01MPROCESSES OR MEANS, e.g. BATTERIES, FOR THE DIRECT CONVERSION OF CHEMICAL ENERGY INTO ELECTRICAL ENERGY
    • H01M2220/00Batteries for particular applications
    • H01M2220/30Batteries in portable systems, e.g. mobile phone, laptop
    • HELECTRICITY
    • H01ELECTRIC ELEMENTS
    • H01MPROCESSES OR MEANS, e.g. BATTERIES, FOR THE DIRECT CONVERSION OF CHEMICAL ENERGY INTO ELECTRICAL ENERGY
    • H01M2300/00Electrolytes
    • H01M2300/0002Aqueous electrolytes
    • H01M2300/0005Acid electrolytes
    • H01M2300/0011Sulfuric acid-based
    • HELECTRICITY
    • H01ELECTRIC ELEMENTS
    • H01MPROCESSES OR MEANS, e.g. BATTERIES, FOR THE DIRECT CONVERSION OF CHEMICAL ENERGY INTO ELECTRICAL ENERGY
    • H01M2300/00Electrolytes
    • H01M2300/0085Immobilising or gelification of electrolyte
    • HELECTRICITY
    • H01ELECTRIC ELEMENTS
    • H01MPROCESSES OR MEANS, e.g. BATTERIES, FOR THE DIRECT CONVERSION OF CHEMICAL ENERGY INTO ELECTRICAL ENERGY
    • H01M50/00Constructional details or processes of manufacture of the non-active parts of electrochemical cells other than fuel cells, e.g. hybrid cells
    • H01M50/50Current conducting connections for cells or batteries
    • H01M50/543Terminals
    • H01M50/547Terminals characterised by the disposition of the terminals on the cells
    • H01M50/548Terminals characterised by the disposition of the terminals on the cells on opposite sides of the cell
    • HELECTRICITY
    • H01ELECTRIC ELEMENTS
    • H01MPROCESSES OR MEANS, e.g. BATTERIES, FOR THE DIRECT CONVERSION OF CHEMICAL ENERGY INTO ELECTRICAL ENERGY
    • H01M50/00Constructional details or processes of manufacture of the non-active parts of electrochemical cells other than fuel cells, e.g. hybrid cells
    • H01M50/50Current conducting connections for cells or batteries
    • H01M50/543Terminals
    • H01M50/547Terminals characterised by the disposition of the terminals on the cells
    • H01M50/55Terminals characterised by the disposition of the terminals on the cells on the same side of the cell
    • YGENERAL TAGGING OF NEW TECHNOLOGICAL DEVELOPMENTS; GENERAL TAGGING OF CROSS-SECTIONAL TECHNOLOGIES SPANNING OVER SEVERAL SECTIONS OF THE IPC; TECHNICAL SUBJECTS COVERED BY FORMER USPC CROSS-REFERENCE ART COLLECTIONS [XRACs] AND DIGESTS
    • Y02TECHNOLOGIES OR APPLICATIONS FOR MITIGATION OR ADAPTATION AGAINST CLIMATE CHANGE
    • Y02EREDUCTION OF GREENHOUSE GAS [GHG] EMISSIONS, RELATED TO ENERGY GENERATION, TRANSMISSION OR DISTRIBUTION
    • Y02E60/00Enabling technologies; Technologies with a potential or indirect contribution to GHG emissions mitigation
    • Y02E60/10Energy storage using batteries

Definitions

  • the present invention relates to a sheet-like air battery excellent in storage characteristics, a method of manufacturing the same, and a patch provided with the sheet-like air battery.
  • An air battery having a positive electrode consisting of an air electrode catalyzed by manganese dioxide or carbon and a negative electrode using metal particles such as zinc particles such as zinc particles or zinc alloy particles as an active material has been used as a power source for hearing aids for many years It has been
  • This type of battery generally has a button-like shape using a metal can for the outer package, and in commercially available batteries, it is for taking in air (oxygen) to the bottom of the positive electrode side.
  • air oxygen
  • One to several air holes are formed with a diameter of about 0.2 to 0.5 mm.
  • Patent Document 1 a sheet-like product using an exterior body using a resin film, such as a laminated film in which aluminum and a thermoplastic resin are laminated, has been proposed, and the shape of the battery is given freedom. It is disclosed that an air battery having excellent discharge characteristics can be configured (Patent Document 1).
  • polyvalent alcohol and / or a derivative thereof is contained in the electrolytic solution to reduce the vapor pressure of the electrolytic solution, or the polymethacrylic acid-ethylene glycol copolymer is crosslinked by a crosslinking agent.
  • the negative electrode be gelled by using a crosslinked product of a resin, crosslinked carboxymethylcellulose, crosslinked polyacrylic acid or the like as a gelling agent for the negative electrode (Patent Documents 2 to 5).
  • JP 2004-288571 A Japanese Patent Application Laid-Open No. 61-13580 JP 2002-343450 A Japanese Examined Patent Publication 7-32030 Japanese Patent Application Publication No. 2009-530786
  • the present invention has been made in view of the above circumstances, and an object thereof is to provide a sheet-like air battery excellent in storage characteristics, a method of manufacturing the same, and a patch provided with the sheet-like air battery. .
  • a positive electrode having a catalyst layer, a negative electrode, a separator and an electrolytic solution are contained in a sheet-like exterior body, and the electrolytic solution is It is an aqueous solution containing an electrolyte salt and having a pH of 3 or more and less than 12 and is characterized by containing 3 to 30% by mass of a water-soluble high boiling point solvent having a boiling point of 150 ° C. or more in all solvents.
  • the positive electrode having the catalyst layer, the negative electrode, the separator, and the electrolyte are contained in a sheet-like outer package, and the electrolyte comprises an electrolytic solution and a thickener.
  • the electrolyte solution is an aqueous solution containing an electrolyte salt and having a pH of 3 or more and less than 12.
  • a thickener containing a functional group consisting of a carboxyl group or a salt thereof in the molecule and a gelation accelerator consisting of a polyvalent metal salt are used.
  • a functional group which consists of a carboxyl group or its salt in the aqueous solution (electrolyte solution) which is pH 3-12 containing electrolyte salt is mentioned.
  • the patch of the present invention is wearable on the body, and includes the sheet-like air battery of the present invention as a power supply.
  • the present invention it is possible to provide a sheet-like air battery excellent in storage characteristics, a method for producing the same, and a patch provided with the sheet-like air battery.
  • FIG. 2 is a cross-sectional view taken along the line II of FIG.
  • the aqueous solution has a pH of 3 or more and less than 12 and contains 3 to 30% by mass of a water-soluble high boiling point solvent having a boiling point of 150 ° C. or more in all solvents. Use the electrolyte solution.
  • the high boiling point solvent can be regarded as substantially non-volatile, and it is considered that the vapor pressure of water can be reduced according to the content, and the volatilization of water from the electrolytic solution can be suppressed.
  • the sheet-like air battery of the first aspect it is possible to suppress liquid death that may occur due to evaporation of water from the electrolytic solution through the air holes provided in the sheet-like outer package, and the like. And good discharge characteristics can be maintained over a long period of time. Therefore, the sheet-like air battery of the first aspect has excellent storage characteristics.
  • the upper limit of the boiling point of the water-soluble high boiling point solvent is usually 320 ° C.
  • the water-soluble high boiling point solvent has a high surface tension and a high dielectric constant.
  • the positive electrode (catalyst layer) needs to be in contact with air during discharge, and when the surface tension of the water-soluble high boiling point solvent in the electrolyte is low, the surface of the catalyst layer of the positive electrode is easily wetted by the electrolyte As a result, there is a possibility that the reaction of the catalyst layer may be inhibited to lower the discharge characteristics, but such a problem can be avoided by using a water-soluble high boiling point solvent having a high surface tension.
  • the organic solvent usually has a lower dielectric constant than water, when this is mixed with water to prepare an electrolytic solution, the ion conductivity is lower than when only water is used, and the battery discharges.
  • the occurrence of such a problem can be suppressed by using a water-soluble high-boiling solvent having a high relative dielectric constant, which may impair the characteristics.
  • the surface tension of the water-soluble high boiling point solvent is preferably 30 mN / m or more.
  • the upper limit value of the surface tension of the water-soluble high boiling point solvent is usually 70 mN / m.
  • the surface tension of the water-soluble high boiling point solvent as referred to herein is a value measured by the Wilhelmy method using a commercially available device (for example, "CBVP-Z" manufactured by Kyowa Interface Science Co., Ltd.).
  • the dielectric constant of the water-soluble high boiling point solvent is preferably 30 or more.
  • the upper limit value of the dielectric constant of the water-soluble high boiling point solvent is usually 65.
  • the relative dielectric constant of the water-soluble high-boiling point solvent as referred to in the present specification is a value determined from the dielectric constant measured by using “Pregence LCR meter HP4284” manufactured by HEWLETT PACKARD and the like.
  • water-soluble high-boiling point solvent suitable for the electrolytic solution examples include ethylene glycol (boiling point 197 ° C., surface tension 48 mN / m, relative dielectric constant 39), propylene glycol (boiling point 188 ° C., surface tension 36 mN / m, relative dielectric 32), polyhydric alcohols such as glycerin (boiling point 290 ° C., surface tension 63 mN / m, relative dielectric constant 43); polyethylene glycol (PEG; eg boiling point 230 ° C., surface tension 43 mN / m, relative dielectric constant 35) Polyalkylene glycols (molecular weight is preferably 600 or less); and the like.
  • ethylene glycol bisoiling point 197 ° C., surface tension 48 mN / m, relative dielectric constant 39
  • propylene glycol boiling point 188 ° C., surface tension 36 mN / m,
  • the content of the water-soluble high-boiling solvent in the entire solvent of the electrolytic solution is 1% by mass or more, and 3% by mass or more, from the viewpoint of securing good effects by the use. Is preferred. However, if the amount of the water-soluble high-boiling point solvent in the electrolytic solution is too large, the ion conductivity of the electrolytic solution may be too small, and the battery characteristics may be degraded.
  • the content of the high boiling point solvent is 30% by mass or less, and preferably 20% by mass or less.
  • an electrolyte containing an electrolyte salt and having a pH of 3 or more and less than 12 (electrolyte solution) and a thickener is used.
  • the thickener added to the electrolytic solution increases the viscosity of the electrolytic solution, and preferably functions as a gel electrolyte, and also functions as a humectant.
  • the sheet-like air battery of the second aspect it is possible to suppress liquid death that may occur due to evaporation of water from the electrolyte through the air holes provided in the sheet-like outer package, and the like. Good discharge characteristics can be maintained for a long time. Therefore, the sheet-like air battery of the second aspect has excellent storage characteristics.
  • a thickener for forming an electrolyte derivatives of cellulose such as carboxymethyl cellulose (CMC) and carboxyethyl cellulose (CEC); polyalkylene glycols such as polyethylene glycol (PEG) (however, those having a molecular weight of 1000 or more are desirable) , Polyvinyl acetate, starch, guar gum, xanthan gum, sodium alginate, hyaluronic acid, gelatin, polyacrylic acid, etc., and various synthetic polymers or natural polymers.
  • PEG polyethylene glycol
  • polyalkylene glycols such as PEG
  • PEG polyalkylene glycols
  • polysaccharides such as CMC, xanthan gum and the like, and high molecular weight (molecular weight is 1,000 or less) because the thickening action of the electrolyte is high and electrolytes of good properties can be easily prepared.
  • polyalkylene glycols More preferred are polyalkylene glycols.
  • the degree of etherification of CMC is preferably 0.9 or more, and more preferably 1.0 or more.
  • the degree of etherification of CMC is a numerical value indicating how many carboxymethyl groups are ether-bonded with respect to one anhydroglucose unit.
  • it is preferable that the etherification degree of CMC is 1.6 or less.
  • a thickener having a functional group (-COOH, -COONa, etc.) consisting of a carboxyl group or a salt thereof such as CMC, CEC, xanthan gum and sodium alginate
  • a gelation accelerator acts on the thickener to cause the electrolyte to gel better, thereby facilitating the formation of a gel electrolyte having good properties.
  • the polyvalent metal salt that can be used as a gelation accelerator varies depending on the type of thickener used, but is preferably a salt of a divalent or trivalent metal ion, such as a magnesium salt (such as magnesium sulfate) or a calcium salt (sulfuric acid salt) Alkaline earth metal salts such as calcium); aluminum salts such as aluminum nitrate and aluminum sulfate; iron salts such as iron (II) chloride, iron (III) chloride and iron (III) sulfate; chromium salts such as chromium nitrate; Can be mentioned. Among these, aluminum salts and iron salts are more preferable.
  • an aqueous solution having a pH of 3 or more and less than 12 is used to form the electrolyte, thereby reducing the environmental load caused by the battery (described in detail later).
  • an aluminum salt or an iron salt is used as the gelation promoter, the increase in environmental load caused by the gelation promoter can be suppressed.
  • the compounding amount of the thickener in the electrolyte is preferably 0.1% by mass or more, and 0.2% by mass or more, from the viewpoint of securing good ion conductivity while sufficiently increasing the viscosity of the electrolyte.
  • the content is more preferably 5% by mass or less, more preferably 3% by mass or less.
  • the compounding amount of the polyvalent metal salt is the ratio of the thickener in mass ratio from the viewpoint of exerting the function better.
  • it is set to 100, it is preferably 1 or more, and more preferably 2 or more.
  • the compounding amount of the polyvalent metal salt in the electrolyte is 30 or less when the proportion of the thickener is 100 in mass ratio Is preferably, and more preferably 20 or less.
  • the compounding amount of the gelation accelerator may be set to a suitable concentration range of the electrolyte salt described above.
  • the electrolyte according to the sheet-like air battery of the first aspect is an aqueous solution containing a water-soluble high boiling point solvent and an electrolyte salt and having a pH of 3 or more and less than 12.
  • an aqueous solution containing an electrolyte salt and having a pH of 3 or more and less than 12 is used to form an electrolyte.
  • chlorides such as sodium chloride, potassium chloride, magnesium chloride, calcium chloride, ammonium chloride and zinc chloride; hydroxides of alkali metals and alkaline earth metals (sodium hydroxide, hydroxide Potassium, magnesium hydroxide, etc., acetate (sodium acetate, potassium acetate, magnesium acetate etc.), nitrate (sodium nitrate, potassium nitrate, magnesium nitrate etc.), sulfate (sodium sulfate, potassium sulfate, magnesium sulfate etc.), phosphoric acid Salts (sodium phosphate, potassium phosphate, magnesium phosphate etc.), borates (sodium borate, potassium borate, magnesium borate etc), citrate (sodium citrate, potassium citrate, magnesium citrate etc.) ), Glutamate Sodium glutamate, potassium glutamate, magnesium glutamate, etc.
  • the electrolyte salt is preferably a salt of a strong acid selected from hydrochloric acid, sulfuric acid and nitric acid, and a weak base represented by ammonia, hydroxide of a metal element such as aluminum hydroxide or magnesium hydroxide, ammonium It is more preferred to use a salt or a salt of a particular metal element.
  • Ammonium salts such as ammonium sulfate, ammonium hydrogensulfate [(NH 4 ) HSO 4 ], ammonium chloride, ammonium nitrate, etc.
  • ammonium salts such as aluminum sulfate, aluminum chloride, aluminum nitrate, etc .
  • magnesium sulfate Magnesium chloride, magnesium hydroxide [MgCl (OH)], magnesium salts such as magnesium nitrate
  • Iron salts such as iron chloride (II) and iron nitrate (II) Etc. are exemplified.
  • An aqueous solution containing a salt of a strong acid and a weak base exemplified above corrodes metals and alloys, which are negative electrode active materials, as compared to an aqueous solution (electrolyte solution) containing a salt of a strong acid and a strong base such as sodium chloride. Relatively weak action.
  • an aqueous solution containing a salt or ammonium salt of a metal element selected from Al, Mg and Fe has a relatively high conductivity as compared to, for example, an aqueous solution of zinc chloride.
  • a salt of a strong acid and a weak base it is selected from at least one ion selected from Cl ⁇ , SO 4 2- , HSO 4 ⁇ and NO 3 ⁇ and Al ion, Mg ion, Fe ion and ammonium ion
  • aqueous solution containing a salt with at least one ion to be used is used, the discharge characteristics of the sheet-like air battery can be further enhanced.
  • the salt of Cl ⁇ ion and Fe 3+ ion [iron chloride (III)] has a stronger action of corroding the metal material which is the negative electrode active material than the salt by combination of other ions, iron chloride (iron chloride It is preferable to use a salt other than III), and it is more preferable to use an ammonium salt because it is difficult to corrode a metal material which is a negative electrode active material.
  • the electrolyte salt itself acts as a gelation promoter and a homogeneous gel electrolyte can be obtained. There is a risk that the gel electrolyte can not be formed, or can not be formed gel electrolyte having sufficient ion conductivity.
  • the electrolyte salt only a salt of a monovalent metal ion, or a combination of a salt of a polyvalent metal ion and a salt of a monovalent metal ion, or an aqueous solution containing an electrolyte salt
  • a salt of a monovalent metal ion or a combination of a salt of a polyvalent metal ion and a salt of a monovalent metal ion, or an aqueous solution containing an electrolyte salt
  • an ammonium salt as the electrolyte salt.
  • perchlorate is contained in the aqueous solution from the viewpoint of environmental load and safety at the time of disposal, since it causes a danger of combustion and explosion due to heating and impact. It is preferable that the amount of perchlorate ions is small (less than 100 ppm is preferable, and less than 10 ppm is more preferable) even if it is not contained or contained.
  • heavy metal salts (except iron salts) represented by zinc chloride and copper sulfate, etc., are often harmful, so they have safety in environmental impact and disposal. From the viewpoint of the above, it is preferable that the amount of heavy metal ions excluding iron ions even if not contained or contained in the aqueous solution is small (preferably less than 100 ppm and more preferably less than 10 ppm).
  • the pH of the aqueous solution is 3 or more, preferably 5 or more, and less than 12, preferably 10 or less, more preferably less than 7.
  • the concentration of the electrolyte salt in the aqueous solution may be, for example, a concentration at which the conductivity of the electrolyte can be adjusted to about 80 to 700 mS / cm, and is usually 5 to 50% by mass.
  • the indium compound is dissolved in the aqueous solution.
  • the generation of hydrogen gas in the battery can be favorably suppressed.
  • Examples of the indium compound to be dissolved in the aqueous solution include indium hydroxide, indium oxide, indium sulfate, indium sulfide, indium nitrate, indium bromide, indium chloride and the like.
  • the concentration of the indium compound in the aqueous solution is preferably 0.005% or more, more preferably 0.01% or more, and particularly preferably 0.05% or more on a mass basis. It is preferably 1% or less, more preferably 0.5% or less, and particularly preferably 0.1% or less.
  • various known additives may be added to the aqueous solution as needed, as long as the effects of the present invention are not impaired.
  • zinc oxide may be added to prevent corrosion (oxidation) of the metal material used for the negative electrode.
  • Zinc oxide can also be added to the negative electrode.
  • the electrolytic solution may be liquid, but it may be so-called gel using a thickener or the like.
  • gel electrolyte solution gel electrolyte
  • the corrosion inhibitory effect of the negative electrode active material is further improved.
  • a foil of a metal or an alloy serving as a negative electrode active material can be used as it is for the negative electrode, in this case, the foil is broken due to corrosion by the electrolytic solution and the conductivity of the negative electrode is impaired. Sometimes the capacity can not be extracted sufficiently. Even when such a negative electrode is used, the use of the electrolyte solution having the above-mentioned electrolyte salt concentration can suppress breakage or the like of the foil which is the negative electrode, but when gel electrolyte is used, the suppressing effect is obtained. In order to further improve, it is possible to better suppress the decrease in battery capacity.
  • thickeners examples include polyacrylic acids (polyacrylic acid, sodium polyacrylate, ammonium polyacrylate, etc.), celluloses (CMC, methyl cellulose, hydroxypropyl cellulose, and alkali salts thereof) Etc.). Further, as disclosed in JP-A-2001-307746, crosslinked polyacrylic acid or a salt-type water-absorbing polymer thereof (for example, sodium polyacrylate, ammonium polyacrylate etc.) and thickeners other than them are disclosed.
  • the thickener used in combination with the cross-linked polyacrylic acid or its salt-type water-absorbing polymer include the above-mentioned celluloses, cross-linked branched-type polyacrylic acid or its salts (eg, soda salts, ammonium salts etc.) .
  • various synthetic polymers or natural polymers exemplified as the thickener usable for the electrolyte in the sheet-like air battery of the second aspect can also be used as the thickener.
  • One of these thickeners may be used alone, or two or more thereof may be used in combination.
  • the action of thickening the electrolytic solution is strong, and the gel electrolyte of better properties
  • a CMC having a degree of etherification of 0.9 to 1.6 is preferred because a solution (gelled electrolyte) can be easily prepared.
  • the electrolyte in the sheet-like air battery of the second aspect, it is preferable to make the electrolyte contain a water-soluble high-boiling point solvent having a boiling point of 150 ° C. or more, whereby the battery due to volatilization of the water from the electrolyte Deterioration of the characteristics can be better suppressed to further enhance the storage characteristics of the battery.
  • the upper limit of the boiling point of the water-soluble high boiling point solvent is usually 320 ° C.
  • the water-soluble high boiling point solvent used in the sheet air battery of the second aspect has a high surface tension and a high dielectric constant.
  • Preferred surface tension and relative dielectric constant values of the water-soluble high boiling point solvent are also the same as in the sheet air battery of the first aspect.
  • specific examples of the water-soluble high boiling point solvent which can be used in the sheet-like air battery of the second aspect are the same as those of the sheet-like air battery of the first aspect.
  • the content of the water-soluble high boiling solvent in the entire solvent of the electrolyte is the electrolysis of the first sheet-like air battery
  • the content is preferably 1% by mass or more, more preferably 3% by mass or more, and 30% by mass or less, for the same reason as the content of the water-soluble high boiling point solvent in the whole solvent in the liquid Preferably, it is 20 mass% or less.
  • the positive electrode (air electrode) of the sheet-like air battery has a catalyst layer, and for example, one having a structure in which the catalyst layer and a current collector are laminated can be used.
  • the catalyst layer can contain a catalyst, a binder, and the like.
  • the catalyst according to the catalyst layer for example, silver, platinum group metals or alloys thereof, transition metals, platinum / metal oxide, such as Pt / IrO 2, perovskite oxides such as La 1-x Ca x CoO 3 , WC , etc. Carbides, nitrides such as Mn 4 N, manganese oxides such as manganese dioxide, carbon [graphite, carbon black (acetylene black, ketjen black, channel black, furnace black, lamp black, thermal black etc.), charcoal, activated carbon Etc.], and one or more of these may be used.
  • the content of heavy metals excluding components of the electrolytic solution is preferably 1% by mass or less.
  • a battery having a small environmental load can be obtained even if it is discarded without special treatment.
  • the heavy metal content in the catalyst layer as referred to herein can be measured by fluorescent X-ray analysis.
  • fluorescent X-ray analysis For example, it can be measured under the conditions of excitation source: Rh 50 kV, analysis area: ⁇ 10 mm, using “ZSX100e” manufactured by Rigaku Corporation.
  • the specific surface area of carbon used as a catalyst is preferably 200 m 2 / g or more, more preferably 300 m 2 / g or more, and 500 m 2 / g It is more preferable that it is more than.
  • the specific surface area of carbon as referred to in the present specification is a value determined by the BET method according to JIS K 6217, and for example, a specific surface area measuring device (“Macsorb HM modele-1201” manufactured by Mountech) by nitrogen adsorption method. It can be used to measure.
  • the upper limit of the specific surface area of carbon is usually about 2000 m 2 / g.
  • the content of the catalyst in the catalyst layer is preferably 20 to 70% by mass.
  • PVDF polylidene fluoride-hexafluoropropylene copolymer
  • PVDF-CTFE vinylidene fluoride-chlorotriol Fluoroethylene copolymer
  • PVDF-TFE vinylidene fluoride-tetrafluoroethylene copolymer
  • PVDF-HFP-TFE vinylidene fluoride-hexafluoropropylene-tetrafluoroethylene copolymer
  • PVDF-HFP-TFE vinylidene fluoride-hexafluoropropylene-tetrafluoroethylene copolymer
  • the content of the binder in the catalyst layer is preferably 3 to 50% by mass.
  • the positive electrode can be produced, for example, by mixing the catalyst, binder and the like with water, rolling it with a roll, and bringing it into close contact with the current collector. Moreover, the composition (slurry, paste, etc.) for catalyst layer formation which disperse
  • the positive electrode can also be manufactured through a process of applying a press process such as calendering, if necessary.
  • the current collector related to the positive electrode for example, metal mesh such as titanium, nickel, stainless steel, copper etc., foil, expanded metal, punching metal; carbon mesh, porous carbon sheet such as carbon cloth, carbon paper, etc. Can be used.
  • the thickness of the current collector of the positive electrode is preferably 10 ⁇ m or more and 300 ⁇ m or less.
  • the current collector of the positive electrode it is also possible to use a resin film constituting a sheet-like outer package, or a part of a laminate of a resin film and a metal film.
  • a carbon paste is applied to the surface of the resin film or the laminate, which is to be the inner surface of the sheet-like outer package, to form a current collector, or the metal layer of the laminate is collected.
  • a positive electrode can be obtained by forming the positive electrode mixture layer and the catalyst layer on the surface by the same method as described above.
  • the thickness of the carbon paste layer is preferably 30 to 300 ⁇ m.
  • a zinc-based material (a zinc material and a zinc alloy material are collectively referred to as such) or a magnesium-based material (a magnesium material and a magnesium alloy material are collectively referred to as)
  • a metal material such as an aluminum-based material (this name refers collectively to an aluminum material and an aluminum alloy material).
  • a metal such as zinc, magnesium or aluminum acts as an active material.
  • the negative electrode containing the metal material examples include zinc-based particles (zinc particles and zinc alloy particles are collectively referred to as such) and magnesium-based particles (magnesium particles and magnesium alloy particles are collectively referred to as such) And negative electrodes containing aluminum-based particles (all together referred to as aluminum particles and aluminum alloy particles).
  • an alloy component of zinc alloy particles for example, indium (for example, content is 0.005 to 0.05% on a mass basis), bismuth (for example, content is 0.005 to 0.05% on a mass basis), aluminum (For example, the content is 0.001 to 0.15% by mass) and the like.
  • magnesium alloy particles for example, calcium (for example, content is 1 to 3% by mass), manganese (for example, content is 0.1 to 0.5% by mass), zinc (for example, The content is 0.4 to 1% on a mass basis, aluminum (eg, content is 8 to 10% on a mass basis) and the like.
  • an alloy component of aluminum alloy particles for example, zinc (for example, content is 0.5 to 10% by mass), tin (for example, content is 0.04 to 1.0% by mass), gallium (Eg, content is 0.003 to 1.0% by mass), silicon (eg, content is 0.05% or less by mass), iron (eg, content is 0.1% or less by mass),
  • magnesium eg, content is 0.1 to 2.0% by mass
  • manganese eg, content is 0.01 to 0.5% by mass
  • the metal particles may be used alone or in combination of two or more.
  • the metal material used for the negative electrode has a low content of mercury, cadmium, lead and chromium, and the specific content is based on mass Mercury: 0.1% or less, cadmium: 0.01% or less, lead: 0.1% or less, and chromium: 0.1% or less are more preferable.
  • the particle size of the zinc-based particles is, for example, preferably 50% by mass or less, more preferably 30% by mass or less, of particles having a particle size of 75 ⁇ m or less among all the particles. What has a ratio of particles of 200 ⁇ m of 50% by mass or more, more preferably 90% by mass or more.
  • the particle size of the magnesium-based particles and the aluminum-based particles is, for example, preferably 50% by mass or less, more preferably 30% by mass or less, of all particles having a particle size of 30 ⁇ m or less.
  • the ratio of particles having a particle size of 50 to 200 ⁇ m is 50% by mass or more, more preferably 90% by mass or more.
  • the particle size of the metal particles in the present specification was measured by dispersing these particles in a medium in which the particles are not dissolved using a laser scattering particle size distribution analyzer (for example, "LA-920" manufactured by Horiba, Ltd.), volume based Particle size (D 50 ) at a cumulative frequency of 50%.
  • a laser scattering particle size distribution analyzer for example, "LA-920" manufactured by Horiba, Ltd.
  • D 50 volume based Particle size
  • a thickener added as needed [sodium polyacrylate, CMC (especially, CMC having the above-mentioned degree of etherification suitable as a thickener for electrolyte solution Etc.] and a binder, and it is possible to use a negative electrode agent (such as a gel-like negative electrode) constituted by adding an electrolytic solution thereto.
  • the amount of the thickener in the negative electrode is preferably 0.5 to 1.5% by mass
  • the amount of the binder is preferably 0.5 to 3% by mass.
  • the same aqueous solution as that injected into the sheet-like air battery of the first aspect, and the above-mentioned used for forming the electrolyte of the sheet-like air battery of the second aspect The same as the aqueous solution can be used.
  • the content of the metal particles in the negative electrode is, for example, preferably 60% by mass or more, more preferably 65% by mass or more, and preferably 95% by mass or less, and 90% by mass or less Is more preferred.
  • the negative electrode containing the metal particles preferably contains an indium compound.
  • an indium compound By containing the indium compound in the negative electrode, it is possible to more effectively prevent the generation of hydrogen gas due to the corrosion reaction between the metal particles and the electrolytic solution (electrolyte).
  • Examples of the indium compound include indium oxide and indium hydroxide.
  • the amount of the indium compound used in the negative electrode is preferably 0.003 to 1 with respect to 100 parts by weight of metal particles.
  • the negative electrode may be a metal such as a zinc-based sheet (such as zinc foil or zinc alloy foil) having the same composition as the zinc-based particles or a magnesium-based sheet (such as magnesium foil or magnesium alloy foil) having the same composition as the magnesium-based particles.
  • a sheet can also be used.
  • its thickness is preferably 10 to 500 ⁇ m.
  • the current collector of the negative electrode containing the metal material may, for example, be a mesh of metal such as nickel, copper or stainless steel, a foil, an expanded metal, a punching metal, a sheet of carbon, a mesh, or the like.
  • the thickness of the current collector of the negative electrode is preferably 10 ⁇ m or more and 300 ⁇ m or less.
  • a carbon paste is applied to the surface to be the inner surface of the sheet-like outer package, or the metal constituting the sheet-like outer package is used. Layers can be used. The thickness of the carbon paste layer is preferably 50 to 200 ⁇ m.
  • separators for sheet-like air batteries separators generally used in various batteries such as resin-made porous membranes (microporous membranes, non-woven fabrics, etc.) and semipermeable membranes represented by cellophane films are cited. Be In addition, it is preferable to use a semipermeable membrane for the separator from the viewpoint of preventing the short circuit of the sheet-like air battery and improving the load characteristics.
  • Examples of the resin that constitutes the separator made of the resin-made porous film include polyolefins such as polyethylene (PE), polypropylene (PP), ethylene-propylene copolymer, and the like.
  • the porosity is preferably 30 to 80%, and the thickness is preferably 10 to 100 ⁇ m.
  • the graft polymer constituting the graft film has, for example, a form in which (meth) acrylic acid or a derivative thereof is graft-polymerized to polyolefin (polyethylene, polypropylene or the like) which is a trunk polymer.
  • the graft polymer may have the above-mentioned form, and may not be produced by a method of graft polymerizing (meth) acrylic acid or a derivative thereof to polyolefin.
  • the (meth) acrylic acid or the derivative thereof constituting the graft polymer is one represented by the following general formula (1).
  • R 1 is H or CH 3
  • R 2 is a hydrophilic substituent such as H or NH 4 , Na, K, Rb, or Cs.
  • the graft film and the cellophane film described above have a function of allowing the polymer itself constituting the film to absorb an electrolyte solution (electrolyte) and to transmit ions.
  • the graft polymer constituting the graft film preferably has a graft ratio of 160% or more as defined by the following formula (2). Since there is a correlation between the graft ratio of the graft polymer and the electrical resistance of the graft film, the electrical resistance of the graft film is 20 to 120 m ⁇ ⁇ in 2 by using the graft polymer having the graft ratio as described above. It can be controlled to be a suitable value of The electrical resistance of the graft film is a value obtained by an alternating current voltage drop method (1 kHz). The film is immersed in an aqueous solution of 40% KOH (specific gravity: 1.400 ⁇ 0.005) at an ambient temperature of 20 to 25 ° C., taken out after 5 to 15 hours, and the electrical resistance is measured. Good.
  • KOH specific gravity
  • A Mass (g) of a graft polymer
  • B Mass (g) of the base polymer in a graft polymer.
  • B mass of the trunk polymer in a graft polymer
  • the mass of the trunk polymer used for this graft polymerization may be measured in advance.
  • the graft ratio may exceed 100% when the monomers [(meth) acrylic acid and derivatives thereof] used for graft polymerization are polymerized with each other to form a long graft molecule. Because there is It is preferable that the upper limit of the graft ratio of the graft polymer defined by said Formula (2) is 400%.
  • said "(meth) acrylic acid” is what expressed acrylic acid and methacrylic acid collectively.
  • its thickness is, for example, preferably 15 ⁇ m or more, preferably 40 ⁇ m or less, and more preferably 30 ⁇ m or less.
  • the total thickness of the graft film and the cellophane film is, for example, preferably 30 ⁇ m or more, and more preferably 40 ⁇ m or more. And 70 ⁇ m or less, and more preferably 60 ⁇ m or less.
  • the thickness of the graft film is, for example, preferably 15 ⁇ m or more, more preferably 25 ⁇ m or more, and 30 ⁇ m or less. Is preferred.
  • a laminate of a graft film and a cellophane film for constituting a separator for example, those marketed under the name of “YG9132”, “YG9122” or “YG2152” from Yuasa Membrane System Co., Ltd. can be mentioned.
  • a separator may be formed by combining a cellophane film, a cellophane film and a graft film, and a liquid absorbing layer (electrolyte solution (electrolyte) holding layer) such as vinylon-rayon mixed paper.
  • a liquid absorbing layer electrospray-sensitive layer
  • the thickness of such a liquid absorption layer is preferably 20 to 500 ⁇ m.
  • the sheet-like air battery of the present invention has a sheet-like outer package.
  • Application to applications that are difficult to use with the form having the outer can is possible, and disposal is also easier than in the form having the outer can, so it can be expected to take advantage of the advantage of small environmental impact.
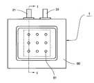
  • FIG. 1 is a plan view of a sheet-like air battery
  • FIG. 2 is a cross-sectional view taken along the line II of FIG.
  • a positive electrode 20, a separator 40 and a negative electrode 30, and an electrolytic solution and an electrolyte are accommodated in a sheet-like exterior body 60.
  • the positive electrode 20 is connected to the positive electrode external terminal 21 through the lead in the battery 1, and although not shown, the negative electrode 30 is also connected to the negative external terminal 31 through the lead in the battery 1.
  • the dotted line in FIG. 1 represents the size of the catalyst layer concerning the positive electrode 20 accommodated in the sheet-like exterior body 60.
  • a plurality of air holes 61 for taking in air to the positive electrode 20 is provided on one side of the sheet-like outer case 60 on which the positive electrode 20 is disposed, and the air holes 61 are provided on the sheet outer case 60 side of the positive electrode 20.
  • a water repellent film 50 is disposed to prevent the leakage of the electrolyte solution (electrolyte) from the above.
  • the positive electrode 20 has a catalyst layer, and as described above, for example, has a structure in which the catalyst layer is laminated with a current collector, but in FIG. 2, in order to avoid complication of the drawing, The layers included in the positive electrode 20 are not shown separately.
  • the sheet-like outer package can be made of, for example, a resin film, and as such a resin film, nylon film (nylon 66 film etc.), polyester film [polyethylene terephthalate (PET) film etc.] and the like can be mentioned.
  • the thickness of the resin film is preferably 20 to 100 ⁇ m.
  • the sealing of the sheet-like outer package is generally performed by heat fusion between the end of the resin film on the upper side of the sheet-like outer package and the end of the resin film on the lower side.
  • the heat-fusion resin layer may be laminated on the above-described resin film and used for the sheet-like outer package.
  • the heat sealing resin constituting the heat sealing resin layer include modified polyolefin films (modified polyolefin ionomer film and the like), polypropylene and copolymers thereof.
  • the thickness of the heat sealing resin layer is preferably 20 to 100 ⁇ m.
  • a metal layer may be laminated on the resin film.
  • the metal layer can be made of an aluminum film (aluminum foil, including an aluminum alloy foil), a stainless steel film (stainless steel foil), or the like.
  • the thickness of the metal layer is preferably 10 to 150 ⁇ m.
  • stacked may be sufficient as the resin film which comprises a sheet-like exterior body.
  • the shape of the sheet-like exterior body may be a polygon (a triangle, a quadrangle, a pentagon, a hexagon, a heptagon, an octagon) in a plan view, or a circle or an ellipse in a plan view.
  • the positive electrode external terminal and the negative electrode external terminal may be drawn from the same side to the outside, or they may be drawn to the outside from different sides.
  • a water repellent film is usually disposed between the positive electrode and the outer package, but the water repellent film is water repellent while allowing air to permeate.
  • a water repellent film a film made of a fluorine resin such as PTFE; a polyolefin such as polypropylene, polyethylene or the like; or the like can be mentioned.
  • the thickness of the water repellent film is preferably 50 to 250 ⁇ m.
  • an air diffusion film may be disposed between the outer package and the water repellent film to supply the air taken into the outer package to the positive electrode.
  • a non-woven fabric made of a resin such as cellulose, polyvinyl alcohol, polypropylene or nylon can be used for the air diffusion membrane.
  • the thickness of the air diffusion film is preferably 100 to 250 ⁇ m.
  • the thickness is preferably, for example, 1 mm or less.
  • the lower limit value of the thickness of the sheet-like air battery is also not particularly limited, but in order to secure a certain capacity, it is usually preferable to be 0.2 mm or more.
  • the sheet-like air battery of the present invention has a small environmental load as described above in addition to excellent storage characteristics, and even if the electrolyte (electrolyte) leaks out due to breakage or the like, it adheres to the body, For example, the problem is less likely to occur compared to a strongly alkaline electrolyte having a high pH. Therefore, the sheet-like air battery of the present invention is used for medical and health applications such as patches that can be worn on the body, in particular patches for wearing on the surface of the skin and measuring body conditions such as body temperature, pulse rate, and perspiration volume. It is suitable as a power source of the device of (1), and can also be applied to the same application as a conventionally known air battery is adopted.
  • Example 1 ⁇ Positive electrode> DBP oil absorption 495cm 3 / 100g, carbon having a specific surface area of 1270 m 2 / g (Ketjen Black EC600JD (Lion Specialty Chemicals Inc.)): 30 parts by mass, acrylic dispersant and 15 parts by weight, SBR: 60 Weight Parts were mixed with 500 parts by mass of water to prepare a composition for forming a catalyst layer.
  • the composition for forming a catalyst layer is dried after using a porous carbon paper [thickness: 0.25 mm, porosity: 75%, air permeability (Gurley): 70 seconds / 100 ml] as a current collector.
  • the substrate was stripe-coated on the surface of the base so that the coating amount was 10 mg / cm 2 and dried to obtain a current collector having a portion in which the catalyst layer was formed and a portion in which the catalyst layer was not formed.
  • This current collector is punched into a shape having a size of a catalyst layer of 30 mm ⁇ 30 mm, and a portion having a size of 5 mm ⁇ 15 mm without a catalyst layer formed at one end, and the overall thickness A positive electrode (air electrode) of 0.27 mm was produced.
  • ⁇ Negative electrode> A zinc alloy foil (thickness: 0.05 mm) containing In: 0.05%, Bi: 0.04%, and Al: 0.001% as an additive element and having a size of 30 mm ⁇ 30 mm serving as an active material
  • the negative electrode was manufactured by punching a shape having a 5 mm ⁇ 15 mm portion to be a lead portion at one end thereof.
  • ⁇ Separator> For the separator, two graft films (thickness per sheet: 15 ⁇ m) composed of a graft copolymer having a structure in which acrylic acid is graft-copolymerized to a polyethylene main chain, and a cellophane film (thickness: 20 ⁇ m) The one placed on both sides of the (total thickness: 50 ⁇ m) was used.
  • Water-repellent film As the water repellent film, a PTFE sheet having a thickness of 200 ⁇ m was used.
  • the positive electrode, the separator, and the negative electrode are sequentially laminated on the water repellent film of the outer package with the sheet-like outer package having the water repellent film facing downward, and another package of the outer package,
  • the modified polyolefin ionomer film was superimposed on the positive electrode and the lead of the negative electrode.
  • three sides of the two outer package bodies are heat-welded together to form a bag, and after the electrolytic solution is introduced from the opening, the opening is sealed by heat-welding to form a sheet-like air battery
  • Example 2 An electrolyte was prepared in the same manner as in Example 1 except that propylene glycol was used instead of glycerin, and a sheet-like air battery was produced in the same manner as in Example 1 except that this was used.
  • Example 3 An electrolytic solution was prepared in the same manner as in Example 1 except that ethylene glycol was used instead of glycerin, and a sheet-like air battery was produced in the same manner as in Example 1 except that this was used.
  • Example 4 An electrolyte was prepared in the same manner as in Example 1 except that the addition amount of glycerin was adjusted to 5% by mass in the total amount with water, and a sheet was formed in the same manner as in Example 1 except that this was used. An air battery was made.
  • Example 5 An electrolyte was prepared in the same manner as in Example 1 except that the addition amount of glycerin was adjusted to 20% by mass in the total amount with water, and a sheet was formed in the same manner as in Example 1 except that this was used. An air battery was made.
  • Comparative Example 1 A sheet-like air battery was produced in the same manner as in Example 1 except that a 20% by mass ammonium sulfate aqueous solution to which glycerol was not added was used as the electrolytic solution.
  • Comparative example 2 An electrolyte was prepared in the same manner as in Example 1 except that the addition amount of glycerin was 50% by mass in the total amount with water, and a sheet was formed in the same manner as in Example 1 except that this was used. An air battery was made.
  • the ratio of the post-storage discharge capacity to the pre-storage discharge capacity was determined as a capacity retention rate to evaluate storage characteristics.
  • the sheet-like air batteries of Examples 1 to 5 using the electrolyte containing the water-soluble high-boiling point solvent in an appropriate amount are comparative examples using the electrolyte containing no water-soluble high-boiling point solvent.
  • the capacity reduction before and after storage was small while having a good discharge capacity, and also had excellent storage characteristics.
  • the battery of Comparative Example 2 using an electrolytic solution in which the amount of the water-soluble high boiling point solvent was too large had a smaller discharge capacity than the battery of Example or the battery of Comparative Example 1.
  • Example 6 Ammonium sulfate aqueous solution with a concentration of 20% by mass (pH measured under an environment of 25 ° C. using a “LAQUA twin compact pH meter” manufactured by Horiba, Ltd. is 5.3. The pH shown hereinafter is also a value measured by the same method.) Then, CMC (having an etherification degree of 1.4) was added and dissolved therein in an amount of 1.0% by mass to form a high viscosity electrolyte. The concentrations of heavy metal ions other than perchlorate ion and iron ion in the aqueous solution were less than 100 ppm. The same applies to the aqueous solutions used to form the electrolytes of the sheet-like air batteries of Examples 7 to 11 and Comparative Example 3 described later.
  • Example 2 a sheet-like air battery was produced in the same manner as in Example 1 except that the electrolyte was used instead of the electrolytic solution prepared in Example 1.
  • Example 7 An electrolyte was formed in the same manner as in Example 6 except that xanthan gum was used instead of CMC, and a sheet-like air battery was produced in the same manner as in Example 1 except that this was used.
  • Example 8 An electrolyte was formed in the same manner as in Example 6 except that PEG (molecular weight: 2,000,000) was used instead of CMC, and a sheet-like air battery was produced in the same manner as in Example 1 except that this was used.
  • PEG molecular weight: 2,000,000
  • a sheet-like air battery was prepared in the same manner as in Example 6, except that the solution (A) and the aqueous solution (B) were placed in a bag-like heat-welded outer package instead of the electrolyte prepared in Example 6. Made. The solution (A) and the aqueous solution (B) were mixed and gelled in the outer package after heat-welding the opening.
  • Example 10 A sheet-like air battery was produced in the same manner as in Example 9 except that the aqueous solution (B) was replaced with an aqueous solution of iron (III) sulfate.
  • each sheet-like air battery of Examples 6 to 11 is shown in Table 2, and the evaluation results of the above are shown in Table 3. Moreover, in Table 2 and Table 3, the structure and evaluation result of the battery of Comparative Example 1 are also described. In addition, content of the thickener and gelation promoter in Table 2 is content in the whole electrolyte, and content of a water-soluble high boiling point solvent is content in the whole solvent of electrolyte.
  • the sheet-like air batteries of Examples 6 to 11 using the electrolyte prepared by blending an aqueous solution containing electrolyte salt and having a pH of 3 or more and less than 12 and a thickener are more effective.
  • the discharge capacity is large and has excellent discharge characteristics, and the capacity decrease before and after storage is small, and excellent storage characteristics Had.

Landscapes

  • Engineering & Computer Science (AREA)
  • Manufacturing & Machinery (AREA)
  • Chemical & Material Sciences (AREA)
  • Chemical Kinetics & Catalysis (AREA)
  • Electrochemistry (AREA)
  • General Chemical & Material Sciences (AREA)
  • Hybrid Cells (AREA)
  • Sealing Battery Cases Or Jackets (AREA)
  • Connection Of Batteries Or Terminals (AREA)
  • Battery Mounting, Suspending (AREA)
  • Inert Electrodes (AREA)
PCT/JP2018/009469 2017-09-28 2018-03-12 シート状空気電池、その製造方法およびパッチ Ceased WO2019064637A1 (ja)

Priority Applications (4)

Application Number Priority Date Filing Date Title
EP18862072.8A EP3531501A4 (en) 2017-09-28 2018-03-12 BLADE AIRBATTERY, MANUFACTURING METHOD AND PAVEMENT
JP2018525631A JP6454824B1 (ja) 2017-09-28 2018-03-12 シート状空気電池およびパッチ
US16/347,624 US11695175B2 (en) 2017-09-28 2018-03-12 Sheet-type air cell, method for manufacturing the same, and patch
US18/317,226 US20230282907A1 (en) 2017-09-28 2023-05-15 Sheet-type air cell, method for manufacturing the same, and patch

Applications Claiming Priority (4)

Application Number Priority Date Filing Date Title
JP2017187655 2017-09-28
JP2017187654 2017-09-28
JP2017-187654 2017-09-28
JP2017-187655 2017-09-28

Related Child Applications (2)

Application Number Title Priority Date Filing Date
US16/347,624 A-371-Of-International US11695175B2 (en) 2017-09-28 2018-03-12 Sheet-type air cell, method for manufacturing the same, and patch
US18/317,226 Division US20230282907A1 (en) 2017-09-28 2023-05-15 Sheet-type air cell, method for manufacturing the same, and patch

Publications (1)

Publication Number Publication Date
WO2019064637A1 true WO2019064637A1 (ja) 2019-04-04

Family

ID=65901509

Family Applications (1)

Application Number Title Priority Date Filing Date
PCT/JP2018/009469 Ceased WO2019064637A1 (ja) 2017-09-28 2018-03-12 シート状空気電池、その製造方法およびパッチ

Country Status (4)

Country Link
US (1) US11695175B2 (enExample)
EP (1) EP3531501A4 (enExample)
JP (2) JP7251956B2 (enExample)
WO (1) WO2019064637A1 (enExample)

Cited By (3)

* Cited by examiner, † Cited by third party
Publication number Priority date Publication date Assignee Title
WO2020213741A1 (ja) * 2019-04-18 2020-10-22 マクセルホールディングス株式会社 水系電解液電池およびパッチ
EP3916864A4 (en) * 2019-02-08 2022-04-06 Maxell, Ltd. Negative electrode for aqueous electrolytic solution batteries, and sheet-like battery
WO2025079718A1 (ja) * 2023-10-13 2025-04-17 大日本印刷株式会社 蓄電デバイス用外装材、その製造方法、及び蓄電デバイス

Families Citing this family (6)

* Cited by examiner, † Cited by third party
Publication number Priority date Publication date Assignee Title
JP7071643B2 (ja) * 2018-12-25 2022-05-19 日本電信電話株式会社 金属空気電池、及び、空気極製造方法
WO2020195745A1 (ja) 2019-03-26 2020-10-01 マクセルホールディングス株式会社 シート状電池およびその製造方法
CN111224153A (zh) * 2020-01-22 2020-06-02 陈俊同 一种琼脂糖凝胶电解质、其制备方法及其在电池中的应用
KR102892034B1 (ko) * 2021-08-19 2025-11-27 주식회사 엘지에너지솔루션 전기화학소자용 분리막 및 이를 포함하는 전기화학소자
WO2024204620A1 (ja) * 2023-03-29 2024-10-03 マクセル株式会社 全固体電池
WO2025204827A1 (ja) * 2024-03-29 2025-10-02 マクセル株式会社 電池

Citations (11)

* Cited by examiner, † Cited by third party
Publication number Priority date Publication date Assignee Title
JPS6113580A (ja) 1984-06-28 1986-01-21 Pentel Kk 空気電池
JPH01163977A (ja) * 1987-09-25 1989-06-28 Alcan Internatl Ltd 金属/空気電池
JPH0732030B2 (ja) 1985-04-22 1995-04-10 デユラセル インタ−ナシヨナル インコ−ポレ−テツド メタル/空気減極電池
JP2001307746A (ja) 2000-04-20 2001-11-02 Hitachi Maxell Ltd アルカリ電池
JP2002343450A (ja) 2001-05-11 2002-11-29 Toshiba Battery Co Ltd 空気亜鉛電池
JP2004288571A (ja) 2003-03-25 2004-10-14 Toshiba Battery Co Ltd 水系金属空気電池およびこれを用いた電子機器
JP2009530786A (ja) 2006-03-22 2009-08-27 ザ ジレット カンパニー 亜鉛/空気電池
JP2010534084A (ja) * 2007-07-20 2010-11-04 メディンゴ・リミテッド 流体投与装置用のエネルギ供給
JP2011146339A (ja) * 2010-01-18 2011-07-28 Sumitomo Chemical Co Ltd 空気電池、空気電池スタック
JP2012227119A (ja) * 2011-04-20 2012-11-15 Samsung Electro-Mechanics Co Ltd 金属空気電池及びその製造方法
JP2014183021A (ja) * 2013-03-21 2014-09-29 Imura Zairyo Kaihatsu Kenkyusho:Kk 金属―空気電池

Family Cites Families (18)

* Cited by examiner, † Cited by third party
Publication number Priority date Publication date Assignee Title
JPS60136182A (ja) * 1983-12-26 1985-07-19 Toshiba Corp 空気電池
JPS6319766A (ja) 1986-07-11 1988-01-27 Fuji Elelctrochem Co Ltd アルカリ電池
JP2568590B2 (ja) * 1987-10-27 1997-01-08 松下電器産業株式会社 アルカリ電池
DE68927408T2 (de) 1988-08-12 1997-03-06 Koa Oil Co Ltd Luft-depolarisierungsbatterie
JPH0251876A (ja) * 1988-08-12 1990-02-21 Koa Oil Co Ltd 空気電池
WO2002073732A2 (en) * 2001-03-08 2002-09-19 Evionyx, Inc. Refuelable metal air electrochemical cell with replacable anode structure
CN100524938C (zh) * 2004-06-01 2009-08-05 松下电器产业株式会社 碱性电池外壳用薄膜以及使用该薄膜的薄空气电池
JP5201030B2 (ja) * 2008-03-19 2013-06-05 住友化学株式会社 電極およびそれを有する電池
US20110059364A1 (en) * 2009-09-10 2011-03-10 Battelle Memorial Institute Air electrodes for high-energy metal air batteries and methods of making the same
CN104106157B (zh) * 2011-05-16 2017-08-25 斐源有限公司 可再充电的锌空气电池及其操作方法
JP5609829B2 (ja) * 2011-09-13 2014-10-22 トヨタ自動車株式会社 空気電池
JP5755624B2 (ja) * 2012-10-15 2015-07-29 トヨタ自動車株式会社 空気電池用空気極及び空気電池
JP6142399B2 (ja) * 2013-02-27 2017-06-07 住友化学株式会社 空気二次電池
KR101661960B1 (ko) * 2014-07-17 2016-10-04 상명대학교서울산학협력단 아연공기전지의 수명을 개선할 수 있는 아연공기전지의 전해액, 이를 이용한 아연공기전지의 음극 및 아연공기전지
JP6342289B2 (ja) * 2014-10-14 2018-06-13 古河電池株式会社 カートリッジ式空気電池、及びカートリッジ式空気電池システム
JP6667515B2 (ja) * 2014-10-15 2020-03-18 エナジャイザー ブランズ ユーケイ リミテッド 亜鉛空気電池用界面活性剤
JP2017021924A (ja) 2015-07-08 2017-01-26 株式会社クラレ 金属空気電池用正極、及び金属空気電池
EP3518339A4 (en) 2016-09-20 2020-07-29 Maxell Holdings, Ltd. AIR DEPOLARIZATION BATTERY AND PATCH

Patent Citations (11)

* Cited by examiner, † Cited by third party
Publication number Priority date Publication date Assignee Title
JPS6113580A (ja) 1984-06-28 1986-01-21 Pentel Kk 空気電池
JPH0732030B2 (ja) 1985-04-22 1995-04-10 デユラセル インタ−ナシヨナル インコ−ポレ−テツド メタル/空気減極電池
JPH01163977A (ja) * 1987-09-25 1989-06-28 Alcan Internatl Ltd 金属/空気電池
JP2001307746A (ja) 2000-04-20 2001-11-02 Hitachi Maxell Ltd アルカリ電池
JP2002343450A (ja) 2001-05-11 2002-11-29 Toshiba Battery Co Ltd 空気亜鉛電池
JP2004288571A (ja) 2003-03-25 2004-10-14 Toshiba Battery Co Ltd 水系金属空気電池およびこれを用いた電子機器
JP2009530786A (ja) 2006-03-22 2009-08-27 ザ ジレット カンパニー 亜鉛/空気電池
JP2010534084A (ja) * 2007-07-20 2010-11-04 メディンゴ・リミテッド 流体投与装置用のエネルギ供給
JP2011146339A (ja) * 2010-01-18 2011-07-28 Sumitomo Chemical Co Ltd 空気電池、空気電池スタック
JP2012227119A (ja) * 2011-04-20 2012-11-15 Samsung Electro-Mechanics Co Ltd 金属空気電池及びその製造方法
JP2014183021A (ja) * 2013-03-21 2014-09-29 Imura Zairyo Kaihatsu Kenkyusho:Kk 金属―空気電池

Cited By (5)

* Cited by examiner, † Cited by third party
Publication number Priority date Publication date Assignee Title
EP3916864A4 (en) * 2019-02-08 2022-04-06 Maxell, Ltd. Negative electrode for aqueous electrolytic solution batteries, and sheet-like battery
WO2020213741A1 (ja) * 2019-04-18 2020-10-22 マクセルホールディングス株式会社 水系電解液電池およびパッチ
JPWO2020213741A1 (enExample) * 2019-04-18 2020-10-22
JP2025061390A (ja) * 2019-04-18 2025-04-10 マクセル株式会社 水系電解液電池およびパッチ
WO2025079718A1 (ja) * 2023-10-13 2025-04-17 大日本印刷株式会社 蓄電デバイス用外装材、その製造方法、及び蓄電デバイス

Also Published As

Publication number Publication date
JP7744942B2 (ja) 2025-09-26
JP7251956B2 (ja) 2023-04-04
EP3531501A4 (en) 2019-12-04
JP2023068128A (ja) 2023-05-16
US11695175B2 (en) 2023-07-04
EP3531501A1 (en) 2019-08-28
JP2019067768A (ja) 2019-04-25
US20190348730A1 (en) 2019-11-14

Similar Documents

Publication Publication Date Title
JP7744942B2 (ja) シート状空気電池およびパッチ
JP7354092B2 (ja) シート状電池、および、パッチ
JP7008630B2 (ja) 空気電池およびパッチ
JP7052091B2 (ja) 水系電解液電池用負極およびシート状電池
JP7610924B2 (ja) 防水デバイス
US20230282907A1 (en) Sheet-type air cell, method for manufacturing the same, and patch
JP7017354B2 (ja) シート状空気電池およびパッチ
JP7534098B2 (ja) シート状電池およびパッチ
JP2025061390A (ja) 水系電解液電池およびパッチ
JP7536480B2 (ja) シート状空気電池およびパッチ
JP2019067754A (ja) シート状空気電池およびパッチ
WO2020195745A1 (ja) シート状電池およびその製造方法
JP2023008555A (ja) 一次電池およびその製造方法
JP2018049687A (ja) シート状空気電池
JP6938416B2 (ja) シート状電池の製造方法
WO2025070355A1 (ja) 電池
JP2024087948A (ja) 電池
JPWO2023140225A5 (enExample)
WO2023140225A1 (ja) 電池およびパッチ

Legal Events

Date Code Title Description
ENP Entry into the national phase

Ref document number: 2018525631

Country of ref document: JP

Kind code of ref document: A

121 Ep: the epo has been informed by wipo that ep was designated in this application

Ref document number: 18862072

Country of ref document: EP

Kind code of ref document: A1

ENP Entry into the national phase

Ref document number: 2018862072

Country of ref document: EP

Effective date: 20190522

NENP Non-entry into the national phase

Ref country code: DE