WO2018116638A1 - 動力伝達装置 - Google Patents

動力伝達装置 Download PDF

Info

Publication number
WO2018116638A1
WO2018116638A1 PCT/JP2017/039034 JP2017039034W WO2018116638A1 WO 2018116638 A1 WO2018116638 A1 WO 2018116638A1 JP 2017039034 W JP2017039034 W JP 2017039034W WO 2018116638 A1 WO2018116638 A1 WO 2018116638A1
Authority
WO
WIPO (PCT)
Prior art keywords
clutch
torque
pressing
power transmission
plate
Prior art date
Legal status (The legal status is an assumption and is not a legal conclusion. Google has not performed a legal analysis and makes no representation as to the accuracy of the status listed.)
Ceased
Application number
PCT/JP2017/039034
Other languages
English (en)
French (fr)
Japanese (ja)
Inventor
秀訓 北澤
修 間野
Current Assignee (The listed assignees may be inaccurate. Google has not performed a legal analysis and makes no representation or warranty as to the accuracy of the list.)
Exedy Corp
Original Assignee
Exedy Corp
Priority date (The priority date is an assumption and is not a legal conclusion. Google has not performed a legal analysis and makes no representation as to the accuracy of the date listed.)
Filing date
Publication date
Application filed by Exedy Corp filed Critical Exedy Corp
Publication of WO2018116638A1 publication Critical patent/WO2018116638A1/ja
Anticipated expiration legal-status Critical
Ceased legal-status Critical Current

Links

Images

Classifications

    • FMECHANICAL ENGINEERING; LIGHTING; HEATING; WEAPONS; BLASTING
    • F16ENGINEERING ELEMENTS AND UNITS; GENERAL MEASURES FOR PRODUCING AND MAINTAINING EFFECTIVE FUNCTIONING OF MACHINES OR INSTALLATIONS; THERMAL INSULATION IN GENERAL
    • F16DCOUPLINGS FOR TRANSMITTING ROTATION; CLUTCHES; BRAKES
    • F16D43/00Automatic clutches
    • F16D43/02Automatic clutches actuated entirely mechanically
    • F16D43/04Automatic clutches actuated entirely mechanically controlled by angular speed
    • F16D43/06Automatic clutches actuated entirely mechanically controlled by angular speed with centrifugal masses actuating axially a movable pressure ring or the like
    • F16D43/08Automatic clutches actuated entirely mechanically controlled by angular speed with centrifugal masses actuating axially a movable pressure ring or the like the pressure ring actuating friction plates, cones or similar axially-movable friction surfaces
    • F16D43/12Automatic clutches actuated entirely mechanically controlled by angular speed with centrifugal masses actuating axially a movable pressure ring or the like the pressure ring actuating friction plates, cones or similar axially-movable friction surfaces the centrifugal masses acting on, or forming a part of, an actuating mechanism by which the pressure ring can also be actuated independently of the masses
    • FMECHANICAL ENGINEERING; LIGHTING; HEATING; WEAPONS; BLASTING
    • F16ENGINEERING ELEMENTS AND UNITS; GENERAL MEASURES FOR PRODUCING AND MAINTAINING EFFECTIVE FUNCTIONING OF MACHINES OR INSTALLATIONS; THERMAL INSULATION IN GENERAL
    • F16DCOUPLINGS FOR TRANSMITTING ROTATION; CLUTCHES; BRAKES
    • F16D13/00Friction clutches
    • F16D13/22Friction clutches with axially-movable clutching members
    • F16D13/38Friction clutches with axially-movable clutching members with flat clutching surfaces, e.g. discs
    • F16D13/52Clutches with multiple lamellae ; Clutches in which three or more axially moveable members are fixed alternately to the shafts to be coupled and are pressed from one side towards an axially-located member
    • FMECHANICAL ENGINEERING; LIGHTING; HEATING; WEAPONS; BLASTING
    • F16ENGINEERING ELEMENTS AND UNITS; GENERAL MEASURES FOR PRODUCING AND MAINTAINING EFFECTIVE FUNCTIONING OF MACHINES OR INSTALLATIONS; THERMAL INSULATION IN GENERAL
    • F16DCOUPLINGS FOR TRANSMITTING ROTATION; CLUTCHES; BRAKES
    • F16D13/00Friction clutches
    • F16D13/58Details
    • F16D13/70Pressure members, e.g. pressure plates, for clutch-plates or lamellae; Guiding arrangements for pressure members
    • FMECHANICAL ENGINEERING; LIGHTING; HEATING; WEAPONS; BLASTING
    • F16ENGINEERING ELEMENTS AND UNITS; GENERAL MEASURES FOR PRODUCING AND MAINTAINING EFFECTIVE FUNCTIONING OF MACHINES OR INSTALLATIONS; THERMAL INSULATION IN GENERAL
    • F16DCOUPLINGS FOR TRANSMITTING ROTATION; CLUTCHES; BRAKES
    • F16D13/00Friction clutches
    • F16D13/58Details
    • F16D13/70Pressure members, e.g. pressure plates, for clutch-plates or lamellae; Guiding arrangements for pressure members
    • F16D13/71Pressure members, e.g. pressure plates, for clutch-plates or lamellae; Guiding arrangements for pressure members in which the clutching pressure is produced by springs only
    • FMECHANICAL ENGINEERING; LIGHTING; HEATING; WEAPONS; BLASTING
    • F16ENGINEERING ELEMENTS AND UNITS; GENERAL MEASURES FOR PRODUCING AND MAINTAINING EFFECTIVE FUNCTIONING OF MACHINES OR INSTALLATIONS; THERMAL INSULATION IN GENERAL
    • F16DCOUPLINGS FOR TRANSMITTING ROTATION; CLUTCHES; BRAKES
    • F16D43/00Automatic clutches
    • F16D43/02Automatic clutches actuated entirely mechanically
    • F16D43/04Automatic clutches actuated entirely mechanically controlled by angular speed
    • F16D43/06Automatic clutches actuated entirely mechanically controlled by angular speed with centrifugal masses actuating axially a movable pressure ring or the like
    • F16D43/08Automatic clutches actuated entirely mechanically controlled by angular speed with centrifugal masses actuating axially a movable pressure ring or the like the pressure ring actuating friction plates, cones or similar axially-movable friction surfaces
    • F16D43/10Automatic clutches actuated entirely mechanically controlled by angular speed with centrifugal masses actuating axially a movable pressure ring or the like the pressure ring actuating friction plates, cones or similar axially-movable friction surfaces the centrifugal masses acting directly on the pressure ring, no other actuating mechanism for the pressure ring being provided
    • FMECHANICAL ENGINEERING; LIGHTING; HEATING; WEAPONS; BLASTING
    • F16ENGINEERING ELEMENTS AND UNITS; GENERAL MEASURES FOR PRODUCING AND MAINTAINING EFFECTIVE FUNCTIONING OF MACHINES OR INSTALLATIONS; THERMAL INSULATION IN GENERAL
    • F16DCOUPLINGS FOR TRANSMITTING ROTATION; CLUTCHES; BRAKES
    • F16D43/00Automatic clutches
    • F16D43/02Automatic clutches actuated entirely mechanically
    • F16D43/20Automatic clutches actuated entirely mechanically controlled by torque, e.g. overload-release clutches, slip-clutches with means by which torque varies the clutching pressure
    • F16D43/21Automatic clutches actuated entirely mechanically controlled by torque, e.g. overload-release clutches, slip-clutches with means by which torque varies the clutching pressure with friction members

Definitions

  • the present invention relates to a power transmission device, and more particularly to a power transmission device provided in a motorcycle.
  • a multi-plate clutch device is used as a power transmission device provided in a motorcycle or the like.
  • the multi-plate clutch device includes a clutch housing connected to the crankshaft side of the engine, a clutch center connected to the transmission side, a clutch portion for transmitting and shutting power between them, and a clutch portion. And a pressure plate for pressing.
  • the clutch portion has a first clutch plate that engages with the clutch housing and a second clutch plate that engages with the clutch center, and both clutch plates are alternately arranged in the axial direction.
  • a multi-plate clutch device using a centrifugal force of a weight member as a centrifuge is also provided (Patent Document 1).
  • a weight member is disposed in a groove formed inside the clutch housing.
  • the clutch housing rotates, the weight member accommodated therein receives a centrifugal force and moves radially outward along the groove and also moves in the axial direction.
  • the pressure member is pressed in the axial direction via the first and second plate members and the coil spring, the plurality of clutch plates are pressed, and the clutch portion is turned on (power transmission state).
  • a release mechanism is provided on the opposite side of the weight member and the pressure member with the clutch portion interposed therebetween.
  • the clutch portion is turned off (power transmission is released)
  • the pressure member is pressed toward the weight member by the release mechanism.
  • the pressing force of the pressure member against the clutch portion is released, and the clutch portion is turned off.
  • An object of the present invention is to suppress the generation of drag torque during a release operation in a power transmission device that turns on a clutch portion by a pressing mechanism using a centrifuge.
  • a power transmission device includes a clutch housing, an output member, a clutch portion, a first pressure member, a centrifugal pressing mechanism, and a release mechanism.
  • the clutch housing is rotated by power from the engine.
  • the output member is disposed on the inner peripheral portion of the clutch housing and outputs power to a member on the transmission side.
  • the clutch portion transmits power between the clutch housing and the output member.
  • a 1st pressure member is arrange
  • the centrifugal pressing mechanism is disposed on the second direction side in the axial direction of the clutch portion, has a centrifuge that can move in the radial direction and the axial direction by rotation of the clutch housing, and the first clutch portion is moved by the movement of the centrifuge. Press against the pressing part of the pressure member.
  • the release mechanism moves the pressing portion of the first pressure member in the first direction by applying a release force to a portion other than the portion receiving the pressing force by the centrifuge, and releases the power transmission of the clutch portion.
  • the rotation causes the centrifuge to move outward in the radial direction by the centrifugal force and also to move in the axial direction.
  • the clutch portion is pressed toward the first pressure member, and the clutch portion is turned on.
  • the release mechanism moves the pressing portion of the first pressure member in the first direction away from the clutch. As a result, the clutch portion is turned off. At this time, the release force by the release mechanism acts on a portion other than the portion that receives the pressing force by the centrifuge. Therefore, the rotating member does not generate drag torque due to the pressing force and release force by the centrifuge. For this reason, the bad influence by drag torque like the conventional apparatus can be suppressed.
  • the centrifugal pressing mechanism further includes a second pressure member.
  • a 2nd pressure member is arrange
  • the clutch portion is not pressed directly by the centrifuge, but the clutch portion is pressed via the second pressure member. For this reason, the pressing force by the centrifuge acts uniformly and stably on the clutch portion.
  • the release mechanism has a disk-shaped spring and a release plate.
  • the disc-shaped spring has a pressing portion at the outer peripheral portion and a fulcrum portion at a radially intermediate portion.
  • the release plate presses the inner peripheral portion of the disc-shaped spring toward the second direction, and moves the outer peripheral portion of the disc-shaped spring in the first direction with the fulcrum portion as a fulcrum.
  • the clutch part is pressed using a disk-shaped spring. Further, during the release operation, the pressing force to the clutch portion can be released by the lever principle. Therefore, the structure of the release mechanism is simplified.
  • the fulcrum portion of the disc spring is supported by the output member.
  • the output member is not subjected to a pressing force by the centrifuge. For this reason, even if the release force of the release mechanism acts on the output member, drag torque due to the pressing force of the centrifuge and the release force does not occur in the output member.
  • the clutch part has a first clutch plate that engages with the clutch housing and a second clutch plate that engages with the output member.
  • the output member has a clutch hub, a clutch center, and a torque transmission part.
  • the clutch hub engages with the second clutch plate.
  • the clutch center is connected to a member on the transmission side.
  • the torque transmission unit transmits torque between the clutch hub and the clutch center.
  • the output member is composed of a clutch hub that engages with the output portion of the clutch portion, and a clutch center that is connected to a member on the transmission side.
  • the torque transmission unit includes a reverse torque assist cam unit that applies a pressing force between the first clutch and the second clutch plate when torque is transmitted from the clutch center to the clutch hub.
  • the torque transmission unit transmits the forward rotation torque from the clutch hub to the clutch center, that is, from the input side to the output side.
  • the clutch center transmits the forward rotation torque from the clutch hub to the clutch center, that is, from the input side to the output side.
  • a pressing force is applied to the clutch portion by the reverse torque assist cam portion.
  • the rotation member on the transmission side can be rotated by a kick operation, and this rotation can be transmitted to the engine side via the clutch portion to start the engine.
  • the torque transmission unit further includes a positive torque assist cam unit that applies a pressing force between the first clutch and the second clutch plate when torque is transmitted from the clutch hub to the clutch center.
  • the torque transmission unit transmits the forward rotation torque from the clutch hub to the clutch center, that is, from the input side to the output side.
  • the positive torque assist cam portion applies a pressing force to the clutch portion.
  • the clutch portion is constituted by a plurality of clutch plates, a necessary torque transmission capacity can be ensured with a small number of clutch plates.
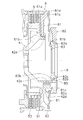
  • FIG. 1 is a cross-sectional view of a clutch device according to an embodiment of the present invention.
  • FIG. 2 is an exploded perspective view of a part of the clutch device of FIG. 1. The figure which extracted a part of FIG. The figure which extracted the other part of FIG. The plane schematic diagram of a cam part.
  • FIG. 1 is a cross-sectional view of a clutch device 1 for a motorcycle as an example of a power transmission device.
  • the “axial direction” refers to the left-right direction in FIG. 1 (the right direction is the “first direction”, the left direction is the “second direction”), and the “axial direction outside” (the first direction side). ) Indicates the right side of FIG. 1, and “inner side in the axial direction” (second direction side) indicates the left side of FIG.
  • This clutch device 1 is for transmitting the power from the crankshaft of the engine to the transmission and for canceling the power transmission state by operating the release mechanism.
  • the clutch device 1 includes a clutch housing 2, a clutch hub 3 and a clutch center 4 that constitute an output member, a clutch portion 5, a first pressure plate 6 (first pressure member), a centrifugal pressing mechanism 7, and a release. And a mechanism 8.
  • the clutch device 1 has a cam portion 9 (torque transmission portion) that transmits torque between the clutch hub 3 and the clutch center 4.
  • the clutch housing 2 includes a disk portion 21 and a cylindrical portion 22 and is connected to the input gear 10.
  • the input gear 10 meshes with a drive gear (not shown) on the engine side, and power (torque) generated by the engine (not shown) is input to the input gear 10.
  • the disc portion 21 is formed with a plurality of protrusions 21a protruding inward in the axial direction at predetermined intervals in the circumferential direction.
  • the elastic member 11 is mounted on the outer periphery of the protruding portion 21 a, and torque from the input gear 10 is transmitted to the disc portion 21 via the elastic member 11.
  • the clutch housing 2 and the input gear 10 are connected in the axial direction via a plate 12 and a rivet 13.
  • the cylindrical portion 22 is formed so as to extend outward from the outer peripheral edge of the disc portion 21 in the axial direction.
  • a plurality of notches 22a extending in the axial direction are formed in the cylindrical portion 22 at predetermined intervals in the circumferential direction.
  • the clutch hub 3 is disposed inside the clutch housing 2, specifically, on the inner peripheral side of the cylindrical portion 22. As shown in FIGS. 1 and 2, the clutch hub 3 is an annular member, and a plurality of engagement grooves 3a are formed on the outer peripheral surface. An engagement portion 3b that is annularly continuous is formed at the axially inner end of the engagement groove 3a. That is, the engagement groove 3a is open on the outer side in the axial direction, but is closed on the inner side in the axial direction.
  • FIG. 2 is an exploded view showing a part of the clutch device 1.
  • the clutch center 4 is arranged on the inner peripheral side of the clutch housing 2 and further on the inner peripheral side of the clutch hub 3.
  • the clutch center 4 has a boss portion 41, a tubular portion 42, and a connecting portion 43.
  • the boss portion 41 is formed in a cylindrical shape, and a spline hole 41a extending in the axial direction is formed on the inner peripheral surface. An input shaft (not shown) of the transmission is engaged with the spline hole 41a.
  • the cylindrical portion 42 is formed on the outer peripheral portion of the clutch center 4 and is disposed so that a part of the axial direction overlaps the inner peripheral surface of the clutch hub 3 in the axial direction.
  • the cylindrical portion 42 includes a plurality of engaging grooves 42a, three support portions 42b, and six fixing portions 42c.
  • the engagement groove 42 a is formed at the outer end of the cylindrical portion 42 in the axial direction.
  • the three support portions 42b are formed so as to protrude further from the outer peripheral surface of the cylindrical portion 42 to the outer peripheral side, and are arranged at equal intervals in the circumferential direction.
  • a support protrusion 42d that protrudes outward in the axial direction is formed on the support portion 42b.
  • the fixed portion 42c is formed so as to protrude axially outward from the axially outer end surface of the cylindrical portion 42.
  • a screw hole 42e is formed in the fixing portion 42c.
  • the connecting portion 43 is a portion that connects the boss portion 41 and the tubular portion 42.
  • the connecting portion 43 is inclined so as to go outward in the axial direction from the inner peripheral side to the outer peripheral side.
  • a thrust plate 14 is provided between the axially inner end surface of the boss portion 41 and the central portion of the input gear 10.
  • the clutch unit 5 includes four first clutch plates 51 and three second clutch plates 52. Both the clutch plates 51 and 52 are formed in an annular shape and are alternately arranged in the axial direction.
  • a plurality of engaging protrusions protruding outward are formed on the outer peripheral portion of the first clutch plate 51, and the engaging protrusions are engaged with notches 22 a formed in the cylindrical portion 22 of the clutch housing 2. . Accordingly, the first clutch plate 51 is movable in the axial direction with respect to the clutch housing 2 and is not relatively rotatable. The first clutch plate 51 has friction facings fixed on both sides.
  • the second clutch plate 52 is formed with a plurality of engaging protrusions that protrude toward the inner peripheral side at the inner peripheral end.
  • the engaging protrusion is engaged with an engaging groove 3 a formed on the outer peripheral surface of the clutch hub 3. Therefore, the second clutch plate 52 is movable in the axial direction with respect to the clutch hub 3 and is not relatively rotatable.
  • the first pressure plate 6 As shown in FIGS. 2 and 3, the first pressure plate 6 includes a main body portion 61 and a cylindrical portion 62.
  • the main body 61 is an annular member, and a pressing surface 61a is formed on the outer peripheral portion of the side surface on the inner side in the axial direction.
  • the pressing surface 61 a contacts the first clutch plate 51.
  • a plurality of engaging protrusions 61 b are formed on the inner peripheral end of the main body 61.
  • the engagement protrusion 61 b is engaged with the engagement groove 42 a of the clutch center 4. Therefore, the pressure plate 6 is movable in the axial direction with respect to the clutch center 4 in a predetermined range (a range in which the engagement groove 42a is formed) in the axial direction, and is not rotatable.
  • a support protrusion 61 c is formed on the outer peripheral portion of the side surface on the outer side in the axial direction of the main body 61.
  • the cylindrical portion 62 is formed to extend outward in the axial direction from the outer peripheral end portion of the main body portion 61.
  • a plurality of engaging grooves 62 a are formed in the cylindrical portion 62.
  • the centrifugal pressing mechanism 7 includes a weight member (centrifuge) 71, a second pressure plate 72 (second pressure member), and a pressing force adjustment mechanism 73.
  • a plurality of grooves 21b extending in the radial direction are formed in the disk portion 21 of the clutch housing 2, and the weight member 71 is movable in the radial direction along the grooves 21b.
  • the bottom surface of the groove 21b is inclined so as to go outward in the axial direction as it goes outward in the radial direction. Accordingly, when the weight member 71 moves outward in the radial direction, the weight member 71 also moves outward in the axial direction.
  • the second pressure plate 72 is disposed between the weight member 71 and the clutch portion 5 (specifically, the first clutch plate 51) in the axial direction.
  • the press surface 72a is formed in the outer peripheral part
  • the engaging part 72b is formed in the inner peripheral part in the side surface of the axial direction outer side. The pressing surface 72 a can contact the first clutch plate 51.
  • the pressing force adjusting mechanism 73 includes an engagement plate 73a, a plurality of springs 73b, a support plate 73c, and a plurality of bolts 73d.
  • the engaging plate 73a has an inner peripheral disc portion 73e, an outer peripheral disc portion 73f, and a cylindrical portion 73g.
  • a plurality of holes are formed in the inner peripheral disk portion 73e, and the support protrusions 21c of the clutch housing 2 pass through the holes.
  • the support protrusion 21 c is formed on the disc portion 21 of the clutch housing 2 so as to protrude outward in the axial direction.
  • the outer peripheral disc portion 73 f is engaged with the engaging portion 72 b of the second pressure plate 72.
  • the plurality of springs 73b are mounted on the outer peripheral portion of the support protrusion 21c. One end of the spring 73b is supported by the inner peripheral disk portion 73e of the engagement plate 73a, and the other end is supported by the support plate 73c.
  • the support plate 73c is fixed to the front end surface of the support protrusion 21c by a bolt 73d.
  • the second pressure plate 72 is urged inward in the axial direction via the engagement plate 73a by the urging force of the spring 73b. That is, the second pressure plate 72 is urged in the direction opposite to the pressing force by the weight member 71 by the spring 73b. Therefore, by adjusting the urging force of the spring 73b, it is possible to adjust the pressing force applied to the clutch portion 5 by the weight member 71.
  • the release mechanism 8 includes a diaphragm spring 81, a full clam ring 82, and a release plate 83.
  • the diaphragm spring 81 includes an annular pressing portion 81a formed on the outer peripheral portion, a lever portion 81b including a plurality of levers formed on the inner peripheral portion, and a radial intermediate between the pressing portion 81a and the lever portion 81b. And a fulcrum part 81c formed in the part.
  • the pressing portion 81 a is supported by the support protrusion 61 c of the first pressure plate 6 and can press the first pressure plate 6.
  • the full clam ring 82 is formed in an annular shape and is fixed to the fixing portion 42 c of the cylindrical portion 42 of the clutch center 4 by a bolt 85.
  • a support protrusion 82 a that protrudes inward in the axial direction is formed on the outer periphery of the full clam ring 82.
  • a fulcrum portion 81 c of the diaphragm spring 81 is supported between the support protrusion 82 a and the support protrusion 42 d of the clutch center 4.
  • an engagement recess 82b that is recessed in an annular shape is formed on the inner surface in the axial direction.
  • the release plate 83 is formed in an annular shape and is disposed on the inner peripheral portion of the full clam ring 82.
  • a pressing protrusion 83 a protruding in the axial direction is formed on the inner surface in the axial direction of the release plate 83.
  • the pressing protrusion 83 a is in contact with the inner peripheral end portion of the lever portion 81 b of the diaphragm spring 81.
  • an engaging portion 83b that engages with the engaging recess 82b of the full clam ring 82 is formed, and a guide portion 83c that extends in the axial direction is further formed.
  • the guide portion 83 c is movable in the axial direction along the inner peripheral surface of the full clam ring 82.
  • a release bearing (not shown) is mounted on the release plate 83. At the time of release, the release plate 83 is moved inward in the axial direction via a bearing.
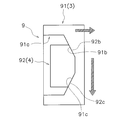
  • the cam portion 9 transmits torque between the clutch hub 3 and the clutch center 4. 2 and 5, the cam portion 9 includes a plurality of (three in the present embodiment) first cam portions 91 provided in the clutch hub 3 and a plurality of cam portions 9 provided in the clutch center 4 (this embodiment). 3) in the form.
  • FIG. 5 is a schematic plan view of the cam portion 9 (viewed from the outer peripheral side).
  • the first cam portion 91 is formed on the inner peripheral surface of the clutch hub 3 so as to protrude further to the inner peripheral side.
  • the first cam portion 91 is formed with a cam recess 91a that is recessed toward the outer peripheral side.
  • the cam recess 91a is opened inward in the axial direction, and a first cam surface 91b for transmitting positive torque and a second cam surface 91c for transmitting negative torque are formed on the outer side in the axial direction.
  • Each of the cam surfaces 91b and 91c is inclined so as to be directed inward in the axial direction as the cam surfaces 91b and 91c are separated from the circumferential center of the cam recess 91a.
  • the second cam portion 92 is formed on the outer peripheral surface of the cylindrical portion 42 of the clutch center 4 so as to protrude further to the outer peripheral side.
  • a third cam surface 92b for forward rotation torque transmission and a fourth cam surface 92c for reverse rotation torque transmission are formed on the axially outer surface of the second cam portion 92.
  • the third cam surface 92b has the same inclination as the first cam surface 91b of the clutch hub 3, and both 91b and 92b are in contact with each other.
  • the fourth cam surface 92c has the same inclination as the second cam surface 91c of the clutch hub 3, and both 91c and 92c are in contact with each other.
  • the assist cam portion described above is formed with an inclined cam surface, when torque is transmitted between the clutch hub and the clutch center, the magnitude is in accordance with the magnitude of the transmitted torque.
  • the pressing force can be applied to the clutch portion 5.
  • the cell motor for starting the engine is not provided. Therefore, the engine is started by kicking the kick pedal.
  • the release force at the time of release is received by the clutch center 4.
  • the member that receives the release force may be another member as long as the pressing force by the weight member 71 is not applied. Good.
  • the configuration for transmitting the pressing force of the weight member to the clutch portion is not limited to the above embodiment.
  • the pressing force adjustment mechanism may be omitted.
  • the release force may be applied to the first pressure plate by using the lever principle by using another lever member or the like.
  • the cam portion is formed integrally with the clutch hub and the clutch center, but may be constituted by another member.
  • the power transmission device of the present invention it is possible to suppress the generation of drag torque during the release operation in a device that turns on the clutch portion by a pressing mechanism using a centrifuge.

Landscapes

  • Engineering & Computer Science (AREA)
  • General Engineering & Computer Science (AREA)
  • Mechanical Engineering (AREA)
  • Mechanical Operated Clutches (AREA)
  • One-Way And Automatic Clutches, And Combinations Of Different Clutches (AREA)
PCT/JP2017/039034 2016-12-20 2017-10-30 動力伝達装置 Ceased WO2018116638A1 (ja)

Applications Claiming Priority (2)

Application Number Priority Date Filing Date Title
JP2016-246324 2016-12-20
JP2016246324A JP6892758B2 (ja) 2016-12-20 2016-12-20 動力伝達装置

Publications (1)

Publication Number Publication Date
WO2018116638A1 true WO2018116638A1 (ja) 2018-06-28

Family

ID=62626207

Family Applications (1)

Application Number Title Priority Date Filing Date
PCT/JP2017/039034 Ceased WO2018116638A1 (ja) 2016-12-20 2017-10-30 動力伝達装置

Country Status (2)

Country Link
JP (1) JP6892758B2 (enExample)
WO (1) WO2018116638A1 (enExample)

Cited By (2)

* Cited by examiner, † Cited by third party
Publication number Priority date Publication date Assignee Title
WO2020116506A1 (ja) * 2018-12-05 2020-06-11 株式会社エフ・シー・シー 動力伝達装置
CN115853922A (zh) * 2020-04-13 2023-03-28 株式会社F.C.C. 动力传递装置

Families Citing this family (1)

* Cited by examiner, † Cited by third party
Publication number Priority date Publication date Assignee Title
JP7039761B1 (ja) 2021-06-17 2022-03-22 株式会社オリジン 遠心ブレーキ

Citations (4)

* Cited by examiner, † Cited by third party
Publication number Priority date Publication date Assignee Title
JPS457528Y1 (enExample) * 1966-10-26 1970-04-11
JP2006316868A (ja) * 2005-05-12 2006-11-24 Exedy Corp モータサイクル用クラッチ装置
JP2010060106A (ja) * 2008-09-05 2010-03-18 Honda Motor Co Ltd クラッチ装置
WO2016088860A1 (ja) * 2014-12-04 2016-06-09 株式会社エフ・シー・シー 動力伝達装置

Family Cites Families (4)

* Cited by examiner, † Cited by third party
Publication number Priority date Publication date Assignee Title
JPS5355051U (enExample) * 1976-10-12 1978-05-11
JP3841357B2 (ja) * 2004-12-20 2006-11-01 株式会社エクセディ モータサイクル用クラッチ装置
JP2008291937A (ja) * 2007-05-25 2008-12-04 Exedy Corp クラッチ装置
JP4975723B2 (ja) * 2008-01-25 2012-07-11 株式会社エクセディ モータサイクル用クラッチ装置

Patent Citations (4)

* Cited by examiner, † Cited by third party
Publication number Priority date Publication date Assignee Title
JPS457528Y1 (enExample) * 1966-10-26 1970-04-11
JP2006316868A (ja) * 2005-05-12 2006-11-24 Exedy Corp モータサイクル用クラッチ装置
JP2010060106A (ja) * 2008-09-05 2010-03-18 Honda Motor Co Ltd クラッチ装置
WO2016088860A1 (ja) * 2014-12-04 2016-06-09 株式会社エフ・シー・シー 動力伝達装置

Cited By (7)

* Cited by examiner, † Cited by third party
Publication number Priority date Publication date Assignee Title
WO2020116506A1 (ja) * 2018-12-05 2020-06-11 株式会社エフ・シー・シー 動力伝達装置
JP2020090987A (ja) * 2018-12-05 2020-06-11 株式会社エフ・シー・シー 動力伝達装置
US11415190B2 (en) 2018-12-05 2022-08-16 Kabushiki Kaisha F.C.C. Power transmission device
EP3892880A4 (en) * 2018-12-05 2022-09-07 Kabushiki Kaisha F.C.C. ENERGY TRANSMISSION DEVICE
JP7209520B2 (ja) 2018-12-05 2023-01-20 株式会社エフ・シー・シー 動力伝達装置
US11603892B2 (en) 2018-12-05 2023-03-14 Kabushiki Kaisha F.C.C. Power transmission device
CN115853922A (zh) * 2020-04-13 2023-03-28 株式会社F.C.C. 动力传递装置

Also Published As

Publication number Publication date
JP6892758B2 (ja) 2021-07-07
JP2018100699A (ja) 2018-06-28

Similar Documents

Publication Publication Date Title
WO2018116639A1 (ja) 動力伝達装置
JP5272089B1 (ja) モータサイクル用クラッチ装置
JP4990254B2 (ja) 多板式クラッチ
JP6617051B2 (ja) クラッチ装置
JP6961427B2 (ja) 動力伝達装置
JP2017101811A (ja) モータサイクル用クラッチ装置
JP2017101810A (ja) モータサイクル用クラッチ装置
JP6714028B2 (ja) クラッチ装置
JP2014521907A (ja) ドライダブルクラッチ
JP2024103783A (ja) 動力伝達装置
JP5791583B2 (ja) クラッチ装置
JP6617031B2 (ja) クラッチ装置
WO2018116638A1 (ja) 動力伝達装置
WO2020116506A1 (ja) 動力伝達装置
JP5162401B2 (ja) 多板式クラッチ
WO2020116508A1 (ja) 動力伝達装置
JP2011021719A (ja) 自動二輪車用クラッチ装置
JP2019090429A (ja) クラッチ装置
JP5949512B2 (ja) 捩り振動減衰装置
WO2020116505A1 (ja) 動力伝達装置
JP2018054090A (ja) モータサイクル用クラッチ装置
JP2006214517A (ja) クラッチ操作用レバー部材及びそれを用いたクラッチカバー組立体
JP2018054091A (ja) クラッチ装置
JP2018054092A (ja) クラッチ装置
JP2018054094A (ja) クラッチ装置

Legal Events

Date Code Title Description
121 Ep: the epo has been informed by wipo that ep was designated in this application

Ref document number: 17883418

Country of ref document: EP

Kind code of ref document: A1

NENP Non-entry into the national phase

Ref country code: DE

122 Ep: pct application non-entry in european phase

Ref document number: 17883418

Country of ref document: EP

Kind code of ref document: A1